JP5251237B2 - フィンチューブ型熱交換器、これを備えた冷凍装置および給湯装置 - Google Patents

フィンチューブ型熱交換器、これを備えた冷凍装置および給湯装置 Download PDF

Info

Publication number
JP5251237B2
JP5251237B2 JP2008119061A JP2008119061A JP5251237B2 JP 5251237 B2 JP5251237 B2 JP 5251237B2 JP 2008119061 A JP2008119061 A JP 2008119061A JP 2008119061 A JP2008119061 A JP 2008119061A JP 5251237 B2 JP5251237 B2 JP 5251237B2
Authority
JP
Japan
Prior art keywords
fin
heat exchanger
heat transfer
transfer tube
upstream
Prior art date
Legal status (The legal status is an assumption and is not a legal conclusion. Google has not performed a legal analysis and makes no representation as to the accuracy of the status listed.)
Active
Application number
JP2008119061A
Other languages
English (en)
Other versions
JP2009270731A (ja
Inventor
宏和 藤野
春男 中田
俊光 鎌田
Current Assignee (The listed assignees may be inaccurate. Google has not performed a legal analysis and makes no representation or warranty as to the accuracy of the list.)
Daikin Industries Ltd
Original Assignee
Daikin Industries Ltd
Priority date (The priority date is an assumption and is not a legal conclusion. Google has not performed a legal analysis and makes no representation as to the accuracy of the date listed.)
Filing date
Publication date
Application filed by Daikin Industries Ltd filed Critical Daikin Industries Ltd
Priority to JP2008119061A priority Critical patent/JP5251237B2/ja
Publication of JP2009270731A publication Critical patent/JP2009270731A/ja
Application granted granted Critical
Publication of JP5251237B2 publication Critical patent/JP5251237B2/ja
Active legal-status Critical Current
Anticipated expiration legal-status Critical

Links

Images

Landscapes

  • Heat-Pump Type And Storage Water Heaters (AREA)

Description

本発明は、流体同士を直接接触させることなく熱交換を行わせるフィンチューブ型熱交換器、これを備えた冷凍装置および給湯装置に関する。
従来、冷凍装置の熱交換器として、狭い間隔で並べたプレート状のフィン群を管列が貫通した構造の熱交換器が利用されている。
このようなフィンチューブ熱交換器を流れる冷媒としては、地球環境保護の観点から、従来用いられていたR−12やR−22等のフルオロカーボン系の冷媒に替わって、R−32等のHFC系冷媒やCO2等の自然冷媒が利用されるようになってきている。
ここで、CO2等の自然冷媒を利用する場合には、冷凍サイクルにおける作動圧力が臨界圧力を超えることとなり、配管設計等において従来よりも高い耐圧強度が求められることになる。このため、例えば、以下の特許文献1に示すように、フィンチューブ熱交換器の伝熱管についても、肉厚を増大させる等して耐圧強度を確保させる技術が検討されている。
特開2006−162100号公報
上述の伝熱管を採用する場合には、従来の伝熱管と比べて、単位長さ当たりの伝熱管のコストが増大してしまうため、結果として熱交換器全体のコストが増大してしまう。さらには、肉厚が増大しているため、熱交換器の総重量が増大してしまう。
これに対して、耐圧強度を増した伝熱管を採用する場合であっても、合計長さが短くなるように、採用本数を減らすことで、コストの増大を抑えることができ、総重量の増大も抑えることができる。
しかし、このようにして平板フィンの単位面積当たりに存在する伝熱管の本数を少なくすると、熱交性能が低下してしまう問題が生じる。
そこで、さらに、平板フィンの板厚方向の枚数密度を増大させたり、平板フィンの一部に凹凸を設けたりする等して、熱交性能の低下を小さく抑えることが考えられる。
ところが、このように、平板フィンの板厚方向の枚数密度を増大させたり、平板フィンの一部に凹凸を設けたりすると、屋外に配置されている場合には、霜が付着しやすくなってしまう。このように着霜してしまうと、結果として熱交性能の低下を小さく抑えることができない。
本発明の課題は、伝熱管の耐圧強度を増大させたい場合であっても、熱交換器のコストの増大を小さく抑えつつ、着霜による熱高性能の低下を小さく抑えることが可能なフィンチューブ型熱交換器、これを備えた冷凍装置および給湯装置を提供することにある。
第1発明のフィンチューブ型熱交換器は、流体同士を直接接触させることなく熱交換を行わせるフィンチューブ型熱交換器であって、第1伝熱管、第2伝熱管、複数の上流側フィン、第3伝熱管および複数の下流側フィンを備えている。第1伝熱管は、円筒形状である。第2伝熱管は、第1伝熱管と外径が略等しい円筒形状である。複数の上流側フィンは、第1貫通孔、第2貫通孔、突出部および略平坦部を有している。第1貫通孔は、内側が第1伝熱管の外周と接している。第2貫通孔は、内側が第2伝熱管の外周と接している。突出部は、第1貫通孔もしくは第2貫通孔の少なくともいずれか一方からの距離が第1貫通孔と第2貫通孔との最近接距離の1/3以内である位置に設けられ、板厚方向に突出している。略平坦部では、第1貫通孔と第2貫通孔との間のうち突出部を除いた位置において板厚方向に突出した形状が設けられていない。そして、第1貫通孔の中心から第2貫通孔の中心までの距離である孔中心間距離を第1伝熱管の外径で除した値が3.0より大きい。なお、孔中心間距離を第1伝熱管の外径で除した値は、より好ましくは3.5より大きい。また、第1伝熱管と第2伝熱管とは、U字管等を介して繋がっていてもよい。第3伝熱管は、円筒形状である。複数の下流側フィンは、内側が第3伝熱管の外周と接している第3貫通孔を有している。突出部の長さのうち上流側フィンの面上で上流側フィンの長手方向に対して直交する方向に投影される長さ成分を、第1伝熱管の外径で除した値は、1.0より大きく、2.5より小さい。上流側フィンの面上で上流側フィンの長手方向に対して直交する方向における上流側フィンの長さであるフィン幅を、第1伝熱管の外径で除した値は、2.2より大きく、3.5より小さい。下流側フィンは、下流側フィンの長手方向および下流側フィンの板厚方向に広がる第1突出壁および第2突出壁を有しており、第1突出壁、第3貫通孔、第2突出壁がこの順に下流側フィンの長手方向に並んで配置されている。第3伝熱管および下流側フィンは、第1伝熱管、第2伝熱管および上流側フィンに対して空気流れの下流方向に位置しており、第3伝熱管は略平坦部に対して空気流れの下流方向に位置し、第1突出壁は第1伝熱管に対して空気流れの下流方向に位置し、第2突出壁は第2伝熱管に対して空気流れの下流方向に位置している。複数の上流側フィンおよび複数の下流側フィンは、板厚方向に互いに重なるように配置されており、フィンピッチは1.0mmより大きく3.0mmよりも小さい。複数の上流側フィンおよび複数の下流側フィンは、一枚の厚みが0.05mmより大きく、0.50mmよりも小さい。このフィンチューブ型熱交換器は、冷媒を蒸発させる蒸発器である。
このフィンチューブ型熱交換器では、孔中心間距離を第1伝熱管の外径で除した値が3.0より大きい関係で設けられている。このため、伝熱管の強度を増すために外径を短くしたり、耐圧強度を確保するために肉厚化させてこれに伴う材料コスト増加分や重量増加分を小さく抑えるために伝熱管の本数密度を小さく抑えたとしても、突出部が設けられていることで熱交性能が落ちにくい。
また、突出部を設けることにより上流側フィン上で熱交換を有効に行うことができる部分を増大させているため、このことによっても熱交換性能を向上させることができる。
そして、伝熱管近傍や突出部近傍は使用状況下によっては着霜が生じやすいが、この上流側フィンには略平坦部が確保されており、この略平坦部は伝熱管や突出部近傍と比較して着霜が生じにくい。
このため、使用状況によって伝熱管や突出部近傍に着霜が生じたとしても、この略平坦部には着霜が生じることなく通過空気との間で有効に熱交換を行うことができるため、一部着霜した状況下であっても熱交性能の低下を小さく抑えることが可能になる。
なお、伝熱管の本数を少ない数に抑えるため、耐圧強度を確保させた伝熱管を用いた場合であっても、熱交換器自体の総重量の増大を小さく抑えることができ、フィンチューブ型熱交換器が、軽くて扱いやすくなる。
また、このフィンチューブ型熱交換器では、ここでの比率が1.0以下である場合には、伝熱を促進させるという突出部による効果を十分に得ることができなくなる。また、ここでの比率が2.5以上である場合には、空気流れの抜けを良好に保つことができず熱交効率が低下する。このため、上流側フィンの長手方向に対して上流側フィンの面上で直交する方向における突出部の長さ成分を第1伝熱管の外径で除した値として、1.0より大きく2.5より小さい範囲を採用することで、空気流れの抜けを良好に維持したままで伝熱を促進させることが可能となる。
また、このフィンチューブ型熱交換器では、ここでの比率が2.2以下である場合には、伝熱管の関係を小さくすることが困難になっていき、かつ、伝熱管を流れる冷媒から得た熱を外部の空気と熱交換させるためのフィン面積が不足することになる。また、ここでの比率が3.5以上である場合には、伝熱管を通じて供給される冷媒の熱をフィン幅方向の端部まで伝えることができず、フィン幅方向端部において熱交換を有効に行わせることができず、むしろ通風抵抗が増大してしまう。このため、フィン幅を第1伝熱管の外径で除した値として、2.2より大きく、3.5より小さい範囲を採用することで、通風抵抗の増大を小さく抑えつつ有効な熱交換に必要とされるフィン面積を確保することが可能になる。
また、このフィンチューブ型熱交換器は、フィンピッチを短くすることで、単位面積当たりの熱交性能を向上させることが可能となっている。
また、このフィンチューブ型熱交換器は、熱交性能を向上させることができるとともに、分割されて何もない部分を通じて空気流れを漏れ出させることができ、水捌け性を向上させることができる。
また、このフィンチューブ型熱交換器では、空気流れの上流側である第1伝熱管、第2伝熱管や突出部近傍において着霜が生じた場合であっても、着霜が生じにくい略平坦部を介して下流側の第3伝熱管に空気が送られることになる。また、第1突出壁や第2突出壁が設けられており下流側フィンに流れ込む空気を第3伝熱管近傍に集めることができ、上流側の伝熱管や突出部近傍で着霜が生じた場合であっても、熱交性能の低下を小さく抑えることが可能になる。
また、着霜が生じていない状況であっても、第1伝熱管に向かう空気流れについては第1伝熱管で、第2伝熱管に向かう空気流れについては第2伝熱管で、突出部に向かう空気流れについては伝熱管の近傍で熱を得やすい突出部において、それぞれ熱交換を行うことができる。そして、これら第1伝熱管、第2伝熱管および突出部に向かうことなく突出部付近によって略平坦部近傍に導かれた空気流れや、第1伝熱管と第2伝熱管のちょうど中間を通過した空気流れについては、第3伝熱管において熱交換を行わせることができる。これにより、各所において十分な熱交換を行わせることが可能になる。
発明のフィンチューブ型熱交換器は、第1発明フィンチューブ型熱交換器において、突出部は、第1貫通孔の中心近傍と第2貫通孔の中心近傍とを結ぶラインで2つに分けられる上流側フィンの領域のうち、空気流れ方向において風下側となる領域にのみ設けられている。
このフィンチューブ型熱交換器では、着霜は、熱交換器の風上側で生じやすい。これに対して、このフィンチューブ熱交換器では、空気流れ方向において風下流となる領域にのみ突出部を設け、風上側となる領域には突出部を設けていない。これにより、着霜の発生を抑えることができるようになる。
明のフィンチューブ型熱交換器は、第1発明または発明フィンチューブ型熱交換器において、突出部は、空気流れ方向の風上側よりも風下側の方が上流側フィンの板厚方向における長さである突出長さが長い傾斜部分を少なくとも一部に有している。
このフィンチューブ型熱交換器では、空気流れの風上側に突出長さが長い部分を設けてしまうと、当該部分よりも下流側に大きな死水域が生じてしまい、空気が滞留しやすく効率的な熱交換を行う部分を減少させてしまう。これに対して、このフィンチューブ熱交換器では、風上側においては突出長さが短くなるように形成することで、死水域をできるだけ小さく抑えることが可能になる。
発明のフィンチューブ型熱交換器は、第1発明から第発明のいずれかのフィンチューブ型熱交換器において、突出部は、空気流れ方向の上流側に位置する第1突出部と、第1突出部とは離れており第1突出部より下流側に位置する第2突出部と、を有している。
このフィンチューブ型熱交換器は、熱交性能を向上させることができるとともに、分割されて何もない部分を通じて空気流れを漏れ出させることができ、水捌け性を向上させることができる。
発明のフィンチューブ型熱交換器は、第発明のフィンチューブ型熱交換器において、第1突出部の板厚方向における突出長さは、所定長さ以上である。
第1突出部の板厚方向における突出長さを、上流側フィンの切り起こしによる製造が可能な所定長さ以上とすることで、製造における信頼性を向上させることが可能になる。
発明のフィンチューブ型熱交換器は、第発明から第5発明のいずれかのフィンチューブ型熱交換器において、突出部の板厚方向の長さを上流側フィン同士の板厚方向の間隔で除した値が、0.9以下である。
このフィンチューブ熱交換器では、突出部の高さは上流側フィン同士の板厚方向の間隔未満となるように設けられているため、突出部とその上方に位置している上流側フィンとの間に空気が流れることができるため、突出部近傍で空気が停滞してしまうことを防ぐことが可能になる。
発明のフィンチューブ型熱交換器は、第1発明から第発明のいずれかのフィンチューブ型熱交換器において、上流側フィンは、長手方向に延びる複数の折り目を有している。
このフィンチューブ熱交換器では、上流側フィンが波形に湾曲しており、その折り目が長手方向に延びているため、フィンの強度を向上させることができる。
発明のフィンチューブ型熱交換器は、第発明のフィンチューブ型熱交換器において、突出部は、空気流れ方向の上流側に位置する第1突出部と、第1突出部とは離れており第1突出部より下流側に位置する第2突出部と、を有している。第1突出部および第2突出部は、それぞれ上流側フィンの複数の折り目の間に位置しており、折り目上には位置していない。
このフィンチューブ型熱交換器では、突出部が折り目の間に位置しているため、製造が容易になる。また、突出部が分割されているため、突出部での熱交換を終えた空気を突出部同士の間の空間に向けて流すことができ、空気の停滞を防止できる。
発明のフィンチューブ型熱交換器は、第1発明から第発明のいずれかのフィンチューブ型熱交換器において、上流側フィンは、略平坦部に対して空気流れの下流方向の位置において、上流側フィンの長手方向および上流側フィンの板厚方向に広がる突出壁を有している。
このフィンチューブ熱交換器では、上流側に位置している伝熱管や突出部を避けて流れ込んでくる空気が、突出壁に突き当たって流れていく。このため、突出壁における熱交によってさらに熱交性能を向上させることが可能になる。
10発明のフィンチューブ型熱交換器は、第1発明から第発明のいずれかのフィンチューブ型熱交換器において、上流側フィンは、一部を板厚方向に切り込んだ切り込み部を有している。突出部は、切り込み部を板厚方向に起こした切り起こし部である。
このフィンチューブ型熱交換器では、突出部を別途取り付ける必要がなく、通過空気の流れを切り起こし部によって変化させることができる。これにより、伝熱管の近傍に配置されている切り起こし部は、通過空気と十分に触れあうことができるため、熱交換効率を向上させることができる。さらに、切り込み部には、空気を通過する空気流れができるため、切り込み部の空気流れ下流側における死水域を小さくすることができ、熱交換済みの空気が停滞してしまうことを防ぎ、有効に熱交換を行わせることが可能になる。
11発明のフィンチューブ型熱交換器は、第10発明のフィンチューブ型熱交換器において、切り起こし部は、第1貫通孔の中心と第2貫通孔の中心とのうちより近い方との距離は、風上側よりも風下側の方が短い。また、切り起こし部の長手方向と、上流側フィンの長手方向に対して上流側フィンの面上で直交する方向と、がなす角度である迎え角は、10度より大きく40度より小さい。なお、通風抵抗と熱交性能との関係から、迎え角は14度とするのが好ましい。
このフィンチューブ型熱交換器では、迎え角を40度よりも小さくすることで通風抵抗の増大を抑えることができる。また、迎え角を10度より大きくすることで熱交性能を十分に確保することができる。これにより、通風抵抗の増大を抑えつつ、熱交性能を向上させることができる。
12発明のフィンチューブ型熱交換器は、第1発明から第11発明のいずれかのフィンチューブ型熱交換器において、第1伝熱管および第2伝熱管は、銅もしくは銅を含有する合金からなり、外径が4mm以上7mm以下である。
このフィンチューブ型熱交換器では、冷凍サイクルにおける冷媒圧力が高くなる場合であっても耐圧強度を確実に確保することが可能になる。
13発明のフィンチューブ型熱交換器は、第1発明から第12発明のいずれかのフィンチューブ型熱交換器において、作動冷媒は、二酸化炭素である。
フィンチューブ型熱交換器の作動冷媒が二酸化炭素の場合には、臨界圧力を超える高圧で冷凍サイクルが行われるが、この場合であっても耐圧強度を確保しつつ能力を維持させることが可能になる。
14発明の冷凍装置は、冷凍サイクルにおいて冷媒の蒸発器としてのみ機能させ、屋外に配置される第1発明から第13発明のいずれか記載のフィンチューブ型熱交換器と、フィンチューブ熱交換器に空気流れを供給する送風部と、圧縮機と、熱源側熱交換器と、膨張機構と、を備えている。
この冷凍装置では、暖房運転時に外気温が低下して着霜が生じやすいことがあっても、熱高性能を維持することが可能になる。
15発明の給湯装置は、冷凍サイクルにおいて冷媒の蒸発器としてのみ機能させ、屋外に配置される第1発明から第13発明のいずれか記載のフィンチューブ型熱交換器と、フィンチューブ熱交換器に空気流れを供給する送風部と、圧縮機と、熱源側熱交換器と、膨張機構と、熱源側熱交換器に加熱対象となる水を供給させる水回路と、を備えている。
この給湯装置では、フィンチューブ型熱交換器が冷媒の蒸発器として機能することで熱を汲み取って、水回路を流れる水を加熱している。このため、フィンチューブ型熱交換器の周囲の環境によっては、フィンチューブ型熱交換器には着霜が生じやすい状況となる。これに対して、ここでは、このように着霜が生じやすい状況下や一部着霜した状況下であっても熱交性能の低下を小さく抑えることが可能になる。
第1発明では、一部着霜した状況下であっても熱交性能の低下を小さく抑えることが可能になる。また、空気流れの抜けを良好に維持したままで伝熱を促進させることが可能となる。また、通風抵抗の増大を小さく抑えつつ有効な熱交換に必要とされるフィン面積を確保することが可能になる。また、各所において十分な熱交換を行わせることが可能になる。また、分割されて何もない部分を通じて空気流れを漏れ出させることができ、水捌け性を向上させることができる。
発明では、着霜の発生を抑えることができるようになる。
発明では、死水域をできるだけ小さく抑えることが可能になる。
発明では、分割されて何もない部分を通じて空気流れを漏れ出させることができ、水捌け性を向上させることができる。
発明では、製造における信頼性を向上させることが可能になる。
発明では、突出部とその上方に位置しているフィンとの間に空気が流れることができるため、突出部近傍で空気が停滞してしまうことを防ぐことが可能になる。
発明では、上流側フィンの強度を向上させることができる。
発明では、製造が容易になり、空気の停滞を防止できる。
発明では、突出壁における熱交によってさらに熱交性能を向上させることが可能になる。
10発明では、切り起こし部では、通過空気と十分に触れあうことができるため、熱交換効率を向上させることができ、切り込み部では、熱交換済みの空気が停滞してしまうことを防ぎ、有効に熱交換を行わせることが可能になる。
11発明では、通風抵抗の増大を抑えつつ、熱交性能を向上させることができる。
12発明では、冷凍サイクルにおける冷媒圧力が高くなる場合であっても耐圧強度を確実に確保することが可能になる。
13発明では、耐圧強度を確保しつつ能力を維持させることが可能になる。
14発明では、暖房運転時に外気温が低下して着霜が生じやすいことがあっても、熱高性能を維持することが可能になる。
15発明では、着霜が生じやすい状況下や一部着霜した状況下であっても熱交性能の低下を小さく抑えることが可能になる。
<1−1>給湯装置の構成
図1は、本発明にかかる冷凍装置の一実施形態としての給湯装置1の概略構成図である。給湯装置1は、超臨界域で作動する冷媒(ここでは、二酸化炭素)を使用して二段圧縮式冷凍サイクルを行うことで、温水を作り出す装置である。
給湯装置1は、水回路90と、冷媒回路10とを有している。
(水回路)
水回路90は、図1に示すように、外部から供給される水をポンプ91によって後述する熱源側熱交換器4に導く入水配管92と、この熱源側熱交換器4から供給先へとお湯を供給する出水配管93とから構成されている。このポンプ91は、モータ91mを有しており、制御によって熱源側熱交換器4に供給する水量を調節できるようになっている。
(冷媒回路)
冷媒回路10は、主として、圧縮機構2と、熱源側熱交換器4と、膨張機構5と、利用側熱交換器6と、中間冷媒管22と、中間冷却器7等を有している。
圧縮機構2は、本実施形態において、2つの圧縮要素で冷媒を二段圧縮させる。
中間冷媒管22は、圧縮機構2の低段側の圧縮要素から吐出する冷媒を、高段側の圧縮要素に導く配管である。
中間冷却器7は、この中間冷媒管22を通過する冷媒を冷却させることで、圧縮仕事の量を低減化させる外部冷却装置である。
熱源側熱交換器4は、水回路90によって供給される水を加熱するために、冷媒の放熱器として機能する熱交換器である。この熱源側熱交換器4における熱交換によって、冷媒回路10の冷媒は放熱し、水回路の水は加熱される。
膨張機構5は、熱源側熱交換器4と利用側熱交換器6との間に設けられ、通過する冷媒を減圧しつつ、冷媒流量を調節する。
利用側熱交換器6は、フィンチューブ型熱交換器であって、冷媒を、送風機3から供給される外部空気との間で熱交換させる。ここでは、利用側熱交換器6は、膨張機構5において減圧された冷媒を蒸発させる蒸発器として機能する。この利用側熱交換器6の詳細については、後述する。
送風機3は、モータ3mを有しており、利用側熱交換器6に供給する風量を調節することができる。
そして、利用側熱交換器6で蒸発された冷媒は、上記圧縮機構2に吸入されることで冷凍サイクルが行われる。
<1−2>利用側熱交換器
次に、利用側熱交換器6の詳細構成について図を参照しつつ説明する。
図2は、利用側熱交換器6の正面図である。図3は、利用側熱交換器6の右側面図である。図4は、利用側熱交換器6の上面図である。
なお、正面側には送風機3が設けられ、背面側から正面側に流れる空気流れを形成させる。このため、以下、正面側は風下側を、背面側は風上側を意味するものとする。そして、右側、左側との表現は、それぞれ正面側から見た場合の位置を示すものとする。
この利用側熱交換器6は、複数のフィンから構成されるフィン群に対して、複数の伝熱管から構成される管列が貫通するように構成されている。
上面図である図4に示すように、利用側熱交換器6は、略L字形状に折れ曲がって、送風機3を背面側および左側面側から覆うように形成されている。
この利用側熱交換器6は、図4に示すように、送風機3が駆動することによって、矢印で示す方向に空気流れFが形成される。
ここで、風上側のフィン61,62,63・・・が鉛直方向(図4の奥行き方向)を長手方向として、互いに面平行の位置関係で厚み方向に並ぶことで、風上側フィン群60を構成している。また、風上側フィン群60を板厚方向に貫通させている風上側の伝熱管41,42,43・・・がフィン61,62,63・・・の板厚方向を長手方向としつつ、互いに平行の位置関係で鉛直方向(図4の奥行き方向)に並ぶことで風上側伝熱管列40を構成している。
風下側のフィン71,72,73・・・についても、風下側に配置されている点以外は、風上側フィン群60と同様であり、風下側フィン群70を構成している。また、風下側の伝熱管51,52,53・・・についても、風下側に配置されている点以外は、風上側伝熱管列40と同様であり、風下側伝熱管群50を構成している。
なお、後述するが、給湯装置1の蒸発器として機能する利用側熱交換器6は、運転条件や周囲温度によって、着霜が生じることがあるが、この場合の着霜は、主として風上側フィン群60や風上側伝熱管群40の風上側から生じはじめることになる。
<1−3>伝熱管の詳細
伝熱管41,42,43・・・,51,52,53・・・は、いずれも銅製の配管である。なお、伝熱管41,42,43・・・,51,52,53・・・の材質としては、銅に限られるものではなく、例えば、銅を含んだ合金によって形成されていてもよい。
なお、上記給湯装置1において作動冷媒として二酸化炭素が用いられ、所定効率以上の冷凍サイクルを実行する場合には、冷媒の圧力が臨界圧力を超えるまで高圧になる。この高圧は、従来のR−22等のフルオロカーボン系の冷媒を用いた冷凍サイクルの高圧よりも非常に高いため、この利用側熱交換器6の伝熱管41,42,43・・・,51,52,53・・・としては、耐圧強度を確保するために、素材として銅を用い、かつ、外径を7mmとしている。なお、この伝熱管の肉厚は、耐圧強度を十分に確保する観点から、管径、使用冷媒、対象機器に適用される法規に基づいて定まる値とすることができる。また、この伝熱管の外径は、7mmに限られるものではなく、例えば、4mm以上7mm未満であっても、耐圧強度を確保することができる。
<1−4>フィンの詳細形状
以下、図5〜図9を参照しつつ、フィン61および伝熱管41,42を例に挙げて、利用側熱交換器6のフィンの詳細形状を説明する。
図5は、フィン61に伝熱管41,42が貫通している様子を示す斜視図である。
図6は、フィン61の正面図である。
図7は、フィン61の部分拡大正面図である。
図8は、フィン61の図7で示すI−I面の断面図である。
なお、各図面においてFで示す空気流れ方向は、送風機3が駆動した場合に生じる空気流れ方向を示しており、この矢印Fを基準に風上側か風下側かを示しながら、以下説明する。
フィン61は、折り目P1、P2,P3、板61a、61b、61c、61d、貫通孔O1、O2、スリットS11〜S26、切り起こしW11〜W26、略平坦部Rを有しており、アルミによって形成されている。なお、アルミのみに限らず、アルミを含む合金で形成されていてもよい。
なお、このフィン61は、一枚当たりの厚みが、0.1mmとなっている。なお、この厚みは、0.1mmに限られず、例えば、0.05mmよりも大きく0.50mmよりも小さくてもよい。
このフィン61は、図6および図8に示すように、フィン61の長手方向に対して平行に延びる折り目P1、折り目P3が山となっており、同様に平行に延びる折り目P2が谷となるように、波形形状となっている。この波形形状の傾斜程度は、図8に示すように、4.5mmに対して0.3mm上昇もしくは下降する程度の傾斜となっている。
ここで、板61aは、フィン61の折り目P1より風上側に位置する板である。また、板61bは、フィン61の折り目P1と折り目P2とによって囲まれている板である。板61cは、フィン61の折り目P2と折り目P3とによって囲まれている板である。板61dは、フィン61の折り目P3より風下側に位置する板である。
貫通孔O1には、伝熱管41が貫通するように設けられている。そして、伝熱管41の外周と、貫通孔O1の内周と、が互いに密着している。また、同様に、貫通孔O2には、伝熱管42が貫通するように設けられている。そして、伝熱管42の外周と、貫通孔O2の内周と、が互いに密着している。この密着形状によって、伝熱管41,42を流れる冷媒の熱を効率的にフィン61に伝達させることができる。
スリットS11〜S26は、それぞれ切り起こしW11〜W26を設けるために切り込まれた部分であり、フィン61の厚み方向に貫通している。例えば、スリットS11の開口形状は、切り起こしW11の形状に対応しており、略台形形状を有している。そして、スリットS11のうちフィン61の長手方向の一方側の1つの辺を介して、スリットS11と切り起こしW11とが繋がっている。すなわり、スリットS11は、フィン61に対して切り込みを入れ、それを板厚方向に延びる方向に起こした結果生じる開口である。この1つの辺のフィン61の対応スリットに対する長手方向の向き(切り起こされる向き)は、いずれも同じ側となって統一されており製造が容易になっている。また、切り起こしW11は、同様に、フィン61に対して切り込みを入れ、それを板厚方向に延びる方向に起こした結果生じる突出部である。
なお、切り起こしW11、W12、W13のひとかたまり、切り起こしW14、W15、W16のひとかたまり等、には、それぞれ切り起こしW11と切り起こしW12との間のように、それぞれ間隔が設けられている。このため、切り起こしに触れて十分に熱交換した空気は、切り起こしの間から漏れ出しながら流れることができ、通風抵抗が増大し過ぎないようにすることができている。また、この切り起こし同士の間隔が設けられていることで、ドレン水が生じた場合であっても、水捌け性を向上させることができている。
また、これらの切り起こしW11、W14、W21、W24およびスリットS11、S14,S21,S24は、いずれも板61aの範囲内に位置しており、折り目P1までは達していない。また、切り起こしW12、W15、W22、W25およびスリットS12、S15,S22,S25は、いずれも板61bの範囲内に位置しており、折り目P1、P2のいずれにも達していない。さらに、切り起こしW13、W16、W23、W26およびスリットS13、S16,S23,S26は、いずれも板61cの範囲内に位置しており、折り目P2、P3のいずれにも達していない。
なお、切り起こしW11〜W26は、貫通孔O1の近傍に配置される切り起こしW11〜W16と、貫通孔O2の近傍に配置される切り起こしW21〜W26と、が設けられている。このうち、切り起こしW11、W12、W13およびスリットS11、S12,S13は、貫通孔O1に対して、フィン61の長手方向の一方側に設けられており、風上側に向かうほど、貫通孔O1の中心線(フィン61の長手方向に垂直な方向の線)との距離が長くなるように配置されている。なお、切り起こしW11、W12、W13は、いずれも同一面上に位置するように配置されている。また、切り起こしW14、W15、W16およびスリットS14、S15,S16についても同様に、貫通孔O1に対して、フィン61の長手方向の他方側(切り起こしW11等が設けられている位置とは反対側)に設けられており、風上側に向かうほど、貫通孔O1の中心線(フィン61の長手方向に垂直な方向の線)との距離が長くなるように配置されている。なお、切り起こしW14、W15、W16は、いずれも同一面上に位置するように配置されている。これにより、切り起こしW11〜W16は、風上側に向かうほど、同一の板61a,61b,61c内での距離が離れていくように配置されている。なお、ここで、貫通孔O1の中心から幅方向に延びる線と、切り起こしW11,W12,W13が並ぶ面とフィン61との交わりと、がなす角であって、風上側に向けて広がっている迎え角の大きさは、14度となるように設けられている。なお、この迎え角が14度であるのは、切り起こしW14,W15,W16や、切り起こしW21,W22,W23や、切り起こしW24,W25,W26についても同様である。
この迎え角についても、14度に限られず、例えば、10度より大きく、40度より小さければ、他の角度を採用してもよい。ここで、迎え角を40度より小さくするのは、40度以上にすると、空気流れに対する通風抵抗が増大し過ぎてしまい、利用側熱交換器6全体としての熱交性能を良好に保つことができないからである。また、迎え角を10度より大きくするのは、10度以下にすると、切り起こし周辺の空気流れが早すぎることになり、熱交性能を向上させることができないからである。
略平坦部Rは、図7に示すように、貫通孔O1と貫通孔O2との間のうち、切り起こしW14,W15,W16と切り起こしW21,W22,W23との間の、切り起こしやスリット等が設けられていない略平坦部分である。すなわち、この略平坦部Rには、切り起こしやスリット等が無く、単に波形のフィン61の形状による凹凸があるだけであり、通風抵抗が非常に少ない部分である。なお、伝熱管41、42や切り起こしW14、W15、W16、W21、W22、W23に着霜が生じることで伝熱管41,42や切り起こしW14、W15、W16、W21、W22、W23における空気流れの通過が困難になった状況であっても、この略平坦部Rは、通風抵抗が少ないために着霜が生じにくく、空気流れとの間で熱交換を続けることができるようになる。
なお、上述したように、切り起こしが切り起こされる向きが統一されているため、切り起こしに対するスリットの配置方向も統一され、製造が容易になっている。このため、ここでは、切り起こしのスリットが最寄りの貫通孔側に位置しているところ(例えば、切り起こしW22に対するスリットS22)では、切り起こし位置を風下寄りにしつつ(切り起こしW21と切り起こしW22との距離が3.5mmで、切り起こしW22と切り起こしW23との距離が2.8mm)、切り起こしのスリットが最寄りの貫通孔とは反対側に位置しているところ(例えば、同じ板61b上である切り起こしW15に対するスリットS15)では、切り起こし位置を風上寄りにして配置している(切り起こしW14と切り起こしW15との距離が2.8mmで、切り起こしW15と切り起こしW16との距離が3.5mm)。これにより、伝熱管42近傍で熱交換された空気は、スリットS22を介して流れやすくなり、死水域が生じにくくしている。また、伝熱管41近傍で熱交換された空気は、切り起こしW15が風上側に離れて配置されていることで、スリットが切り起こしと伝熱管41との間に位置していなくても、切り起こしW15と伝熱管41との間を介して空気が流れやすくなり、死水域を生じにくくしている。
<1−5>切り起こしの詳細形状
切り起こしW11〜W26は、図8および図9に示すように、風上側の方が切り起こし高さ(フィン61の板厚方向の長さ)が概ね高くなるように形成されている。
具体的には、図7に示すように、上底を風上側として、下底を風下側として、高さをスリットと切り起こしとの共通の辺の長さとすると、各切り起こしの形状は以下のようになる。切り起こしW11,W14,W21,W24は、上底が0.25mm、下底が1.0mm、高さが1.7mmである。また、切り起こしW12、W15、W22、W25は、上底が0.51mm、下底が0.76mm、高さが2.0mmである。さらに、切り起こしW13、W16、W23、W26は、上底が0.65mm、下底が0.8mm、高さが2.0mmである。このように、風上側の上底が下底よりも短くなるように形成することで、死水域を生じさせる原因となる高い切り起こしを、フィン61の風上側に存在させないようにしている。これにより、風上側に設けられた切り起こしの風下側においても空気流れとフィン61の面とが十分に触れあうようにすることができ、熱交性能を向上させている。ここでの切り起こしの辺は、いずれも0.25mm以上となるように設計している。これは、本実施形態のアルミ製の板厚0.1mm程度のフィンでは、0.25mmより小さい辺を有する切り起こしを設けようとしても、製造が困難であるためである。
なお、切り起こしについては、このような形状に限られず、例えば、図9に示すように、切り起こしW21、W22,W23の各辺の長さを、h21f<h21b<h22<h23<FP(フィンピッチ)となるように形成してもよい。
さらには、フィン61の波形形状を考慮して山である折り目P1の風下側の切り起こしを長めに、谷である折り目P2の風下側の切り起こしを短めになるように、形成してもよい。
<1−6>フィンのスタッキング状態
図10にフィン61、62、63、64、65・・・がスタッキングされてフィン群を構成している様子を示す。
なお、ここでのフィン同士の板厚方向の間隔であるフィンピッチFPが、1.0mmより大きく、3.0mmより小さくなるように設けられており、ここでは、1.5mmとされている。このように、フィンピッチFPを狭くすることで、利用側熱交換器6の単位体積当たりの熱交換量を増大させることができる。
さらに、ここでは、切り起こしW21,W22、W23のフィン厚み方向の高さが、フィンピッチFPの0.9以下となるように設計されている。これにより、切り起こしの上端とその上方に位置しているフィンの下面との間に空気が流れやすくなるため、切り起こし近傍で空気が停滞してしまうことを防ぐことができ、熱交性能を向上させている。
<1−7>貫通孔の内径D(伝熱管の外径)と各値との関係
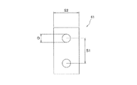
図11に、フィン61の簡略形状を示すように、貫通孔O1や貫通孔O2の内径(=伝熱管の外径)をDとして、貫通孔O1の中心と貫通孔O2の中心との間の孔中心間距離をS1として、フィン61の長手方向に垂直な方向の距離であるフィン幅をS2とする。
(S1/Dについて)
本実施形態のフィン61では、孔中心間距離S1を伝熱管の外径Dで除した値が3.0より大きい関係で設計されている。ここで、S1/Dの値が大きくなるということは、貫通孔の内径D(伝熱管の外径)に比べて孔中心間距離S1が長いということ、すなわち、伝熱管の本数密度が低いということ、もしくは、伝熱管が細いということである。ここで、図12において、従来の切り起こしの無い熱交換器のS1/Dの関係について点線で、上記実施形態のS1/Dの関係について実線で示す。ここでは、従来の熱交換器ではS1/Dの値が3を超えたあたりから熱交性能比が減少しているのに対して、本実施形態の利用側熱交換器6では熱交性能比の落ち方が従来よりも緩やかになる。このように、伝熱管の強度を増すために管径を短くしたり、耐圧強度を確保するために肉厚化させてこれに伴う材料コスト増加分や総重量増加分を小さく抑えるために伝熱管の本数密度を小さく抑えたとしても、切り起こしが設けられていることで熱交性能が落ちにくい。この効果は、S1/Dの値が3.5であればより大きくなるため、3.0の値の代わりに3.5を用いてもよい。
(S2/Dについて)
また、ここでは、S2/Dの値が、2.2より大きく、3.5より小さくなるように設計されている。S2/Dの値がこの範囲となるフィン形状では、図13に示すように、熱交性能比を良好にすることができている。ここで、S2/Dの比率が2.2以下である場合には、伝熱管の関係を小さくすることが困難になっていき、かつ、伝熱管を流れる冷媒から得た熱を外部の空気と熱交換させるためのフィン面積が不足することになる。また、S2/Dの比率が3.5以上である場合には、伝熱管を通じて供給される冷媒の熱をフィン幅方向の端部まで伝えることができず、フィン幅方向端部において熱交換を有効に行わせることができず、むしろ通風抵抗が増大してしまう。このため、フィン幅S2を伝熱管の外径Dで除した値として、2.2より大きく、3.5より小さい範囲を採用することで、通風抵抗の増大を小さく抑えつつ有効な熱交換に必要とされるフィン面積を確保することができている。
(W/Dについて)
本実施形態のフィン61では、図7に示すように、切り起こしの空気流れ方向の長さ成分Wを、貫通孔の内径D(伝熱管の外径)で除した値が、1.0より大きく2.5より小さくなるように設計している。
このW/Dの値が1.0以下である場合には、伝熱を促進させるという突出部による効果を十分に得ることができなくなる。また、W/Dの値が2.5以上である場合には、空気流れの抜けを良好に保つことができず熱交効率が低下する。このため、これらの範囲を除いた本実施形態のフィン形状では、空気流れの抜けを良好に維持したままで伝熱を促進させることができている。
<1−8>2列配置について
図4で示したように、本実施形態の利用側熱交換器6では、風上側のフィン61(風上側フィン群60)と、風下側のフィン71(風下側フィン群70)と、が並列に配置されている。ここでは、風上側のフィン61に設けられる伝熱管の位置と、風下側のフィン71に設けられる伝熱管の位置とが、千鳥状、すなわち、正面視において風上側の伝熱管と風下側の伝熱管が交互に見えるように配置される。
図14に二列配置の簡略構成図を示す。
ここでは、フィン61が上流側に、フィン71が下流側に配置されている。
この風下側のフィン71も、形状は、上述したフィン61と同様である。
ここでは、説明の便宜上、フィン71の中心付近に設けられており伝熱管51を貫通させる開口を貫通孔O3とする。
また、空気流れとして、フィン61のうち、伝熱管41に向かっている空気流れf1、切り起こしに向かっている空気流れf2、略平坦部Rに向かっている空気流れf3があるとする。
ここでは、空気流れf1については、伝熱管42に触れながら通過することで、十分な熱交換が行われる。また、空気流れf2については、伝熱管42の近くに設けられている切り起こしに触れながら通過することで十分な熱交換が行われる。また、切り起こしを避けるように流れた空気流れf2の一部は、略平坦部R近傍に向けて流れる。さらに、空気流れf3については、切り起こしを避けるように流れた空気流れf2の一部をも含めて、略平坦部Rにおいて多少の熱交換を行いつつ、通風抵抗が低いことから、風下側のフィン71の伝熱管51に向かい、伝熱管51に触れながら通過することで十分な熱交換が行われる
これにより、空気流れは、いずれの箇所を通過する場合であっても、2列設けられた利用側熱交換器6を通過する際に十分に熱交換される。
また、仮に、風上側のフィン61の風上側で着霜が生じたとしても、主として伝熱管42近傍および切り起こし近傍において生じるだけで、略平坦部Rには生じない。これにより、着霜が生じる状況下であっても、空気流れf3については、略平坦部での多少の熱交換と、伝熱管51における熱交換を確保することができるようになっている。
<1−9>変形例A
上記実施形態では、略平坦部Rには切り起こしが無い場合を例に挙げて説明した。
しかし、本発明はこれに限られるものではなく、例えば、図15に示すように、略平坦部Rの風下側において、板厚方向上方かつフィンの長手方向に延びて壁を形成している切り起こしV1、V2、V3をさらに備えたフィン261を採用してもよい。
ここでは、略平坦部Rを通過する空気流れについても切り起こしV1に触れさせることで十分に熱交換させることができるようになる。これにより、二列でなく、一列のみで用いる場合であっても、全体的に熱交換を行わせることが可能になる。
<1−10>変形例B
上記実施形態では、風上側のフィン61と風下側のフィン71とが同一形状の場合を例に挙げて説明した。
しかし、本発明はこれに限られるものではなく、例えば、図16に示すように風上側のフィン361については上記実施形態のフィン61と同一の形状としつつ、風下側のフィン371については、切り起こしW11、W12、W13のように空気流れ方向に向けて傾斜させて設けるのではなく、伝熱管41の下流側に板厚方向上方かつフィンの長手方向に延びて壁を形成している切り起こしKを、伝熱管42の下流側に板厚方向上方かつフィンの長手方向に延びて壁を形成している切り起こしLを、それぞれ位置させるようにしてもよい。
<1−11>変形例C
上記実施形態では、給湯装置1を例に挙げて説明した。
しかし、本発明はこれに限られるものではなく、例えば、図17に示すように、水の加熱に限られない冷凍装置201としてもよい。
<1−12>変形例D
上記実施形態では、貫通孔O1、O2の中心を結んだラインに対して上流側においても切り起こしが設けられている場合を例に挙げて説明した。
しかし、本発明は、これに限られるものではなく、例えば、図18に示すように、切り起こしは、貫通孔O1、O2の中心を結んだラインに対して上流側には設けず、下流側にのみ設けるフィン461を採用してもよい。この場合には、着霜が生じやすい風上側の通風抵抗を抑えることができ、着霜を生じにくくさせることができる。
本発明の冷凍装置は、伝熱管の耐圧強度を増大させたい場合であっても、熱交換器のコストの増大を小さく抑えつつ、着霜による熱高性能の低下を小さく抑えることが可能になるため、流体同士を直接接触させることなく熱交換を行わせるフィンチューブ型熱交換器、これを備えた冷凍装置および給湯装置に適用した場合に特に有用である。
本発明の第1実施形態にかかる冷凍装置の一実施形態としての空気調和装置の概略構成図である。 利用側熱交換器の正面図である。 利用側熱交換器の右側面図である。 利用側熱交換器の上面図である。 フィンに伝熱管が貫通している様子を示す斜視図である。 フィンの正面図である。 フィンの部分拡大正面図である。 フィンの図7に示すI−I面を示す断面図である。 切り起こしの形状関係図である。 フィンのスタッキングの様子を示す図である。 フィンの所定距離を示す説明図である。 S1/Dと熱交性能との関係を示す図である。 S2/Dと熱交性能比との関係を示す図である。 風上側のフィンと風下側のフィンとの空気流れ関係を示す説明図である。 変形例(A)のフィンの概略構成図である。 変形例(B)のフィンの概略構成図である。 変形例(C)の冷凍装置の概略冷媒回路図である。 変形例(D)のフィンの概略構成図である。
1 給湯装置
2 圧縮機構
4 熱源側型熱交換器
5 膨張機構
6 利用側型熱交換器(フィンチューブ型熱交換器)
7 中間冷却器
10 冷媒回路
22 中間冷媒管
41 伝熱管(第1伝熱管)
42 伝熱管(第2伝熱管)
61 フィン
71 下流側フィン
90 水回路
201 冷凍装置
FP フィンピッチ
K 切り起こし(第1突出壁)
L 切り起こし(第2突出壁)
O1 貫通孔(第1貫通孔)
O2 貫通孔(第2貫通孔)
O3 貫通孔(第3貫通孔)
R 略平坦部
S1 孔中心間距離
S2 フィン幅
S11〜S26 スリット(切り込み部)
V1、V2,V3 切り起こし(突出壁)
W11〜W26 切り起こし(突出部)

Claims (15)

  1. 流体同士を直接接触させることなく熱交換を行わせるフィンチューブ型熱交換器(6)であって、
    円筒形状の第1伝熱管(41)と、
    前記第1伝熱管と外径が略等しい円筒形状の第2伝熱管(42)と、
    内側が前記第1伝熱管の外周と接している第1貫通孔(O1)と、内側が前記第2伝熱管の外周と接している第2貫通孔(O2)と、前記第1貫通孔もしくは前記第2貫通孔の少なくともいずれか一方からの距離が前記第1貫通孔と前記第2貫通孔との最近接距離の1/3以内である位置に設けられ板厚方向に突出した突出部と、(W11〜W26)と、前記第1貫通孔と前記第2貫通孔との間のうち前記突出部を除いた位置において板厚方向に突出した形状が設けられていない略平坦部(R)と、を有しており、前記第1貫通孔の中心から前記第2貫通孔の中心までの距離である孔中心間距離(S1)を前記第1伝熱管の外径(D)で除した値が3.0より大きい形状の複数の上流側フィン(61)と、
    円筒形状の第3伝熱管(51)と、
    内側が前記第3伝熱管(51)の外周と接している第3貫通孔(O3)を有する複数の下流側フィン(71)と、
    を備え
    前記突出部(W11〜W26)の長さのうち前記上流側フィンの面上で前記上流側フィンの長手方向に対して直交する方向に投影される長さ成分(W)を、前記第1伝熱管の外径(D)で除した値は、1.0より大きく、2.5より小さく、
    前記上流側フィンの面上で前記上流側フィンの長手方向に対して直交する方向における前記上流側フィンの長さであるフィン幅(S2)を、前記第1伝熱管の外径(D)で除した値は、2.2より大きく、3.5より小さく、
    前記下流側フィンは、前記下流側フィンの長手方向および前記下流側フィンの板厚方向に広がる第1突出壁(K)および第2突出壁(L)を有しており、前記第1突出壁、前記第3貫通孔、前記第2突出壁がこの順に前記下流側フィンの長手方向に並んで配置されており、
    前記第3伝熱管および前記下流側フィンは、前記第1伝熱管、前記第2伝熱管および前記上流側フィンに対して空気流れの下流方向に位置しており、
    前記第3伝熱管(71)は前記略平坦部(R)に対して空気流れの下流方向に位置し、前記第1突出壁(K)は前記第1伝熱管(41)に対して空気流れの下流方向に位置し、前記第2突出壁(L)は前記第2伝熱管(51)に対して空気流れの下流方向に位置しており、
    前記複数の上流側フィン(61)および前記複数の下流側フィン(71)は、板厚方向に互いに重なるように配置されており、フィンピッチは1.0mmより大きく3.0mmよりも小さく、
    前記複数の上流側フィン(61)および前記複数の下流側フィン(71)は、一枚の厚みが0.05mmより大きく、0.50mmよりも小さく、
    冷媒を蒸発させる蒸発器である、
    フィンチューブ型熱交換器(6)。
  2. 前記突出部(W11〜W26)は、前記第1貫通孔(O1)の中心近傍と前記第2貫通孔(O2)の中心近傍とを結ぶラインで2つに分けられる前記上流側フィンの領域のうち、空気流れ方向において風下側となる領域にのみ設けられている、
    請求項1記載のフィンチューブ型熱交換器(6)。
  3. 前記突出部(W11〜W26)は、空気流れ方向の風上側よりも風下側のほうが前記上流側フィンの板厚方向における長さである突出長さが長い傾斜部分を少なくとも一部に有している、
    請求項1または2に記載のフィンチューブ型熱交換器(6)。
  4. 前記突出部(W11〜W26)は、空気流れ方向の上流側に位置する第1突出部(W11,W12)と、前記第1突出部とは離れており前記第1突出部より下流側に位置する第2突出部(W12,W13)と、を有している、
    請求項1からのいずれか1項に記載のフィンチューブ型熱交換器(6)。
  5. 前記第1突出部(W11)の板厚方向における突出長さは、所定長さ以上である、
    請求項に記載のフィンチューブ型熱交換器(6)。
  6. 前記突出部(W11〜W26)の板厚方向の長さを前記上流側フィン同士の板厚方向の間隔(FP)で除した値が、0.9以下である、
    請求項1から5のいずれか1項に記載のフィンチューブ型熱交換器(6)。
  7. 前記上流側フィン(61)は、長手方向に延びる複数の折り目を有している、
    請求項1からのいずれか1項に記載のフィンチューブ型熱交換器(6)。
  8. 前記突出部(W11〜W26)は、空気流れ方向の上流側に位置する第1突出部(W11,W12)と、前記第1突出部とは離れており前記第1突出部より下流側に位置する第2突出部(W12,W13)と、を有しており、
    前記第1突出部および前記第2突出部は、それぞれ前記上流側フィンの複数の折り目(P1,P2,P3)の間に位置しており、前記折り目上には位置していない、
    請求項に記載のフィンチューブ型熱交換器(6)。
  9. 前記上流側フィン(61)は、前記略平坦部(R)に対して空気流れの下流方向の位置において、前記上流側フィンの長手方向および前記上流側フィンの板厚方向に広がる突出壁(V1,V2,V3)を有している、
    請求項1からのいずれか1項に記載のフィンチューブ型熱交換器(6)。
  10. 前記上流側フィン(61)は、一部を板厚方向に切り込んだ切り込み部(S11〜S26)を有し、
    前記突出部は、前記切り込み部(S11〜S26)を板厚方向に起こした切り起こし部(W11〜W26)である、
    請求項1からのいずれか1項に記載のフィンチューブ型熱交換器(6)。
  11. 前記切り起こし部(W11〜W26)は、前記第1貫通孔の中心と前記第2貫通孔の中心とのうちより近い方との距離は、風上側よりも風下側のほうが短く、
    前記切り起こし部の長手方向と、前記上流側フィンの長手方向に対して前記上流側フィンの面上で直交する方向と、がなす角度である迎え角は、10度より大きく40度より小さい、
    請求項10に記載のフィンチューブ型熱交換器(6)。
  12. 前記第1伝熱管および前記第2伝熱管は、銅もしくは銅を含有する合金からなり、外径が4mm以上7mm以下である、
    請求項1から11のいずれか1項に記載のフィンチューブ型熱交換器(6)。
  13. 作動冷媒は、二酸化炭素である、
    請求項1から12のいずれか1項に記載のフィンチューブ型熱交換器(6)。
  14. 冷凍サイクルにおいて冷媒の蒸発器としてのみ機能させ、屋外に配置される請求項1から13のいずれか1項に記載のフィンチューブ型熱交換器(6)と、
    前記フィンチューブ熱交換器に空気流れを供給する送風部(3)と、
    圧縮機(2)と、
    熱源側熱交換器(4)と、
    膨張機構(5)と、
    を備えた冷凍装置(201)。
  15. 冷凍サイクルにおいて冷媒の蒸発器としてのみ機能させ、屋外に配置される請求項1から13のいずれか1項に記載のフィンチューブ型熱交換器(6)と、
    前記フィンチューブ熱交換器に空気流れを供給する送風部(3)と、
    圧縮機(2)と、
    熱源側熱交換器(4)と、
    膨張機構(5)と、
    前記熱源側熱交換器(4)に加熱対象となる水を供給させる水回路(90)と、
    を備えた給湯装置(1)。
JP2008119061A 2008-04-30 2008-04-30 フィンチューブ型熱交換器、これを備えた冷凍装置および給湯装置 Active JP5251237B2 (ja)

Priority Applications (1)

Application Number Priority Date Filing Date Title
JP2008119061A JP5251237B2 (ja) 2008-04-30 2008-04-30 フィンチューブ型熱交換器、これを備えた冷凍装置および給湯装置

Applications Claiming Priority (1)

Application Number Priority Date Filing Date Title
JP2008119061A JP5251237B2 (ja) 2008-04-30 2008-04-30 フィンチューブ型熱交換器、これを備えた冷凍装置および給湯装置

Publications (2)

Publication Number Publication Date
JP2009270731A JP2009270731A (ja) 2009-11-19
JP5251237B2 true JP5251237B2 (ja) 2013-07-31

Family

ID=41437452

Family Applications (1)

Application Number Title Priority Date Filing Date
JP2008119061A Active JP5251237B2 (ja) 2008-04-30 2008-04-30 フィンチューブ型熱交換器、これを備えた冷凍装置および給湯装置

Country Status (1)

Country Link
JP (1) JP5251237B2 (ja)

Families Citing this family (5)

* Cited by examiner, † Cited by third party
Publication number Priority date Publication date Assignee Title
JP2011144998A (ja) * 2010-01-14 2011-07-28 Mitsubishi Electric Corp 熱交換器、及びこの熱交換器を備えた空気調和機
KR20140017835A (ko) 2012-08-01 2014-02-12 엘지전자 주식회사 열교환기
JP6194471B2 (ja) * 2012-12-25 2017-09-13 パナソニックIpマネジメント株式会社 フィンチューブ熱交換器
WO2018008129A1 (ja) * 2016-07-07 2018-01-11 三菱電機株式会社 冷凍サイクル装置
JP2019138582A (ja) * 2018-02-13 2019-08-22 株式会社Uacj 冷凍冷蔵庫用熱交換器

Family Cites Families (8)

* Cited by examiner, † Cited by third party
Publication number Priority date Publication date Assignee Title
JPS5552228Y2 (ja) * 1975-04-28 1980-12-04
JPS6199097A (ja) * 1984-10-18 1986-05-17 Matsushita Electric Ind Co Ltd フイン付熱交換器
JP2002243383A (ja) * 2001-02-19 2002-08-28 Mitsubishi Electric Corp 熱交換器およびこれを用いた空気調和機
JP2004085013A (ja) * 2002-08-23 2004-03-18 Daikin Ind Ltd 熱交換器
JP2005009827A (ja) * 2003-06-20 2005-01-13 Matsushita Electric Ind Co Ltd フィンチューブ型熱交換器及びヒートポンプ装置
JP4982870B2 (ja) * 2005-12-28 2012-07-25 国立大学法人横浜国立大学 伝熱装置
JP2007232283A (ja) * 2006-03-01 2007-09-13 Yokohama National Univ フィンチューブ型熱交換器
JP4169079B2 (ja) * 2006-10-02 2008-10-22 ダイキン工業株式会社 フィンチューブ型熱交換器

Also Published As

Publication number Publication date
JP2009270731A (ja) 2009-11-19

Similar Documents

Publication Publication Date Title
JP5397489B2 (ja) 熱交換器および空気調和機
US20120103583A1 (en) Heat exchanger and fin for the same
JP2007232246A (ja) 熱交換器
JP5312413B2 (ja) フィンチューブ熱交換器及びそれを用いた冷凍サイクル装置
JP5251237B2 (ja) フィンチューブ型熱交換器、これを備えた冷凍装置および給湯装置
CN103765150A (zh) 空调机
JP5020886B2 (ja) 熱交換器
JP6157593B2 (ja) 熱交換器およびこれを用いた冷凍サイクル空調装置
CN103791750B (zh) 翅片管热交换器
JP6332377B2 (ja) 熱交換器
JP2006138503A (ja) 熱交換器
CN103791661B (zh) 翅片管热交换器
JP5631452B2 (ja) フィンチューブ熱交換器及びそれを用いた冷凍サイクル装置
JP5569409B2 (ja) 熱交換器および空気調和機
JP5402159B2 (ja) 空気熱交換器
JP5664272B2 (ja) 熱交換器及び空気調和機
JP6678413B2 (ja) 空気調和機
JP7006376B2 (ja) 熱交換器
JP5864030B1 (ja) 熱交換器、及び、この熱交換器を備えた冷凍サイクル装置
JP6230852B2 (ja) 空気調和機及び空気調和機用熱交換器
JP2010230300A (ja) 熱交換器、及びこの熱交換器を備えた空気調和機
JP5072983B2 (ja) フィンチューブ型熱交換器およびこれを用いた空調装置
JP2010151403A (ja) 熱交換器
JP2010127547A (ja) 冷凍サイクル装置
JP2011047600A (ja) 熱交換器及びそれを搭載した空気調和機

Legal Events

Date Code Title Description
A621 Written request for application examination

Free format text: JAPANESE INTERMEDIATE CODE: A621

Effective date: 20110418

A977 Report on retrieval

Free format text: JAPANESE INTERMEDIATE CODE: A971007

Effective date: 20120807

A131 Notification of reasons for refusal

Free format text: JAPANESE INTERMEDIATE CODE: A131

Effective date: 20120814

A521 Written amendment

Free format text: JAPANESE INTERMEDIATE CODE: A523

Effective date: 20120928

TRDD Decision of grant or rejection written
A01 Written decision to grant a patent or to grant a registration (utility model)

Free format text: JAPANESE INTERMEDIATE CODE: A01

Effective date: 20130319

A61 First payment of annual fees (during grant procedure)

Free format text: JAPANESE INTERMEDIATE CODE: A61

Effective date: 20130401

R151 Written notification of patent or utility model registration

Ref document number: 5251237

Country of ref document: JP

Free format text: JAPANESE INTERMEDIATE CODE: R151

FPAY Renewal fee payment (event date is renewal date of database)

Free format text: PAYMENT UNTIL: 20160426

Year of fee payment: 3