JP5131069B2 - ノズルユニット及び部品実装装置 - Google Patents

ノズルユニット及び部品実装装置 Download PDF

Info

Publication number
JP5131069B2
JP5131069B2 JP2008186332A JP2008186332A JP5131069B2 JP 5131069 B2 JP5131069 B2 JP 5131069B2 JP 2008186332 A JP2008186332 A JP 2008186332A JP 2008186332 A JP2008186332 A JP 2008186332A JP 5131069 B2 JP5131069 B2 JP 5131069B2
Authority
JP
Japan
Prior art keywords
shell member
nozzle unit
nozzles
nozzle
negative pressure
Prior art date
Legal status (The legal status is an assumption and is not a legal conclusion. Google has not performed a legal analysis and makes no representation as to the accuracy of the status listed.)
Expired - Fee Related
Application number
JP2008186332A
Other languages
English (en)
Other versions
JP2010027800A (ja
Inventor
明 木村
Current Assignee (The listed assignees may be inaccurate. Google has not performed a legal analysis and makes no representation or warranty as to the accuracy of the list.)
Sony Corp
Original Assignee
Sony Corp
Priority date (The priority date is an assumption and is not a legal conclusion. Google has not performed a legal analysis and makes no representation as to the accuracy of the date listed.)
Filing date
Publication date
Application filed by Sony Corp filed Critical Sony Corp
Priority to JP2008186332A priority Critical patent/JP5131069B2/ja
Priority to US12/458,044 priority patent/US7971915B2/en
Priority to CN2009101607148A priority patent/CN101631453B/zh
Publication of JP2010027800A publication Critical patent/JP2010027800A/ja
Application granted granted Critical
Publication of JP5131069B2 publication Critical patent/JP5131069B2/ja
Expired - Fee Related legal-status Critical Current
Anticipated expiration legal-status Critical

Links

Images

Classifications

    • HELECTRICITY
    • H05ELECTRIC TECHNIQUES NOT OTHERWISE PROVIDED FOR
    • H05KPRINTED CIRCUITS; CASINGS OR CONSTRUCTIONAL DETAILS OF ELECTRIC APPARATUS; MANUFACTURE OF ASSEMBLAGES OF ELECTRICAL COMPONENTS
    • H05K13/00Apparatus or processes specially adapted for manufacturing or adjusting assemblages of electric components
    • H05K13/04Mounting of components, e.g. of leadless components
    • H05K13/0404Pick-and-place heads or apparatus, e.g. with jaws
    • H05K13/0408Incorporating a pick-up tool
    • H05K13/0409Sucking devices
    • HELECTRICITY
    • H05ELECTRIC TECHNIQUES NOT OTHERWISE PROVIDED FOR
    • H05KPRINTED CIRCUITS; CASINGS OR CONSTRUCTIONAL DETAILS OF ELECTRIC APPARATUS; MANUFACTURE OF ASSEMBLAGES OF ELECTRICAL COMPONENTS
    • H05K13/00Apparatus or processes specially adapted for manufacturing or adjusting assemblages of electric components
    • H05K13/04Mounting of components, e.g. of leadless components
    • H05K13/0404Pick-and-place heads or apparatus, e.g. with jaws
    • H05K13/0408Incorporating a pick-up tool
    • H05K13/041Incorporating a pick-up tool having multiple pick-up tools
    • YGENERAL TAGGING OF NEW TECHNOLOGICAL DEVELOPMENTS; GENERAL TAGGING OF CROSS-SECTIONAL TECHNOLOGIES SPANNING OVER SEVERAL SECTIONS OF THE IPC; TECHNICAL SUBJECTS COVERED BY FORMER USPC CROSS-REFERENCE ART COLLECTIONS [XRACs] AND DIGESTS
    • Y10TECHNICAL SUBJECTS COVERED BY FORMER USPC
    • Y10TTECHNICAL SUBJECTS COVERED BY FORMER US CLASSIFICATION
    • Y10T29/00Metal working
    • Y10T29/53Means to assemble or disassemble
    • Y10T29/5313Means to assemble electrical device
    • Y10T29/53174Means to fasten electrical component to wiring board, base, or substrate
    • Y10T29/53178Chip component
    • YGENERAL TAGGING OF NEW TECHNOLOGICAL DEVELOPMENTS; GENERAL TAGGING OF CROSS-SECTIONAL TECHNOLOGIES SPANNING OVER SEVERAL SECTIONS OF THE IPC; TECHNICAL SUBJECTS COVERED BY FORMER USPC CROSS-REFERENCE ART COLLECTIONS [XRACs] AND DIGESTS
    • Y10TECHNICAL SUBJECTS COVERED BY FORMER USPC
    • Y10TTECHNICAL SUBJECTS COVERED BY FORMER US CLASSIFICATION
    • Y10T29/00Metal working
    • Y10T29/53Means to assemble or disassemble
    • Y10T29/5313Means to assemble electrical device
    • Y10T29/53191Means to apply vacuum directly to position or hold work part

Landscapes

  • Engineering & Computer Science (AREA)
  • Manufacturing & Machinery (AREA)
  • Microelectronics & Electronic Packaging (AREA)
  • Supply And Installment Of Electrical Components (AREA)

Description

本発明は、電子部品、あるいはその他の部品を保持するノズルユニット、及び、このノズルユニットを搭載し、保持された部品を基板等に実装する部品実装装置に関する。
従来から、電子部品等の微小部品を負圧を利用して吸着して保持するノズルを備え、その電子部品を基板に実装する部品実装装置がある。
部品実装装置の一例として、例えば水平面内で直交する2軸の方向に移動するヘッドを備え、部品を吸着保持する複数のノズルがそのヘッドに設けられた実装装置が開示されている。これら複数のノズルは、少なくとも2種類の異なるサイズの部品を保持するために、少なくとも2種類のノズルを含む(例えば、特許文献1参照。)。
他の実装装置は、無端ベルトに接続された複数の実装ヘッドを備え、その無端ベルトの駆動により水平面内で複数の実装ヘッドが移動する。1つの実装ヘッドには、地面に垂直な鉛直面内で放射状に広がるように複数の実装ノズルが設けられ、また、それら複数の実装ノズルは、水平方向を軸として回転可能に設けられている(例えば、特許文献2参照。)。
特許文献2に記載の部品実装装置では、その図13に示されるように、ノズル切り替えシャフト(25)の凹部(26)が、支点ピン(32)の端部に設けられた凸状部(33)と嵌合する。ノズル切り替えシャフト(25)が支点ピン(32)を回転させる。これにより、複数の実装ノズル(31)は、支点ピン(32)を回転軸として回転する。
特許第3981834号公報(段落[0049]、図4、5) 特開2005−5415号公報(段落[0029]、[0042]、図1、3、13)
特許文献2の記載の部品実装装置では、ノズル切り替えシャフト(25)により、複数の実装ノズル(31)が回転するので、ノズル切り替えシャフト(25)が凸状部(33)に接近して当接するための機構及びノズル切り替えシャフト(25)を回転させる機構等、複雑な機構の駆動源が必要とされる。
また、ノズル切り替えシャフト(25)と凸状部(33)とが接触したときに粉塵が発生する可能性もある。
以上のような事情に鑑み、本発明の目的は、ノズルを駆動するための機械的な複雑な機構の駆動源を必要とせず、また、粉塵の発生が少ないノズルユニット及びこれを搭載した部品実装装置を提供することにある。
上記目的を達成するため、本発明の一形態に係るノズルユニットは、
負圧を利用して部品を保持する複数のノズルを有し、前記複数のノズルを回転させる回転体と、
前記回転体を非接触で駆動する駆動源とを具備し、
前記回転体は、
第1の軸と、
前記第1の軸を中心に回転可能な第1のシェル部材と、
前記第1の軸とは異なる向きの第2の軸と、
前記複数のノズルを有し、前記第1のシェル部材を覆うように設けられ、前記第2の軸を中心に回転可能であり、前記第2の軸を介して前記第1のシェル部材と接続された第2のシェル部材とを有し、
前記ノズルユニットは、
前記負圧の供給路と、
前記負圧を前記第1のシェル部材に伝達する第1の開口を有し、前記供給路に接続され、前記第1のシェル部材に覆われるように設けられ、前記第1の軸を介して前記第1のシェル部材と接続された第3のシェル部材とをさらに具備し、
前記第1のシェル部材は、
複数の第2の開口であって、前記複数の第2の開口のうち1つの開口が前記第1の開口に対面するように前記駆動源により前記複数の第2の開口が選択的に切り替えられることで、前記第2のシェル部材の前記複数のノズルのうち1つのノズルに前記負圧を伝達する複数の第2の開口を有し、
前記ノズルユニットは、
前記第1の開口の周囲、または、前記複数の第2の開口の周囲に設けられ、前記複数の第2の開口のうち1つの開口が前記第1の開口に対面するとき、前記負圧の発生により伸張することにより前記第1の開口と前記第2の開口との間の気密性を高めるためのシール部材をさらに具備する。
駆動源は、回転体に接触せずに回転体を駆動するので、機械的な複雑な機構を必要とすることがなく、かつ、粉塵の発生を抑えることができる。
前記回転体は、前記複数のノズルを3次元内で回転させてもよい。これにより、例えば2次元内で回転させる場合より、複数のノズルを有効に利用することができる。
前記回転体は、第1の軸と、前記第1の軸を中心に回転可能な第1のシェル部材と、前記第1の軸とは異なる向きの第2の軸と、前記複数のノズルを有し、前記第1のシェル部材を覆うように設けられ、前記第2の軸を中心に回転可能な第2のシェル部材とを有してもよい。これにより、複数のノズルを有する部材が、例えば球面軸受により回転する場合に比べ、駆動源により回転体が回転させられてノズルが位置決めされるときの、その位置決め精度が向上する。
ノズルユニットは、前記負圧の供給路と、前記負圧を前記第1のシェル部材に伝達する第1の開口を有し、前記供給路に接続され、前記第1のシェル部材に覆われるように設けられた第3のシェル部材とをさらに具備してもよい。その場合、前記第1のシェル部材は、複数の第2の開口であって、前記複数の第2の開口のうち1つの開口が前記第1の開口に対面するように前記駆動源により前記複数の第2の開口が選択的に切り替えられることで、前記第2のシェル部材の前記複数のノズルのうち1つのノズルに前記負圧を伝達する複数の第2の開口を有してもよい。
上記した第1の軸を構成する部材は、第3のシェル部材または第1のシェル部材に設けられていればよい。同様に、第2の軸を構成する部材は、第1のシェル部材または第2のシェル部材に設けられていればよい。
ノズルユニットは、前記複数の第2の開口のうち1つの開口が前記第1の開口に対面するとき、前記第1の開口と前記第2の開口との間の気密性を高めるためのシール部材をさらに具備してもよい。これにより、第3のシェル部材と第1のシェル部材とが相対的に動くように両者の間に隙間があっても、負圧を発生するためのエネルギーを小さくしながらも、気密性を高めることができる。
同様に、ノズルユニットは、前記複数の第2の開口のうち1つの開口と、前記複数のノズルのうち1つのノズルが対面するとき、前記1つの開口と前記1つのノズルとの間の気密性を高めるためのシール部材をさらに具備してもよい。
前記第2のシェル部材は、前記駆動源により前記第2のシェル部材が前記第1の軸を中心に回転するように駆動される第1の従動部と、前記駆動源により前記第2のシェル部材が前記第2の軸を中心に回転するように駆動される第2の従動部とを有してもよい。これにより、駆動源は第2のシェル部材を駆動することにより、第1のシェル部材を駆動することなく、回転体を回転させることができる。
前記第1のシェル部材及び第2のシェル部材のうち少なくとも一方は、前記駆動源により前記複数のノズルが位置決めされるときに、前記第1のシェル部材と前記第2のシェル部材との相対的な移動を規制するストッパを有してもよい。これにより、それらノズルの位置決め精度がさらに高められる。第2のシェル部材がそのようなストッパを有していてもよい。
前記ストッパは、前記第1のシェル部材と前記第2のシェル部材とを互いに係合させる係合部であってもよい。あるいは、前記ストッパは、前記第3のシェル部材と前記第1のシェル部材とが互いに係合する係合部であってもよい。
前記ストッパは、前記第1のシェル部材及び前記第2のシェル部材に吸引力を作用させる磁性体を有してもよい。あるいは、前記ストッパは、前記第3のシェル部材及び前記第1のシェル部材に吸引力を作用させる磁性体を有してもよい。磁性体は、永久磁石でもよいし、磁化されていない磁性体でもよい。磁性体は、上記の係合部に設けられていてもよい。
ノズルユニットは、前記負圧の供給路と、前記供給路に接続され、前記第1のシェル部材に覆われるように設けられた第3のシェル部材とをさらに具備してもよい。その場合、前記第3のシェル部材及び前記第1のシェル部材のうち少なくとも一方は、前記駆動源により前記複数のノズルが位置決めされるときに、前記第3のシェル部材に対する前記第1のシェル部材の移動を規制するストッパを有してもよい。
前記係合部は、前記第1のシェル部材に設けられ、前記第1の軸の方向に延びるように設けられた第1の係合突起と、前記第2のシェル部材に設けられ、前記第1の係合突起に係合する係合溝とを有してもよい。すなわち、第1のシェル部材の回転軸である第1の軸を構成する部材、あるいは、その第1の軸を構成する部材に接続される、第1のシェル部材の部位が、第2のシェル部材の係合溝と係合する突起(第1の係合突起)として利用される。これにより、ノズルユニットの小型化を実現することができる。
前記駆動源は、磁気を利用して前記回転体を非接触で駆動してもよいし、その他の駆動方法で駆動してもよい。
前記回転体は、磁性体を有してもよい。その場合、前記駆動源は、前記磁性体に作用する磁場を発生させて前記回転体を駆動してもよい。これにより、駆動源は、簡単な機構で、レスポンスよく回転体を回転させることができる。
前記回転体は、前記複数のノズルを2次元内で回転させてもよい。この場合、回転体の回転軸の向きは、垂直、水平、斜め等、様々なものが考えられる。
本発明の一形態に係る部品実装装置は、複数のノズルユニットと、ヘッドと、移動機構とを具備する。
前記複数のノズルユニットは、負圧を利用して部品を保持する複数のノズルを有し、前記複数のノズルを回転させる回転体と、前記回転体を非接触で駆動する駆動源とをそれぞれ含む。
前記ヘッドには、前記複数のノズルユニットが接続される。
前記移動機構は、前記ヘッドを移動させる。
この部品実装装置の場合、ヘッドに複数のノズルユニットが接続されており、ノズルユニットが比較的小さいサイズであることが要請される。これにより、駆動源が非接触型であることのメリットが大きくなる。
本発明の一形態に係るノズルユニットは、回転体と、駆動源とを具備する。
前記回転体は、負圧を利用して部品を保持する複数のノズルを有し、前記複数のノズルを回転させる。
前記駆動源は、前記回転体を3次元内で回転させる。
本発明の一形態に係るノズルユニットは、複数のノズルと、駆動源と、支持部とを具備する。
前記複数のノズルは、負圧を利用して部品を保持する。
前記駆動源は、前記複数のノズルのうち1つのノズルを非接触式で駆動する。
前記支持部は、前記複数のノズルが前記駆動源により駆動され得るように、前記複数のノズルを支持する。
以上のように、本発明によれば、ノズルを駆動するための機械的な複雑な機構の駆動源を必要とせず、また、粉塵の発生を抑えることができる。
図1〜図4は、本発明の一実施の形態に係るノズルユニットを示す斜視図である。図1は、第1のノズル41が鉛直方向の姿勢にある状態を示す図である。図2〜図4は、第2のノズル42、第3のノズル43及び第4のノズル44がそれぞれ鉛直下向きの姿勢にある状態を示す図である。図1〜図4は、すべて同じ方向から見たものである。
図1に示すように、ノズルユニット100は、負圧を利用して部品を保持する4本のノズル(上記第1〜第4のノズル)41〜44が搭載された回転体3と、模式的に球体で示した駆動源a〜fとを備えている。部品は、ICパッケージ、コンデンサ、抵抗、コイル等、様々な電子部品であるが、これに限られない。
第1〜第4のノズル41〜44は、典型的にはそれぞれ異なる大きさ、あるいは異なる種類の部品を保持するために、それぞれ異なる径の、負圧保持用の穴を有している。しかし第1〜第4のノズル41〜44のうち、少なくとも2つのノズルが、同じ穴径、すなわち同じ大きさまたは種類等の部品を保持するものであってもよい。
駆動源a〜fは、典型的には電磁誘導により磁場を発生して、回転体3に接触しないで回転体3を駆動する機構であり、例えばそれぞれ図示しないコア及びコイル等により構成される。
回転体3は、第1のシェル部材110と、第1のシェル部材110を覆うように第1のシェル部材110の外側に設けられた第2のシェル部材120とを有する。ノズルユニット100は、負圧及びゼロ圧(または、負圧及び正圧)を発生させるためのエアの通路(供給路)を有する、ノズルユニット100の上下動のためのスピンドルの一部を構成するスピンドル部品1と、このスピンドル部品1の下部に取り付けられ、第1のシェル部材110に覆われるように設けられた第3のシェル部材130とを備えている。ゼロ圧とは、第1〜第4のノズル41〜44の内部と外部との差圧がゼロという意味である。
図5は、第3のシェル部材130を示す斜視図である。図6(A)〜(C)は、第3のシェル部材130の平面、底面及び側面をそれぞれ示す図である。図7は、第1のシェル部材110を示す斜視図であり、図8(A)〜(D)は、第1のシェル部材110の平面、底面、回転軸部側から見た側面、及び、係合突起側から見た側面をそれぞれ示す図である。図9は、第2のシェル部材120を示す斜視図であり、図10(A)〜(D)は、第2のシェル部材120の平面、底面、回転軸部側から見た側面、及び、係合溝側から見た側面をそれぞれ示す図である。
第1のシェル部材110、第2のシェル部材120及び第3のシェル部材130は、球形の一部をなす本体111、121及び131をそれぞれ有しているが、各本体111、121及び131はそれぞれ異なる形状でなっている。
図5に示すように、第3のシェル部材130は、例えばその本体131の側面に回転軸部132を有する。この回転軸部132は、第1のシェル部材110の本体111に設けられた軸受部118(図7等参照)に、嵌め込まれている。これにより、第1のシェル部材110は、回転軸部132を中心に所定の角度だけ回転するようになっている。
この所定角度の回転を実現するために、例えば第3のシェル部材130及び第1のシェル部材110のうち少なくとも一方は、その相対移動を規制するストッパを備えている。典型的には、図6(B)に示すように、第3のシェル部材130は、その本体131の側面であって、回転軸部132から例えば実質的にα=45°離れた位置に、本体131から突設された係合突起134a及び134bを有する。これらの係合突起134a及び134bは、図7で示した第1のシェル部材110の本体111の上部側から切り欠かれるように形成された2つの係合溝115a及び115bにそれぞれ当接して係合する。これにより、第3のシェル部材130に対して、第1のシェル部材110が回転軸部132を中心に回転するときに、所定の位置で第1のシェル部材110の移動が規制され、第1のシェル部材110が所定角度だけ回転する。
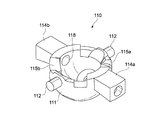
図7に示すように、第1のシェル部材110は、例えばその本体111の側面に回転軸部112を有する。この回転軸部112は、第2のシェル部材120の本体に設けられた軸受部128に嵌め込まれ、これにより、第2のシェル部材120は、この回転軸部112を中心に所定の角度だけ回転するようになっている。例えば、図8(B)に示すように、第1のシェル部材110の本体111の側面であって、回転軸部112から例えば実質的に90°離れた位置には、2つの係合突起114a及び114bが突設されている。これらの係合突起114a及び114bは、図10(A)で示した第2のシェル部材120の本体121に形成された2つの係合溝125a及び125bにそれぞれ当接するようになっている。これにより、第1のシェル部材110に対して、第2のシェル部材120が回転軸部112を中心に回転するときに、所定の位置で第2のシェル部材120の移動が規制され、第2のシェル部材120が所定角度だけ回転する。
また、第1のシェル部材110の係合突起114a及び114bは、図8(A)等の平面で見て、軸受部118と同じ角度位置(水平面内の角度位置)に配置されている。すなわち、第1のシェル部材110に設けられた軸受部118の周囲を構成する部位(係合突起114a及び114b)が、第2のシェル部材120の係合溝125a及び125bと係合する突起として利用される。これにより、回転体3及びノズルユニット100の小型化を実現することができる。
上記回転軸部132の軸方向と、回転軸部112の軸方向との角度は実質的に90°となっている。これにより、第1のシェル部材110の回転方向と、第2のシェル部材120の回転方向が90°異なる。
第3のシェル部材130に設けられた回転軸部132と、第1のシェル部材110に設けられた軸受部118とが、互いに逆の構造になっていてもよい。つまり、第3のシェル部材130に軸受部が設けられ、第1のシェル部材110に設けられた回転軸部が、その第3のシェル部材130の軸受部に接続されていてもよい。
第1のシェル部材110に設けられた回転軸部132と、第2のシェル部材120に設けられた軸受部128とが、互いに逆の構造になっていてもよい。つまり、第1のシェル部材110に軸受部が設けられ、第2のシェル部材120に設けられた回転軸部が、その第1のシェル部材110の軸受部に接続されていてもよい。
図6(B)に示すように、第3のシェル部材130の本体131の底面131aは平面状に形成され、その底面131aのほぼ中央には開口133が形成されている。また、図8(A)及び(B)に示すように第1のシェル部材110の本体111の底部には、第1のシェル部材110の回転方向に一致するように2つの開口113が並んで設けられている。また、図10(A)に示すように、第2のシェル部材120の本体121の底部には、第3のシェル部材130に対する、第2のシェル部材120の回転方向、すなわち直交する2つの回転方向に一致するように1組2つの開口123が2組並んで設けられている。第2のシェル部材120のそれら4つの開口123には上記第1〜第4のノズル41〜44がそれぞれ接続されている。これにより、例えば、上述の第1〜第4のノズル41〜44が放射状に延びるように設けられる。
上記スピンドル部品1の内部に設けられた、エアが流通する通路1aは、第3のシェル部材130の本体131の上部に設けられた開口135を介して、その本体131の内部と連通している。したがって、スピンドル部品1の通路1aは、第3のシェル部材130の本体131の内部、開口133、第1のシェル部材110の本体111の内部、開口113、第2のシェル部材120の本体121の内部及び開口123を介して、各ノズル41〜44の内部と連通している。これにより、スピンドル部品1からの負圧及びゼロ圧(または、負圧及び正圧)が各ノズル41〜44に伝達されるようになっている。
第3のシェル部材130の開口133には、その底面131a側にリップシール139が取り付けられている。また、第1のシェル部材110の開口113にも、その底部側にリップシール119がそれぞれ取り付けられている。4つのうち1つのノズル41(42、43、44)が選択されてノズルユニット100に負圧が発生したときに、リップシール139は第1のシェル部材110の開口113のいずれか1つを覆うようにして第1のシェル部材110の本体111の内面に吸着する。同様に、4つのうち1つの41(42、43、44)が選択されてノズルユニット100に負圧が発生したときに、第1のシェル部材110の1つのリップシール119が、第2のシェル部材120の4つの開口123のうち選択されたノズルに対応する開口123を覆うようにして第2のシェル部材120の本体121の内面に吸着する。
リップシール139及び119は、例えばゴム、樹脂等の材料でなり、その吸着作用により回転体3内の気密性を高めることができる。
負圧が発生する前は、リップシール139と第1のシェル部材110の本体111の内面との間には隙間が形成されている。同様に、負圧が発生する前は、リップシール139と第2のシェル部材120の本体121の内面との間にも隙間が形成されている。負圧が発生することで、リップシール139及び119が伸張して各本体111及び121の内面にそれぞれ吸着する。これにより、第3のシェル部材130と第1のシェル部材110との間、また、第1のシェル部材110と第2のシェル部材120との間に隙間があっても、負圧を発生するためのエネルギーを小さくしながらも、気密性を高めることができる。また、そのような隙間があることで、回転体3の回転時の摩擦抵抗は、軸受部分だけとなるので、駆動のエネルギーを極力小さくすることができる。
なお、負圧が発生する前であっても、リップシール139及び119と各本体111及び121の内面にそれぞれ接触していてもよい。その場合、駆動源a〜fによる駆動力が、そのリップシール139及び119と各本体111及び121内の内面との摩擦力を上回ればよい。
第1のシェル部材110の本体111の内面側にリップシールが取り付けられ、そのリップシールが第3のシェル部材130の本体131の外側からその開口133に吸着するようになっていてもよい。これと同様に、第2のシェル部材120の本体121の内面側にリップシールが取り付けられ、そのリップシールが第1のシェル部材110の本体111の外側からその開口113に吸着するようになっていてもよい。
図6(B)及び図8(A)に示すように、第3のシェル部材130の係合突起134a(及び134b)、及び、第1のシェル部材110の係合溝115a(及び115b)のうち少なくとも一方には、その係合突起134a及び係合溝115a間に吸引力を作用させる吸引部材136及び117がそれぞれ設けられている。
両吸引部材136及び117は、ともに永久磁石であってもよいし、いずれか一方が永久磁石であって、他方が磁化されていない磁性体であってもよい。あるいは、このような形態に限られず、係合突起(または係合溝)に例えば永久磁石が設けられ、第1のシェル部材110(または第3のシェル部材130)が、磁化されていない磁性体でなっていてもよい。このような吸引部材136、117が設けられることにより、ばらつきなく適度な力で第1のシェル部材110を位置決めすることができる。その力は、永久磁石の磁力の強さ、磁性体の大きさ、位置決め位置での吸引部材136及び117間の距離等により高精度に調整可能である。
図9及び図10(A)〜(C)に示すように、第2のシェル部材120は、互いに直交する方向に延びるレバー124a及び124bを備えている。レバー124a及び124bの端部には磁性体126が装着されている。磁性体126は、磁化されていないものでもよいし、永久磁石であってもよい。磁性体126が永久磁石の場合、例えば図10(A)に示すように、後述する駆動源a〜fによる回転体3の駆動のため、その磁極の分割方向は回転体3の中心側と外側とに向けられていればよい。
このように第2のシェル部材120に駆動源a〜fにより駆動される従動部としてのレバー124a及び124bが設けられている。したがって、駆動源a〜fは第2のシェル部材120を駆動することにより、第1のシェル部材110を駆動することなく、回転体3を回転させることができる。
図11〜図14は、図1〜図4に対応する図であり、第1〜第3のシェル部材110、120、130の動きを分かりやすくするためにそれぞれスピンドル部品1を省略した状態を示す斜視図である。図11は第1のノズル41、図12は第2のノズル42、図13は第3のノズル43、図14は第4のノズル44がそれぞれ鉛直方向に向けられるように(選択されるように)、回転体3の位置が制御されている様子を示している。これら図11〜図14はすべて同じ方向で見たものである。
上述したように、駆動源a〜fは、典型的には電磁誘導により磁場をそれぞれ発生する。
図11に示すように、駆動源b及びdが回転体3に磁場を作用させることで、これらの駆動源b及びdに各レバーが接近して第1のノズル41が選択されるように、回転体3が動く。この場合、第3のシェル部材130の係合突起134aと第1のシェル部材110の係合溝115aとが係合し、かつ、第1のシェル部材110の係合突起114bと第2のシェル部材120の係合溝125bとが係合することで、回転体3の移動が規制される。
図12に示すように、駆動源d及びfが回転体3に磁場を作用させることで、これらの駆動源d及びfに各レバーが接近して第2のノズル42が選択されるように、回転体3が動く。この場合、第3のシェル部材130の係合突起134aと第1のシェル部材110の係合溝115aとが係合し、かつ、第1のシェル部材110の係合突起114aと第2のシェル部材120の係合溝125aとが係合することで、回転体3の移動が規制される。
図13に示すように、駆動源a及びcが回転体3に磁場を作用させることで、これらの駆動源a及びcに各レバーが接近して第3のノズル43が選択されるように、回転体3が動く。この場合、第3のシェル部材130の係合突起134bと第1のシェル部材110の係合溝115bとが係合し、かつ、第1のシェル部材110の係合突起114bと第2のシェル部材120の係合溝125bとが係合することで、回転体3の移動が規制される。
図14に示すように、駆動源a及びeが回転体3に磁場を作用させることで、これらの駆動源a及びeに各レバーが接近して第4のノズル44が選択されるように、回転体3が動く。この場合、第3のシェル部材130の係合突起134bと第1のシェル部材110の係合溝115bとが係合し、かつ、第1のシェル部材110の係合突起114aと第2のシェル部材120の係合溝125a(図18参照)とが係合することで、回転体3の移動が規制される。
図15〜図18は、図11〜図14に示したノズルユニット100について、それぞれ見る方向を水平面内の回転で135°変え、さらに図11〜図14よりもやや上方から見たものである。
このように、駆動源a〜fの駆動により、第1のシェル部材110の本体111の2つの開口113のうち1つの開口113と、第2のシェル部材120の本体121の4つの開口123のうち1つの開口123とが選択的に対面し、用いられる第1〜第4のノズル41〜44が選択的に切り替えられる。
以上のように、本実施の形態では、駆動源a〜fが、回転体3に接触せずに回転体3を駆動するので、機械的な複雑な機構を必要とすることがなく、かつ、粉塵の発生を抑えることができる。また、非接触の駆動方式であることにより、回転体3に動力源が不要になり、回転体3への電気配線等が不要になる。また、回転体3に動力源が不要になるため、ノズルユニット100が軽く、小型化を実現することができる。
本実施の形態では、回転体3は3次元内で回転するので、例えば3次元で放射状に延びるように設けられた複数のノズル41〜44を有効に利用することができる。特に、回転体3は、実質的に直交する2軸で第1のシェル部材110及び第2のシェル部材120がそれぞれ回転する。したがって、複数のノズル41〜44を有する部材が、例えば球面軸受により回転する場合に比べ、駆動源a〜fにより回転体3が回転させられて各ノズルが位置決めされるときの、その位置決め精度が向上する。また、球面軸受が用いられる場合に比べ、第1のシェル部材110及び第2のシェル部材120に働く摩擦力が小さくなるので、駆動源による駆動エネルギーも少なくなる。
次に、本実施の形態に係るノズルユニット100が搭載される部品実装装置について説明する。
図19は、本発明の一実施の形態に係る部品実装装置を示す正面図である。図20は、部品実装装置10の一部を破断した平面図である。図21は、その部品実装装置10を示す側面図である。
部品実装装置10は、ほぼ中央に設けられ回路基板19が配置される基板配置部40と、基板配置部40の例えば両側に設けられ、部品供給装置としてテープフィーダ200が配置されるテープフィーダ配置部60とを備える。また、部品実装装置10は、基板配置部40に配置された回路基板19上にテープフィーダ200から供給された電子部品4を実装する実装機構50を備える。部品供給装置はテープフィーダに限られず、他の供給装置であってもよい。
例えば、部品実装装置10には、ベース部12、ベース部12を支持した機台13、機台13上に立設された複数の支柱14、例えば2本の支柱14の間に架け渡された梁15が備えられている。支柱14は例えば4本設けられ、梁15は例えば2本設けられている。以降の説明では、梁15が延びる方向をX軸方向、水平面内でX軸に直交する方向をY軸方向、鉛直方向をZ軸方向という場合もある。
実装機構50は、テープフィーダ200から電子部品4をピックアップする複数の上記ノズルユニット100、これらのノズルユニット100を支持するヘッド17と、ヘッド17を移動させるキャリッジ30を備えている。梁15には、Y軸方向に延設され、X軸方向に移動可能な移動体16が架け渡されている。上記キャリッジ30は、移動体16に沿ってY軸方向に移動可能に取り付けられている。したがって、キャリッジ30及び移動体16を含む移動機構により、ヘッド17に装着された各ノズルユニット100が、水平面内(X−Y平面内)で移動可能に構成されている。
典型的には、上記梁15の下面には案内レール21がX軸方向に延設されている。移動体16の両端部の上面には固定された被ガイド体22が上記案内レール21に摺動自在に係合されている。これによって移動体16は上記梁15に沿ってX軸方向に移動可能となっている。なお、移動体16を移動させるための駆動方式としては、例えばボールネジ駆動機構が用いられるが、これに限られず、ベルト駆動機構、リニアモータ駆動機構、あるいはその他の駆動機構が用いられればよい。
また、上記したようにキャリッジ30は、移動体16の内部に設けられたボールネジの駆動によりY軸方向に移動可能となっている。この場合も、ボールネジに限られず、ベルト駆動機構、リニアモータ機構、あるいはその他の駆動機構が用いられればよい。
基板配置部40には、回路基板19を下から支持して固定する固定機構20が配設されている。固定機構20により、回路基板19の位置決めがなされる。本実施の形態では、基板配置部40には、2枚の回路基板19が所定の間隔離れて配置されているが、配置される回路基板19の枚数は限られない。
図22は、キャリッジ30の一部、ヘッド17及びノズルユニット100を示す図である。このように、ヘッド17は、ヘッド17を支持する支軸18を回転主軸として、キャリッジ30の上部に設けられた図示しないモータにより回転するようになっている。ヘッド17の支軸18の軸方向a1(図1参照)は、Z軸方向に対して傾斜した状態で設けられている。
ヘッド17の外周寄りの部分には、例えば12個の上記ノズルユニット100が周方向に等間隔に配置されている。したがって、例えばノズルは合計48本設けられている。ノズルユニット100のそれぞれの軸線(スピンドル部品の長手方向の線)はヘッド17の回転主軸a1に対してそれぞれ傾斜するように、ノズルユニット100がヘッド17に装着されている。その傾斜は、ノズルユニット100の各ノズルの上端がヘッド17の回転主軸a1に近づいていく向きになっている。つまり、全体として12本のノズルユニット100はヘッド17に対して末広がり状になるように配設される。
ノズルユニット100は、上記したスピンドル部品を含む図示しないスピンドルユニットにより、ヘッド17に対してそれぞれ軸線方向に移動自在に支持されている。ノズルユニット100が後述する操作位置に位置されたときに、スピンドルユニットが図示しない押圧機構によって上方から押圧されることでノズルユニット100が下降する。この押圧機構は、例えば、ラックアンドピニオン機構、カム機構、ボールネジ機構、ソレノイド、エア圧発生機構等、何でもよい。
ヘッド17の後端側であって図22において右端に位置したノズルユニット100のスピンドル部品の長手方向は、Z軸方向を向くようになっており、その後端側の位置が上記操作位置に相当する。そして操作位置に位置されかつ鉛直方向を向いたノズルユニット100によって電子部品4が吸着され、あるいは離脱されるようになっている。
ノズルユニット100の駆動源a〜fは、図19〜図22では図示していないが、例えばキャリッジ30側に接続されていればよい。
上記したノズルユニット100のスピンドル部品は図示しないエアコンプレッサに接続されており、操作位置に位置されたノズルユニット100の、駆動源a〜fにより選択された1つのノズルが所定のタイミングで負圧または正圧に切換えられる。これにより、その選択されたノズルの先端部において電子部品4が吸着され、または離脱される。
複数のノズルユニット100のうち、1つのノズルユニット100(第1のノズルユニットという。)には上記したように4つのノズルが設けられており、その4つのノズルは異なる大きさのノズルである。他のノズルユニット100(第2のノズルユニット)の4つのノズルは、典型的には第1のノズルユニットの4つのノズルとそれぞれ同じものである。しかし、第1のノズルユニットの4つのノズルと、第2のノズルユニットの4つのノズルのうち少なくも1つは、異なる大きさまたは種類のノズルであってもよい。48本すべてのノズルが異なる大きさまたは種類であってもよい。
固定機構20によって位置決めと保持が行なわれた回路基板19が占める領域が、部品実装領域Mを構成する。
図20に示すように、部品実装領域Mの左右両側のテープフィーダ配置部60には、複数のテープフィーダ200が着脱可能に設けられている。複数のテープフィーダ200は、例えばX軸方向に配列されている。例えば、一方のテープフィーダ配置部60において40個のテープフィーダ200が装着可能となっているが、テープフィーダ200の数は限られない。1つのテープフィーダ200の図示しないキャリアテープには、同種の多数の電子部品4が収納られている。テープフィーダ200は、これらの電子部品4を必要に応じて、1つのノズルユニット100の選択された1つのノズルに供給する。
テープフィーダ200には、テープフィーダ200ごとに種類の異なる電子部品4が収納される。そして、回路基板19上のどの位置に実装される電子部品4かによって、ノズルユニット100、ノズルユニット100の4つのノズルのうち1つのノズル及びテープフィーダ200がそれぞれ選択され、その電子部品4がその1つのノズルに吸着される。
なお、本実施の形態では、テープフィーダ配置部60が部品実装領域Mの左右両側に設けられているが、部品実装領域Mの左右の一方のみにテープフィーダ配置部60が設けられる形態であってもよい。
後述するように、テープフィーダ200の一端部には部品供給口129が設けられている。各テープフィーダ200は、その部品供給口129が設けられた一端部が部品実装領域M側に向くように、テープフィーダ配置部60に装着される。ノズルユニット100の各ノズルは、部品供給口129を介して電子部品4をピックアップする。このように、電子部品4がピックアップされるときのノズルユニット100、あるいはそのときのヘッド17の領域(上記操作位置を含む領域)を部品供給領域Sとする。ヘッド17は、操作位置に来たノズルユニット100が部品供給領域Sと部品実装領域Mとこれらの領域S、Mを結ぶ領域の範囲内を移動する。
ヘッド17は、まず部品供給領域Sの上に移動し、ヘッド17に設けられている12個のノズルユニット100によって順次所定の電子部品4を吸着する。ここで、48本のノズルのうち、いくつのノズルに電子部品4を吸着するかは任意である。
電子部品4がノズルに吸着されると、ヘッド17が部品実装領域Mに移動し、X軸方向及びY軸方向に移動調整しながら回路基板19上の所定の位置に、吸着された部品を順次実装していく。ヘッド17のX軸方向及びY軸方向の移動は、上記した移動体16及びキャリッジ30により行われる。この動作を繰返すことによって、回路基板19上に電子部品4が実装される。
以上のように、1つのヘッドに複数のノズルユニット100が設けられることにより、従来から部品実装装置に備えられているノズルチェンジャーが不要になり、そのノズルチェンジャーによるノズルの着脱による時間のロスがなくなる。また、1つのヘッドに複数のノズルユニット100が設けられることにより、ノズルユニット100の小型化が要請されるようになり、駆動源a〜fが非接触型であることのメリットが大きくなる。
上述したように、ノズルユニット100はリップシールを備えることにより、比較的大きな負圧力がノズルに発生したとしても、ノズルが電子部品4を所望の姿勢で保持することができる。すなわち、比較的大きな負圧力がノズルに発生している場合、1つのノズルが選択されて始めてリップシールが、それに対面する開口に吸着する。したがって、ノズルユニット100が上記押圧機構により下降する前あるいは下降途中で、ノズルが電子部品4を吸い上げて姿勢が乱れた状態で電子部品4を保持する、といったことを防止できる。
以上のようなノズルユニット100が用いられることにより、例えばノズルが4種類程度必要な工程では、30〜40%の処理能力の向上が見込める。
以上のようなノズルユニットが用いられることにより、例えばノズルが4種類程度必要な工程では、30〜40%の処理能力の向上が見込める。
次に、参考例に係るノズルユニットであって、2次元内で回転する回転体を備えるノズルユニットに係る形態について説明する。これ以降の説明では、上記図1〜図18で示した実施の形態に係るノズルユニット100が含む部材や機能等について同様のものは説明を簡略化または省略し、異なる点を中心に説明する。
図23及び図24は、そのノズルユニットの一例を示す斜視図である。
このノズルユニット150は、スピンドル部品1と、スピンドル部品1に接続された回転軸部材5と、この回転軸部材5に回転可能に接続された回転体7と、回転体7に接続された例えば2本のノズル51及び52とを備える。回転軸部材5は、スピンドル部品1の内部のエアの通路に連通する図示しない内部空間を有し、回転軸部5aにおいて回転体7と接続されている。回転体7はレバー7aを有し、レバー7aの端部には磁性体8が装着され、磁場発生式の駆動源a及びbにより、図23及び図24に示す状態にそれぞれ回転体7が駆動される。これにより、2つのノズル51及び52が選択的に切り替えられる。
駆動源a及びbのうちいずれか一方により1つのノズル51(または52)が選択されるときに、回転軸部材5の内部空間は、回転体7の、各ノズル51及び52に対応する位置にそれぞれ形成された開口(図示を省略)のうち、1つの開口に連通するようになっている。
あるいは、回転軸部材5の内部空間は、図23及び図24の両方の状態において、各ノズル51及び52に対応する各開口の両方に連通していてもよい。この場合、鉛直方向に向くノズル51または52、つまり選択されたノズル51(または52)が最も電子部品4に接近してその電子部品4を保持する。したがって、他方のノズル52(または51)に負圧が発生していてもその他方のノズル52(または51)に電子部品4が吸着されることはない。
回転軸部材5は、レバー7aの回転面内で、レバー部材を所定の角度の範囲で回転させてその動きを規制する2つの係合突起(ストッパ)5b及び5cを有している。これにより、各ノズル51及び52の位置決め精度を高めることができる。
このようなノズルユニット150によっても、駆動源a及びbは非接触で回転体7を回転させるので、機械的な複雑な機構を必要とすることがなく、かつ、粉塵の発生を抑えることができる。また、非接触の駆動方式であることにより、回転体7に動力源が不要になり、回転体7への電気配線等が不要になる。また、回転体7に動力源が不要になるため、ノズルユニット150が軽く、小型化を実現することができる。
図25は、2次元内で回転体が回転する、さらに別の参考例に係るノズルユニットを示す正面側から見た斜視図である。図26は、その背面側の斜視図である。
ノズルユニット250では、回転軸部材25に円形の回転体27が回転可能に接続されている。回転体27には、図25に示すように磁性体18が実質的に等間隔で円周方向(回転方向)に設けられている。駆動源a〜cは、その磁性体18に磁場を作用させて回転体27をY−Z平面内で回転させることで、回転体27に接続されたノズル51〜54を選択的に切り替える。
駆動源a〜cの数は3つに限られず、また、駆動源a〜cの配置も図25及び図26に示した形態に限られない。ノズルの数も4つに限られない。
図27は、2次元内で回転体が回転する、さらに別の参考例に係るノズルユニットを示す斜視図である。図28は、その背面側の斜視図である。
ノズルユニット300は、円錐形状の回転体37と、斜めの回転軸部35aを有する回転軸部材35とを備えている。回転体37には、例えば4つのノズル51〜54が放射状に接続されており、回転軸部35aを中心した円周上に磁性体38が実質的に等間隔に設けられている。駆動源a〜cにより、回転体3は斜めの回転軸を中心に回転し、ノズルが選択的に切り替えられる。
駆動源a〜cの数は3つに限られず、また、駆動源a〜cの配置も図27及び図28に示した形態に限られない。ノズルの数も4つに限られない。
図29は、複数のノズルを上下動させる参考例に係るノズルユニットの下方側から見た斜視図である。
ノズルユニット350は、例えば複数のノズル61〜64を支持する回転体(支持部)47を備えている。回転体47は、スピンドル部品1の長手方向に実質的に垂直な面内、つまりX−Y平面内で、図示しないモータにより回転する。その回転角度が制御されることで、回転体47の側面付近に配置された駆動源a及びbに、4つのノズル61〜64のうち1つのノズルを最も接近し、その1つのノズルが選択される。各ノズル61〜64の頭部側(Z方向で上側)には図示しない磁性体が装着され、磁場発生式の駆動源a及びbにより、選択されたノズルが上下に駆動する。
図29に示したノズルユニット350の場合、回転体47は必ずしも回転しなくてもよく、少なくともノズル61〜64が上下に駆動され得るようにそれぞれ支持する機能を有していればよい。回転体47は円筒状でなく、四角柱状、その他の形状であってもよい。ノズルの数や駆動源の数も限られない。
回転体47の内部には、実質的に中央に設けられた、スピンドル部品1の内部にエアの通路(図示を省略)に連通し、かつ、各ノズル61〜64の内部に連通する通路47bにそれぞれ連通するバッファ空間47aが設けられている。これにより、各ノズル61〜64に負圧及びゼロ圧(または、負圧及び正圧)が伝達される。
本発明に係る実施の形態は、以上説明した実施の形態に限定されず、他の種々の実施形態が考えられる。
上記図1〜図18に示した実施の形態に係るノズルユニット100は、2つのシェル部材110及び120がそれぞれ直交する軸を中心に回転する構造を備えていた。しかし、他のノズルユニットとして、例えば複数のノズルを備えたシェル部材が球面軸受により回転する構造であってもよい。
上記各実施の形態に係る駆動源a〜fまたはa〜c等の駆動原理は、磁気式として説明したが、静電式により非接触で駆動されてもよい。
上記図1〜図18に示した実施の形態において、回転体3内の気密性を高めるリップシール139及び119、回転体3の移動規制の機能を高める係合突起134a、134b、114a、114bや磁性体136、116、127等は、必ずしも必要ではない。
上記各実施の形態では、電子部品4はエアによる負圧を利用して保持される例を説明したが、エアに限られず、例えば窒素やアルゴン等の不活性ガス、あるいはその他のガスであってもよい。
本発明の一実施の形態に係るノズルユニットを示す斜視図であり、第1のノズルが鉛直方向の姿勢にある状態を示す図である。 図1のノズルユニットを示す斜視図であり、第2のノズルが鉛直方向の姿勢にある状態を示す図である。 図1のノズルユニットを示す斜視図であり、第3のノズルが鉛直方向の姿勢にある状態を示す図である。 図1のノズルユニットを示す斜視図であり、第4のノズルが鉛直方向の姿勢にある状態を示す図である。 第3のシェル部材を示す斜視図である。 (A)〜(C)は、第3のシェル部材の平面、側面及び底面をそれぞれ示す図である。 第1のシェル部材を示す斜視図である。 (A)〜(D)は、第1のシェル部材の平面、底面、回転軸部側から見た側面、及び、係合突起側から見た側面をそれぞれ示す図である。 第2のシェル部材を示す斜視図である。 (A)〜(D)は、第2のシェル部材の平面、底面、回転軸部側から見た側面、及び、係合溝側から見た側面をそれぞれ示す図である。 図1に対応する図であり、第1〜第3のシェル部材の動きを分かりやすくするためにそれぞれスピンドル部品を省略した状態を示す斜視図である。 図2に対応する図であり、第1〜第3のシェル部材の動きを分かりやすくするためにそれぞれスピンドル部品を省略した状態を示す斜視図である。 図3に対応する図であり、第1〜第3のシェル部材の動きを分かりやすくするためにそれぞれスピンドル部品を省略した状態を示す斜視図である。 図4に対応する図であり、第1〜第3のシェル部材の動きを分かりやすくするためにそれぞれスピンドル部品を省略した状態を示す斜視図である。 図11に対応する図であり、ノズルユニットを見る方向を水平面内の回転で135°変え、さらに図11よりもやや上方から見たものである。 図12に対応する図であり、ノズルユニットを見る方向を水平面内の回転で135°変え、さらに図12よりもやや上方から見たものである。 図13に対応する図であり、ノズルユニットを見る方向を水平面内の回転で135°変え、さらに図13よりもやや上方から見たものである。 図14に対応する図であり、ノズルユニットを見る方向を水平面内の回転で135°変え、さらに図14よりもやや上方から見たものである。 本発明の一実施の形態に係る部品実装装置を示す正面図である。 その部品実装装置の一部を破断した平面図である。 その部品実装装置を示す側面図である。 キャリッジの一部、ヘッド及びノズルユニットを示す図である。 2次元内で回転体が回転する参考例に係るノズルユニットを示す斜視図である。 図23のノズルユニットの違う角度から見た斜視図である。 2次元内で回転体が回転する、さらに別の参考例に係るノズルユニットを示す正面側から見た斜視図である。 図25に示すノズルユニットの背面側の斜視図である。 2次元内で回転体が回転する、さらに別の参考例に係るノズルユニットを示す斜視図である。 図27に示すノズルユニットの背面側の斜視図である。 複数のノズルを上下動させる参考例に係るノズルユニットの下方側から見た斜視図である。
符号の説明
a〜f…駆動源
1…スピンドル部品
1a…通路
3、7、27、37、47
4…電子部品
8、18、28、38、126
10…部品実装装置
16…移動体
17…ヘッド
30…キャリッジ
41〜44、51〜54、61〜64…ノズル
100、150、250、300、350…ノズルユニット
110…第1のシェル部材
112、132…回転軸部
113、123、133、134、135…開口
114a、114b、134a、134b…係合突起
115a、115b…溝部
118、128…軸受部
119…リップシール
120…第2のシェル部材
125a、125b、…係合溝
130…第3のシェル部材
135…開口
136…吸引部材
136、116…磁性体
139、119…リップシール

Claims (12)

  1. 負圧を利用して部品を保持する複数のノズルを有し、前記複数のノズルを回転させる回転体と、
    前記回転体を非接触で駆動する駆動源とを具備し、
    前記回転体は、
    第1の軸と、
    前記第1の軸を中心に回転可能な第1のシェル部材と、
    前記第1の軸とは異なる向きの第2の軸と、
    前記複数のノズルを有し、前記第1のシェル部材を覆うように設けられ、前記第2の軸を中心に回転可能であり、前記第2の軸を介して前記第1のシェル部材と接続された第2のシェル部材とを有し、
    ズルユニットは、
    前記負圧の供給路と、
    前記負圧を前記第1のシェル部材に伝達する第1の開口を有し、前記供給路に接続され、前記第1のシェル部材に覆われるように設けられ、前記第1の軸を介して前記第1のシェル部材と接続された第3のシェル部材とをさらに具備し、
    前記第1のシェル部材は、
    複数の第2の開口であって、前記複数の第2の開口のうち1つの開口が前記第1の開口に対面するように前記駆動源により前記複数の第2の開口が選択的に切り替えられることで、前記第2のシェル部材の前記複数のノズルのうち1つのノズルに前記負圧を伝達する複数の第2の開口を有し、
    前記ノズルユニットは、
    前記第1の開口の周囲、または、前記複数の第2の開口の周囲に設けられ、前記複数の第2の開口のうち1つの開口が前記第1の開口に対面するとき、前記負圧の発生により伸張することにより前記第1の開口と前記第2の開口との間の気密性を高めるためのシール部材をさらに具備する
    ノズルユニット。
  2. 請求項1に記載のノズルユニットであって、
    前記第2のシェル部材は、
    前記駆動源により前記第2のシェル部材が前記第1の軸を中心に回転するように駆動される第1の従動部と、
    前記駆動源により前記第2のシェル部材が前記第2の軸を中心に回転するように駆動される第2の従動部と
    を有する
    ノズルユニット。
  3. 請求項1に記載のノズルユニットであって、
    前記第1のシェル部材及び第2のシェル部材のうち少なくとも一方は、前記駆動源により前記複数のノズルが位置決めされるときに、前記第1のシェル部材と前記第2のシェル部材との相対的な移動を規制するストッパを有する
    ノズルユニット。
  4. 請求項3に記載のノズルユニットであって、
    前記ストッパは、前記第1のシェル部材と前記第2のシェル部材とを互いに係合させる係合部である
    ノズルユニット。
  5. 請求項3に記載のノズルユニットであって、
    前記ストッパは、前記第1のシェル部材及び前記第2のシェル部材に吸引力を作用させる磁性体を有する
    ノズルユニット。
  6. 請求項1に記載のノズルユニットであって、
    前記負圧の供給路と、
    前記供給路に接続され、前記第1のシェル部材に覆われるように設けられた第3のシェル部材とをさらに具備し、
    前記第3のシェル部材及び前記第1のシェル部材のうち少なくとも一方は、前記駆動源により前記複数のノズルが位置決めされるときに、前記第3のシェル部材に対する前記第1のシェル部材の移動を規制するストッパを有する
    ノズルユニット。
  7. 請求項6に記載のノズルユニットであって、
    前記ストッパは、前記第3のシェル部材と前記第1のシェル部材とが互いに係合する係合部である
    ノズルユニット。
  8. 請求項6に記載のノズルユニットであって、
    前記ストッパは、前記第3のシェル部材及び前記第1のシェル部材に吸引力を作用させる磁性体を有する
    ノズルユニット。
  9. 請求項4に記載のノズルユニットであって、
    前記係合部は、
    前記第1のシェル部材に設けられ、前記第1の軸の方向に延びるように設けられた第1の係合突起と、
    前記第2のシェル部材に設けられ、前記第1の係合突起に係合する係合溝と
    を有する
    ノズルユニット。
  10. 請求項1に記載のノズルユニットであって、
    前記駆動源は、磁気を利用して前記回転体を非接触で駆動する
    ノズルユニット。
  11. 請求項10に記載のノズルユニットであって、
    前記回転体は、磁性体を有し、
    前記駆動源は、前記磁性体に作用する磁場を発生させて前記回転体を駆動するノズルユニット。
  12. 複数のノズルユニットと、前記複数のノズルユニットが接続されるヘッドと、前記ヘッドを移動させる移動機構とを備えた部品実装装置であって、
    前記複数のノズルユニットのそれぞれは、
    負圧を利用して部品を保持する複数のノズルを有し、前記複数のノズルを回転させる回転体と、
    前記回転体を非接触で駆動する駆動源とを備え、
    前記回転体は、
    第1の軸と、
    前記第1の軸を中心に回転可能な第1のシェル部材と、
    前記第1の軸とは異なる向きの第2の軸と、
    前記複数のノズルを有し、前記第1のシェル部材を覆うように設けられ、前記第2の軸を中心に回転可能であり、前記第2の軸を介して前記第1のシェル部材と接続された第2のシェル部材とを有し、
    前記ノズルユニットは、
    前記負圧の供給路と、
    前記負圧を前記第1のシェル部材に伝達する第1の開口を有し、前記供給路に接続され、前記第1のシェル部材に覆われるように設けられ、前記第1の軸を介して前記第1のシェル部材と接続された第3のシェル部材とをさらに備え、
    前記第1のシェル部材は、
    複数の第2の開口であって、前記複数の第2の開口のうち1つの開口が前記第1の開口に対面するように前記駆動源により前記複数の第2の開口が選択的に切り替えられることで、前記第2のシェル部材の前記複数のノズルのうち1つのノズルに前記負圧を伝達する複数の第2の開口を有し、
    前記ノズルユニットは、
    前記第1の開口の周囲、または、前記複数の第2の開口の周囲に設けられ、前記複数の第2の開口のうち1つの開口が前記第1の開口に対面するとき、前記負圧の発生により伸張することにより前記第1の開口と前記第2の開口との間の気密性を高めるためのシール部材をさらに備える
    部品実装装置。
JP2008186332A 2008-07-17 2008-07-17 ノズルユニット及び部品実装装置 Expired - Fee Related JP5131069B2 (ja)

Priority Applications (3)

Application Number Priority Date Filing Date Title
JP2008186332A JP5131069B2 (ja) 2008-07-17 2008-07-17 ノズルユニット及び部品実装装置
US12/458,044 US7971915B2 (en) 2008-07-17 2009-06-30 Nozzle unit
CN2009101607148A CN101631453B (zh) 2008-07-17 2009-07-17 管嘴单元和部件安装装置

Applications Claiming Priority (1)

Application Number Priority Date Filing Date Title
JP2008186332A JP5131069B2 (ja) 2008-07-17 2008-07-17 ノズルユニット及び部品実装装置

Publications (2)

Publication Number Publication Date
JP2010027800A JP2010027800A (ja) 2010-02-04
JP5131069B2 true JP5131069B2 (ja) 2013-01-30

Family

ID=41528980

Family Applications (1)

Application Number Title Priority Date Filing Date
JP2008186332A Expired - Fee Related JP5131069B2 (ja) 2008-07-17 2008-07-17 ノズルユニット及び部品実装装置

Country Status (3)

Country Link
US (1) US7971915B2 (ja)
JP (1) JP5131069B2 (ja)
CN (1) CN101631453B (ja)

Families Citing this family (9)

* Cited by examiner, † Cited by third party
Publication number Priority date Publication date Assignee Title
CN101842000B (zh) * 2009-03-19 2014-04-30 鸿富锦精密工业(深圳)有限公司 贴附装置及使用该贴附装置的贴附方法
JP5542759B2 (ja) * 2011-09-20 2014-07-09 株式会社日立ハイテクインスツルメンツ 部品実装装置
CN103896065B (zh) * 2012-12-29 2017-07-07 深圳富泰宏精密工业有限公司 多工位取料装置
EP3697190B1 (en) * 2013-10-11 2022-11-16 FUJI Corporation Suction nozzle and component mounting machine
EP3471527B1 (en) * 2016-06-14 2023-08-23 Fuji Corporation Electronic component mounter and electronic component separating method
JP6543816B2 (ja) * 2017-02-15 2019-07-17 パナソニックIpマネジメント株式会社 部品搭載装置および部品搭載方法
CN110521296B (zh) * 2017-04-19 2020-12-22 株式会社富士 吸嘴保持机构及元件安装装置
CN109515891A (zh) * 2019-01-14 2019-03-26 抚州国泰复合材料有限公司 一种复合油相浇注管嘴
GB2593722A (en) * 2020-03-31 2021-10-06 Edwards Ltd Apparatus

Family Cites Families (14)

* Cited by examiner, † Cited by third party
Publication number Priority date Publication date Assignee Title
JPS55112884U (ja) * 1979-01-31 1980-08-08
JPS6281970A (ja) * 1985-10-02 1987-04-15 Fujitsu Ltd 球面モ−タ
JPH0234997A (ja) * 1989-06-08 1990-02-05 Sanyo Electric Co Ltd 電子部品装着装置
JP3093010B2 (ja) * 1991-11-30 2000-10-03 オリンパス光学工業株式会社 レボルバの定位置停止装置
US6789310B1 (en) * 1995-11-06 2004-09-14 Matsushita Electric Industrial Co., Ltd. Component mounting apparatus
WO1998029221A1 (en) * 1996-12-25 1998-07-09 Matsushita Electric Industrial Co., Ltd. Part holding head, part mounting device and part holding method
US6230393B1 (en) * 1997-07-07 2001-05-15 Matsushita Electric Industrial Co., Ltd. Method and device for mounting electronic component
JP3739218B2 (ja) * 1998-04-02 2006-01-25 松下電器産業株式会社 部品装着方法及び装置
JP2002368495A (ja) * 2001-06-08 2002-12-20 Matsushita Electric Ind Co Ltd 部品実装装置及び部品実装方法
DE20115549U1 (de) * 2001-09-21 2001-12-06 FESTO AG & Co., 73734 Esslingen Vakuumhandhabungsvorrichtung
JP4044017B2 (ja) * 2003-04-22 2008-02-06 松下電器産業株式会社 部品実装装置及びその方法
JP2005005415A (ja) 2003-06-11 2005-01-06 Matsushita Electric Ind Co Ltd 部品実装装置及び部品実装方法
JP3981834B2 (ja) * 2003-11-19 2007-09-26 ソニー株式会社 部品実装装置
US7302755B2 (en) * 2005-02-07 2007-12-04 Samsung Techwin Co., Ltd. Head assembly for a component mounter

Also Published As

Publication number Publication date
US20100011570A1 (en) 2010-01-21
CN101631453A (zh) 2010-01-20
CN101631453B (zh) 2013-08-21
JP2010027800A (ja) 2010-02-04
US7971915B2 (en) 2011-07-05

Similar Documents

Publication Publication Date Title
JP5131069B2 (ja) ノズルユニット及び部品実装装置
JP6028084B2 (ja) 電子回路部品装着機
JP6535096B2 (ja) 実装ヘッド、及び表面実装機
JPWO2013190608A1 (ja) 部品実装機
JP6454426B2 (ja) ロータリーヘッド、及び、表面実装機
JP5525956B2 (ja) 実装機
CN108141999B (zh) 旋转头以及表面安装机
KR100465212B1 (ko) 핸드링 장치 및 이 핸드링 장치를 사용한 부품 조립 장치
JP5732403B2 (ja) バルクフィーダ
KR100651815B1 (ko) 부품 실장기
JP2010087383A (ja) 装着ヘッド及びこれを用いた部品装着装置
JP2023050145A (ja) 電子部品の実装装置及び電子部品の実装方法
JP5097959B2 (ja) チャック機構、搬送装置及び周波数調整装置
JP6346222B2 (ja) 部品実装機
JP6346223B2 (ja) 部品実装機
KR100399023B1 (ko) 복수개의 갠트리가 구비된 표면실장기
JP7503746B2 (ja) 部品実装装置および方法
KR100493627B1 (ko) 표면실장기용 노즐장치
KR0154432B1 (ko) 부품의 2단위치결정 센터링부가 설치된 전자부품 조립장치
JP6346248B2 (ja) 部品実装機
JP6326704B2 (ja) 部品実装機
JP2008028198A (ja) 部品実装装置
JP6346247B2 (ja) 部品実装機
KR20020028440A (ko) 부품 실장용 헤드 및, 그를 구비한 갠트리형 부품 실장 장치
CN115039525A (zh) 轴体驱动装置及元件安装装置

Legal Events

Date Code Title Description
A621 Written request for application examination

Free format text: JAPANESE INTERMEDIATE CODE: A621

Effective date: 20110513

A977 Report on retrieval

Free format text: JAPANESE INTERMEDIATE CODE: A971007

Effective date: 20120611

A131 Notification of reasons for refusal

Free format text: JAPANESE INTERMEDIATE CODE: A131

Effective date: 20120619

A521 Request for written amendment filed

Free format text: JAPANESE INTERMEDIATE CODE: A523

Effective date: 20120813

A131 Notification of reasons for refusal

Free format text: JAPANESE INTERMEDIATE CODE: A131

Effective date: 20120904

A521 Request for written amendment filed

Free format text: JAPANESE INTERMEDIATE CODE: A523

Effective date: 20120912

TRDD Decision of grant or rejection written
A01 Written decision to grant a patent or to grant a registration (utility model)

Free format text: JAPANESE INTERMEDIATE CODE: A01

Effective date: 20121009

A01 Written decision to grant a patent or to grant a registration (utility model)

Free format text: JAPANESE INTERMEDIATE CODE: A01

A61 First payment of annual fees (during grant procedure)

Free format text: JAPANESE INTERMEDIATE CODE: A61

Effective date: 20121022

FPAY Renewal fee payment (event date is renewal date of database)

Free format text: PAYMENT UNTIL: 20151116

Year of fee payment: 3

FPAY Renewal fee payment (event date is renewal date of database)

Free format text: PAYMENT UNTIL: 20151116

Year of fee payment: 3

S111 Request for change of ownership or part of ownership

Free format text: JAPANESE INTERMEDIATE CODE: R313113

R350 Written notification of registration of transfer

Free format text: JAPANESE INTERMEDIATE CODE: R350

LAPS Cancellation because of no payment of annual fees