JP5114584B2 - ガードレール用基礎ブロックの設置構造 - Google Patents

ガードレール用基礎ブロックの設置構造 Download PDF

Info

Publication number
JP5114584B2
JP5114584B2 JP2011101768A JP2011101768A JP5114584B2 JP 5114584 B2 JP5114584 B2 JP 5114584B2 JP 2011101768 A JP2011101768 A JP 2011101768A JP 2011101768 A JP2011101768 A JP 2011101768A JP 5114584 B2 JP5114584 B2 JP 5114584B2
Authority
JP
Japan
Prior art keywords
guardrail
support
foundation block
planting
installation structure
Prior art date
Legal status (The legal status is an assumption and is not a legal conclusion. Google has not performed a legal analysis and makes no representation as to the accuracy of the status listed.)
Expired - Fee Related
Application number
JP2011101768A
Other languages
English (en)
Other versions
JP2011174371A (ja
Inventor
隆一 佐々波
Original Assignee
佐々波コンクリート工業株式会社
Priority date (The priority date is an assumption and is not a legal conclusion. Google has not performed a legal analysis and makes no representation as to the accuracy of the date listed.)
Filing date
Publication date
Application filed by 佐々波コンクリート工業株式会社 filed Critical 佐々波コンクリート工業株式会社
Priority to JP2011101768A priority Critical patent/JP5114584B2/ja
Publication of JP2011174371A publication Critical patent/JP2011174371A/ja
Application granted granted Critical
Publication of JP5114584B2 publication Critical patent/JP5114584B2/ja
Expired - Fee Related legal-status Critical Current
Anticipated expiration legal-status Critical

Links

Images

Landscapes

  • Refuge Islands, Traffic Blockers, Or Guard Fence (AREA)

Description

この発明は、例えば、道路の路肩等に並べて設置し、道路に沿って設けるガードレールの支柱を支持するガードレール用基礎ブロックの設置構造に関するものである。
ガードレール用の基礎ブロックとしては、例えば、ガードレールの支柱を支持できるように構成して立設している前壁と、この前壁の下端部に設けられている低版とから断面略L字状に一体成形されているものが知られている(特開2005−213852号公報参照)。
一方、コンクリート製の帯状基礎部材と、この帯状基礎部材の内部に所定間隔で複数設置されており、ガードレールの支柱を支持する支持ブロックとを備えている。そして、各支持ブロックの間隙を植栽用の空間として利用されているものが知られている(特開平7−300830号公報参照)。
特開2005−213852号公報 特開平7−300830号公報
前述した従来の基礎ブロックでは、安定した状態で容易に設置すると共に、ガードレールの支柱を所定位置で容易に支持することはできる。しかし、この基礎ブロックでは、植栽用の空間を形成するのが面倒であり、ガードレールとの間に植栽を容易に設けることができなかった。
そのため、この従来の基礎ブロックでは、その立ち上がり壁部分とガードレールとの間が、単に空間になっており、例えば、運転者の目には味気ないものになっていた。
この発明は前述した事情に鑑みて創案されたもので、その目的は安定した状態で容易に設置できると共に、ガードレールを容易かつ確実に支持でき、しかも、ガードレールとの間の植栽も容易に設けることができるガードレール用基礎ブロックを用いたガードレール用基礎ブロックの設置構造を提供することにある。
この発明でのガードレール用基礎ブロックは、ガードレールの延設方向へ隣接しての複数の設置を安定化させる低壁部と、この低壁部の一端から立ち上がっていると共に、ガードレールの支柱を支持する支柱用支持孔部が形成されている立ち上がり壁部とから断面略L字状に一体成形されている。
そして、立ち上がり壁部には、その立ち上がりが高く成形されており、上端部にガードレールが設けられている支柱の下端部を挿入する支柱用支持孔部が形成されていると共に、この支柱用支持孔部の両側に植栽用空間部が形成されている。
このようなこの発明での基礎ブロックによれば、低壁部によって、安定した状態で容易に設置できると共に、立ち上がり壁部の支柱用支持孔部によって、ガードレールの支柱(ガードレール)を容易に支持することができる。また、予め、立ち上がり壁部に、立ち上がりが高く成形することで十分な空間を確保して形成されている植栽用空間部によって、植栽を容易で確実に設けることができる。
しかも、この発明での基礎ブロックは、立ち上がり壁部の各植栽用空間部は、支柱用支持孔部の両側において、ガードレール側の上部が開口していると共に、二つの空間形状およびその位置が対称となるように形成しているのが好ましい。また、このようなこの発明での基礎ブロックによれば、立ち上がり壁部の各植栽用空間部は、立ち上がりが高く成形されていると共に、ガードレール側の上部が開口している。
そのため、立ち上がり壁部とガードレールとの間隙に、植栽を体裁良く、容易で確実に配置したガードレール用基礎ブロックの設置構造とすることができる。
この発明のガードレール用基礎ブロックの設置構造によれば、用いる基礎ブロックの低壁部によって、安定した状態で容易に設置できると共に、立ち上がり壁部の支柱用支持孔部によって、ガードレールの支柱(ガードレール)を容易に支持することができる。また、予め、立ち上がり壁部に、立ち上がりを高く成形することで十分な空間を確保して形成されている植栽用空間部によって、植栽を容易で確実に設けた構造とすることができる。
しかも、この発明のガードレール用基礎ブロックの設置構造によれば、基礎ブロックの立ち上がり壁部の各植栽用空間部は、支柱用支持孔部の両側において、ガードレール側の上部が開口していると共に、好ましくは二つの空間形状およびその位置が対称となるような構造に形成している。また、この立ち上がり壁部の各植栽用空間部は、立ち上がりを高く成形していると共に、ガードレール側の上部が開口した構造としている。
そのため、立ち上がり壁部とガードレールとの間隙に、植栽を容易で確実に配置したガードレール用基礎ブロックの設置構造とすることができる。
[実施例1]
図1はこの発明のガードレールの基礎ブロックを示す概略図であり、図1(a)は基礎ブロックを示す概略図、図1(b)は図1(a)のA−A線断面図、図1(c)は図1(a)のB−B線断面図で、図2はこの発明の基礎ブロックの使用状態を示す斜視図で、図3はこの発明の基礎ブロックの連結部を示す部分拡大図である。
そして、各図において、符号1は基礎ブロックで、2はガードレールで、3は低壁部で、4は支柱用支持孔部で、5は立ち上がり壁部で、6は植栽用空間部である。
ガードレール2の延設方向へ隣接して複数設置し、そのガードレール2の支柱2aを支持する基礎ブロック1(図1参照)は、設置を安定化させる低壁部3と、この低壁部3の一端から立ち上がっていると共に、支柱2aを支持する支柱用支持孔部4が形成されている立ち上がり壁部5とから断面略L字状に一体成形されている。
この実施形態での立ち上がり壁部5には、その立ち上がりが高く成形されており、上端部にガードレール2が設けられている支柱2aの下端部を挿入する支柱用支持孔部4が形成されていると共に、この支柱用支持孔部4の両側に植栽用空間部6が形成されている。
この実施形態での立ち上がり壁部5の各植栽用空間部6は、支柱用支持孔部4の両側において、ガードレール2側の上部が開口していると共に、二つの空間形状およびその位置が対称となるように形成している。
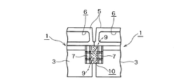
この実施形態での低壁部3には、その両端部に、図1(b)に示すように、連結用壁部7が設けられている。そして、図3に示すように、この連結用壁部7を用いると共に、連結ボルト9や間詰めコンクリート10を用いることで、連結すべき両基礎ブロック1を連結している。
また、この実施形態での各植栽用空間部6には、図1(c)に示すように、土11を充填した後、ガードレール2側上部の開口に種々の植物12を植えている。
このようなこの発明での基礎ブロック1を、図2に示すように、ガードレール2の延設方向へ隣接して複数設置する場合には、低壁部3によって、安定した状態で容易に設置できると共に、立ち上がり壁部5の支柱用支持孔部4によって、ガードレール2の支柱2a(ガードレール2)を容易に支持することができる。また、予め、立ち上がり壁部5に、立ち上がりが高く成形することで十分な空間を確保して形成されている植栽用空間部6によって、植栽8を容易で確実に設けることができる。
しかも、この発明での基礎ブロック1は、立ち上がり壁部5の各植栽用空間部6は、支柱用支持孔部4の両側において、ガードレール2側の上部が開口していると共に、二つの空間形状およびその位置が対称となるように形成している。即ち、この発明での基礎ブロック1によれば、立ち上がり壁部5の各植栽用空間部6を利用して、図2に示すように、立ち上がり壁部5とガードレール2との間隙に、見た目の良い植栽8を容易で確実に配置することができる。
図3は、低壁部3の両端部の連結用壁部7を用いての連結状態を示している。このようにすることで、連結すべき両基礎ブロック1を確実強固に容易に連結することができる。
図1はこの発明のガードレールの基礎ブロックを示す概略図であり、図1(a)は基礎ブロックを示す概略図で、図1(b)は図1(a)のA−A線矢視図で、図1(c)は図1(a)のB−B線断面図である。 この発明のガードレールの基礎ブロックの使用状態を示す斜視図である。 この発明のガードレールの基礎ブロックの連結部を示す部分拡大図である。
1 基礎ブロック
2 ガードレール
2a 支柱
3 低壁部
4 支柱用支持孔部
5 立ち上がり壁部
6 植栽用空間部
7 連結用壁部
8 植栽
9 連結ボルト
10 間詰めコンクリート
11 土
12 植物

Claims (1)

  1. ガードレールの支柱を支持する基礎ブロックをガードレールの延設方向へ隣接して複数配置してなるガードレール用基礎ブロックの設置構造であって、前記ガードレール用基礎ブロックは、前記設置を安定化させる低壁部と、この低壁部の一端から立ち上がっている共に、前記支柱を支持する支柱用支持孔部が形成されている立ち上がり壁部とから断面略L字状に一体成形されており、前記立ち上がり壁部には、その立ち上がりが高く成形されており、上端部に前記ガードレールが設けられている前記支柱の下端部を挿入する支柱用支持孔部が形成されていると共に、この支柱用支持孔部の両側に前記ガードレール側の上部が開口している植栽用空間部が形成されているガードレール用基礎ブロックであり、前記ガードレール用基礎ブロックの設置構造は、前記ガードレール用基礎ブロックの植栽用空間部がガードレールの下に設置され、立ち上がり壁部とガードレールとの間隙が植栽されるようにした設置構造であることを特徴とするガードレール用基礎ブロックの設置構造。
JP2011101768A 2011-04-28 2011-04-28 ガードレール用基礎ブロックの設置構造 Expired - Fee Related JP5114584B2 (ja)

Priority Applications (1)

Application Number Priority Date Filing Date Title
JP2011101768A JP5114584B2 (ja) 2011-04-28 2011-04-28 ガードレール用基礎ブロックの設置構造

Applications Claiming Priority (1)

Application Number Priority Date Filing Date Title
JP2011101768A JP5114584B2 (ja) 2011-04-28 2011-04-28 ガードレール用基礎ブロックの設置構造

Related Parent Applications (1)

Application Number Title Priority Date Filing Date
JP2006243662A Division JP4865458B2 (ja) 2006-09-08 2006-09-08 ガードレール用基礎ブロック

Publications (2)

Publication Number Publication Date
JP2011174371A JP2011174371A (ja) 2011-09-08
JP5114584B2 true JP5114584B2 (ja) 2013-01-09

Family

ID=44687456

Family Applications (1)

Application Number Title Priority Date Filing Date
JP2011101768A Expired - Fee Related JP5114584B2 (ja) 2011-04-28 2011-04-28 ガードレール用基礎ブロックの設置構造

Country Status (1)

Country Link
JP (1) JP5114584B2 (ja)

Families Citing this family (3)

* Cited by examiner, † Cited by third party
Publication number Priority date Publication date Assignee Title
JP5959359B2 (ja) * 2012-07-26 2016-08-02 大成建設株式会社 転落防止構造
JP6103514B1 (ja) * 2016-10-20 2017-03-29 草竹コンクリート工業株式会社 剛性防護柵の支柱建て込み用の基礎ブロック
CN114232535B (zh) * 2022-01-07 2023-05-12 北京中路安交通科技有限公司 自移动型护栏的门架

Family Cites Families (5)

* Cited by examiner, † Cited by third party
Publication number Priority date Publication date Assignee Title
JPH0640043U (ja) * 1992-10-30 1994-05-27 藤林コンクリート工業株式会社 緑化擁壁ブロック
JP2588137B2 (ja) * 1994-05-10 1997-03-05 重一 山内 ガードレール等の仮設装置
JP3661999B2 (ja) * 2001-04-13 2005-06-22 高知県コンクリート製品協同組合 ガードレール用基礎の構築方法
JP2005201020A (ja) * 2003-12-18 2005-07-28 Wako Concrete Kogyo Kk 変形性防護柵
JP3774892B2 (ja) * 2004-01-29 2006-05-17 共和コンクリート工業株式会社 ガードレール用の基礎ブロック

Also Published As

Publication number Publication date
JP2011174371A (ja) 2011-09-08

Similar Documents

Publication Publication Date Title
US8782978B1 (en) Post footing device
UY33375A (es) Riostra perimétrica sísmica
JP5114584B2 (ja) ガードレール用基礎ブロックの設置構造
MX2014003141A (es) Sistema de seguridad de barrera de cables.
CN102359306B (zh) 栅栏
USD620824S1 (en) Platform barrier for visually impaired pedestrians
JP4865458B2 (ja) ガードレール用基礎ブロック
CN205370108U (zh) 兼具植栽功能的栅栏
KR20120002416U (ko) 조립형 배수 박스 그레이팅
WO2007138475A3 (en) Modular structure for the construction of fences or for supporting climbing plants or the like
CN204898567U (zh) 市政绿化中央防护栏
CN204753449U (zh) 市政防护栏
USD767369S1 (en) Bracket for fencetop barrier
KR101064840B1 (ko) 펜스 기둥 설치용 기초파일
JP2008019683A (ja) フェンスの支柱
CN105065378A (zh) 一种工字形支架
KR101355843B1 (ko) 블록 보와 보강 토압판을 이용한 지주 연속보강 구조물 및 그 지주 연속보강 구조물 설치방법
WO2012047029A3 (ko) 철근 케이지 구조
KR20110081124A (ko) 다리 난간 및 가드레일용 다목적 화분
KR20110094656A (ko) 옹벽구조물 및 옹벽구조물용 유닛
KR101103391B1 (ko) 차량 방호 울타리
KR100885651B1 (ko) 조립형 펜스
JP5369280B2 (ja) 透孔付き塀、門扉等の外構材
JP5496737B2 (ja) フェンス
JP6449625B2 (ja) 防護柵

Legal Events

Date Code Title Description
A977 Report on retrieval

Free format text: JAPANESE INTERMEDIATE CODE: A971007

Effective date: 20120625

TRDD Decision of grant or rejection written
A01 Written decision to grant a patent or to grant a registration (utility model)

Free format text: JAPANESE INTERMEDIATE CODE: A01

Effective date: 20121002

A01 Written decision to grant a patent or to grant a registration (utility model)

Free format text: JAPANESE INTERMEDIATE CODE: A01

A61 First payment of annual fees (during grant procedure)

Free format text: JAPANESE INTERMEDIATE CODE: A61

Effective date: 20121015

FPAY Renewal fee payment (event date is renewal date of database)

Free format text: PAYMENT UNTIL: 20151019

Year of fee payment: 3

R150 Certificate of patent or registration of utility model

Ref document number: 5114584

Country of ref document: JP

Free format text: JAPANESE INTERMEDIATE CODE: R150

Free format text: JAPANESE INTERMEDIATE CODE: R150

R250 Receipt of annual fees

Free format text: JAPANESE INTERMEDIATE CODE: R250

R250 Receipt of annual fees

Free format text: JAPANESE INTERMEDIATE CODE: R250

R250 Receipt of annual fees

Free format text: JAPANESE INTERMEDIATE CODE: R250

R250 Receipt of annual fees

Free format text: JAPANESE INTERMEDIATE CODE: R250

LAPS Cancellation because of no payment of annual fees