JP5114552B2 - 凍結乾燥方法および凍結乾燥装置 - Google Patents

凍結乾燥方法および凍結乾燥装置 Download PDF

Info

Publication number
JP5114552B2
JP5114552B2 JP2010503698A JP2010503698A JP5114552B2 JP 5114552 B2 JP5114552 B2 JP 5114552B2 JP 2010503698 A JP2010503698 A JP 2010503698A JP 2010503698 A JP2010503698 A JP 2010503698A JP 5114552 B2 JP5114552 B2 JP 5114552B2
Authority
JP
Japan
Prior art keywords
dried
vertical tube
freeze
frozen
drying
Prior art date
Legal status (The legal status is an assumption and is not a legal conclusion. Google has not performed a legal analysis and makes no representation as to the accuracy of the status listed.)
Active
Application number
JP2010503698A
Other languages
English (en)
Other versions
JPWO2009116145A1 (ja
Inventor
修司 盛本
Current Assignee (The listed assignees may be inaccurate. Google has not performed a legal analysis and makes no representation or warranty as to the accuracy of the list.)
Yunitec Corp
Pharma-Tech Co Ltd
Morimoto Pharma Co Ltd
Original Assignee
Yunitec Corp
Pharma-Tech Co Ltd
Morimoto Pharma Co Ltd
Priority date (The priority date is an assumption and is not a legal conclusion. Google has not performed a legal analysis and makes no representation as to the accuracy of the date listed.)
Filing date
Publication date
Application filed by Yunitec Corp, Pharma-Tech Co Ltd, Morimoto Pharma Co Ltd filed Critical Yunitec Corp
Publication of JPWO2009116145A1 publication Critical patent/JPWO2009116145A1/ja
Application granted granted Critical
Publication of JP5114552B2 publication Critical patent/JP5114552B2/ja
Active legal-status Critical Current
Anticipated expiration legal-status Critical

Links

Images

Classifications

    • AHUMAN NECESSITIES
    • A23FOODS OR FOODSTUFFS; TREATMENT THEREOF, NOT COVERED BY OTHER CLASSES
    • A23BPRESERVATION OF FOODS, FOODSTUFFS OR NON-ALCOHOLIC BEVERAGES; CHEMICAL RIPENING OF FRUIT OR VEGETABLES
    • A23B2/00Preservation of foods or foodstuffs, in general
    • A23B2/90Preservation of foods or foodstuffs, in general by drying or kilning; Subsequent reconstitution
    • A23B2/92Freeze drying
    • FMECHANICAL ENGINEERING; LIGHTING; HEATING; WEAPONS; BLASTING
    • F26DRYING
    • F26BDRYING SOLID MATERIALS OR OBJECTS BY REMOVING LIQUID THEREFROM
    • F26B5/00Drying solid materials or objects by processes not involving the application of heat
    • F26B5/04Drying solid materials or objects by processes not involving the application of heat by evaporation or sublimation of moisture under reduced pressure, e.g. in a vacuum
    • F26B5/06Drying solid materials or objects by processes not involving the application of heat by evaporation or sublimation of moisture under reduced pressure, e.g. in a vacuum the process involving freezing
    • F26B5/065Drying solid materials or objects by processes not involving the application of heat by evaporation or sublimation of moisture under reduced pressure, e.g. in a vacuum the process involving freezing the product to be freeze-dried being sprayed, dispersed or pulverised

Landscapes

  • Engineering & Computer Science (AREA)
  • Life Sciences & Earth Sciences (AREA)
  • Polymers & Plastics (AREA)
  • Zoology (AREA)
  • Chemical & Material Sciences (AREA)
  • Food Science & Technology (AREA)
  • Wood Science & Technology (AREA)
  • Health & Medical Sciences (AREA)
  • Molecular Biology (AREA)
  • Mechanical Engineering (AREA)
  • General Engineering & Computer Science (AREA)
  • Drying Of Solid Materials (AREA)
  • Freezing, Cooling And Drying Of Foods (AREA)

Description

本発明は、薬液などの液状の被乾燥材料を竪型チューブの内周面に凍結させたのちこれを凍結乾燥する凍結乾燥方法とその装置に関し、さらに詳しくは、被乾燥材料を凍結したのち効率よく短時間で凍結乾燥でき、生産効率を大幅に高めることができる、凍結乾燥方法および凍結乾燥装置に関する。
従来、医薬品などを溶液にした液状の被乾燥材料を、効率よく凍結乾燥する方法としては、この被乾燥材料を竪型チューブの内周面に供給して凍結し、これを減圧下で凍結乾燥させるものがある(例えば、特許文献1参照。)。
上記の従来技術は、竪型チューブと、この竪型チューブの上部に設けた噴霧手段へ液状の被乾燥材料を供給する給液手段と、竪型チューブの下部に接続されて余剰の被乾燥材料を回収する液回収路と、竪型チューブの周囲に配置されて竪型チューブの内周面の温度を制御する冷凍手段とを備えている。
上記の給液手段から供給された液状の被乾燥材料は、上記の噴霧手段で散布されて竪型チューブの内周面へ供給される。この竪型チューブの内周面には凍結面が形成してあり、この凍結面が上記の冷凍手段で冷却され、これにより上記の被乾燥材料がこの凍結面上でパイプ状に凍結される。このとき、竪型チューブの下部へ流下した余剰の被乾燥材料は、上記の給液手段へ液回収路を介して回収される。所定量の被乾燥材料を供給し終わると、上記の給液手段からの被乾燥材料の供給が停止され、この竪型チューブ内が減圧される。そして、上記の冷凍手段の冷媒温度を上昇させて加熱手段に切り替え、この加熱手段から上記の凍結した被乾燥材料へ昇華熱を加えることにより、上記の凍結した被乾燥材料が凍結乾燥される。
上記の竪型チューブの下端部には、ジェットノズルを組み込んだノズル付きフランジが組み付けてある。上記の竪型チューブ内の被乾燥材料は、パイプ状に凍結乾燥されると上記の凍結面から剥離し、上記のノズル付きフランジに受け止められるとともに、上記のジェットノズルから噴出されるエアーにより粗砕される。この粗砕された被乾燥材料は、上記のエアーによりジェットミルへ搬送され、さらに微細な粉末状に粉砕されたのち、サイクロン装置により捕集されてバルク缶などに回収される。
特開2004−330130号公報
上記の従来技術では、上記の冷凍手段の冷媒を、例えば30〜50℃などに加温することで加熱手段に切換え、この加熱手段により竪型チューブの壁部を介して上記の凍結した被乾燥材料を加熱している。このためこの従来技術では、凍結行程と凍結乾燥行程とで冷媒の温度を大きく変更しなければならず、その温度制御が容易でないうえ、次の問題点があり、凍結乾燥に長時間を要するため生産性を高くすることが容易でなかった。
(1)上記の加熱手段から供給される熱は、伝導熱として竪型チューブの壁部を介して伝達されるが、この竪型チューブは大形に形成されているため、その熱量の多くがこの竪型チューブに奪われやすく、加熱効率を高くすることが容易でない。
(2)しかも、上記の被乾燥材料中の凍結水分は、竪型チューブ内の減圧された空間に臨む内面側から昇華し、その昇華熱が上記の加熱手段から補給されるが、この補給される熱量は凍結した被乾燥材料中を通して伝達されるため、効率よく素早く加熱することが容易でない。
(3)上記の被乾燥材料は、乾燥後に竪型チューブの内周面から容易に剥離できるように、通常、上記の凍結面には最初に水分のみ供給されて、いわゆるアイスライニングが形成される。このため、上記の加熱手段から竪型チューブの壁部を介して熱が伝えられると、被乾燥材料中の水分が昇華する前にこのアイスライニングが加温されて昇華し消失する虞がある。このアイスライニングが消失すると上記の竪型チューブの内周面と凍結した被乾燥材料とが部分的にしか接触しなくなり、竪型チューブの内周面から被乾燥材料への伝導熱の伝達効率が極端に低下する問題がある。
本発明の技術的課題は上記の問題点を解消し、被乾燥材料を凍結したのち昇華熱を効率よく補給して短時間で凍結乾燥でき、生産効率を大幅に高めることができる、凍結乾燥方法および凍結乾燥装置を提供することにある。
本発明は上記の課題を解決するため、例えば本発明の実施の形態を示す図1から図3に基づいて説明すると、次のように構成したものである。
すなわち本発明1は凍結乾燥方法に関し、竪型チューブ(2)の内周面に形成された凍結面(2a)へ、給液手段(5)から液状の被乾燥材料(47)を供給し、この凍結面(2a)を冷却して上記の被乾燥材料(47)をパイプ状に凍結し、次いで上記の給液手段(5)からの被乾燥材料(47)の供給を停止したのち、この竪型チューブ(2)内を減圧して上記の凍結した被乾燥材料(47)を凍結乾燥する、凍結乾燥方法であって、上記の凍結乾燥の際に、上記の竪型チューブ(2)内に配置された内部加熱手段(41)から上記の凍結した被乾燥材料(47)へ輻射熱を供給することを特徴とする。
また本発明2は凍結乾燥装置に関し、内周面に凍結面(2a)を形成した竪型チューブ(2)と、その凍結面(2a)へ液状の被乾燥材料(47)を供給する給液手段(5)と、上記の竪型チューブ(2)の周囲に配置されて上記の凍結面(2a)を冷却する冷凍手段(10)と、上記の竪型チューブ(2)内を真空状態にする減圧手段(12)とを備えた凍結乾燥装置であって、上記の竪型チューブ(2)内に内部加熱手段(41)を備え、この内部加熱手段(41)から上記の凍結面(2a)側へ輻射熱を供給可能に構成したことを特徴とする。
竪型チューブの内周面に形成した凍結面へ供給された液状の被乾燥材料は、冷凍手段でこの凍結面を冷却することで凍結され、凍結層に形成される。そして液状の被乾燥材料の供給を停止したのち、減圧手段で竪型チューブ内を真空状態にすると、上記の被乾燥材料の凍結層に含まれる凍結水分が昇華していく。この凍結層には、竪型チューブの内部空間に臨む内面側へ、上記の内部加熱手段からの輻射熱が供給される。これにより、上記の昇華の際に凍結層から奪われた昇華熱が補給され、凍結層に含まれる凍結水分が引き続いて昇華し、被乾燥材料が乾燥していく。
上記の内部加熱手段は、特定の形状や構造、熱源の種類に限定されない。例えばこの内部加熱手段は、螺旋状に形成することも可能である。しかしこの内部加熱手段を、上記の竪型チューブの中心軸心に沿って配置して、外面に縦長の輻射面を備える形状に形成すると、上記の凍結した被乾燥材料の内面へ均一に輻射熱を供給し易く、特にこの輻射面を円筒状に形成すると一層均一に輻射熱を供給できてさらに好ましい。
なお、上記の輻射面は、上記の被乾燥材料の凍結や凍結水分の昇華に悪影響を与えない範囲で、被乾燥材料に近接させるのが好ましく、従って、内部加熱手段を大形に形成すると好ましい。この場合には、竪型チューブの内部空間が狭くなるので、減圧手段によりこの竪型チューブ内を容易に真空状態にできて維持できる利点もある。
上記の輻射面は、被乾燥材料に影響を与えない範囲で、輻射熱の放射効率が高い材質や色彩等に表面処理を施すことができる。また、この輻射面を加熱する加熱手段の熱源としては、例えば電気ヒータをもちいることも可能であるが、温水や熱水、加熱蒸気などの熱媒体を用いると所定温度に容易に制御できて好ましい。
上記の熱源により加熱される輻射面の温度は、被乾燥材料へ供給される輻射熱の熱量と被乾燥材料から奪われる上記の昇華熱の熱量とのバランスで設定される。具体的には、上記の輻射面の輻射面積や輻射効率、被乾燥材料の受熱効率、減圧により発生する昇華熱の熱量などにより異なるが、被乾燥材料に含まれる凍結水分が輻射熱で融解することなく速やかに昇華していく温度、例えば20〜150℃に、好ましくは30〜100℃に、さらに好ましくは40〜90℃などに設定される。なお、竪型チューブ内に温度センサを配置して、輻射熱を受けた被乾燥材料の温度を測定し、この温度が凍結した水分のガラス転移温度以上には上昇しないように、この測定温度に基づいて内部加熱手段の温度を制御してもよい。
上記の昇華熱は内部加熱手段のみから補給してもよいが、本発明では竪型チューブの外面に凍結手段とは別の外部加熱手段を、或いは凍結手段と兼用の外部加熱手段を備えていてもよい。上記の内部加熱手段からの輻射に加えて、この外部加熱手段から伝導熱を供給することにより、上記の凍結層から奪われた昇華熱を一層速やかに補給することができ、より短時間で凍結乾燥することができる。
なお、凍結手段を外部加熱手段に兼用する場合は、この凍結手段を流通する冷媒の温度を、所定の冷凍温度と加温温度とに切換えることで制御される。
上記の竪型チューブは特定の寸法に限定されないが、この竪型チューブ内で凍結乾燥された被乾燥材料は、横断形状の外寸が大きいほど1回の凍結乾燥での処理量を多くすることができる。このため、この竪型チューブの横断形状の内寸は、好ましくは、例えば試験用設備などにあっては100mm以上に設定され、製造用設備にあっては200mm以上に設定され、より好ましくは300mm以上に設定され、さらに好ましくは400mm以上に設定される。ここで、この竪型チューブの横断形状は、通常は円形に形成され、上記の内寸は内径をいうが、この横断形状は例えば多角形など他の形状であってもよく、この横断形状が多角形の場合の上記の内寸は、対角線の長さをいう。
また、上記の竪型チューブ内でパイプ状に凍結される被乾燥材料の凍結厚さは、凍結乾燥物が上記の粗砕手段で粗砕可能な厚さであればよく、特定の厚さに限定されない。しかしこの凍結厚さは、薄いほど凍結乾燥後に粉砕し易いことから、好ましくは25mm以下に設定され、より好ましくは15mm以下に設定され、さらに好ましくは10mm以下に設定される。
本発明は上記のように構成され作用することから、次の効果を奏する。
(1)上記の内部加熱手段は、竪型チューブ内に配置されて所定温度に加熱するだけであり、冷凍手段と兼用する必要がないので、その温度制御が容易である。
(2)竪型チューブ内は真空状態であるのでこの内部加熱手段からの対流熱は無く、配管以外に接触しているものがないので無駄に消費される伝導熱は極く僅かであり、放出される輻射熱の殆ど全てが被乾燥材料に受け止められるので、加熱効率を高くすることができる。
(3)被乾燥材料中の凍結水分は、竪型チューブ内の減圧された空間に臨む内面側から昇華するが、内部加熱手段から放出される輻射熱は、この被乾燥材料の内側面へ直接供給されるので、内部加熱手段からの輻射で効率よく、素早く昇華熱を補給することができる。また、内部加熱手段からは被乾燥材料へ直接輻射熱が供給されるので、竪型チューブの内面に形成されたアイスライニングが早期に消失したとしても、これに起因して内部加熱手段からの熱伝達効率が低下することはない。
これらにより被乾燥材料を凍結したのち、効率よく短時間で凍結乾燥することができ、生産効率を大幅に高めることができる。
(4)さらに、上記の内部加熱手段は竪型チューブ内に配置されるので、この竪型チューブの内部空間がこの内部加熱手段の容積分だけ狭くなる。特に、竪型チューブの内径を大きくした場合には、これにあわせて内部加熱手段を大形に形成して竪型チューブ内の空間を狭くすることができる。これにより、上記の減圧手段により竪型チューブ内を素早く真空状態にすることができ、凍結した被乾燥材料を効率よく凍結乾燥できる。
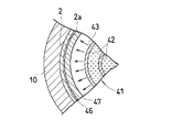
本発明の実施形態を示す、凍結乾燥装置の概略構成図である。 本発明の実施形態の凍結乾燥装置に接続された、解砕・整粒装置と粉末充填装置の概略構成図である。 本発明の実施形態の、竪型チューブの要部の横断平面図である。
符号の説明
1…凍結乾燥装置
2…竪型チューブ
2a…凍結面
5…給液手段(給液装置)
10…冷凍手段(冷凍装置)
12…減圧手段(減圧装置)
41…内部加熱手段(内部加熱装置)
43…輻射面
47…被乾燥材料
以下、本発明の実施の形態を図面に基づき説明する。
図1から図3は本発明の実施形態を示し、図1は本発明の凍結乾燥装置の概略構成図、図2はこの凍結乾燥装置に接続された解砕・整粒装置と粉末充填装置の概略構成図、図3は凍結乾燥の際の、竪型チューブの要部の横断平面図である。
図1に示すように、この凍結乾燥装置(1)は円筒状の竪型チューブ(2)を備えており、この竪型チューブ(2)の上部に気密室(3)が形成してある。この竪型チューブ(2)は特定の寸法に限定されないが、例えば内径は200mm以上に、好ましくは300〜600mmに、より好ましくは400〜600mmに形成される。またこの竪型チューブ(2)の高さは500〜4000mmに、好ましくは1000〜3000mmに形成される。
上記の気密室(3)内には噴霧装置(4)が配置してある。この噴霧装置(4)は、給液装置(5)の精製水タンク(6)と給液タンク(7)とに給液路(8)を介して接続してある。この給液タンク(7)内には、例えば医薬品の水溶液など、液状の被乾燥材料が収容してある。上記の給液路(8)には給液バルブ(9)が付設してあり、この給液バルブ(9)と上記の精製水タンク(6)の取出しバルブ(6a)とを開くことにより、精製水が上記の噴霧装置(4)へ供給されて上記の気密室(3)内に散布され、給液バルブ(9)と上記の給液タンク(7)の取出しバルブ(7a)とを開くことにより、上記の被乾燥材料(47)が上記の噴霧装置(4)へ供給されて上記の気密室(3)内に散布される。
上記の竪型チューブ(2)の内周面には凍結面(2a)が形成してあり、一方、この竪型チューブ(2)の周囲には、外部加熱装置を兼用する冷凍装置(10)が配設してある。この冷凍装置(10)により、上記の凍結面(2a)が、例えば上記の被乾燥材料(47)の凍結温度より低い所定温度に制御される。上記の気密室(3)は減圧路(11)を介して減圧装置(12)に接続してあり、この減圧路(11)に減圧路開閉弁(13)が配設してある。この減圧路開閉弁(13)を開いて上記の減圧装置(12)を駆動すると、上記の竪型チューブ(2)内が真空状態にされる。
上記の竪型チューブ(2)内には、その中心軸心に沿って内部加熱装置(41)が配置してある。この内部加熱装置(41)は内外二重管構造で、内部に熱媒流路(42)が形成してある。またこの内部加熱装置(41)の外周面には、縦長で円筒状の輻射面(43)が、前記の凍結面(2a)に対面させて形成してある。この輻射面(43)は、上記の熱媒流路(42)に温水や熱水、あるいは加熱蒸気などの熱媒を流通させることで加熱され、これによりこの輻射面(43)から上記の凍結面(2a)に対して輻射熱が放出される。上記の熱媒流路(42)は、竪型チューブ(2)の外側に配置した温度制御装置(44)に接続されており、竪型チューブ(2)内に配置した温度センサ(45)からの検出温度などに基づいて、この熱媒流路(42)を流れる熱媒が所定温度に制御される。
上記の竪型チューブ(2)の下端部には上下方向のガイド筒(14)が接続してある。このガイド筒(14)は上部の大径部(14a)と、中間部の下方ほど小径となる縮径部(14b)と、下部の細径部(14c)とからなる。上記の大径部(14a)の内部には粗砕装置(15)の回転刃(16)が配置してあり、モータ(17)によりこの回転刃(16)が回動される。また上記の細径部(14c)には第1開閉弁(18)が付設してある。
なお、上記の縮径部(14b)の内面は、粗砕物が滞留しない程度に傾斜させてあればよいが、垂直に近いほど上下長さが長くなるので、例えば水平面に対し60〜80度、より好ましくは70〜80度に設定される。
上記の第1開閉弁(18)の上方には液回収路(19)が分岐してあり、この液回収路(19)に第2開閉弁(20)と回収ポンプ(21)が付設してある。この液回収路(19)は、前記の給液タンク(7)に接続してあり、上記の竪型チューブ(2)内を流下した余剰の被乾燥材料が、上記の回収ポンプ(21)により液回収路(19)を経てこの給液タンク(7)へ戻される。
図2に示すように、上記のガイド筒(14)の下端は、解砕・整粒装置(22)の上蓋(23)に接続してある。この解砕・整粒装置(22)は、解砕用モータ(24)で回動される解砕アーム(25)が内部に配置してあり、下部に所定メッシュのスクリーン(26)が付設してある。
なお、上記の上蓋(23)には3本のガイド筒(14…)が接続してあり、各ガイド筒(14)の上部にはそれぞれ竪型チューブ(2)が接続してある。ただし本発明でこの上蓋(23)に接続される竪型チューブ(2)は、凍結乾燥速度と、後述の粉末充填装置による充填速度とのバランスなどを考慮して設定され、1本や2本でもよく、或いは4本以上であってもよい。
上記の解砕・整粒装置(22)の取出口(27)の下方には粉末充填装置(28)が配置してあり、この粉末充填装置(28)の上蓋(29)に開口した投入口(30)と上記の取出口(27)が、第2ガイド筒(31)を介して接続してある。この粉末充填装置(28)のファンネル(32)内には、上下方向にオーガスクリュウ(33)が配置してあり、このオーガスクリュウ(33)に撹拌アーム(34)が付設してある。上記のオーガスクリュウ(33)は、支持アーム(35)を介して支持台(36)に支持されており、図示しない伝動機構により間欠回転駆動される。上記のファンネル(32)は、上記の支持アーム(35)とその下方の補助アーム(37)とに支持されている。このファンネル(32)の下部には計量部(38)が付設してあり、この計量部(38)の下方にバイアルなどの所定の容器(39)の搬入搬出部(40)が設けてある。
次に、上記の凍結乾燥装置(1)の操作手順について説明する。
最初に、上記の竪型チューブ(2)の凍結面(2a)を上記の冷凍装置(10)で氷点下に冷却しておき、上記の減圧路開閉弁(13)と第1開閉弁(18)とを閉じた状態で、上記の精製水タンク(6)の取出しバルブ(6a)と給液バルブ(9)とを開く。これにより、精製水が上記の噴霧装置(4)へ供給されて上記の気密室(3)内に散布され、上記の凍結面(2a)に沿って流下して氷結し、図3に示すように、いわゆるアイスライニング(46)が形成される。
上記のアイスライニング(46)の厚みが1〜2mm程度となるように所定量の精製水を供給したのち、上記の精製水タンク(6)の取出しバルブ(6a)を閉じて前記の給液タンク(7)の取出しバルブ(7a)を開く。これにより、この給液タンク(7)から液状の被乾燥材料(47)が上記の噴霧装置(4)へ供給されて上記の気密室(3)内に散布され、上記の凍結面(2a)上のアイスライニング(46)に沿って流下し、図3に示すように、被乾燥材料(47)がアイスライニング(46)上でパイプ状に凍結する。このとき、竪型チューブ(2)内を下端まで流下した余剰の被乾燥材料は、前記の回収ポンプ(21)により、上記の第2開閉弁(20)から液回収路(19)を経て、上記の給液タンク(7)へ回収される。
なお、上記の精製水やこの被乾燥材料(47)は、上記の内部加熱装置(41)へかからないように、上記の噴霧装置(4)から気密室(3)の内面に向けて散布される。
上記の被乾燥材料を所定量供給し終わると、上記の取出しバルブ(7a)と給液バルブ(9)を閉じて噴霧装置(4)からの散布を停止する。そして竪型チューブ(2)の下端へ流下した余剰の被乾燥材料が液回収路(19)から給液タンク(7)へ回収されたのち、上記の第2開閉弁(20)を閉じる。その後、前記の減圧路開閉弁(13)を開いて前記の減圧装置(12)を駆動し、上記の竪型チューブ(2)内を所定の真空度に維持する。これにより、上記の被乾燥材料に含まれる凍結水分が昇華し、その水蒸気は減圧路(11)から排出されて図示しないコールドトラップに捕集される。
一方、上記の内部加熱装置(41)内に所定温度の熱媒が流通され、図3に示すように、上記の輻射面(43)から輻射熱が放出される。この輻射面(43)は上記の凍結面(2a)に対面しているので、上記の輻射熱はこの凍結面(2a)上に凍結した被乾燥材料(47)の、減圧された空間に臨む内周面側へ供給される。このとき、上記の輻射面(43)は円筒状に形成してあるので、この輻射面(43)から被乾燥材料(47)へほぼ均等に輻射熱が供給される。
また、上記の冷凍装置(10)が外部加熱装置に切替えられて、この冷凍装置(10)の冷媒が例えば30℃などの所定温度に加温され、この冷凍装置(10)から竪型チューブ(2)の周壁凍結面(2a)へ伝導熱が供給される。上記の凍結水分の昇華により被乾燥材料から奪われた昇華熱は、上記の輻射熱とこの伝導熱とにより素早く補給され、これにより被乾燥材料に含まれる凍結水分が引き続き昇華して、被乾燥材料が凍結乾燥され、例えば含有水分量が0.1〜5重量%にされる。その後、昇華する水分が少なくなると奪われる昇華熱も少なくなるので、被乾燥材料の品温が上昇していくが、この品温を、例えば40℃以下など、被乾燥材料の品質に悪影響が生じない温度以下に保持して減圧下で加熱することにより、結合水などこの被乾燥材料に残留している水分が気化され、この被乾燥材料の含有水分量が、例えば0.1重量%以下となるまで十分に乾燥される。なお、この被乾燥材料の乾燥後の含有水分量は例示であり、本発明の乾燥により得られる被乾燥材料の含有水分量は、被乾燥材料の種類などに応じて任意に設定される。
なお、上記の内部加熱装置(41)は、大形に形成すると、上記の輻射面(43)が被乾燥材料(47)に近接するうえ、この輻射面(43)を広くして輻射熱を多く放射でき、上記の昇華熱を素早く補給できる。しかも、竪型チューブ(2)内の空間が狭くなるので、上記の減圧装置(12)によりこの竪型チューブ(2)内を容易に真空状態にして維持することができ、好ましい。
上記の凍結乾燥が終了すると、竪型チューブ(2)の内周面に形成されていた前記のアイスライニング(46)も昇華し消失しているので、上記の凍結乾燥物(47)は、下部のモータ駆動による振動や、故意に付与された振動によって、竪型チューブ(2)の内周面から剥離して前記のガイド筒(14)内を落下し、前記の粗砕装置(15)の回転刃(16)に受け止められる。
次いで、上記の減圧装置(12)を停止して減圧路開閉弁(13)を閉じ、さらにガイド筒(14)に付設された前記の第1開閉弁(18)を開いて、竪型チューブ(2)内やガイド筒(14)内を大気圧に戻す。そして上記のモータ(17)を駆動して回転刃(16)を回転させ、上記の凍結乾燥物(47)に衝撃を加えて粗砕する。このとき、凍結乾燥物(47)はガイド筒(14)の下部の細径部(14c)を通過できる程度に粗砕されればよく、過剰に細かく粉砕する必要はない。
上記の回転刃(16)で粗砕された粗砕物は、上記の縮径部(14b)と細径部(14c)とを順に通過して前記の解砕・整粒装置(22)へ重力の作用で案内され、前記の解砕アーム(25)で細かく解砕されるとともに、前記のスクリーン(26)を透過することで所定の粒度に整粒される。
上記の解砕・整粒装置(22)で整粒された粒状体は、前記の第2ガイド筒(31)内を重力の作用で案内されて、前記の粉末充填装置(28)のファンネル(32)内へ投入される。この粒状体はこのファンネル(32)内で撹拌アーム(34)により撹拌されるとともに、ファンネル(32)下端の計量部(38)でオーガスクリュウ(33)の回転に応じた所定量が計量され、この計量部(38)から下方へ送り出されて所定の容器(39)内へ充填される。
なお、上記の実施形態では、凍結乾燥装置の下方に解砕・整粒装置(22)と粉末充填装置(28)とを順に配置したので、凍結乾燥から粉末充填までを一連に処理することができる。しかし本発明では凍結乾燥装置の下方に、これらの粉末充填装置や解砕・整粒装置を接続しないものであってもよい。例えば粉末充填装置を省略した場合、解砕・整粒装置の第2ガイド筒の下方にバルク缶などの回収容器が配置され、解砕・整粒された粉末がこの回収容器に収容されて、例えば別に設けた粉末充填工程などへ搬送される。また、この解砕整粒装置を省略した場合には、凍結乾燥装置のガイド筒の下方に回収容器が配置され、凍結乾燥後に粗砕された粗砕物がこの回収容器に収容されて次の工程へ搬送される。
上記の実施形態で説明した凍結乾燥装置は、本発明の技術的思想を具体化するために例示したものであり、竪型チューブや内部加熱手段、給液手段、噴霧装置、冷凍手段、減圧手段、液回収路、粗砕手段、その他の部材の構造や形状、配置等は、この実施形態のものに限定するものではなく、本発明の特許請求の範囲内において種々の変更を加え得るものであり、また、上記の被乾燥材料の凍結厚さなども特定の寸法に限定されないことはいうまでもない。
例えば上記の実施形態では、被乾燥材料を凍結面へ供給するに先立って、精製水によりアイスライニングを形成したので、凍結乾燥が完了すると凍結乾燥物が竪型チューブの内周面から剥離して落下する。しかし本発明では、被乾燥材料の凍結乾燥物が竪型チューブの内周面から容易に剥離する場合は、上記の精製水による氷層の形成を省略することも可能である。
また上記の実施形態では二重管構造の内部加熱装置を用いたが、本発明では螺旋状の熱媒流路を用いてもよく、さらには電気ヒータなど流体以外の熱源を用いることも可能である。また、上記の輻射面の形状は円筒状のものが好ましいが、これに限定されないことはいうまでもない。
さらに上記の実施形態では上記の冷凍手段を外部加熱装置に兼用したが、本発明では冷凍手段とは別に外部加熱装置を備えてもよく、内部加熱手段から十分に昇華熱を補給できる場合は、この外部加熱手段を省略することも可能である。
また上記の各実施形態や変形例では、凍結乾燥した被乾燥材料をガイド筒で案内して粗砕したが、例えば竪型チューブの下部にジェットノズルを組み込んで、噴出されるエアーにより粗砕してもく、或いは他の粉砕装置を組み込んでもよい。
また上記の実施形態では凍結乾燥装置の下方に解砕・整粒装置や混合・供給装置、粉末充填装置などを配置して接続したが、本発明の凍結乾燥装置は解砕・整粒手段のみを接続してもよく、或いはこれらの接続を省略してもよい。この場合は、粗砕物や整粒された粉粒体をバルク缶等で搬送することが可能である。
本発明の凍結乾燥装置は、液状の被乾燥材料を凍結したのち効率よく短時間で凍結乾燥でき、生産効率を大幅に高めることができるので、医薬品の凍結乾燥粉末の製造に特に好適に用いられるが、他の分野の凍結乾燥粉末の製造にも好適に用いられる。

Claims (4)

  1. 竪型チューブ(2)の内周面に形成された凍結面(2a)へ、給液手段(5)から液状の被乾燥材料(47)を供給し、この凍結面(2a)を冷却して上記の被乾燥材料(47)をパイプ状に凍結し、次いで上記の給液手段(5)からの被乾燥材料(47)の供給を停止したのち、この竪型チューブ(2)内を減圧して上記の凍結した被乾燥材料(47)を凍結乾燥する、凍結乾燥方法であって、
    上記の凍結乾燥の際に、上記の竪型チューブ(2)内に配置された内部加熱手段(41)から上記の凍結した被乾燥材料(47)へ輻射熱を供給することを特徴とする、凍結乾燥方法。
  2. 上記の内部加熱手段(41)を上記の竪型チューブ(2)の中心軸心に沿って配置し、この内部加熱手段(41)の外面に縦長の輻射面(43)を形成した、請求項1に記載の凍結乾燥方法。
  3. 内周面に凍結面(2a)を形成した竪型チューブ(2)と、その凍結面(2a)へ液状の被乾燥材料(47)を供給する給液手段(5)と、上記の竪型チューブ(2)の周囲に配置されて上記の凍結面(2a)を冷却する冷凍手段(10)と、上記の竪型チューブ(2)内を真空状態にする減圧手段(12)とを備えた凍結乾燥装置であって、
    上記の竪型チューブ(2)内に内部加熱手段(41)を備え、この内部加熱手段(41)から上記の凍結面(2a)側へ輻射熱を供給可能に構成したことを特徴とする、凍結乾燥装置。
  4. 上記の内部加熱手段(41)は、上記の竪型チューブ(2)の中心軸心に沿って配置され、外面に縦長の輻射面(43)を備える、請求項3に記載の凍結乾燥装置。
JP2010503698A 2008-03-19 2008-03-19 凍結乾燥方法および凍結乾燥装置 Active JP5114552B2 (ja)

Applications Claiming Priority (1)

Application Number Priority Date Filing Date Title
PCT/JP2008/055057 WO2009116145A1 (ja) 2008-03-19 2008-03-19 凍結乾燥方法および凍結乾燥装置

Publications (2)

Publication Number Publication Date
JPWO2009116145A1 JPWO2009116145A1 (ja) 2011-07-21
JP5114552B2 true JP5114552B2 (ja) 2013-01-09

Family

ID=41090567

Family Applications (1)

Application Number Title Priority Date Filing Date
JP2010503698A Active JP5114552B2 (ja) 2008-03-19 2008-03-19 凍結乾燥方法および凍結乾燥装置

Country Status (6)

Country Link
US (1) US8365432B2 (ja)
EP (1) EP2270409B1 (ja)
JP (1) JP5114552B2 (ja)
KR (1) KR20100135262A (ja)
CN (1) CN101970964B (ja)
WO (1) WO2009116145A1 (ja)

Families Citing this family (15)

* Cited by examiner, † Cited by third party
Publication number Priority date Publication date Assignee Title
WO2009116145A1 (ja) * 2008-03-19 2009-09-24 株式会社モリモト医薬 凍結乾燥方法および凍結乾燥装置
JP5398630B2 (ja) * 2010-04-28 2014-01-29 森永製菓株式会社 凍結乾燥食品及びその製造方法
KR101330475B1 (ko) * 2012-07-18 2013-11-15 유경화 슬러지 건조기
KR200474748Y1 (ko) 2014-07-11 2014-10-22 주식회사 오페론 예비동결 및 건조장치
KR101696837B1 (ko) 2015-08-17 2017-02-01 주식회사 오페론 농수산물 동결건조장치
CN105806045A (zh) * 2016-04-22 2016-07-27 成都聚智工业设计有限公司 真空干燥罐
CA3041545C (en) 2016-11-14 2023-04-18 William H. Mitchell, Jr. Systems and methods for separating soluble solutions
CN108571862A (zh) * 2017-03-07 2018-09-25 成都青山利康药业有限公司 一种薄膜的冻干剥离方法
CN110338436A (zh) * 2018-04-03 2019-10-18 蔡明宪 蔬果干燥系统
EP3864359B1 (en) 2018-10-11 2023-06-28 IMA Life North America Inc. Bulk freeze drying system
SG11202104361TA (en) * 2018-10-29 2021-05-28 Freeze Dried Foods New Zealand Ltd A continuous freeze dryer, hopper and method of freeze-drying
JP6667884B1 (ja) * 2019-07-17 2020-03-18 株式会社松井製作所 粉粒体材料の乾燥装置及び粉粒体材料の乾燥方法
CN110585754B (zh) * 2019-09-03 2020-12-08 珠海市迪奇孚瑞生物科技有限公司 用于干燥的试剂混合物、试剂混合物的制备以及干燥方法
JP7085088B1 (ja) * 2021-08-03 2022-06-16 株式会社エムアイアイ 凍結乾燥物
CN115711515B (zh) * 2022-11-07 2023-08-04 厚德食品股份有限公司 一种蛋黄上清液粉制备用冷冻干燥装置

Citations (4)

* Cited by examiner, † Cited by third party
Publication number Priority date Publication date Assignee Title
JP2002310556A (ja) * 2001-04-04 2002-10-23 Kyowa Shinku Gijutsu Kk 食品・薬品等の凍結乾燥装置および凍結乾燥方法
JP2003010722A (ja) * 2001-07-06 2003-01-14 Kyowa Shinku Gijutsu Kk 凍結乾燥した食品・薬品類の乾燥バルクの粉砕装置
JP2004330130A (ja) * 2003-05-09 2004-11-25 Kyowa Shinku Gijutsu Kk 凍結乾燥装置の竪型チューブの内壁面に対する液材料の凍結方法と凍結乾燥装置
JP2008020151A (ja) * 2006-07-14 2008-01-31 Morimoto Iyaku:Kk 凍結乾燥方法および凍結乾燥装置

Family Cites Families (20)

* Cited by examiner, † Cited by third party
Publication number Priority date Publication date Assignee Title
US3132930A (en) * 1961-04-13 1964-05-12 Fmc Corp Freeze drying system
CH408781A (de) * 1964-04-24 1966-02-28 Anderwert Fritz Verfahren zur Trocknung von zerstäubbarem Gut durch Sublimation und Trockeneinrichtung zur Ausführung des Verfahrens
BR7302114D0 (pt) * 1973-03-10 1974-08-15 A Filipe Equipamento para liofilizacao acelerada
US4033048A (en) * 1976-01-12 1977-07-05 Clayton Van Ike Freeze drying apparatus
US4327750A (en) * 1978-08-07 1982-05-04 American Brands, Inc. Apparatus for increasing the filling capacity of tobacco
US4455135A (en) * 1980-12-23 1984-06-19 Bitterly Jack G Vacuum chamber and method of creating a vacuum
FR2607129B1 (fr) * 1986-11-20 1996-10-25 Hannart Marc Appareils pour rendre potable, par sterilisation, l'eau brute, et la distribuer, a differentes temperatures
JPH0642867A (ja) * 1992-07-23 1994-02-18 Nippon Kansouki Kk タンブラー型回転乾燥機
DK0797988T3 (da) * 1993-07-19 2009-05-11 Univ British Columbia Anti-angiogene præparater og fremgangsmåder til anvendelse deraf
GB9505523D0 (en) * 1995-03-18 1995-05-03 Wellcome Found Lyophilization process
DE60120346T2 (de) * 2001-03-01 2007-05-16 Incorporated Administrative Agency National Agriculture And Bio-Oriented Research Organization, Tsukuba Verfahren und Vorrichtung zur Herstellung eines gefriergetrockneten Produktes
JP3653239B2 (ja) * 2001-06-14 2005-05-25 共和真空技術株式会社 食品・薬品等の凍結乾燥装置
JP2003194459A (ja) * 2001-12-26 2003-07-09 Kobe Steel Ltd 凍結乾燥機
WO2009006891A1 (en) * 2007-07-10 2009-01-15 Niro A/S Method for freeze-drying a product and freeze-drying apparatus for carrying out the method
US9186677B2 (en) * 2007-07-13 2015-11-17 Handylab, Inc. Integrated apparatus for performing nucleic acid extraction and diagnostic testing on multiple biological samples
US20100303918A1 (en) * 2007-10-25 2010-12-02 Revalesio Corporation Compositions and methods for treating asthma and other lung disorders
WO2009116145A1 (ja) * 2008-03-19 2009-09-24 株式会社モリモト医薬 凍結乾燥方法および凍結乾燥装置
WO2009151718A2 (en) * 2008-03-25 2009-12-17 Ronald De Strulle Environmentally-neutral processing with condensed phase cryogenic fluids
DE102008031809A1 (de) * 2008-06-27 2009-12-31 Optima Group Pharma Gmbh Halterung
US7985188B2 (en) * 2009-05-13 2011-07-26 Cv Holdings Llc Vessel, coating, inspection and processing apparatus

Patent Citations (4)

* Cited by examiner, † Cited by third party
Publication number Priority date Publication date Assignee Title
JP2002310556A (ja) * 2001-04-04 2002-10-23 Kyowa Shinku Gijutsu Kk 食品・薬品等の凍結乾燥装置および凍結乾燥方法
JP2003010722A (ja) * 2001-07-06 2003-01-14 Kyowa Shinku Gijutsu Kk 凍結乾燥した食品・薬品類の乾燥バルクの粉砕装置
JP2004330130A (ja) * 2003-05-09 2004-11-25 Kyowa Shinku Gijutsu Kk 凍結乾燥装置の竪型チューブの内壁面に対する液材料の凍結方法と凍結乾燥装置
JP2008020151A (ja) * 2006-07-14 2008-01-31 Morimoto Iyaku:Kk 凍結乾燥方法および凍結乾燥装置

Also Published As

Publication number Publication date
US20110016741A1 (en) 2011-01-27
US8365432B2 (en) 2013-02-05
EP2270409A1 (en) 2011-01-05
CN101970964A (zh) 2011-02-09
CN101970964B (zh) 2012-05-23
KR20100135262A (ko) 2010-12-24
EP2270409B1 (en) 2014-02-26
EP2270409A4 (en) 2012-08-08
WO2009116145A1 (ja) 2009-09-24
JPWO2009116145A1 (ja) 2011-07-21

Similar Documents

Publication Publication Date Title
JP5114552B2 (ja) 凍結乾燥方法および凍結乾燥装置
CA2849796C (en) A process line for the production of freeze-dried particles
JP7038435B2 (ja) 噴霧凍結造粒乾燥粉体製造装置及び噴霧凍結造粒乾燥粉体製造システム
US3300868A (en) Process for drying heat-sensitive materials as well as drying apparatus for the performance of the aforementioned process
CN105318666A (zh) 一种真空喷雾冷冻干燥设备和方法
CN103069240A (zh) 利用喷洒冷冻和搅拌干燥的散装冷冻干燥
CN106268503A (zh) 一种液氮喷雾冷冻造粒真空干燥装置和工作方法
ES2958224T3 (es) Cámara de liofilización para un sistema de liofilización a granel
WO2017084160A1 (zh) 一种固体制剂制造设备和方法
JP2006177640A (ja) 凍結真空乾燥装置
JPS6336828A (ja) 粒状乾燥物製造方法及び真空凍結乾燥装置
KR101941109B1 (ko) 버섯분말 제조 장치
JP3653239B2 (ja) 食品・薬品等の凍結乾燥装置
JP5173159B2 (ja) 凍結乾燥方法および凍結乾燥装置
CN203443286U (zh) 一种连续生产型冻干机
JP7144291B2 (ja) 減圧乾燥方法
CN103335500B (zh) 一种连续生产型冻干机
CN204739850U (zh) 一种连续式真空喷雾冷冻干燥设备
JP2020085347A (ja) フリーズドライ製品の製造方法及びフリーズドライシステム
JP3077988B2 (ja) 湿式粉砕・混合および乾燥装置
JP4003174B2 (ja) 真空乾燥機への原料液供給方法並びにその装置
ES2955971T3 (es) Sistema de liofilización a granel
JP2000018791A (ja) 冷却・加温トンネル
CN115289788A (zh) 一种真空喷雾冷冻干燥机
RU2615553C1 (ru) Способ и устройство непрерывной сублимационной сушки жидких продуктов

Legal Events

Date Code Title Description
TRDD Decision of grant or rejection written
A01 Written decision to grant a patent or to grant a registration (utility model)

Free format text: JAPANESE INTERMEDIATE CODE: A01

Effective date: 20120925

A01 Written decision to grant a patent or to grant a registration (utility model)

Free format text: JAPANESE INTERMEDIATE CODE: A01

A61 First payment of annual fees (during grant procedure)

Free format text: JAPANESE INTERMEDIATE CODE: A61

Effective date: 20121015

FPAY Renewal fee payment (event date is renewal date of database)

Free format text: PAYMENT UNTIL: 20151019

Year of fee payment: 3

R150 Certificate of patent or registration of utility model

Ref document number: 5114552

Country of ref document: JP

Free format text: JAPANESE INTERMEDIATE CODE: R150

Free format text: JAPANESE INTERMEDIATE CODE: R150

S531 Written request for registration of change of domicile

Free format text: JAPANESE INTERMEDIATE CODE: R313531

R350 Written notification of registration of transfer

Free format text: JAPANESE INTERMEDIATE CODE: R350

R250 Receipt of annual fees

Free format text: JAPANESE INTERMEDIATE CODE: R250

R250 Receipt of annual fees

Free format text: JAPANESE INTERMEDIATE CODE: R250

R250 Receipt of annual fees

Free format text: JAPANESE INTERMEDIATE CODE: R250

S111 Request for change of ownership or part of ownership

Free format text: JAPANESE INTERMEDIATE CODE: R313117

R350 Written notification of registration of transfer

Free format text: JAPANESE INTERMEDIATE CODE: R350

R250 Receipt of annual fees

Free format text: JAPANESE INTERMEDIATE CODE: R250

R250 Receipt of annual fees

Free format text: JAPANESE INTERMEDIATE CODE: R250

R250 Receipt of annual fees

Free format text: JAPANESE INTERMEDIATE CODE: R250

R250 Receipt of annual fees

Free format text: JAPANESE INTERMEDIATE CODE: R250

R250 Receipt of annual fees

Free format text: JAPANESE INTERMEDIATE CODE: R250

R250 Receipt of annual fees

Free format text: JAPANESE INTERMEDIATE CODE: R250

R250 Receipt of annual fees

Free format text: JAPANESE INTERMEDIATE CODE: R250