JP5113573B2 - Led照明装置 - Google Patents

Led照明装置 Download PDF

Info

Publication number
JP5113573B2
JP5113573B2 JP2008076699A JP2008076699A JP5113573B2 JP 5113573 B2 JP5113573 B2 JP 5113573B2 JP 2008076699 A JP2008076699 A JP 2008076699A JP 2008076699 A JP2008076699 A JP 2008076699A JP 5113573 B2 JP5113573 B2 JP 5113573B2
Authority
JP
Japan
Prior art keywords
light
light source
opening
full
esushito
Prior art date
Legal status (The legal status is an assumption and is not a legal conclusion. Google has not performed a legal analysis and makes no representation as to the accuracy of the status listed.)
Active
Application number
JP2008076699A
Other languages
English (en)
Other versions
JP2009231128A (ja
Inventor
健一郎 田中
成 福岡
Current Assignee (The listed assignees may be inaccurate. Google has not performed a legal analysis and makes no representation or warranty as to the accuracy of the list.)
Panasonic Corp
Panasonic Holdings Corp
Original Assignee
Panasonic Corp
Matsushita Electric Industrial Co Ltd
Priority date (The priority date is an assumption and is not a legal conclusion. Google has not performed a legal analysis and makes no representation as to the accuracy of the date listed.)
Filing date
Publication date
Application filed by Panasonic Corp, Matsushita Electric Industrial Co Ltd filed Critical Panasonic Corp
Priority to JP2008076699A priority Critical patent/JP5113573B2/ja
Priority to CN2009801103483A priority patent/CN101978210B/zh
Priority to KR1020107023715A priority patent/KR101203133B1/ko
Priority to US12/933,486 priority patent/US8742435B2/en
Priority to EP09725294.4A priority patent/EP2261551B1/en
Priority to PCT/JP2009/055761 priority patent/WO2009119550A1/ja
Publication of JP2009231128A publication Critical patent/JP2009231128A/ja
Application granted granted Critical
Publication of JP5113573B2 publication Critical patent/JP5113573B2/ja
Active legal-status Critical Current
Anticipated expiration legal-status Critical

Links

Images

Classifications

    • FMECHANICAL ENGINEERING; LIGHTING; HEATING; WEAPONS; BLASTING
    • F21LIGHTING
    • F21VFUNCTIONAL FEATURES OR DETAILS OF LIGHTING DEVICES OR SYSTEMS THEREOF; STRUCTURAL COMBINATIONS OF LIGHTING DEVICES WITH OTHER ARTICLES, NOT OTHERWISE PROVIDED FOR
    • F21V13/00Producing particular characteristics or distribution of the light emitted by means of a combination of elements specified in two or more of main groups F21V1/00 - F21V11/00
    • F21V13/02Combinations of only two kinds of elements
    • FMECHANICAL ENGINEERING; LIGHTING; HEATING; WEAPONS; BLASTING
    • F21LIGHTING
    • F21VFUNCTIONAL FEATURES OR DETAILS OF LIGHTING DEVICES OR SYSTEMS THEREOF; STRUCTURAL COMBINATIONS OF LIGHTING DEVICES WITH OTHER ARTICLES, NOT OTHERWISE PROVIDED FOR
    • F21V11/00Screens not covered by groups F21V1/00, F21V3/00, F21V7/00 or F21V9/00
    • F21V11/08Screens not covered by groups F21V1/00, F21V3/00, F21V7/00 or F21V9/00 using diaphragms containing one or more apertures
    • F21V11/14Screens not covered by groups F21V1/00, F21V3/00, F21V7/00 or F21V9/00 using diaphragms containing one or more apertures with many small apertures
    • FMECHANICAL ENGINEERING; LIGHTING; HEATING; WEAPONS; BLASTING
    • F21LIGHTING
    • F21VFUNCTIONAL FEATURES OR DETAILS OF LIGHTING DEVICES OR SYSTEMS THEREOF; STRUCTURAL COMBINATIONS OF LIGHTING DEVICES WITH OTHER ARTICLES, NOT OTHERWISE PROVIDED FOR
    • F21V3/00Globes; Bowls; Cover glasses
    • FMECHANICAL ENGINEERING; LIGHTING; HEATING; WEAPONS; BLASTING
    • F21LIGHTING
    • F21YINDEXING SCHEME ASSOCIATED WITH SUBCLASSES F21K, F21L, F21S and F21V, RELATING TO THE FORM OR THE KIND OF THE LIGHT SOURCES OR OF THE COLOUR OF THE LIGHT EMITTED
    • F21Y2115/00Light-generating elements of semiconductor light sources
    • F21Y2115/10Light-emitting diodes [LED]

Landscapes

  • Engineering & Computer Science (AREA)
  • General Engineering & Computer Science (AREA)
  • Planar Illumination Modules (AREA)
  • Led Device Packages (AREA)

Description

本発明は、発光波長の異なる複数のLEDチップを有する光源を利用したLED照明装置に関するものである。
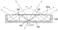
従来から、この種のLED照明装置として、図9に示すように、一面開口した箱状に形成されたケース100と、ケース100の底壁の中央部に形成された窓孔101内に配置され発光波長の異なる複数のLEDチップ(例えば、赤色LEDチップ、緑色LEDチップ、青色LEDチップ)を有する光源1’と、透光性材料(例えば、アクリル樹脂、シリコーン樹脂などのポリマー)により形成されケース100内に収納された導光体102と、導光体102におけるケース100の底壁側とは反対の放射面102a側に形成され光源1’からの光を所定の割合で反射させる放射側反射部103と、導光体102とケース100の内面との間に設けられ光源1’から放射され放射側反射部103で反射された光を反射する内側反射部104とを備えたものが提案されている(特許文献1)。
特開2008−27886号公報(図1)
ところで、図9に示した構成のLED照明装置では、導光体102での光損失に起因して光取出し効率が低下してしまう。また、図9に示した構成のLED照明装置では、光源1’が1種類のLEDチップのみを利用したものであれば、大面積で均一な照明光を得ることが可能であるが、導光体102の放射面102a側の放射側反射部103が光源1’からの光を所定の割合で反射させるように形成されており、光源1’からの光の一部が放射側反射部103で反射されずに直接外部へ出射されるので(なお、図9中に一点鎖線で示した矢印は、光源1’から放射された光の伝搬経路を示している)、光源1’において発光波長の異なる複数のLEDチップが近接配置されていても、光源1’自体に色むらがある場合、LED照明装置全体として色むらが発生してしまう。
本発明は上記事由に鑑みて為されたものであり、その目的は、光取出し効率を向上でき且つ色むらの発生を抑制できるLED照明装置を提供することにある。
請求項1の発明は、発光波長の異なる複数のLEDチップを有する光源と、光取り出し用の多数の開口部が形成された拡散反射シートからなり前記光源の光軸に厚み方向が一致する形で配置されるフェースシートと、前記フェースシートの光出射面側とは反対側において前記フェースシートに対向配置され前記フェースシートで拡散反射された光を前記フェースシート側へ拡散反射する拡散反射シートからなるリヤシートとを備え、前記フェースシートと前記リヤシートとの間の媒質が空気であり、前記フェースシートは、前記光源からの直接光が外部へ出射せず且つ前記光出射面側の輝度が均一になるように前記各開口部が形成されてなることを特徴とする。
この発明によれば、光取り出し用の多数の開口部が形成された拡散反射シートからなり光源の光軸に厚み方向が一致する形で配置されるフェースシートと、前記フェースシートの光出射面側とは反対側において前記フェースシートに対向配置され前記フェースシートで拡散反射された光を前記フェースシート側へ拡散反射する拡散反射シートからなる前記リヤシートとを備え、前記フェースシートと前記リヤシートとの間の媒質が空気なので、光取出し効率を向上でき、しかも、前記フェースシートは、前記光源からの直接光が外部へ出射せず且つ前記光出射面側の輝度が均一になるように前記各開口部が形成されているので、発光波長の異なる複数の前記LEDチップを有する前記光源において色むらがある場合でもLED照明装置全体として色むらの発生を抑制できる。
また、請項1の発明は、前記フェースシートは、前記光源に近い前記開口部ほど開口サイズが小さく、前記光源からの前記直接光が前記外部へ出射しないように前記各開口部のアスペクト比が設定されてなることを特徴とする。
この発明によれば、前記光源からの前記直接光が前記光源に近い前記開口部の内側面で反射されることなく出射するのを防止することができ、前記光源からの前記直接光が前記開口部を通して前記外部へ出射するのを防止することが可能となる。
請求項2の発明は、請求項1の発明において、前記フェースシートは、前記光の前記光軸に近いほど厚みが厚く、前記光源からの前記直接光が前記外部へ出射しないように前記各開口部のアスペクト比が設定されてなることを特徴とする。
この発明によれば、前記光源からの前記直接光が前記光源に近い前記開口部の内側面で反射されることなく出射するのを防止することができ、前記光源からの前記直接光が前記開口部を通して前記外部へ出射するのを防止することが可能となる。
請求項3の発明は、請求項1または請求項2の発明において、前記フェースシートは、前記光の前記光軸を含む断面における前記開口部の内側面のうち前記光軸から遠い側が前記光軸に平行で前記光軸に近い側が前記光源に近づくにつれて前記光軸から離れるテーパ状に形成されてなることを特徴とする。
この発明によれば、輝度の均一化を図れる。
請求項4の発明は、請求項1の発明において、前記フェースシートは、前記光出射面側における前記開口部の周部のうち前記光の前記光軸から遠い側に前記厚み方向に突出し前記光源からの前記直接光を反射する反射部が形成されてなることを特徴とする。
この発明によれば、前記光源からの前記直接光の一部が1度も反射されずに前記開口部を通過したとしても反射部により反射されるので、前記光源からの前記直接光が前記外部へ出射されるのをより確実に防止することが可能となる。
請求項5の発明は、請求項1ないし請求項4の発明において、前記フェースシートの前記光出射面側に配置される導光板を備えることを特徴とする。
この発明によれば、前記フェースシートの前記光出射面側に配置される導光板を備えていることにより、輝度のより一層の均一化を図れる。
請求項6の発明は、請求項5の発明において、前記導光板における前記フェースシート側とは反対側の表面に光取出し効率向上用の凹凸構造が形成されてなることを特徴とする。
この発明によれば、前記外部への光取出し効率をさらに向上できる。
請求項7の発明は、請求項1の発明において、前記フェースシートにおける前記光出射面側に離間して配置された拡散反射シートからなる2次フェースシートを備え、前記2次フェースシートは、前記光源からの前記直接光が前記外部へ出射せず且つ前記2次フェースシートの光出射面側の輝度が均一になるように多数の2次開口部が形成されてなることを特徴とする。
この発明によれば、前記光源からの前記直接光が前記外部へ出射されるのをより確実に防止することが可能となるとともに、輝度のより一層の均一化を図れる。
請求項1の発明では、光取出し効率を向上でき且つ色むらの発生を抑制できるという効果がある。
(実施形態1)
本実施形態のLED照明装置は、図1に示すように、発光波長の異なる複数のLEDチップ10を有する光源1と、光取り出し用の多数の開口部21が形成された矩形板状の拡散反射シートからなり光源1の光軸M1に厚み方向が一致する形で配置されるフェースシート2と、フェースシート2の光出射面側とは反対側においてフェースシート2に対向配置されフェースシート2で拡散反射された光をフェースシート2側へ拡散反射する矩形板状の拡散反射シートからなるリヤシート3と、フェースシート2とリヤリート3との間に介在する枠状(ここでは、矩形枠状)のスペーサ4とを備え、フェースシート2とリヤシート3との間の媒質5が空気であり、フェースシート2は、光源1からの直接光が外部へ出射せず且つ光出射面側の輝度が均一になるように各開口部21が形成されている。なお、スペーサ4の形状は枠状に限らず、例えば、柱状の形状として、フェースシート2とリヤシート3との四隅同士の間に介在させてもよい。
ここにおいて、光源1の各LEDチップ10は、1つの実装基板11の一表面側に実装され、透光性材料(例えば、シリコーン樹脂、エポキシ樹脂、アクリル樹脂、ポリカーボネート樹脂、ガラスなど)からなるレンズ状の封止部16により封止されている。実装基板11は、第1の熱伝導性材料(例えば、Cu、Alなど)からなる矩形板状の伝熱板12と、伝熱板12の一表面側の中央部に接合された第2の熱伝導性材料(例えば、AlNなど)からなる矩形板状のサブマウント部材13と、伝熱板12の上記一表面側に接合されサブマウント部材13が内側に離間して配置される開口窓14aを有する配線基板14とを備えており、配線基板14がリヤシート3に接合されている。ここで、サブマウント部材13は、LEDチップ10のチップサイズよりも大きなサイズの矩形板状に形成されLEDチップ10と伝熱板12との線膨張率差に起因してLEDチップ10に働く応力を緩和する応力緩和機能と、LEDチップ10で発生した熱を伝熱板12においてLEDチップ10のチップサイズよりも広い範囲に伝熱させる熱伝導機能とを有している。
また、各LEDチップ10は、サブマウント部材13におけるLEDチップ10の搭載面側に形成された導体パターンと配線基板14の配線パターンとを電気的に接続する複数のボンディングワイヤ15を介して給電されるようになっている。ここで、配線基板14は、平面視において一部が伝熱板21の外周縁よりも外方へ延出する突出部(図示せず)が設けられており、当該突出部において電源ユニットなどからの給電用の電線が接続されるようになっている。なお、配線基板14としては、例えば、絶縁性基材の一表面側に各LEDチップ10への給電用の配線パターンが設けられたものを用いればよいが、絶縁性基材の材料としては、例えば、ガラスエポキシ樹脂(FR4、FR5など)、紙フェノールなどを採用すればよい。
上述の光源1は、発光波長の異なる複数のLEDチップ10として、赤色光を放射する赤色LEDチップ、緑色光を放射する緑色LEDチップ、青色光を放射する青色LEDチップ、黄色光を放射する黄色LEDチップを採用しており、赤色光と緑色光と青色光と黄色光の混色光として白色光を得ることができる。ただし、LEDチップ10の数や発光色は特に限定するものではなく、所望の混色光に応じて適宜選択すればよい。
また、上述のスペーサ4は、フェースシート2およびリヤシート3と同様に、光源1からの光を反射する拡散反射シートにより構成されているが、スペーサ4は、必ずしも拡散反射シートにより構成する必要はない。
フェースシート2、リヤシート3およびスペーサ4に用いる拡散反射シートとしては、例えば、ポリエチレンテレフタレート樹脂(PET)を発泡させて10μm以下の超微細な気泡を多数形成した光反射板(超微細発泡光反射板)を用いればよく、この種の光反射板としては、例えば、MCPET(登録商標)を採用すればよいが、MCPETと同様に拡散反射率および全反射率の高いものであればMCPET以外のものを採用してもよく、シート状部材の表面に拡散反射膜を形成したものでもよい。本実施形態では、フェースシート2、リヤシート3およびスペーサ4を上述の拡散反射シートにより構成しているので、金属鏡面により反射面が形成されている場合に比べて、拡散反射率および全反射率を高めることができ、外部への光取り出し効率を高めることができ、光出力の向上を図れる。
リヤシート3は、サブマウント部材13が内側に離間して配置され且つ配線基板14における開口窓14aの周部を露出させる窓孔31が中央部に形成されている。
また、フェースシート2は、上述のように、光源1からの直接光が外部へ出射せず且つ光出射面側の輝度が均一になるように各開口部21が形成されており、図1および図2に示すように、光源1に近い開口部21ほど開口サイズが小さく、光源1からの直接光が外部へ出射しないように光源1の光軸M1を含む断面(フェースシート2の厚み方向に沿った中心軸M2を含む断面)における各開口部21のアスペクト比が設定されている。ここにおいて、開口部21のアスペクト比は、フェースシート2における開口部21周部の厚みa(図1参照)とフェースシート2におけるリヤシート3側の表面における開口部21の幅b(図1参照)との比であり、〔アスペクト比〕=〔フェースシート2における開口部21周部の厚みa〕/〔開口部21の開口幅b〕により求められる値である。なお、本実施形態では、各開口部21の開口形状を円形状としてあり、フェースシート2の上記中心軸M2からの距離が大きな開口部21ほど開口幅bが大きくなっているが、開口部21の開口形状は円形状に限らず、例えば、図3に示すように、弧状の開口形状として、フェースシート2の上記中心軸M2からの距離が大きな開口部21ほど開口幅bが大きくなるようにしてもよい。
以上説明した本実施形態のLED照明装置では、光取り出し用の多数の開口部21が形成された拡散反射シートからなり光源1の光軸M1に厚み方向が一致する形で配置されるフェースシート2と、フェースシート2の光出射面側とは反対側においてフェースシート2に対向配置されフェースシート2で拡散反射された光をフェースシート2側へ拡散反射する拡散反射シートからなるリヤシート3とを備え、フェースシート2とリヤシート3との間の媒質が空気なので、光取出し効率を向上でき、しかも、フェースシート2は、光源1からの直接光が外部へ出射せず且つ光出射面側の輝度が均一になるように各開口部21が形成されているので、発光波長の異なる複数のLEDチップ10を有する光源1において色むらがある場合でもLED照明装置全体として色むらの発生を抑制できる。また、本実施形態のLED照明装置では、フェースシート2とリヤシート3との間に枠状のスペーサ4を備え、スペーサ4も拡散反射シートにより形成されているので、外部への光取出し効率をさらに向上できる。
また、本実施形態のLED照明装置によれば、フェースシート2は、光源1に近い開口部21ほど開口サイズが小さく、光源1からの直接光が外部へ出射しないように各開口部21のアスペクト比が設定されているので、光源1からの直接光が光源1に近い開口部21の内側面で反射されることなく出射するのを防止することができ、光源1からの直接光が開口部21を通して外部へ出射するのを防止することが可能となる。
また、本実施形態のLED照明装置では、光源1の点灯時に各LEDチップ10で発生した熱を配線基板14を通すことなくサブマウント部材13を介して伝熱板12へ伝熱して放熱することができるので、放熱性が向上し、各LEDチップ10のジャンクション温度の温度上昇を抑制できるから、入力電力を大きくでき、光出力の高出力化を図れる。
(実施形態2)
本実施形態のLED照明装置の構成は実施形態1と略同じであって、図4に示すように、フェースシート2の構造が相違している。なお、実施形態1と同様の構成要素には同一の符号を付して説明を省略する。
本実施形態におけるフェースシート2は、光源1の光軸M1に近いほど厚みが厚く、光源1からの直接光が外部へ出射しないように各開口部21のアスペクト比が設定されている。なお、開口部21のアスペクト比の定義は基本的に実施形態1と同じであるが、開口部21のフェースシート2における開口部21周部の厚みaとしては、光源1の光軸M1を含む断面において光軸M1から遠い側の周部の厚みを採用する。
以上説明した本実施形態のLED照明装置では、開口部21の開口形状および開口サイズを実施形態1と同じに設定した場合に、光源1からの直接光が光源1に近い開口部21の内側面で反射されることなく出射するのをより確実に防止することができ、光源1からの直接光が開口部21を通して外部へ出射するのを防止することが可能となる。
(実施形態3)
本実施形態のLED照明装置の構成は実施形態1と略同じであって、図5に示すように、フェースシート2の構造が相違している。なお、実施形態1と同様の構成要素には同一の符号を付して説明を省略する。
ところで、実施形態2のLED照明装置では、フェースシート2において光源1の光軸M1に近い部位ほど厚みが厚くなっているので、輝度の均一性が低下してしまう。
これに対して、本実施形態におけるフェースシート2は、光源1の光軸M1を含む断面における開口部21の内側面のうち光軸M1から遠い側が光軸M1に平行で光軸M1に近い側が光源1に近づくにつれて光軸M1から離れるテーパ状に形成されている。
しかして、本実施形態のLED照明装置では、実施形態2に比べて、輝度の均一化を図れる。なお、実施形態2におけるフェースシート2の開口部21の形状を本実施形態と同様の形状としてもよい。
(実施形態4)
本実施形態のLED照明装置の構成は実施形態1と略同じであって、図6に示すように、フェースシート2の構造が相違している。なお、実施形態1と同様の構成要素には同一の符号を付して説明を省略する。
本実施形態におけるフェースシート2は、光出射面側における開口部21の周部のうち光源1の光軸M1から遠い側に厚み方向に突出し光源1からの直接光を反射する反射部22が形成されている。
しかして、本実施形態のLED照明装置では、光源1からの直接光の一部が1度も反射されずに開口部21を通過したとしても反射部22により反射されるので、光源1からの直接光が外部へ出射されるのをより確実に防止することが可能となる。
(実施形態5)
本実施形態のLED照明装置の構成は実施形態1と略同じであり、図7に示すように、フェースシート2の光出射面側に配置される矩形板状の導光板6であってフェースシート2の各開口部21それぞれに埋設される複数の導光部6bが連続一体に形成された導光板6を備えている点が相違する。なお、実施形態1と同様の構成要素には同一の符号を付して説明を省略する。
ここにおいて、導光板6の厚みは、当該導光板6での光損失をより少なくするために薄い方が好ましく、フェースシート2とリヤシート3との間の距離よりも小さく設定してある。また、導光板6は、ガラスにより形成してあるが、ガラスに限らず、例えば、アクリル樹脂、シリコーン樹脂、エポキシ樹脂、ポリカーボネート樹脂などにより形成してもよい。
しかして、本実施形態のLED照明装置では、フェースシート2の光出射面側に配置される導光板6を備えていることにより、フェースシート2の光出射面側へ出射した光が導光板6で導光されるので、輝度のより一層の均一化を図れる。
また、本実施形態のLED照明装置では、導光板6におけるフェースシート2側とは反対側の表面に光取出し効率向上用の凹凸構造を形成すれば、外部への光取出し効率をさらに向上できる。なお、他の実施形態2〜4においても導光板6を設けてもよい。
(実施形態6)
本実施形態のLED照明装置の構成は実施形態1と略同じであって、図8に示すように、フェースシート2における光出射面側に離間して配置された拡散反射シートからなる2次フェースシート7を備え、2次フェースシート7は、光源1からの直接光が外部へ出射せず且つ当該2次フェースシート7の光出射面側の輝度が均一になるように多数の2次開口部71が形成されている点が相違する。なお、実施形態1と同様の構成要素には同一の符号を付して説明を省略する。
2次フェースシート7は、フェースシート2と同様の拡散反射シートにより形成してあり、スペーサ8を介してフェースシート2に対向配置されている。したがって、2次フェースシート7とフェースシート2との間には、空隙9が形成されている。また、2次フェースシート7の開口部71は、フェースシート2の開口部21と同じ開口形状で開口部21の投影領域に形成してあるが、必ずしもフェースシート2の開口部21と同じ開口形状でなくてもよいし、形成位置もフェースシート2の開口部21の投影領域でなくてもよい。
以上説明した本実施形態のLED照明装置によれば、光源1からの直接光が外部へ出射されるのをより確実に防止することが可能となるとともに、輝度のより一層の均一化を図れる。なお、本実施形態では、2次フェースシート7の平面サイズをフェースシート2の平面サイズよりも小さく設定してあるが、フェースシート2と同じ平面サイズに設定してもよい。
実施形態1のLED照明装置の概略断面図である。 同上におけるフェースシートの平面図である。 同上におけるフェースシートの他の構成例の平面図である。 実施形態2のLED照明装置の概略断面図である。 実施形態3のLED照明装置の概略断面図である。 実施形態4のLED照明装置の概略断面図である。 実施形態5のLED照明装置の概略断面図である。 実施形態6のLED照明装置の概略断面図である。 従来例を示すLED照明装置の概略断面図である。
符号の説明
1 光源
2 フェースシート
3 リヤシート
4 スペーサ
5 媒質
6 導光板
7 2次フェースシート
10 LEDチップ
21 開口部
22 反射部
31 窓孔
71 2次開口部
M1 光軸
M2 中心軸

Claims (7)

  1. 発光波長の異なる複数のLEDチップを有する光源と、光取り出し用の多数の開口部が形成された拡散反射シートからなり前記光源の光軸に厚み方向が一致する形で配置されるフェースシートと、前記フェースシートの光出射面側とは反対側において前記フェースシートに対向配置され前記フェースシートで拡散反射された光を前記フェースシート側へ拡散反射する拡散反射シートからなるリヤシートとを備え、前記フェースシートと前記リヤシートとの間の媒質が空気であり、前記フェースシートは、前記光源からの直接光が外部へ出射せず且つ前記光出射面側の輝度が均一になるように前記各開口部が形成されてなり、前記フェースシートは、前記光源に近い前記開口部ほど開口サイズが小さく、前記光源からの前記直接光が前記外部へ出射しないように前記各開口部のアスペクト比が設定されてなることを特徴とするLED照明装置。
  2. 前記フェースシートは、前記光源の前記光軸に近いほど厚みが厚く、前記光源からの前記直接光が前記外部へ出射しないように前記各開口部のアスペクト比が設定されてなることを特徴とする請求項1記載のLED照明装置。
  3. 前記フェースシートは、前記光の前記光軸を含む断面における前記開口部の内側面のうち前記光軸から遠い側が前記光軸に平行で前記光軸に近い側が前記光源に近づくにつれて前記光軸から離れるテーパ状に形成されてなることを特徴とする請求項1または請求項2記載のLED照明装置。
  4. 前記フェースシートは、前記光出射面側における前記開口部の周部のうち前記光の前記光軸から遠い側に前記厚み方向に突出し前記光源からの前記直接光を反射する反射部が形成されてなることを特徴とする請求項1記載のLED照明装置。
  5. 前記フェースシートの前記光出射面側に配置される導光板を備えることを特徴とする請求項1ないし請求項4のいずれか1項に記載のLED照明装置。
  6. 前記導光板における前記フェースシート側とは反対側の表面に光取出し効率向上用の凹凸構造が形成されてなることを特徴とする請求項5記載のLED照明装置。
  7. 前記フェースシートにおける前記光出射面側に離間して配置された拡散反射シートからなる2次フェースシートを備え、前記2次フェースシートは、前記光源からの前記直接光が前記外部へ出射せず且つ前記2次フェースシートの光出射面側の輝度が均一になるように多数の2次開口部が形成されてなることを特徴とする請求項1記載のLED照明装置
JP2008076699A 2008-03-24 2008-03-24 Led照明装置 Active JP5113573B2 (ja)

Priority Applications (6)

Application Number Priority Date Filing Date Title
JP2008076699A JP5113573B2 (ja) 2008-03-24 2008-03-24 Led照明装置
CN2009801103483A CN101978210B (zh) 2008-03-24 2009-03-24 Led照明装置
KR1020107023715A KR101203133B1 (ko) 2008-03-24 2009-03-24 엘이디 조명 장치
US12/933,486 US8742435B2 (en) 2008-03-24 2009-03-24 LED lighting device
EP09725294.4A EP2261551B1 (en) 2008-03-24 2009-03-24 Led lighting device
PCT/JP2009/055761 WO2009119550A1 (ja) 2008-03-24 2009-03-24 Led照明装置

Applications Claiming Priority (1)

Application Number Priority Date Filing Date Title
JP2008076699A JP5113573B2 (ja) 2008-03-24 2008-03-24 Led照明装置

Publications (2)

Publication Number Publication Date
JP2009231128A JP2009231128A (ja) 2009-10-08
JP5113573B2 true JP5113573B2 (ja) 2013-01-09

Family

ID=41113742

Family Applications (1)

Application Number Title Priority Date Filing Date
JP2008076699A Active JP5113573B2 (ja) 2008-03-24 2008-03-24 Led照明装置

Country Status (6)

Country Link
US (1) US8742435B2 (ja)
EP (1) EP2261551B1 (ja)
JP (1) JP5113573B2 (ja)
KR (1) KR101203133B1 (ja)
CN (1) CN101978210B (ja)
WO (1) WO2009119550A1 (ja)

Families Citing this family (63)

* Cited by examiner, † Cited by third party
Publication number Priority date Publication date Assignee Title
KR101702695B1 (ko) * 2009-11-16 2017-02-03 가부시키가이샤 오푸토 디자인 면광원 유닛, 면조명 장치 및 액정 표시 장치
JP2011112423A (ja) * 2009-11-25 2011-06-09 Hioki Ee Corp ライン状照射体および該ライン状照射体を含む被検査基板外観検査用撮像ユニット
JP5457851B2 (ja) * 2010-01-19 2014-04-02 パナソニック株式会社 照明器具
JP2011150861A (ja) * 2010-01-20 2011-08-04 Opt Design:Kk Led光源装置及びこの光源装置を用いた照明装置
KR101707574B1 (ko) * 2010-03-16 2017-02-16 엘지전자 주식회사 차광 패턴을 갖는 백라이트 유닛 및 그의 차광 패턴 형성방법
US8355093B2 (en) * 2010-03-16 2013-01-15 Lg Electronics Inc. Backlight unit and display device
WO2011132787A1 (ja) * 2010-04-23 2011-10-27 株式会社オプトデザイン 面照明器具及び面照明装置
JP2011249141A (ja) * 2010-05-26 2011-12-08 Nittoh Kogaku Kk 発光装置
JP5433860B2 (ja) * 2010-06-25 2014-03-05 株式会社オプトデザイン 照明装置
JP5584852B2 (ja) * 2010-07-16 2014-09-10 株式会社オプトデザイン 面照明光源装置
KR101191213B1 (ko) 2010-11-02 2012-10-15 엘지전자 주식회사 조명기구
JP2012174634A (ja) * 2011-02-24 2012-09-10 Sharp Corp 光源モジュールおよび光学部材
CN102644883A (zh) * 2011-03-25 2012-08-22 京东方科技集团股份有限公司 直下式背光源
JP5842274B2 (ja) * 2011-06-09 2016-01-13 株式会社オプトデザイン 照明装置
KR20130051768A (ko) * 2011-11-10 2013-05-21 서울반도체 주식회사 면 조명 장치
KR101910356B1 (ko) * 2012-04-04 2018-10-22 에스엘 주식회사 이너부재를 포함한 차량용 램프
DE102012209354A1 (de) * 2012-04-30 2013-10-31 At & S Austria Technologie & Systemtechnik Aktiengesellschaft LED-Modul
KR101961310B1 (ko) * 2012-07-09 2019-07-17 엘지이노텍 주식회사 발광 장치
US9632357B2 (en) * 2012-07-17 2017-04-25 Lg Electronics Inc. Display device
EP2875278A4 (en) * 2012-07-20 2015-09-23 Sharp Kk LIGHTING DEVICE AND LIGHT GENERATION METHOD
JP2014049275A (ja) * 2012-08-31 2014-03-17 Toshiba Lighting & Technology Corp 照明装置
CN102997096A (zh) * 2012-11-19 2013-03-27 无锡莱吉特信息科技有限公司 一种无导光板侧入光面光源
EP2959214B1 (en) * 2013-02-19 2020-08-12 Signify Holding B.V. An arrangement comprising an optical device and a reflector
CN105026834B (zh) * 2013-02-25 2019-04-23 飞利浦照明控股有限公司 照明设备
JP6292369B2 (ja) * 2013-04-18 2018-03-14 東芝ライテック株式会社 自動車室内灯用照明装置
TWI510841B (zh) * 2013-07-23 2015-12-01 Au Optronics Corp 顯示裝置
DE112014004109B4 (de) 2013-09-06 2021-05-20 Sensor Electronic Technology Inc. Diffuse Ultraviolettbeleuchtung
JP2015088420A (ja) * 2013-11-01 2015-05-07 株式会社デンソー バックライトユニット
KR20150105169A (ko) * 2014-03-06 2015-09-16 교우세라 커넥터 프로덕츠 가부시키가이샤 조명기구
JP6315179B2 (ja) * 2014-03-17 2018-04-25 Tianma Japan株式会社 面発光装置及び液晶表示装置
KR102362100B1 (ko) * 2014-03-27 2022-02-11 도레이 카부시키가이샤 반사 시트, 면 광원 장치용 반사 유닛 및 면 광원 장치
KR102236711B1 (ko) * 2014-04-10 2021-04-06 엘지이노텍 주식회사 광학 부재, 및 이를 포함하는 백라이트 유닛
US20160230955A1 (en) * 2014-05-27 2016-08-11 El Lighting Co., LTD. Optical module
JP2015228315A (ja) * 2014-05-30 2015-12-17 オムロン株式会社 拡散反射構造体、該拡散反射構造体を備えた面発光装置
JP6358896B2 (ja) * 2014-08-20 2018-07-18 三菱電機株式会社 面光源装置および液晶表示装置
JP6358895B2 (ja) 2014-08-20 2018-07-18 三菱電機株式会社 面光源装置および液晶表示装置
WO2016074898A1 (en) * 2014-11-10 2016-05-19 Philips Lighting Holding B.V. Collimator for a lighting device, lighting device and method of manufacturing a collimator
JPWO2016104023A1 (ja) * 2014-12-25 2017-10-05 株式会社Nano Wave 発光装置
KR102362197B1 (ko) 2015-02-02 2022-02-11 삼성디스플레이 주식회사 백라이트 어셈블리 및 이를 포함하는 액정 표시 장치
KR101723291B1 (ko) * 2015-04-29 2017-04-04 주식회사 다비스 눈부심 방지 가능한 조명장치
CN106940005A (zh) * 2015-05-07 2017-07-11 赵志强 一种led墙砖
TWI541472B (zh) * 2015-06-11 2016-07-11 友達光電股份有限公司 背光模組
JP6373231B2 (ja) * 2015-06-30 2018-08-15 古河電気工業株式会社 照明装置、照明装置からの光取り出し方法
JP6200458B2 (ja) * 2015-06-30 2017-09-20 古河電気工業株式会社 Led照明装置
EP3426974B1 (en) * 2016-03-11 2021-02-17 Signify Holding B.V. Lighting device with sparkling effect
CN108886072A (zh) * 2016-04-05 2018-11-23 飞利浦照明控股有限公司 具有带有疏水性纳米结构的波长转换层的光转换设备
JP2019511828A (ja) * 2016-04-22 2019-04-25 シグニファイ ホールディング ビー ヴィ 一体化された空気ガイド及びビーム成形
JP6636651B2 (ja) * 2016-04-22 2020-01-29 シグニファイ ホールディング ビー ヴィSignify Holding B.V. 小石板状ルーバ
WO2017182370A1 (en) * 2016-04-22 2017-10-26 Philips Lighting Holding B.V. Integrated air guide and beam shaping'
CN109844401A (zh) * 2016-10-26 2019-06-04 夏普株式会社 照明装置及显示装置
US10274783B2 (en) * 2017-05-05 2019-04-30 Pelka & Associates, Inc. Direct-view LED backlight with gradient reflective layer
CN110612417A (zh) * 2017-05-17 2019-12-24 夏普株式会社 背光单元、显示设备、背光单元的制造方法及背光单元的制造装置
WO2019013216A1 (ja) 2017-07-11 2019-01-17 古河電気工業株式会社 スピーカ機能付led照明装置、スピーカ機能付led照明装置からの光と音の取出し方法
WO2019134829A1 (en) * 2018-01-02 2019-07-11 Signify Holding B.V. Lighting module, kit and panel
TWI686651B (zh) * 2018-11-23 2020-03-01 友達光電股份有限公司 背光模組
KR102218345B1 (ko) * 2019-01-23 2021-02-22 주식회사 지엘비젼 조명 장치
CN110441957B (zh) * 2019-06-10 2021-06-11 惠科股份有限公司 一种显示模组和显示装置
KR20220019975A (ko) * 2020-08-11 2022-02-18 엘지이노텍 주식회사 조명 장치 및 이를 포함하는 램프
CN112684636A (zh) * 2021-01-20 2021-04-20 惠科股份有限公司 背光模组和显示装置
US11835213B2 (en) 2021-08-19 2023-12-05 Matthew Hartley Lighting fixtures with improved lighting components
CN116243519B (zh) 2021-12-08 2025-01-14 日亚化学工业株式会社 发光模块以及面状光源
JP7458581B2 (ja) * 2021-12-08 2024-04-01 日亜化学工業株式会社 発光モジュールおよび面状光源
EP4696607A1 (en) * 2024-08-14 2026-02-18 Goodrich Lighting Systems GmbH & Co. KG Aircraft tail navigation light, aircraft comprising an aircraft tail navigation light, and method of operating an aircraft tail navigation light

Family Cites Families (17)

* Cited by examiner, † Cited by third party
Publication number Priority date Publication date Assignee Title
US4146883A (en) * 1977-09-12 1979-03-27 Minnesota Mining And Manufacturing Company Display
JPH08153405A (ja) * 1994-06-21 1996-06-11 Nakaya:Kk 面状光源
JPH10106327A (ja) * 1996-10-02 1998-04-24 Kuraray Co Ltd 面光源素子およびそれを用いた表示装置
US6878969B2 (en) * 2002-07-29 2005-04-12 Matsushita Electric Works, Ltd. Light emitting device
US7211831B2 (en) * 2003-04-15 2007-05-01 Luminus Devices, Inc. Light emitting device with patterned surfaces
US6995355B2 (en) * 2003-06-23 2006-02-07 Advanced Optical Technologies, Llc Optical integrating chamber lighting using multiple color sources
US6921929B2 (en) * 2003-06-27 2005-07-26 Lockheed Martin Corporation Light-emitting diode (LED) with amorphous fluoropolymer encapsulant and lens
US7997771B2 (en) * 2004-06-01 2011-08-16 3M Innovative Properties Company LED array systems
JP3821141B2 (ja) * 2004-06-14 2006-09-13 ソニー株式会社 バックライト装置及び液晶表示装置
JP4691917B2 (ja) 2004-07-12 2011-06-01 ソニー株式会社 ディスプレイ機器
JP2006027886A (ja) * 2004-07-21 2006-02-02 Hitachi Building Systems Co Ltd エレベーターの共連れ同乗防止方法
US7323721B2 (en) * 2004-09-09 2008-01-29 Blue Photonics Inc. Monolithic multi-color, multi-quantum well semiconductor LED
JP2007012323A (ja) * 2005-06-28 2007-01-18 Cheil Ind Co Ltd 面光源装置及び液晶表示装置
WO2007072919A1 (ja) * 2005-12-22 2007-06-28 Matsushita Electric Works, Ltd. Ledを用いた照明器具
KR101220204B1 (ko) * 2005-12-28 2013-01-09 엘지디스플레이 주식회사 엘이디 백라이트어셈블리 및 이를 이용한 액정표시장치모듈
JP4280283B2 (ja) * 2006-01-27 2009-06-17 株式会社オプトデザイン 面照明光源装置及びこれを用いた面照明装置
JP2008027866A (ja) 2006-07-25 2008-02-07 Toyota Motor Corp 燃料電池

Also Published As

Publication number Publication date
WO2009119550A1 (ja) 2009-10-01
KR20100124839A (ko) 2010-11-29
EP2261551A4 (en) 2014-07-16
EP2261551A1 (en) 2010-12-15
JP2009231128A (ja) 2009-10-08
KR101203133B1 (ko) 2012-11-20
EP2261551B1 (en) 2019-05-08
CN101978210A (zh) 2011-02-16
US8742435B2 (en) 2014-06-03
US20110018012A1 (en) 2011-01-27
CN101978210B (zh) 2013-04-03

Similar Documents

Publication Publication Date Title
JP5113573B2 (ja) Led照明装置
CN103486511B (zh) 灯单元以及使用该灯单元的车辆
JP5025612B2 (ja) Led光源及びそれを用いた発光体
JP5066462B2 (ja) 車両用灯具
US8585237B2 (en) Lighting module
CN101319759B (zh) 发光器件、面光源装置和图像显示装置
CN101627326B (zh) 带有半导体芯片和导光层的装置
CN111025743B (zh) 光源模块及显示装置
JP2006286639A (ja) 光を放射するための凹部を形成する複数の重なり合うパネルを有する発光装置
US20110180832A1 (en) Light emitting device package
JP2006286638A (ja) 複数の隣り合って重なり合う導光板を有する発光装置
CN101275720A (zh) 发光二极管照明装置
CN111458925A (zh) 光源模块及显示装置
JP2015103323A (ja) 照明装置
JP5738309B2 (ja) 発光モジュール
JP5538479B2 (ja) Led光源及びそれを用いた発光体
KR20130081868A (ko) 렌즈 유닛 및 발광 장치
CN111722434A (zh) 光源模块与显示装置
KR101039738B1 (ko) 도광판 카트리지, 이를 포함하는 백라이트 유닛 및 표시 장치
CN215867197U (zh) 导光板以及导光板系统
JP2012227537A (ja) Led光源及びそれを用いた発光体
KR20130095051A (ko) 광원 패키지 및 이를 포함하는 백라이트 유닛
TWI313336B (en) Light emitting diode lamp
WO2024053572A1 (ja) 光学部材および照明装置
JP2024508662A (ja) 発光素子パッケージ及びこれを備えた照明装置

Legal Events

Date Code Title Description
RD04 Notification of resignation of power of attorney

Free format text: JAPANESE INTERMEDIATE CODE: A7424

Effective date: 20100811

A621 Written request for application examination

Free format text: JAPANESE INTERMEDIATE CODE: A621

Effective date: 20101022

A711 Notification of change in applicant

Free format text: JAPANESE INTERMEDIATE CODE: A712

Effective date: 20120112

A131 Notification of reasons for refusal

Free format text: JAPANESE INTERMEDIATE CODE: A131

Effective date: 20120522

A521 Request for written amendment filed

Free format text: JAPANESE INTERMEDIATE CODE: A523

Effective date: 20120723

TRDD Decision of grant or rejection written
A01 Written decision to grant a patent or to grant a registration (utility model)

Free format text: JAPANESE INTERMEDIATE CODE: A01

Effective date: 20120918

A01 Written decision to grant a patent or to grant a registration (utility model)

Free format text: JAPANESE INTERMEDIATE CODE: A01

A61 First payment of annual fees (during grant procedure)

Free format text: JAPANESE INTERMEDIATE CODE: A61

Effective date: 20121012

FPAY Renewal fee payment (event date is renewal date of database)

Free format text: PAYMENT UNTIL: 20151019

Year of fee payment: 3

R150 Certificate of patent or registration of utility model

Ref document number: 5113573

Country of ref document: JP

Free format text: JAPANESE INTERMEDIATE CODE: R150

Free format text: JAPANESE INTERMEDIATE CODE: R150