JP5073788B2 - 媒体供給装置及び画像形成装置 - Google Patents

媒体供給装置及び画像形成装置 Download PDF

Info

Publication number
JP5073788B2
JP5073788B2 JP2010151164A JP2010151164A JP5073788B2 JP 5073788 B2 JP5073788 B2 JP 5073788B2 JP 2010151164 A JP2010151164 A JP 2010151164A JP 2010151164 A JP2010151164 A JP 2010151164A JP 5073788 B2 JP5073788 B2 JP 5073788B2
Authority
JP
Japan
Prior art keywords
medium
unit
main body
apparatus main
feeding
Prior art date
Legal status (The legal status is an assumption and is not a legal conclusion. Google has not performed a legal analysis and makes no representation as to the accuracy of the status listed.)
Expired - Fee Related
Application number
JP2010151164A
Other languages
English (en)
Other versions
JP2010241606A (ja
Inventor
龍也 村上
孝弘 春原
Original Assignee
株式会社沖データ
Priority date (The priority date is an assumption and is not a legal conclusion. Google has not performed a legal analysis and makes no representation as to the accuracy of the date listed.)
Filing date
Publication date
Application filed by 株式会社沖データ filed Critical 株式会社沖データ
Priority to JP2010151164A priority Critical patent/JP5073788B2/ja
Publication of JP2010241606A publication Critical patent/JP2010241606A/ja
Application granted granted Critical
Publication of JP5073788B2 publication Critical patent/JP5073788B2/ja
Anticipated expiration legal-status Critical
Expired - Fee Related legal-status Critical Current

Links

Images

Landscapes

  • Paper Feeding For Electrophotography (AREA)
  • Sheets, Magazines, And Separation Thereof (AREA)

Description

本発明は、媒体供給装置及び画像形成装置に関するものである。
従来、プリンタ、複写機、ファクシミリ装置等の画像形成装置においては、画像を形成する画像形成部に媒体としての用紙を供給するために、媒体供給装置としての給紙装置が配設されるようになっている(例えば、特許文献1参照。)。
該給紙装置において各用紙を弁別するための弁別方式としては、舌片分離方式及びリタード分離方式がある。前記舌片分離方式の給紙装置においては、給紙装置内に配設された媒体受け上に用紙が積載され、該用紙は、繰出用ローラによって画像形成装置内の搬送路に繰り出される。この場合、前記給紙装置は、繰出用ローラに接触させて摩擦材を備えた分離片を有し、繰出用ローラと分離片との間を複数の用紙が通過すると、分離片は、用紙を分離させ、最も上の用紙だけを前記搬送路に繰り出す。
また、リタード分離方式の給紙装置においては、給紙トレイの繰出し側に、用紙を1枚ずつ繰り出す媒体繰出し部が、所定の高さまで上昇させられた用紙に圧接するように配設される。前記給紙装置は、ピックアップローラ、及び該ピックアップローラによって繰り出された媒体を1枚ずつ分離させるために配設され、フィードローラ及びリタードローラから成るローラ対を備える。前記リタードローラは、用紙を戻す方向にトルクを発生させ、用紙が1枚だけ繰り出された場合、用紙とリタードローラとの摩擦によって繰出し方向に連れ回り、用紙が2枚以上繰り出された場合、前記トルクによって、1枚だけが繰り出されるようにブレーキをかけ、用紙をさばく、さばき機能を有する。
特開2002−46882号公報
しかしながら、前記従来の給紙装置においては、リタード分離方式の給紙装置の場合、ピックアップローラ、フィードローラ及びリタードローラの3個のローラが配設されるほかに、用紙を積載する媒体積載台の高さ、すなわち、用紙の高さを制御するための昇降用機構、用紙の幅方向の寸法を規制するための媒体ガイド等を配設する必要があるので、給紙装置の寸法が大きくなってしまう。
また、A3判等の媒体長の大きい用紙を保持するために、例えば、MPT(Multi Purpose Tray)又は手差しトレイを使用することがあるが、MPT又は手差しトレイが配設される分だけ給紙装置の寸法が一層大きくなってしまう。
本発明は、前記従来の給紙装置の問題点を解決して、寸法を小さくすることができる媒体供給装置及び画像形成装置を提供することを目的とする。
そのために、本発明の媒体供給装置においては、伸縮自在の補助トレイ部を備え、装置本体に対して揺動自在に配設され、装置本体から延在させられて媒体を支持する媒体積載部と、該媒体積載部の媒体を繰り出す繰出部材と、前記装置本体に対して揺動自在に配設され、前記繰出部材を支持する支持部材と、前記装置本体と前記媒体積載部とを連結する連結部材と、フィード機構及びリタード機構を備え、前記繰出部材によって繰り出された媒体を1枚ずつ分離させる弁別装置とを有する。
そして、前記補助トレイ部が収縮させられた状態で、前記媒体積載部を前記装置本体に対して閉じたときに、前記補助トレイ部が、フィード機構とリタード機構とを結ぶ線の延長線上に置かれる。
また、前記連結部材は、軸を中心として互いに連結された第1、第2のアームを備える。
そして、前記第2のアームの端部と前記媒体積載部とは、前記媒体積載部の揺動に伴って、媒体の搬送方向において摺動自在に嵌合させられる。
また、前記連結部材による前記装置本体と前記媒体積載部との連結は解除可能である。
本発明によれば、媒体供給装置においては、伸縮自在の補助トレイ部を備え、装置本体に対して揺動自在に配設され、装置本体から延在させられて媒体を支持する媒体積載部と、該媒体積載部の媒体を繰り出す繰出部材と、前記装置本体に対して揺動自在に配設され、前記繰出部材を支持する支持部材と、前記装置本体と前記媒体積載部とを連結する連結部材と、フィード機構及びリタード機構を備え、前記繰出部材によって繰り出された媒体を1枚ずつ分離させる弁別装置とを有する。
そして、前記補助トレイ部が収縮させられた状態で、前記媒体積載部を前記装置本体に対して閉じたときに、前記補助トレイ部が、フィード機構とリタード機構とを結ぶ線の延長線上に置かれる。
また、前記連結部材は、軸を中心として互いに連結された第1、第2のアームを備える。
そして、前記第2のアームの端部と前記媒体積載部とは、前記媒体積載部の揺動に伴って、媒体の搬送方向において摺動自在に嵌合させられる。
また、前記連結部材による前記装置本体と前記媒体積載部との連結は解除可能である。
この場合、補助トレイ部が収縮させられた状態で、媒体積載部を装置本体に対して閉じたときに、補助トレイ部が、フィード機構とリタード機構とを結ぶ線の延長線上に置かれるので、媒体供給装置の寸法を小さくすることができる。
本発明の第1の実施の形態における第2の媒体供給部のリンク機構の動作を表す断面図である。 本発明の第1の実施の形態におけるプリンタの概略図である。 本発明の第1の実施の形態における第2の媒体供給部の斜視図である。 本発明の第1の実施の形態における第2の媒体供給部の断面図である。 本発明の第1の実施の形態におけるリンク部材とフィーダーフレームとの連結状態を示す斜視図である。 本発明の第1の実施の形態におけるリンク部材とフィーダーフレームとの連結状態の要部を示す斜視図である。 本発明の第1の実施の形態におけるリンク部材の動作を示す第1の図である。 本発明の第1の実施の形態におけるリンク部材の動作を示す第2の図である。 本発明の第1の実施の形態におけるリンク部材の動作を示す第3の図である。 本発明の第1の実施の形態における給紙トレイを閉じたときのリンク部材の状態を示す図である。 本発明の第1の実施の形態における給紙トレイを閉じたときのピックアップローラの状態を示す図である。 本発明の第1の実施の形態における補助トレイ部の収容動作を示す斜視図である。 本発明の第1の実施の形態における補助トレイ部、フィーダーフレーム及び給紙トレイの位置関係を示す図である。 本発明の第2の実施の形態における給紙トレイを閉じたときのフィーダーフレームの状態を示す斜視図である。 本発明の第2の実施の形態における給紙トレイを開いたときのフィーダーフレームの状態を示す斜視図である。 本発明の第3の実施の形態における給紙トレイの収容時のフィーダーフレーム、側面ガイド部材及び補助トレイ部の位置関係を示す図である。 本発明の第4の実施の形態における媒体積載板が下降位置に置かれた状態を示す斜視図である。 本発明の第4の実施の形態における媒体積載板が下降位置に置かれた状態を示す側面図である。 本発明の第4の実施の形態における媒体積載板が上昇位置に置かれた状態を示す斜視図である。 本発明の第4の実施の形態における媒体積載板が上昇位置に置かれた状態を示す側面図である。 本発明の第4の実施の形態におけるセンサがオンになった状態を示す断面図である。 本発明の第4の実施の形態におけるセンサがオフになった状態を示す断面図である。 本発明の第4の実施の形態における媒体積載板上に用紙がない状態を示す断面図である。 本発明の第4の実施の形態における給紙トレイを閉じた状態を示す図である。 本発明の第5の実施の形態における給紙トレイを開いた状態を示す断面図である。 本発明の第5の実施の形態における給紙トレイを閉じた状態を示す断面図である。 本発明の第6の実施の形態における第2の媒体供給部の斜視図である。 本発明の第6の実施の形態における第2の媒体供給部の第1の断面図である。 本発明の第6の実施の形態におけるフィードローラの取付部の断面図である。 本発明の第6の実施の形態における第2の媒体供給部の第2の断面図である。 本発明の第6の実施の形態における第2の媒体供給部の動作を示す斜視図である。 本発明の第6の実施の形態におけるレバーの状態を示す第1の図である。 本発明の第6の実施の形態におけるレバーの状態を示す第2の図である。 本発明の第6の実施の形態におけるフィードローラ交換時の第2の媒体供給部の斜視図である。 本発明の第7の実施の形態におけるフィーダーユニットを示す第1の断面図である。 本発明の第7の実施の形態におけるフィーダーユニットを示す第2の断面図である。 本発明の第8の実施の形態における第2の媒体供給部の第1の状態を示す図である。 本発明の第8の実施の形態におけるレバー検出部の第1の状態を示す図である。 本発明の第8の実施の形態における第2の媒体供給部の第2の状態を示す図である。 本発明の第8の実施の形態におけるレバー検出部の第2の状態を示す図である。 本発明の第9の実施の形態におけるフィーダーユニット及び給紙トレイを示す斜視図である。 本発明の第9の実施の形態における取付部材の動作を示す第1の図である。 本発明の第9の実施の形態における取付部材の動作を示す第2の図である。 本発明の第10の実施の形態におけるリンク部材の斜視図である。 本発明の第10の実施の形態におけるフィーダーユニット及び給紙トレイの要部を示す斜視図である。
以下、本発明の実施の形態について図面を参照しながら詳細に説明する。この場合、画像形成装置としてのプリンタにおいて、画像を形成する画像形成部に、媒体供給装置としての給紙装置によって媒体としての用紙を供給する場合について説明する。なお、媒体として、用紙のほかに、OHPシート、複写紙、封筒等を使用することができる。
図2は本発明の第1の実施の形態におけるプリンタの概略図、図3は本発明の第1の実施の形態における第2の媒体供給部の斜視図、図4は本発明の第1の実施の形態における第2の媒体供給部の断面図である。
図に示されるように、第1の媒体積載部としての給紙トレイ11は、プリンタの装置本体に対して脱着自在に配設され、給紙トレイ11内に用紙12が収容される。そして、前記給紙トレイ11内には、媒体積載板13が揺動軸sh1を揺動中心にして揺動自在(回動自在)に配設され、媒体積載板13上に用紙12が積載される。
また、給紙トレイ11には、用紙12の積載位置を規制する図示されないガイド部材が配設され、該ガイド部材によって、用紙12の繰出し方向に対して直角の方向において、用紙12の側縁を案内するとともに、規制し、用紙12の位置を設定する。
そして、給紙トレイ11の繰出し側、すなわち、前端部には、リフトアップレバー14が揺動軸sh2を揺動中心にして揺動自在に配設され、該揺動軸sh2は媒体積載用の駆動部としてのモータ15と係脱自在に連結される。
この場合、前記給紙トレイ11が装置本体に収容されると、リフトアップレバー14とモータ15とが係合させられる。そして、図示されない制御部の媒体持上処理手段が、媒体持上処理を行い、モータ15を駆動すると、前記リフトアップレバー14が回動させられ、リフトアップレバー14の先端が媒体積載板13の底壁に当たり、媒体積載板13の前端を持ち上げ、媒体積載板13上に積載された用紙12の前端が上昇させられる。前記用紙12の前端が所定の高さまで上昇すると、上昇検出部16が用紙12を検出し、検出信号を前記制御部に送る。したがって、前記媒体持上処理手段は、検出信号を受けると、モータ15を停止させ、リフトアップレバー14の回動を停止させる。
また、前記給紙トレイ11の前端部には用紙12を1枚ずつ繰り出す媒体繰出し部20が配設され、該媒体繰出し部20は、所定の高さまで上昇した用紙12の前端に圧接するように配設され、用紙12を繰り出すための繰出部材を構成する繰出用ローラとしてのピックアップローラ21、及び該ピックアップローラ21によって繰り出された用紙12を1枚ずつ分離させるために配設され、第1の弁別用のローラとしての、かつ、フィード機構としてのフィードローラ22、及び第2の弁別用のローラとしての、かつ、リタード機構としてのリタードローラ23から成り、前記フィードローラ22及びリタードローラ23によって弁別装置が構成される。また、媒体繰出し部20には、前記上昇検出部16と隣接させて配設され、用紙12の有無を検出する媒体有無検出部24、及び上昇検出部16より所定の量だけ下方に配設され、用紙12の残量を検出する媒体残量検出部25が配設される。
前記媒体繰出し部20によって繰り出され、前記フィードローラ22及びリタードローラ23によって分離させられた用紙12は、媒体搬送部30に送られる。そして、用紙12は、第1の媒体検出部としての媒体センサ31を通過し、媒体センサ31によって前端が検出された後、ローラr1、r2から成る搬送ローラ対32に送られる。前記用紙12の前端を検出すると、媒体センサ31は検出信号を前記制御部に送る。
該制御部の搬送処理手段は、搬送処理を行い、前記検出信号を読み込み、媒体センサ31における用紙12の通過タイミングに基づいて、第1の供給用の駆動部としての図示されないモータを駆動し、搬送ローラ対32を回転させ、用紙12を搬送する。なお、前記通過タイミングに対して、搬送ローラ対32の回転を開始するタイミングを遅らせることによって、用紙12は搬送ローラ対32のローラr1、r2間に形成される圧接部に押し込まれる。その結果、用紙12の斜行が矯正される。なお、前記給紙トレイ11、媒体繰出し部20、媒体搬送部30等によって第1の媒体供給部が構成される。
前記搬送ローラ対32から送り出された用紙12は、第2の媒体検出部としての媒体センサ33を通過し、媒体センサ33によって前端が検出された後、ローラr3、r4から成る搬送ローラ対34に送られる。前記用紙12の前端を検出すると、媒体センサ33は検出信号を前記制御部に送る。
前記搬送処理手段は、前記検出信号を読み込み、媒体センサ33における用紙12の通過タイミングに基づいて、第2の供給用の駆動部としての図示されないモータを駆動し、搬送ローラ対34を回転させ、用紙12を停止させることなく搬送する。
続いて、搬送ローラ対34から送り出された用紙12は、第3の媒体検出部としての書込センサ35を通過し、書込センサ35によって前端が検出された後、画像形成部40に送られる。前記用紙12の前端を検出すると、書込センサ35は検出信号を前記制御部に送る。
前記画像形成部40は、直列に並べられた四つの画像形成部41Y、41M、41C、41Bk、及び該画像形成部41Y、41M、41C、41Bkによって形成された現像剤像としてのトナー像をクーロン力によって用紙12に転写する転写部51を有する。
前記画像形成部41Yは、トナー像を担持する像担持体としての感光体(OPC)ドラム43Y、該感光体ドラム43Yの表面を帯電させる帯電装置としての帯電ローラ44Y、帯電させられた感光体ドラム43Yの表面を露光し、静電潜像を形成する露光装置としての印刷ヘッド45Y、前記静電潜像にイエローのトナー像を摩擦帯電によって形成する現像部材としての現像ローラ46Y、現像剤としてのイエローのトナーを供給するトナー供給部47Y、及び感光体ドラム43Y上に残留したトナーを除去するクリーニング装置48Yによって構成される。
また、前記画像形成部41Mは、トナー像を担持する像担持体としての感光体ドラム43M、該感光体ドラム43Mの表面を帯電させる帯電装置としての帯電ローラ44M、帯電させられた感光体ドラム43Mの表面を露光し、静電潜像を形成する露光装置としての印刷ヘッド45M、前記静電潜像にマゼンタのトナー像を摩擦帯電によって形成する現像部材としての現像ローラ46M、現像剤としてのマゼンタのトナーを供給するトナー供給部47M、及び感光体ドラム43M上に残留したトナーを除去するクリーニング装置48Mによって構成される。
そして、前記画像形成部41Cは、トナー像を担持する像担持体としての感光体ドラム43C、該感光体ドラム43Cの表面を帯電させる帯電装置としての帯電ローラ44C、帯電させられた感光体ドラム43Cの表面を露光し、静電潜像を形成する露光装置としての印刷ヘッド45C、前記静電潜像にシアンのトナー像を摩擦帯電によって形成する現像部材としての現像ローラ46C、現像剤としてのシアンのトナーを供給するトナー供給部47C、及び感光体ドラム43C上に残留したトナーを除去するクリーニング装置48Cによって構成される。
さらに、前記画像形成部41Bkは、トナー像を担持する像担持体としての感光体ドラム43Bk、該感光体ドラム43Bkの表面を帯電させる帯電装置としての帯電ローラ44Bk、帯電させられた感光体ドラム43Bkの表面を露光し、静電潜像を形成する露光装置としての印刷ヘッド45Bk、前記静電潜像にブラックのトナー像を摩擦帯電によって形成する現像部材としての現像ローラ46Bk、現像剤としてのブラックのトナーを供給するトナー供給部47Bk、及び感光体ドラム43Bk上に残留したトナーを除去するクリーニング装置48Bkによって構成される。
なお、前記各印刷ヘッド45Y、45M、45C、45BkはLEDアレイから成る。
また、転写部51は、搬送用の駆動部としての図示されない搬送用モータ、回転自在に配設され、前記搬送用モータを駆動することによって回転させられるドライブローラ53、該ドライブローラ53と所定の距離を置いて回転自在に配設されたテンションローラ54、前記ドライブローラ53とテンションローラ54との間に張設され、前記ドライブローラ53の回転に伴って走行させられ、用紙12を静電吸着して搬送する搬送部材としての転写ベルト52、前記画像形成部41Y、41M、41C、41Bkと対向させて、感光体ドラム43Y、43M、43C、43Bkに圧接させて配設され、トナー像を用紙12に転写する転写装置としての転写ローラ55Y、55M、55C、55Bk、前記転写ベルト52上に付着したトナーを掻き取ってクリーニングするクリーニングブレード56、該クリーニングブレード56によって掻き取られたトナーを堆積させて収容する現像剤収容部としてのトナーボックス57等を備える。
前記画像形成部41Y、41M、41C、41Bkと転写ベルト52とは同期して作動させられ、各色のトナー像が転写ベルト52上の用紙12に順次重ねて転写され、カラーのトナー像が形成される。このようにして、カラーのトナー像が形成された用紙12は定着部60に送り出される。
該定着部60は、表面を弾性体で形成された第1のローラとしてのアッパローラ61、及び第2のローラとしてのロワローラ62を備えたローラ対から成り、アッパローラ61内には第1の熱源となるハロゲンランプ63が、ロワローラ62内には第2の熱源となるハロゲンランプ64が配設される。前記定着部60によって、前記画像形成部40から送り出された用紙12上のカラーのトナー像に、熱及び圧力が加えられてカラーのトナー像が溶融させられ、用紙12に定着させられる。その後、定着部60から送り出された用紙12は、第4の媒体検出部としての排出センサ36を通過し、排出センサ36によって前端が検出された後、搬送路上のあらかじめ設定された複数の箇所に配設された排出ローラ対65によってスタッカ部66に排出される。前記用紙12の前端を検出すると、排出センサ36は検出信号を前記制御部に送る。
ところで、給紙トレイ11では対応することができないようなA3判等の媒体長の大きい長尺の用紙12、薄い用紙12、厚い用紙12、幅狭の用紙12等を給紙し、画像形成部40に供給するために、装置本体から延在させられる第2の媒体積載部としての給紙トレイ70及び媒体繰出し部80によって構成される第2の媒体供給部が配設される。
前記給紙トレイ70は、装置本体に対して矢印A方向に揺動自在に配設され、使用する場合に開かれ(開動作)、使用しない場合に閉じられ(閉動作)、MPT(Multi Purpose Tray)又は手差しトレイとして機能する。
前記給紙トレイ70は、用紙12の側縁を規制する一対の側面ガイド部材75、揺動軸sh13を揺動中心にして揺動自在に配設され、用紙12を積載し、昇降させる媒体積載板71、長尺の用紙12を積載するための第1、第2の補助トレイ76、77等を備える。なお、該第1、第2の補助トレイ76、77によって補助トレイ部が構成される。
また、前記媒体繰出し部80は、前記装置本体において、前記給紙トレイ70に対応させて配設され、用紙12を繰り出すための繰出部材を構成する繰出用ローラとしてのピックアップローラ81、及び該ピックアップローラ81によって繰り出された用紙12を1枚ずつ分離させる分離部材としての弁別装置を備える。該弁別装置は、互いに当接させられた第1の弁別用のローラとしての、かつ、フィード機構としてのフィードローラ82、及び第2の弁別用のローラとしての、かつ、リタード機構としてのリタードローラ83を備える。なお、前記媒体繰出し部80には、用紙12の有無を検出する図示されない媒体有無検出部、ピックアップローラ81の位置及び用紙12の高さを検出する図示されない位置検出部が配設される。
そして、前記媒体繰出し部80において、用紙12は、ピックアップローラ81によって給紙トレイ70から繰り出され、前記フィードローラ82及びリタードローラ83によって1枚ずつ分離させられ、さばかれて、搬送路に向けて給紙される。
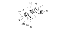
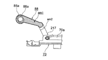
前記ピックアップローラ81は、第1の支持部材としてのピックアップフレーム84によって回転自在に支持される。また、該ピックアップフレーム84は、フィードローラ82の回転中心82aを揺動中心として、第2の支持部材としてのフィーダーフレーム85に対して揺動自在に支持され、該フィーダーフレーム85は、シャフト86を揺動中心として装置本体を構成する筐体としてのメインフレーム87によって揺動自在に支持される。前記シャフト86と給紙トレイ70とを連結するためにリンク機構Lkが配設される。該リンク機構Lkは連結部材としてのリンク部材88を備える。なお、前記ピックアップローラ81、ピックアップフレーム84及びフィーダーフレーム85によって繰出装置が構成される。
図1は本発明の第1の実施の形態における第2の媒体供給部のリンク機構の動作を表す断面図、図5は本発明の第1の実施の形態におけるリンク部材とフィーダーフレームとの連結状態を示す斜視図、図6は本発明の第1の実施の形態におけるリンク部材とフィーダーフレームとの連結状態の要部を示す斜視図である。なお、図3及び4と同じ構成については、同じ符号を付与することによってその説明を省略する。
図に示されるように、リンク部材88は、軸sh3を中心として互いに所定の角度で連結された第1、第2のアームam1、am2を備え、フィーダーフレーム85と給紙トレイ70とを揺動自在に連結する。そのために、フィーダーフレーム85に凸部85aが形成され、前記第1のアームam1の端部に、前記凸部85aを挿入することができるように孔部88aが形成され、前記凸部85a及び孔部88aによって係脱自在なカップリングが形成される。前記凸部85aは、前記回転中心82aが回転中心となるように形成され、扇状に形成された係止片f1、f2から成る。一方、孔部88aは、前記係止片f1、f2に対応させて形成された扇状の穴h1、h2から成る。
また、図1に示されるように、前記給紙トレイ70には、用紙12(図2)の長さ方向に長孔70aが形成され、前記第2のアームam2の端部に形成された嵌合用のボス部88bが、前記長孔70aに嵌合させられ、長孔70aに沿って矢印B方向に移動させられる。
本実施の形態においては、前記係止片f1、f2及び穴h1、h2が扇状の形状を有するようになっているが、十字型等のような他の凹凸形状によってカップリングを形成することができる。また、本実施の形態においては、リンク機構Lkは、「く」字状の形状を有するようになっているが、「V」字状の形状を有することもできる。
次に、前記構成のリンク機構Lkの動作について説明する。
図7は本発明の第1の実施の形態におけるリンク部材の動作を示す第1の図、図8は本発明の第1の実施の形態におけるリンク部材の動作を示す第2の図、図9は本発明の第1の実施の形態におけるリンク部材の動作を示す第3の図、図10は本発明の第1の実施の形態における給紙トレイを閉じたときのリンク部材の状態を示す図、図11は本発明の第1の実施の形態における給紙トレイを閉じたときのピックアップローラの状態を示す図である。なお、図1〜6と同じ構成については、同じ符号を付与することによってその説明を省略する。
まず、給紙トレイ70を装置本体に収容して閉じようとすると、リンク部材88のボス部88bは、給紙トレイ70の長孔70aに沿って装置本体側に向けて移動させられ、給紙トレイ70を装置本体から取り出して開こうとすると、前記ボス部88bは、長孔70aに沿って装置本体と反対側に向けて移動させられる。図7〜9は、給紙トレイ70を開閉させたときの、凸部85aと孔部88aとの位置関係を示す。なお、図に示されるように、円周方向において孔部88aの開き角度は凸部85aの開き角度より広く形成される。
給紙トレイ70を、図1に示されるように、開いた状態に置くと、図7に示されるように、孔部88a内において凸部85aは、円周方向における前端位置に置かれ、凸部85aの後端と孔部88aの後端との間に、所定の角度分の隙(すき)間が形成される。そして、給紙トレイ70を任意の角度だけ回転させて所定の量だけ閉じると、図8に示されるように、凸部85aの後端と孔部88aの後端とが接触させられる。
さらに、給紙トレイ70を回転させて、閉じた状態に置くと、孔部88aの後端が凸部85aの後端を押し上げる。すなわち、給紙トレイ70を閉じる動作に連動して、フィーダーフレーム85が、さらに、ピックアップローラ81が回転中心82aを中心に回動させられ、図9及び11に示されるように、ピックアップローラ81がフィードローラ82より上方に位置させられる。このとき、ピックアップローラ81は、フィードローラ82とリタードローラ83とを結ぶ線の延長線に近づく。また、図10に示されるように、給紙トレイ70が垂直方向に立てられ、装置本体に収容される。なお、前記給紙トレイ70を閉じる前に、第2の補助トレイ77(図1)はあらかじめ所定の量だけ第1の補助トレイ76内に押し込まれ、該第1の補助トレイ76はヒンジhgを中心にして折り畳まれる。
逆に、給紙トレイ70を開く場合は、給紙トレイ70を任意の角度だけ回転させると、孔部88aの前端と凸部85aの前端とが接触させられる。さらに、給紙トレイ70を開くと、孔部88aの前端が凸部85aの前端を押し下げる。
このように、本実施の形態においては、給紙トレイ70を開く動作に連動して、ピックアップローラ81及びリンク部材88を装置本体から離れる方向に移動させてメインフレーム87から出し、ピックアップローラ81をフィードローラ82と同じ高さに移動させ、また、給紙トレイ70を閉じる動作に連動して、ピックアップローラ81及びリンク部材88を装置本体側に(装置本体に近づくように)移動させてメインフレーム87に収容し、ピックアップローラ81をフィードローラ82より上方に移動させることができるので、給紙装置の寸法を小さくすることができる。
次に、第1、第2の補助トレイ76、77の折り畳み動作について説明する。
図12は本発明の第1の実施の形態における補助トレイ部の収容動作を示す斜視図、図13は本発明の第1の実施の形態における補助トレイ部、フィーダーフレーム及び給紙トレイの位置関係を示す図である。なお、図1〜11と同じ構成については、同じ符号を付与することによってその説明を省略する。
まず、操作者は、給紙トレイ70を閉じる場合、第2の補助トレイ77を折り畳んで第1の補助トレイ76内に収容し、第1、第2の補助トレイ76、77から成る補助トレイ部を、ヒンジhgを中心にして給紙トレイ70側に折り畳む。
本実施の形態においては、前述されたように、給紙トレイ70に連動してピックアップローラ81が回転中心82aを揺動中心にして回動させられ、装置本体内に収容されるようになっているが、このとき、図13に示されるように、ピックアップローラ81を保持するピックアップフレーム84の上端と第1、第2の補助トレイ76、77の下端とが対向させられる。
そして、給紙トレイ70の長さをL1とし、フィーダーフレーム85の長さをL2とし、補助トレイ部の長さをL3としたとき、
L1>L2+L3
にされる。したがって、補助トレイ部とピックアップローラ81、フィーダーフレーム85等とが干渉しないので、給紙装置の寸法を小さくすることができる。
次に、本発明の第2の実施の形態について説明する。なお、第1の実施の形態と同じ構造を有するものについては、同じ符号を付与することによってその説明を省略し、同じ構造を有することによる発明の効果については同実施の形態の効果を援用する。
図14は本発明の第2の実施の形態における給紙トレイを閉じたときのフィーダーフレームの状態を示す斜視図、図15は本発明の第2の実施の形態における給紙トレイを開いたときのフィーダーフレームの状態を示す斜視図である。
本実施の形態においては、前記第1の実施の形態と同様に、繰出部材を構成する繰出用ローラとしてのピックアップローラ81は、第1の支持部材としてのピックアップフレーム84によって回転自在に支持される。また、該ピックアップフレーム84は、第1の弁別用のローラとしての、かつ、フィード機構としてのフィードローラ82の回転中心82aを揺動中心として、第2の支持部材としてのフィーダーフレーム85に対して揺動自在に支持され、該フィーダーフレーム85は、シャフト86を揺動中心として、筐体としてのメインフレーム87によって揺動自在に支持される。なお、前記ピックアップローラ81、ピックアップフレーム84及びフィーダーフレーム85によって繰出装置が構成される。
そして、前記フィーダーフレーム85におけるシャフト86上の任意の箇所に、回転中心82aを中心として、付勢部材としてのトーションスプリング90が配設され、該トーションスプリング90の一端はメインフレーム87に、他端はフィーダーフレーム85に図示されない方法によって取り付けられる。前記トーションスプリング90は、フィーダーフレーム85、ピックアップフレーム84及びピックアップローラ81を、装置本体から離す方向、すなわち、押し下げる方向に所定の付勢力で付勢する。
次に、前記構成の第2の媒体供給部の動作について説明する。
まず、給紙トレイ70(図1)を、揺動軸70bを揺動中心にして装置本体側に所定の角度だけ回転させると、給紙トレイ70とフィーダーフレーム85とが所定の当接部において当接する。前記給紙トレイ70を更に装置本体側に回転させると、フィーダーフレーム85は給紙トレイ70によって押されて回転中心82aを揺動中心にして矢印C方向に回動させられ、図14に示されるように、装置本体内に収容される。このとき、前記トーションスプリング90は付勢力に抗する方向にねじられる。なお、前記フィーダーフレーム85及びトーションスプリング90によって連結機構が構成される。
また、給紙トレイ70を開く場合、図15に示されるように、フィーダーフレーム85は、トーションスプリング90の付勢力によって、回転中心82aを揺動中心にして矢印D方向にフィーダーフレーム85の使用位置まで回動させられ、図示されないリミット部材によって保持される。
このように、本実施の形態においては、前記第1の実施の形態におけるリンク部材を使用することなく、トーションスプリング90のような付勢部材によって、給紙トレイ70とフィーダーフレーム85とを連動させるようにしているので、部品点数を少なくすることができ、給紙装置のコストを低くすることができる。
次に、本発明の第3の実施の形態について説明する。なお、第1の実施の形態と同じ構造を有するものについては、同じ符号を付与することによってその説明を省略し、同じ構造を有することによる発明の効果については同実施の形態の効果を援用する。
図16は本発明の第3の実施の形態における給紙トレイの収容時のフィーダーフレーム、側面ガイド部材及び補助トレイ部の位置関係を示す図である。
この場合、第2の媒体積載部としての給紙トレイ70には、用紙12(図2)の側縁を規制する一対の側面ガイド部材75が配設され、該側面ガイド部材75に図示されないラックが取り付けられ、用紙12の幅を表す媒体幅の中心において、回転自在に配設された図示されないピニオンと前記各ラックとが噛合させられる。したがって、一方の側面ガイド部材75が用紙12の幅方向に移動すると、各ラックがピニオンを回転させて互い異なる方向に移動させられ、各種の媒体幅の用紙12を案内することができる。
ところで、第2の支持部材としてのフィーダーフレーム85は用紙12の搬送方向における上方において用紙12を案内する機能を備えるので、規格内の媒体幅の用紙12を案内することができるようにフィーダーフレーム85の幅W1が設定される。そして、給紙トレイ70を閉じた状態で、側面ガイド部材75が規格内の媒体幅より、所定の量だけ広く開き、第1の実施の形態において示されたように、給紙トレイ70に連動して、繰出部材としての、かつ、繰出用ローラとしてのピックアップローラ81が装置本体内に収容されたときに、フィーダーフレーム85の側面より外側に側面ガイド部材75が位置させられる。このときの各側面ガイド部材75間の距離を側面ガイド幅W2とすると、
W2>W1
にされる。
このように、本実施の形態においては、各側面ガイド部材75を、フィーダーフレーム85より外側に移動させることができるようになっているので、給紙トレイ70を閉じる場合に、各側面ガイド部材75とフィーダーフレーム85とが干渉するのを防止することができる。
なお、側面ガイド部材75が用紙12を案内しているときに、給紙トレイ70を閉めようとすると、側面ガイド幅W2が幅W1より小さく、
W2<W1
になり、各側面ガイド部材75とフィーダーフレーム85とが干渉してしまう。そこで、フィーダーフレーム85の幅と同じ幅になるように第1の補助トレイ76に突起部76a、76bを形成し、側面ガイド部材75が、フィーダーフレーム85を収容可能な位置に移動していない場合に、前記突起部76a、76bを側面ガイド部材75間に位置させることができないようにしている。
すなわち、各突起部76a、76b間の幅をW3とすると、
W3>W1
にされる。
ところで、前記第1の実施の形態においては、媒体繰出し部80には用紙12の有無を検出する媒体有無検出部、及びピックアップローラ81の位置を検出するための位置検出部が配設され、例えば、二つのセンサが必要になってしまう。
そこで、必要になるセンサの数を少なくすることができるようにした本発明の第4の実施の形態について説明する。なお、第1〜第3の実施の形態と同じ構造を有するものについては、同じ符号を付与することによってその説明を省略し、同じ構造を有することによる発明の効果については同実施の形態の効果を援用する。
図17は本発明の第4の実施の形態における媒体積載板が下降位置に置かれた状態を示す斜視図、図18は本発明の第4の実施の形態における媒体積載板が下降位置に置かれた状態を示す側面図、図19は本発明の第4の実施の形態における媒体積載板が上昇位置に置かれた状態を示す斜視図、図20は本発明の第4の実施の形態における媒体積載板が上昇位置に置かれた状態を示す側面図である。
図に示されるように、第2の媒体積載部としての給紙トレイ70には、媒体積載板71の前端部を上昇させ、ピックアップローラ81に近づけるために、前記媒体積載板71の下面と対向させて付勢部材としてのスプリング78が配設される。また、押え部材としての昇降アーム91が、筐体としてのメインフレーム87(図1)に形成された揺動軸sh4を揺動中心として揺動自在に配設される。前記昇降アーム91は、先端を、用紙12が通過する範囲の外、すなわち、媒体範囲外において、媒体積載板71の前端の上面に当接させて配設され、前記スプリング78の付勢力に抗して媒体積載板71を下方に向けて押さえる。
また、前記昇降アーム91は、リンク部材92を介してリンクギヤ93と連結される。そのために、前記昇降アーム91における先端と揺動軸sh4との間の所定の箇所と、リンクギヤ93における外周縁の所定の箇所とが、リンク部材92によって揺動自在に連結される。そして、前記リンクギヤ93の外周縁の所定の箇所には、媒体積載板71がホームポジションである下降位置に置かれたことを検出するために、径方向外方に向けて突出させて被検出部93aが形成される。また、前記リンクギヤ93の周囲には、前記被検出部93aの位置を検出することによって、媒体積載板71が下降位置に置かれたことを検出する下降位置検出部としての図示されない下降位置センサが配設される。
前記リンクギヤ93は、図示されない昇降用の駆動部としての昇降用モータと連結され、前記制御部の昇降処理手段は、昇降処理を行い、前記昇降用モータを駆動し、リンクギヤ93を回転させると、媒体積載板71が昇降させられる。
なお、前記スプリング78、昇降アーム91、リンク部材92、リンクギヤ93等によって、前記媒体積載板71の前端の高さを制御する高さ調整機構部が構成される。また、94は媒体積載板71上の用紙12の高さ及び有無を検出するための媒体検出部としてのセンサ、95は連動部材としてのレバー95である。
そして、第1の支持部材としてのピックアップフレーム84(図4)は、繰出部材を構成する繰出用ローラとしてのピックアップローラ81を回転自在に支持し、第2の支持部材としてのフィーダーフレーム85は、装置本体に対して揺動自在に配設され、前記ピックアップフレーム84を、第1の弁別用のローラとしての、かつ、フィード機構としてのフィードローラ82の回転中心82aを揺動中心として揺動自在に支持する。また、前記ピックアップローラ81は、給紙トレイ70が開かれるのに伴って、付勢部材としてのトーションスプリング90(図14)による付勢力によって用紙12の厚さ方向に移動させられ、最も上の用紙12に押し付けられる。なお、ピックアップローラ81を、自重によって用紙12の厚さ方向に移動させ、最も上の用紙12に押し付けることができる。また、前記ピックアップローラ81、ピックアップフレーム84及びフィーダーフレーム85によって繰出装置が構成される。
次に、前記構成の第2の媒体供給部の動作について説明する。
図21は本発明の第4の実施の形態におけるセンサがオンになった状態を示す断面図、図22は本発明の第4の実施の形態におけるセンサがオフになった状態を示す断面図、図23は本発明の第4の実施の形態における媒体積載板上に用紙がない状態を示す断面図、図24は本発明の第4の実施の形態における給紙トレイを閉じた状態を示す図である。
この場合、フィーダーフレーム85に前記センサ94及びレバー95が配設され、該レバー95は、フィーダーフレーム85によって揺動自在に支持され、前端が、媒体積載板71上に積載された用紙12の最も上の用紙12に当接して、所定の角度に置かれる。したがって、センサ94によって、レバー95の動作が検出される。また、前記レバー95の揺動軸には、レバー95の前端を用紙12に向けて所定の付勢力で付勢されるように、付勢部材としての図示されないトーションスプリングが配設される。
そして、レバー95の後端がセンサ94を遮光してオンにすると、センサ94は用紙12を検出し、検出信号を制御部に送る。該制御部の媒体検出判定処理手段は、媒体検出判定処理を行い、媒体検出の判定を行う。一方、レバー95の後端がセンサ94を透光させてオフにすると、センサ94は用紙12を検出しなくなる。前記媒体検出判定処理手段は、媒体非検出の判定を行う。
前記構成の第2の媒体供給部において、前記媒体積載板71上に用紙12が積載された状態で、信号、例えば、印字起動信号が前記制御部に送られると、前記昇降処理手段は、前記昇降用モータを駆動し、リンクギヤ93を回転させ、昇降アーム91を上昇させる。その結果、媒体積載板71は、スプリング78の付勢力によって、昇降アーム91に当接しながら上昇する。同様に、媒体積載板71上に積載された用紙12も上昇するので、図21に示されるように、レバー95の前端が最も上の用紙12に当接する。その後、媒体積載板71が上昇し続け、レバー95の後端がセンサ94を遮光する位置に到達するとセンサ94がオンになり、媒体検出判定処理手段は、媒体検出の判定を行い、用紙12を安定して繰り出すことができると判断し、前記昇降処理手段は、昇降用モータの駆動を停止させ、媒体積載板71の上昇を停止させる。
そして、前記制御部の印字処理手段は、印字処理を行い、印字を開始する。これに伴って、媒体積載板71上の用紙12は装置本体内に1枚ずつ繰り出され、徐々に少くなる。このとき、レバー95はトーションスプリングの付勢力によって、最も上の用紙12の高さに追従して回動させられる。続いて、更に用紙12の繰出しが行われ、図22に示されるように、レバー95の後端がセンサ94を透光させる位置に到達するとセンサ94がオフになり、前記媒体検出判定処理手段は、媒体非検出の判定を行い、用紙12が安定して繰り出すことができないと判断し、前記昇降処理手段は、昇降用モータを駆動し、媒体積載板71を上昇させる。
そして、前記媒体積載板71上のすべての用紙12が繰り出されると、レバー95の前端が最も上の用紙12に当接しなくなり、フィーダーフレーム85に配設された図示されない規制部材によって所定の位置に保持され、レバー95の後端がセンサ94を透光させる位置に到達し、センサ94がオフになる。前記媒体検出判定処理手段は、媒体非検出の判定を行い、前記昇降処理手段は、昇降用モータを駆動し、媒体積載板71を上昇させるが、あらかじめ設定された時間、センサ94がオフであり続けると、前記媒体検出判定処理手段は、媒体無しの判定を行い、前記昇降処理手段は、昇降用モータを駆動し、図23に示されるように、媒体積載板71を下降させる。そして、被検出部93aによって媒体積載板71が下降位置に置かれたことが検出されると、昇降用モータの駆動を停止させる。なお、用紙12を交換するために給紙トレイ70を外した場合にも、前記センサ94がオフであり続けるので、制御部は、センサ94の検出信号に従って、給紙トレイ70が外されたかどうかを判断することもできる。
このように、本実施の形態においては、フィーダーフレーム85に配設された一つのセンサ94によって用紙12の有無を判定し、かつ、用紙12の高さを制御することができるので、給紙装置の部品点数を少なくすることができ、給紙装置のコストを低くすることができるとともに、給紙装置の寸法を小さくすることができる。
また、本実施の形態においては、昇降アーム91を昇降させるための昇降用モータが装置本体内に配設されるので、給紙装置の寸法を一層小さくすることができる。
本実施の形態においては、センサ94及びレバー95が、フィードローラ82の近傍において、フィーダーフレーム85に配設されるようになっているので、最も上の用紙12の高さを直接、かつ、フィードローラ82の近傍で検出することができる。したがって、用紙12の有無を安定して検出することができる。
また、給紙トレイ70を閉じる場合、フィーダーフレーム85及びピックアップローラ81が回転中心82aを中心に回動させられ、メインフレーム87内に収容されるが、そのとき、センサ94及びレバー95も同様にメインフレーム87内に収容される。したがって、給紙装置の寸法を一層小さくすることができる。
次に、本発明の第5の実施の形態について説明する。なお、第1〜第4の実施の形態と同じ構造を有するものについては、同じ符号を付与することによってその説明を省略し、同じ構造を有することによる発明の効果については同実施の形態の効果を援用する。
図25は本発明の第5の実施の形態における給紙トレイを開いた状態を示す断面図、図26は本発明の第5の実施の形態における給紙トレイを閉じた状態を示す断面図である。
図に示されるように、押え部材としての昇降アーム91は、揺動軸sh4を揺動中心として揺動自在に配設された保持部材としてのアームホルダ96、該アームホルダ96によって保持され、矢印E方向に進退自在(スライド自在)に配設された押え部材本体としての、かつ、アーム部材としてのアーム本体91a、該アーム本体91aを前方に向けて、すなわち、媒体積載板71に向けて、所定の付勢力によって付勢する付勢部材としてのスプリング97を備える。
この場合、昇降アーム91によって媒体積載板71の前端を十分な力で押し付けることができるように、スプリング97の付勢力をf11とし、付勢部材としてのスプリング78の付勢力をf12としたとき、
f11>f12
にされる。
まず、図25に示される給紙トレイ70が開かれた状態から、図26に示される閉じられた状態にする場合は、前記媒体積載板71がアーム本体91aを押す力をf13としたとき、該押す力f13の昇降アーム91の軸方向の分力f13aが前記付勢力f11より大きくなると、スプリング97の付勢力に抗して昇降アーム91が収縮させられ、アーム本体91aがアームホルダ96内に収容される。
また、給紙トレイ70が閉じられた状態から開かれた状態にする場合は、スプリング97が伸長させられ、アーム本体91aがアームホルダ96内から突出させられる。
このように、本実施の形態においては、昇降アーム91が伸縮自在に配設されるので、給紙トレイ70の揺動軸70bをその分装置本体側に配設することができる。したがって、給紙装置の寸法を一層小さくすることができる。
なお、本実施の形態において、給紙トレイ70に大量の用紙12(図22)を収容する必要がある場合、媒体積載板71上に大量の用紙12が積載されることになる。そこで、前記媒体積載板71を剛性を有する金属部材、例えば、板金によって形成するようにしているが、用紙12が繰り出されるのに伴って、摩擦によって媒体積載板71が帯電してしまい、用紙12を円滑に繰り出すことができなくなってしまう。
そこで、本実施の形態においては、アーム本体91a及びアームホルダ96を導電性の高い材料(導電性材料)、例えば、金属によって形成し、アームホルダ96を直接、又はメインフレーム87を介して接地し、媒体積載板71の電荷を、アーム本体91a及びアームホルダ96を介して逃がすようにしている。したがって、媒体積載板71を接地させるための特別の部品を配設する必要がなくなり、部品点数を少なくすることができ、給紙装置のコストを低くすることができる。
しかも、例えば、給紙トレイ70を開閉するための回転中心82a等のような揺動中心を介して電荷を逃がしたり、給紙トレイ70等の回転軌跡を介して電荷を逃がしたりする必要がないので、部品形状を簡素化することができる。
ところで、前記各実施の形態においては、操作者がフィードローラ82を交換する場合、リンク部材88によってフィーダーフレーム85と給紙トレイ70とが連結されているので、リタードローラ83を取り出した後にフィードローラ82を取り出すことになり、操作者がフィードローラ82を回転中心82aから脱着するときにピックアップローラ81及びフィーダーフレーム85が交換作業の妨げとなってしまう。その結果、作業性が低くなったり、フィードローラ82を誤って取り付けたりしてしまう。
そこで、フィードローラ82を交換する際の作業性を高くすることができ、フィードローラ82を正確に取り付けることができるようにした本発明の第6の実施の形態について説明する。なお、第1の実施の形態と同じ構造を有するものについては、同じ符号を付与することによってその説明を省略し、同じ構造を有することによる発明の効果については同実施の形態の効果を援用する。
図27は本発明の第6の実施の形態における第2の媒体供給部の斜視図、図28は本発明の第6の実施の形態における第2の媒体供給部の第1の断面図、図29は本発明の第6の実施の形態におけるフィードローラの取付部の断面図である。
この場合、201は媒体繰出し部としてのフィーダーユニットであり、該フィーダーユニット201は、第2の支持部材としてのフィーダーフレーム85、繰出部材を構成する繰出用ローラとしてのピックアップローラ81、第1の弁別用のローラとしての、かつ、フィード機構としてのフィードローラ82、第1の支持部材としてのピックアップフレーム84、前記ピックアップローラ81を用紙12(図22)に対して付勢するための第1の付勢部材としてのスプリング218及び連結部材としてのリンク部材88を備える。なお、前記ピックアップローラ81、ピックアップフレーム84及びフィーダーフレーム85によって繰出装置が構成される。また、前記フィードローラ82と対向する位置に、トルクリミッタを内蔵した第2の弁別用のローラとしての、かつ、リタード機構としてのリタードローラ83が配置され、第2の付勢部材としてのスプリング219は、リタードローラ83の軸を加圧することによってリタードローラ83をフィードローラ82に対して加圧する。そのために、前記リタードローラ83を上下方向に移動自在に案内するためにガイド220が配設される。
また、フィードローラ82を着脱自在にするために、フィードローラ82の本体182の内周面に、シャフト82bに向けて突出させて、抜止め用の係止部としての弾性を有する係止爪221が形成され、一方、前記シャフト82bの外周面に、前記係止爪221と対応させて、抜止め用の被係止部としての係止溝222が形成され、前記係止爪221と係止溝222とが選択的に係合させられる。前記係止溝222は、前記係止爪221と対応する部分に形成すれば足りるが、必要に応じて円周方向に延在させて形成することができる。なお、前記係止爪221の先端には、係止爪221と係止溝222とを係脱する際に操作者が係止爪221を変形させることができるように、摘み部221aが形成される。
そして、図示されない駆動部としてのモータから前記フィードローラ82に回転を伝達するために、本体182の内周面に回転伝達用の係止部としての平坦部183が形成され、一方、前記シャフト82bにおける平坦部183と対応する箇所に、断面が「D」字状の形状を有する回転伝達用の被係止部としてのDカット部184が形成される。
本実施の形態においては、本体182側に係止爪221が、シャフト82b側に係止溝222が形成されるようになっているが、本体182側に係止溝を、シャフト82b側に係止爪を形成することができる。
前記ピックアップローラ81は、ピックアップフレーム84によって回転自在に支持され、該ピックアップフレーム84は、シャフト82bを揺動中心として、フィーダーフレーム85に対して揺動自在に支持される。該フィーダーフレーム85は、シャフト86を揺動中心として、筐体としてのメインフレーム87によって揺動自在に支持される。なお、211は用紙12を搬送するための媒体搬送路、217はリンク部材88の一端を第2の媒体積載部としての給紙トレイ70に選択的に取り付けるための取付部材としての、かつ、操作部としてのレバーである。
図30は本発明の第6の実施の形態における第2の媒体供給部の第2の断面図である。
この場合、リンク部材88は、第1、第2のアームam1、am2を備え、第1のアームam1側の端部において、フィーダーフレーム85(図28)と回転自在に嵌合させられ、第2のアームam2側の端部において、レバー217によって、給紙トレイ70と嵌合させられる。
前記給紙トレイ70には長孔70aが形成され、リンク部材88を給紙トレイ70に取り付けるために、レバー217のボス部が、第2のアームam2に形成された穴を貫通し、長孔70aに嵌入される。また、フィーダーフレーム85に凸部85aが形成され、前記第1のアームam1の端部に、前記凸部85aを挿入することができるように孔部88aが形成され、前記凸部85a及び孔部88aによって係脱自在なカップリングが形成される。
次に、フィードローラ82を交換するときの第2の媒体供給部の動作について説明する。
図31は本発明の第6の実施の形態における第2の媒体供給部の動作を示す斜視図、図32は本発明の第6の実施の形態におけるレバーの状態を示す第1の図、図33は本発明の第6の実施の形態におけるレバーの状態を示す第2の図、図34は本発明の第6の実施の形態におけるフィードローラ交換時の第2の媒体供給部の斜視図である。
ところで、レバー217は、図32に示されるロック位置及び図33に示される解放位置に置くことができるようにされていて、通常、例えば、画像形成部40(図2)によって画像が形成され、印刷が行われている間、ロック位置に置かれる。
そして、フィードローラ82を交換する場合、まず、図31に示されるように、前記レバー217を矢印K方向に90〔°〕回転させ、レバー217のロックを解除し、レバー217を解放位置に置く。次に、レバー217を矢印L方向に移動させてリンク部材88から取り外し、リンク部材88を給紙トレイ70から取り外す。
この場合、リンク部材88を給紙トレイ70から取り外すのに伴って、フィーダーユニット201がシャフト82bを中心に回動可能になる。そこで、前記フィーダーユニット201を90〔°〕回転させると、図34に示されるように、フィードローラ82の全体を視覚で確認することができるようになる。
この状態で、前記摘み部221aを把持して半径方向外方に移動させ、係止爪221(図29)と係止溝222との係合を解除すると、フィードローラ82は、図34における矢印M方向に移動自在になる。したがって、フィードローラ82をシャフト82bから取り外すことができる。また、前記動作と逆の手順を行うことによって、新しいフィードローラ82をシャフト82bに取り付けることができる。
このように、本実施の形態においては、リンク部材88が給紙トレイ70から切り離し可能にされているので、レバー217を取り外し、リンク部材88を給紙トレイ70から切り離した状態で、フィーダーユニット201を回動させ、フィードローラ82の全体を視覚で確認することができる。しかも、操作者は、フィードローラ82を容易に交換することができる。また、ピックアップローラ81の清掃を容易に行うことができるとともに、容易に交換することができる。
次に、本発明の第7の実施の形態について説明する。なお、第6の実施の形態と同じ構造を有するものについては、同じ符号を付与することによってその説明を省略し、同じ構造を有することによる発明の効果については同実施の形態の効果を援用する。
図35は本発明の第7の実施の形態におけるフィーダーユニットを示す第1の断面図、図36は本発明の第7の実施の形態におけるフィーダーユニットを示す第2の断面図である。
この場合、前記媒体繰出し部としてのフィーダーユニット201を回動させると、第1の弁別用のローラとしての、かつ、フィード機構としてのフィードローラ82と、第2の弁別用のローラとしての、かつ、リタード機構としてのリタードローラ83とが離間させられるようになっている。そのために、前記第2の支持部材としてのフィーダーフレーム85の所定の箇所、すなわち、フィーダーユニット201を回動させたときに、リタードローラ83と対向する箇所にカム85bが一体に形成される。そして、リタードローラ83の一端の軸端部83aによって、フィーダーユニット201を回動させたときに、カム85bと当接させられる従動部が構成される。なお、カム85b及び軸端部83aによって離間要素が構成される。また、前記フィードローラ82及びリタードローラ83によって弁別装置が構成される。
すなわち、取付部材としての、かつ、操作部としてのレバー217を回転させてロックを解除し、レバー217を連結部材としてのリンク部材88から取り外し、フィーダーフレーム85と給紙トレイ70との連結を解除し、フィーダーユニット201を回転させると、カム85bが軸端部83aと当接して下方に押す。したがって、リタードローラ83がガイド220に沿って下方に移動し、フィードローラ82とリタードローラ83とが離間する。
したがって、フィードローラ82をシャフト82bから取り外す際に、リタードローラ83との接触による摩擦力が発生しないので、フィードローラ82を交換するための作業が容易になる。なお、本実施の形態においては、フィーダーフレーム85にカム85bが一体に形成されるようになっているが、カムをフィーダーフレーム85と別体に形成することができる。
次に、本発明の第8の実施の形態について説明する。なお、第6の実施の形態と同じ構造を有するものについては、同じ符号を付与することによってその説明を省略し、同じ構造を有することによる発明の効果については同実施の形態の効果を援用する。
図37は本発明の第8の実施の形態における第2の媒体供給部の第1の状態を示す図、図38は本発明の第8の実施の形態におけるレバー検出部の第1の状態を示す図、図39は本発明の第8の実施の形態における第2の媒体供給部の第2の状態を示す図、図40は本発明の第8の実施の形態におけるレバー検出部の第2の状態を示す図である。
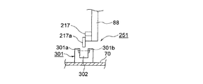
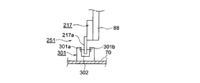
この場合、取付部材としての、かつ、操作部としてのレバー217の状態を検出するために、該レバー217と給紙トレイ70との間に連結状態検出部としてのレバー検出部251が形成される。該レバー検出部251はレバー217に配設された被検出要素としての遮光部217a、及び給紙トレイ70に配設された検出要素としてのフォトセンサ301から成る。該フォトセンサ301において、上端面に検出溝302が形成され、該検出溝302に臨ませて、発光部としての発光素子301aと受光部としての受光素子301bとが対向させて配設される。したがって、図38に示されるように、レバー217がロック位置に置かれ、遮光部217aが発光素子301aと受光素子301bとの間に存在して遮光する場合、フォトセンサ301がオンになり、図40に示されるように、レバー217が解放位置に置かれ、遮光部217aが発光素子301aと受光素子301bとの間に存在せず、光を透過する場合、フォトセンサ301がオフになる。また、前記レバー217の状態を検出するために、フォトセンサ301に代えてマイクロスイッチを使用することができる。
そして、前記制御部の操作部状態検出処理手段は、操作部状態検出処理を行い、フォトセンサ301のセンサ出力を読み込み、フォトセンサ301がオンである場合、制御部の画像形成処理手段は、画像形成処理を行い、図37に示されるようにレバー217がロック位置に置かれていると判断し、印刷を許可する。
これに対して、フォトセンサ301がオフである場合、前記画像形成処理手段は、図39に示されるようにレバー217が解放位置に置かれていると判断し、印刷を禁止する。
このように、本実施の形態においては、レバー217が解放位置に置かれている場合に印刷が禁止されるので、フィードローラ82の交換作業中に画像形成部40が作動することがなくなる。したがって、プリンタの安全性を向上させることができる。
次に、本発明の第9の実施の形態について説明する。なお、第6の実施の形態と同じ構造を有するものについては、同じ符号を付与することによってその説明を省略し、同じ構造を有することによる発明の効果については同実施の形態の効果を援用する。
図41は本発明の第9の実施の形態におけるフィーダーユニット及び給紙トレイを示す斜視図、図42は本発明の第9の実施の形態における取付部材の動作を示す第1の図、図43は本発明の第9の実施の形態における取付部材の動作を示す第2の図である。
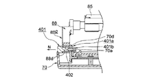
この場合、連結部材としてのリンク部材88を第2の媒体積載部としての給紙トレイ70に取り付けるために、第2のアームam2の端部に穴88dが形成され、取付部材401のボス部402は、前記穴88d及び長孔70aに嵌合される。また、前記取付部材401に係止部としての可撓性係止爪401aが形成され、該可撓性係止爪401aと給紙トレイ70の第1の被係止部として機能するフレーム部70dとが係止させられる。
リンク部材88を給紙トレイ70から取り外す場合、まず、前記可撓性係止爪401aの摘み部401bを径方向内方に移動させ、可撓性係止爪401aをフレーム部70dから解除すると、取付部材401は矢印N方向に移動させることができるようになる。そして、取付部材401を矢印N方向に更に移動させると、ボス部402は長孔70aと嵌合しなくなるので、リンク部材88が給紙トレイ70から取り外される。前記取付部材401を矢印N方向に更に移動させると、可撓性係止爪401aは第2の被係止部として機能するリンク部材88と係止させられ、該リンク部材88によって保持され、リンク部材88から外れなくなる。
そして、前記リンク部材88が給紙トレイ70から取り外されることによって、媒体繰出し部としてのフィーダーユニット201がシャフト82bを揺動中心にして揺動自在になるので、フィーダーユニット201を90〔°〕回転させると、図34に示されるように、第1の弁別用のローラとしての、かつ、フィード機構としてのフィードローラ82の全体を視覚で確認することができるようになる。
このように、本実施の形態においては、リンク部材88を給紙トレイ70から取り外した状態で可撓性係止爪401aとリンク部材88とが係止させられるので、操作者がフィードローラ82を交換する際、取付部材401を紛失することがなくなる。したがって、フィードローラ82の交換作業を簡素化することができる。
次に、本発明の第10の実施の形態について説明する。なお、第6の実施の形態と同じ構造を有するものについては、同じ符号を付与することによってその説明を省略し、同じ構造を有することによる発明の効果については同実施の形態の効果を援用する。
図44は本発明の第10の実施の形態におけるリンク部材の斜視図、図45は本発明の第10の実施の形態におけるフィーダーユニット及び給紙トレイの要部を示す斜視図である。
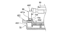
図において、501は連結部材としてのリンク部材であり、該リンク部材501は、軸sh3を中心として互いに所定の角度で連結された第1、第2のアームam1、am2を備え、第2の支持部材としてのフィーダーフレーム85と第2の媒体積載部としての給紙トレイ70とを揺動自在に連結する。また、502は取付部材であり、該取付部材502と前記リンク部材501とが接続部材としての帯状部503によって接続される。そのために、リンク部材501、取付部材502及び帯状部503によってリンク部材・取付部材ユニット504が構成され、該リンク部材・取付部材ユニット504は、例えば、ポリプロピレンのように可撓性を有する材料によって一体に成形される。
また、前記リンク部材501を給紙トレイ70に取り付けるために、第2のアームam2の一端に穴501cが形成され、取付部材502のボス部505は、前記穴501c及び長孔70aに嵌合される。また、前記取付部材502に係止部としての可撓性係止爪502aが形成され、該可撓性係止爪502aと給紙トレイ70の第1の被係止部として機能するフレーム部70dとが係止させられる。なお、帯状部503が可撓性を有する材料によって形成されているので、ボス部505を前記穴501cに嵌合する際に帯状部503を湾曲させても、帯状部503が破損することがない。
リンク部材88を給紙トレイ70から取り外す場合、まず、前記可撓性係止爪502aの摘み部502bを径方向内方に移動させ、可撓性係止爪502aをフレーム部70dから解除すると、取付部材502は矢印O方向に移動させることができるようになる。そして、取付部材502を矢印O方向に更に移動させると、ボス部505は長孔70aと嵌合しなくなるので、リンク部材88が給紙トレイ70から取り外される。前記取付部材502を矢印O方向に更に移動させると、可撓性係止爪502aは第2の被係止部として機能するリンク部材501と係止させられ、リンク部材501によって保持され、リンク部材501から外れなくなる。
このように、本実施の形態においては、リンク部材501と取付部材502とが帯状部503によって常時接続されているので、操作者が第1の弁別用のローラとしての、かつ、フィード機構としてのフィードローラ82を交換する際、取付部材502を紛失することがなくなる。したがって、フィードローラ82の交換作業を簡素化することができる。
なお、本発明は前記実施の形態に限定されるものではなく、本発明の趣旨に基づいて種々変形させることが可能であり、それらを本発明の範囲から排除するものではない。
12 用紙
70 給紙トレイ
81 ピックアップローラ
84 ピックアップフレーム
85 フィーダーフレーム

Claims (19)

  1. (a)伸縮自在の補助トレイ部を備え、装置本体に対して揺動自在に配設され、装置本体から延在させられて媒体を支持する媒体積載部と、
    (b)該媒体積載部の媒体を繰り出す繰出部材と、
    (c)前記装置本体に対して揺動自在に配設され、前記繰出部材を支持する支持部材と、
    (d)前記装置本体と前記媒体積載部とを連結する連結部材と、
    (e)フィード機構及びリタード機構を備え、前記繰出部材によって繰り出された媒体を1枚ずつ分離させる弁別装置とを有するとともに、
    (f)前記補助トレイ部が収縮させられた状態で、前記媒体積載部を前記装置本体に対して閉じたときに、前記補助トレイ部が、フィード機構とリタード機構とを結ぶ線の延長線上に置かれ、
    (g)前記連結部材は、軸を中心として互いに連結された第1、第2のアームを備え、
    (h)前記第2のアームの端部と前記媒体積載部とは、前記媒体積載部の揺動に伴って、媒体の搬送方向において摺動自在に嵌合させられ、
    (i)前記連結部材による前記装置本体と前記媒体積載部との連結は解除可能であることを特徴とする媒体供給装置。
  2. 前記補助トレイ部が収縮させられた状態で、前記媒体積載部を前記装置本体に対して閉じたときに、前記補助トレイ部及び繰出部材が、フィード機構とリタード機構とを結ぶ線の延長線上に置かれる請求項1に記載の媒体供給装置。
  3. 前記繰出部材が装置本体から離れる方向に前記支持部材を付勢する付勢部材を有する請求項1又は2に記載の媒体供給装置。
  4. 前記媒体積載部の長さをL1とし、前記支持部材の長さをL2とし、補助トレイ部の長さをL3としたとき、
    L1>L2+L3
    にされる請求項1〜3のいずれか1項に記載の媒体供給装置。
  5. 前記支持部材の幅をW1とし、前記媒体の側縁を規制する一対の側面ガイド部材間の距離を表す側面ガイド幅をW2としたとき、前記媒体積載部を前記装置本体に対して閉じた状態で、
    W2>W1
    にされる請求項1〜4のいずれか1項に記載の媒体供給装置。
  6. (a)前記媒体積載部は、媒体を昇降させる媒体積載板、及び該媒体積載板の高さを調節する高さ調整機構部を備え、
    (b)前記支持部材に、媒体を検出する媒体検出部が配設され、
    (c)該媒体検出部の検出結果に基づいて、前記高さ調整機構部によって媒体の高さが調整され、媒体の有無が検出される請求項1〜5のいずれか1項に記載の媒体供給装置。
  7. 前記繰出部材が装置本体へ近づく方向に移動するのに伴って、前記フィード機構とリタード機構とが離間させられる請求項1〜6のいずれか1項に記載の媒体供給装置。
  8. (a)前記連結部材の連結状態を検出する連結状態検出部と、
    (b)制御部とを有するとともに、
    (c)該制御部は、前記連結状態検出部の検出結果に基づいて画像を形成する請求項1〜7のいずれか1項に記載の媒体供給装置。
  9. (a)前記連結部材の連結のための取付部材を有するとともに、
    (b)前記連結部材は、連結の解除に伴って前記媒体積載部から分離させられ、
    (c)前記取付部材は連結部材によって保持される請求項1〜8のいずれか1項に記載の媒体供給装置。
  10. (a)伸縮自在の補助トレイ部を備え、装置本体に対して揺動自在に配設され、装置本体から延在させられて媒体を支持する媒体積載部と、
    (b)該媒体積載部の媒体を繰り出す繰出部材と、
    (c)前記装置本体に対して揺動自在に配設され、前記繰出部材を支持する支持部材と、
    (d)前記装置本体と前記媒体積載部とを連結する連結部材と、
    (e)フィード機構及びリタード機構を備え、前記繰出部材によって繰り出された媒体を1枚ずつ分離させる弁別装置とを有するとともに、
    (f)前記補助トレイ部が収縮させられた状態で、前記媒体積載部を前記装置本体に対して閉じたときに、前記補助トレイ部が、フィード機構とリタード機構とを結ぶ線の延長線上に置かれ、
    (g)前記連結部材は、軸を中心として互いに連結された第1、第2のアームを備え、
    (h)前記第2のアームの端部と前記媒体積載部とは、前記媒体積載部の揺動に伴って、媒体の搬送方向において摺動自在に嵌合させられ、
    (i)前記媒体積載部は、媒体を昇降させる媒体積載板、及び該媒体積載板の高さを調節する高さ調整機構部を備え、
    (j)前記支持部材に、媒体を検出する媒体検出部が配設され、
    (k)該媒体検出部の検出結果に基づいて、前記高さ調整機構部によって媒体の高さが調整され、媒体の有無が検出されることを特徴とする媒体供給装置。
  11. 前記補助トレイ部が収縮させられた状態で、前記媒体積載部を前記装置本体に対して閉じたときに、前記補助トレイ部及び繰出部材が、フィード機構とリタード機構とを結ぶ線の延長線上に置かれる請求項10に記載の媒体供給装置。
  12. 前記繰出部材が装置本体から離れる方向に前記支持部材を付勢する付勢部材を有する請求項10又は11に記載の媒体供給装置。
  13. 前記媒体積載部の長さをL1とし、前記支持部材の長さをL2とし、補助トレイ部の長さをL3としたとき、
    L1>L2+L3
    にされる請求項10〜12のいずれか1項に記載の媒体供給装置。
  14. 前記支持部材の幅をW1とし、前記媒体の側縁を規制する一対の側面ガイド部材間の距離を表す側面ガイド幅をW2としたとき、前記媒体積載部を前記装置本体に対して閉じた状態で、
    W2>W1
    にされる請求項1〜13のいずれか1項に記載の媒体供給装置。
  15. (a)前記媒体積載部は、媒体を昇降させる媒体積載板、及び該媒体積載板の高さを調節する高さ調整機構部を備え、
    (b)前記支持部材に、媒体を検出する媒体検出部が配設され、
    (c)該媒体検出部の検出結果に基づいて、前記高さ調整機構部によって媒体の高さが調整され、媒体の有無が検出される請求項10〜14のいずれか1項に記載の媒体供給装置。
  16. 前記繰出部材が装置本体へ近づく方向に移動するのに伴って、前記フィード機構とリタード機構とが離間させられる請求項10〜15のいずれか1項に記載の媒体供給装置。
  17. 前記連結部材による前記装置本体と前記媒体積載部との連結は解除可能である請求項10〜16のいずれか1項に記載の媒体供給装置。
  18. 前記補助トレイ部は、第1の補助トレイ、及び該第1の補助トレイに収容することができるように配設された第2の補助トレイを備える請求項1〜17のいずれか1項に記載の媒体供給装置
  19. 求項1〜18のいずれか1項に記載された媒体供給装置を有する画像形成装置。
JP2010151164A 2004-05-14 2010-07-01 媒体供給装置及び画像形成装置 Expired - Fee Related JP5073788B2 (ja)

Priority Applications (1)

Application Number Priority Date Filing Date Title
JP2010151164A JP5073788B2 (ja) 2004-05-14 2010-07-01 媒体供給装置及び画像形成装置

Applications Claiming Priority (3)

Application Number Priority Date Filing Date Title
JP2004145407 2004-05-14
JP2004145407 2004-05-14
JP2010151164A JP5073788B2 (ja) 2004-05-14 2010-07-01 媒体供給装置及び画像形成装置

Related Parent Applications (1)

Application Number Title Priority Date Filing Date
JP2005047095A Division JP4566781B2 (ja) 2004-05-14 2005-02-23 媒体供給装置及び画像形成装置

Publications (2)

Publication Number Publication Date
JP2010241606A JP2010241606A (ja) 2010-10-28
JP5073788B2 true JP5073788B2 (ja) 2012-11-14

Family

ID=43095078

Family Applications (1)

Application Number Title Priority Date Filing Date
JP2010151164A Expired - Fee Related JP5073788B2 (ja) 2004-05-14 2010-07-01 媒体供給装置及び画像形成装置

Country Status (1)

Country Link
JP (1) JP5073788B2 (ja)

Families Citing this family (2)

* Cited by examiner, † Cited by third party
Publication number Priority date Publication date Assignee Title
JP5649561B2 (ja) 2011-12-27 2015-01-07 株式会社沖データ 媒体載置装置及び画像形成装置
JP6041099B2 (ja) * 2012-12-27 2016-12-07 株式会社リコー 給紙装置、及び画像形成装置

Family Cites Families (6)

* Cited by examiner, † Cited by third party
Publication number Priority date Publication date Assignee Title
JP2838411B2 (ja) * 1989-03-31 1998-12-16 キヤノン株式会社 画像形成装置
JPH05319634A (ja) * 1992-05-14 1993-12-03 Ricoh Co Ltd 手差し給紙装置
JP3825158B2 (ja) * 1997-12-12 2006-09-20 株式会社東芝 給紙装置及び画像形成装置
JPH11227950A (ja) * 1998-02-18 1999-08-24 Canon Inc 画像形成装置
JP2003212358A (ja) * 2002-01-29 2003-07-30 Funai Electric Co Ltd プリンタ用給紙トレイ及びプリンタ用排紙トレイ
JP2004093737A (ja) * 2002-08-30 2004-03-25 Canon Inc 画像読取記録装置

Also Published As

Publication number Publication date
JP2010241606A (ja) 2010-10-28

Similar Documents

Publication Publication Date Title
JP4566781B2 (ja) 媒体供給装置及び画像形成装置
JP5520276B2 (ja) 媒体搬送装置及び画像形成装置
JP5129285B2 (ja) 給紙装置及び画像形成装置
JP4722740B2 (ja) 媒体搬送装置、及び画像形成装置
JP2019059559A (ja) シート搬送装置及び画像形成装置
JP5073788B2 (ja) 媒体供給装置及び画像形成装置
JP4852623B2 (ja) 媒体給紙装置及び画像形成装置
JP6291807B2 (ja) 給紙装置および画像形成装置
US20140138904A1 (en) Sheet feeding device, and image reading device and image forming apparatus including the sheet feeding device
JP2009067550A (ja) 媒体搬送装置及び画像形成装置
JP6618344B2 (ja) シート収納装置及び画像形成装置
JP2011136842A (ja) 媒体搬送装置、及び画像形成装置
JP2014181106A (ja) 給紙装置、およびこれを備えた画像形成装置
US12162721B2 (en) Sheet feeding device and image forming apparatus
JP2006248689A (ja) 媒体供給装置及び画像形成装置
US11840419B2 (en) Sheet stopper and image forming apparatus
US8096544B2 (en) Sheet containing device and image forming device and method of operating sheet containing device
JP2008134556A (ja) 画像形成装置
JP2006248646A (ja) 媒体搬送装置及び画像形成装置
JP2024038491A (ja) シート給送装置及び画像形成装置
JP2016132546A (ja) シート給送装置及び画像形成装置
JP3193201B2 (ja) 給紙装置
JPH02123039A (ja) シート材の給送装置
JP2019059608A (ja) シート搬送装置及び画像形成装置
JPH0484169A (ja) 画像形成装置

Legal Events

Date Code Title Description
A977 Report on retrieval

Free format text: JAPANESE INTERMEDIATE CODE: A971007

Effective date: 20120214

A131 Notification of reasons for refusal

Free format text: JAPANESE INTERMEDIATE CODE: A131

Effective date: 20120306

A521 Request for written amendment filed

Free format text: JAPANESE INTERMEDIATE CODE: A523

Effective date: 20120427

A131 Notification of reasons for refusal

Free format text: JAPANESE INTERMEDIATE CODE: A131

Effective date: 20120529

A521 Request for written amendment filed

Free format text: JAPANESE INTERMEDIATE CODE: A523

Effective date: 20120725

TRDD Decision of grant or rejection written
A01 Written decision to grant a patent or to grant a registration (utility model)

Free format text: JAPANESE INTERMEDIATE CODE: A01

Effective date: 20120821

A01 Written decision to grant a patent or to grant a registration (utility model)

Free format text: JAPANESE INTERMEDIATE CODE: A01

A61 First payment of annual fees (during grant procedure)

Free format text: JAPANESE INTERMEDIATE CODE: A61

Effective date: 20120822

R150 Certificate of patent or registration of utility model

Ref document number: 5073788

Country of ref document: JP

Free format text: JAPANESE INTERMEDIATE CODE: R150

Free format text: JAPANESE INTERMEDIATE CODE: R150

FPAY Renewal fee payment (event date is renewal date of database)

Free format text: PAYMENT UNTIL: 20150831

Year of fee payment: 3

LAPS Cancellation because of no payment of annual fees