JP5073625B2 - 下枠フラットサッシ - Google Patents

下枠フラットサッシ Download PDF

Info

Publication number
JP5073625B2
JP5073625B2 JP2008237841A JP2008237841A JP5073625B2 JP 5073625 B2 JP5073625 B2 JP 5073625B2 JP 2008237841 A JP2008237841 A JP 2008237841A JP 2008237841 A JP2008237841 A JP 2008237841A JP 5073625 B2 JP5073625 B2 JP 5073625B2
Authority
JP
Japan
Prior art keywords
lower frame
indoor
frame
inner rail
metal
Prior art date
Legal status (The legal status is an assumption and is not a legal conclusion. Google has not performed a legal analysis and makes no representation as to the accuracy of the status listed.)
Active
Application number
JP2008237841A
Other languages
English (en)
Other versions
JP2010070942A (ja
Inventor
智弘 山田
Current Assignee (The listed assignees may be inaccurate. Google has not performed a legal analysis and makes no representation or warranty as to the accuracy of the list.)
Lixil Corp
Original Assignee
Lixil Corp
Priority date (The priority date is an assumption and is not a legal conclusion. Google has not performed a legal analysis and makes no representation as to the accuracy of the date listed.)
Filing date
Publication date
Application filed by Lixil Corp filed Critical Lixil Corp
Priority to JP2008237841A priority Critical patent/JP5073625B2/ja
Publication of JP2010070942A publication Critical patent/JP2010070942A/ja
Application granted granted Critical
Publication of JP5073625B2 publication Critical patent/JP5073625B2/ja
Active legal-status Critical Current
Anticipated expiration legal-status Critical

Links

Images

Landscapes

  • Door And Window Frames Mounted To Openings (AREA)

Description

本発明は、金属枠と樹脂枠により構成された複合枠を有し下枠の敷居面が略平坦状に形成された下枠フラットサッシに関し、特に下枠の室内端部から内レールに渡って金属製の部材を設けて下枠上面をより平坦状とした下枠フラットサッシに関する。
従来、建物開口部に設けられる枠体内に内外障子を引き違い状に納め、内外障子を案内する内外レールの上端を含む下枠の敷居面を略平坦状に形成した下枠フラットサッシが知られている。下枠フラットサッシにおいて、断熱性及び意匠性を向上させるため、枠体を金属枠とその室内側露出面を覆う樹脂枠とで構成した複合サッシとすることも知られている。
下枠フラットサッシは、敷居面をできるだけ平坦に近くするため、内外障子を案内する内外レールの間や内レールと下枠室内端部との間に、樹脂下枠を設けている。このような下枠フラットサッシとしては、例えば特許文献1に挙げるようなものがある。
特開2005−105566号公報
複合サッシにおいては、樹脂材の方が金属材よりも強度が小さいため、特に荷重のかかる下枠について強度を充分に確保することが必要である。しかし、従来の下枠フラットサッシは、下枠の上面に樹脂下枠を配設していたため、敷居面の強度が充分ではないという問題があった。一方で、下枠の上面においては、断熱性も確保する必要があり、金属下枠をそのまま露出させることもできない。
本発明は前記課題を鑑みてなされたものであり、下枠の強度及び断熱性の確保を同時に満たすことのできる下枠フラットサッシを提供することを目的とする。
前記課題を解決するため、本発明に係る下枠フラットサッシは、建物開口部に設けられる枠体内に内外障子を引き違い状に納め、前記枠体は金属枠の室内側露出面に樹脂枠を設けてなると共に、前記枠体を構成する下枠は前記内外障子を案内する内外レールの上端を含む敷居面が略平坦状に形成された下枠フラットサッシにおいて、
前記下枠を構成する金属下枠は、前記外レールを一体的に有すると共に、室内側端部に前記内外レールと略同じ高さの室内立ち上がり片を有し、前記内レールは前記金属下枠とは別体の内レール部材に形成され、
前記下枠を構成する樹脂下枠は、前記金属下枠の外レールより室内側の上面を覆う上面被覆部と、前記室内立ち上がり片の室外側面を覆う立ち上がり被覆部とを連続状に有してなる上面被覆部材と、前記室内立ち上がり片の室内側面を覆う室内面被覆部材とを有し、
前記内レールを有した内レール部材が前記上面被覆部材の上面被覆部上に載置されて前記金属下枠に対し固定され、該固定された前記内レール部材から前記上面被覆部材の立ち上がり被覆部または前記室内面被覆部材に渡って、金属製の室内上面材が設けられ、
前記内レール部材と室内上面材は、いずれも前記金属下枠から熱絶縁されてなることを特徴として構成されている。
また、本発明に係る下枠フラットサッシは、前記内レール部材は前記上面被覆部に載置される基部と、該基部から突出状に形成される前記内レールとを有し、該内レールの室内面上端近傍には前記室内上面材を係合させる鍔部が形成されることを特徴として構成されている。
さらに、本発明に係る下枠フラットサッシは、前記上面被覆部材を構成する立ち上がり被覆部は上端部に前記室内上面材を係合可能としてなることを特徴として構成されている。
さらにまた、本発明に係る下枠フラットサッシは、前記室内上面材は室外端部が前記鍔部に係合し、室内端部が前記立ち上がり被覆部の上端部に係合し、それ以外の部分が他の部材に接触しないことにより、前記金属下枠から熱絶縁されることを特徴として構成されている。
本発明に係る下枠フラットサッシによれば、金属下枠は外レールと室内立ち上がり片を有し、内レールは金属下枠とは別体の内レール部材に形成され、樹脂下枠は金属下枠の外レールより室内側の上面を覆う上面被覆部と、室内立ち上がり片の室外側面を覆う立ち上がり被覆部とを連続状に有してなる上面被覆部材と、室内立ち上がり片の室内側面を覆う室内面被覆部材とを有し、内レールを有した内レール部材が上面被覆部材の上面被覆部上に載置されて金属下枠に対し固定され、固定された内レール部材から上面被覆部材の立ち上がり被覆部または室内面被覆部材に渡って、金属製の室内上面材が設けられ、内レール部材と室内上面材は、いずれも金属下枠から熱絶縁されてなることにより、下枠上面の強度を大きくしつつ、断熱性も確保することができる。
また、本発明に係る下枠フラットサッシによれば、内レール部材は上面被覆部に載置される基部と、基部から突出状に形成される内レールとを有し、内レールの室内面上端近傍には室内上面材を係合させる鍔部が形成されることにより、室内上面材の室外端部が内レールの上端近傍に固定されるので、室内上面材が内レールの上端に近い高さを有することとなり、下枠の平坦度を良好にすることができる。
さらに、本発明に係る下枠フラットサッシによれば、上面被覆部材を構成する立ち上がり被覆部は上端部に室内上面材を係合可能としてなることにより、室内上面材の室内端部が室内立ち上がり片の上端付近に固定されるので、室内上面材が室内立ち上がり片と略同じ高さを有することとなり、下枠の平坦度を良好にすることができる。
さらにまた、本発明に係る下枠フラットサッシよれば、室内上面材は室外端部が係合片に係合し、室内端部が立ち上がり被覆部の上端部に係合し、それ以外の部分が他の部材に接触しないことにより、金属下枠から熱絶縁されることにより、室内上面材から熱伝導しにくいようにすることができ、断熱性をより向上させることができる。
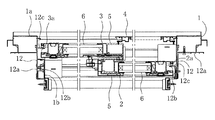
本発明の実施形態について図面に沿って詳細に説明する。図1には本実施形態における下枠フラットサッシの縦断面図を、図2には下枠フラットサッシの横断面図を、それぞれ示している。これら各図に示すように、本実施形態の下枠フラットサッシは、建物開口部に設けられる枠体1内に内障子2と外障子3が引き違い状に納められてなり、外障子3の室外側にはさらに網戸4が走行自在に納められている。
枠体1は、上枠10と下枠11及び左右の縦枠12、12を方形状に枠組みして構成されている。また枠体1は、金属枠1aの室内側露出面を樹脂枠1bで覆っており、金属枠1aが室内側に直接露出しないようにすることで、断熱性及び意匠性を良好にしている。
枠体1を構成する各枠材について見ると、上枠10は金属上枠10aと樹脂上枠10bからなっている。上枠10の内周面には、内障子2を上枠10の長手方向に案内する内案内部10cと、外障子3を上枠10の長手方向に案内する外案内部10dとが形成されている。内案内部10cは、樹脂上枠10bによって構成されており、外案内部10dは、金属上枠10a及び樹脂上枠10bによって構成されている。下枠11は、金属下枠20と樹脂下枠25からなっている。下枠11の詳細な構造については、後述する。
縦枠12は、金属縦枠12aと樹脂縦枠12bからなっている。内障子2が配置される側の縦枠12は、内障子2の外周面と対向する位置に内周側に向かって突出する内周突出片12cを有しており、内障子2に設けられる気密材2aが当接することで、枠体1と内障子2との間の気密性を確保する。また、外障子3が配置される側の縦枠12は、外障子3の外周面と対向する位置に内周側に向かって突出する内周突出片12cを有しており、外障子3に設けられる気密材3aが当接することで、枠体1と外障子3との間の気密性を確保する。
内障子2と外障子3は、いずれも方形状に框組みされてなる框体5内にガラス板からなるパネル体6を納めて構成され、下端部にはこれらを走行自在とするための戸車7が設けられている。框体5は、枠体1と同様に金属材の室内側露出面を覆うように樹脂材が設けられており、断熱性及び意匠性の向上を図っている。
次に、下枠11の構成について詳細に説明する。図3には図1の下枠11付近拡大図を、図4には下枠11の分解断面図を、それぞれ示している。図3に示すように、下枠11は、金属下枠20の室内側露出面を覆うように樹脂下枠25が設けられて構成されている。図4に示すように金属下枠20は、断面中空状に形成されると共に、上面には室外側から順に網戸レール22と外レール21及び室内立ち上がり片23が突出状に形成されている。これら網戸レール22と外レール21及び室内立ち上がり片23は、いずれも上端位置が略同じ高さとなるように形成されている。また、樹脂下枠25は、金属下枠20の上面を覆うように設けられる上面被覆部材26と、金属下枠20の室内側面を覆うように設けられる室内面被覆部材27とからなっている。
図4に示すように、金属下枠20の上面には、外レール21と室内立ち上がり片23との間に大きな凹状の領域が形成され、この領域に樹脂下枠25を構成する上面被覆部材26が取付けられる。上面被覆部材26は、金属下枠20の上面を被覆する上面被覆部26aと、金属下枠20の室内立ち上がり片23の室外面を被覆する立ち上がり被覆部26bとで、断面略L字状をなす形状に形成されている。
金属下枠20の外レール21よりも室内側の上面には、樹脂枠係合片24が突出状に形成されており、上面被覆部材26は室外端部が樹脂枠係合片24に係合する。また、室内立ち上がり片23の上端近傍には、係合部23aが形成されており、上面被覆部材26の立ち上がり被覆部26bが係合し固定がなされる。
上面被覆部材26の上面には、内レール部材30が載置される。内レール部材30は金属材からなり、上面被覆部材26に載置される基部31と、基部31から上方に突出状に形成される内レール32とからなっている。内レール32の上端位置は、外レール21や室内立ち上がり片23の上端位置と略同じ高さとなるようにされている。
上面被覆部材26の上面被覆部26aには、内レール部材30の基部31を係合させる内レール係合部26cが形成されており、内レール部材30の基部31は内レール係合部26cに係合すると共に、ネジ止めにより上面被覆部材26に対して固定される。この固定に用いられるネジ28は、金属下枠20の上面を貫通して中空内部にまで達しており、これによって内レール部材30を金属下枠20に対しても固定している。
このように、内レール32を金属下枠20とは別体の金属材で形成した内レール部材30に設け、この内レール部材30を樹脂材からなる上面被覆部材26に載置固定しているので、内レール32は金属下枠20と熱絶縁されている。したがって、内障子2の荷重を支える内レール32の強度を充分に確保しつつ、これが室内側に露出することによる断熱性の悪化を防ぐことができる。
また、内レール32と外レール21の間の領域には、長手方向略全長に渡って中間上面材34が設けられる。中間上面材34は、金属材によって形成されており、上面34aは内障子2の室外面近傍から外障子3の戸車7近傍に渡ると共に、内レール32や外レール21及び室内立ち上がり片23の上端位置と略同じ高さとなるように形成されている。
中間上面材34を下枠11に固定するため、上面被覆部材26の室外端部上面には上面材取付部品35が設けられる。上面材取付部品35は、樹脂材からなる小片状の部品として形成されており、下枠11の長手方向に沿って所定間隔おきに複数が設けられる。上面材取付部品35は、下枠11に対して取付けられる基部35aを有すると共に、その上面には中間上面材34を固定するための係合片35bが設けられる。
上面材取付部品35の下面には、上面被覆部材26及び内レール部材30の室外端部によって形成される凹部29に係合する下面係合部35dが室内側を向くように形成されている。また、上面材取付部品35の室外面には、逆J字状の弾性係合部35cが形成されている。弾性係合部35cは、薄板状に形成されているので、室内外方向に弾性を有しており、その先端が外レール21の上端近傍に形成された鍔部21aに係合することにより、上面材取付部品35を室内側に付勢された状態とする。これにより、下面係合部35dは凹部29側に押しつけられて、上面材取付部品35が下枠11に固定された状態となる。
中間上面材34は下面に取付部34bを有しており、この取付部34bが上面材取付部品35の係合片35bと係合することにより、中間上面材34が上面材取付部品35に対して固定される。中間上面材34は、各上面材取付部品35と係合されることにより、長手方向に沿って複数個所で下枠11に対して固定される。
金属下枠20の室内側面を被覆するように設けられる室内面被覆部材27は、金属下枠20の室内側面を覆う室内面被覆部27aと、その上端から室内側に向かって延出されるアングル構成部27bとが一体的に形成されて断面略L字状をなすように形成されている。アングル構成部27bは、枠体1の室内側に設けられる床材(図示しない)の上面に当接してネジ止めされ、さらにその上面にはアングルカバー材14が設けられる。
内レール32と室内立ち上がり片23の間の領域には、室内上面材33が設けられる。室内上面材33は金属材からなり略薄板状をなすように形成される。室内上面材33の室外端部は、内レール32の上端近傍に形成される鍔部32aに係合し、一方で室内上面材33の室内端部は、上面被覆部材26を構成する立ち上がり被覆部26bの上端部分と係合する。
そして、室内上面材33は、立ち上がり被覆部26bが被覆する立ち上がり片23に対しては、接触しないようにされている。これにより、室内上面材33は金属下枠20に対しては熱絶縁された状態となっている。また、室内上面材33は、立ち上がり被覆部26bの上端部分と内レール32の上端近傍の鍔部32aにそれぞれ係合し取付けられているため、その上面33aは内レール32や室内立ち上がり片23の上端位置と略同じ高さとなっている。
このように、内レール32と室内立ち上がり片23の間に金属材からなる室内上面材33を設け、室内上面材33を金属下枠20から熱絶縁されるように固定することで、下枠11上面の強度を大きくしつつ、断熱性も確保することができる。また、室内上面材33が取付けられる内レール部材30も、前述のように金属下枠20からは熱絶縁されているので、より断熱性の高い下枠フラットサッシとすることができる。
なお、室内上面材33は、本実施形態では室内端部が樹脂下枠25を構成する上面被覆部材26の立ち上がり被覆部26bの上端と係合し固定されているが、金属下枠20と熱絶縁されていれば、樹脂下枠25を構成する室内面被覆部材27に対して係合固定するようにしてもよい。この場合には、室内上面材33が立ち上がり片23の上方を接触しないように跨ぐ必要があるので、立ち上がり片23の高さを若干低くする必要がある。
金属下枠20の外レール21と網戸レール22の間には、室外上面材36が取付けられる。室外上面材36は、金属下枠20の上面及び網戸レール22の室内面にそれぞれ係合して固定されており、上面36aは内レール32や外レール21の上端位置と略同じ高さを有すると共に、網戸4の室内面近傍から外障子3の室外面近傍に渡るように形成されている。
室外上面材36の上面36aと中間上面材34の上面34a、及び室内上面材33の上面33aは、これまで説明したようにいずれも網戸レール22、外レール21、内レール32、及び室内立ち上がり片23の上端位置と略同じ高さを有しており、しかもこれらの高さは枠体1の室内側の床材と略同じ高さを有している。これによって下枠11の上面は、全体として室内外に渡って略平坦な敷居面13を構成している。
内障子2と外障子3は、それぞれ室外面が敷居面13よりも下方まで垂下されており、その垂下部分にはそれぞれ気密材2a、3aが設けられている。内障子2の気密材2aは、内レール32の室外面に当接し、外障子3の気密材3aは、外レール21の室外面に当接し、それぞれ内障子2及び外障子3と枠体1間の気密性を確保している。また、中間上面材34には室内面に気密材34cが設けられており、この気密材34cが内障子2の室外面に当接することで、気密性をより高くしている。
以上、本発明の実施形態について説明したが、本発明の適用は本実施形態には限られず、その技術的思想の範囲内において様々に適用されうるものである。
本実施形態における下枠フラットサッシの縦断面図である。 本実施形態における下枠フラットサッシの横断面図である。 図1の下枠付近拡大図である。 下枠の分解断面図である。
符号の説明
1 枠体
2 内障子
3 外障子
4 網戸
5 框体
6 パネル体
7 戸車
10 上枠
11 下枠
12 縦枠
13 敷居面
20 金属下枠
21 外レール
22 網戸レール
23 室内立ち上がり片
24 樹脂枠係合片
25 樹脂下枠
26 上面被覆部材
26a 上面被覆部
26b 立ち上がり被覆部
26c 内レール係合部
27 室内面被覆部材
27a 室内面被覆部
27b アングル構成部
29 凹部
30 内レール部材
31 基部
32 内レール
33 室内上面材
34 中間上面材
35 上面材取付部品

Claims (4)

  1. 建物開口部に設けられる枠体内に内外障子を引き違い状に納め、前記枠体は金属枠の室内側露出面に樹脂枠を設けてなると共に、前記枠体を構成する下枠は前記内外障子を案内する内外レールの上端を含む敷居面が略平坦状に形成された下枠フラットサッシにおいて、
    前記下枠を構成する金属下枠は、前記外レールを一体的に有すると共に、室内側端部に前記内外レールと略同じ高さの室内立ち上がり片を有し、前記内レールは前記金属下枠とは別体の内レール部材に形成され、
    前記下枠を構成する樹脂下枠は、前記金属下枠の外レールより室内側の上面を覆う上面被覆部と、前記室内立ち上がり片の室外側面を覆う立ち上がり被覆部とを連続状に有してなる上面被覆部材と、前記室内立ち上がり片の室内側面を覆う室内面被覆部材とを有し、
    前記内レールを有した内レール部材が前記上面被覆部材の上面被覆部上に載置されて前記金属下枠に対し固定され、該固定された前記内レール部材から前記上面被覆部材の立ち上がり被覆部または前記室内面被覆部材に渡って、金属製の室内上面材が設けられ、
    前記内レール部材と室内上面材は、いずれも前記金属下枠から熱絶縁されてなることを特徴とする下枠フラットサッシ。
  2. 前記内レール部材は前記上面被覆部に載置される基部と、該基部から突出状に形成される前記内レールとを有し、該内レールの室内面上端近傍には前記室内上面材を係合させる鍔部が形成されることを特徴とする請求項1記載の下枠フラットサッシ。
  3. 前記上面被覆部材を構成する立ち上がり被覆部は上端部に前記室内上面材を係合可能としてなることを特徴とする請求項2記載の下枠フラットサッシ。
  4. 前記室内上面材は室外端部が前記鍔部に係合し、室内端部が前記立ち上がり被覆部の上端部に係合し、それ以外の部分が他の部材に接触しないことにより、前記金属下枠から熱絶縁されることを特徴とする請求項3記載の下枠フラットサッシ。
JP2008237841A 2008-09-17 2008-09-17 下枠フラットサッシ Active JP5073625B2 (ja)

Priority Applications (1)

Application Number Priority Date Filing Date Title
JP2008237841A JP5073625B2 (ja) 2008-09-17 2008-09-17 下枠フラットサッシ

Applications Claiming Priority (1)

Application Number Priority Date Filing Date Title
JP2008237841A JP5073625B2 (ja) 2008-09-17 2008-09-17 下枠フラットサッシ

Publications (2)

Publication Number Publication Date
JP2010070942A JP2010070942A (ja) 2010-04-02
JP5073625B2 true JP5073625B2 (ja) 2012-11-14

Family

ID=42202984

Family Applications (1)

Application Number Title Priority Date Filing Date
JP2008237841A Active JP5073625B2 (ja) 2008-09-17 2008-09-17 下枠フラットサッシ

Country Status (1)

Country Link
JP (1) JP5073625B2 (ja)

Families Citing this family (6)

* Cited by examiner, † Cited by third party
Publication number Priority date Publication date Assignee Title
JP5185804B2 (ja) * 2008-12-26 2013-04-17 Ykk Ap株式会社 建具
JP2017066747A (ja) * 2015-09-30 2017-04-06 株式会社Lixil 複合建具
JP6857556B2 (ja) * 2017-06-08 2021-04-14 不二サッシ株式会社 窓枠用下枠
JP6701318B2 (ja) * 2018-12-26 2020-05-27 Ykk Ap株式会社 建具
JP7134203B2 (ja) * 2020-09-01 2022-09-09 株式会社Lixil サッシ窓の気密/断熱構造
JP7765943B2 (ja) * 2021-10-22 2025-11-07 株式会社Lixil 建具

Family Cites Families (3)

* Cited by examiner, † Cited by third party
Publication number Priority date Publication date Assignee Title
JPS59190870U (ja) * 1983-05-18 1984-12-18 新日軽株式会社 断熱窓枠
JP2844320B2 (ja) * 1994-12-21 1999-01-06 ワイケイケイアーキテクチュラルプロダクツ株式会社 引違い窓の窓枠
JP3079361B2 (ja) * 1997-01-08 2000-08-21 トステム株式会社 引違いサッシ

Also Published As

Publication number Publication date
JP2010070942A (ja) 2010-04-02

Similar Documents

Publication Publication Date Title
JP5073625B2 (ja) 下枠フラットサッシ
JP2009299440A (ja) サッシ
KR101426711B1 (ko) 창호용 기밀 보강유닛
JP2011214283A (ja) 複合サッシの枠体
JP2017095909A (ja) 片引き窓
JP2016070030A (ja) 断熱サッシ
JP4027920B2 (ja) 樹脂サッシ
JP4594723B2 (ja) 複合サッシの枠体
JP5621123B2 (ja) サッシ
JP4959656B2 (ja) 下枠フラットサッシ
JP2009084823A (ja) サッシ下枠及びサッシ
JP2010070943A (ja) 下枠フラットサッシ
JP2010007410A (ja) 下枠フラットサッシ
KR101917584B1 (ko) 난간
JP5235131B2 (ja) 下枠フラットサッシ
JP2023123840A5 (ja) サッシ窓
JP5306716B2 (ja) 下枠フラットサッシ
JP4709553B2 (ja) 複合サッシの枠体
JP5419789B2 (ja) ドア
KR101818444B1 (ko) 창문 프레임 결합 구조
JP4803526B2 (ja) 下枠フラットサッシ
JP6623034B2 (ja) サッシ
JP5419790B2 (ja) ドア
JP4637806B2 (ja) 出入口サッシ
JP4989562B2 (ja) 下枠フラットサッシ

Legal Events

Date Code Title Description
A621 Written request for application examination

Free format text: JAPANESE INTERMEDIATE CODE: A621

Effective date: 20101209

A711 Notification of change in applicant

Free format text: JAPANESE INTERMEDIATE CODE: A712

Effective date: 20110520

A131 Notification of reasons for refusal

Free format text: JAPANESE INTERMEDIATE CODE: A131

Effective date: 20120306

A521 Written amendment

Free format text: JAPANESE INTERMEDIATE CODE: A523

Effective date: 20120427

TRDD Decision of grant or rejection written
A01 Written decision to grant a patent or to grant a registration (utility model)

Free format text: JAPANESE INTERMEDIATE CODE: A01

Effective date: 20120813

A01 Written decision to grant a patent or to grant a registration (utility model)

Free format text: JAPANESE INTERMEDIATE CODE: A01

A61 First payment of annual fees (during grant procedure)

Free format text: JAPANESE INTERMEDIATE CODE: A61

Effective date: 20120822

R150 Certificate of patent or registration of utility model

Ref document number: 5073625

Country of ref document: JP

Free format text: JAPANESE INTERMEDIATE CODE: R150

Free format text: JAPANESE INTERMEDIATE CODE: R150

FPAY Renewal fee payment (event date is renewal date of database)

Free format text: PAYMENT UNTIL: 20150831

Year of fee payment: 3

S111 Request for change of ownership or part of ownership

Free format text: JAPANESE INTERMEDIATE CODE: R313111

R350 Written notification of registration of transfer

Free format text: JAPANESE INTERMEDIATE CODE: R350