JP5064682B2 - 吸収体およびそれが用いられた吸収性物品 - Google Patents
吸収体およびそれが用いられた吸収性物品 Download PDFInfo
- Publication number
- JP5064682B2 JP5064682B2 JP2005506966A JP2005506966A JP5064682B2 JP 5064682 B2 JP5064682 B2 JP 5064682B2 JP 2005506966 A JP2005506966 A JP 2005506966A JP 2005506966 A JP2005506966 A JP 2005506966A JP 5064682 B2 JP5064682 B2 JP 5064682B2
- Authority
- JP
- Japan
- Prior art keywords
- water
- weight
- absorbent resin
- physiological saline
- absorbent
- Prior art date
- Legal status (The legal status is an assumption and is not a legal conclusion. Google has not performed a legal analysis and makes no representation as to the accuracy of the status listed.)
- Expired - Fee Related
Links
- 239000002250 absorbent Substances 0.000 title claims description 229
- 230000002745 absorbent Effects 0.000 title claims description 163
- 239000006096 absorbing agent Substances 0.000 title claims description 18
- 229920005989 resin Polymers 0.000 claims description 160
- 239000011347 resin Substances 0.000 claims description 160
- XLYOFNOQVPJJNP-UHFFFAOYSA-N water Substances O XLYOFNOQVPJJNP-UHFFFAOYSA-N 0.000 claims description 143
- 238000010521 absorption reaction Methods 0.000 claims description 72
- 239000002504 physiological saline solution Substances 0.000 claims description 66
- 239000007788 liquid Substances 0.000 claims description 33
- FAPWRFPIFSIZLT-UHFFFAOYSA-M Sodium chloride Chemical compound [Na+].[Cl-] FAPWRFPIFSIZLT-UHFFFAOYSA-M 0.000 claims description 31
- 239000007864 aqueous solution Substances 0.000 claims description 31
- 239000002245 particle Substances 0.000 claims description 28
- 239000011780 sodium chloride Substances 0.000 claims description 27
- 229920000742 Cotton Polymers 0.000 claims description 18
- 238000000691 measurement method Methods 0.000 claims description 13
- 239000000835 fiber Substances 0.000 claims description 11
- 238000005259 measurement Methods 0.000 claims description 9
- 230000014759 maintenance of location Effects 0.000 claims description 7
- 230000001186 cumulative effect Effects 0.000 claims description 6
- 239000000203 mixture Substances 0.000 claims description 6
- 238000006386 neutralization reaction Methods 0.000 claims description 5
- 229920000058 polyacrylate Polymers 0.000 claims description 4
- 230000018044 dehydration Effects 0.000 claims description 3
- 238000006297 dehydration reaction Methods 0.000 claims description 3
- 229920001971 elastomer Polymers 0.000 claims description 3
- 239000005060 rubber Substances 0.000 claims description 3
- 238000004519 manufacturing process Methods 0.000 description 44
- 239000000178 monomer Substances 0.000 description 43
- -1 polyethylene Polymers 0.000 description 43
- 238000006116 polymerization reaction Methods 0.000 description 43
- 239000007870 radical polymerization initiator Substances 0.000 description 24
- 239000003431 cross linking reagent Substances 0.000 description 22
- 238000000034 method Methods 0.000 description 20
- LXEKPEMOWBOYRF-UHFFFAOYSA-N [2-[(1-azaniumyl-1-imino-2-methylpropan-2-yl)diazenyl]-2-methylpropanimidoyl]azanium;dichloride Chemical compound Cl.Cl.NC(=N)C(C)(C)N=NC(C)(C)C(N)=N LXEKPEMOWBOYRF-UHFFFAOYSA-N 0.000 description 16
- UWFRVQVNYNPBEF-UHFFFAOYSA-N 1-(2,4-dimethylphenyl)propan-1-one Chemical compound CCC(=O)C1=CC=C(C)C=C1C UWFRVQVNYNPBEF-UHFFFAOYSA-N 0.000 description 14
- 229910052751 metal Inorganic materials 0.000 description 13
- 239000002184 metal Substances 0.000 description 13
- IMNFDUFMRHMDMM-UHFFFAOYSA-N N-Heptane Chemical compound CCCCCCC IMNFDUFMRHMDMM-UHFFFAOYSA-N 0.000 description 12
- 229940048053 acrylate Drugs 0.000 description 12
- 238000004132 cross linking Methods 0.000 description 12
- NIXOWILDQLNWCW-UHFFFAOYSA-M Acrylate Chemical compound [O-]C(=O)C=C NIXOWILDQLNWCW-UHFFFAOYSA-M 0.000 description 11
- 239000012986 chain transfer agent Substances 0.000 description 10
- 239000011521 glass Substances 0.000 description 9
- 210000002700 urine Anatomy 0.000 description 9
- SMZOUWXMTYCWNB-UHFFFAOYSA-N 2-(2-methoxy-5-methylphenyl)ethanamine Chemical compound COC1=CC=C(C)C=C1CCN SMZOUWXMTYCWNB-UHFFFAOYSA-N 0.000 description 7
- NIXOWILDQLNWCW-UHFFFAOYSA-N 2-Propenoic acid Natural products OC(=O)C=C NIXOWILDQLNWCW-UHFFFAOYSA-N 0.000 description 7
- PEDCQBHIVMGVHV-UHFFFAOYSA-N Glycerine Chemical compound OCC(O)CO PEDCQBHIVMGVHV-UHFFFAOYSA-N 0.000 description 7
- 229920003171 Poly (ethylene oxide) Polymers 0.000 description 7
- 239000004698 Polyethylene Substances 0.000 description 7
- 229920000573 polyethylene Polymers 0.000 description 7
- USHAGKDGDHPEEY-UHFFFAOYSA-L potassium persulfate Chemical compound [K+].[K+].[O-]S(=O)(=O)OOS([O-])(=O)=O USHAGKDGDHPEEY-UHFFFAOYSA-L 0.000 description 7
- 239000003381 stabilizer Substances 0.000 description 7
- XEEYBQQBJWHFJM-UHFFFAOYSA-N Iron Chemical compound [Fe] XEEYBQQBJWHFJM-UHFFFAOYSA-N 0.000 description 6
- HEMHJVSKTPXQMS-UHFFFAOYSA-M Sodium hydroxide Chemical compound [OH-].[Na+] HEMHJVSKTPXQMS-UHFFFAOYSA-M 0.000 description 6
- 230000007423 decrease Effects 0.000 description 6
- 235000014113 dietary fatty acids Nutrition 0.000 description 6
- RTZKZFJDLAIYFH-UHFFFAOYSA-N ether Substances CCOCC RTZKZFJDLAIYFH-UHFFFAOYSA-N 0.000 description 6
- 239000000194 fatty acid Substances 0.000 description 6
- 229930195729 fatty acid Natural products 0.000 description 6
- 230000002829 reductive effect Effects 0.000 description 6
- 150000003839 salts Chemical class 0.000 description 6
- 239000000243 solution Substances 0.000 description 6
- IJGRMHOSHXDMSA-UHFFFAOYSA-N Atomic nitrogen Chemical compound N#N IJGRMHOSHXDMSA-UHFFFAOYSA-N 0.000 description 5
- LYCAIKOWRPUZTN-UHFFFAOYSA-N Ethylene glycol Chemical compound OCCO LYCAIKOWRPUZTN-UHFFFAOYSA-N 0.000 description 5
- 239000000084 colloidal system Substances 0.000 description 5
- 150000002739 metals Chemical class 0.000 description 5
- 229920000642 polymer Polymers 0.000 description 5
- 230000001681 protective effect Effects 0.000 description 5
- 239000000126 substance Substances 0.000 description 5
- 239000004094 surface-active agent Substances 0.000 description 5
- HRPVXLWXLXDGHG-UHFFFAOYSA-N Acrylamide Chemical compound NC(=O)C=C HRPVXLWXLXDGHG-UHFFFAOYSA-N 0.000 description 4
- 239000004677 Nylon Substances 0.000 description 4
- ZJCCRDAZUWHFQH-UHFFFAOYSA-N Trimethylolpropane Chemical compound CCC(CO)(CO)CO ZJCCRDAZUWHFQH-UHFFFAOYSA-N 0.000 description 4
- 238000006243 chemical reaction Methods 0.000 description 4
- 230000000052 comparative effect Effects 0.000 description 4
- 238000009792 diffusion process Methods 0.000 description 4
- 229910052757 nitrogen Inorganic materials 0.000 description 4
- 229920001778 nylon Polymers 0.000 description 4
- 239000003960 organic solvent Substances 0.000 description 4
- 229920001223 polyethylene glycol Polymers 0.000 description 4
- 230000002441 reversible effect Effects 0.000 description 4
- GEHJYWRUCIMESM-UHFFFAOYSA-L sodium sulfite Chemical compound [Na+].[Na+].[O-]S([O-])=O GEHJYWRUCIMESM-UHFFFAOYSA-L 0.000 description 4
- 239000002904 solvent Substances 0.000 description 4
- 238000010558 suspension polymerization method Methods 0.000 description 4
- UHOVQNZJYSORNB-UHFFFAOYSA-N Benzene Chemical compound C1=CC=CC=C1 UHOVQNZJYSORNB-UHFFFAOYSA-N 0.000 description 3
- 206010021639 Incontinence Diseases 0.000 description 3
- DNIAPMSPPWPWGF-UHFFFAOYSA-N Propylene glycol Chemical compound CC(O)CO DNIAPMSPPWPWGF-UHFFFAOYSA-N 0.000 description 3
- 229920001131 Pulp (paper) Polymers 0.000 description 3
- YXFVVABEGXRONW-UHFFFAOYSA-N Toluene Chemical compound CC1=CC=CC=C1 YXFVVABEGXRONW-UHFFFAOYSA-N 0.000 description 3
- 239000004359 castor oil Substances 0.000 description 3
- 235000019438 castor oil Nutrition 0.000 description 3
- MTHSVFCYNBDYFN-UHFFFAOYSA-N diethylene glycol Chemical compound OCCOCCO MTHSVFCYNBDYFN-UHFFFAOYSA-N 0.000 description 3
- 229910001873 dinitrogen Inorganic materials 0.000 description 3
- 238000001035 drying Methods 0.000 description 3
- 230000000694 effects Effects 0.000 description 3
- 235000011187 glycerol Nutrition 0.000 description 3
- ZEMPKEQAKRGZGQ-XOQCFJPHSA-N glycerol triricinoleate Natural products CCCCCC[C@@H](O)CC=CCCCCCCCC(=O)OC[C@@H](COC(=O)CCCCCCCC=CC[C@@H](O)CCCCCC)OC(=O)CCCCCCCC=CC[C@H](O)CCCCCC ZEMPKEQAKRGZGQ-XOQCFJPHSA-N 0.000 description 3
- 229910052742 iron Inorganic materials 0.000 description 3
- 230000000379 polymerizing effect Effects 0.000 description 3
- 229920006395 saturated elastomer Polymers 0.000 description 3
- 229920003002 synthetic resin Polymers 0.000 description 3
- 239000000057 synthetic resin Substances 0.000 description 3
- OZAIFHULBGXAKX-UHFFFAOYSA-N 2-(2-cyanopropan-2-yldiazenyl)-2-methylpropanenitrile Chemical compound N#CC(C)(C)N=NC(C)(C)C#N OZAIFHULBGXAKX-UHFFFAOYSA-N 0.000 description 2
- QTBSBXVTEAMEQO-UHFFFAOYSA-M Acetate Chemical compound CC([O-])=O QTBSBXVTEAMEQO-UHFFFAOYSA-M 0.000 description 2
- CIWBSHSKHKDKBQ-JLAZNSOCSA-N Ascorbic acid Chemical compound OC[C@H](O)[C@H]1OC(=O)C(O)=C1O CIWBSHSKHKDKBQ-JLAZNSOCSA-N 0.000 description 2
- 229920003043 Cellulose fiber Polymers 0.000 description 2
- RYGMFSIKBFXOCR-UHFFFAOYSA-N Copper Chemical compound [Cu] RYGMFSIKBFXOCR-UHFFFAOYSA-N 0.000 description 2
- XDTMQSROBMDMFD-UHFFFAOYSA-N Cyclohexane Chemical compound C1CCCCC1 XDTMQSROBMDMFD-UHFFFAOYSA-N 0.000 description 2
- RGSFGYAAUTVSQA-UHFFFAOYSA-N Cyclopentane Chemical compound C1CCCC1 RGSFGYAAUTVSQA-UHFFFAOYSA-N 0.000 description 2
- VZCYOOQTPOCHFL-OWOJBTEDSA-N Fumaric acid Chemical compound OC(=O)\C=C\C(O)=O VZCYOOQTPOCHFL-OWOJBTEDSA-N 0.000 description 2
- KFZMGEQAYNKOFK-UHFFFAOYSA-N Isopropanol Chemical compound CC(C)O KFZMGEQAYNKOFK-UHFFFAOYSA-N 0.000 description 2
- CERQOIWHTDAKMF-UHFFFAOYSA-N Methacrylic acid Chemical compound CC(=C)C(O)=O CERQOIWHTDAKMF-UHFFFAOYSA-N 0.000 description 2
- PXHVJJICTQNCMI-UHFFFAOYSA-N Nickel Chemical compound [Ni] PXHVJJICTQNCMI-UHFFFAOYSA-N 0.000 description 2
- KDLHZDBZIXYQEI-UHFFFAOYSA-N Palladium Chemical compound [Pd] KDLHZDBZIXYQEI-UHFFFAOYSA-N 0.000 description 2
- OFBQJSOFQDEBGM-UHFFFAOYSA-N Pentane Chemical compound CCCCC OFBQJSOFQDEBGM-UHFFFAOYSA-N 0.000 description 2
- 239000004952 Polyamide Substances 0.000 description 2
- 239000004743 Polypropylene Substances 0.000 description 2
- ZTHYODDOHIVTJV-UHFFFAOYSA-N Propyl gallate Chemical compound CCCOC(=O)C1=CC(O)=C(O)C(O)=C1 ZTHYODDOHIVTJV-UHFFFAOYSA-N 0.000 description 2
- 229930006000 Sucrose Natural products 0.000 description 2
- 229910052783 alkali metal Inorganic materials 0.000 description 2
- 230000000903 blocking effect Effects 0.000 description 2
- WQAQPCDUOCURKW-UHFFFAOYSA-N butanethiol Chemical compound CCCCS WQAQPCDUOCURKW-UHFFFAOYSA-N 0.000 description 2
- 125000003178 carboxy group Chemical group [H]OC(*)=O 0.000 description 2
- 150000001875 compounds Chemical class 0.000 description 2
- 238000001816 cooling Methods 0.000 description 2
- 229920001577 copolymer Polymers 0.000 description 2
- 229910052802 copper Inorganic materials 0.000 description 2
- 239000010949 copper Substances 0.000 description 2
- 238000004821 distillation Methods 0.000 description 2
- 239000012153 distilled water Substances 0.000 description 2
- DNJIEGIFACGWOD-UHFFFAOYSA-N ethanethiol Chemical compound CCS DNJIEGIFACGWOD-UHFFFAOYSA-N 0.000 description 2
- 238000010528 free radical solution polymerization reaction Methods 0.000 description 2
- LNTHITQWFMADLM-UHFFFAOYSA-N gallic acid Chemical compound OC(=O)C1=CC(O)=C(O)C(O)=C1 LNTHITQWFMADLM-UHFFFAOYSA-N 0.000 description 2
- 235000020256 human milk Nutrition 0.000 description 2
- 210000004251 human milk Anatomy 0.000 description 2
- 239000000463 material Substances 0.000 description 2
- 150000002736 metal compounds Chemical class 0.000 description 2
- BDAGIHXWWSANSR-UHFFFAOYSA-N methanoic acid Natural products OC=O BDAGIHXWWSANSR-UHFFFAOYSA-N 0.000 description 2
- UAEPNZWRGJTJPN-UHFFFAOYSA-N methylcyclohexane Chemical compound CC1CCCCC1 UAEPNZWRGJTJPN-UHFFFAOYSA-N 0.000 description 2
- GDOPTJXRTPNYNR-UHFFFAOYSA-N methylcyclopentane Chemical compound CC1CCCC1 GDOPTJXRTPNYNR-UHFFFAOYSA-N 0.000 description 2
- 238000002156 mixing Methods 0.000 description 2
- ZIUHHBKFKCYYJD-UHFFFAOYSA-N n,n'-methylenebisacrylamide Chemical compound C=CC(=O)NCNC(=O)C=C ZIUHHBKFKCYYJD-UHFFFAOYSA-N 0.000 description 2
- VLKZOEOYAKHREP-UHFFFAOYSA-N n-Hexane Chemical compound CCCCCC VLKZOEOYAKHREP-UHFFFAOYSA-N 0.000 description 2
- QYZFTMMPKCOTAN-UHFFFAOYSA-N n-[2-(2-hydroxyethylamino)ethyl]-2-[[1-[2-(2-hydroxyethylamino)ethylamino]-2-methyl-1-oxopropan-2-yl]diazenyl]-2-methylpropanamide Chemical compound OCCNCCNC(=O)C(C)(C)N=NC(C)(C)C(=O)NCCNCCO QYZFTMMPKCOTAN-UHFFFAOYSA-N 0.000 description 2
- QJGQUHMNIGDVPM-UHFFFAOYSA-N nitrogen group Chemical group [N] QJGQUHMNIGDVPM-UHFFFAOYSA-N 0.000 description 2
- 239000004745 nonwoven fabric Substances 0.000 description 2
- 239000003921 oil Substances 0.000 description 2
- 230000035515 penetration Effects 0.000 description 2
- BASFCYQUMIYNBI-UHFFFAOYSA-N platinum Chemical compound [Pt] BASFCYQUMIYNBI-UHFFFAOYSA-N 0.000 description 2
- 229920002647 polyamide Polymers 0.000 description 2
- 229920000728 polyester Polymers 0.000 description 2
- 229920001155 polypropylene Polymers 0.000 description 2
- 238000002360 preparation method Methods 0.000 description 2
- SUVIGLJNEAMWEG-UHFFFAOYSA-N propane-1-thiol Chemical compound CCCS SUVIGLJNEAMWEG-UHFFFAOYSA-N 0.000 description 2
- 230000009257 reactivity Effects 0.000 description 2
- 238000010992 reflux Methods 0.000 description 2
- 239000002002 slurry Substances 0.000 description 2
- 235000010265 sodium sulphite Nutrition 0.000 description 2
- 238000003756 stirring Methods 0.000 description 2
- 239000005720 sucrose Substances 0.000 description 2
- 229920002994 synthetic fiber Polymers 0.000 description 2
- 239000012209 synthetic fiber Substances 0.000 description 2
- CWERGRDVMFNCDR-UHFFFAOYSA-N thioglycolic acid Chemical compound OC(=O)CS CWERGRDVMFNCDR-UHFFFAOYSA-N 0.000 description 2
- VZCYOOQTPOCHFL-UHFFFAOYSA-N trans-butenedioic acid Natural products OC(=O)C=CC(O)=O VZCYOOQTPOCHFL-UHFFFAOYSA-N 0.000 description 2
- 229910052723 transition metal Inorganic materials 0.000 description 2
- 150000003624 transition metals Chemical class 0.000 description 2
- HVLLSGMXQDNUAL-UHFFFAOYSA-N triphenyl phosphite Chemical compound C=1C=CC=CC=1OP(OC=1C=CC=CC=1)OC1=CC=CC=C1 HVLLSGMXQDNUAL-UHFFFAOYSA-N 0.000 description 2
- PQUXFUBNSYCQAL-UHFFFAOYSA-N 1-(2,3-difluorophenyl)ethanone Chemical compound CC(=O)C1=CC=CC(F)=C1F PQUXFUBNSYCQAL-UHFFFAOYSA-N 0.000 description 1
- XDOFQFKRPWOURC-UHFFFAOYSA-N 16-methylheptadecanoic acid Chemical compound CC(C)CCCCCCCCCCCCCCC(O)=O XDOFQFKRPWOURC-UHFFFAOYSA-N 0.000 description 1
- LCPVQAHEFVXVKT-UHFFFAOYSA-N 2-(2,4-difluorophenoxy)pyridin-3-amine Chemical compound NC1=CC=CN=C1OC1=CC=C(F)C=C1F LCPVQAHEFVXVKT-UHFFFAOYSA-N 0.000 description 1
- WWFGWFOXPLGSBE-UHFFFAOYSA-N 2-(2-carboxypropan-2-yldiazenyl)-2,3-dimethylbutanoic acid Chemical compound CC(C)C(C)(C(O)=O)N=NC(C)(C)C(O)=O WWFGWFOXPLGSBE-UHFFFAOYSA-N 0.000 description 1
- AVTLBBWTUPQRAY-UHFFFAOYSA-N 2-(2-cyanobutan-2-yldiazenyl)-2-methylbutanenitrile Chemical compound CCC(C)(C#N)N=NC(C)(CC)C#N AVTLBBWTUPQRAY-UHFFFAOYSA-N 0.000 description 1
- SYEWHONLFGZGLK-UHFFFAOYSA-N 2-[1,3-bis(oxiran-2-ylmethoxy)propan-2-yloxymethyl]oxirane Chemical compound C1OC1COCC(OCC1OC1)COCC1CO1 SYEWHONLFGZGLK-UHFFFAOYSA-N 0.000 description 1
- HDPLHDGYGLENEI-UHFFFAOYSA-N 2-[1-(oxiran-2-ylmethoxy)propan-2-yloxymethyl]oxirane Chemical compound C1OC1COC(C)COCC1CO1 HDPLHDGYGLENEI-UHFFFAOYSA-N 0.000 description 1
- PWKSKIMOESPYIA-UHFFFAOYSA-N 2-acetamido-3-sulfanylpropanoic acid Chemical compound CC(=O)NC(CS)C(O)=O PWKSKIMOESPYIA-UHFFFAOYSA-N 0.000 description 1
- 125000000954 2-hydroxyethyl group Chemical group [H]C([*])([H])C([H])([H])O[H] 0.000 description 1
- AUZRCMMVHXRSGT-UHFFFAOYSA-N 2-methylpropane-1-sulfonic acid;prop-2-enamide Chemical compound NC(=O)C=C.CC(C)CS(O)(=O)=O AUZRCMMVHXRSGT-UHFFFAOYSA-N 0.000 description 1
- NDAJNMAAXXIADY-UHFFFAOYSA-N 2-methylpropanimidamide Chemical compound CC(C)C(N)=N NDAJNMAAXXIADY-UHFFFAOYSA-N 0.000 description 1
- AGBXYHCHUYARJY-UHFFFAOYSA-N 2-phenylethenesulfonic acid Chemical compound OS(=O)(=O)C=CC1=CC=CC=C1 AGBXYHCHUYARJY-UHFFFAOYSA-N 0.000 description 1
- WOAMRAPSJUZQJV-UHFFFAOYSA-N 3-oxopent-4-ene-2-sulfonic acid Chemical compound OS(=O)(=O)C(C)C(=O)C=C WOAMRAPSJUZQJV-UHFFFAOYSA-N 0.000 description 1
- ATVJXMYDOSMEPO-UHFFFAOYSA-N 3-prop-2-enoxyprop-1-ene Chemical compound C=CCOCC=C ATVJXMYDOSMEPO-UHFFFAOYSA-N 0.000 description 1
- VFXXTYGQYWRHJP-UHFFFAOYSA-N 4,4'-azobis(4-cyanopentanoic acid) Chemical compound OC(=O)CCC(C)(C#N)N=NC(C)(CCC(O)=O)C#N VFXXTYGQYWRHJP-UHFFFAOYSA-N 0.000 description 1
- OSWFIVFLDKOXQC-UHFFFAOYSA-N 4-(3-methoxyphenyl)aniline Chemical compound COC1=CC=CC(C=2C=CC(N)=CC=2)=C1 OSWFIVFLDKOXQC-UHFFFAOYSA-N 0.000 description 1
- NLHHRLWOUZZQLW-UHFFFAOYSA-N Acrylonitrile Chemical compound C=CC#N NLHHRLWOUZZQLW-UHFFFAOYSA-N 0.000 description 1
- LSNNMFCWUKXFEE-UHFFFAOYSA-M Bisulfite Chemical compound OS([O-])=O LSNNMFCWUKXFEE-UHFFFAOYSA-M 0.000 description 1
- SGHZXLIDFTYFHQ-UHFFFAOYSA-L Brilliant Blue Chemical compound [Na+].[Na+].C=1C=C(C(=C2C=CC(C=C2)=[N+](CC)CC=2C=C(C=CC=2)S([O-])(=O)=O)C=2C(=CC=CC=2)S([O-])(=O)=O)C=CC=1N(CC)CC1=CC=CC(S([O-])(=O)=O)=C1 SGHZXLIDFTYFHQ-UHFFFAOYSA-L 0.000 description 1
- 239000004215 Carbon black (E152) Substances 0.000 description 1
- BVKZGUZCCUSVTD-UHFFFAOYSA-L Carbonate Chemical compound [O-]C([O-])=O BVKZGUZCCUSVTD-UHFFFAOYSA-L 0.000 description 1
- 229920002134 Carboxymethyl cellulose Polymers 0.000 description 1
- VYZAMTAEIAYCRO-UHFFFAOYSA-N Chromium Chemical compound [Cr] VYZAMTAEIAYCRO-UHFFFAOYSA-N 0.000 description 1
- ZZZCUOFIHGPKAK-UHFFFAOYSA-N D-erythro-ascorbic acid Natural products OCC1OC(=O)C(O)=C1O ZZZCUOFIHGPKAK-UHFFFAOYSA-N 0.000 description 1
- 229920002943 EPDM rubber Polymers 0.000 description 1
- 239000004593 Epoxy Substances 0.000 description 1
- IMROMDMJAWUWLK-UHFFFAOYSA-N Ethenol Chemical compound OC=C IMROMDMJAWUWLK-UHFFFAOYSA-N 0.000 description 1
- 229920000896 Ethulose Polymers 0.000 description 1
- 239000001856 Ethyl cellulose Substances 0.000 description 1
- ZZSNKZQZMQGXPY-UHFFFAOYSA-N Ethyl cellulose Chemical compound CCOCC1OC(OC)C(OCC)C(OCC)C1OC1C(O)C(O)C(OC)C(CO)O1 ZZSNKZQZMQGXPY-UHFFFAOYSA-N 0.000 description 1
- 239000001859 Ethyl hydroxyethyl cellulose Substances 0.000 description 1
- KRHYYFGTRYWZRS-UHFFFAOYSA-M Fluoride anion Chemical compound [F-] KRHYYFGTRYWZRS-UHFFFAOYSA-M 0.000 description 1
- GYHNNYVSQQEPJS-UHFFFAOYSA-N Gallium Chemical compound [Ga] GYHNNYVSQQEPJS-UHFFFAOYSA-N 0.000 description 1
- CTKINSOISVBQLD-UHFFFAOYSA-N Glycidol Chemical compound OCC1CO1 CTKINSOISVBQLD-UHFFFAOYSA-N 0.000 description 1
- DGAQECJNVWCQMB-PUAWFVPOSA-M Ilexoside XXIX Chemical compound C[C@@H]1CC[C@@]2(CC[C@@]3(C(=CC[C@H]4[C@]3(CC[C@@H]5[C@@]4(CC[C@@H](C5(C)C)OS(=O)(=O)[O-])C)C)[C@@H]2[C@]1(C)O)C)C(=O)O[C@H]6[C@@H]([C@H]([C@@H]([C@H](O6)CO)O)O)O.[Na+] DGAQECJNVWCQMB-PUAWFVPOSA-M 0.000 description 1
- VQTUBCCKSQIDNK-UHFFFAOYSA-N Isobutene Chemical group CC(C)=C VQTUBCCKSQIDNK-UHFFFAOYSA-N 0.000 description 1
- ZOKXTWBITQBERF-UHFFFAOYSA-N Molybdenum Chemical compound [Mo] ZOKXTWBITQBERF-UHFFFAOYSA-N 0.000 description 1
- 229910002651 NO3 Inorganic materials 0.000 description 1
- NHNBFGGVMKEFGY-UHFFFAOYSA-N Nitrate Chemical compound [O-][N+]([O-])=O NHNBFGGVMKEFGY-UHFFFAOYSA-N 0.000 description 1
- CTQNGGLPUBDAKN-UHFFFAOYSA-N O-Xylene Chemical compound CC1=CC=CC=C1C CTQNGGLPUBDAKN-UHFFFAOYSA-N 0.000 description 1
- MUBZPKHOEPUJKR-UHFFFAOYSA-N Oxalic acid Chemical compound OC(=O)C(O)=O MUBZPKHOEPUJKR-UHFFFAOYSA-N 0.000 description 1
- 229910019142 PO4 Inorganic materials 0.000 description 1
- RFFFKMOABOFIDF-UHFFFAOYSA-N Pentanenitrile Chemical compound CCCCC#N RFFFKMOABOFIDF-UHFFFAOYSA-N 0.000 description 1
- 239000005062 Polybutadiene Substances 0.000 description 1
- 239000002202 Polyethylene glycol Substances 0.000 description 1
- 239000004372 Polyvinyl alcohol Substances 0.000 description 1
- ZLMJMSJWJFRBEC-UHFFFAOYSA-N Potassium Chemical compound [K] ZLMJMSJWJFRBEC-UHFFFAOYSA-N 0.000 description 1
- OFOBLEOULBTSOW-UHFFFAOYSA-N Propanedioic acid Natural products OC(=O)CC(O)=O OFOBLEOULBTSOW-UHFFFAOYSA-N 0.000 description 1
- 229920000297 Rayon Polymers 0.000 description 1
- BQCADISMDOOEFD-UHFFFAOYSA-N Silver Chemical compound [Ag] BQCADISMDOOEFD-UHFFFAOYSA-N 0.000 description 1
- DWAQJAXMDSEUJJ-UHFFFAOYSA-M Sodium bisulfite Chemical compound [Na+].OS([O-])=O DWAQJAXMDSEUJJ-UHFFFAOYSA-M 0.000 description 1
- 229920002472 Starch Polymers 0.000 description 1
- QAOWNCQODCNURD-UHFFFAOYSA-L Sulfate Chemical compound [O-]S([O-])(=O)=O QAOWNCQODCNURD-UHFFFAOYSA-L 0.000 description 1
- LSNNMFCWUKXFEE-UHFFFAOYSA-N Sulfurous acid Chemical compound OS(O)=O LSNNMFCWUKXFEE-UHFFFAOYSA-N 0.000 description 1
- ZMZDMBWJUHKJPS-UHFFFAOYSA-M Thiocyanate anion Chemical compound [S-]C#N ZMZDMBWJUHKJPS-UHFFFAOYSA-M 0.000 description 1
- ATJFFYVFTNAWJD-UHFFFAOYSA-N Tin Chemical compound [Sn] ATJFFYVFTNAWJD-UHFFFAOYSA-N 0.000 description 1
- RTAQQCXQSZGOHL-UHFFFAOYSA-N Titanium Chemical compound [Ti] RTAQQCXQSZGOHL-UHFFFAOYSA-N 0.000 description 1
- GSEJCLTVZPLZKY-UHFFFAOYSA-N Triethanolamine Chemical compound OCCN(CCO)CCO GSEJCLTVZPLZKY-UHFFFAOYSA-N 0.000 description 1
- 229930003268 Vitamin C Natural products 0.000 description 1
- HCHKCACWOHOZIP-UHFFFAOYSA-N Zinc Chemical compound [Zn] HCHKCACWOHOZIP-UHFFFAOYSA-N 0.000 description 1
- QCWXUUIWCKQGHC-UHFFFAOYSA-N Zirconium Chemical compound [Zr] QCWXUUIWCKQGHC-UHFFFAOYSA-N 0.000 description 1
- KYIKRXIYLAGAKQ-UHFFFAOYSA-N abcn Chemical compound C1CCCCC1(C#N)N=NC1(C#N)CCCCC1 KYIKRXIYLAGAKQ-UHFFFAOYSA-N 0.000 description 1
- 239000002253 acid Substances 0.000 description 1
- 230000009471 action Effects 0.000 description 1
- 239000013543 active substance Substances 0.000 description 1
- 239000000853 adhesive Substances 0.000 description 1
- 230000001070 adhesive effect Effects 0.000 description 1
- 150000001298 alcohols Chemical class 0.000 description 1
- 150000001338 aliphatic hydrocarbons Chemical class 0.000 description 1
- 229910052784 alkaline earth metal Inorganic materials 0.000 description 1
- 125000005037 alkyl phenyl group Chemical group 0.000 description 1
- 229910052782 aluminium Inorganic materials 0.000 description 1
- XAGFODPZIPBFFR-UHFFFAOYSA-N aluminium Chemical compound [Al] XAGFODPZIPBFFR-UHFFFAOYSA-N 0.000 description 1
- ROOXNKNUYICQNP-UHFFFAOYSA-N ammonium peroxydisulfate Substances [NH4+].[NH4+].[O-]S(=O)(=O)OOS([O-])(=O)=O ROOXNKNUYICQNP-UHFFFAOYSA-N 0.000 description 1
- VAZSKTXWXKYQJF-UHFFFAOYSA-N ammonium persulfate Chemical compound [NH4+].[NH4+].[O-]S(=O)OOS([O-])=O VAZSKTXWXKYQJF-UHFFFAOYSA-N 0.000 description 1
- 229910001870 ammonium persulfate Inorganic materials 0.000 description 1
- 150000003863 ammonium salts Chemical class 0.000 description 1
- BFNBIHQBYMNNAN-UHFFFAOYSA-N ammonium sulfate Chemical compound N.N.OS(O)(=O)=O BFNBIHQBYMNNAN-UHFFFAOYSA-N 0.000 description 1
- 229910052921 ammonium sulfate Inorganic materials 0.000 description 1
- 235000011130 ammonium sulphate Nutrition 0.000 description 1
- 239000003945 anionic surfactant Substances 0.000 description 1
- 239000003963 antioxidant agent Substances 0.000 description 1
- 235000006708 antioxidants Nutrition 0.000 description 1
- 150000004945 aromatic hydrocarbons Chemical class 0.000 description 1
- QVGXLLKOCUKJST-UHFFFAOYSA-N atomic oxygen Chemical compound [O] QVGXLLKOCUKJST-UHFFFAOYSA-N 0.000 description 1
- 238000010533 azeotropic distillation Methods 0.000 description 1
- 239000008280 blood Substances 0.000 description 1
- 210000004369 blood Anatomy 0.000 description 1
- 150000003842 bromide salts Chemical class 0.000 description 1
- 238000012662 bulk polymerization Methods 0.000 description 1
- 229910052793 cadmium Inorganic materials 0.000 description 1
- BDOSMKKIYDKNTQ-UHFFFAOYSA-N cadmium atom Chemical compound [Cd] BDOSMKKIYDKNTQ-UHFFFAOYSA-N 0.000 description 1
- LLSDKQJKOVVTOJ-UHFFFAOYSA-L calcium chloride dihydrate Chemical compound O.O.[Cl-].[Cl-].[Ca+2] LLSDKQJKOVVTOJ-UHFFFAOYSA-L 0.000 description 1
- 229940052299 calcium chloride dihydrate Drugs 0.000 description 1
- 239000001768 carboxy methyl cellulose Substances 0.000 description 1
- 235000010948 carboxy methyl cellulose Nutrition 0.000 description 1
- 239000008112 carboxymethyl-cellulose Substances 0.000 description 1
- 230000008859 change Effects 0.000 description 1
- 239000003795 chemical substances by application Substances 0.000 description 1
- 150000003841 chloride salts Chemical class 0.000 description 1
- ZCDOYSPFYFSLEW-UHFFFAOYSA-N chromate(2-) Chemical class [O-][Cr]([O-])(=O)=O ZCDOYSPFYFSLEW-UHFFFAOYSA-N 0.000 description 1
- 229910052804 chromium Inorganic materials 0.000 description 1
- 239000011651 chromium Substances 0.000 description 1
- 229910017052 cobalt Inorganic materials 0.000 description 1
- 239000010941 cobalt Substances 0.000 description 1
- GUTLYIVDDKVIGB-UHFFFAOYSA-N cobalt atom Chemical compound [Co] GUTLYIVDDKVIGB-UHFFFAOYSA-N 0.000 description 1
- 239000002131 composite material Substances 0.000 description 1
- 239000011243 crosslinked material Substances 0.000 description 1
- 230000003247 decreasing effect Effects 0.000 description 1
- 230000006866 deterioration Effects 0.000 description 1
- 238000010586 diagram Methods 0.000 description 1
- ZBCBWPMODOFKDW-UHFFFAOYSA-N diethanolamine Chemical compound OCCNCCO ZBCBWPMODOFKDW-UHFFFAOYSA-N 0.000 description 1
- LMBWSYZSUOEYSN-UHFFFAOYSA-N diethyldithiocarbamic acid Chemical compound CCN(CC)C(S)=S LMBWSYZSUOEYSN-UHFFFAOYSA-N 0.000 description 1
- GYZLOYUZLJXAJU-UHFFFAOYSA-N diglycidyl ether Chemical compound C1OC1COCC1CO1 GYZLOYUZLJXAJU-UHFFFAOYSA-N 0.000 description 1
- MZGNSEAPZQGJRB-UHFFFAOYSA-N dimethyldithiocarbamic acid Chemical compound CN(C)C(S)=S MZGNSEAPZQGJRB-UHFFFAOYSA-N 0.000 description 1
- 150000002009 diols Chemical class 0.000 description 1
- 239000006185 dispersion Substances 0.000 description 1
- WNAHIZMDSQCWRP-UHFFFAOYSA-N dodecane-1-thiol Chemical compound CCCCCCCCCCCCS WNAHIZMDSQCWRP-UHFFFAOYSA-N 0.000 description 1
- POULHZVOKOAJMA-UHFFFAOYSA-M dodecanoate Chemical compound CCCCCCCCCCCC([O-])=O POULHZVOKOAJMA-UHFFFAOYSA-M 0.000 description 1
- 150000002170 ethers Chemical class 0.000 description 1
- 229920001249 ethyl cellulose Polymers 0.000 description 1
- 235000019325 ethyl cellulose Nutrition 0.000 description 1
- 235000019326 ethyl hydroxyethyl cellulose Nutrition 0.000 description 1
- 150000004665 fatty acids Chemical class 0.000 description 1
- 235000019253 formic acid Nutrition 0.000 description 1
- 239000001530 fumaric acid Substances 0.000 description 1
- 125000000524 functional group Chemical group 0.000 description 1
- 235000004515 gallic acid Nutrition 0.000 description 1
- 229940074391 gallic acid Drugs 0.000 description 1
- 229910052733 gallium Inorganic materials 0.000 description 1
- PCHJSUWPFVWCPO-UHFFFAOYSA-N gold Chemical compound [Au] PCHJSUWPFVWCPO-UHFFFAOYSA-N 0.000 description 1
- 229910052737 gold Inorganic materials 0.000 description 1
- 239000010931 gold Substances 0.000 description 1
- 229920000578 graft copolymer Polymers 0.000 description 1
- 238000000227 grinding Methods 0.000 description 1
- DMEGYFMYUHOHGS-UHFFFAOYSA-N heptamethylene Natural products C1CCCCCC1 DMEGYFMYUHOHGS-UHFFFAOYSA-N 0.000 description 1
- 229930195733 hydrocarbon Natural products 0.000 description 1
- ZMZDMBWJUHKJPS-UHFFFAOYSA-N hydrogen thiocyanate Natural products SC#N ZMZDMBWJUHKJPS-UHFFFAOYSA-N 0.000 description 1
- 150000004679 hydroxides Chemical class 0.000 description 1
- WGCNASOHLSPBMP-UHFFFAOYSA-N hydroxyacetaldehyde Natural products OCC=O WGCNASOHLSPBMP-UHFFFAOYSA-N 0.000 description 1
- 239000005457 ice water Substances 0.000 description 1
- 230000002401 inhibitory effect Effects 0.000 description 1
- 230000000977 initiatory effect Effects 0.000 description 1
- 239000007924 injection Substances 0.000 description 1
- 238000002347 injection Methods 0.000 description 1
- XMBWDFGMSWQBCA-UHFFFAOYSA-M iodide Chemical compound [I-] XMBWDFGMSWQBCA-UHFFFAOYSA-M 0.000 description 1
- 229940070765 laurate Drugs 0.000 description 1
- 229940050906 magnesium chloride hexahydrate Drugs 0.000 description 1
- DHRRIBDTHFBPNG-UHFFFAOYSA-L magnesium dichloride hexahydrate Chemical compound O.O.O.O.O.O.[Mg+2].[Cl-].[Cl-] DHRRIBDTHFBPNG-UHFFFAOYSA-L 0.000 description 1
- VZCYOOQTPOCHFL-UPHRSURJSA-N maleic acid Chemical compound OC(=O)\C=C/C(O)=O VZCYOOQTPOCHFL-UPHRSURJSA-N 0.000 description 1
- 239000011976 maleic acid Substances 0.000 description 1
- FPYJFEHAWHCUMM-UHFFFAOYSA-N maleic anhydride Chemical compound O=C1OC(=O)C=C1 FPYJFEHAWHCUMM-UHFFFAOYSA-N 0.000 description 1
- WPBNNNQJVZRUHP-UHFFFAOYSA-L manganese(2+);methyl n-[[2-(methoxycarbonylcarbamothioylamino)phenyl]carbamothioyl]carbamate;n-[2-(sulfidocarbothioylamino)ethyl]carbamodithioate Chemical compound [Mn+2].[S-]C(=S)NCCNC([S-])=S.COC(=O)NC(=S)NC1=CC=CC=C1NC(=S)NC(=O)OC WPBNNNQJVZRUHP-UHFFFAOYSA-L 0.000 description 1
- QSHDDOUJBYECFT-UHFFFAOYSA-N mercury Chemical compound [Hg] QSHDDOUJBYECFT-UHFFFAOYSA-N 0.000 description 1
- 229910052753 mercury Inorganic materials 0.000 description 1
- 125000005641 methacryl group Chemical group 0.000 description 1
- GYNNXHKOJHMOHS-UHFFFAOYSA-N methyl-cycloheptane Natural products CC1CCCCCC1 GYNNXHKOJHMOHS-UHFFFAOYSA-N 0.000 description 1
- 229910052750 molybdenum Inorganic materials 0.000 description 1
- 239000011733 molybdenum Substances 0.000 description 1
- CYTJMBLSQUBVMS-UHFFFAOYSA-N n-[[2-cyanopropan-2-yl(formyl)amino]hydrazinylidene]formamide Chemical compound N#CC(C)(C)N(C=O)NN=NC=O CYTJMBLSQUBVMS-UHFFFAOYSA-N 0.000 description 1
- 229910052759 nickel Inorganic materials 0.000 description 1
- 229910052758 niobium Inorganic materials 0.000 description 1
- 239000010955 niobium Substances 0.000 description 1
- GUCVJGMIXFAOAE-UHFFFAOYSA-N niobium atom Chemical compound [Nb] GUCVJGMIXFAOAE-UHFFFAOYSA-N 0.000 description 1
- 150000002825 nitriles Chemical class 0.000 description 1
- 239000002736 nonionic surfactant Substances 0.000 description 1
- 239000001301 oxygen Substances 0.000 description 1
- 229910052760 oxygen Inorganic materials 0.000 description 1
- 229910052763 palladium Inorganic materials 0.000 description 1
- 230000000149 penetrating effect Effects 0.000 description 1
- VLTRZXGMWDSKGL-UHFFFAOYSA-M perchlorate Inorganic materials [O-]Cl(=O)(=O)=O VLTRZXGMWDSKGL-UHFFFAOYSA-M 0.000 description 1
- VLTRZXGMWDSKGL-UHFFFAOYSA-N perchloric acid Chemical compound OCl(=O)(=O)=O VLTRZXGMWDSKGL-UHFFFAOYSA-N 0.000 description 1
- 230000035699 permeability Effects 0.000 description 1
- NBIIXXVUZAFLBC-UHFFFAOYSA-K phosphate Chemical compound [O-]P([O-])([O-])=O NBIIXXVUZAFLBC-UHFFFAOYSA-K 0.000 description 1
- 239000010452 phosphate Substances 0.000 description 1
- ACVYVLVWPXVTIT-UHFFFAOYSA-M phosphinate Chemical compound [O-][PH2]=O ACVYVLVWPXVTIT-UHFFFAOYSA-M 0.000 description 1
- ACVYVLVWPXVTIT-UHFFFAOYSA-N phosphinic acid Chemical compound O[PH2]=O ACVYVLVWPXVTIT-UHFFFAOYSA-N 0.000 description 1
- 229910052697 platinum Inorganic materials 0.000 description 1
- 229920002857 polybutadiene Polymers 0.000 description 1
- 229920000098 polyolefin Polymers 0.000 description 1
- 229920000259 polyoxyethylene lauryl ether Polymers 0.000 description 1
- 229920002451 polyvinyl alcohol Polymers 0.000 description 1
- 229920000915 polyvinyl chloride Polymers 0.000 description 1
- 239000004800 polyvinyl chloride Substances 0.000 description 1
- 239000011148 porous material Substances 0.000 description 1
- 229910052700 potassium Inorganic materials 0.000 description 1
- 239000011591 potassium Substances 0.000 description 1
- OTYBMLCTZGSZBG-UHFFFAOYSA-L potassium sulfate Chemical compound [K+].[K+].[O-]S([O-])(=O)=O OTYBMLCTZGSZBG-UHFFFAOYSA-L 0.000 description 1
- 229910052939 potassium sulfate Inorganic materials 0.000 description 1
- BHZRJJOHZFYXTO-UHFFFAOYSA-L potassium sulfite Chemical compound [K+].[K+].[O-]S([O-])=O BHZRJJOHZFYXTO-UHFFFAOYSA-L 0.000 description 1
- 235000011151 potassium sulphates Nutrition 0.000 description 1
- 235000019252 potassium sulphite Nutrition 0.000 description 1
- 239000000843 powder Substances 0.000 description 1
- 238000012673 precipitation polymerization Methods 0.000 description 1
- 238000003825 pressing Methods 0.000 description 1
- 125000002924 primary amino group Chemical group [H]N([H])* 0.000 description 1
- 235000010388 propyl gallate Nutrition 0.000 description 1
- 239000000473 propyl gallate Substances 0.000 description 1
- 229940075579 propyl gallate Drugs 0.000 description 1
- 238000010526 radical polymerization reaction Methods 0.000 description 1
- 239000002994 raw material Substances 0.000 description 1
- 239000002964 rayon Substances 0.000 description 1
- 230000035484 reaction time Effects 0.000 description 1
- 239000012779 reinforcing material Substances 0.000 description 1
- RMAQACBXLXPBSY-UHFFFAOYSA-N silicic acid Chemical compound O[Si](O)(O)O RMAQACBXLXPBSY-UHFFFAOYSA-N 0.000 description 1
- FVBUAEGBCNSCDD-UHFFFAOYSA-N silicide(4-) Chemical class [Si-4] FVBUAEGBCNSCDD-UHFFFAOYSA-N 0.000 description 1
- 235000012239 silicon dioxide Nutrition 0.000 description 1
- 229910052709 silver Inorganic materials 0.000 description 1
- 239000004332 silver Substances 0.000 description 1
- 229910052708 sodium Inorganic materials 0.000 description 1
- 239000011734 sodium Substances 0.000 description 1
- 229940047670 sodium acrylate Drugs 0.000 description 1
- 229940079827 sodium hydrogen sulfite Drugs 0.000 description 1
- 235000010267 sodium hydrogen sulphite Nutrition 0.000 description 1
- CHQMHPLRPQMAMX-UHFFFAOYSA-L sodium persulfate Substances [Na+].[Na+].[O-]S(=O)(=O)OOS([O-])(=O)=O CHQMHPLRPQMAMX-UHFFFAOYSA-L 0.000 description 1
- 239000008107 starch Substances 0.000 description 1
- 235000019698 starch Nutrition 0.000 description 1
- 150000004763 sulfides Chemical class 0.000 description 1
- 230000008961 swelling Effects 0.000 description 1
- 229940104261 taurate Drugs 0.000 description 1
- XOAAWQZATWQOTB-UHFFFAOYSA-N taurine Chemical compound NCCS(O)(=O)=O XOAAWQZATWQOTB-UHFFFAOYSA-N 0.000 description 1
- NJRXVEJTAYWCQJ-UHFFFAOYSA-N thiomalic acid Chemical compound OC(=O)CC(S)C(O)=O NJRXVEJTAYWCQJ-UHFFFAOYSA-N 0.000 description 1
- 229910052719 titanium Inorganic materials 0.000 description 1
- 239000010936 titanium Substances 0.000 description 1
- VPYJNCGUESNPMV-UHFFFAOYSA-N triallylamine Chemical compound C=CCN(CC=C)CC=C VPYJNCGUESNPMV-UHFFFAOYSA-N 0.000 description 1
- ZIBGPFATKBEMQZ-UHFFFAOYSA-N triethylene glycol Chemical compound OCCOCCOCCO ZIBGPFATKBEMQZ-UHFFFAOYSA-N 0.000 description 1
- WFKWXMTUELFFGS-UHFFFAOYSA-N tungsten Chemical compound [W] WFKWXMTUELFFGS-UHFFFAOYSA-N 0.000 description 1
- 229910052721 tungsten Inorganic materials 0.000 description 1
- 239000010937 tungsten Substances 0.000 description 1
- 229910052720 vanadium Inorganic materials 0.000 description 1
- GPPXJZIENCGNKB-UHFFFAOYSA-N vanadium Chemical compound [V]#[V] GPPXJZIENCGNKB-UHFFFAOYSA-N 0.000 description 1
- NLVXSWCKKBEXTG-UHFFFAOYSA-N vinylsulfonic acid Chemical compound OS(=O)(=O)C=C NLVXSWCKKBEXTG-UHFFFAOYSA-N 0.000 description 1
- 239000011718 vitamin C Substances 0.000 description 1
- 235000019154 vitamin C Nutrition 0.000 description 1
- 239000013585 weight reducing agent Substances 0.000 description 1
- 239000002023 wood Substances 0.000 description 1
- 239000008096 xylene Substances 0.000 description 1
- 229910052725 zinc Inorganic materials 0.000 description 1
- 239000011701 zinc Substances 0.000 description 1
- 229910052726 zirconium Inorganic materials 0.000 description 1
- 150000007934 α,β-unsaturated carboxylic acids Chemical class 0.000 description 1
Images
Classifications
-
- A—HUMAN NECESSITIES
- A61—MEDICAL OR VETERINARY SCIENCE; HYGIENE
- A61F—FILTERS IMPLANTABLE INTO BLOOD VESSELS; PROSTHESES; DEVICES PROVIDING PATENCY TO, OR PREVENTING COLLAPSING OF, TUBULAR STRUCTURES OF THE BODY, e.g. STENTS; ORTHOPAEDIC, NURSING OR CONTRACEPTIVE DEVICES; FOMENTATION; TREATMENT OR PROTECTION OF EYES OR EARS; BANDAGES, DRESSINGS OR ABSORBENT PADS; FIRST-AID KITS
- A61F13/00—Bandages or dressings; Absorbent pads
- A61F13/15—Absorbent pads, e.g. sanitary towels, swabs or tampons for external or internal application to the body; Supporting or fastening means therefor; Tampon applicators
- A61F13/53—Absorbent pads, e.g. sanitary towels, swabs or tampons for external or internal application to the body; Supporting or fastening means therefor; Tampon applicators characterised by the absorbing medium
- A61F13/531—Absorbent pads, e.g. sanitary towels, swabs or tampons for external or internal application to the body; Supporting or fastening means therefor; Tampon applicators characterised by the absorbing medium having a homogeneous composition through the thickness of the pad
-
- A—HUMAN NECESSITIES
- A61—MEDICAL OR VETERINARY SCIENCE; HYGIENE
- A61F—FILTERS IMPLANTABLE INTO BLOOD VESSELS; PROSTHESES; DEVICES PROVIDING PATENCY TO, OR PREVENTING COLLAPSING OF, TUBULAR STRUCTURES OF THE BODY, e.g. STENTS; ORTHOPAEDIC, NURSING OR CONTRACEPTIVE DEVICES; FOMENTATION; TREATMENT OR PROTECTION OF EYES OR EARS; BANDAGES, DRESSINGS OR ABSORBENT PADS; FIRST-AID KITS
- A61F13/00—Bandages or dressings; Absorbent pads
- A61F13/15—Absorbent pads, e.g. sanitary towels, swabs or tampons for external or internal application to the body; Supporting or fastening means therefor; Tampon applicators
- A61F13/15203—Properties of the article, e.g. stiffness or absorbency
-
- B—PERFORMING OPERATIONS; TRANSPORTING
- B01—PHYSICAL OR CHEMICAL PROCESSES OR APPARATUS IN GENERAL
- B01J—CHEMICAL OR PHYSICAL PROCESSES, e.g. CATALYSIS OR COLLOID CHEMISTRY; THEIR RELEVANT APPARATUS
- B01J20/00—Solid sorbent compositions or filter aid compositions; Sorbents for chromatography; Processes for preparing, regenerating or reactivating thereof
- B01J20/22—Solid sorbent compositions or filter aid compositions; Sorbents for chromatography; Processes for preparing, regenerating or reactivating thereof comprising organic material
- B01J20/26—Synthetic macromolecular compounds
-
- B—PERFORMING OPERATIONS; TRANSPORTING
- B01—PHYSICAL OR CHEMICAL PROCESSES OR APPARATUS IN GENERAL
- B01J—CHEMICAL OR PHYSICAL PROCESSES, e.g. CATALYSIS OR COLLOID CHEMISTRY; THEIR RELEVANT APPARATUS
- B01J20/00—Solid sorbent compositions or filter aid compositions; Sorbents for chromatography; Processes for preparing, regenerating or reactivating thereof
- B01J20/28—Solid sorbent compositions or filter aid compositions; Sorbents for chromatography; Processes for preparing, regenerating or reactivating thereof characterised by their form or physical properties
- B01J20/28014—Solid sorbent compositions or filter aid compositions; Sorbents for chromatography; Processes for preparing, regenerating or reactivating thereof characterised by their form or physical properties characterised by their form
- B01J20/28026—Particles within, immobilised, dispersed, entrapped in or on a matrix, e.g. a resin
-
- B—PERFORMING OPERATIONS; TRANSPORTING
- B01—PHYSICAL OR CHEMICAL PROCESSES OR APPARATUS IN GENERAL
- B01J—CHEMICAL OR PHYSICAL PROCESSES, e.g. CATALYSIS OR COLLOID CHEMISTRY; THEIR RELEVANT APPARATUS
- B01J20/00—Solid sorbent compositions or filter aid compositions; Sorbents for chromatography; Processes for preparing, regenerating or reactivating thereof
- B01J20/28—Solid sorbent compositions or filter aid compositions; Sorbents for chromatography; Processes for preparing, regenerating or reactivating thereof characterised by their form or physical properties
- B01J20/28014—Solid sorbent compositions or filter aid compositions; Sorbents for chromatography; Processes for preparing, regenerating or reactivating thereof characterised by their form or physical properties characterised by their form
- B01J20/28028—Particles immobilised within fibres or filaments
-
- A—HUMAN NECESSITIES
- A61—MEDICAL OR VETERINARY SCIENCE; HYGIENE
- A61F—FILTERS IMPLANTABLE INTO BLOOD VESSELS; PROSTHESES; DEVICES PROVIDING PATENCY TO, OR PREVENTING COLLAPSING OF, TUBULAR STRUCTURES OF THE BODY, e.g. STENTS; ORTHOPAEDIC, NURSING OR CONTRACEPTIVE DEVICES; FOMENTATION; TREATMENT OR PROTECTION OF EYES OR EARS; BANDAGES, DRESSINGS OR ABSORBENT PADS; FIRST-AID KITS
- A61F13/00—Bandages or dressings; Absorbent pads
- A61F13/15—Absorbent pads, e.g. sanitary towels, swabs or tampons for external or internal application to the body; Supporting or fastening means therefor; Tampon applicators
- A61F2013/15008—Absorbent pads, e.g. sanitary towels, swabs or tampons for external or internal application to the body; Supporting or fastening means therefor; Tampon applicators characterized by the use
- A61F2013/15016—Absorbent pads, e.g. sanitary towels, swabs or tampons for external or internal application to the body; Supporting or fastening means therefor; Tampon applicators characterized by the use for breast; pads for bras
-
- B—PERFORMING OPERATIONS; TRANSPORTING
- B01—PHYSICAL OR CHEMICAL PROCESSES OR APPARATUS IN GENERAL
- B01J—CHEMICAL OR PHYSICAL PROCESSES, e.g. CATALYSIS OR COLLOID CHEMISTRY; THEIR RELEVANT APPARATUS
- B01J2220/00—Aspects relating to sorbent materials
- B01J2220/50—Aspects relating to the use of sorbent or filter aid materials
- B01J2220/68—Superabsorbents
Landscapes
- Chemical & Material Sciences (AREA)
- Health & Medical Sciences (AREA)
- Chemical Kinetics & Catalysis (AREA)
- Organic Chemistry (AREA)
- Analytical Chemistry (AREA)
- General Health & Medical Sciences (AREA)
- Epidemiology (AREA)
- Animal Behavior & Ethology (AREA)
- Vascular Medicine (AREA)
- Public Health (AREA)
- Veterinary Medicine (AREA)
- Heart & Thoracic Surgery (AREA)
- Life Sciences & Earth Sciences (AREA)
- Biomedical Technology (AREA)
- Engineering & Computer Science (AREA)
- Dispersion Chemistry (AREA)
- Absorbent Articles And Supports Therefor (AREA)
- Solid-Sorbent Or Filter-Aiding Compositions (AREA)
- Orthopedics, Nursing, And Contraception (AREA)
Description
(1) 前記吸水性樹脂の生理食塩水吸水量(a)が72〜98g/g、生理食塩水保水量(b)が52〜78g/gであり、生理食塩水吸水量(a)および生理食塩水保水量(b)が式:
〔生理食塩水保水量(b)〕+20≧〔生理食塩水吸水量(a)〕≧〔生理食塩水保水量(b)〕+16
〔ただし、生理食塩水吸水量(a)及び生理食塩水保水量(b)は次の測定方法により求められた値である。
生理食塩水吸水量(a):
吸水性樹脂2gを、1000mL容のビーカー中で生理食塩水(0.9重量%塩化ナトリウム水溶液)1000gに分散し、1時間穏やかに撹拌して十分膨潤させた。一方、予め重量Wa(g)を測定した目開き75μmのJIS標準篩で膨潤ゲルを含んだ生理食塩水をろ過した。水平に対して約30度程度となるように傾けた状態で30分間放置して、吸水性樹脂から余剰の生理食塩水を除いて膨潤ゲルを含んだ篩の重量Wb(g)を測定した後、吸水量を式:
〔生理食塩水吸水量(g/g)〕=(Wb−Wa)/2
にしたがって求めた。
生理食塩水保水量(b):
吸水性樹脂2gを、綿袋(メンブロード60番、横100mm×縦200mm)中に入れ、500mL容のビーカー中に入れた。綿袋に生理食塩水500gを一度に注ぎ込み、吸水性樹脂のママコが発生しないように生理食塩水を分散させた。綿袋の上部を輪ゴムで縛り、1時間放置して、吸水性樹脂を十分に膨潤させた。遠心力167Gになるよう設定した脱水機(国産遠心機株式会社製H−122)を用いて綿袋を1分間脱水して、脱水後の膨潤ゲルを含んだ綿袋の重量Wc(g)を測定した。吸水性樹脂を添加せずに同様の操作を行い、綿袋の湿潤時空重量Wd(g)を測定し、保水量を式:
〔生理食塩水保水量(g/g)〕=(Wc−Wd)/2
にしたがって求めた。〕
の関係を満足し、
(2) 前記吸水性樹脂の重量平均粒子径が322〜398μmであり、
〔ただし、重量平均粒子径は次の測定方法により求められた値である:
吸水性樹脂100gを秤量し、これをJIS−Z8801−1982対応の8つの標準篩(上から目開き850μm、500μm、355μm、300μm、250μm、180μm、106μm、底容器の順番に積み重ねた)の一番上の篩に吸水性樹脂を入れ、ロータップ式篩振動器を用いて10分間振動させて篩い分けした後に篩い毎に秤量し、その結果に基づいて積算重量が50%になる粒子径を式:
〔重量平均粒子径(μm)〕=〔(50−A)/(D−A)〕×(C−B)+B
にしたがって求めた。なお、式中、Aは、粒度の粗い方から順次重量を積算し、積算重量が50重量%未満であり、かつ50重量%に最も近い点の積算値を求めた場合の当該積算値(g)であり、また、Bは、当該積算値を求めたときの篩目開き(μm)である。また、Dは、粒度の粗い方から順次重量を積算し、積算重量が50重量%以上であり、かつ50重量%に最も近い点の積算値を求めた場合の当該積算値(g)であり、また、Cは、当該積算値を求めたときの篩目開き(μm)である。〕
(3) 前記吸水性樹脂の0.49kPaの加圧下における生理食塩水吸水量が、吸水開始から60分経過後において、57〜79g/gであり、
(4) 前記吸水性樹脂の渦時間が95秒以下である、
〔ただし、渦時間は次の測定方法により求められた値である:
100mL容のビーカーに、25±1℃の範囲に調整された生理食塩水50±0.01gを量り取り、マグネチックスターラーバー(8mm×30mmのリング無し)を投入し、マグネチックスターラー(iuchi社製:HS−30D)の上に配置した。引き続き、マグネチックスターラーバーを600rpmで回転するように調整し、さらにマグネチックスターラーバーの回転によって生じた渦の底部は、マグネチックスターラーバーの上部近くになるように調整した。次に、前記の重量平均粒子径の測定において、目開き355μmと300μmの篩の上に残った吸水性樹脂を混合したもの1.0±0.002gを、ビーカー中の渦中央とビーカー側面の間に素早く流し込み、流し込んだ時点から渦が収束した時点までの時間(秒)を、ストップウォッチを用いて測定した。〕
ことを特徴とする吸収体に関する。
なお、吸収性物品としては、例えば、紙おむつ、失禁パッド、生理用ナプキン、母乳パッド等の使い捨て衛生材料等が挙げられるが、本発明は、かかる例示のみに限定されるものではない。
〔生理食塩水吸水量(a)〕≧〔生理食塩水保水量(b)〕+15
の関係を満足する。生理食塩水吸水量(a)と生理食塩水保水量(b)が前記式の関係を満足しない場合には、吸水性樹脂がままこになりやすく、浸透性および拡散性が低下し、薄型の吸収体に用いたときに、逆戻り量が増加し、吸収体としての性能が低下する。
撹拌機、還流冷却器、滴下ロート、温度計および窒素ガス導入管を備えた1000mL容の五つ口円筒型丸底フラスコに、n−ヘプタンを340g、ショ糖脂肪酸エステル〔三菱化学(株)製、商品名:S−370〕0.92gを加え、分散、昇温して溶解後、55℃まで冷却した。
製造例1において、1段目および2段目の重合用単量体水溶液に用いたラジカル重合開始剤の過硫酸カリウムの代わりに2,2’−アゾビス(2−アミジノプロパン)二塩酸塩〔和光純薬工業(株)製、品番:V−50〕を用い、その使用量を1段目に0.09g(0.33ミリモル)、2段目に0.12g(0.44ミリモル)に変更した以外は、製造例1と同様の方法で、吸水性樹脂(B)212.4gを得た。
製造例1において、1段目の重合用単量体水溶液に内部架橋剤のエチレングリコールジグリシジルエーテルを使用せず、2段目の重合用単量体水溶液に用いた内部架橋剤のエチレングリコールジグリシジルエーテルの使用量を35.7mgから11.9mgに変更した以外は、製造例1と同様の方法で、吸水性樹脂(C)214.5gを得た。
撹拌機、還流冷却器、滴下ロート、温度計および窒素ガス導入管を備えた2000mL容の四つ口円筒型丸底フラスコに、アクリル酸21.6g、37重量%アクリル酸ナトリウム水溶液228.6g、架橋剤としてN,N’−メチレンビスアクリルアミド0.0925g、イオン交換水53gを加え、モノマー濃度が35%、中和率が75%の単量体水溶液を得た。この単量体水溶液に過硫酸カリウム0.15gを溶解させ、窒素ガスを吹き込んで溶存酸素を追い出した後に昇温し、浴温を65℃に保持して、重合反応を1時間行った。重合終了後、120℃の油浴で加熱し、水分を系外に除去し、ゲル状物を得た。引き続き、2重量%エチレングリコールジグリシジルエーテル水溶液4.22gを添加し、さらに水分を蒸留により除去して乾燥し、吸水性樹脂(D)112.4gを得た。
製造例4において、内部架橋剤のN,N’−メチレンビスアクリルアミドを使用しなかった以外は、製造例4と同様の方法で、吸水性樹脂(E)114.5gを得た。
製造例1において、1段目の重合用単量体水溶液に内部架橋剤のエチレングリコールジグリシジルエーテルを使用せず、ラジカル重合開始剤の過硫酸カリウムの代わりに2,2’−アゾビス(2−アミジノプロパン)二塩酸塩〔和光純薬工業(株)製、品番:V−50〕0.09g(0.33ミリモル)を用い、また、2段目の重合用単量体水溶液に用いた内部架橋剤のエチレングリコールジグリシジルエーテルの使用量を35.7mgから11.9mgに、ラジカル重合開始剤の過硫酸カリウムの代わりに2,2’−アゾビス(2−アミジノプロパン)二塩酸塩〔和光純薬工業(株)製、品番:V−50〕0.12g(0.44ミリモル)を用いた以外は、製造例1と同様の方法で、吸水性樹脂(F)214.5gを得た。
製造例1において、1段目の重合用単量体水溶液に内部架橋剤のエチレングリコールジグリシジルエーテルを使用せず、ラジカル重合開始剤の過硫酸カリウムの代わりに2,2’−アゾビス(2−アミジノプロパン)二塩酸塩〔和光純薬工業(株)製、品番:V−50〕0.09g(0.33ミリモル)を用い、また、2段目の重合用単量体水溶液に用いた内部架橋剤のエチレングリコールジグリシジルエーテルの使用量を35.7mgから11.9mgに、ラジカル重合開始剤の過硫酸カリウムの代わりに2,2’−アゾビス(2−アミジノプロパン)二塩酸塩〔和光純薬工業(株)製、品番:V−50〕0.12g(0.44ミリモル)を用い、さらに、得られたゲル状物に添加する、2重量%エチレングリコールジグリシジルエーテル水溶液の使用量を8.44gから12.66gに変更した以外は、製造例1と同様の方法で、吸水性樹脂(G)215.2gを得た。
製造例1において、1段目および2段目の重合用単量体水溶液に、1−ブタンチオールを1段目に0.028g(0.31ミリモル)、2段目に0.035g(0.39ミリモル)添加した以外は、製造例1と同様の方法で、吸水性樹脂(H)216.5gを得た。
製造例1において、1段目および2段目の重合用単量体水溶液に、鉄を1段目に0.051mg(0.0002ミリモル)、2段目に0.066mg(0.0011ミリモル)添加した以外は、製造例1と同様の方法で、吸水性樹脂(I)212.5gを得た。
製造例1において、1段目および2段目の重合用単量体水溶液に用いたラジカル重合開始剤の過硫酸カリウムの代わりに2,2’−アゾビス(2−アミジノプロパン)二塩酸塩〔和光純薬工業(株)製、品番:V−50〕を用い、その使用量を1段目に0.09g(0.33ミリモル)、2段目に0.12g(0.44ミリモル)に変更した以外は、製造例1と同様の方法で、吸水性樹脂211.2gを得た。得られた吸水性樹脂に亜硫酸ナトリウム2.2gを添加、混合して吸水性樹脂(J)213.4gを得た。
製造例1において、1段目および2段目の重合用単量体水溶液に用いたラジカル重合開始剤の過硫酸カリウムの代わりに2,2’−アゾビス(2−アミジノプロパン)二塩酸塩〔和光純薬工業(株)製、品番:V−50〕を用い、その使用量を1段目で0.09g(0.33ミリモル)、2段目で0.12g(0.44ミリモル)に変更し、また、得られたゲル状物に添加する2重量%エチレングリコールジグリシジルエーテル水溶液の使用量を8.44gから16.88gに変更した以外は、製造例1と同様の方法で、吸水性樹脂(K)218.2gを得た。
製造例1において、得られたゲル状物に添加する2重量%エチレングリコールジグリシジルエーテル水溶液を使用しなかった以外は、製造例1と同様の方法で、吸水性樹脂(L)218.2gを得た。
吸水性樹脂2gを、1000mL容のビーカー中で生理食塩水(0.9重量%塩化ナトリウム水溶液)1000gに分散し、1時間穏やかに撹拌して十分膨潤させた。一方、予め重量Wa(g)を測定した目開き75μmのJIS標準篩で膨潤ゲルを含んだ生理食塩水をろ過した。水平に対して約30度程度となるように傾けた状態で30分間放置して、吸水性樹脂から余剰の生理食塩水を除いて膨潤ゲルを含んだ篩の重量Wb(g)を測定した後、吸水量を式:
〔生理食塩水吸水量(g/g)〕=(Wb−Wa)/2
にしたがって求めた。
吸水性樹脂2gを、綿袋(メンブロード60番、横100mm×縦200mm)中に入れ、500mL容のビーカー中に入れた。綿袋に生理食塩水500gを一度に注ぎ込み、吸水性樹脂のママコが発生しないように生理食塩水を分散させた。綿袋の上部を輪ゴムで縛り、1時間放置して、吸水性樹脂を十分に膨潤させた。遠心力167Gになるよう設定した脱水機(国産遠心機株式会社製H−122)を用いて綿袋を1分間脱水して、脱水後の膨潤ゲルを含んだ綿袋の重量Wc(g)を測定した。吸水性樹脂を添加せずに同様の操作を行い、綿袋の湿潤時空重量Wd(g)を測定し、保水量を式:
〔生理食塩水保水量(g/g)〕=(Wc−Wd)/2
にしたがって求めた。
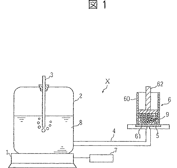
吸水性樹脂の490Paの加圧下における吸水開始から60分経過後の生理食塩水吸水量は、図1に示された測定装置Xを用いて行った。
前記(3)の測定方法において、重り62の重量を14.2gから59.8gに変更した以外は、前記(3)と同様の測定を行い、2.07kPaの加圧下における吸水開始から60分経過後の生理食塩水吸水量を求めた。
吸水性樹脂100gを秤量し、これをJIS−Z8801−1982対応の8つの標準篩(上から目開き850μm、500μm、355μm、300μm、250μm、180μm、106μm、底容器の順番に積み重ねた)の一番上の篩に吸水性樹脂を入れ、ロータップ式篩振動器を用いて10分間振動させて篩い分けした後に篩い毎に秤量し、その結果に基づいて積算重量が50%になる粒子径を式:
〔重量平均粒子径(μm)〕=〔(50−A)/(D−A)〕×(C−B)+B
にしたがって求めた。なお、式中、Aは、粒度の粗い方から順次重量を積算し、積算重量が50重量%未満であり、かつ50重量%に最も近い点の積算値を求めた場合の当該積算値(g)であり、また、Bは、当該積算値を求めたときの篩目開き(μm)である。
100mL容のビーカーに、25±1℃の範囲に調整された生理食塩水50±0.01gを量り取り、マグネチックスターラーバー(8mm×30mmのリング無し)を投入し、マグネチックスターラー(iuchi社製:HS−30D)の上に配置した。引き続き、マグネチックスターラーバーを600rpmで回転するように調整し、さらにマグネチックスターラーバーの回転によって生じた渦の底部は、マグネチックスターラーバーの上部近くになるように調整した。
製造例2で得られた吸水性樹脂(B)6gと粉砕パルプ10gをミキサーを用いて乾式混合したものを、大きさが40cm×10cmで重さが1gのティッシュに吹き付けた後に、同じ大きさおよび重さのティッシュを上部から重ねてシート状にし、これの全体に196kPaの荷重を30秒間加えてプレスすることにより、吸水性樹脂濃度が37.5重量%の吸収体を得た。得られた吸収体を大きさ40cm×12cm、坪量20g/cm2のポリエチレン製エアスルー型多孔質液体透過性シートと、同じ大きさ、同じ坪量のポリエチレン製不透過性シートで挟み付けることにより吸水性樹脂濃度が37.5重量%の吸収体が用いられた吸収性物品を得た。同様に、吸水性樹脂(B)10gと粉砕パルプ10gを用いて吸水性樹脂濃度が50重量%の吸収体およびそれが用いられた吸収性物品を得た。
実施例1において、製造例3で得られた吸水性樹脂(C)を用いた以外は、実施例1と同様にして、吸水性樹脂濃度が37.5重量%と50重量%の吸収体およびそれが用いられた吸収性物品を得た。
実施例1において、製造例5で得られた吸水性樹脂(E)を用いた以外は、実施例1と同様にして、吸水性樹脂濃度が37.5重量%と50重量%の吸収体およびそれが用いられた吸収性物品を得た。
実施例1において、製造例6で得られた吸水性樹脂(F)を用いた以外は、実施例1と同様にして、吸水性樹脂濃度が37.5重量%と50重量%の吸収体およびそれが用いられた吸収性物品を得た。
実施例1において、製造例7で得られた吸水性樹脂(G)を用いた以外は、実施例1と同様にして、吸水性樹脂濃度が37.5重量%と50重量%の吸収体およびそれが用いられた吸収性物品を得た。
実施例1において、製造例8で得られた吸水性樹脂(H)を用いた以外は、実施例1と同様にして、吸水性樹脂濃度が37.5重量%と50重量%の吸収体およびそれが用いられた吸収性物品を得た。
実施例1において、製造例9で得られた吸水性樹脂(I)を用いた以外は、実施例1と同様にして、吸水性樹脂濃度が37.5重量%と50重量%の吸収体およびそれが用いられた吸収性物品を得た。
実施例1において、製造例10で得られた吸水性樹脂(J)を用いた以外は、実施例1と同様にして、吸水性樹脂濃度が37.5重量%と50重量%の吸収体およびそれが用いられた吸収性物品を得た。
実施例1において、製造例1で得られた吸水性樹脂(A)を用いた以外は、実施例1と同様にして、吸水性樹脂濃度が37.5重量%と50重量%の吸収体およびそれが用いられた吸収性物品を得た。
実施例1において、製造例4で得られた吸水性樹脂(D)を用いた以外は、実施例1と同様にして、吸水性樹脂濃度が37.5重量%と50重量%の吸収体およびそれが用いられた吸収性物品を得た。
実施例1において、製造例11で得られた吸水性樹脂(K)を用いた以外は、実施例1と同様にして、吸水性樹脂濃度が37.5重量%と50重量%の吸収体およびそれが用いられた吸収性物品を得た。
実施例1において、製造例12で得られた吸水性樹脂(L)を用いた以外は、実施例1と同様にして、吸水性樹脂濃度が37.5重量%と50重量%の吸収体およびそれが用いられた吸収性物品を得た。
製造例11で得られた吸水性樹脂(K)18gと粉砕パルプ10gをミキサーを用いて乾式混合したものを、大きさが40cm×10cmで重さが1gのティッシュに吹き付けた後に、同じ大きさおよび重さのティッシュを上部から重ねてシート状にし、これの全体に196kPaの荷重を30秒間加えてプレスすることにより、吸水性樹脂濃度が64.3重量%の吸収体を得た。得られた吸収体を大きさ40cm×12cm、坪量20g/cm2のポリエチレン製エアスルー型多孔質液体透過性シートと、同じ大きさ、同じ坪量のポリエチレン製不透過性シートで挟み付けることにより吸水性樹脂濃度が64.3重量%の吸収体が用いられた吸収性物品を得た。
10L容の容器に、塩化ナトリウム60g、塩化カルシウム二水和物1.8g、塩化マグネシウム六水和物3.6gおよび適量の蒸留水を入れ、完全に溶解した。次いで、ポリオキシエチレンノニルフェニルエーテル0.02gを添加し、更に蒸留水を追加して、水溶液全体の重量を6000gに調製した。さらに、少量の青色1号で着色して、人工尿とした。
吸収性物品の中心付近に、内径3cmの円筒型シリンダーを置き、その中に恒温水槽内で25±0.2℃に保持しておいた人工尿50mLを注ぎ込むと同時に、ストップウォッチをスタートさせ、人工尿が完全に吸収性物品に浸透するまでの時間を測定した(1回目)。次に、前記シリンダーをはずし、吸収性物品をそのままの状態で保存し、1回目の人工尿注入開始から30分経過後に、再び同じ位置に前記シリンダーを置き、人工尿50mLを注ぎ込むと同時に、ストップウォッチをスタートさせ、人工尿が完全に吸収性物品に浸透するまでの時間を測定した(2回目)。さらに、同様の方法にて、吸水性樹脂濃度が37.5重量%の吸収体が用いられた吸収性物品は3回目まで、吸水樹脂濃度が50重量%の吸収体が用いられた吸収性物品および参考例で得られた吸収性物品は5回目まで浸透時間を測定した。
前記浸透時間の測定終了から60分経過後、10cm×10cmに裁断したろ紙(東洋ろ紙No.2)を重ねて約80g分とし、乾燥重量(g)を測定した。ろ紙を吸収性物品中央部に置き、その上から5kgの重り(底面積=10cm×10cm)を載せて5分間加重した後、重りをはずして逆戻り液を吸収した濾紙の重量(g)を測定した。逆戻り液を吸収した濾紙の重量(g)から乾燥濾紙の重量(g)を差し引くことにより、逆戻り量を算出した。
前記逆戻り量の測定後5分以内に、人工尿が浸透したそれぞれの吸収性物品の長手方向の拡がり寸法(cm)を測定した。なお、小数点以下の数値は四捨五入した。
Claims (3)
- 吸水性樹脂と親水性繊維とからなる吸収体であって、前記吸水性樹脂が、中和度20〜100モル%のアクリル酸塩重合体架橋物であり、
(1) 前記吸水性樹脂の生理食塩水吸水量(a)が72〜98g/g、生理食塩水保水量(b)が52〜78g/gであり、生理食塩水吸水量(a)および生理食塩水保水量(b)が式:
〔生理食塩水保水量(b)〕+20≧〔生理食塩水吸水量(a)〕≧〔生理食塩水保水量(b)〕+16
〔ただし、生理食塩水吸水量(a)及び生理食塩水保水量(b)は次の測定方法により求められた値である。
生理食塩水吸水量(a):
吸水性樹脂2gを、1000mL容のビーカー中で生理食塩水(0.9重量%塩化ナトリウム水溶液)1000gに分散し、1時間穏やかに撹拌して十分膨潤させた。一方、予め重量Wa(g)を測定した目開き75μmのJIS標準篩で膨潤ゲルを含んだ生理食塩水をろ過した。水平に対して約30度程度となるように傾けた状態で30分間放置して、吸水性樹脂から余剰の生理食塩水を除いて膨潤ゲルを含んだ篩の重量Wb(g)を測定した後、吸水量を式:
〔生理食塩水吸水量(g/g)〕=(Wb−Wa)/2
にしたがって求めた。
生理食塩水保水量(b):
吸水性樹脂2gを、綿袋(メンブロード60番、横100mm×縦200mm)中に入れ、500mL容のビーカー中に入れた。綿袋に生理食塩水500gを一度に注ぎ込み、吸水性樹脂のママコが発生しないように生理食塩水を分散させた。綿袋の上部を輪ゴムで縛り、1時間放置して、吸水性樹脂を十分に膨潤させた。遠心力167Gになるよう設定した脱水機(国産遠心機株式会社製H−122)を用いて綿袋を1分間脱水して、脱水後の膨潤ゲルを含んだ綿袋の重量Wc(g)を測定した。吸水性樹脂を添加せずに同様の操作を行い、綿袋の湿潤時空重量Wd(g)を測定し、保水量を式:
〔生理食塩水保水量(g/g)〕=(Wc−Wd)/2
にしたがって求めた。〕
の関係を満足し、
(2) 前記吸水性樹脂の重量平均粒子径が322〜398μmであり、
〔ただし、重量平均粒子径は次の測定方法により求められた値である:
吸水性樹脂100gを秤量し、これをJIS−Z8801−1982対応の8つの標準篩(上から目開き850μm、500μm、355μm、300μm、250μm、180μm、106μm、底容器の順番に積み重ねた)の一番上の篩に吸水性樹脂を入れ、ロータップ式篩振動器を用いて10分間振動させて篩い分けした後に篩い毎に秤量し、その結果に基づいて積算重量が50%になる粒子径を式:
〔重量平均粒子径(μm)〕=〔(50−A)/(D−A)〕×(C−B)+B
にしたがって求めた。なお、式中、Aは、粒度の粗い方から順次重量を積算し、積算重量が50重量%未満であり、かつ50重量%に最も近い点の積算値を求めた場合の当該積算値(g)であり、また、Bは、当該積算値を求めたときの篩目開き(μm)である。また、Dは、粒度の粗い方から順次重量を積算し、積算重量が50重量%以上であり、かつ50重量%に最も近い点の積算値を求めた場合の当該積算値(g)であり、また、Cは、当該積算値を求めたときの篩目開き(μm)である。〕
(3) 前記吸水性樹脂の0.49kPaの加圧下における生理食塩水吸水量が、吸水開始から60分経過後において、57〜79g/gであり、
(4) 前記吸水性樹脂の渦時間が95秒以下である、
〔ただし、渦時間は次の測定方法により求められた値である:
100mL容のビーカーに、25±1℃の範囲に調整された生理食塩水50±0.01gを量り取り、マグネチックスターラーバー(8mm×30mmのリング無し)を投入し、マグネチックスターラー(iuchi社製:HS−30D)の上に配置した。引き続き、マグネチックスターラーバーを600rpmで回転するように調整し、さらにマグネチックスターラーバーの回転によって生じた渦の底部は、マグネチックスターラーバーの上部近くになるように調整した。次に、前記の重量平均粒子径の測定において、目開き355μmと300μmの篩の上に残った吸水性樹脂を混合したもの1.0±0.002gを、ビーカー中の渦中央とビーカー側面の間に素早く流し込み、流し込んだ時点から渦が収束した時点までの時間(秒)を、ストップウォッチを用いて測定した。〕
ことを特徴とする吸収体。 - 吸水性樹脂の2.07kPaの加圧下における生理食塩水吸水量が、吸水開始から60分経過後において、20g/g以上である請求項1記載の吸収体。
- 請求項1又は2記載の吸収体を、液体透過性シートと液体不透過性シートとの間に保持してなる吸収性物品。
Priority Applications (1)
| Application Number | Priority Date | Filing Date | Title |
|---|---|---|---|
| JP2005506966A JP5064682B2 (ja) | 2003-06-13 | 2004-06-09 | 吸収体およびそれが用いられた吸収性物品 |
Applications Claiming Priority (4)
| Application Number | Priority Date | Filing Date | Title |
|---|---|---|---|
| JP2003169595 | 2003-06-13 | ||
| JP2003169595 | 2003-06-13 | ||
| JP2005506966A JP5064682B2 (ja) | 2003-06-13 | 2004-06-09 | 吸収体およびそれが用いられた吸収性物品 |
| PCT/JP2004/008377 WO2004110328A1 (ja) | 2003-06-13 | 2004-06-09 | 吸収体およびそれが用いられた吸収性物品 |
Related Child Applications (1)
| Application Number | Title | Priority Date | Filing Date |
|---|---|---|---|
| JP2010205660A Division JP5162634B2 (ja) | 2003-06-13 | 2010-09-14 | 吸水性樹脂の製造方法 |
Publications (2)
| Publication Number | Publication Date |
|---|---|
| JPWO2004110328A1 JPWO2004110328A1 (ja) | 2006-07-27 |
| JP5064682B2 true JP5064682B2 (ja) | 2012-10-31 |
Family
ID=33549376
Family Applications (2)
| Application Number | Title | Priority Date | Filing Date |
|---|---|---|---|
| JP2005506966A Expired - Fee Related JP5064682B2 (ja) | 2003-06-13 | 2004-06-09 | 吸収体およびそれが用いられた吸収性物品 |
| JP2010205660A Expired - Lifetime JP5162634B2 (ja) | 2003-06-13 | 2010-09-14 | 吸水性樹脂の製造方法 |
Family Applications After (1)
| Application Number | Title | Priority Date | Filing Date |
|---|---|---|---|
| JP2010205660A Expired - Lifetime JP5162634B2 (ja) | 2003-06-13 | 2010-09-14 | 吸水性樹脂の製造方法 |
Country Status (6)
| Country | Link |
|---|---|
| US (1) | US20070093766A1 (ja) |
| EP (1) | EP1637105A4 (ja) |
| JP (2) | JP5064682B2 (ja) |
| CN (1) | CN1805723A (ja) |
| TW (1) | TW200509866A (ja) |
| WO (1) | WO2004110328A1 (ja) |
Families Citing this family (30)
| Publication number | Priority date | Publication date | Assignee | Title |
|---|---|---|---|---|
| DE602006021004D1 (de) * | 2005-05-13 | 2011-05-12 | Asahi Kasei Chemicals Corp | Absorbierendes verbundmaterial und herstellungsverfahren dafür |
| JP5099899B2 (ja) * | 2005-07-04 | 2012-12-19 | 住友精化株式会社 | 吸水性樹脂の製造方法 |
| JP4841196B2 (ja) * | 2005-08-08 | 2011-12-21 | 旭化成ケミカルズ株式会社 | 使い捨て体液吸収物品 |
| BR112013024775B1 (pt) * | 2011-03-31 | 2020-12-08 | Sumitomo Seika Chemicals Co., Ltd | método para a produção de resina absorvente de água |
| JP5893116B2 (ja) | 2014-07-11 | 2016-03-23 | 住友精化株式会社 | 吸水性樹脂及び吸水性樹脂の製造方法 |
| JP5893117B2 (ja) | 2014-07-11 | 2016-03-23 | 住友精化株式会社 | 吸水性樹脂及び吸収性物品 |
| JP2016028116A (ja) | 2014-07-11 | 2016-02-25 | 住友精化株式会社 | 吸水性樹脂及び吸収性物品 |
| JP2016120083A (ja) * | 2014-12-25 | 2016-07-07 | ユニ・チャーム株式会社 | 吸収体及び吸収体を備える衛生用品 |
| JP5966031B2 (ja) * | 2015-02-24 | 2016-08-10 | 住友精化株式会社 | 吸水性樹脂、及びその製造方法 |
| KR101871968B1 (ko) | 2015-06-01 | 2018-06-27 | 주식회사 엘지화학 | 고흡수성 수지 |
| KR101949454B1 (ko) | 2015-06-15 | 2019-02-18 | 주식회사 엘지화학 | 고흡수성 수지 |
| KR101949995B1 (ko) | 2015-07-06 | 2019-02-19 | 주식회사 엘지화학 | 고흡수성 수지의 제조 방법 및 이로부터 제조된 고흡수성 수지 |
| KR101855351B1 (ko) | 2015-08-13 | 2018-05-04 | 주식회사 엘지화학 | 고흡수성 수지의 제조 방법 |
| KR101921278B1 (ko) | 2015-12-23 | 2018-11-22 | 주식회사 엘지화학 | 고흡수성 수지, 및 이의 제조 방법 |
| WO2017146347A1 (ko) | 2016-02-25 | 2017-08-31 | 주식회사 엘지화학 | 고흡수성 수지 및 이의 제조 방법 |
| KR101853401B1 (ko) | 2016-03-11 | 2018-04-30 | 주식회사 엘지화학 | 고흡수성 수지의 제조 방법, 및 고흡수성 수지 |
| KR101958014B1 (ko) | 2016-03-14 | 2019-03-13 | 주식회사 엘지화학 | 고흡수성 수지의 제조 방법 |
| KR102075733B1 (ko) | 2016-12-13 | 2020-02-10 | 주식회사 엘지화학 | 고흡수성 수지 및 이의 제조 방법 |
| KR102162500B1 (ko) | 2016-12-13 | 2020-10-06 | 주식회사 엘지화학 | 고흡수성 수지 및 이의 제조 방법 |
| KR20180067940A (ko) | 2016-12-13 | 2018-06-21 | 주식회사 엘지화학 | 고흡수성 수지 및 이의 제조 방법 |
| KR102094453B1 (ko) | 2016-12-23 | 2020-03-27 | 주식회사 엘지화학 | 고흡수성 수지 및 이의 제조 방법 |
| KR102167661B1 (ko) | 2017-02-10 | 2020-10-19 | 주식회사 엘지화학 | 고흡수성 수지 및 이의 제조 방법 |
| EP3590980A4 (en) | 2017-03-02 | 2020-12-02 | Sumitomo Seika Chemicals Co. Ltd. | WATER-ABSORBING RESIN AND SOIL |
| EP3696199B1 (en) * | 2017-10-12 | 2023-12-06 | Sumitomo Seika Chemicals Co., Ltd. | Water-absorbent resin and absorbent article |
| US11986797B2 (en) | 2018-03-13 | 2024-05-21 | Mjj Technologies Inc. | Superabsorbent polymer and methods of making and using the same |
| CN113039219B (zh) | 2018-11-05 | 2023-04-14 | 住友精化株式会社 | 吸水性树脂 |
| US12161537B2 (en) | 2018-12-12 | 2024-12-10 | Sumitomo Seika Chemicals Co., Ltd. | Water-absorbent resin particles, water-absorbent article, and method for manufacturing same |
| JPWO2020184393A1 (ja) * | 2019-03-08 | 2020-09-17 | ||
| JP7733571B2 (ja) * | 2019-04-23 | 2025-09-03 | 住友精化株式会社 | 吸水性樹脂粒子 |
| JPWO2021187326A1 (ja) * | 2020-03-18 | 2021-09-23 |
Citations (3)
| Publication number | Priority date | Publication date | Assignee | Title |
|---|---|---|---|---|
| JPH06254118A (ja) * | 1993-02-24 | 1994-09-13 | Kimberly Clark Corp | 吸収性合成物 |
| JPH0857311A (ja) * | 1994-06-13 | 1996-03-05 | Nippon Shokubai Co Ltd | 吸収体および吸収性物品 |
| JP2003088551A (ja) * | 2001-09-19 | 2003-03-25 | Sumitomo Seika Chem Co Ltd | 吸収体およびそれを用いた吸収性物品 |
Family Cites Families (18)
| Publication number | Priority date | Publication date | Assignee | Title |
|---|---|---|---|---|
| US5147343B1 (en) * | 1988-04-21 | 1998-03-17 | Kimberly Clark Co | Absorbent products containing hydrogels with ability to swell against pressure |
| RU2015141C1 (ru) * | 1988-12-08 | 1994-06-30 | Ниппон Сокубаи Кагаку Когио Ко., Лтд. | Способ получения абсорбирующей смолы |
| JPH0826085B2 (ja) * | 1988-12-08 | 1996-03-13 | 株式会社日本触媒 | 耐久性の優れた吸水性樹脂の製造方法 |
| JPH04292603A (ja) * | 1991-03-20 | 1992-10-16 | Mitsubishi Petrochem Co Ltd | 高吸水性ポリマーの製造法 |
| JP3155294B2 (ja) * | 1991-06-20 | 2001-04-09 | 三菱化学株式会社 | 高吸水性ポリマーの製造法 |
| JP3205168B2 (ja) * | 1993-06-18 | 2001-09-04 | 三洋化成工業株式会社 | 紙おむつ用吸収剤組成物 |
| MX9700779A (es) * | 1994-08-01 | 1997-05-31 | Stuart Suskind | Material superabsorbente de gran eficacia y dispositivos absorbentes que contienen el mismo. |
| US5849816A (en) * | 1994-08-01 | 1998-12-15 | Leonard Pearlstein | Method of making high performance superabsorbent material |
| IT1267184B1 (it) * | 1994-12-06 | 1997-01-28 | P & G Spa | Materiale assorbente, ad esempio del tipo superassorbente, e relativo impiego. |
| US5562645A (en) * | 1995-05-31 | 1996-10-08 | Kimberly-Clark Corporation | Article with soft absorbent pulp sheet |
| JP3722550B2 (ja) * | 1996-04-12 | 2005-11-30 | 花王株式会社 | 吸収性物品 |
| US6152904A (en) * | 1996-11-22 | 2000-11-28 | Kimberly-Clark Worldwide, Inc. | Absorbent articles with controllable fill patterns |
| JP4087500B2 (ja) * | 1997-06-13 | 2008-05-21 | 株式会社日本触媒 | 吸収性物品の製造方法 |
| WO1999034843A1 (en) * | 1998-01-07 | 1999-07-15 | The Procter & Gamble Company | Absorbent polymer compositions having high sorption capacities under an applied pressure |
| TR200001895T2 (tr) * | 1998-01-07 | 2001-07-23 | The Procter & Gamble Company | Uygulanan bir basınç altında yüksek emme kapasitesine ve sıvı geçirgenliğine sahip emici polimer bileşimler. |
| JP2001106728A (ja) * | 1999-10-06 | 2001-04-17 | Mitsubishi Chemicals Corp | 高吸水性樹脂 |
| JP4550256B2 (ja) * | 1999-11-19 | 2010-09-22 | 三洋化成工業株式会社 | 吸水性樹脂の製造法 |
| JP2003088553A (ja) * | 2001-09-19 | 2003-03-25 | Sumitomo Seika Chem Co Ltd | 吸収体およびそれを用いた吸収性物品 |
-
2004
- 2004-06-09 JP JP2005506966A patent/JP5064682B2/ja not_active Expired - Fee Related
- 2004-06-09 CN CNA2004800165136A patent/CN1805723A/zh active Pending
- 2004-06-09 EP EP04745929A patent/EP1637105A4/en not_active Withdrawn
- 2004-06-09 WO PCT/JP2004/008377 patent/WO2004110328A1/ja not_active Ceased
- 2004-06-09 US US10/560,239 patent/US20070093766A1/en not_active Abandoned
- 2004-06-11 TW TW093116984A patent/TW200509866A/zh not_active IP Right Cessation
-
2010
- 2010-09-14 JP JP2010205660A patent/JP5162634B2/ja not_active Expired - Lifetime
Patent Citations (3)
| Publication number | Priority date | Publication date | Assignee | Title |
|---|---|---|---|---|
| JPH06254118A (ja) * | 1993-02-24 | 1994-09-13 | Kimberly Clark Corp | 吸収性合成物 |
| JPH0857311A (ja) * | 1994-06-13 | 1996-03-05 | Nippon Shokubai Co Ltd | 吸収体および吸収性物品 |
| JP2003088551A (ja) * | 2001-09-19 | 2003-03-25 | Sumitomo Seika Chem Co Ltd | 吸収体およびそれを用いた吸収性物品 |
Also Published As
| Publication number | Publication date |
|---|---|
| JPWO2004110328A1 (ja) | 2006-07-27 |
| JP2011045724A (ja) | 2011-03-10 |
| JP5162634B2 (ja) | 2013-03-13 |
| EP1637105A1 (en) | 2006-03-22 |
| WO2004110328A1 (ja) | 2004-12-23 |
| US20070093766A1 (en) | 2007-04-26 |
| TWI342204B (ja) | 2011-05-21 |
| EP1637105A4 (en) | 2009-03-25 |
| CN1805723A (zh) | 2006-07-19 |
| TW200509866A (en) | 2005-03-16 |
Similar Documents
| Publication | Publication Date | Title |
|---|---|---|
| JP5162634B2 (ja) | 吸水性樹脂の製造方法 | |
| JP4880144B2 (ja) | 吸収体およびそれを用いた吸収性物品 | |
| JP4087500B2 (ja) | 吸収性物品の製造方法 | |
| KR0183511B1 (ko) | 흡수제와 그 제조방법, 및 흡수제를 포함하는 흡수성 물품 | |
| JP5289955B2 (ja) | 吸水性樹脂粒子、その製造方法、およびそれを用いた吸収体 | |
| TWI535737B (zh) | 吸水性樹脂的製造方法 | |
| EP2607383B1 (en) | Water-absorbing resin | |
| JP4969778B2 (ja) | 吸水性樹脂粒子の製造方法及びそれを用いた衛生材料 | |
| JPWO2002085959A1 (ja) | 高分子量体含有粘性液の吸収に適した吸水性樹脂、並びにそれを用いた吸収体および吸収性物品 | |
| IL110134A (en) | Polymers capable of absorbing aqueous liquids and body fluids their preparation and use | |
| KR20170125388A (ko) | 수성 액체 흡수성 수지 입자의 제조 방법, 수성 액체 흡수성 수지 입자, 흡수체 및 흡수성 물품 | |
| JP7588579B2 (ja) | 吸水性樹脂粒子、吸収体、吸収性物品、吸水性樹脂粒子の通液維持率の測定方法、及び吸水性樹脂粒子の製造方法 | |
| JP4256484B2 (ja) | 吸水剤、吸水性物品および吸水剤の製造方法 | |
| JP2005334616A (ja) | 吸収体およびそれが用いられた吸収性物品 | |
| JP2003088551A (ja) | 吸収体およびそれを用いた吸収性物品 | |
| JPWO2020122219A1 (ja) | 吸水性樹脂粒子、吸収体、吸収性物品、及び液吸引力測定方法 | |
| JP3712453B2 (ja) | 吸水性樹脂、吸水性樹脂組成物および吸収体 | |
| JP2003088553A (ja) | 吸収体およびそれを用いた吸収性物品 | |
| JP2012001735A (ja) | 吸水性樹脂粒子の製造方法及びそれを用いた衛生材料 | |
| EP3936540A1 (en) | Water absorbing resin particles and method for producing same, absorbent body, and absorbent article | |
| EP3936530A1 (en) | Absorbent body, absorbent article and method for adjusting permeation speed | |
| JP4341143B2 (ja) | 親水性重合体塊または粒子の製造方法 | |
| JP5179044B2 (ja) | ドライ感に優れる薄型高吸収性複合体およびその製法 | |
| JP4863830B2 (ja) | 布ライクな高速吸収性複合体およびその製法 | |
| JP7386809B2 (ja) | 吸水性樹脂粒子 |
Legal Events
| Date | Code | Title | Description |
|---|---|---|---|
| A621 | Written request for application examination |
Free format text: JAPANESE INTERMEDIATE CODE: A621 Effective date: 20070425 |
|
| A131 | Notification of reasons for refusal |
Free format text: JAPANESE INTERMEDIATE CODE: A131 Effective date: 20100222 |
|
| A601 | Written request for extension of time |
Free format text: JAPANESE INTERMEDIATE CODE: A601 Effective date: 20100416 |
|
| A602 | Written permission of extension of time |
Free format text: JAPANESE INTERMEDIATE CODE: A602 Effective date: 20100423 |
|
| A521 | Request for written amendment filed |
Free format text: JAPANESE INTERMEDIATE CODE: A523 Effective date: 20100524 |
|
| A521 | Request for written amendment filed |
Free format text: JAPANESE INTERMEDIATE CODE: A821 Effective date: 20100524 |
|
| A02 | Decision of refusal |
Free format text: JAPANESE INTERMEDIATE CODE: A02 Effective date: 20100617 |
|
| A521 | Request for written amendment filed |
Free format text: JAPANESE INTERMEDIATE CODE: A523 Effective date: 20111202 |
|
| A521 | Request for written amendment filed |
Free format text: JAPANESE INTERMEDIATE CODE: A523 Effective date: 20120711 |
|
| A01 | Written decision to grant a patent or to grant a registration (utility model) |
Free format text: JAPANESE INTERMEDIATE CODE: A01 |
|
| A61 | First payment of annual fees (during grant procedure) |
Free format text: JAPANESE INTERMEDIATE CODE: A61 Effective date: 20120809 |
|
| R150 | Certificate of patent or registration of utility model |
Ref document number: 5064682 Country of ref document: JP Free format text: JAPANESE INTERMEDIATE CODE: R150 Free format text: JAPANESE INTERMEDIATE CODE: R150 |
|
| FPAY | Renewal fee payment (event date is renewal date of database) |
Free format text: PAYMENT UNTIL: 20150817 Year of fee payment: 3 |
|
| R250 | Receipt of annual fees |
Free format text: JAPANESE INTERMEDIATE CODE: R250 |
|
| R250 | Receipt of annual fees |
Free format text: JAPANESE INTERMEDIATE CODE: R250 |
|
| R250 | Receipt of annual fees |
Free format text: JAPANESE INTERMEDIATE CODE: R250 |
|
| R250 | Receipt of annual fees |
Free format text: JAPANESE INTERMEDIATE CODE: R250 |
|
| R250 | Receipt of annual fees |
Free format text: JAPANESE INTERMEDIATE CODE: R250 |
|
| R250 | Receipt of annual fees |
Free format text: JAPANESE INTERMEDIATE CODE: R250 |
|
| R250 | Receipt of annual fees |
Free format text: JAPANESE INTERMEDIATE CODE: R250 |
|
| R250 | Receipt of annual fees |
Free format text: JAPANESE INTERMEDIATE CODE: R250 |
|
| LAPS | Cancellation because of no payment of annual fees |
