JP5048112B2 - 流体循環システム用の改良型シーリングを有する制御弁 - Google Patents

流体循環システム用の改良型シーリングを有する制御弁 Download PDF

Info

Publication number
JP5048112B2
JP5048112B2 JP2010203936A JP2010203936A JP5048112B2 JP 5048112 B2 JP5048112 B2 JP 5048112B2 JP 2010203936 A JP2010203936 A JP 2010203936A JP 2010203936 A JP2010203936 A JP 2010203936A JP 5048112 B2 JP5048112 B2 JP 5048112B2
Authority
JP
Japan
Prior art keywords
fluid
control valve
seal ring
adjusting member
outlets
Prior art date
Legal status (The legal status is an assumption and is not a legal conclusion. Google has not performed a legal analysis and makes no representation as to the accuracy of the status listed.)
Expired - Fee Related
Application number
JP2010203936A
Other languages
English (en)
Other versions
JP2011021753A (ja
Inventor
ヴァッカ フレデリク
シャンフロー マチュー
Current Assignee (The listed assignees may be inaccurate. Google has not performed a legal analysis and makes no representation or warranty as to the accuracy of the list.)
Valeo Thermique Moteur SA
Original Assignee
Valeo Thermique Moteur SA
Priority date (The priority date is an assumption and is not a legal conclusion. Google has not performed a legal analysis and makes no representation as to the accuracy of the date listed.)
Filing date
Publication date
Application filed by Valeo Thermique Moteur SA filed Critical Valeo Thermique Moteur SA
Publication of JP2011021753A publication Critical patent/JP2011021753A/ja
Application granted granted Critical
Publication of JP5048112B2 publication Critical patent/JP5048112B2/ja
Anticipated expiration legal-status Critical
Expired - Fee Related legal-status Critical Current

Links

Images

Classifications

    • FMECHANICAL ENGINEERING; LIGHTING; HEATING; WEAPONS; BLASTING
    • F16ENGINEERING ELEMENTS AND UNITS; GENERAL MEASURES FOR PRODUCING AND MAINTAINING EFFECTIVE FUNCTIONING OF MACHINES OR INSTALLATIONS; THERMAL INSULATION IN GENERAL
    • F16KVALVES; TAPS; COCKS; ACTUATING-FLOATS; DEVICES FOR VENTING OR AERATING
    • F16K11/00Multiple-way valves, e.g. mixing valves; Pipe fittings incorporating such valves
    • F16K11/02Multiple-way valves, e.g. mixing valves; Pipe fittings incorporating such valves with all movable sealing faces moving as one unit
    • F16K11/08Multiple-way valves, e.g. mixing valves; Pipe fittings incorporating such valves with all movable sealing faces moving as one unit comprising only taps or cocks
    • F16K11/085Multiple-way valves, e.g. mixing valves; Pipe fittings incorporating such valves with all movable sealing faces moving as one unit comprising only taps or cocks with cylindrical plug
    • BPERFORMING OPERATIONS; TRANSPORTING
    • B60VEHICLES IN GENERAL
    • B60HARRANGEMENTS OF HEATING, COOLING, VENTILATING OR OTHER AIR-TREATING DEVICES SPECIALLY ADAPTED FOR PASSENGER OR GOODS SPACES OF VEHICLES
    • B60H1/00Heating, cooling or ventilating devices
    • B60H1/00485Valves for air-conditioning devices, e.g. thermostatic valves
    • FMECHANICAL ENGINEERING; LIGHTING; HEATING; WEAPONS; BLASTING
    • F16ENGINEERING ELEMENTS AND UNITS; GENERAL MEASURES FOR PRODUCING AND MAINTAINING EFFECTIVE FUNCTIONING OF MACHINES OR INSTALLATIONS; THERMAL INSULATION IN GENERAL
    • F16KVALVES; TAPS; COCKS; ACTUATING-FLOATS; DEVICES FOR VENTING OR AERATING
    • F16K5/00Plug valves; Taps or cocks comprising only cut-off apparatus having at least one of the sealing faces shaped as a more or less complete surface of a solid of revolution, the opening and closing movement being predominantly rotary
    • F16K5/08Details
    • F16K5/14Special arrangements for separating the sealing faces or for pressing them together
    • F16K5/18Special arrangements for separating the sealing faces or for pressing them together for plugs with cylindrical surfaces
    • F16K5/188Sealing effected by the flowing medium
    • FMECHANICAL ENGINEERING; LIGHTING; HEATING; WEAPONS; BLASTING
    • F01MACHINES OR ENGINES IN GENERAL; ENGINE PLANTS IN GENERAL; STEAM ENGINES
    • F01PCOOLING OF MACHINES OR ENGINES IN GENERAL; COOLING OF INTERNAL-COMBUSTION ENGINES
    • F01P7/00Controlling of coolant flow
    • F01P7/14Controlling of coolant flow the coolant being liquid
    • F01P2007/146Controlling of coolant flow the coolant being liquid using valves
    • FMECHANICAL ENGINEERING; LIGHTING; HEATING; WEAPONS; BLASTING
    • F01MACHINES OR ENGINES IN GENERAL; ENGINE PLANTS IN GENERAL; STEAM ENGINES
    • F01PCOOLING OF MACHINES OR ENGINES IN GENERAL; COOLING OF INTERNAL-COMBUSTION ENGINES
    • F01P2060/00Cooling circuits using auxiliaries
    • F01P2060/08Cabin heater
    • FMECHANICAL ENGINEERING; LIGHTING; HEATING; WEAPONS; BLASTING
    • F01MACHINES OR ENGINES IN GENERAL; ENGINE PLANTS IN GENERAL; STEAM ENGINES
    • F01PCOOLING OF MACHINES OR ENGINES IN GENERAL; COOLING OF INTERNAL-COMBUSTION ENGINES
    • F01P7/00Controlling of coolant flow
    • F01P7/14Controlling of coolant flow the coolant being liquid
    • F01P7/16Controlling of coolant flow the coolant being liquid by thermostatic control

Landscapes

  • Engineering & Computer Science (AREA)
  • General Engineering & Computer Science (AREA)
  • Mechanical Engineering (AREA)
  • Physics & Mathematics (AREA)
  • Thermal Sciences (AREA)
  • Taps Or Cocks (AREA)
  • Multiple-Way Valves (AREA)
  • Exhaust-Gas Circulating Devices (AREA)
  • Magnetically Actuated Valves (AREA)
  • Lift Valve (AREA)
  • Fluid-Driven Valves (AREA)

Description

本発明は、流体循環回路、例えば自動車燃焼機関の冷却回路用の制御弁に関する。
本発明の弁は、本体を含むタイプのものであり、この本体は、流体入口と、少なくとも2つの流体出口とを備え、回転軸を中心に回転することができ、かつ出口を通る流体の分配を制御するために種々の角度位置を取ることができる調節要素のための回転ハウジングを画定し、流体入口が開口する端部壁と、流体出口が開口する側壁とを備えている。
この種の弁は、その調節部材が回転軸を中心に回転する限り、「回転弁」とみなすことができる。この種の弁では、通常、側壁が、同一の円筒形状を有する調節部材を収容することができる円筒形ハウジングを画定している。
流体入口を介して弁本体に流入する流体は、調節部材の角度位置に応じて、流体出口間で分配される。
この種の制御弁では、調節部材と弁本体の側壁との間に、確実なシーリングを設ける必要がある。このシーリングは、出口が調節部材により閉鎖されることになっているときに、流体が誤って出口へ漏出するのを防止することを目的としている。
この種のシーリングを確実に設けるために、種々の解決法が既に提案されている。
このシーリングを、弁本体の材料と調節部材の材料との接触により、直接設けることができる。
シーリングを、例えば、調節部材と弁本体の側壁との間に配置されるライナの形の中間シールに求めることもできる。
これらの公知の解決法では、調節部材と弁本体の側壁との接触によって、摩擦が発生する傾向があり、調節部材を回転させるときに、この摩擦を克服しなければならない。
したがって、この回転を行うときに、手またはアクチュエータによる大きな力が必要となる。
本発明の特定の目的は、前述した欠点を克服することである。
本発明は、特に、調節部材と弁本体との間の摩擦を低減した、前述したタイプの制御弁を提供し、同時に、これらの部品間に改良されたシーリングを確実に設けることを目的とする。
本発明によれば、調節部材は、調節部材と一体に回転する、調節部材の周りに小さな間隙をおいて配置された、開いた環状のシールリングにより囲まれ、これにより、流体の圧力の作用下で、シーリングを確実に設けるために、シールリングが側壁に接触して、内側へしっかりと押圧される。
したがって、調節部材本体とシールリングとの間に間隙があるため、これらの間に巻き込まれる流体の圧力により、シーリングは確実に保持される。
この解決法では、調節部材とシールリングとの間に、部分的であっても、環状空間があり、流体がこの領域に入って、シールリングに接触して圧力を加えることができるようになっている。
さらに、この解決法は、シールリングの摩耗を補償するという効果を奏するものである。
調節部材とシールリングとの間の間隙は、例えば、1/10〜1mm、特に約3/10mmである。
本発明では、シールリングは、摩擦係数の低い材料から形成される。特に、ポリアミド型またはポリテトラフルオロエチレン(PTFE)型の材料とすることが好ましい。
本発明の別の特徴によれば、シールリングは、均一に離間した多数の止まり穴が開口する平滑外面を有し、これにより、シールリングと側壁との接触面積を減少させることができる。
このような接触面積の減少により、シーリングを損なうことなく、摩擦を低減することができる。
有利には、シールリングの平滑表面積に対する止まり穴の表面積の比率が、25%〜40%である。好ましくは、この比率は約33%である。
止まり穴は、貫通孔ではなく、かつ円形の外形を有すると有利である。特に、各止まり穴は、球のキャップの形状とすることができる。
本発明のさらに別の特徴によれば、調節部材とシールリングとが、嵌合形状のリリーフを有し、調節部材とシールリングとを、一体として回転させることができる。
本発明の好ましい実施形態では、弁本体の側壁は、円筒形ハウジングを画定し、シールリングが円筒形外面を有する。
一実施形態では、流体入口は、端部壁に軸方向に開口しているが、流体出口は、弁本体の側壁に半径方向に開口している。
別の態様によれば、本発明は、前述した制御弁を有し、流体入口が流体源に接続され、流体出口が回路の枝路に接続されている流体循環回路に関する。
この種の回路は、循環ポンプの作用により冷却流体が通過する、自動車燃焼機関用の冷却回路の形とすると有利である。
したがって、制御弁が三方弁を構成し、流体入口が、機関から到達する冷却流体のための取水口に接続され、3つの流体出口が、それぞれ、冷却ラジエータを含む回路の第1の枝路、冷却ラジエータを迂回する回路の第2の枝路、および車室を加熱するためのヒータマトリクスを含む回路の第3の枝路に接続されていると有利である。
以下の説明では、単なる例として、添付図面を参照する。
図1および図2に示す制御弁10は、端部壁14と、XXを軸とする円筒形側壁16とにより画定された円筒形本体12を有する。流体入口管18は、端部壁14に軸方向に開口している。3つの流体出口管20、22、24は、円筒形側壁16に開口している。例では、出口管20、22、24は、壁16に半径方向に開口している。
管20、24は、正反対の位置に配置されているが、管22は、管20、24の共通軸に対して90゜の角度をなしている。さらに、管20、22、24の順に、直径が小さくなっている。
弁本体12内には、軸XXに沿った向きのロッド28が突出する、ほぼ円筒形の要素の形で製造された、回転部材としても知られる調節部材26が収容されている。このロッド28は、円形のカバー30に示される中央開口を通過している。このカバーは、4本の固定ねじ34により、シール(図示せず)を介して弁本体のフランジ32に取り付けられている。
調節部材26は、図1に概略的に示す電動手段36により、軸XXを中心に回転駆動される。この手段は、例えば、調節部材26を多数の異なる位置へ段階的に、または連続して移動させることのできる、ステッピング型のモータとすることができる。
調節部材26は、例では、回転軸XXに対して、約45゜の角度をなす平面40から構成される切頭端部38を有する。したがって、調節部材26により、流体出口20、22、24を、弁本体の角度位置に従って、所望のどうりに制御することができる。
本発明によれば、調節部材26は、開いた環状のシールリング42により周囲の一部が囲まれ、このシールリング42は、調節部材と一体に回転し、側壁16の内面に密着することができる。
形状が図5〜7に明らかに示されているシールリングは、調節部材の周りに、小さな間隙j(図3)をおいて配置されている。これにより、入口管18を介して弁本体に流入する流体は、シールリング42の半径方向外側へ向いた、シールリング42の内側に対して作用する圧力を加え、シーリングを確実に設けるために、シールリング42を側壁16に接触して、しっかりと半径方向に押圧する。この圧力は、図4の半径方向矢印Pにより示されている。
図4は、概略図であり、特に、シールリングとの間隙を、意図的に非常に誇張した、調節部材26を示す概略図である。
図5および図6に見られるように、開いた環状のシールリング42は、調節部材26の外囲の切頭形状に沿ったほぼ円筒形の面を有する。リング42は、上部が円弧状の縁部44により画定され、下部が同じく円弧状の縁部46により画定され、さらに軸とほぼ平行な2つの縁部48、50と、傾斜した縁部52、54とにより画定されている。縁部44から形成された切欠き56も設けられている。
リング42は、内面に、軸と平行なリブ58を有し、このリブは、調節部材の周囲に形成された、軸に平行な溝60(図6)と協働するようになっている。これにより、シールリングは、調節部材と一体に回転することができ、流体が、調節部材とシールリングとの間の空間に入ることができる。
シールリングは、摩擦係数の低い材料、例えば、ポリテトラフルオロエチレン(PTFE)またはポリアミド等の材料から形成されている。シールリングと側壁16の内面との間の摩擦をさらに低減するために、このシールリングは、均一に配置された多数の止まり穴62が開口する平滑外面を有する。この止まり穴は、図5〜図7により明らかに示されている。
図に示すように、止まり穴、すなわち貫通孔ではない穴は、円形の外形を有する。例では、各止まり穴は、球のキャップの形状を有する(図7参照)。
図示した例示的な実施形態では、図7にも詳細に見られるリブ58が、間に角度A、ここでは30゜をなす2つの半径方向壁64により画定されている。半径方向壁64は、止まり穴62が形成される外面68とは反対側の、シールリングの内面66に接している(図6および図7)。
各止まり穴は、止まり穴の軸方向間隔および半径方向間隔に応じて、適切に選択された直径(D)を有する。
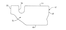
図8は、止まり穴62のないシールリングの平滑表面積SLを示す。
図9は、止まり穴62のあるシールリングの表面積を示す。止まり穴の全表面積は、STで示されている。
止まり穴の表面積と平滑表面積SLとの比率Rは、R=ST/SLであり、これを使用して、平滑表面積に対する止まり穴の百分率を求めることができる。一般に、この比率Rは、25%〜40%、好ましくは、約33%である。
例示的な一実施形態では、平滑表面積SLは、4473m2である。止まり穴62は、各々3mmの直径を有し、4mmの軸方向間隔、および4.45mmの半径方向間隔で、互いに分離されている。これにより、表面積STは1428m2となり、ほぼ1/3または33%と等しい比率Rとなる。
したがって、このような条件で、シールリングと弁本体との間の摩擦トルクは、平滑面を持つシールリングから生じる摩擦トルクに比べて、約1/3減少する。
このような条件では、他がすべて同一であれば、シーリング特性を損なうことなく、より低出力の電動手段36を使用することができる。
本発明の弁は、特に自動車の分野で有利に適用される。図10は、自動車の燃焼機関72を冷却するための回路70を示す。ポンプ74の作用により循環する冷却流体、通常は、不凍液を添加した水が、回路70内を通過する。
流体は、機関により加熱され、前述したタイプの制御弁10の入口管18に接続された出口76を介して、機関から流出する。この弁は、回路の3つの枝路に接続される3つの出口管20、22、24を有する。
この回路は、冷却ラジエータ80および膨張タンク82を含む第1の枝路78と、冷却ラジエータ80および膨張タンク82を迂回する第2の枝路84と、車室を加熱するために使用されるヒータマトリクス88を含む第3の枝路86とを有する。
管20は、枝路78(ラジエータ)に接続され、管22は、枝路86(ヒータマトリクス)に接続され、管24は、枝路84(迂回)に接続されている。したがって、弁によって、回路の前記3つの枝路内の流体の流量を個々に制御して、燃焼機関の温度および車室の加熱を最適化することができる。
勿論、本発明は、前述した実施形態に限定されるものではなく、他の変形形態も考えられる。弁本体により画定される回転形状は、必ずしも円筒形ではなく、例えば、円錐形または切頭円錐形とすることもできる。出口管の数および配置も、考えられる用途に応じて、種々の態様で変えることができる。
本発明の弁は、一般に自動車用に適用される。
本発明の一実施形態による、三方弁型である制御弁の斜視図である。 切断面が調節部材の回転軸を通る、図1の制御弁の断面図である。 調節部材と調節部材に装着されたシールリングとの対応する断面図である。 切断面が調節部材の回転軸に垂直である、図1および2の制御弁の概略断面図である。 シールリングの斜視図である。 図5のシールリングの横断面図である。 図6の拡大詳細図である。 止まり穴のないシールリングの展開面を示す図である。 止まり穴のある、図8と同様の図である。 本発明による、制御弁を備えた自動車燃焼機関の冷却回路を示す図である。
10 制御弁
12 本体
14 端部壁
16 側壁
18 流体入口
20、22、24 流体出口
26 調節部材
42 シールリング
58、60 リリーフ
62 止まり穴
70 冷却回路
72 自動車燃焼機関
74 循環ポンプ
76 流体源、取水口
78 枝路
80 冷却ラジエータ
88 ヒータマトリクス
j 間隙
P 圧力
SL 平滑表面積
ST 表面積
XX 回転軸

Claims (8)

  1. 流体入口(18)と、少なくとも2つの流体出口(20)(22)(24)とを備えた本体(12)を含む流体循環回路用の制御弁であって、前記本体(12)が、回転軸(XX)を中心に回転することができ、かつ前記出口(20)(22)(24)を通る流体の分配を制御するために種々の角度位置を取ることができる調節部材(26)のための回転ハウジングを画定し、前記流体入口(18)が開口している端部壁(14)と、前記流体出口(20)(22)(24)が開口している側壁(16)とを含み、
    前記調節部材(26)は、小さな間隙(j)をおいて配置され調節部材(26)と一体に回転するようになっている開口した環状のシールリング(42)により囲まれていて、流体の圧力(P)の作用下で前記シールリング(42)が前記側壁(16)に向かって押圧されて、確実にシーリングを行うようになっていること、
    前記調節部材(26)は、回転軸XXに対して約45度の角度をなす平面40から構成される切頭端部(38)を有し、且つ、環状のシールリング(42)の上部が円弧条の縁部(44)により画定され、下部が円弧状の縁部(46)により画定され、さらに軸とほぼ平行な2つの縁部(48)(50)と、傾斜した縁部(52)(54)とにより画定されていること、及び環状のシールリング(42)は、その内面に、軸と平行なリブ(58)を有し、リブ(58)は調節部材(26)の周囲に形成された、軸に平行な溝(60)と協働するようになっていて、前記シールリング(42)は調節部材(26)と一体に回転することができ、流体が調節部材(26)とシールリング(42)との間の空間に入るようになっていることを特徴とする制御弁。
  2. 前記シールリング(42)が、摩擦係数の低い材料で形成されていることを特徴とする請求項1に記載の制御弁。
  3. 前記摩擦係数の低い材料が、ポリアミドおよびポリテトラフルオロエチレンから選択されていることを特徴とする請求項2に記載の制御弁。
  4. 前記調節部材(26)とシールリング(42)とが、嵌合形状のリリーフ(58)(60)を有し、前記調節部材(26)とシールリング(42)とを一体として回転させることができるようになっていることを特徴とする請求項1〜3のいずれかに記載の制御弁。
  5. 前記弁本体の側壁(16)が円筒形ハウジングを画定し、前記シールリング(42)が、円筒形外面を有することを特徴とする請求項1〜3のいずれかに記載の制御弁。
  6. 前記流体入口(18)が、前記端部壁(14)に軸方向に開口し、前記流体出口(20)(22)(24)が、前記弁本体の側壁(16)に半径方向に開口していることを特徴とする請求項1〜3のいずれかに記載の制御弁。
  7. 請求項1〜6のいずれかに記載の制御弁を有し、流体入口(18)が、流体源(76)に接続され、流体出口(20)(22)(24)が、前記回路の枝路(78)(86)(84)にそれぞれ接続されていることを特徴とする流体循環回路。
  8. 循環ポンプ(74)の作用により冷却流体が通過する、自動車燃焼機関(72)用の冷却回路(70)の形で製造され、前記制御弁(10)が三方弁であり、流体入口(18)が、前記機関(72)から到達する冷却流体のための取水口(76)に接続され、前記3つの流体出口(20)(22)(24)が、それぞれ、冷却ラジエータ(80)を含む前記回路の第1の枝路(78)、前記冷却ラジエータ(80)を迂回する前記回路の第2の枝路(84)、および車室を加熱するためのヒータマトリクス(88)を含む前記回路の第3の枝路(86)に接続されていることを特徴とする請求項7に記載の流体循環回路。
JP2010203936A 2002-12-30 2010-09-13 流体循環システム用の改良型シーリングを有する制御弁 Expired - Fee Related JP5048112B2 (ja)

Applications Claiming Priority (2)

Application Number Priority Date Filing Date Title
FR02/16856 2002-12-30
FR0216856A FR2849485B1 (fr) 2002-12-30 2002-12-30 Vanne de commande a etancheite amelioree pour circuit de circulation de fluide

Related Parent Applications (1)

Application Number Title Priority Date Filing Date
JP2004564300A Division JP4649211B2 (ja) 2002-12-30 2003-12-23 流体循環システム用の改良型シーリングを有する制御弁

Publications (2)

Publication Number Publication Date
JP2011021753A JP2011021753A (ja) 2011-02-03
JP5048112B2 true JP5048112B2 (ja) 2012-10-17

Family

ID=32480286

Family Applications (2)

Application Number Title Priority Date Filing Date
JP2004564300A Expired - Fee Related JP4649211B2 (ja) 2002-12-30 2003-12-23 流体循環システム用の改良型シーリングを有する制御弁
JP2010203936A Expired - Fee Related JP5048112B2 (ja) 2002-12-30 2010-09-13 流体循環システム用の改良型シーリングを有する制御弁

Family Applications Before (1)

Application Number Title Priority Date Filing Date
JP2004564300A Expired - Fee Related JP4649211B2 (ja) 2002-12-30 2003-12-23 流体循環システム用の改良型シーリングを有する制御弁

Country Status (9)

Country Link
US (1) US7302919B2 (ja)
EP (1) EP1579132B1 (ja)
JP (2) JP4649211B2 (ja)
AT (1) ATE360166T1 (ja)
AU (1) AU2003299403A1 (ja)
DE (1) DE60313363T2 (ja)
ES (1) ES2286506T3 (ja)
FR (1) FR2849485B1 (ja)
WO (1) WO2004061342A1 (ja)

Families Citing this family (33)

* Cited by examiner, † Cited by third party
Publication number Priority date Publication date Assignee Title
FR2827359B1 (fr) * 2001-07-11 2004-11-05 Valeo Thermique Moteur Sa Vanne de commande pour un circuit de refroidissement d'un moteur thermique de vehicule automobile
FR2870313B1 (fr) * 2004-05-17 2006-08-18 Valeo Thermique Moteur Sas Vanne de commande avec segment d'etancheite pour circuit de circulation de fluide
FR2893113B1 (fr) * 2005-11-04 2009-03-06 Valeo Systemes Thermiques Vanne de commande a etancheite amelioree pour circuit de circulation de fluide
US7506664B2 (en) * 2006-04-27 2009-03-24 Ranco Incorporated Of Delaware Automotive coolant control valve
JP5225982B2 (ja) * 2006-05-15 2013-07-03 トマス・ジェイ・ホリス デジタル方式の回転式制御弁
CN101647129B (zh) * 2007-03-28 2012-09-12 Abb研究有限公司 发电机设备和方法
US9371921B2 (en) * 2009-06-23 2016-06-21 Nordson Corporation Multi-port valve
ES1071687Y (es) 2010-01-11 2010-06-22 Omar Vallortigara Dispositivo valvular para un circuito de circulacion de fluido
JP5586367B2 (ja) * 2010-08-04 2014-09-10 イーグル工業株式会社 二方弁
EP2778366B1 (en) 2011-11-07 2018-11-21 Toyota Jidosha Kabushiki Kaisha Engine cooling control device
DE102011090208A1 (de) * 2011-12-30 2013-07-04 Dr. Ing. H.C. F. Porsche Ag Wasserpumpe
US9766000B2 (en) * 2012-03-09 2017-09-19 Mitsubishi Electric Corporation Flow switching device and air-conditioning apparatus including the same
DE112014002468T5 (de) 2013-05-17 2016-02-25 Magna Powertrain Inc. Leichtgängiges Dichtungsverfahren für ein Temperaturregelventil
FR3015614B1 (fr) * 2013-12-19 2016-06-10 Valeo Systemes Thermiques Boisseau mobile pour une vanne de circuit de fluide
FR3015610B1 (fr) * 2013-12-19 2016-06-10 Valeo Systemes Thermiques Boisseau mobile pour une vanne de circuit de fluide
FR3015609B1 (fr) * 2013-12-19 2016-06-10 Valeo Systemes Thermiques Boisseau mobile pour une vanne de circuit de fluide
KR101610159B1 (ko) * 2014-10-31 2016-04-08 현대자동차 주식회사 냉각수 제어 밸브 시스템
JP6350255B2 (ja) * 2014-12-12 2018-07-04 アイシン精機株式会社 冷媒制御バルブ装置
DE102015003055A1 (de) * 2015-03-11 2016-09-15 Murrplastik Produktionstechnik Gmbh Ventileinheit
US10344878B1 (en) * 2016-06-07 2019-07-09 Avalanche Waterslides, Inc. Rotary hydraulic distribution manifold for water play features
JP6604349B2 (ja) * 2017-03-16 2019-11-13 トヨタ自動車株式会社 機関冷却システム
US10865668B2 (en) * 2017-11-03 2020-12-15 Nio Usa, Inc. Four-way hydraulic valve flow control body
WO2019245508A2 (en) 2018-05-14 2019-12-26 Kirpart Otomotiv Parcalari Sanayi Ve Ticaret Anonim Sirketi Thermostat assembly minimizing friction between valve and frame by providing balance of valve
CN110700933B (zh) * 2018-07-10 2021-02-26 长城汽车股份有限公司 用于车辆热管理系统的阀体及车辆
RU2690994C1 (ru) * 2018-08-09 2019-06-07 Публичное акционерное общество "Ракетно-космическая корпорация "Энергия" имени С.П. Королёва" Устройство деления потока жидкости
NO344973B1 (en) * 2018-11-06 2020-08-03 Cflow Fish Handling As System and valve for directing a flow of fish in water
DE102022103199A1 (de) * 2021-03-22 2022-09-22 Yamada Manufacturing Co., Ltd. Steuerventil
JP7791699B2 (ja) * 2021-03-22 2025-12-24 株式会社山田製作所 制御バルブ
JP7775055B2 (ja) * 2021-12-13 2025-11-25 株式会社山田製作所 制御バルブ
CN116181932A (zh) * 2023-02-15 2023-05-30 四川斯科特机械设备有限公司 一种自动补偿密封的斜槽分料阀
JP2024117989A (ja) 2023-02-20 2024-08-30 Nok株式会社 密封装置および密封構造
DE102024115992A1 (de) * 2024-06-07 2025-12-11 Hdt Veritas Hessen Gmbh Fluidverteilungsanordnung
JP2025184563A (ja) 2024-06-07 2025-12-18 Nok株式会社 密封構造の製造方法および密封構造

Family Cites Families (18)

* Cited by examiner, † Cited by third party
Publication number Priority date Publication date Assignee Title
US2045113A (en) * 1933-10-14 1936-06-23 Leo A Ward Plug valve
GB934531A (en) * 1959-01-13 1963-08-21 Bernard Henry Refson Improvements in or relating to plug valves
US3301522A (en) * 1960-04-26 1967-01-31 Clifford L Ashbrook Valve
JPS4841109Y1 (ja) * 1969-10-08 1973-12-01
FR2311974A2 (fr) * 1975-05-23 1976-12-17 Millet Jean Perfectionnements apportes aux vannes ou robinets
US4132388A (en) * 1977-07-15 1979-01-02 Sloan Valve Company Angle cock
JPS5491735U (ja) * 1977-12-12 1979-06-28
JPS646567A (en) * 1987-06-29 1989-01-11 Toto Ltd Selector valve
US4948095A (en) * 1988-05-19 1990-08-14 Flow-Rite Controls, Ltd. Shut-off valve
DE4324749A1 (de) * 1993-07-23 1995-01-26 Freudenberg Carl Fa Regelventil
DE4416039C1 (de) * 1994-05-06 1995-08-31 Freudenberg Carl Fa Regelventil
DE19809124A1 (de) * 1998-03-04 1999-09-16 Daimler Chrysler Ag Steuervorrichtung für den Kühl- und Heizungskreislauf einer Brennkraftmaschine
DE29914869U1 (de) * 1999-08-25 1999-11-11 Ranco Inc. of Delaware, Wilmington, Del. Wasser-Absperrorgan für die Steuerung eines Heizungssystems für ein Kraftfahrzeug
FR2827360B1 (fr) * 2001-07-11 2005-10-28 Valeo Thermique Moteur Sa Vanne de commande pour un circuit de circulation de fluide, en particulier pour un circuit de refroidissement d'un moteur
FR2827359B1 (fr) * 2001-07-11 2004-11-05 Valeo Thermique Moteur Sa Vanne de commande pour un circuit de refroidissement d'un moteur thermique de vehicule automobile
US6681805B2 (en) * 2001-11-28 2004-01-27 Ranco Incorporated Of Delaware Automotive coolant control valve
US6539899B1 (en) * 2002-02-11 2003-04-01 Visteon Global Technologies, Inc. Rotary valve for single-point coolant diversion in engine cooling system
DE10253469A1 (de) * 2002-11-16 2004-05-27 Daimlerchrysler Ag Thermostatventil für ein Kühlsystem einer Brennkraftmaschine

Also Published As

Publication number Publication date
US7302919B2 (en) 2007-12-04
EP1579132B1 (fr) 2007-04-18
DE60313363T2 (de) 2008-01-03
DE60313363D1 (de) 2007-05-31
ES2286506T3 (es) 2007-12-01
AU2003299403A1 (en) 2004-07-29
ATE360166T1 (de) 2007-05-15
FR2849485A1 (fr) 2004-07-02
US20060214017A1 (en) 2006-09-28
EP1579132A1 (fr) 2005-09-28
FR2849485B1 (fr) 2005-09-02
JP4649211B2 (ja) 2011-03-09
JP2006512547A (ja) 2006-04-13
JP2011021753A (ja) 2011-02-03
WO2004061342A1 (fr) 2004-07-22

Similar Documents

Publication Publication Date Title
JP5048112B2 (ja) 流体循環システム用の改良型シーリングを有する制御弁
JP7284771B2 (ja)
JP5336191B2 (ja) 流体の流れ回路のためのシールが改良された制御バルブ
US10458562B2 (en) Control valve
KR101291484B1 (ko) 밀봉 세그먼트를 갖는 유체 순환 회로용 제어 밸브
JP6313801B2 (ja) 流量制御弁
US9951878B2 (en) Thermostat valve
US10508748B2 (en) Control valve
JP6501641B2 (ja) 流量制御弁
US11098808B2 (en) Control valve
WO2013176158A1 (ja) ロータリ式バルブ
US11105430B2 (en) Control valve
JP6354321B2 (ja) 制御弁
KR101896376B1 (ko) 통합 유량 제어 밸브
JP7058736B2 (ja) 制御弁、流量制御弁
JP2019157905A (ja) 制御弁
JP2018194167A (ja) 制御バルブ
WO2020202705A1 (ja) 制御弁
JP7101544B2 (ja) 制御弁
JP2025187752A (ja) 弁装置
JP2021046862A (ja) 流量制御弁および冷却システム
JP2020148241A (ja) 制御弁

Legal Events

Date Code Title Description
TRDD Decision of grant or rejection written
A01 Written decision to grant a patent or to grant a registration (utility model)

Free format text: JAPANESE INTERMEDIATE CODE: A01

Effective date: 20120619

A01 Written decision to grant a patent or to grant a registration (utility model)

Free format text: JAPANESE INTERMEDIATE CODE: A01

A61 First payment of annual fees (during grant procedure)

Free format text: JAPANESE INTERMEDIATE CODE: A61

Effective date: 20120718

FPAY Renewal fee payment (event date is renewal date of database)

Free format text: PAYMENT UNTIL: 20150727

Year of fee payment: 3

R150 Certificate of patent or registration of utility model

Free format text: JAPANESE INTERMEDIATE CODE: R150

R250 Receipt of annual fees

Free format text: JAPANESE INTERMEDIATE CODE: R250

R250 Receipt of annual fees

Free format text: JAPANESE INTERMEDIATE CODE: R250

R250 Receipt of annual fees

Free format text: JAPANESE INTERMEDIATE CODE: R250

LAPS Cancellation because of no payment of annual fees