JP5028552B2 - 電磁誘導を用いて物体を検出する物体検出装置 - Google Patents

電磁誘導を用いて物体を検出する物体検出装置 Download PDF

Info

Publication number
JP5028552B2
JP5028552B2 JP2008522287A JP2008522287A JP5028552B2 JP 5028552 B2 JP5028552 B2 JP 5028552B2 JP 2008522287 A JP2008522287 A JP 2008522287A JP 2008522287 A JP2008522287 A JP 2008522287A JP 5028552 B2 JP5028552 B2 JP 5028552B2
Authority
JP
Japan
Prior art keywords
loop wiring
loop
wiring group
group
wirings
Prior art date
Legal status (The legal status is an assumption and is not a legal conclusion. Google has not performed a legal analysis and makes no representation as to the accuracy of the status listed.)
Expired - Fee Related
Application number
JP2008522287A
Other languages
English (en)
Other versions
JPWO2007148429A1 (ja
Inventor
保二 小川
Original Assignee
株式会社Nc3
Priority date (The priority date is an assumption and is not a legal conclusion. Google has not performed a legal analysis and makes no representation as to the accuracy of the date listed.)
Filing date
Publication date
Application filed by 株式会社Nc3 filed Critical 株式会社Nc3
Priority to JP2008522287A priority Critical patent/JP5028552B2/ja
Publication of JPWO2007148429A1 publication Critical patent/JPWO2007148429A1/ja
Application granted granted Critical
Publication of JP5028552B2 publication Critical patent/JP5028552B2/ja
Expired - Fee Related legal-status Critical Current
Anticipated expiration legal-status Critical

Links

Images

Classifications

    • GPHYSICS
    • G01MEASURING; TESTING
    • G01BMEASURING LENGTH, THICKNESS OR SIMILAR LINEAR DIMENSIONS; MEASURING ANGLES; MEASURING AREAS; MEASURING IRREGULARITIES OF SURFACES OR CONTOURS
    • G01B7/00Measuring arrangements characterised by the use of electric or magnetic techniques
    • G01B7/003Measuring arrangements characterised by the use of electric or magnetic techniques for measuring position, not involving coordinate determination
    • GPHYSICS
    • G01MEASURING; TESTING
    • G01BMEASURING LENGTH, THICKNESS OR SIMILAR LINEAR DIMENSIONS; MEASURING ANGLES; MEASURING AREAS; MEASURING IRREGULARITIES OF SURFACES OR CONTOURS
    • G01B7/00Measuring arrangements characterised by the use of electric or magnetic techniques
    • G01B7/02Measuring arrangements characterised by the use of electric or magnetic techniques for measuring length, width or thickness
    • G01B7/023Measuring arrangements characterised by the use of electric or magnetic techniques for measuring length, width or thickness for measuring distance between sensor and object
    • GPHYSICS
    • G01MEASURING; TESTING
    • G01BMEASURING LENGTH, THICKNESS OR SIMILAR LINEAR DIMENSIONS; MEASURING ANGLES; MEASURING AREAS; MEASURING IRREGULARITIES OF SURFACES OR CONTOURS
    • G01B7/00Measuring arrangements characterised by the use of electric or magnetic techniques
    • G01B7/28Measuring arrangements characterised by the use of electric or magnetic techniques for measuring contours or curvatures
    • GPHYSICS
    • G01MEASURING; TESTING
    • G01DMEASURING NOT SPECIALLY ADAPTED FOR A SPECIFIC VARIABLE; ARRANGEMENTS FOR MEASURING TWO OR MORE VARIABLES NOT COVERED IN A SINGLE OTHER SUBCLASS; TARIFF METERING APPARATUS; MEASURING OR TESTING NOT OTHERWISE PROVIDED FOR
    • G01D5/00Mechanical means for transferring the output of a sensing member; Means for converting the output of a sensing member to another variable where the form or nature of the sensing member does not constrain the means for converting; Transducers not specially adapted for a specific variable
    • G01D5/12Mechanical means for transferring the output of a sensing member; Means for converting the output of a sensing member to another variable where the form or nature of the sensing member does not constrain the means for converting; Transducers not specially adapted for a specific variable using electric or magnetic means
    • G01D5/14Mechanical means for transferring the output of a sensing member; Means for converting the output of a sensing member to another variable where the form or nature of the sensing member does not constrain the means for converting; Transducers not specially adapted for a specific variable using electric or magnetic means influencing the magnitude of a current or voltage
    • G01D5/20Mechanical means for transferring the output of a sensing member; Means for converting the output of a sensing member to another variable where the form or nature of the sensing member does not constrain the means for converting; Transducers not specially adapted for a specific variable using electric or magnetic means influencing the magnitude of a current or voltage by varying inductance, e.g. by a movable armature
    • G01D5/204Mechanical means for transferring the output of a sensing member; Means for converting the output of a sensing member to another variable where the form or nature of the sensing member does not constrain the means for converting; Transducers not specially adapted for a specific variable using electric or magnetic means influencing the magnitude of a current or voltage by varying inductance, e.g. by a movable armature by influencing the mutual induction between two or more coils
    • GPHYSICS
    • G01MEASURING; TESTING
    • G01RMEASURING ELECTRIC VARIABLES; MEASURING MAGNETIC VARIABLES
    • G01R27/00Arrangements for measuring resistance, reactance, impedance, or electric characteristics derived therefrom
    • G01R27/02Measuring real or complex resistance, reactance, impedance, or other two-pole characteristics derived therefrom, e.g. time constant
    • G01R27/26Measuring inductance or capacitance; Measuring quality factor, e.g. by using the resonance method; Measuring loss factor; Measuring dielectric constants ; Measuring impedance or related variables
    • G01R27/2611Measuring inductance
    • GPHYSICS
    • G01MEASURING; TESTING
    • G01VGEOPHYSICS; GRAVITATIONAL MEASUREMENTS; DETECTING MASSES OR OBJECTS; TAGS
    • G01V3/00Electric or magnetic prospecting or detecting; Measuring magnetic field characteristics of the earth, e.g. declination, deviation
    • G01V3/08Electric or magnetic prospecting or detecting; Measuring magnetic field characteristics of the earth, e.g. declination, deviation operating with magnetic or electric fields produced or modified by objects or geological structures or by detecting devices
    • G01V3/10Electric or magnetic prospecting or detecting; Measuring magnetic field characteristics of the earth, e.g. declination, deviation operating with magnetic or electric fields produced or modified by objects or geological structures or by detecting devices using induction coils
    • G01V3/101Electric or magnetic prospecting or detecting; Measuring magnetic field characteristics of the earth, e.g. declination, deviation operating with magnetic or electric fields produced or modified by objects or geological structures or by detecting devices using induction coils by measuring the impedance of the search coil; by measuring features of a resonant circuit comprising the search coil
    • G01V3/102Electric or magnetic prospecting or detecting; Measuring magnetic field characteristics of the earth, e.g. declination, deviation operating with magnetic or electric fields produced or modified by objects or geological structures or by detecting devices using induction coils by measuring the impedance of the search coil; by measuring features of a resonant circuit comprising the search coil by measuring amplitude
    • GPHYSICS
    • G06COMPUTING OR CALCULATING; COUNTING
    • G06FELECTRIC DIGITAL DATA PROCESSING
    • G06F3/00Input arrangements for transferring data to be processed into a form capable of being handled by the computer; Output arrangements for transferring data from processing unit to output unit, e.g. interface arrangements
    • G06F3/01Input arrangements or combined input and output arrangements for interaction between user and computer
    • G06F3/03Arrangements for converting the position or the displacement of a member into a coded form
    • G06F3/041Digitisers, e.g. for touch screens or touch pads, characterised by the transducing means
    • G06F3/046Digitisers, e.g. for touch screens or touch pads, characterised by the transducing means by electromagnetic means

Landscapes

  • Physics & Mathematics (AREA)
  • Engineering & Computer Science (AREA)
  • General Physics & Mathematics (AREA)
  • Theoretical Computer Science (AREA)
  • General Engineering & Computer Science (AREA)
  • Electromagnetism (AREA)
  • Human Computer Interaction (AREA)
  • Remote Sensing (AREA)
  • Life Sciences & Earth Sciences (AREA)
  • Environmental & Geological Engineering (AREA)
  • Geology (AREA)
  • General Life Sciences & Earth Sciences (AREA)
  • Geophysics (AREA)
  • Measurement Of Length, Angles, Or The Like Using Electric Or Magnetic Means (AREA)
  • Geophysics And Detection Of Objects (AREA)

Description

本発明は物体を検出する物体検出装置に関し、特に、電磁誘導を用いて導電体又は磁性体からなる被測定物体の形状や被測定物体からの距離を検出する物体検出装置に関する。
従来の電磁誘導を用いて導電体又は磁性体等からなる物体を検出するものとしては、例えば特許文献1に開示の技術がある。これは、複数のセンスコイルを検出面上に二次元配置して、導電体又は磁性体からなる位置指示器による指示位置をセンスコイルのインダクタンスの変化を基に読み取るものである。また、特許文献2に開示の技術は、コイル間にクッション材を設けたセンサ部を複数マトリックス状に配置し、センサ部にかかる圧力分布を電磁結合の変化を基に検出するものである。
特開平10−198494号公報 特開2005−156474号公報
しかしながら、従来の導電体又は磁性体からなる物体の検出装置には、以下のような問題があった。すなわち、例えば特許文献1の技術は、導電体又は磁性体からなる物体のみを検出するものであり、これを例えば指等の非導電体・非磁性体の指示位置を検出するような構造とすることはできなかった。また、センスコイルの数と同数の切替器が必要となるため、物体の形状を検出しようとした場合には多数のセンスコイルと切替器が必要となるので、非常に高価なものとなっていた。
また、特許文献2の技術では、導電体又は磁性体からなる物体をセンサ上に載せると、本来は圧力により誘導電流又は誘導電圧は増加しなければならないにも関わらず、導電体又は磁性体の影響で減衰又は増加してしまう。このため、測定できるのは非導電体・非磁性体に限られていた。
本発明は、斯かる実情に鑑み、導電体又は磁性体からなる物体の形状や物体からの距離が安価に且つ安定して検出可能で、さらに指等の非導電体・非磁性体の物体の指示位置検出も可能となる物体検出装置を提供しようとするものである。
上述した本発明の目的を達成するために、本発明による物体検出装置は、複数のコイル状部分をそれぞれ有する複数の第1ループ配線が同一平面上に平行に配置される第1ループ配線群と、複数のコイル状部分をそれぞれ有する複数の第2ループ配線が同一平面上に平行に配置される第2ループ配線群であって、該第2ループ配線群は第1ループ配線群と平行であり、複数の第2ループ配線は複数の第1ループ配線とそれぞれ直交する方向に配置される、第2ループ配線群と、第1ループ配線群と第2ループ配線群との間の距離を一定に保つスペーサ手段と、第1ループ配線と第2ループ配線が直交するそれぞれの位置にコイル状部分が配置されることで第1ループ配線と第2ループ配線が電磁結合するように構成される複数の電磁結合部と、第1ループ配線群又は第2ループ配線群の一方に接続され、該ループ配線群を駆動する駆動手段と、第1ループ配線群又は第2ループ配線群の他方に接続され、該ループ配線群から電磁結合部の電磁結合の変化を検出する検出手段と、を具備するものである。
ここで、第1ループ配線のコイル状部分の大きさと第2ループ配線のコイル状部分の大きさが、それぞれ異なるものであっても良い。
また、物体検出装置は、複数のコイル状部分をそれぞれ有する複数の第1ループ配線が同一平面上に平行に配置される第1ループ配線群と、複数の直線状の第2ループ配線が同一平面上に平行に配置される第2ループ配線群であって、該第2ループ配線群は第1ループ配線群と平行であり、複数の第2ループ配線は複数の第1ループ配線とそれぞれ直交する方向に配置される、第2ループ配線群と、第1ループ配線群と第2ループ配線群との間の距離を一定に保つスペーサ手段と、第1ループ配線と第2ループ配線が直交するそれぞれの位置にコイル状部分が配置されることで第1ループ配線と第2ループ配線が電磁結合するように構成される複数の電磁結合部と、第1ループ配線群又は第2ループ配線群の一方に接続され、該ループ配線群を駆動する駆動手段と、第1ループ配線群又は第2ループ配線群の他方に接続され、該ループ配線群から電磁結合部の電磁結合の変化を検出する検出手段と、を具備するものであっても良い。
さらに、物体検出装置は、複数の直線状の第1ループ配線が同一平面上に平行に配置される第1ループ配線群と、複数の直線状の第2ループ配線が同一平面上に平行に配置される第2ループ配線群であって、該第2ループ配線群は第1ループ配線群と平行であり、複数の第2ループ配線は複数の第1ループ配線とそれぞれ直交する方向に配置される、第2ループ配線群と、第1ループ配線群と第2ループ配線群との間の距離を一定に保つスペーサ手段と、第1ループ配線と第2ループ配線が直交するそれぞれの位置の近傍に複数の導電性板がそれぞれ配置されることで第1ループ配線と第2ループ配線が電磁結合するように構成される複数の電磁結合部と、第1ループ配線群又は第2ループ配線群の一方に接続され、該ループ配線群を駆動する駆動手段と、第1ループ配線群又は第2ループ配線群の他方に接続され、該ループ配線群から電磁結合部の電磁結合の変化を検出する検出手段と、を具備するものであっても良い。
ここで、複数の導電性板は、隣り合う第1ループ配線間の近傍で且つ隣り合う第2ループ配線間の近傍に配置されても良い。
また、複数の導電性板は、第1ループ配線の近傍で且つ隣り合う第2ループ配線間の近傍、及び第2ループ配線の近傍で且つ隣り合う第1ループ配線間の近傍に配置されても良い。
さらに、複数の導電性板は、第1ループ配線群及び第2ループ配線群との距離が一定に固定されれば良い。
また、複数の導電性板は、弾性体を介して第1ループ配線群及び第2ループ配線群の近傍に配置され、第1ループ配線群及び第2ループ配線群との距離が複数の導電性板に加えられる圧力により変化するように構成されていても良い。
さらにまた、複数の導電性板は、コイル形状であっても良い。
ここで、検出面上に被測定物体及びこれと異なる位置指示手段が載せられる場合に、検出手段は、第2ループ配線群からの出力信号が減衰したときには被測定物体の形状を検出し、増加したときには位置指示手段の指示位置を検出すれば良い。
さらに、位置指示手段は特定の周波数に同調する同調回路を有し、駆動手段は特定の周波数で第1ループ配線群を駆動するようにしても良い。
このとき、検出面上に被測定物体、同調回路を有する位置指示手段、及び同調回路を有さない位置指示手段が載せられる場合に、駆動手段は、第1周波数及び第2周波数で第1ループ配線群を駆動し、同調回路は、第2周波数に同調し、検出手段は、第2ループ配線群からの出力信号が、第1ループ配線群が第1周波数で駆動されるときに減衰したときには被測定物体の形状を検出し増加したときには同調回路を有さない位置指示手段の指示位置を検出し、第1ループ配線群が第2周波数で駆動されるときの出力信号が第1周波数で駆動されるときの出力信号より大きいときには同調回路を有する位置指示手段の指示位置を検出するように構成されていても良い。
本発明の物体検出装置には、導電体又は磁性体からなる物体の形状や物体からの距離を安価に且つ安定して検出可能であるという利点がある。また、指等の非導電体・非磁性体の物体の指示位置検出も可能となるように構成でき、さらに同調回路を内蔵する位置指示具の指示位置をも検出可能となるように構成することも可能であるという利点がある。
以下、本発明を実施するための最良の形態を図示例と共に説明する。図1は、本発明の物体検出装置の全体的な構成を説明するための概略図である。図示の通り、本発明の物体検出装置は、その検出面10には複数の第1ループ配線1からなる第1ループ配線群と複数の第2ループ配線2からなる第2ループ配線群とが設けられている。また、本発明の物体検出装置は、第1ループ配線1に接続され第1ループ配線群を駆動する駆動部20と、第2ループ配線1に接続され第2ループ配線群から電磁結合の変化を検出する検出部30とを具備する。なお、図示例では駆動部20が第1ループ配線1に接続され、検出部30が第2ループ配線2に接続された例を示しているが、本発明はこれに限定されず、駆動部20に第2ループ配線2を、検出部30に第1ループ配線1を接続しても勿論構わない。
本発明の物体検出装置では、第1ループ配線1と第2ループ配線2により電磁結合部を提供する検出面10を構成し、第1ループ配線1を高周波駆動する。導電体からなる被測定物体が検出面に載せられると、被測定物体の影響(シールド効果)で電磁結合の度合いが弱くなり、第2ループ配線2から測定される誘導電流又は誘導電圧が小さくなる。一方、磁性体からなる被測定物が検出面に載せられると、電磁結合の度合いが強くなり、第2ループ配線2から測定される誘導電流又は誘導電圧が大きくなる。本発明の物体検出装置では、この現象を利用して電磁結合部に変化が現れた位置を検出し、被測定物体の形状や被測定物体からの距離を検出するものである。なお、導電率が一定ではない導電体や透磁率が一定でない磁性体の場合には、これらの変化分布を検出することも可能である。
本発明の物体検出装置において、第1ループ配線群は、複数の第1ループ配線1が同一平面上に平行に配置されたものである。また、第2ループ配線群も複数の第2ループ配線2が同一平面上に平行に配置されたものである。そして、第2ループ配線群は第1ループ配線群と平行に配置され、さらに第2ループ配線2は、第1ループ配線1と直交するように設けられている。さらに、第1ループ配線群と第2ループ配線群は、それらの間の距離が一定に保たれるように所定のスペースを設けて配置される。すなわち、第1ループ配線群と第2ループ配線群の間には絶縁体3が配置され、第1ループ配線群と第2ループ配線群が接触せず且つそれらの間の距離が一定となるように構成されている。なお、絶縁体3は、検出面10を構成する部材と一体であっても別体であっても勿論構わない。
ここで、本発明の物体検出装置では、第1ループ配線1と第2ループ配線2とが電磁結合するように構成されている。以下、本発明の物体検出装置の電磁結合部のより具体的な構成について説明する。
図2は、本発明の物体検出装置の電磁結合部の構成を説明するための検出面の一部の上面図であり、図2(a)が各配線をコイル状に形成したもの、図2(b)が一方の配線をコイル状に、他方を直線状に形成したもの、図2(c)が一方の配線を矩形状に、他方を直線状に形成したものを示している。本発明の物体検出装置において電磁結合部は、第1ループ配線1と第2ループ配線2とが電磁結合するように、図2(a)に示すように構成することができる。図2(a)の例では、第1ループ配線1が小さめのコイルを形成するようにアーチ状に形成され、その上に重なるように、これに直交する第2ループ配線2が大きめのコイルを形成するようにアーチ状に形成されている。このように構成することで、電磁結合部が提供可能である。なお、図示例では第1ループ配線で形成したコイル状のアーチの方が第2ループ配線で形成したコイル状のアーチよりも小さく形成されている例を示したが、本発明はこれに限定されず、同じ大きさで形成されても勿論構わない。
また、電磁結合部の他の例としては、第1ループ配線と第2ループ配線とが電磁結合するように、電磁結合部を図2(b)に示すように構成することができる。図2(b)の例では、第2ループ配線2がコイルを形成するようにアーチ状に形成され、これに直交する第1ループ配線1が直線状に形成されている。このように構成しても、電磁結合部が提供可能である。なお、図示例では第2ループ配線2がアーチ状に形成され、第1ループ配線1が直線状に形成された例を示したが、本発明はこれに限定されず、逆に、第2ループ配線2が直線状に形成され、第1ループ配線1がアーチ状に形成されても構わない。なお、本発明の物体検出装置のループ配線は、アーチ状に限定されず、電磁結合するコイルを形成するものであれば、菱形状や螺旋形状等、種々の形状とすることが可能である。
さらに、電磁結合部の他の例としては、第1ループ配線と第2ループ配線とが電磁結合するように、電磁結合部を図2(c)に示すように構成することができる。図2(c)の例では、第2ループ配線2がコイルを形成するように矩形状に形成され、これに直交する第1ループ配線1が直線状に形成されている。このように構成しても、電磁結合部が提供可能である。なお、図示例では第2ループ配線2が矩形状に形成され、第1ループ配線1が直線状に形成された例を示したが、本発明はこれに限定されず、逆に、第2ループ配線2が直線状に形成され、第1ループ配線1が矩形状に形成されても構わない。さらに、第1ループ配線及び第2ループ配線の両方が矩形状に形成されても勿論構わない。
このように、第1ループ配線及び第2ループ配線は、互いに電磁結合するように構成されている。電磁結合部の形状としては、アーチ状や直線状、菱形状等、種々の形状のコイルとすることで電磁結合部を形成可能である。また、コイルの大きさに関しては、駆動側のループ配線と検出側のループ配線の電磁結合部のコイルの大きさが同じでも良いが、第1ループ配線と第2ループ配線とでコイルの大きさが異なるように形成されても良い。コイルの大きさを第1ループ配線と第2ループ配線とで変えると、検出感度が向上することが本願発明者による実験により明らかになった。所定の条件下で実験を行ったところ、被測定物体が検出面に置かれたときに、同じ大きさのコイルで駆動して検出した場合には、20%程度の変化が得られたが、どちらかのコイルの大きさを1/2にした場合には、60%程度の変化が得られた。この結果から明らかなように、検出感度を高くしたい場合には、コイルの大きさを変えることが好ましい。なお、大小どちらのコイルで駆動しても、同様の結果が得られた。
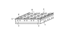
また、本発明の物体検出装置においては、第1ループ配線と第2ループ配線とが間接的に電磁結合するように、電磁結合部を図3に示すように構成することができる。図3に、本発明の物体検出装置において、第1ループ配線と第2ループ配線とがそれぞれ直線状に形成され、これらが電磁結合するようにその近傍に導電性板を設けた例を示す。図3(a)はその検出面の一部上面図であり、図3(b)がその一部断面斜視図である。図示の通り、電磁結合部は、それぞれ直線状に形成された第1ループ配線1と第2ループ配線2の直交するそれぞれの位置の近傍に、導電性板4が形成されて提供されるものである。直線状に直交する第1ループ配線1と第2ループ配線2ではその間は電磁結合しないが、近傍に導電性板4を設けることで、導電性板4に生じる渦電流により間接的に電磁結合することになる。なお、図示例では、導電性板4を第1ループ配線1と第2ループ配線2とが直交する部分の上部に設けているが、本発明はこれに限定されず、電磁結合が生ずるように構成されれば、導電性板は直交する部分の下部に設けられても勿論良い。また、導電性板4は、第1ループ配線1と第2ループ配線2とが直交する部分を覆うように設けられているが、本発明はこれに限定されず、上部から見て配線上にかからないように、直交する配線で提供される四辺形状の内側に設けられても勿論構わない。なお、この場合には、第1ループ配線や第2ループ配線の上部ではなく、第1ループ配線又は第2ループ配線と同じ面内に設けられても良い。
さらに、導電性板4の配置は、第1ループ配線1と第2ループ配線2とが直交する位置の近傍に設けられる以外に、以下で説明するようなパターンで設けても良い。図4は、本発明の物体検出装置における導電性板の配置例のバリエーションを説明するための図である。図4(a)は、第1ループ配線群の隣り合う第1ループ配線1間の近傍で、且つ第2ループ配線群の隣り合う第2ループ配線2間の近傍に、それぞれ導電性板4を形成した例を示している。図4(b)は、図3と図4(a)を組み合わせた配置例であり、第1ループ配線1と第2ループ配線2が直交する位置の近傍、及び第1ループ配線群の隣り合う第1ループ配線1間の近傍で且つ第2ループ配線群の隣り合う第2ループ配線2間の近傍に、それぞれ導電性板4を形成した例を示している。さらに、図4(c)は、第1ループ配線1の近傍で且つ隣り合う第2ループ配線2間の近傍、及び第2ループ配線2の近傍で且つ隣り合う第1ループ配線1間の近傍に、それぞれ導電性板4を形成した例を示している。このような種々のパターンで導電性板を設けることでも電磁結合部を構成することが可能である。なお、図示例の導電性板4は、上部から見て配線上にかからないように、直交する配線で提供される四辺形状の内側に設けられているが、本発明はこれに限定されず、図3に示すように、配線上にかかるように導電性板4を設けても構わない。
導電性板4は、検出面上に載せられる導電体又は磁性体からなる被測定物の形状や被測定物体からの距離を検出するためだけであれば、図3(b)に示したように、第1ループ配線群及び第2ループ配線群との距離が一定になるように固定されれば良い。なお、導電性板4は、検出面10を構成する絶縁体3に埋め込まれても良いし、別途保護シート等により導電性板4が外部に露出するのを保護しても構わない。さらに、導電性板4は、図示例では四辺形状のものを示したが、本発明はこれに限定されず、円形状のものであっても良く、さらに中心に孔が開いたコイル形状のものであっても構わない。
次に、本発明の物体検出装置における具体的な検出手順について図1を再度参照して説明する。まず、第1ループ配線群を駆動部20により駆動する。具体的には、駆動部20は高周波発振器21とドライバ22と切替器23とから主になるものであり、駆動部20を各第1ループ配線に順に接続していき、第1ループ配線1を順次駆動する。なお、第1ループ配線毎に駆動する周波数を変化させてすべての第1ループ配線を一度に駆動するように構成しても勿論構わない。
一方、第2ループ配線2は、第1ループ配線1と第2ループ配線2との電磁結合の度合いの変化を検出する検出部30に接続される。検出部30は、切替器31とアンプ32と同期検波部33とA/D変換部34とから主になるものであり、検出部30を各第2ループ配線2に順に接続していき、第2ループ配線から誘導電流又は誘導電圧を順次検出する。同期検波部33には、発振器21からの出力も接続され、発振器21からの出力と第2ループ配線からの出力の積を取り、これを時間積分する。なお、第2ループ配線毎に別々に検出回路を設けたり周波数フィルタ回路等を組み合わせたりすることで、すべての検出コイルから一度に検出するように構成しても良い。
これらの駆動部20及び検出部30は、DSP等からなるマイクロコンピュータ40で制御され、所望な出力が得られるよう構成されている。具体的には、まず1つ目の第1ループ配線に駆動部20を接続し、検出部30を第2ループ配線に順次接続してそのときの出力信号を測定する。そして2つ目の第1ループ配線に駆動部20を接続し、検出部30を第2ループ配線に順次接続してそのときの出力信号を測定する。これを繰り返すことで、検出面10における第1ループ配線と第2ループ配線の交点をXY座標とするすべての位置における出力信号を測定することができる。なお、検出部30を1つ目の第2ループ配線に接続し、駆動部20を第1ループ配線に順次接続してそのときの出力信号を測定するようにしても勿論構わない。なお、駆動部及び検出部の構成は、上述の図示例に限定されるものではなく、第1ループ配線を駆動でき、第2ループ配線から誘導電流又は誘導電圧を検出できるものであれば如何なる構成であっても構わない。
さて、導電体が検出面10上に載せられると、導電体に覆われる第1ループ配線1と第2ループ配線2の交点部分の電磁結合が弱くなり、第2ループ配線2から測定される誘導電流又は誘導電圧が小さくなる。そこで、出力が小さくなったXY座標をプロットすることで、検出面上に載せられた導電体の形状を検出することが可能となる。また、導電体の検出面に載せられる側の面が平面ではなく曲面等の場合には、第2ループ配線2から測定される誘導電流又は誘導電圧が小さくなる度合いが変化する。そこで、この出力の大きさから、導電体と検出面との間の距離を検出することが可能となり、出力の変化分布から導電体の表面の状態を検出することが可能となる。なお、導電率が一定でない導電体を検出面上に載せた場合には、出力の変化分布から導電率の変化分布を検出することが可能となる。
一方、磁性体が検出面10上に載せられると、磁性体に覆われる第1ループ配線1と第2ループ配線2の交点部分の電磁結合が強くなり、第2ループ配線2から測定される誘導電流又は誘導電圧が大きくなる。そこで、出力が大きくなったXY座標をプロットすることで、検出面上に載せられた磁性体の形状を検出することが可能となる。また、磁性体の検出面に載せられる側の面が平面ではなく曲面等の場合には、第2ループ配線2から測定される誘導電流又は誘導電圧が大きくなる度合いが変化する。そこで、この出力の大きさから、磁性体と検出面との間の距離を検出することが可能となり、出力の変化分布から磁性体の表面の状態を検出することが可能となる。なお、透磁率が一定でない磁性体を検出面上に載せた場合には、出力の変化分布から透磁率の変化分布を検出することが可能となる。
次に、本発明の他の実施例について、図5を参照して説明する。図3に示した導電性板は、第1ループ配線群及び第2ループ配線群との距離が一定になるように固定されたものであったが、図5に示した実施例では、第1ループ配線群及び第2ループ配線群と導電性板との距離が変化するように構成されたものである。図示のように、絶縁体3内に第1ループ配線1と第2ループ配線2が設けられ、絶縁体3と導電性板4との間に、弾性体5が設けられている。導電性板4に圧力が加えられると、第1ループ配線群及び第2ループ配線群と導電性板4との距離が変化する。第1ループ配線群及び第2ループ配線群と導電性板4との距離が変化すると、第2ループ配線の出力信号も変化する。具体的には、第1ループ配線群及び第2ループ配線群と導電性板4との距離が狭くなると、電磁結合の度合いが強くなるため、第2ループ配線から測定される誘導電流又は誘導電圧が大きくなる。図5に示した本発明の物体検出装置ではこの現象を利用して、導電体や磁性体の形状や距離の検出だけでなく、電磁結合部に変化が現れた位置を圧力が加えられた指示位置として検出可能としたものである。
本実施例の物体検出装置における具体的な検出手順について説明すると、例えば検出面10上に、位置指示具として非導電体・非磁性体である指や絶縁体が載せられた場合、導電性板4が第1ループ配線1及び第2ループ配線2に近寄るため、その指示位置の電磁結合部の結合の度合いは強くなり、第2ループ配線2からの出力信号が大きくなる。一方、導電体が検出面10上に載せられた場合には、その重さにより導電性板4が第1ループ配線1及び第2ループ配線2に近寄り電磁結合の度合いが強くなるが、それ以上に導電体によるシールド効果が効いて、第2ループ配線2からの出力信号は減衰することになる。したがって、検出部30においては、第2ループ配線2からの出力信号が減衰したときには、検出面10上に載せられたものは導電体と判断して導電体の形状や導電体からの距離を検出する。また、検出部30は、第2ループ配線2からの出力信号が増加したときには、検出面10上に載せられたものは位置指示具と判断して位置指示具の指示位置を検出する。さらに、磁性体が載せられた場合には、出力信号は増加するが、圧力による出力信号の増加と比べると、より増加が大きいものであったり、指と比べて増加する領域が広いものであったりするため、位置指示具と磁性体との区別も可能である。
さらに、本発明の物体検出装置において、指以外の位置指示具としては、特定の周波数に同調する同調回路を有する位置指示具を適用することが可能である。この場合、駆動部20は、同調回路と同調する特定の周波数で第1ループ配線を駆動する。検出面10上に同調回路を有する位置指示具が載せられると、その指示位置の電磁結合部の結合の度合いは強くなり、第2ループ配線2からの出力信号が大きくなる。したがって、検出部30においては、第2ループ配線からの出力信号が減衰したときには、検出面10上に載せられたものは導電体と判断して導電体の形状や導電体からの距離を検出し、増加したときには、検出面10上に載せられたものは位置指示具と判断して位置指示具の指示位置を検出することが可能となる。なお、同調回路を有するものであれば、カード型やパッド型等、種々の形状のものであっても検出することが可能である。
さらに、同調周波数とそれ以外の周波数で順次第1ループ配線1を駆動することにより、導電体又は磁性体の形状や距離の検出だけでなく、同調回路を有する位置指示具と同調回路を有さない位置指示具を区別して検出することも可能となる。以下、図6を用いて、同調回路を有する被測定物体と、同調回路を有さない被測定物体と、導電体又は磁性体とを区別してそれぞれ検出する手法について説明する。図6は、種々の被測定物体を測定するための手順を説明するためのフローチャートである。前提として、本発明の物体検出装置は、第1周波数fと第2周波数fで第1ループ配線群をそれぞれ駆動できるように構成されるものである。また、同調回路を有する位置指示具は、第2周波数fに同調するものとする。
まず、第1周波数fで第1ループ配線1を駆動し、このときの出力信号Aijを第2ループ配線2から得る(ステップ100)。なお、i,jは各信号が得られるXY座標を表す。次に、この出力信号Aijが、検出面上に何も載せられていない状態の基準出力信号と比べて増加したか減衰したかを検出する(ステップ101)。出力信号Aijが減衰した場合には、導電体が検出面に載せられ、シールド効果により出力信号が減衰したものとして、導電体の形状や距離を検出する(ステップ102)。ステップ101で、出力信号Aijが増加した場合には、第2周波数fで第1ループ配線1を駆動し、このときの出力信号Bijを得る(ステップ103)。次に、この出力信号Bijが出力信号Aijより大きいか否かを検出する(ステップ104)。出力信号Bijが出力信号Aijより大きくない場合(等しい場合)には、指等の非導電体・非磁性体からなる位置指示具が検出面に載せられ、圧力により導電性板4が第1ループ配線及び第2ループ配線に近づき出力信号が増加したものとして、指等の非導電体の物体の指示位置を検出する(ステップ105)。ステップ104で、出力信号Bijが出力信号Aijより大きい場合には、同調回路を有する位置指示具が検出面上に載せられ、これにより出力信号が増加したものとして、同調回路を有する位置指示具の指示位置を検出する(ステップ106)。これらのステップをすべてのループ配線について繰り返すことで、各種物体を区別してそれぞれ検出することが可能となる。
なお、予め第1周波数fと第2周波数fで第1ループ配線群をそれぞれ駆動した上で、これらによる出力結果を蓄積し、出力信号Bijが出力信号Aijより大きいときには同調回路を有する位置指示具を検出し、出力信号Aijが増加したときには指等の非導電体の物体の指示位置を検出し、出力信号Aijが減衰したときには導電体の形状や距離を検出するようにしても勿論構わない。
また、さらに別の同調回路を有する位置指示具を用いて、その別の同調回路に同調する周波数で第1ループ配線を駆動させることで、さらに多くの位置指示具を区別して検出することが可能となる。なお、周波数を可変させた場合、周波数が高くなるほど渦電流が増加するため、検出面上に載せられた物体に変化がなくても厳密には出力信号に変化が現れてしまう。したがって、これを考慮した補正回路を設けたり、所定の閾値以下の変化は測定しないようにすること等により、周波数の変化による出力信号の変化を補償することも可能である。
なお、本発明の物体検出装置は、上述の図示例にのみ限定されるものではなく、本発明の要旨を逸脱しない範囲内において種々変更を加え得ることは勿論である。
図1は、本発明の物体検出装置の全体的な構成を説明するための概略図である。 図2は、本発明の物体検出装置の電磁結合部の構成を説明するための検出面の一部の上面図であり、図2(a)が各配線をコイル状に形成したもの、図2(b)が一方の配線をコイル状に、他方を直線状に形成したもの、図2(c)が一方の配線を矩形状に、他方を直線状に形成したものである。 図3は、本発明の物体検出装置の電磁結合部の他の構成を説明するための図であり、図3(a)はその検出面の一部上面図であり、図3(b)がその一部断面斜視図である。 図4は、本発明の物体検出装置における導電性板の配置例のバリエーションを説明するための図である。 図5は、本発明の物体検出装置における導電性板の他の構成例を説明するための一部断面斜視図である。 図6は、種々の被測定物体を測定するための手順を説明するためのフローチャートである。
符号の説明
1 第1ループ配線
2 第2ループ配線
3 絶縁体
4 導電性板
5 弾性体
10 検出面
20 駆動部
21 発振器
22 ドライバ
23 切替器
30 検出部
31 切替器
32 アンプ
33 同期検波部
34 A/D変換部
40 マイクロコンピュータ

Claims (12)

  1. 電磁誘導を用いて検出面上に載せられる導電体又は磁性体からなる被測定物体の形状や被測定物体からの距離を検出する物体検出装置であって、該装置は、
    複数のコイル状部分をそれぞれ有する複数の第1ループ配線が同一平面上に平行に配置される第1ループ配線群と、
    複数のコイル状部分をそれぞれ有する複数の第2ループ配線が同一平面上に平行に配置される第2ループ配線群であって、該第2ループ配線群は第1ループ配線群と平行であり、前記複数の第2ループ配線は複数の第1ループ配線とそれぞれ直交する方向に配置される、第2ループ配線群と、
    前記第1ループ配線群と第2ループ配線群との間の距離を一定に保つスペーサ手段と、
    前記第1ループ配線と第2ループ配線が直交するそれぞれの位置に前記コイル状部分が配置されることで前記第1ループ配線と第2ループ配線が電磁結合するように構成される複数の電磁結合部と、
    前記第1ループ配線群又は第2ループ配線群の一方に接続され、該ループ配線群を駆動する駆動手段と、
    前記第1ループ配線群又は第2ループ配線群の他方に接続され、該ループ配線群から前記電磁結合部の電磁結合の変化を検出する検出手段であって、前記検出面上に被測定物体及びこれと異なる位置指示手段が載せられる場合に、前記検出手段は、第1ループ配線群及び第2ループ配線群の一方からの出力信号が減衰したときには被測定物体の形状を検出し、増加したときには位置指示手段の指示位置を検出する、検出手段と、
    を具備することを特徴とする物体検出装置。
  2. 電磁誘導を用いて検出面上に載せられる導電体又は磁性体からなる被測定物体の形状や被測定物体からの距離を検出する物体検出装置であって、該装置は、
    複数のコイル状部分をそれぞれ有する複数の第1ループ配線が同一平面上に平行に配置される第1ループ配線群と、
    複数のコイル状部分をそれぞれ有する複数の第2ループ配線が同一平面上に平行に配置される第2ループ配線群であって、該第2ループ配線群は第1ループ配線群と平行であり、前記複数の第2ループ配線は複数の第1ループ配線とそれぞれ直交する方向に配置され、前記第1ループ配線のコイル状部分の大きさと第2ループ配線のコイル状部分の大きさが、それぞれ異なる、第2ループ配線群と、
    前記第1ループ配線群と第2ループ配線群との間の距離を一定に保つスペーサ手段と、
    前記第1ループ配線と第2ループ配線が直交するそれぞれの位置に前記コイル状部分が配置されることで前記第1ループ配線と第2ループ配線が電磁結合するように構成される複数の電磁結合部と、
    前記第1ループ配線群又は第2ループ配線群の一方に接続され、該ループ配線群を駆動する駆動手段と、
    前記第1ループ配線群又は第2ループ配線群の他方に接続され、該ループ配線群から前記電磁結合部の電磁結合の変化を検出する検出手段と、
    を具備することを特徴とする物体検出装置。
  3. 電磁誘導を用いて検出面上に載せられる導電体又は磁性体からなる被測定物体の形状や被測定物体からの距離を検出する物体検出装置であって、該装置は、
    複数のコイル状部分をそれぞれ有する複数の第1ループ配線が同一平面上に平行に配置される第1ループ配線群と、
    複数の直線状の第2ループ配線が同一平面上に平行に配置される第2ループ配線群であって、該第2ループ配線群は第1ループ配線群と平行であり、前記複数の第2ループ配線は複数の第1ループ配線とそれぞれ直交する方向に配置される、第2ループ配線群と、
    前記第1ループ配線群と第2ループ配線群との間の距離を一定に保つスペーサ手段と、
    前記第1ループ配線と第2ループ配線が直交するそれぞれの位置に前記コイル状部分が配置されることで前記第1ループ配線と第2ループ配線が電磁結合するように構成される複数の電磁結合部と、
    前記第1ループ配線群又は第2ループ配線群の一方に接続され、該ループ配線群を駆動する駆動手段と、
    前記第1ループ配線群又は第2ループ配線群の他方に接続され、該ループ配線群から前記電磁結合部の電磁結合の変化を検出する検出手段であって、前記検出面上に被測定物体及びこれと異なる位置指示手段が載せられる場合に、前記検出手段は、第1ループ配線群及び第2ループ配線群の一方からの出力信号が減衰したときには被測定物体の形状を検出し、増加したときには位置指示手段の指示位置を検出する、検出手段と、
    を具備することを特徴とする物体検出装置。
  4. 電磁誘導を用いて検出面上に載せられる導電体又は磁性体からなる被測定物体の形状や被測定物体からの距離を検出する物体検出装置であって、該装置は、
    複数の直線状の第1ループ配線が同一平面上に平行に配置される第1ループ配線群と、
    複数の直線状の第2ループ配線が同一平面上に平行に配置される第2ループ配線群であって、該第2ループ配線群は第1ループ配線群と平行であり、前記複数の第2ループ配線は複数の第1ループ配線とそれぞれ直交する方向に配置される、第2ループ配線群と、
    前記第1ループ配線群と第2ループ配線群との間の距離を一定に保つスペーサ手段と、
    前記第1ループ配線と第2ループ配線が直交するそれぞれの位置の近傍に複数の導電性板がそれぞれ配置されることで前記第1ループ配線と第2ループ配線が電磁結合するように構成される複数の電磁結合部と、
    前記第1ループ配線群又は第2ループ配線群の一方に接続され、該ループ配線群を駆動する駆動手段と、
    前記第1ループ配線群又は第2ループ配線群の他方に接続され、該ループ配線群から前記電磁結合部の電磁結合の変化を検出する検出手段と、
    を具備することを特徴とする物体検出装置。
  5. 請求項4に記載の物体検出装置において、前記複数の導電性板は、隣り合う第1ループ配線間の近傍で且つ隣り合う第2ループ配線間の近傍に配置されることを特徴とする物体検出装置。
  6. 請求項4に記載の物体検出装置において、前記複数の導電性板は、第1ループ配線の近傍で且つ隣り合う第2ループ配線間の近傍、及び第2ループ配線の近傍で且つ隣り合う第1ループ配線間の近傍に配置されることを特徴とする物体検出装置。
  7. 請求項4乃至請求項6の何れかに記載の物体検出装置において、前記複数の導電性板は、前記第1ループ配線群及び第2ループ配線群との距離が一定に固定されることを特徴とする物体検出装置。
  8. 請求項4乃至請求項6の何れかに記載の物体検出装置において、前記複数の導電性板は、弾性体を介して前記第1ループ配線群及び第2ループ配線群の近傍に配置され、前記第1ループ配線群及び第2ループ配線群との距離が前記複数の導電性板に加えられる圧力により変化することを特徴とする物体検出装置。
  9. 請求項4乃至請求項8の何れかに記載の物体検出装置において、前記複数の導電性板は、コイル形状であることを特徴とする物体検出装置。
  10. 請求項乃至請求項9の何れかに記載の物体検出装置において、前記検出面上に被測定物体及びこれと異なる位置指示手段が載せられる場合に、前記検出手段は、第1ループ配線群及び第2ループ配線群の一方からの出力信号が減衰したときには被測定物体の形状を検出し、増加したときには位置指示手段の指示位置を検出することを特徴とする物体検出装置。
  11. 請求項1、請求項又は請求項10の何れかに記載の物体検出装置において、前記位置指示手段は特定の周波数に同調する同調回路を有し、前記駆動手段は前記特定の周波数で前記第1ループ配線群及び第2ループ配線群の他方を駆動することを特徴とする物体検出装置。
  12. 請求項11に記載の物体検出装置において、前記検出面上に被測定物体、同調回路を有する位置指示手段、及び同調回路を有さない位置指示手段が載せられる場合に、
    前記駆動手段は、第1周波数及び第2周波数で前記第1ループ配線群及び第2ループ配線群の他方を駆動し、
    前記同調回路は、第2周波数に同調し、
    前記検出手段は、第1ループ配線群及び前記第2ループ配線群の一方からの出力信号が、前記第1ループ配線群及び第2ループ配線群の他方が第1周波数で駆動されるときに減衰したときには被測定物体の形状を検出し増加したときには前記同調回路を有さない位置指示手段の指示位置を検出し、前記第1ループ配線群及び第2ループ配線群の他方が第2周波数で駆動されるときの出力信号が第1周波数で駆動されるときの出力信号より大きいときには前記同調回路を有する位置指示手段の指示位置を検出することを特徴とする物体検出装置。
JP2008522287A 2006-06-19 2007-06-04 電磁誘導を用いて物体を検出する物体検出装置 Expired - Fee Related JP5028552B2 (ja)

Priority Applications (1)

Application Number Priority Date Filing Date Title
JP2008522287A JP5028552B2 (ja) 2006-06-19 2007-06-04 電磁誘導を用いて物体を検出する物体検出装置

Applications Claiming Priority (4)

Application Number Priority Date Filing Date Title
JP2006169145 2006-06-19
JP2006169145 2006-06-19
JP2008522287A JP5028552B2 (ja) 2006-06-19 2007-06-04 電磁誘導を用いて物体を検出する物体検出装置
PCT/JP2007/000596 WO2007148429A1 (ja) 2006-06-19 2007-06-04 電磁誘導を用いて物体を検出する物体検出装置

Publications (2)

Publication Number Publication Date
JPWO2007148429A1 JPWO2007148429A1 (ja) 2009-11-12
JP5028552B2 true JP5028552B2 (ja) 2012-09-19

Family

ID=38833176

Family Applications (1)

Application Number Title Priority Date Filing Date
JP2008522287A Expired - Fee Related JP5028552B2 (ja) 2006-06-19 2007-06-04 電磁誘導を用いて物体を検出する物体検出装置

Country Status (6)

Country Link
US (1) US8013598B2 (ja)
EP (1) EP2031346A4 (ja)
JP (1) JP5028552B2 (ja)
KR (1) KR101098200B1 (ja)
CN (1) CN101473188B (ja)
WO (1) WO2007148429A1 (ja)

Families Citing this family (16)

* Cited by examiner, † Cited by third party
Publication number Priority date Publication date Assignee Title
JP4786716B2 (ja) 2006-10-24 2011-10-05 ニューコムテクノ株式会社 導電体片を具備する操作具
JP2010169462A (ja) * 2009-01-21 2010-08-05 Newcom Inc 電磁結合度の変化を検出して入力体情報を検出する入力体情報検出装置
US8339372B2 (en) * 2009-04-20 2012-12-25 Broadcom Corporation Inductive touch screen with integrated antenna for use in a communication device and methods for use therewith
US8810523B2 (en) * 2009-04-20 2014-08-19 Broadcom Corporation Inductive touch screen and methods for use therewith
US20130127736A1 (en) * 2011-11-18 2013-05-23 Qualcomm Mems Technologies, Inc. Electromagnetic touchscreen
KR20130107886A (ko) * 2012-03-23 2013-10-02 삼성전기주식회사 디지타이저
KR102089607B1 (ko) * 2013-05-28 2020-03-17 삼성디스플레이 주식회사 표시장치
KR102111032B1 (ko) * 2013-08-14 2020-05-15 삼성디스플레이 주식회사 터치 감지 표시 장치
CN104990494B (zh) * 2015-03-05 2016-09-07 三峡大学 一种快速测量轴孔参数的装置及测量方法
JP6698386B2 (ja) * 2016-03-10 2020-05-27 株式会社ジャパンディスプレイ 表示装置およびタッチ検出装置
JP6677587B2 (ja) * 2016-06-24 2020-04-08 株式会社ワコム 位置検出装置及び位置検出センサの制御方法
CN111727359A (zh) * 2018-02-15 2020-09-29 触觉实验室股份有限公司 用于感测压力的装置和方法
CN109188534B (zh) * 2018-09-11 2020-02-04 电子科技大学 一种基于主动电场原理的水下金属形状探测方法及装置
JP7091963B2 (ja) * 2018-09-14 2022-06-28 オムロン株式会社 物体検知センサおよび物体検知システム
CN110703959B (zh) * 2019-08-26 2021-01-29 华为技术有限公司 输入装置及方法
KR102937328B1 (ko) * 2020-09-21 2026-03-11 삼성디스플레이 주식회사 표시장치

Citations (7)

* Cited by examiner, † Cited by third party
Publication number Priority date Publication date Assignee Title
JPS4922162A (ja) * 1972-06-16 1974-02-27
JPS5057125A (ja) * 1973-09-18 1975-05-19
JPS5245823A (en) * 1975-10-09 1977-04-11 Kazunari Imahashi Chinese character input unit
JPH04152957A (ja) * 1990-04-19 1992-05-26 Ace Denken:Kk パチンコゲーム機におけるパチンコ玉検出装置
JPH05231809A (ja) * 1992-02-24 1993-09-07 Nippon Denshi Kogyo Kk 起電力形渦電流変位計
JP2005156474A (ja) * 2003-11-28 2005-06-16 Xiroku:Kk 電磁結合を用いる圧力検出装置
JP3928976B1 (ja) * 2006-01-19 2007-06-13 株式会社シロク 電磁結合を利用する圧力分布検出装置

Family Cites Families (51)

* Cited by examiner, † Cited by third party
Publication number Priority date Publication date Assignee Title
US3021711A (en) 1957-05-10 1962-02-20 Svenska Flygmotor Aktiebolaget Device for measuring pressure or difference of pressure in fluids
US3722288A (en) 1969-01-31 1973-03-27 Hughes Aircraft Co Electromagnetic coupled detector of dynamic gravitational force gradients
JPS5146714U (ja) 1974-10-01 1976-04-07
JPS5146714A (en) 1974-10-18 1976-04-21 Ig Gijutsu Kenkyusho Kk Zooryutaikazai oyobi zooryutaikazaio mochiitenaru taikapaneru
JPS5245823U (ja) 1975-02-28 1977-03-31
US4353050A (en) 1980-06-13 1982-10-05 Ranco Incorporated Displacement measuring transducer
JPS5711331A (en) 1980-06-24 1982-01-21 Takeo Uchida Shouldering tool
JPS57100331A (en) 1980-12-15 1982-06-22 Agency Of Ind Science & Technol Measuring device for load distribution
JPS57165849A (en) 1981-04-07 1982-10-13 Ricoh Co Ltd Electrophotographic toner
JPS5971141U (ja) 1982-11-02 1984-05-15 株式会社東芝 ロ−ドセル
JPS60221820A (ja) 1983-08-05 1985-11-06 Wacom Co Ltd 位置検出装置
JPS61135240A (ja) 1984-12-05 1986-06-23 Fujitsu Ltd 信号選択受信回路
JPH0652206B2 (ja) 1986-03-28 1994-07-06 工業技術院長 静電容量型圧力分布測定装置
JPH0610269Y2 (ja) 1986-10-27 1994-03-16 池田物産株式会社 圧力分布測定装置
JPH0646171B2 (ja) 1987-09-19 1994-06-15 工業技術院長 圧覚センサ
JPH01212301A (ja) 1988-02-19 1989-08-25 Toshiba Corp ひずみセンサ
US4918418A (en) 1988-08-04 1990-04-17 Caterpillar Inc. Inductive coil structure with electrical return path
JPH0278925A (ja) 1988-09-16 1990-03-19 Yokohama Syst Kenkyusho:Kk 静電容量型圧力センサ
US4944187A (en) 1988-12-23 1990-07-31 Rosemount Inc. Multimodulus pressure sensor
US5120908A (en) 1990-11-01 1992-06-09 Gazelle Graphic Systems Inc. Electromagnetic position transducer
WO1993022618A1 (fr) * 1992-04-28 1993-11-11 Kabushiki Kaisha Ace Denken Detecteur permettant de determiner la position d'un corps metallique
US5861583A (en) 1992-06-08 1999-01-19 Synaptics, Incorporated Object position detector
US5543588A (en) 1992-06-08 1996-08-06 Synaptics, Incorporated Touch pad driven handheld computing device
JPH0755615A (ja) 1993-08-10 1995-03-03 Agency Of Ind Science & Technol 静電容量型力センサ
JPH09113203A (ja) 1995-10-16 1997-05-02 Toyoda Mach Works Ltd 差動トランスおよびそれを用いた測定装置
JPH10198494A (ja) 1997-01-01 1998-07-31 Wacom Co Ltd データタブレット
US6338199B1 (en) 1997-03-25 2002-01-15 Canon Kabushiki Kaisha Sensor
US6480187B1 (en) 1997-08-07 2002-11-12 Fujitsu Limited Optical scanning-type touch panel
JP3543695B2 (ja) 1999-03-17 2004-07-14 富士ゼロックス株式会社 駆動力発生装置
JP2000322201A (ja) 1999-05-06 2000-11-24 Ricoh Co Ltd 座標入力装置
JP3934846B2 (ja) 2000-03-06 2007-06-20 株式会社リコー 座標入力/検出装置、電子黒板システム、受光素子の位置ズレ補正方法及び記憶媒体
JP2001265517A (ja) 2000-03-17 2001-09-28 Ricoh Co Ltd 座標入力装置、センサヘッド取り付け方法、座標入力装置付き表示装置および記録媒体
US6690363B2 (en) 2000-06-19 2004-02-10 Next Holdings Limited Touch panel display system
ES2340945T3 (es) 2000-07-05 2010-06-11 Smart Technologies Ulc Procedimiento para un sistema tactil basado en camaras.
US6803906B1 (en) 2000-07-05 2004-10-12 Smart Technologies, Inc. Passive touch system and method of detecting user input
US6471613B1 (en) 2000-08-23 2002-10-29 Daimlerchrysler Corporation Transmission with variable line pressure
JP3736440B2 (ja) 2001-02-02 2006-01-18 株式会社セガ カード及びカードゲーム装置
JP2002268807A (ja) 2001-03-14 2002-09-20 Ricoh Co Ltd 座標入力装置、座標入力機能を実行するプログラムおよび該プログラムを記録した記録媒体
JP4768143B2 (ja) 2001-03-26 2011-09-07 株式会社リコー 情報入出力装置、情報入出力制御方法およびプログラム
JP3645553B2 (ja) 2002-01-29 2005-05-11 株式会社東芝 歪みセンサ
US6960911B2 (en) 2002-01-29 2005-11-01 Kabushiki Kaisha Toshiba Strain sensor
JP2003337071A (ja) 2002-05-20 2003-11-28 Yokohama Tlo Co Ltd 触覚センサ
DE10252862B3 (de) 2002-11-12 2004-07-15 Deutsches Zentrum für Luft- und Raumfahrt e.V. Einrichtung zum Messen einer Kraft
US7256772B2 (en) 2003-04-08 2007-08-14 Smart Technologies, Inc. Auto-aligning touch system and method
US8330726B2 (en) 2003-05-19 2012-12-11 Xiroku, Inc. Position detection apparatus using area image sensor
GB0313808D0 (en) * 2003-06-14 2003-07-23 Binstead Ronald P Improvements in touch technology
JP2005275760A (ja) 2004-03-24 2005-10-06 Ntt Comware Corp パック装置およびセンステーブル管理装置、ならびに移動軌跡算出方法、移動軌跡算出プログラム、記録媒体
US7703342B2 (en) 2005-03-30 2010-04-27 Xiroku, Inc. Pressure distribution detection device
US7602157B2 (en) 2005-12-28 2009-10-13 Flyback Energy, Inc. Supply architecture for inductive loads
EP2042847B1 (en) 2006-07-14 2012-08-22 Newcom, Inc. Pressure distribution sensor utilizing electromagnetic coupling
JP4786716B2 (ja) 2006-10-24 2011-10-05 ニューコムテクノ株式会社 導電体片を具備する操作具

Patent Citations (7)

* Cited by examiner, † Cited by third party
Publication number Priority date Publication date Assignee Title
JPS4922162A (ja) * 1972-06-16 1974-02-27
JPS5057125A (ja) * 1973-09-18 1975-05-19
JPS5245823A (en) * 1975-10-09 1977-04-11 Kazunari Imahashi Chinese character input unit
JPH04152957A (ja) * 1990-04-19 1992-05-26 Ace Denken:Kk パチンコゲーム機におけるパチンコ玉検出装置
JPH05231809A (ja) * 1992-02-24 1993-09-07 Nippon Denshi Kogyo Kk 起電力形渦電流変位計
JP2005156474A (ja) * 2003-11-28 2005-06-16 Xiroku:Kk 電磁結合を用いる圧力検出装置
JP3928976B1 (ja) * 2006-01-19 2007-06-13 株式会社シロク 電磁結合を利用する圧力分布検出装置

Also Published As

Publication number Publication date
EP2031346A1 (en) 2009-03-04
KR20090020575A (ko) 2009-02-26
US8013598B2 (en) 2011-09-06
KR101098200B1 (ko) 2011-12-23
CN101473188A (zh) 2009-07-01
CN101473188B (zh) 2011-01-19
EP2031346A4 (en) 2014-07-02
US20090146654A1 (en) 2009-06-11
WO2007148429A1 (ja) 2007-12-27
JPWO2007148429A1 (ja) 2009-11-12

Similar Documents

Publication Publication Date Title
JP5028552B2 (ja) 電磁誘導を用いて物体を検出する物体検出装置
US7916501B2 (en) Magnetic shield for use in a location sensing system
KR101975596B1 (ko) 입력 감지 신호 왜곡 보상 구조를 가지는 터치스크린 장치
TWI429882B (zh) A position detecting device and a display device
JP6186081B2 (ja) 電磁気誘導方式の位置感知と静電容量方式の位置感知とを行うタブレット
EP2333648B1 (en) Position detecting device
EP2077489B1 (en) Position detecting device
US10495486B2 (en) Inductive touch input
US8665211B2 (en) Position detecting device and position input device
KR101276493B1 (ko) 압력 분포 검출 장치
CN102680567A (zh) 涡流探测器
JP3928976B1 (ja) 電磁結合を利用する圧力分布検出装置
JP5055172B2 (ja) 静電容量型近接センサ
JP2010055385A (ja) 複数の指示具を識別可能なデジタイザ
JP2015130064A (ja) アンテナ付きタッチパッド
JP2007157107A5 (ja)
JP4747041B2 (ja) 電磁誘導を用いる検出装置の検出面を構成するタイルユニット
JP2010085378A (ja) 電磁誘導を用いて指示具の指示位置を検出する位置検出装置
EP4160923A1 (en) Button arrangement and method of operation
KR102293936B1 (ko) 터치센서 모듈
EP3631526B1 (en) Foreign object detector, foreign object detection system, use of a foreign object detector, and method of detecting a foreign object
JP2008032589A (ja) インダクタンスの変化を用いる物体検出装置
JPH10269009A (ja) 座標検出装置
HK1216410B (en) A safety system, a method of operating a safety system and a method of building a safety system

Legal Events

Date Code Title Description
A131 Notification of reasons for refusal

Free format text: JAPANESE INTERMEDIATE CODE: A131

Effective date: 20110201

A521 Request for written amendment filed

Free format text: JAPANESE INTERMEDIATE CODE: A523

Effective date: 20110404

A131 Notification of reasons for refusal

Free format text: JAPANESE INTERMEDIATE CODE: A131

Effective date: 20110816

A521 Request for written amendment filed

Free format text: JAPANESE INTERMEDIATE CODE: A523

Effective date: 20111005

TRDD Decision of grant or rejection written
A01 Written decision to grant a patent or to grant a registration (utility model)

Free format text: JAPANESE INTERMEDIATE CODE: A01

Effective date: 20120301

A711 Notification of change in applicant

Free format text: JAPANESE INTERMEDIATE CODE: A711

Effective date: 20120322

A61 First payment of annual fees (during grant procedure)

Free format text: JAPANESE INTERMEDIATE CODE: A61

Effective date: 20120322

R150 Certificate of patent or registration of utility model

Ref document number: 5028552

Country of ref document: JP

Free format text: JAPANESE INTERMEDIATE CODE: R150

Free format text: JAPANESE INTERMEDIATE CODE: R150

FPAY Renewal fee payment (event date is renewal date of database)

Free format text: PAYMENT UNTIL: 20150706

Year of fee payment: 3

FPAY Renewal fee payment (event date is renewal date of database)

Free format text: PAYMENT UNTIL: 20150706

Year of fee payment: 3

FPAY Renewal fee payment (event date is renewal date of database)

Free format text: PAYMENT UNTIL: 20150706

Year of fee payment: 3

R250 Receipt of annual fees

Free format text: JAPANESE INTERMEDIATE CODE: R250

R250 Receipt of annual fees

Free format text: JAPANESE INTERMEDIATE CODE: R250

R250 Receipt of annual fees

Free format text: JAPANESE INTERMEDIATE CODE: R250

R250 Receipt of annual fees

Free format text: JAPANESE INTERMEDIATE CODE: R250

S111 Request for change of ownership or part of ownership

Free format text: JAPANESE INTERMEDIATE CODE: R313113

R350 Written notification of registration of transfer

Free format text: JAPANESE INTERMEDIATE CODE: R350

R250 Receipt of annual fees

Free format text: JAPANESE INTERMEDIATE CODE: R250

R250 Receipt of annual fees

Free format text: JAPANESE INTERMEDIATE CODE: R250

S531 Written request for registration of change of domicile

Free format text: JAPANESE INTERMEDIATE CODE: R313531

S111 Request for change of ownership or part of ownership

Free format text: JAPANESE INTERMEDIATE CODE: R313113

R350 Written notification of registration of transfer

Free format text: JAPANESE INTERMEDIATE CODE: R350

R250 Receipt of annual fees

Free format text: JAPANESE INTERMEDIATE CODE: R250

R250 Receipt of annual fees

Free format text: JAPANESE INTERMEDIATE CODE: R250

R250 Receipt of annual fees

Free format text: JAPANESE INTERMEDIATE CODE: R250

LAPS Cancellation because of no payment of annual fees