JP5025397B2 - 絞り弁制御装置 - Google Patents

絞り弁制御装置 Download PDF

Info

Publication number
JP5025397B2
JP5025397B2 JP2007245026A JP2007245026A JP5025397B2 JP 5025397 B2 JP5025397 B2 JP 5025397B2 JP 2007245026 A JP2007245026 A JP 2007245026A JP 2007245026 A JP2007245026 A JP 2007245026A JP 5025397 B2 JP5025397 B2 JP 5025397B2
Authority
JP
Japan
Prior art keywords
valve
holder member
opening
housing
throttle
Prior art date
Legal status (The legal status is an assumption and is not a legal conclusion. Google has not performed a legal analysis and makes no representation as to the accuracy of the status listed.)
Active
Application number
JP2007245026A
Other languages
English (en)
Other versions
JP2009074458A (ja
Inventor
泰 中村
洋司 小島
Current Assignee (The listed assignees may be inaccurate. Google has not performed a legal analysis and makes no representation or warranty as to the accuracy of the list.)
Hitachi Astemo Ltd
Kawasaki Motors Ltd
Original Assignee
Keihin Corp
Kawasaki Jukogyo KK
Priority date (The priority date is an assumption and is not a legal conclusion. Google has not performed a legal analysis and makes no representation as to the accuracy of the date listed.)
Filing date
Publication date
Application filed by Keihin Corp, Kawasaki Jukogyo KK filed Critical Keihin Corp
Priority to JP2007245026A priority Critical patent/JP5025397B2/ja
Publication of JP2009074458A publication Critical patent/JP2009074458A/ja
Application granted granted Critical
Publication of JP5025397B2 publication Critical patent/JP5025397B2/ja
Active legal-status Critical Current
Anticipated expiration legal-status Critical

Links

Images

Landscapes

  • Control Of Throttle Valves Provided In The Intake System Or In The Exhaust System (AREA)

Description

本発明は、自動二輪車や自動車、等の内燃機関への空気量を制御する絞り弁制御装置に関し、特に、スロットルボデー内に貫通して穿設された吸気通路を横断して絞り
弁軸が回動自在にスロットルボデーに軸支され、吸気通路を開閉する絞り弁が前記絞り弁軸に取着されるとともにスロットルボデーの一側壁より突出する絞り弁軸の端部に取着されたスロットルドラムと、アクセルと、が開弁用ワイヤー、閉弁用ワイヤーによって連絡され、絞り弁がその開閉方向において開閉制御される絞り弁制御装置の改良に関する。
かかる絞り弁制御装置は、下記特許文献1に開示されるように既に知られている。
すなわち、スロットルボデーの一側壁上に有底カップ状の第1筐体が配置され、第1筐体の内方に絞り弁操作ドラムが回動自在に配置される。又第1筐体の壁部には、第1ケーブルガイド挿入孔と第2ケーブルガイド挿入孔とが開口して穿設され、第1ケーブルガイド挿入孔には、開弁用ワイヤーが挿通される第1ケーブルガイドが挿入配置され、第1ケーブルガイドの両端に螺着される2個のナットを締めつけることにより第1ケーブルガイドが第1筐体に螺着固定される。
又、第2ケーブルガイド挿入孔には、閉弁用ワイヤーが挿通される第2ケーブルガイドが挿入配置され、第2ケーブルガイドの両端に螺着される2個のナットを締めつけることにより第2ケーブルガイドが第1筐体に螺着固定される。
特開2006−257981号公報
かかる従来の絞り弁制御装置によると、開弁用ワイヤーが挿通配置される第1ケーブルガイド及び閉弁用ワイヤーが挿通配置される第2ケーブルガイドは、2個のナットを締結することにより第1筐体に螺着固定される。
これによると、工具を用いてナットを回転させる必要があるもので、工具の回転空間を確保する必要があり、特に自動二輪車の如く収納空間が狭く限定されるものにおいて整備上好ましいものでない。
又ナットの螺着作業が必要となり作業工数を効果的に低減することができない。
又、2個ナットを必要とすること及びケーブルガイドの外周にネジを螺設する必要があることから部品点数及びコストを低減できない。
又、使用途中におけるメンテナンス作業時においてナットをユルメる際、ナットがケーブルガイドより脱出しナットを紛失する恐れがありメンテナンス作業上好ましいものでない。
更に、第1筐体より外側方に配置されるナットは、大気に直接的に露出されるもので、これによるとケーブルガイドのオネジとナットのメネジ間に水、泥等の異物が侵入してサビが発生する恐れがあり、メンテナンス上好ましいものでない。
更に又、前記外側方に配置されるナットは、スロットルボデーの外観性を高める上で好ましいものではない。
本発明は上記不具合に鑑み成されたもので、整備性、メンテナンス作業性の向上を図ることができ、更には部品点数、部品コストの低減を達成できる絞り弁制御装置を提供することを目的とする。
本発明は、前記目的を達成するために、スロットルボデーに穿設された吸気通路を横断し、吸気通路を開閉する絞り弁が取着され、スロットルボデーに回動自在に軸支された絞り弁軸と、
絞り弁軸の端部に取着されるとともに運転者が操作するアクセルグリップと連絡される開弁用ワイヤー、閉弁用ワイヤーが係止され、スロットルボデーの一側壁に突出配置されるスロットルドラムと、
スロットルボデーの一側壁に形成され、少なくともスロットルドラムの外周を囲繞し、底部と、この底部より立設される壁部とを含んでなり、一側方に向けて開口端部を介して開口配置される有底カップ状をなすハウジングと、
前記ハウジングの開口端部を閉塞し、密閉状のスロットルドラム制御室を形成するハウジングカバーとを備える絞り弁制御装置において、
前記ハウジングの壁部には、開弁用ワイヤーの操作方向において、一端がハウジングの内方に向けて開口し、他端がハウジングの外方に向けて開口するとともに開口端部に向けて開口するU字状をなす第1ホルダー部材挿入孔と、
閉弁用ワイヤーの操作方向において、一端が前記ハウジングの内方に向けて開口し、他端がハウジングの外方に向けて開口するとともに開口端部に向けて開口するU字状をなす第2ホルダー部材挿入孔とを設けるとともに、
前記第1、第2ホルダー部材挿入孔には、各ホルダー部材挿入孔より外側方に向かって拡径するとともに開口端部に向けて開口する係止溝が穿設され、
一方、開弁用ホルダー部材は、長手方向に形成される筒部と、この筒部の外周から外側方に向けて拡径して一体形成される鍔部とを備えるとともに筒部の一端から他端に向けて開弁用ワイヤーが挿入配置され、
又、閉弁用ホルダー部材は、長手方向に形成される筒部と、この筒部の外周から外側方に向けて拡径して一体形成される鍔部とを備えるとともに筒部の一端から他端に向けて閉弁用ワイヤーが挿入配置され、
前記開弁用ホルダー部材の筒部を開口端部を介して前記第1ホルダー部材挿入孔内に挿入配置するとともに鍔部を前記係止溝内に挿入配置し、筒部の一端から延出する開弁用ワイヤーを前記スロットルドラムに係合配置し、
又、前記閉弁用ホルダー部材の筒部を開口端部を介して前記第2ホルダー部材挿入孔内に挿入配置するとともに鍔部を前記係止溝内に挿入配置し、筒部の一端から延出する閉弁用ワイヤーを前記スロットルドラムに係合配置し、
かかる状態において、前記ハウジングの開口端部上にハウジングカバーを取着配置し、前記開弁用ホルダー部材、閉弁用ホルダー部材を、前記ハウジングと前記ハウジングカバーとにより挟持したことを特徴とする。
本発明の絞り弁制御装置によれば、開弁用ホルダー部材の筒部が第1ホルダー部材挿入孔に挿入配置されるとともに鍔部が係止溝内に挿入配置され、又閉弁用ホルダー部材の筒部が第2ホルダー部材挿入孔に挿入配置されるとともに鍔部が係止溝内に挿入配置され、かかる状態においてハウジングの開口端部上にハウジングカバーを取着配置することにより、開弁用ホルダー部材及び閉弁用ホルダー部材を確実にハウジングに固定配置できる。上記によれば、各ホルダー部材は、ハウジングとハウジングを閉塞するハウジングカバーとによって挟持されるのでホルダー部材の組付け性を大きく向上できる。
又従来の如くナットの螺着作業を必要としないことからナットを回転させる工具の回転スペースを必要とせず整備性を向上できる。
又、ナットが不要となったこと、ホルダー部材の外周にオネジを必要としないことから部品点数の削減と部品コストを効果的に削減できる。
又、メンテナンス作業時においても、単にハウジングカバーをハウジングより取外せばよく、然もナット等の紛失も発生することがないのでメンテナンス性を大きく向上できる。更にナットが廃止されたことにより、異物によるサビの発生がなく、且つスロットルボデーの外観性を向上できたものである。
以下、本発明の絞り弁制御装置の一実施例について図により説明する。
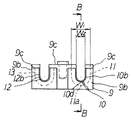
図1はスロットルボデーにハウジングカバーが配置されない状態における正面図。図2は図1において開弁用ホルダー部材、閉弁用ホルダー部材が挿入されない状態における要部A矢視図。図3は図2のB−B線における縦断面図。である。
1は内部を吸気通路2が貫通して穿設されたスロットルボデーであり、図1において吸気通路2の右端は図示されぬ内燃機関に接続され、吸気通路2の左端は図示されぬエアクリーナに接続される。3は吸気通路2を横断してスロットルボデー1に回動自在に軸支された絞り弁軸であり、この絞り弁軸3には吸気通路2を開閉する絞り弁4がネジによって取着され、更にスロットルボデー1の一側壁1aより図1において手前側に突出する絞り弁軸3の端部には、スロットルドラム5がカシメ等により取着される。尚スロットルドラム5の円周方向には第1エンド挿入孔5a、第2エンド挿入孔5bが貫通して穿設され、更にスロットルドラム5より外側方に向けてアイドル調整腕部5cとコロ5dを備える従動レバー5eが一体的に形成される。又6は内燃機関の運転状態に応じて駆動する電動モータ(図示せず)により回動操作される副絞り弁軸であり、この副絞り弁軸6には絞り弁4より上流側(図1において左側)の吸気通路2を開閉する副絞り弁7が取着され、更にスロットルボデー1の一側壁1aより図において手前側に突出する副絞り弁軸6の端部には、従動レバー5eのコロ5dに臨むカム面8aを備えるカムレバー8が取着される。上記によれば、電動モータによって副絞り弁7が全開位置に開放された際、カムレバー8のカム面8aがコロ5dを介して従動レバー5eを図1において反時計方向に回転し、これによって絞り弁4はアクセルによる操作とは無関係に吸気通路2をファーストアイドリング開度に向けて一定開度開放できる。
9は有底カップ状をなすハウジングであり、底部9aと、底部9aの外周部(周縁部)から立設される(図1において手前側にのびる)壁部9bと、壁部9bの上端に形成される開口端部9cとにより形成される。
尚、ハウジング9の壁部9bは少なくともスロットルドラム5の回動を阻害することなく囲繞する。(本実施例における壁部9bは、アイドル腕部5c、従動レバー5eを含むスロットルドラム5及びカムレバー8を囲繞して形成した)
そして、ハウジング9の壁部9bには、特に以下が形成される。
図1、図2、図3を用いて説明すると、10は、壁部9bに穿設される第1ホルダー部材挿入孔(ケーブルホルダー嵌合凹部)であり、図1に示される如く、開弁用ワイヤー(開操作用ワイヤー)Waの操作方向X−Xにおいて、その一端10aがハウジング9の内方9gに向けて開口し、他端10bがハウジング9の外方に向けて開口し、更に図3においてその上端が壁部9bの開口端部9cに向けて開口するもので、その開口が筒部嵌合溝と成され、その形状は図2に示される如くU字状をなす。
又、第1ホルダー部材挿入孔10には、第1ホルダー部材挿入孔10に連設して係止溝(鍔部収容溝)11が穿設されるもので、この係止溝11は第1ホルダー部材挿入孔10より外側方に向かって拡径するとともに壁部9bの開口端部9cに向けて開口して形成される。
より具体的には、図2において係止溝11の溝幅W1は、第1ホルダー部材挿入孔10の幅W2より大きく形成され、係止溝11の底部11aは、第1ホルダー部材挿入孔10の底部10dよりZだけ深く形成した。
12は、壁部9bに穿設される第2ホルダー部材挿入孔(ケーブルホルダー嵌合凹部)であり、図1、図2により説明する。
かかる第2ホルダー部材挿入孔12は図1に示される如く、閉弁用ワイヤー(閉操作用ワイヤー)Wbの操作方向Y−Yに沿って形成されるもので第1ホルダー部材挿入孔10と同様に形成される。
すなわち、第2ホルダー部材挿入孔12の一端12aがハウジング9の内方9gに向けて開口し、他端12bがハウジング9の外方に開口し、その上端が壁部9bの開口部9cに向けて開口し、その開口が筒部嵌合溝と成され、その形成はU字状をなす。
又、第2ホルダー部材挿入孔12に連設して係止溝13が穿設されるもので、この係止溝13は、前記係止溝11と同様に、第2ホルダー部材挿入孔12より外側方に向けて拡径するとともに開口端部9cに向けて開口して形成される。
次に開弁用ホルダー部材(ケーブルホルダー)20について図4により説明する。
開弁用ホルダー部材20は長手方向に沿って筒部20aが形成され、筒部20aの一端20bから他端20c側に向けてワイヤー挿入孔20dが穿設され、筒部20aの他端20cから一端20b側に向けてワイヤー挿入孔20dより大径をなすガイドチューブ挿入孔20eが穿設される。
このワイヤー挿入孔20dとガイドチューブ挿入孔20eとは接続して開口されるとともに略同芯に形成される。
又、筒部20aの外周には外側方に向けて拡径された円板状の鍔部20fが一体形成される。この鍔部20fは切削加工によって一体形成してもよく、あるいは別体に形成した鍔部を圧入、あるいは溶接固定してもよく、更にはその形状は四角形状でもよいもので、拡径されたものであればその形状は限定されない。
閉弁用ホルダー部材21は図1に示されるもので、開弁用ホルダー部材20と略同一形状をなすもので、説明を省略し、閉弁用ホルダー部材21の各構成を以下の如く呼ぶ。
閉弁用ホルダー部材21は、開弁用ホルダー部材20と同様に筒部21a、一端21b、他端21c、ワイヤー挿入孔21d、ガイドチューブ挿入孔21e、鍔部21f、より構成される。
そして前記開弁用ホルダー部材20には、開弁用ワイヤーWaが挿通された開弁用ワイヤーWaを囲繞するガイドチューブ30が接続配置されるもので、ガイドチューブ30の先端部が開弁用ホルダー部材20の他端20cからガイドチューブ挿入孔20e内に挿入されてガイドチューブ30の先端部がガイドチューブ挿入孔20eの底部に当接配置され、一方開弁用ワイヤーWaの先端に取着されるタイコ状をなすワイヤーエンドWd及び開弁用ワイヤーWaは、ワイヤー挿入孔20d内を通り、開弁用ホルダー部材20の一端20bより突出して配置される。この状態は図5に示される。
尚、開弁用ワイヤーWaを筒部20aのワイヤー挿入孔20d内に挿入するために筒部に穿設されるスリット溝は省略した。
又、閉弁用ホルダー部材(ケーブルホルダー)21にも、閉弁用ワイヤーWbが挿通されて閉弁用ワイヤーWbを囲繞する前記と同様のガイドチューブ31が接続配置されるもので、タイコ状をなすワイヤーエンドWeを備える閉弁用ワイヤーWbは、ワイヤー挿入孔21d内を通り、閉弁用ホルダー部材21の一端21bより突出して配置される。
これは図1により理解される。
そして、本発明における絞り弁制御装置において開弁用ワイヤーWa、閉弁用ワイヤーWbは、以下によって組付けられる。
まず、図5に示される如く、開弁用ホルダー部材20に開弁用ワイヤーWaを備えるガイドチューブ30が挿入接続配置され、ワイヤー挿入孔20dを介してワイヤーエンドWdを備える開弁用ワイヤーWaを筒部20aの一端20bより外方に向けて突出配置する。又、閉弁用ホルダー部材21に閉開弁用ワイヤーWbを備えるガイドチューブ31が挿入接続配置され、ワイヤー挿入孔21dを介してワイヤーエンドWeを備える閉弁用ワイヤーWbを筒部21aの一端21bより外方に向けて突出配置する。
次に、図7から図10に示すように前記状態にある開弁用ホルダー部材20の筒部20aを、ハウジング9の壁部9bの開口端部9cを介して第1ホルダー部材挿入孔10内に挿入配置するとともに鍔部20fを開口端部9cを介して係止溝11内に挿入配置する。上記によれば開弁用ワイヤーWaの先端部分は、開弁用ホルダー部材20の筒部20aの一端20bよりハウジング9の内方9gに突出配置されるもので、開弁用ワイヤーWaの先端に配置されるワイヤーエンドWdがスロットルドラム5の第1エンド挿入孔5aに係合配置される。
又、前記状態にある閉弁用ホルダー部材21の筒部21aを、ハウジング9の壁部9bの開口端部9cを介して第2ホルダー部材挿入孔12内に挿入配置するとともに鍔部21fを開口端部9cを介して係止溝13内に挿入配置する。
上記によれば閉弁用ワイヤーWbの先端部分は、閉弁用ホルダー部材21の筒部21aの一端21bよりハウジング9の内方9gに突出配置されるもので、閉弁用ワイヤーWbの先端に配置されるワイヤーエンドWeがスロットルドラム5の第2エンド挿入孔5bに係合配置される。
上記各ホルダー部材20,21が各ホルダー部材挿入孔10,12内に挿入配置され、各ワイヤーエンドWd,Weがスロットルドラム5の各エンド挿入孔5a,5b内に係合配置された状態は図1により理解される。
そして上記挿入状態において、ハウジング9の壁部9bの開口端部9cに有底カップ状をなすハウジングカバー40が螺着配置される。図1においてハウジングカバー40は一点鎖線で示される。
図1において41,42によって示されるメネジ孔はハウジング9に穿設されるもので、ハウジングカバー40はこのメネジ孔41,42にネジ43を螺着することによりハウジング9に螺着される。
上記によれば、ハウジング9の開口端部9cは、ハウジングカバー40によって閉塞され、図6に示される如く略密閉されたスロットルドラム制御室43を形成するもので、スロットルドラム5、カムレバー8等は、このスロットルドラム制御室43内に収納配置される。
そしてハウジング9の開口端部9cにハウジングカバー40を取着することにより前記各ホルダー部材挿入孔内に挿入状態にある開弁用ホルダー部材20、閉弁用ホルダー部材21をスロットルボデー1に対して(いいかえるとハウジング9に対して)固定配置できる。
開弁用ホルダー部材20について説明すると、図7に示される如く、開弁用ホルダー部材20の外方に向かう筒部20a1はハウジング9の第1ホルダー部材挿入孔10とハウジングカバー40の下面(合わせ面)40aより下方に突出する第1突部40bによって挟持され、図7において上下方向及び左右方向の移動が抑止される。
又、鍔部20fは、図8に示される如く、係止溝11とハウジングカバー40の下面40aとによって挟持され、図8において上下方向及び左右方向の移動が抑止される。
又、開弁用ホルダー部材20のハウジング9の内方9gに向かう筒部20a2は、図9に示される如くハウジング9の第1ホルダー部材挿入孔10とハウジングカバー40の下面40aより下方に突出する第2突部40eによって図9において上下方向及び左右方向の移動が抑止される。
又、図10に示される如く鍔部20fが係止溝11に挿入されて係止されたことによると、鍔部20fの側面20f1,20f2が係止溝11に係止するもので、これによると開弁用ワイヤーWaの操作方向X−Xにおける開弁用ホルダー部材20の移動が抑止される。
以上をまとめてみると、特に開弁用ホルダー部材20の筒部20aが第1ホルダー部材挿入孔10とハウジングカバー40によって挟持されるので、開弁用ホルダー部材20の上下方向、左右方向の移動が抑止され、又特に鍔部20fが係止溝11内に挿入係止されたことにより開弁用ワイヤーWaの操作方向X−Xにおける移動が抑止されるもので、これによって開弁用ホルダー部材20をスロットルボデー1に対して確実に固定配置できたものである。
尚、閉弁用ホルダー部材21にあっても図11から理解されるように、開弁用ホルダー部材20と同様にハウジング9とハウジングカバー40とによって挟持され、スロットルボデー1に対して固定配置される。(説明は省略する)
そして、上記によってスロットルボデー1に固定配置された開弁用ホルダー部材20から外側方にのびる開弁用ワイヤーWaの端部及び閉弁用ホルダー部材21から外側方にのびる閉弁用ワイヤーWbの端部は図示されぬアクセルグリップへ連絡されるもので、アクセルグリップを運転者が回動操作することにより開弁用ワイヤーWa、閉弁用ワイヤーWbをしてスロットルドラム5を正逆回転し、もってアクセルグリップの操作に応じて絞り弁4を開閉制御できる。
本発明によれば、スロットルボデー1に一体的に形成されるハウジング9の第1ホルダー部材挿入孔10に開弁用ホルダー部材20の筒部20aを挿入するとともに開弁用ホルダー部材20の鍔部20fを第1ホルダー部材挿入孔10に連設される係止溝11に挿入配置し、又、ハウジング9の第2ホルダー部材挿入孔12に閉弁用ホルダー部材21の筒部21aを挿入するとともに閉弁用ホルダー部材21の鍔部21fを第2ホルダー部材挿入孔12に連設される係止溝13に挿入配置し、かかる状態においてハウジング9の開口端部9cをハウジングカバー40にて閉塞し、開弁用ホルダー部材20、閉弁用ホルダー部材21をスロットルボデー1と一体的に形成されるハウジング9とハウジングカバー40とによって挟持して固定したものである。
従って、その作業としては、各ホルダー部材20,21を各ホルダー挿入孔10,12内に挿入するとともに各鍔部20f,21fを各係止溝11,13に挿入する作業、及びハウジングカバー40をハウジング9に螺着する作業、をもって開弁用ホルダー部材20、閉弁用ホルダー部材21をスロットルボデー1に固定できるので、その組付けを極めて容易にして簡単に行なうことができる。(尚ハウジングカバーのハウジングへの螺着作業は従来より行なわれる作業で新たに付加された作業ではない。)
又、各ホルダー部材20,21のスロットルボデー1への組付け時において、何等ナットを使用することがないので、部品点数の削減、作業工数の削減を達成でき、更には工具によりナットを螺動させる為の作業空間を必要としない。これは特にスロットルボデーの収納空間が狭く限定される自動二輪車において効果を有する。
又、ナットが使用されないことは、ナットのメネジ部におけるサビの発生がないものでメンテナンス性を向上でき、更にはスロットルボデー1の外観性を向上できる。
本実施例にあっては、副絞り弁を有するスロットルボデーが開示されるが、絞り弁のみを備えるスロットルボデーへの実施及び気化器の絞り弁への実施も行なうことができる。又、本実施例にあっては、ハウジングカバーに第1突部、第2突部を設けたがこれらの構造に限定されるものでなく、ハウジングカバーによって各ホルダー部材を挟持できる構造であればよい。
更にハウジングはスロットルボデーを射出成形する際、同時に一体形成できる。又本実施例にあっては、第1ホルダー部材挿入孔10の他端10b側の径が、一端10a側の第1ホルダー部材挿入孔10の径よりわずかに大径に形成されるが、これによると、開弁用ホルダー部材20の誤組みを抑止できる。
尚、スロットルボデーに装置される他の構成、例えば燃料噴射弁、電動モータ等は図をわかり易くする為に省略した。
次に参考例を図12に従い説明する。
前記実施例に於いてはホルダー部材を、筒部と筒部の外周から外側方に向けて一体形成した鍔部より成り、前記鍔部を係止溝に挿入配置する例を示したが、図12に示す参考例では、ホルダー部材を筒部と、筒部の両端部に設けた一側鍔部と他側鍔部より成るものとし、前記鍔部をホルダー部材挿入孔に嵌合し、ホルダー部材挿入孔の一端、他端側の壁面各々に対して前記一側、他側鍔部を略当接し、ホルダー部材の筒部をホルダー部材挿入孔に保持するようにして配置してホルダー部材を取り付ける。
より具体的に開弁用ホルダー部材(ケーブルホルダー)を例にとって説明すると、前記実施例と同じように符号9は底部、9bは壁部、9cは開口端部、10は第1ホルダー部材挿入孔(ケーブルホルダー嵌合凹部)、W aは開弁用ワイヤー、10a、10bは各々第1ホルダー部材挿入孔の一端、20aは第1ホルダー部材の筒部、20b、20cは各々第1ホルダー部材の一端側、他端側、30はガイドチューブを各々示している。上記に於いて第1ホルダー部材の筒部20aを中にして、その一端側20bに一側鍔部50を設け、他端側20cに他側鍔部51を設ける。この参考例では前記他側鍔部51をナット51aで構成した例を示してある。即ち筒部20aにネジ部51bを形成し、そのネジ部51bに螺着するナット51aとして示してある。このような構成によると第1ホルダー部材20の筒部20aを第1ホルダー部材挿入孔10に挿入配置し、一側鍔部50を第1ホルダー部材挿入孔10の一端10a側の壁に略当接し、他側鍔部51を第1ホルダー部材挿入孔の他端10b側の壁に略当接し、ホルダー部材20の筒部20をホルダー部材挿入孔10内に保持するようにして取り付ける。この後、前の実施例と同じようにハウジングカバーが取り付けられる。
前記参考例では他側の鍔部51がナット51aより成るので、この単一のナット51aを締めることにより第1ホルダー部材20の筒部20aをしっかりと保持できる。ナットが1 個なので作業工数が少なくて済む。更に前記に於いては開弁用ホルダー部材を例にとって示したが、閉弁用ホルダー部材を同様に構成してもよい。
なお、他側鍔部51の変わりに一側鍔部50をナットで構成しても良く、一側鍔部50と他側鍔部51との両方を、筒部20aに一体的に形成された円板状の鍔部としてもよい。
本発明になる絞り弁制御装置の一実施例を示す正面図であり、ハウジングカバーが装着されない状態を示す。 図1のA矢視の正面図であり、各ホルダー部材挿入孔に各ホルダー部材が挿入されていない状態を示す。 図2のB−B線における要部縦断面図。 本発明に用いられる開弁用ホルダー部材の縦断面図。 図4の開弁用ホルダー部材に開弁用ワイヤーが挿入された状態を示す要部縦断面図。 図1においてハウジングカバーが取着された状態におけるC−C線での要部縦断面図。 図1においてハウジングカバーが取着された状態におけるD−D線での要部縦断面図。 図1においてハウジングカバーが取着された状態におけるE−E線での要部縦断面図。 図1においてハウジングカバーが取着された状態におけるF−F線での要部縦断面図。 図1においてハウジングカバーが取着された状態におけるG−G線での要部縦断面図。 図1においてハウジングカバーが取着された状態におけるA矢視の正面図。 参考例を示すホルダー部材部分を示した図。
5 スロットルドラム
9 ハウジング
9a 底部(底壁)
9b 壁部(側壁)
9c 開口端部
9g 内方
10 第1ホルダー部材挿入孔(ケーブルホルダー嵌合凹部)
11 係止溝(鍔部収容溝)
12 第2ホルダー部材挿入孔(ケーブルホルダー嵌合凹部)
13 係止溝(鍔部収容溝)
20 開弁用ホルダー部材(ケーブルホルダー)
20a 筒部
20f 鍔部
21 閉弁用ホルダー部材(ケーブルホルダー)
21a 筒部
21f 鍔部
40 ハウジングカバー
Wa 開弁用ワイヤー
Wb 閉弁用ワイヤー

Claims (1)

  1. スロットルボデーに穿設された吸気通路を横断し、吸気通路を開閉する絞り弁が取着され、スロットルボデーに回動自在に軸支された絞り弁軸と、
    絞り弁軸の端部に取着されるとともに運転者が操作するアクセルグリップと連絡される開弁用ワイヤー、閉弁用ワイヤーが係止され、スロットルボデーの一側壁に突出配置されるスロットルドラムと、
    スロットルボデーの一側壁に形成され、少なくともスロットルドラムの外周を囲繞し、底部と、この底部より立設される壁部とを含んでなり、一側方に向けて開口端部を介して開口配置される有底カップ状をなすハウジングと、
    前記ハウジングの開口端部を閉塞し、密閉状のスロットルドラム制御室を形成するハウジングカバーとを備える絞り弁制御装置において、
    前記ハウジングの壁部には、開弁用ワイヤーの操作方向において、一端がハウジングの内方に向けて開口し、他端がハウジングの外方に向けて開口するとともに開口端部に向けて開口するU字状をなす第1ホルダー部材挿入孔と、
    閉弁用ワイヤーの操作方向において、一端が前記ハウジングの内方に向けて開口し、他端がハウジングの外方に向けて開口するとともに開口端部に向けて開口するU字状をなす第2ホルダー部材挿入孔とを設けるとともに、
    前記第1、第2ホルダー部材挿入孔には、各ホルダー部材挿入孔より外側方に向かって拡径するとともに開口端部に向けて開口する係止溝が穿設され、
    一方、開弁用ホルダー部材は、長手方向に形成される筒部と、この筒部の外周から外側方に向けて拡径して一体形成される鍔部とを備えるとともに筒部の一端から他端に向けて開弁用ワイヤーが挿入配置され、
    又、閉弁用ホルダー部材は、長手方向に形成される筒部と、この筒部の外周から外側方に向けて拡径して一体形成される鍔部とを備えるとともに筒部の一端から他端に向けて閉弁用ワイヤーが挿入配置され、
    前記開弁用ホルダー部材の筒部を開口端部を介して前記第1ホルダー部材挿入孔内に挿入配置するとともに鍔部を前記係止溝内に挿入配置し、筒部の一端から延出する開弁用ワイヤーを前記スロットルドラムに係合配置し、
    又、前記閉弁用ホルダー部材の筒部を開口端部を介して前記第2ホルダー部材挿入孔内に挿入配置するとともに鍔部を前記係止溝内に挿入配置し、筒部の一端から延出する閉弁用ワイヤーを前記スロットルドラムに係合配置し、
    かかる状態において、前記ハウジングの開口端部上にハウジングカバーを取着配置し、前記開弁用ホルダー部材、閉弁用ホルダー部材を、前記ハウジングと前記ハウジングカバーとにより挟持したことを特徴とする絞り弁制御装置。
JP2007245026A 2007-09-21 2007-09-21 絞り弁制御装置 Active JP5025397B2 (ja)

Priority Applications (1)

Application Number Priority Date Filing Date Title
JP2007245026A JP5025397B2 (ja) 2007-09-21 2007-09-21 絞り弁制御装置

Applications Claiming Priority (1)

Application Number Priority Date Filing Date Title
JP2007245026A JP5025397B2 (ja) 2007-09-21 2007-09-21 絞り弁制御装置

Publications (2)

Publication Number Publication Date
JP2009074458A JP2009074458A (ja) 2009-04-09
JP5025397B2 true JP5025397B2 (ja) 2012-09-12

Family

ID=40609672

Family Applications (1)

Application Number Title Priority Date Filing Date
JP2007245026A Active JP5025397B2 (ja) 2007-09-21 2007-09-21 絞り弁制御装置

Country Status (1)

Country Link
JP (1) JP5025397B2 (ja)

Families Citing this family (4)

* Cited by examiner, † Cited by third party
Publication number Priority date Publication date Assignee Title
JP2013019367A (ja) * 2011-07-13 2013-01-31 Aisan Industry Co Ltd 空気量制御装置
JP6605424B2 (ja) 2016-09-30 2019-11-13 本田技研工業株式会社 鞍乗り型車両
JP7498074B2 (ja) * 2020-09-23 2024-06-11 本田技研工業株式会社 車両のスロットルケーブル支持構造
JP7366184B1 (ja) 2022-03-31 2023-10-20 本田技研工業株式会社 鞍乗型車両の保護構造

Family Cites Families (7)

* Cited by examiner, † Cited by third party
Publication number Priority date Publication date Assignee Title
JPS5333044Y2 (ja) * 1975-01-27 1978-08-15
JPS6226596Y2 (ja) * 1981-01-16 1987-07-08
JPS5924948U (ja) * 1982-08-10 1984-02-16 トヨタ自動車株式会社 アクセルコントロ−ルケ−ブル用ブラケツト
JP2001208036A (ja) * 2000-01-28 2001-08-03 Maruyama Mfg Co Ltd ワイヤ装置及びスロットルワイヤ装置
JP4474307B2 (ja) * 2005-03-17 2010-06-02 株式会社ケーヒン スロットルボデーにおけるリンク式絞り弁制御装置
JP4815302B2 (ja) * 2006-08-03 2011-11-16 株式会社ケーヒン スロットルボデーにおけるアウターケーブルエンドボルト装着構造
JP4778917B2 (ja) * 2007-02-16 2011-09-21 株式会社ケーヒン 二輪車用のタンデム弁型スロットルボデー

Also Published As

Publication number Publication date
JP2009074458A (ja) 2009-04-09

Similar Documents

Publication Publication Date Title
US9541186B2 (en) Actuator and method for manufacturing the same
JP5025397B2 (ja) 絞り弁制御装置
JP5971276B2 (ja) アクチュエータおよびその組付方法
US7543794B2 (en) Torque-transmitting device for use in air control valve
US7207545B2 (en) Throttle bodies with throttle valves actuated by motors
US6364287B1 (en) Electronic throttle return spring assembly
JP5184531B2 (ja) 多連スロットル装置
KR20180096925A (ko) Egr 밸브
JP2002106370A (ja) エンジンの吸気マニホールド
JP4759552B2 (ja) 燃料噴射弁の取付構造
JP2007092648A (ja) 絞り弁制御装置
JP4831085B2 (ja) 内燃機関用の電子式スロットル装置
KR100815162B1 (ko) 차량용 스로틀 장치
JP6559599B2 (ja) スロットル装置
JP4239899B2 (ja) 内燃機関用流量制御弁
JP4531008B2 (ja) 自動二輪車用の吸気制御装置
JP4474307B2 (ja) スロットルボデーにおけるリンク式絞り弁制御装置
JP3318027B2 (ja) 弁装置
CN101142420A (zh) 轴体的保持结构、可变进气阀及进气装置
JP4088745B2 (ja) 吸気制御装置
JP4815302B2 (ja) スロットルボデーにおけるアウターケーブルエンドボルト装着構造
JP2689227B2 (ja) エンジン用気化器の自動チョーク装置
US9541036B2 (en) Fluid flow valve, especially for recirculated exhaust gas
JP2008144696A (ja) 多連スロットルボデーにおける駆動装置
KR100716362B1 (ko) 스로틀 바디의 축 체결구조

Legal Events

Date Code Title Description
RD03 Notification of appointment of power of attorney

Free format text: JAPANESE INTERMEDIATE CODE: A7423

Effective date: 20090209

A521 Request for written amendment filed

Free format text: JAPANESE INTERMEDIATE CODE: A523

Effective date: 20090224

A621 Written request for application examination

Free format text: JAPANESE INTERMEDIATE CODE: A621

Effective date: 20100708

A977 Report on retrieval

Free format text: JAPANESE INTERMEDIATE CODE: A971007

Effective date: 20110407

A131 Notification of reasons for refusal

Free format text: JAPANESE INTERMEDIATE CODE: A131

Effective date: 20110914

A521 Request for written amendment filed

Free format text: JAPANESE INTERMEDIATE CODE: A523

Effective date: 20111110

A131 Notification of reasons for refusal

Free format text: JAPANESE INTERMEDIATE CODE: A131

Effective date: 20111228

A521 Request for written amendment filed

Free format text: JAPANESE INTERMEDIATE CODE: A523

Effective date: 20120210

TRDD Decision of grant or rejection written
A01 Written decision to grant a patent or to grant a registration (utility model)

Free format text: JAPANESE INTERMEDIATE CODE: A01

Effective date: 20120523

A01 Written decision to grant a patent or to grant a registration (utility model)

Free format text: JAPANESE INTERMEDIATE CODE: A01

A61 First payment of annual fees (during grant procedure)

Free format text: JAPANESE INTERMEDIATE CODE: A61

Effective date: 20120619

FPAY Renewal fee payment (event date is renewal date of database)

Free format text: PAYMENT UNTIL: 20150629

Year of fee payment: 3

R150 Certificate of patent or registration of utility model

Free format text: JAPANESE INTERMEDIATE CODE: R150

Ref document number: 5025397

Country of ref document: JP

Free format text: JAPANESE INTERMEDIATE CODE: R150

R250 Receipt of annual fees

Free format text: JAPANESE INTERMEDIATE CODE: R250

R250 Receipt of annual fees

Free format text: JAPANESE INTERMEDIATE CODE: R250

R250 Receipt of annual fees

Free format text: JAPANESE INTERMEDIATE CODE: R250

R250 Receipt of annual fees

Free format text: JAPANESE INTERMEDIATE CODE: R250

R250 Receipt of annual fees

Free format text: JAPANESE INTERMEDIATE CODE: R250

R250 Receipt of annual fees

Free format text: JAPANESE INTERMEDIATE CODE: R250

S111 Request for change of ownership or part of ownership

Free format text: JAPANESE INTERMEDIATE CODE: R313115

R350 Written notification of registration of transfer

Free format text: JAPANESE INTERMEDIATE CODE: R350

R250 Receipt of annual fees

Free format text: JAPANESE INTERMEDIATE CODE: R250

S111 Request for change of ownership or part of ownership

Free format text: JAPANESE INTERMEDIATE CODE: R313115

R350 Written notification of registration of transfer

Free format text: JAPANESE INTERMEDIATE CODE: R350

R250 Receipt of annual fees

Free format text: JAPANESE INTERMEDIATE CODE: R250

R250 Receipt of annual fees

Free format text: JAPANESE INTERMEDIATE CODE: R250

R250 Receipt of annual fees

Free format text: JAPANESE INTERMEDIATE CODE: R250

R250 Receipt of annual fees

Free format text: JAPANESE INTERMEDIATE CODE: R250