JP4938577B2 - 橋脚横梁の補強構造 - Google Patents

橋脚横梁の補強構造 Download PDF

Info

Publication number
JP4938577B2
JP4938577B2 JP2007193074A JP2007193074A JP4938577B2 JP 4938577 B2 JP4938577 B2 JP 4938577B2 JP 2007193074 A JP2007193074 A JP 2007193074A JP 2007193074 A JP2007193074 A JP 2007193074A JP 4938577 B2 JP4938577 B2 JP 4938577B2
Authority
JP
Japan
Prior art keywords
steel bracket
fiber sheet
reinforcing fiber
bridge pier
steel
Prior art date
Legal status (The legal status is an assumption and is not a legal conclusion. Google has not performed a legal analysis and makes no representation as to the accuracy of the status listed.)
Active
Application number
JP2007193074A
Other languages
English (en)
Other versions
JP2008069624A (ja
Inventor
浩 三上
裕生 篠崎
一哉 佐々木
宏史 睦好
Current Assignee (The listed assignees may be inaccurate. Google has not performed a legal analysis and makes no representation or warranty as to the accuracy of the list.)
Sumitomo Mitsui Construction Co Ltd
Metropolitan Expressway Co Ltd
Saitama University NUC
Original Assignee
Sumitomo Mitsui Construction Co Ltd
Metropolitan Expressway Co Ltd
Saitama University NUC
Priority date (The priority date is an assumption and is not a legal conclusion. Google has not performed a legal analysis and makes no representation as to the accuracy of the date listed.)
Filing date
Publication date
Application filed by Sumitomo Mitsui Construction Co Ltd, Metropolitan Expressway Co Ltd, Saitama University NUC filed Critical Sumitomo Mitsui Construction Co Ltd
Priority to JP2007193074A priority Critical patent/JP4938577B2/ja
Publication of JP2008069624A publication Critical patent/JP2008069624A/ja
Application granted granted Critical
Publication of JP4938577B2 publication Critical patent/JP4938577B2/ja
Active legal-status Critical Current
Anticipated expiration legal-status Critical

Links

Images

Landscapes

  • Bridges Or Land Bridges (AREA)

Description

本発明は、道路や鉄道等の橋脚横梁の補強構造に係り、詳しくは、支承やブラケット等の突起物がその表面に配置された橋脚横梁を補強するのに好適な橋脚横梁の補強構造に関する。
近年、既設の道路や鉄道等の橋脚横梁をアラミド繊維シート等により補強する技術については種々のものが提案されている(例えば、特許文献1参照。)。
図5は、橋脚横梁の補強構造の従来例を説明するための側面図である。図示のものでは、橋脚横梁101の上面101aには、支承102や落橋防止装置103等(以下、“干渉物”と称する)が配置されているので、横梁101の全周に強化繊維シートを巻き付けることは出来ない。そこで、図6に詳示するように、それらの干渉物を避けるように強化繊維シート105を横梁側面101b,101d及び横梁下面101cに略U字状に貼り付けることとし(以下、この強化繊維シート105を“U字型繊維シート”と称する)、該干渉物と干渉しない部分においては、図7に詳示するように、該U字型繊維シート105の上から別の強化繊維シート106を巻き付けるようにしている。
特開平2004−60213号公報
しかしながら、橋脚横梁においては、側面にも鋼製ブラケットなどの干渉物が取り付けられている場合もあり、そのような横梁においては上述の補強構造は活用できないという問題があった。
本発明は、上述のような問題を解決する橋脚横梁の補強構造を提供することを目的とするものである。
請求項1に係る発明は、図1乃至図3に例示するものであって、上面(1a)に支承(2)が配置され、一の側面(1b)に一の鋼製ブラケット(3B)が取り付けられ、他の側面(1d)に他の鋼製ブラケット(3D)が取り付けられてなる略矩形状断面の橋脚横梁(1)の補強構造において、
平面視において前記2つの鋼製ブラケット(3B,3D)が前記支承(2)を挟み込むような位置関係となるように、それらが配置され、
前記一の側面(1b)の一部であって前記一の鋼製ブラケット(3B)の下方に位置する一の側面部分、前記横梁(1)の下面(1c)の一部であって前記一の側面部分に連続するところの下面部分、及び前記他の側面(1d)の一部であって前記他の鋼製ブラケット(3D)の下方に位置する他の側面部分に亘ってU字状に貼付される第1強化繊維シート(5)と、
前記横梁(1)の上面(1a)における前記支承(2)が配置されていない部分、前記一の側面(1b)における前記一の鋼製ブラケット(3B)が取り付けられていない部分、前記横梁(1)の下面(1c)、及び前記他の側面(1d)における前記他の鋼製ブラケット(3D)が取り付けられていない部分に亘って横梁全周に帯状に巻き付けられる第2強化繊維シート(6)と、を備えたことを特徴とする。
請求項2に係る発明は、図4に例示するものであって、上面(1a)に支承(2)が配置され、一の側面(1b)に一の鋼製ブラケット(3B)が取り付けられ、他の側面(1d)に他の鋼製ブラケット(3D)が取り付けられてなる略矩形状断面の橋脚横梁(1)の補強構造において、
前記一の鋼製ブラケット(3B)と前記他の鋼製ブラケット(3D)とは、平面視において、前記橋脚横梁(1)の長手方向中心軸(M)を挟むように対称に配置され、
前記支承(2)は、平面視において前記2つの鋼製ブラケット(3B,3D)に挟み込まれない位置に配置され、
前記一の側面(1b)の一部であって前記一の鋼製ブラケット(3B)の下方に位置する一の側面部分、前記横梁(1)の下面(1c)の一部であって前記一の側面部分に連続するところの下面部分、及び前記他の側面(1d)の一部であって前記他の鋼製ブラケット(3D)の下方に位置する他の側面部分に亘ってU字状に貼付される第1強化繊維シート(5)と、
前記横梁(1)の上面(1a)の一部であって前記支承(2)と前記一の側面(1b)との間の上面部分(1a)、前記一の側面(1b)の一部であって前記上面部分(1a)に連続するところの一の側面部分、前記横梁(1)の下面(1c)の一部であって前記一の側面部分に連続するところの下面部分、前記他の側面(1d)の一部であって前記下面部分に連続するところの他の側面部分、及び、前記横梁(1)の上面(1a)の一部であって前記他の側面部分に連続するところの上面部分(1a)に亘って貼付される第3強化繊維シート(8)と、を備えたことを特徴とする。
請求項3に係る発明は、請求項2に係る発明において、前記横梁(1)の上面(1a)における前記支承(2)が配置されていない部分、前記一の側面(1b)における前記一の鋼製ブラケット(3B)が取り付けられていない部分、前記横梁(1)の下面(1c)、及び前記他の側面(1d)における前記他の鋼製ブラケット(3D)が取り付けられていない部分に亘って横梁(1)全周に帯状に巻き付けられる第2強化繊維シート(6)、を備えたことを特徴とする。
請求項4に係る発明は、請求項2又は3に係る発明において、前記第3強化繊維シート(8)の一部であって前記横梁(1)の上面部分(1a,1a)に貼り付けられた部分、及び前記横梁(1)の上面(1a)の一部であって前記第3強化繊維シート(8)が貼り付けられていない部分の両方に亘って貼付される第4強化繊維シート(9)、を備えたことを特徴とする。
請求項5に係る発明は、請求項1乃至4のいずれか1項に記載の発明において、前記第1強化繊維シート(5)の上端部分を前記横梁(1)の方に付勢する付勢部材(図3及び図4の符号7参照)、を備えたことを特徴とする。
請求項6に係る発明は、請求項5に記載の発明において、前記付勢部材が、前記第1強化繊維シート(5)の幅方向両外側に突出するように配置されると共に、該第1強化繊維シート(5)の上端部分及び横梁表面(1b,1c)に亘って貼付された第5強化繊維シート(不図示)であることを特徴とする。
請求項7に係る発明は、請求項5に係る発明において、前記付勢部材(7)は鋼製部材であって固定部材(不図示)を介して前記横梁(1)又は前記鋼製ブラケット(3B,3D)に固定されたことを特徴とする。
請求項8に係る発明は、請求項1,3及び4のいずれか1項に記載の発明において、前記第1強化繊維シート(5)の上端部分を前記横梁(1)の方に付勢する付勢部材(7)、
を備え、
該付勢部材(7)は、前記第1強化繊維シート(5)の表面に当接すると共に該第1強化繊維シート(5)の幅方向両外側に突出するように配置され、
該突出した部分は、前記第2強化繊維シート(6)と前記横梁(1)との間に挟持された状態で固定されることを特徴とする。
請求項9に係る発明は、請求項8に記載の発明において、前記付勢部材は鋼製部材又は第5強化繊維シートであることを特徴とする。
請求項10に係る発明は、請求項1乃至4のいずれか1項に記載の発明において、前記第1強化繊維シート(5)の上端部分に鋼製固定部材(不図示)が取り付けられ、
前記第1強化繊維シート(5)の上端部分は該鋼製固定部材(不図示)を介して前記鋼製ブラケット(3B,3D)に固定されたことを特徴とする。
請求項11に係る発明は、図8(b) に例示するものであって、一の側面(1b)に一の鋼製ブラケット(13B)が取り付けられ、他の側面(1d)に他の鋼製ブラケット(13D)が取り付けられてなる略矩形状断面の橋脚横梁(1)の補強構造において、
前記一の鋼製ブラケット(13B)と前記他の鋼製ブラケット(13D)とは、平面視において、前記橋脚横梁(1)の長手方向中心軸(図1等の符号M参照)を挟むように対称に配置され、
前記一の側面(1b)の一部であって前記一の鋼製ブラケット(13B)の下方に位置する一の側面部分、前記横梁の下面(1c)の一部であって前記一の側面部分に連続するところの下面部分、及び前記他の側面(1d)の一部であって前記他の鋼製ブラケット(13D)の下方に位置する他の側面部分に亘って第1強化繊維シート(15)が略U字状に貼付され、
該第1強化繊維シート(15)の上端部分は、板状部材(18)を挟み込んだ状態で折り曲げられ、
該折り曲げ部(15a)には、前記第1強化繊維シート(15)及び板状部材(18)を貫通する貫通孔(図9の符号15c参照)が形成され、
該折り曲げ部(15a)は、前記貫通孔(15c)に挿通された固定部材(16)を介して前記橋脚横梁(1)に固定されたことを特徴とする。
請求項12に係る発明は、請求項11に係る発明において、前記鋼製ブラケット(13B,13D)は、前記橋脚横梁(1)の側面(1b,1d)に沿って配置された平板状の部材であり、
該平板状の鋼製ブラケット(13B,13D)と、該鋼製ブラケット(13B,13D)の下方に並設されることとなる前記折り曲げ部(15a)と、に亘って第1押え部材(図10(b) の符号20参照)を配置し、
これらの鋼製ブラケット(13B,13D)及び折り曲げ部(15a)が前記橋脚横梁(1)の側面(1b,1d)と前記第1押え部材(20)との間に挟持されるように、該第1押え部材(20)を第1押え用固定部材(16,17,21,22)にて前記側面(1b,1d)に固定したことを特徴とする。
請求項13に係る発明は、請求項11に係る発明において、前記鋼製ブラケットは、略水平な板状部材(図12の符号32参照)をその下端部分に有し、
該板状部材(32)の下面及び前記折り曲げ部(15a)の表面に沿うように配置された、断面が略L字形の第2押え部材(34)を有し、
該第2押え部材(34)が前記橋脚横梁(1)の側面(1b,1d)との間に前記折り曲げ部(15a)を挟持すると共に前記板状部材(32)に固定されるように、該第2押え部材(34)を第2押え用固定部材(36,37,38,39)にて前記側面(1b,1d)及び前記板状部材(32)に固定したことを特徴とする。
請求項14に係る発明は、略水平な板状部材(図13の符号32参照)を下端部分に有する一の鋼製ブラケット(3B)が前記一の側面(1b)に取り付けられ、略水平な板状部材(図11の符号32参照)を下端部分に有する他の鋼製ブラケット(3D)が前記他の側面(1d)に取り付けられてなる略矩形状断面の橋脚横梁(1)の補強構造において、
前記一の鋼製ブラケット(3B)と前記他の鋼製ブラケット(3D)とは、平面視において、前記橋脚横梁(1)の長手方向中心軸(M)を挟むように対称に配置され、
前記一の鋼製ブラケット(3B)の板状部材(32)の下面、前記一の側面(1b)の一部であって前記一の鋼製ブラケット(3B)の下方に位置する一の側面部分、前記横梁の下面(1c)の一部であって前記一の側面部分に連続するところの下面部分、前記他の側面(1d)の一部であって前記他の鋼製ブラケット(3D)の下方に位置する他の側面部分、及び前記他の鋼製ブラケット(3D)の板状部材の下面(1c)に亘って第6強化繊維シート(図13の符号35参照)が貼付され、
前記一の鋼製ブラケット(3B)の板状部材(32)の下面及び前記一の側面(1b)との間に前記第6強化繊維シート(35)を挟持するように、断面が略L字形の第2押え部材(34)を配置し、
前記他の鋼製ブラケット(3D)の板状部材(32)の下面及び前記他の側面(1d)との間に前記第6強化繊維シート(35)を挟持するように、断面が略L字形の第2押え部材(34)を配置し、
各第2押え部材(34)を第2押え用固定部材(36,37,38,39)によって各板状部材(32)及び各側面(1b,1d)に固定したことを特徴とする。
請求項15に係る発明は、図8(a) に例示するものであって、一の側面(1b)に一の鋼製ブラケット(13B)が取り付けられ、他の側面(1d)に他の鋼製ブラケット(13D)が取り付けられてなる略矩形状断面の橋脚横梁(1)を補強する方法において、
2枚の強化繊維シート片(15B,15D)の上端部分(図9の符号15a参照)を、板状部材(18)を挟み込んだ状態に折り曲げる工程と、
その折り曲げ部(15a)以外に樹脂が含浸されないような状態で、該折り曲げ部(15a)に樹脂を含浸させる工程と、
該折り曲げ部(15a)にて前記板状部材(18)を貫通する貫通孔(15c)を穿設する工程と、
前記橋脚横梁(1)の側面(1b,1d)であって各鋼製ブラケット(13B,13D)の下方に、前記貫通孔(15c)を挿通させた固定部材(16)により各強化繊維シート片(15B,15D)を固定する工程と、
それら2つの強化繊維シート片(15B,15D)が前記橋脚横梁(1)の下面(1c)に回り込んで重なり合った状態で、それらのシート片(15B,15D)に樹脂を含浸させる工程と、を備えたことを特徴とする。
なお、括弧内の番号などは、図面における対応する要素を示す便宜的なものであり、従って、本記述は図面上の記載に限定拘束されるものではない。
請求項1乃至3に係る発明によれば、上面に支承が配置され、側面に鋼製ブラケットが取り付けられているような橋脚横梁であっても、強化繊維シートを貼り付けることによる十分な補強を行うことができる。
請求項4に係る発明によれば、第3強化繊維シートの剥がれを抑制することができる。
請求項5乃至10に係る発明によれば、第1強化繊維シートの剥がれを抑制することができる。
請求項11乃至14に係る発明によれば、側面に鋼製ブラケットが取り付けられているような橋脚横梁であっても、第1強化繊維シートを貼り付けることによって十分な補強を行なうことができる。また、該第1強化繊維シートの上端部分は、前記板状部材を配置した上で固定部材により橋脚横梁に固定されているので、該部分の横梁側面からの剥がれを防止することができる。
請求項15に係る発明によれば、強化繊維シート片の橋脚横梁への貼り付けは、各シート片の上端部(折り曲げ部)を橋脚横梁に固定部材で固定してから行なうため、各シート片の位置決めや保持が容易となり、そのような固定部材による固定を行なわない場合に比べ、後工程の作業(例えば、強化繊維シート片の未樹脂含浸部分に樹脂を含浸させる作業)を比較的簡単に行なうことができる。また、この方法によれば、強化繊維シート片の貼り付け長さ調整はその重なり部にて行なうことができ、それらのシート片をぴったりと橋脚横梁に貼付することができる。
以下、図1乃至図4、及び図8乃至図13に沿って、本発明を実施するための最良の形態について説明する。ここで、図1は、本発明に係る橋脚横梁の補強構造の一例を示す斜視図であり、図2は、その橋脚横梁の全体構成の一例を示す側面図である。また、図3は、本発明に係る橋脚横梁の補強構造の他の例を示す斜視図であり、図4は、本発明に係る橋脚横梁の補強構造のさらに他の例を示す斜視図である。さらに、図8(a) は、本発明に係る橋脚横梁の補強方法の一例であって強化繊維シートを貼り付ける前の状態を示す断面図であり、図8(b) は、該強化繊維シートを貼り付けた後の状態を示す断面図である。また、図9は、第1強化繊維シートの構造の一例を示す断面図であり、図10(a)
は、本発明に係る橋脚横梁の補強方法の一例であって第1押え部材を配置する前の状態を示す断面図であり、図10(b) は、第1押え部材を配置した後の状態を示す断面図である。さらに、図11は、本発明に係る橋脚横梁の補強構造の一例を示す断面図であり、図12は、鋼製ブラケットへ強化繊維シートが固定される構造の一例を示す詳細断面図であり、図13は、鋼製ブラケットへ強化繊維シートが固定される構造の他の例を示す詳細断面図である。
(第1の形態)
本発明が適用される橋脚横梁は、略矩形状断面であって、図2に例示するように、その上面1aには支承2が配置され、一の側面1bには鋼製ブラケット(以下、必要に応じて“一の鋼製ブラケット”と称する)3Bが取り付けられ、他の側面(図1の符号1d参照)には別の鋼製ブラケット(以下、必要に応じて“他の鋼製ブラケット”と称する)3Dが取り付けられている。そして、平面視において前記2つの鋼製ブラケット3B,3Dが前記支承2を挟み込むような位置関係となるように、それら(2つの鋼製ブラケット3B,3D及び支承2)が配置されている。なお、支承2は横梁1の長手方向中心軸Mに沿って複数配置されており、各支承2を挟み込むように鋼製ブラケット3B,3Dがそれぞれに配置されている。また、図2中の符号4は、橋梁上部工を示す。
図1に示される橋脚横梁の補強構造は、
・ 符号5で示す第1強化繊維シートと、
・ 符号6で示す第2強化繊維シートと、
を備えている。このうち、第1強化繊維シート5は、
・ 前記一の側面1bの一部であって前記一の鋼製ブラケット3Bの下方に位置する一の側面部分、
・ 前記横梁1の下面1cの一部であって前記一の側面部分に連続するところの下面部分、
・ 前記他の側面1dの一部であって前記他の鋼製ブラケット3Dの下方に位置する他の側面部分
に亘ってU字状に貼付されている。また、第2強化繊維シート6は、
・ 前記横梁の上面1aにおける前記支承2が配置されていない部分、
・ 前記一の側面1bにおける前記一の鋼製ブラケット3Bが取り付けられていない部分、
・ 前記横梁の下面1c、
・ 前記他の側面1dにおける前記他の鋼製ブラケット3Dが取り付けられていない部分
に亘って横梁全周に帯状に巻き付けられている。本発明によれば、上面に支承2が配置され、側面に鋼製ブラケット3B,3Dが取り付けられているような橋脚横梁1であっても、強化繊維シート5,6を貼り付けることによる十分な補強を行うことができる。
ところで、このような補強構造においては、前記第1強化繊維シート5の上端部分(つまり、一の鋼製ブラケット3Bに近接する端縁部分、及び他の鋼製ブラケット3Dに近接する端縁部分の少なくとも一方、又は両方)の横梁側面からの剥がれを抑制するような構造にしておくと良い。そのための方法としては、前記第1強化繊維シート5の上端部分を前記横梁の方(つまり、横梁側面の方向)に付勢する付勢部材(図3の符号7参照)を配置すると良い。この場合、第1強化繊維シート5の上端部分を付勢するように付勢部材7を何らかの方法で支持しておく必要があるが、その方法としては、
・ アンカー部材やナット等のような固定部材を介して前記付勢部材7を前記横梁1や前記鋼製ブラケット3B,3D等に固定する方法
・ 該付勢部材を前記第1強化繊維シート5の表面に当接すると共に該シート5の幅方向両外側に突出するように配置しておき、該突出した部分を、前記第2強化繊維シート6と前記横梁1との間に挟持した状態で固定する方法
などを挙げることができる。この付勢部材としては鋼製の部材を挙げることができるが、後者の方法で固定する場合は強化繊維シート(第5強化繊維シート)を用いても良い。また、この第5強化繊維シートを後者の方法で固定するのではなく、第1強化繊維シート5の上端部分及び横梁表面に亘って貼付するようにしても良い。
また、上述のような付勢部材を用いるのではなく、第1強化繊維シート5の上端部分に、形鋼などの鋼製固定部材(不図示)を取り付けておき、該鋼製固定部材を介して該上端部分を前記鋼製ブラケット3B,3Dに固定するようにしても良い。
(第2の形態)
一方、図4に例示した橋脚横梁は、断面が略矩形状であって、上面には支承2が配置され、側面1b、1dには一の鋼製ブラケット3B及び他の鋼製ブラケット3Dがそれぞれ取り付けられているが、図1乃至図3と異なり、平面視において前記2つの鋼製ブラケット3B,3Dが前記支承2を挟み込むような位置関係となるようにはなっていない。前記一の鋼製ブラケット3Bと前記他の鋼製ブラケット3Dとは、平面視において、前記橋脚横梁の長手方向中心軸Mを挟むように対称に配置され、前記支承2は、平面視において前記2つの鋼製ブラケット3B,3Dに挟み込まれない位置に配置されている。
そして、図4に示される橋脚横梁の補強構造は、少なくとも、
・ 符号5で示す第1強化繊維シートと、
・ 符号8で示す第3強化繊維シートと、
を備えている。なお、図4では、第2強化繊維シート6も示されているが、該第2強化繊維シート6を有さない構造のものも権利範囲に含める趣旨である。
ここで、第1強化繊維シート5及び第2強化繊維シート6は、第1の形態にて説明したと同様のものである。
本発明によれば、上面に支承2が配置され、側面に鋼製ブラケット3B,3Dが取り付けられているような橋脚横梁1であっても、強化繊維シート5,6,8を貼り付けることによる十分な補強を行うことができる。
なお、第1強化繊維シート5の上端部分については、第1の形態のものと同様の方法で剥がれ抑制対策を行っても良い。すなわち、
・ 該上端部分を付勢部材7によって付勢するようにしても、
・ 鋼製固定部材を介して鋼製ブラケットに固定するようにしても、
良い。また、付勢部材7の支持は、
・ アンカー部材やナット等のような固定部材を介して前記付勢部材7を前記横梁1や前記鋼製ブラケット3B,3D等に固定する方法
・ 該付勢部材を前記第1強化繊維シート5の表面に当接すると共に該シート5の幅方向両外側に突出するように配置しておき、該突出した部分を、前記第2強化繊維シート6と前記横梁1との間に挟持した状態で固定する方法
などにより行えば良い。
また、図4に示す補強構造のものでは、支承2の幅寸法Dが横梁1の幅寸法Dよりも小さく、該支承2の両側に横梁1の上面1aの一部(支承2と前記一の側面1bとの間の上面部分1a、及び支承2と前記他の側面1dとの間の上面部分1aである。)が露出されるように(言い換えれば、支承2にて覆われないように)構成されている。そして、第3強化繊維シート8は、
・ 一方の上面部分1a
・ 前記一の側面1bの一部であって前記上面部分1aに連続するところの一の側面部分、
・ 前記横梁の下面1cの一部であって前記一の側面部分に連続するところの下面部分、
・ 前記他の側面1dの一部であって前記下面部分に連続するところの他の側面部分、
・ 他方の上面部分1a
に亘って貼付されている。
この場合、前記第3強化繊維シート8の一部(具体的には、前記横梁の上面部分1a,1aに貼り付けられた部分)、及び前記横梁の上面1aの一部(しかも、前記第3強化繊維シート8が貼り付けられていない部分)の両方に亘って第4強化繊維シート9を貼付するようにしても良い。これにより、第3強化繊維シート8の剥がれを抑制することができる。なお、図示の第4強化繊維シート9は、横梁の長手方向全体に亘って配置されているが、もちろんこれに限られるものではなく、図示のものよりも短くても良い。
上述の各強化繊維シート5,6,8は、約90度に折り曲げられて配置されるが、その折り曲げ部分を予め部分的にプレキャストシートに形成しておくと良い。例えば、上述の第3強化繊維シート8の端部(90度だけ内側に折り曲げられた部分)をプレキャストシートとしておくと、横梁上方に十分な作業空間を確保できない場合であっても比較的簡単に作業を行うことができる。
(第3の形態)
次に、図8乃至図10に沿って、本発明の第3の形態について説明する。
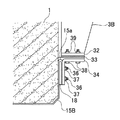
この第3の形態が適用される橋脚横梁は、図8(a) に示すように、略矩形状断面であって、一の側面1bには鋼製ブラケット(以下、必要に応じて“一の鋼製ブラケット”と称する)13Bが取り付けられ、他の側面1dには別の鋼製ブラケット(以下、必要に応じて“他の鋼製ブラケット”と称する)13Dが取り付けられている。この一の鋼製ブラケット13Bと他の鋼製ブラケット13Dとは、平面視において、前記橋脚横梁の長手方向中心軸(図1の符号M参照)を挟むように対称に配置されている。
本形態に係る橋脚横梁の補強構造は、図8(b) に符号15で示す第1強化繊維シートを備えている。この第1強化繊維シート15は、
・ 前記一の側面1bの一部であって前記一の鋼製ブラケット13Bの下方に位置する一の側面部分、
・ 前記横梁1の下面1cの一部であって前記一の側面部分に連続するところの下面部分、
・ 前記他の側面1dの一部であって前記他の鋼製ブラケット13Dの下方に位置する他の側面部分
に亘って略U字状に貼付されている。この第1強化繊維シート15の上端部分(図9に符号15aで示す部分であって、一の鋼製ブラケット13Bに近接する端縁部分、及び他の鋼製ブラケット13Dに近接する端縁部分の少なくとも一方、又は両方)は、板状部材18を挟み込んだ状態で折り曲げられており、該折り曲げ部15aには、前記第1強化繊維シート15及び板状部材18を貫通する貫通孔15cが形成されている。そして、この折り曲げ部15aは、前記貫通孔15cに挿通された固定部材(例えば、符号16で示すボルトや、符号17で示すナット等)を介して橋脚横梁1に固定されている。この折り曲げ部15a等には樹脂が含浸されている(詳細は後述する)。
この構造によれば、側面に鋼製ブラケット13B,13Dが取り付けられているような橋脚横梁1であっても、第1強化繊維シート15を貼り付けることによって十分な補強を行なうことができる。また、該第1強化繊維シート15の上端部分は、前記板状部材18を上述のように配置した上で固定部材16,17により橋脚横梁1に固定されているので、該部分の横梁側面からの剥がれを防止することができる。
ところで、橋脚横梁1の補強のためには、上述の第1強化繊維シート15が、一方のボルト16から他方のボルト16までの部分(符号L,L,L,L,Lに示す部分であって、横梁表面部分)にぴったりと貼り付けることが必要である。そのための一つの方法としては、前記第1強化繊維シート15を、上部に前記折り曲げ部15aを有する2つの強化繊維シート片15B,15Dに分割しておき(図8(a) 参照)、各強化繊維シート片15B,15Dの折り曲げ部15aをボルト16にて橋脚横梁1の側面に固定し(図8(a) 参照)、それら2つの強化繊維シート片15B,15Dを橋脚横梁1の下面1cにて重ね合わせるようにして貼付すると良い(図8(b)
参照)。この方法によれば、強化繊維シート片15B,15Dの橋脚横梁1への貼り付けは、各シート片15B,15Dの上端部(折り曲げ部15a)を橋脚横梁1にボルト16で固定してから行なうため、各シート片15B,15Dの位置決めや保持が容易となり、そのようなボルト16による固定を行なわない場合に比べ、後工程の作業(例えば、強化繊維シート片15B,15Dの符号15bの部分に樹脂を含浸させる作業)を比較的簡単に行なうことができる。また、この方法によれば、強化繊維シート片15B,15Dの貼り付け長さ調整はその重なり部にて行なうことができ、それらのシート片15B,15Dをぴったりと橋脚横梁1に貼付することができる。
しかしながら、第1強化繊維シート15は、上述の強化繊維シート片15B,15Dに2分割しただけのものに限定されるものでは無く、必要に応じて3つ以上に分割するようにしても良い。また、上述の貼り付け長さ調整を別の方法(つまり、2つの強化繊維シート片15B,15Dの重なり代を調整するという方法以外の方法)で行なうようにした場合には、第1強化繊維シート15を分割せずに一体物(つまり、両端部にそれぞれ折り曲げ部15aを形成した構造のもの)にしても良い。
ところで、2つの強化繊維シート片15B,15Dに分割された前記第1強化繊維シート15による橋脚横梁1の補強方法は以下の手順で行なうと良い。すなわち、
(1) 2枚の強化繊維シート片15B,15Dの上端部分を、前記板状部材18を挟み込んだ状態に折り曲げる工程
(2) その折り曲げ部以外15bに樹脂が含浸されないような状態で、該折り曲げ部15aに樹脂を含浸させる工程
(3) 樹脂が固まった段階で、前記板状部材18を貫通する貫通孔15cを該折り曲げ部15aに穿設する工程
(4) 図8(a) に示すように、前記貫通孔15cを挿通された固定部材16により、前記橋脚横梁1の側面1b,1dであって各鋼製ブラケット13B,13Dの下方に各強化繊維シート片15B,15Dを固定する工程
(5) 図8(b) に示すように、それら2つの強化繊維シート片15B,15Dが前記橋脚横梁1の下面1cに回り込んで重なり合った状態で、それらのシート片15B,15Dに樹脂を含浸させる工程
ところで、図示の鋼製ブラケット13B,13Dは、前記橋脚横梁の側面1b、1dに沿って配置された平板状の部材であって、上述した折り曲げ部15aはこの平板状鋼製ブラケット13B,13Dの下方に1つずつ並設されることとなる(図10(a) 参照)。そこで、これらの鋼製ブラケット13B,13Dと各折り曲げ部15aとに亘って第1押え部材20をそれぞれ配置し、これらの鋼製ブラケット13B,13Dと各折り曲げ部15aとが前記橋脚横梁1の側面1b,1dと前記第1押え部材20との間に挟持されるように、該第1押え部材20を第1押え用固定部材16,17,21,22にて固定すると良い。なお、図10(a)
(b) に示す符号21は、鋼製ブラケット側に取り付けられたボルトを示し、符号22は該ボルト21に螺合されるナットを示し、符号16は、折り曲げ部15aの貫通孔15cを貫通した状態で橋脚横梁1に埋設されたボルトを示し、符号17は、該ボルト16に螺合されたナットを示す。また、図10(a)
の符号23は、高さを揃えるために配置されたスペーサとしてのナットを示す。
(第4の形態)
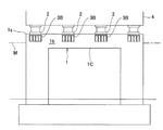
次に、図11及び図12に沿って、本発明の第4の形態について説明する。
この第4の形態においては、図11に示すように、略矩形状断面の橋脚横梁1の一の側面1bには鋼製ブラケット(以下、必要に応じて“一の鋼製ブラケット”と称する)3Bが取り付けられ、他の側面1dには別の鋼製ブラケット(以下、必要に応じて“他の鋼製ブラケット”と称する)3Dが取り付けられている。これらの鋼製ブラケット3B,3Dは、図1等に示した鋼製ブラケットと同様の形状をしている。すなわち、橋脚横梁1の表面に沿うように配置された平板30と、略水平な上板31及び下板32とを有しており、それらの上板31と下板32との間には平板30に略垂直な部材(垂直板)33が複数並設されている。
そして、本形態に係る橋脚横梁の補強構造は、第3の形態と同様の構造の第1強化繊維シート15を備えている。すなわち、この第1強化繊維シート15は、
・ 前記一の側面1bの一部であって前記一の鋼製ブラケット3Bの下方に位置する一の側面部分、
・ 前記横梁1の下面1cの一部であって前記一の側面部分に連続するところの下面部分、
・ 前記他の側面1dの一部であって前記他の鋼製ブラケット3Dの下方に位置する他の側面部分
に亘って略U字状に貼付されている。この第1強化繊維シート15の上端部分(図9に符号15aで示す部分であって、一の鋼製ブラケット3Bに近接する端縁部分、及び他の鋼製ブラケット3Dに近接する端縁部分の少なくとも一方、又は両方)は、板状部材18を挟み込むように折り曲げられており、該折り曲げ部15aには、前記第1強化繊維シート15及び板状部材18を貫通する貫通孔15cが2つ形成されている(図9には1つのみ示す)。
上述の鋼製ブラケット3Bの下板32の下面には中間板材33が配置されており、その下面及び前記折り曲げ部15aの表面に沿うように、断面が略L字状の第2押え部材34が配置されている。そして、該第2押え部材34が前記橋脚横梁1の側面1bとの間に前記折り曲げ部15aを挟持すると共に前記板状部材32に固定されるように、該第2押え部材34を第2押え用固定部材(例えば、符号36,38で示すボルトや、符号37,39で示すナット)にて前記側面及び前記板状部材32に固定している。なお、2本のボルト36は、上述の2つの貫通孔15cに挿通されている。他方の鋼製ブラケット3Dについても同様の構造で第1強化繊維シート15を固定すると良い。ところで、上述の第2押え部材34による固定は、下端部分に略水平な板状部材を有している鋼製ブラケットであれば可能であって、図11に示す構造の鋼製ブラケット3B,3D(つまり、平板30や上板31や垂直板33を有する構造のブラケット)に限定されるものでは無い。
次に、橋脚を補強する方法について説明する。
(1) 第3の形態と同様の方法で、図9に示す強化繊維シート片15B,15Dを作製する。すなわち、まず、2枚の強化繊維シート片15B,15Dの上端部分を、前記板状部材18を挟み込んだ状態に折り曲げ、その折り曲げ部以外15bに樹脂が含浸されないような状態で、該折り曲げ部15aに樹脂を含浸させ、樹脂が固まった段階で、前記板状部材18を貫通する貫通孔15cを該折り曲げ部15aに穿設する。
(2) 次に、各折り曲げ部15aを、上述の第2押え部材34や第2押え用固定部材36,37,38,39により図12に示すように固定する。このとき、折り曲げ部以外の部分15bは含浸されていないので、垂れ下がった状態となる。
(3) 図11に示すように、それら2つの強化繊維シート片15B,15Dが前記橋脚横梁1の下面1cに回り込んで重なり合った状態で、それらのシート片15B,15Dに樹脂を含浸させる。
(第5の形態)
次に、図13に沿って、本発明の第5の形態について説明する。
本形態においては、鋼製ブラケットは第4の形態と同様の構造であって、同様の位置に配置されているので、該鋼製ブラケット3B,3Dについての重複説明は省略する。なお、第3の形態においても述べたように、鋼製ブラケットは、下端部分に略水平な板状部材を有している鋼製ブラケットであれば十分であり、図11に示す構造の鋼製ブラケット3B,3D(つまり、平板30や上板31や垂直板33を有する構造のブラケット)に限定されるものでは無い。
そして、強化繊維シート(第6強化繊維シート)35が、
・ 前記一の鋼製ブラケット3Bの板状部材32の下面、
・ 前記一の側面1bの一部であって前記一の鋼製ブラケット3Bの下方に位置する一の側面部分、
・ 前記横梁1の下面1cの一部であって前記一の側面部分に連続するところの下面部分、
・ 前記他の側面1dの一部であって前記他の鋼製ブラケット3Dの下方に位置する他の側面部分
・ 前記他の鋼製ブラケット3Dの板状部材32の下面
に亘って略U字状に貼付されている。なお、この第6強化繊維シート35には、上述の折り曲げ部15aに相当する部分は形成されていない。そして、前記一の鋼製ブラケット3Bの板状部材32の下面及び前記一の側面部分に前記第6強化繊維シート35を押え付けるように、断面が略L字形の第2押え部材34を配置し、該第2押え部材34を第2押え用固定部材(例えば、符号36,38で示すボルトや、符号37,39で示すナット)によって固定した。また、前記他の鋼製ブラケット3Dの側も同様とし(不図示)、板状部材32の下面及び前記一の側面部分に前記第6強化繊維シート35を押え付けるように、断面が略L字形の第2押え部材34を配置し、該第2押え部材34を第2押え用固定部材(例えば、符号36,38で示すボルトや、符号37,39で示すナット)によって固定した。
図1は、本発明に係る橋脚横梁の補強構造の一例を示す斜視図である。 図2は、その橋脚横梁の全体構成の一例を示す側面図である。 図3は、本発明に係る橋脚横梁の補強構造の他の例を示す斜視図である。 図4は、本発明に係る橋脚横梁の補強構造のさらに他の例を示す斜視図である。 図5は、橋脚横梁の補強構造の従来例を説明するための側面図である。 図6は、図5のE−E端面図である。 図7は、図5のF−F端面図である。 図8(a) は、本発明に係る橋脚横梁の補強方法の一例であって強化繊維シートを貼り付ける前の状態を示す断面図であり、図8(b)は、該強化繊維シートを貼り付けた後の状態を示す断面図である。 図9は、第1強化繊維シートの構造の一例を示す断面図である。 図10(a) は、本発明に係る橋脚横梁の補強方法の一例であって第1押え部材を配置する前の状態を示す断面図であり、図10(b)は、第1押え部材を配置した後の状態を示す断面図である。 図11は、本発明に係る橋脚横梁の補強構造の一例を示す断面図である。 図12は、鋼製ブラケットへ強化繊維シートが固定される構造の一例を示す詳細断面図である。 図13は、鋼製ブラケットへ強化繊維シートが固定される構造の他の例を示す詳細断面図である。
符号の説明
1 橋脚横梁
1a 上面
1b 一の側面
1c 下面
1d 他の側面
2 支承
3B 一の鋼製ブラケット
3D 他の鋼製ブラケット
5 第1強化繊維シート
6 第2強化繊維シート
7 付勢部材
8 第3強化繊維シート
9 第4強化繊維シート
13B 一の鋼製ブラケット
13D 他の鋼製ブラケット
15 第1強化繊維シート
15B 強化繊維シート片
15D 強化繊維シート片
15a 折り曲げ部
15c 貫通孔
16 固定部材(第1押え用固定部材)
17 ナット(第1押え用固定部材)
18 板状部材
20 第1押え部材
21 ボルト(第1押え用固定部材)
22 ナット(第1押え用固定部材)
32 板状部材
34 第2押え部材
35 第6強化繊維シート
36 ボルト(第2押え用固定部材)
37 ナット(第2押え用固定部材)
38 ボルト(第2押え用固定部材)
39 ナット(第2押え用固定部材)
M 長手方向中心軸

Claims (15)

  1. 上面に支承が配置され、一の側面に一の鋼製ブラケットが取り付けられ、他の側面に他の鋼製ブラケットが取り付けられてなる略矩形状断面の橋脚横梁の補強構造において、
    平面視において前記2つの鋼製ブラケットが前記支承を挟み込むような位置関係となるように、それらが配置され、
    前記一の側面の一部であって前記一の鋼製ブラケットの下方に位置する一の側面部分、前記横梁の下面の一部であって前記一の側面部分に連続するところの下面部分、及び前記他の側面の一部であって前記他の鋼製ブラケットの下方に位置する他の側面部分に亘ってU字状に貼付される第1強化繊維シートと、
    前記横梁の上面における前記支承が配置されていない部分、前記一の側面における前記一の鋼製ブラケットが取り付けられていない部分、前記横梁の下面、及び前記他の側面における前記他の鋼製ブラケットが取り付けられていない部分に亘って横梁全周に帯状に巻き付けられる第2強化繊維シートと、
    を備えたことを特徴とする橋脚横梁の補強構造。
  2. 上面に支承が配置され、一の側面に一の鋼製ブラケットが取り付けられ、他の側面に他の鋼製ブラケットが取り付けられてなる略矩形状断面の橋脚横梁の補強構造において、
    前記一の鋼製ブラケットと前記他の鋼製ブラケットとは、平面視において、前記橋脚横梁の長手方向中心軸を挟むように対称に配置され、
    前記支承は、平面視において前記2つの鋼製ブラケットに挟み込まれない位置に配置され、
    前記一の側面の一部であって前記一の鋼製ブラケットの下方に位置する一の側面部分、前記横梁の下面の一部であって前記一の側面部分に連続するところの下面部分、及び前記他の側面の一部であって前記他の鋼製ブラケットの下方に位置する他の側面部分に亘ってU字状に貼付される第1強化繊維シートと、
    前記横梁の上面の一部であって前記支承と前記一の側面との間の上面部分、前記一の側面の一部であって前記上面部分に連続するところの一の側面部分、前記横梁の下面の一部であって前記一の側面部分に連続するところの下面部分、前記他の側面の一部であって前記下面部分に連続するところの他の側面部分、及び、前記横梁の上面の一部であって前記他の側面部分に連続するところの上面部分に亘って貼付される第3強化繊維シートと、
    を備えたことを特徴とする橋脚横梁の補強構造。
  3. 前記横梁の上面における前記支承が配置されていない部分、前記一の側面における前記一の鋼製ブラケットが取り付けられていない部分、前記横梁の下面、及び前記他の側面における前記他の鋼製ブラケットが取り付けられていない部分に亘って横梁全周に帯状に巻き付けられる第2強化繊維シート、
    を備えたことを特徴とする請求項2に記載の橋脚横梁の補強構造。
  4. 前記第3強化繊維シートの一部であって前記横梁の上面部分に貼り付けられた部分、及び前記横梁の上面の一部であって前記第3強化繊維シートが貼り付けられていない部分の両方に亘って貼付される第4強化繊維シート、
    を備えたことを特徴とする請求項2又は3に記載の橋脚横梁の補強構造。
  5. 前記第1強化繊維シートの上端部分を前記横梁の方に付勢する付勢部材、
    を備えた請求項1乃至4のいずれか1項に記載の橋脚横梁の補強構造。
  6. 前記付勢部材は、前記第1強化繊維シートの幅方向両外側に突出するように配置されると共に、該第1強化繊維シートの上端部分及び横梁表面に亘って貼付された第5強化繊維シートである、
    ことを特徴とする請求項5に記載の橋脚横梁の補強構造。
  7. 前記付勢部材は鋼製部材であって固定部材を介して前記横梁又は前記鋼製ブラケットに固定された、
    ことを特徴とする請求項5に記載の橋脚横梁の補強構造。
  8. 前記第1強化繊維シートの上端部分を前記横梁の方に付勢する付勢部材、を備え、
    該付勢部材は、前記第1強化繊維シートの表面に当接すると共に該第1強化繊維シートの幅方向両外側に突出するように配置され、
    該突出した部分は、前記第2強化繊維シートと前記横梁との間に挟持された状態で固定される、
    ことを特徴とする請求項1,3及び4のいずれか1項に記載の橋脚横梁の補強構造。
  9. 前記付勢部材は鋼製部材又は第5強化繊維シートである、
    ことを特徴とする請求項8に記載の橋脚横梁の補強構造。
  10. 前記第1強化繊維シートの上端部分に鋼製固定部材が取り付けられ、
    前記第1強化繊維シートの上端部分は該鋼製固定部材を介して前記鋼製ブラケットに固定された、
    ことを特徴とする請求項1乃至4のいずれか1項に記載の橋脚横梁の補強構造。
  11. 一の側面に一の鋼製ブラケットが取り付けられ、他の側面に他の鋼製ブラケットが取り付けられてなる略矩形状断面の橋脚横梁の補強構造において、
    前記一の鋼製ブラケットと前記他の鋼製ブラケットとは、平面視において、前記橋脚横梁の長手方向中心軸を挟むように対称に配置され、
    前記一の側面の一部であって前記一の鋼製ブラケットの下方に位置する一の側面部分、前記横梁の下面の一部であって前記一の側面部分に連続するところの下面部分、及び前記他の側面の一部であって前記他の鋼製ブラケットの下方に位置する他の側面部分に亘って第1強化繊維シートが略U字状に貼付され、
    該第1強化繊維シートの上端部分は、板状部材を挟み込んだ状態で折り曲げられ、
    該折り曲げ部には、前記第1強化繊維シート及び板状部材を貫通する貫通孔が形成され、
    該折り曲げ部は、前記貫通孔に挿通された固定部材を介して前記橋脚横梁に固定された、
    ことを特徴とする橋脚横梁の補強構造。
  12. 前記鋼製ブラケットは、前記橋脚横梁の側面に沿って配置された平板状の部材であり、
    該平板状の鋼製ブラケットと、該鋼製ブラケットの下方に並設されることとなる前記折り曲げ部と、に亘って第1押え部材を配置し、
    これらの鋼製ブラケット及び折り曲げ部が前記橋脚横梁の側面と前記第1押え部材との間に挟持されるように、該第1押え部材を第1押え用固定部材にて前記側面に固定した、
    ことを特徴とする請求項11に記載の橋脚横梁の補強構造。
  13. 前記鋼製ブラケットは、略水平な板状部材をその下端部分に有し、
    該板状部材の下面及び前記折り曲げ部の表面に沿うように配置された、断面が略L字形の第2押え部材を有し、
    該第2押え部材が前記橋脚横梁の側面との間に前記折り曲げ部を挟持すると共に前記板状部材に固定されるように、該第2押え部材を第2押え用固定部材にて前記側面及び前記板状部材に固定した、
    ことを特徴とする請求項11に記載の橋脚横梁の補強構造。
  14. 略水平な板状部材を下端部分に有する一の鋼製ブラケットが前記一の側面に取り付けられ、略水平な板状部材を下端部分に有する他の鋼製ブラケットが前記他の側面に取り付けられてなる略矩形状断面の橋脚横梁の補強構造において、
    前記一の鋼製ブラケットと前記他の鋼製ブラケットとは、平面視において、前記橋脚横梁の長手方向中心軸を挟むように対称に配置され、
    前記一の鋼製ブラケットの板状部材の下面、前記一の側面の一部であって前記一の鋼製ブラケットの下方に位置する一の側面部分、前記横梁の下面の一部であって前記一の側面部分に連続するところの下面部分、前記他の側面の一部であって前記他の鋼製ブラケットの下方に位置する他の側面部分、及び前記他の鋼製ブラケットの板状部材の下面に亘って第6強化繊維シートが貼付され、
    前記一の鋼製ブラケットの板状部材の下面及び前記一の側面との間に前記第6強化繊維シートを挟持するように、断面が略L字形の第2押え部材を配置し、
    前記他の鋼製ブラケットの板状部材の下面及び前記他の側面との間に前記第6強化繊維シートを挟持するように、断面が略L字形の第2押え部材を配置し、
    各第2押え部材を第2押え用固定部材によって各板状部材及び各側面に固定した、
    ことを特徴とする橋脚横梁の補強構造。
  15. 一の側面に一の鋼製ブラケットが取り付けられ、他の側面に他の鋼製ブラケットが取り付けられてなる略矩形状断面の橋脚横梁を補強する方法において、
    2枚の強化繊維シート片の上端部分を、板状部材を挟み込んだ状態に折り曲げる工程と、
    その折り曲げ部以外に樹脂が含浸されないような状態で、該折り曲げ部に樹脂を含浸させる工程と、
    該折り曲げ部にて前記板状部材を貫通する貫通孔を穿設する工程と、
    前記橋脚横梁の側面であって各鋼製ブラケットの下方に、前記貫通孔を挿通させた固定部材により各強化繊維シート片を固定する工程と、
    それら2つの強化繊維シート片が前記橋脚横梁の下面に回り込んで重なり合った状態で、それらのシート片に樹脂を含浸させる工程と、
    を備えたことを特徴とする、橋脚横梁を補強する方法。
JP2007193074A 2006-07-26 2007-07-25 橋脚横梁の補強構造 Active JP4938577B2 (ja)

Priority Applications (1)

Application Number Priority Date Filing Date Title
JP2007193074A JP4938577B2 (ja) 2006-07-26 2007-07-25 橋脚横梁の補強構造

Applications Claiming Priority (3)

Application Number Priority Date Filing Date Title
JP2006202865 2006-07-26
JP2006202865 2006-07-26
JP2007193074A JP4938577B2 (ja) 2006-07-26 2007-07-25 橋脚横梁の補強構造

Publications (2)

Publication Number Publication Date
JP2008069624A JP2008069624A (ja) 2008-03-27
JP4938577B2 true JP4938577B2 (ja) 2012-05-23

Family

ID=39291447

Family Applications (1)

Application Number Title Priority Date Filing Date
JP2007193074A Active JP4938577B2 (ja) 2006-07-26 2007-07-25 橋脚横梁の補強構造

Country Status (1)

Country Link
JP (1) JP4938577B2 (ja)

Family Cites Families (4)

* Cited by examiner, † Cited by third party
Publication number Priority date Publication date Assignee Title
JP3046929B2 (ja) * 1995-06-16 2000-05-29 三菱重工業株式会社 橋梁の免震構造
JP4041708B2 (ja) * 2002-07-26 2008-01-30 三井住友建設株式会社 橋脚横梁の補強方法
JP4003211B2 (ja) * 2002-10-03 2007-11-07 三井住友建設株式会社 コンクリート構造体の補強構造及びコンクリート構造体の補強方法
JP4194915B2 (ja) * 2003-10-15 2008-12-10 三井住友建設株式会社 橋脚横梁の補強方法

Also Published As

Publication number Publication date
JP2008069624A (ja) 2008-03-27

Similar Documents

Publication Publication Date Title
KR101637249B1 (ko) 프리캐스트 콘크리트 바닥판의 일체화를 위한 긴장력에 의한 휨보강 구조를 가지는 강박스 합성거더 및 그 시공방법
JP5961041B2 (ja) 鋼床版及びこれを備えた鋼床版橋
JP2002188120A (ja) 波形鋼板ウエブ桁の接合構造
JP4938577B2 (ja) 橋脚横梁の補強構造
JP2010265627A (ja) 磁気浮上システムの枕木締結構造
JP5372587B2 (ja) 鋼・コンクリート合成床版
JP4836618B2 (ja) 連続繊維シート固定部材及びこれを用いた構造物補強工法
JP4975498B2 (ja) 複合ラス及びその製造方法
JP4548311B2 (ja) 複合ラーメン橋の橋台構造
KR20050104887A (ko) 복공판
JP2017101445A (ja) プレキャスト床版の接合方法及びプレキャスト床版の接合構造
JP4405879B2 (ja) 鋼桁橋の補強方法
KR101692046B1 (ko) 모멘트 감소와 처짐 방지구조를 구비한 강관 거더 및 강관 파일
JP4668760B2 (ja) 鋼橋の補修・補強構造及び方法
KR100757198B1 (ko) 종방향 섬유판과 프리캐스트 복합섬유 바닥판을 이용한스트레스 리본 교량 및 그 시공방법
JP5516933B2 (ja) 柱梁接合部の補強構造
JPH04189977A (ja) 既存コンクリート躯体の補強構造
JP5667515B2 (ja) 背面板の取付構造及び取付治具
JP4711850B2 (ja) 脚柱の構造
JP4041708B2 (ja) 橋脚横梁の補強方法
JP4374790B2 (ja) 梁継手部の継目板取替方法及び梁継手部の補強連結装置
JP4654138B2 (ja) 鋼製主桁と下部工との接合構造
JP2008068961A (ja) エレベータ用ガイドレールの継目板
JP2008127906A (ja) 鋼床板補強方法
JP2006194025A (ja) 既設橋桁の補強方法

Legal Events

Date Code Title Description
A521 Request for written amendment filed

Free format text: JAPANESE INTERMEDIATE CODE: A523

Effective date: 20071226

A621 Written request for application examination

Free format text: JAPANESE INTERMEDIATE CODE: A621

Effective date: 20100527

A977 Report on retrieval

Free format text: JAPANESE INTERMEDIATE CODE: A971007

Effective date: 20120119

TRDD Decision of grant or rejection written
A01 Written decision to grant a patent or to grant a registration (utility model)

Free format text: JAPANESE INTERMEDIATE CODE: A01

Effective date: 20120131

A01 Written decision to grant a patent or to grant a registration (utility model)

Free format text: JAPANESE INTERMEDIATE CODE: A01

A61 First payment of annual fees (during grant procedure)

Free format text: JAPANESE INTERMEDIATE CODE: A61

Effective date: 20120223

FPAY Renewal fee payment (event date is renewal date of database)

Free format text: PAYMENT UNTIL: 20150302

Year of fee payment: 3

R150 Certificate of patent or registration of utility model

Ref document number: 4938577

Country of ref document: JP

Free format text: JAPANESE INTERMEDIATE CODE: R150

Free format text: JAPANESE INTERMEDIATE CODE: R150

R250 Receipt of annual fees

Free format text: JAPANESE INTERMEDIATE CODE: R250

R250 Receipt of annual fees

Free format text: JAPANESE INTERMEDIATE CODE: R250

R250 Receipt of annual fees

Free format text: JAPANESE INTERMEDIATE CODE: R250

R250 Receipt of annual fees

Free format text: JAPANESE INTERMEDIATE CODE: R250

R250 Receipt of annual fees

Free format text: JAPANESE INTERMEDIATE CODE: R250

R250 Receipt of annual fees

Free format text: JAPANESE INTERMEDIATE CODE: R250