JP4929656B2 - マンコンベア用制御装置の持ち出し装置 - Google Patents

マンコンベア用制御装置の持ち出し装置 Download PDF

Info

Publication number
JP4929656B2
JP4929656B2 JP2005268855A JP2005268855A JP4929656B2 JP 4929656 B2 JP4929656 B2 JP 4929656B2 JP 2005268855 A JP2005268855 A JP 2005268855A JP 2005268855 A JP2005268855 A JP 2005268855A JP 4929656 B2 JP4929656 B2 JP 4929656B2
Authority
JP
Japan
Prior art keywords
take
control device
main frame
machine room
main body
Prior art date
Legal status (The legal status is an assumption and is not a legal conclusion. Google has not performed a legal analysis and makes no representation as to the accuracy of the status listed.)
Expired - Fee Related
Application number
JP2005268855A
Other languages
English (en)
Other versions
JP2007076854A (ja
Inventor
長屋  真司
Current Assignee (The listed assignees may be inaccurate. Google has not performed a legal analysis and makes no representation or warranty as to the accuracy of the list.)
Mitsubishi Electric Corp
Original Assignee
Mitsubishi Electric Corp
Priority date (The priority date is an assumption and is not a legal conclusion. Google has not performed a legal analysis and makes no representation as to the accuracy of the date listed.)
Filing date
Publication date
Application filed by Mitsubishi Electric Corp filed Critical Mitsubishi Electric Corp
Priority to JP2005268855A priority Critical patent/JP4929656B2/ja
Publication of JP2007076854A publication Critical patent/JP2007076854A/ja
Application granted granted Critical
Publication of JP4929656B2 publication Critical patent/JP4929656B2/ja
Anticipated expiration legal-status Critical
Expired - Fee Related legal-status Critical Current

Links

Images

Landscapes

  • Escalators And Moving Walkways (AREA)

Description

この発明は、エスカレータや動く歩道等のマンコンベア用制御装置の持ち出し装置に関するものである。
一般にエスカレータや動く歩道等のマンコンベアは、無端状に連結されて主枠内を循環移動する多数の踏段と、この踏段を駆動する電動機を備えた駆動機と、この駆動機を収納する機械室と、この機械室内に設けられた制御盤を主とした盤類とを備えている。
上記駆動機や制御盤を点検、保守するためには保守作業員が機械室内に入らなければならない。しかし、近年マンコンベアは速度を可変制御するなど複雑な制御をするようになってきており、制御盤にインバーターなどの装備が必要で、制御盤の大型化、重量の増加が避けられなくなっている。
作業スペースを確保して駆動機、盤類を配置しようとすると、機械室、すなわち主枠寸法を大きくしなければならず、マンコンベア自体のレイアウトに問題が生じる。また、制御盤を主枠外に持ち出すことによって機械室内の作業スペースを確保しようとする場合は、作業員が直接制御盤を持ち上げなければならず、重量が大きいと複数の作業員が必要になるという問題がある。
このような不具合を解決するため、踏段や移動手摺の動きを利用して制御盤を持ち出すことにより、作業員の負担を軽減することができるマンコンベアの制御装置の引き上げ方法が提案されている(例えば、特許文献1参照)。
特開2004−338882号公報
従来のマンコンベアの制御装置の引き上げ方法では、踏段や移動手摺の動きを利用するため、制御装置の設置位置が制限されるという問題点がある。また、上下方向の案内手段の設置により、踏段の反転部分などへのアクセスに支障が出るという問題点がある。また、制御装置を主枠の外に持ち出せる所まで持ち上げられないという問題点がある。
この発明は上記のような課題を解決するためになされたもので、制御装置を持ち出すようにすることによる主枠寸法増大の抑制と、制御装置の容易な持ち出しによる作業員の負担の軽減とを可能にしたマンコンベア用制御装置の持ち出し装置を提供することを目的とする。
この発明に係るマンコンベア用制御装置の持ち出し装置は、マンコンベアの主枠と、主枠の端部に設けられた機械室と、機械室内に収納され、吊り上げ用引っ掛け部が設けられた可動型制御装置と、機械室を形成する主枠に固定された支持手段と、保守点検時に支持手段に回動自在に取り付けられて起立され、可動型制御装置を吊り上げて主枠より上まで持ち上げる持ち出し装置本体とを備え、持ち出し装置本体は、支持手段に下端部が回動可能に支持され、上部が湾曲した支柱と、この支柱に取り付けられたウインチと、このウインチにより巻き取られるワイヤーと、支柱の先端部から下方に吊り下げられたワイヤーの先端に取り付けられ、可動型制御装置の吊り上げ用引っ掛け部を引っ掛けるフックとを備え、支持手段は、機械室を構成する主枠の上端部内側に固定された取付部と、この取付部に主枠の上方に突出するように着脱自在に固定され、上端部が開口した円形挿入穴を有する長尺の円筒状柱とを備え、円筒状柱の円形挿入穴に持ち出し装置本体の支柱の下端部を挿入することにより回動可能に支持したものである。
また、支持手段及び持ち出し装置本体は、不使用時には、分割又は折り畳まれて機械室内に収納可能となるような大きさに寸法配分されたものである。
この発明によれば、可動型制御装置が重い場合でも、持ち上げ、搬出が容易になるので、作業員の負荷を軽減することができる。また、可動型制御装置を外に持ち出すことにより、機械室内に作業員の入るスペースが確保できるので、駆動機など他の機器のメンテナンスが容易となる。さらに、機械室の大きさ、すなわち主枠の延長を抑えることができるので、マンコンベアの設置スペース的に有利となる。また、支持部の固定位置や持ち出し装置本体の寸法を変化させることにより、可動型制御装置の機械室内の設置位置に自由度を持たせることができる。
実施の形態1.
図1はこの発明の実施の形態1におけるマンコンベア用制御装置の持ち出し装置を示す上部機械室を上から見た平面図、図2は図1におけるA−A線に沿った断面図、図3は図2におけるB部を拡大して示す分解斜視図である。
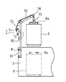
図において、1はエスカレータや動く歩道等のマンコンベアの主枠、2はこの主枠1の両側に配置された欄干、3はマンコンベアの主枠1の一端部(例えば上端部)に設けられた機械室、4は機械室3内に収納された駆動機、5は機械室3内に収納された固定型制御装置で、保守点検時も機械室3内に固定されているものである。6は機械室3内に収納された重量が大きい可動型制御装置で、保守点検時に持ち運びが可能なように上端部に吊り上げ用引っ掛け部6aが設けられている。7は重量が大きい可動型制御装置6を保守点検時に持ち出すために機械室3の上方に着脱自在に取り付けられる持ち出し装置本体である。この持ち出し装置本体7は、上部がへの字形に湾曲された丸棒状の支柱71と、この支柱の上部に固定されたウインチ72と、このウインチに巻き取られるワイヤー73と、支柱71の先端部に設けられ、ワイヤー73を支柱71の先端部から下方に吊り下げる滑車74と、この滑車から吊り下げられたワイヤー73の先端部に取り付けられ、上記可動型制御装置6の吊り上げ用引っ掛け部6aを引っ掛けるフック75とから構成されている。8は機械室3を形成する主枠1の上端部内側に強固に固定された円筒状の支持部で、上端部が開口した円形挿入穴8aが形成されている。したがって、この支持部8の円形挿入穴8a内に持ち出し装置本体7の丸棒支柱71の下端部を挿入することにより、持ち出し装置本体7が回動可能に支持されるようになっている。
このように構成されたマンコンベア用制御装置の持ち出し装置においては、保守点検時、機械室3上の床板(図示せず)を開けて、持ち出し装置本体7の丸棒状の支柱71の下端部を円筒状の支持部8の円形挿入穴8aに挿入することにより、持ち出し装置本体7を機械室3上にセットする。そして、ウインチ72により、ワイヤー73を伸ばして、ワイヤー先端部のフック75を可動型制御装置6の吊り上げ用引っ掛け部6aに引っ掛ける。次に、ウインチ72でワイヤー73を巻き取ることにより、重量が大きい可動型制御装置6を吊り上げて主枠1の上端部よりも上まで持ち上げる。その後、持ち出し装置本体7を支柱71の下端部と支持部8の円形挿入穴8aを支点として回動させて、重量が大きい可動型制御装置6を主枠1の外の床面に搬出する。
したがって、この実施の形態1によれば、可動型制御装置6が重い場合でも、持ち上げ、搬出が容易になるので、作業員の負荷を軽減することができる。また、可動型制御装置6を外に持ち出すことにより、機械室内に作業員の入るスペースが確保できるので、駆動機など他の機器のメンテナンスが容易となる。さらに、機械室の大きさ、すなわち主枠の延長を抑えることができるので、マンコンベアの設置スペース的に有利となる。また、支持部の固定位置や持ち出し装置本体の寸法を変化させることにより、可動型制御装置の機械室内の設置位置に自由度を持たせることができる。
実施の形態2.
図4はこの発明の実施の形態2におけるマンコンベア用制御装置の持ち出し装置を示す図2相当図、図5は図4におけるC部を拡大して示す分解斜視図である。
図において、1はエスカレータや動く歩道等のマンコンベアの主枠、3はマンコンベアの主枠1の一端部(例えば上端部)に設けられた機械室、6は機械室3内に収納された重量が大きい可動型制御装置で、保守点検時に持ち運びが可能なように上端部に吊り上げ用引っ掛け部6aが設けられている。7は重量が大きい可動型制御装置6を保守点検時に持ち出すために機械室3の上方に着脱自在に取り付けられる持ち出し装置本体である。この持ち出し装置本体7は、上部がへの字形に湾曲された丸棒状の支柱71と、この支柱の上部に固定されたウインチ72と、このウインチに巻き取られるワイヤー73と、支柱71の先端部に設けられ、ワイヤー73を支柱71の先端部から下方に吊り下げる滑車74と、この滑車から吊り下げられたワイヤー73の先端部に取り付けられ、上記可動型制御装置6の吊り上げ用引っ掛け部6aを引っ掛けるフック75とから構成されている。そして、この実施の形態2においては、丸棒状の支柱71の下端部には縮径部71aが形成されている。また、9は機械室3を形成する主枠1の上端部内側に固定された取付部91と、この取付部に上端部が主枠1上に大きく突出するように着脱可能に固定された比較的長尺の円筒状柱92とから構成された支持部で、円筒状柱92には上端部が開口した円形挿入穴92aが形成されている。したがって、この支持部9の円筒状柱92の円形挿入穴92a内に持ち出し装置本体7の丸棒状支柱71の下端縮径部71aを挿入することにより、支持部9の円筒状柱92を主枠1よりも上方に突出させた位置で、持ち出し装置本体7が回動可能に支持されるようにセットされる。
したがって、この実施の形態2によれば、実施の形態1と同様の効果が得られる。さらに、支持部の円筒状柱を主枠よりも上方に突出させた位置で、持ち出し装置本体が回動可能に支持されるようにしたので、持ち出し装置本体の小型化、軽量化を図ることができ、持ち運びが容易になる。
実施の形態3.
図6はこの発明の実施の形態3におけるマンコンベア用制御装置の持ち出し装置を示し、持ち出し装置を使用しない格納状態の平面図、図7は図6におけるD−D線に沿った断面図である。
この実施の形態3では、実施の形態2における持ち出し装置本体7及び支持部9を使用しない収納時に縮小できるようにするため、分割構成としたものである。すなわち、支持部9の円筒状柱92の長さ、及び持ち出し装置本体7の長さを、使用時は連結して可動型制御装置6を主枠1より上に持ち上げるのに十分な寸法とし、かつ分割時又は折り畳み時には、機械室3内にそれぞれ無理なく収納できる大きさとなるように寸法配分を考慮したものである。他の構成は実施の形態2と同様である。
したがって、この実施の形態3によれば、実施の形態2と同様の効果が得られる。さらに、使用しないときは機械室内にそれぞれ無理なく収納できる寸法配分としたので、持ち出し装置あるいは柱を持って倉庫や事務所まで運ばなくても済み、作業者の負担を軽減することができる。
実施の形態4.
図8はこの発明の実施の形態4におけるマンコンベア用制御装置の持ち出し装置を示す上部機械室を上から見た平面図である。
この実施の形態4では、マンコンベアの一側面に壁面10が存在する場合に、持ち出し装置本体7の回動の中心O、すなわち支持部8又は9の位置を、持ち出し装置本体7の先端部の描く回転軌跡が壁面10にかからないようにマンコンベアの側壁面より外方に突出しない位置に配置したものである。なお、それ以外の構成は実施の形態1又は実施の形態2と同じである。
したがって、この実施の形態4によれば、実施の形態1又は2と同様の効果が得られる。さらに、可動型制御装置を壁面に干渉させないように主枠の外の床面に搬出することができるので、機械室周囲の環境を選ばず、搬出作業が可能となる。
この発明の実施の形態1におけるマンコンベア用制御装置の持ち出し装置を示す上部機械室を上から見た平面図である。 図1におけるA−A線に沿った断面図である。 図2におけるB部を拡大して示す分解斜視図である。 この発明の実施の形態2におけるマンコンベア用制御装置の持ち出し装置を示す図2相当図である。 図4におけるC部を拡大して示す分解斜視図である。 この発明の実施の形態3におけるマンコンベア用制御装置の持ち出し装置を示し、持ち出し装置を使用しない格納状態の平面図である。 図6におけるD−D線に沿った断面図である。 この発明の実施の形態4におけるマンコンベア用制御装置の持ち出し装置を示す上部機械室を上から見た平面図である。
符号の説明
1 マンコンベアの主枠
2 欄干
3 機械室
4 駆動機
5 固定型制御装置
6 可動型制御装置
6a 吊り上げ用引っ掛け部
7 持ち出し装置本体
71 支柱
71a 縮径部
72 ウインチ
73 ワイヤー
74 滑車
75 フック
8、9 支持部
8a 円形挿入穴
91 取付部
92 円筒状柱
10 壁面

Claims (3)

  1. マンコンベアの主枠と、
    前記主枠の端部に設けられた機械室と、
    前記機械室内に収納され、吊り上げ用引っ掛け部が設けられた可動型制御装置と、
    前記機械室を形成する主枠に固定された支持手段と、
    保守点検時に前記支持手段に回動自在に取り付けられて起立され、前記可動型制御装置を吊り上げて前記主枠より上まで持ち上げる持ち出し装置本体とを備え、
    前記持ち出し装置本体は、前記支持手段に下端部が回動可能に支持され、上部が湾曲した支柱と、この支柱に取り付けられたウインチと、このウインチにより巻き取られるワイヤーと、前記支柱の先端部から下方に吊り下げられた前記ワイヤーの先端に取り付けられ、可動型制御装置の吊り上げ用引っ掛け部を引っ掛けるフックとを備え、
    前記支持手段は、機械室を構成する主枠の上端部内側に固定された取付部と、この取付部に主枠の上方に突出するように着脱自在に固定され、上端部が開口した円形挿入穴を有する長尺の円筒状柱とを備え、前記円筒状柱の円形挿入穴に持ち出し装置本体の支柱の下端部を挿入することにより回動可能に支持したことを特徴とするマンコンベア用制御装置の持ち出し装置。
  2. 支持手段及び持ち出し装置本体は、不使用時には、分割又は折り畳まれて機械室内に収納可能となるような大きさに寸法配分されたことを特徴とする請求項記載のマンコンベア用制御装置の持ち出し装置。
  3. 持ち出し装置本体の回動の中心位置は、持ち出し装置本体の先端部の回転軌跡がマンコンベアの側壁面より外方に突出しない位置に配置されたことを特徴とする請求項1又は請求項2記載のマンコンベア用制御装置の持ち出し装置。
JP2005268855A 2005-09-15 2005-09-15 マンコンベア用制御装置の持ち出し装置 Expired - Fee Related JP4929656B2 (ja)

Priority Applications (1)

Application Number Priority Date Filing Date Title
JP2005268855A JP4929656B2 (ja) 2005-09-15 2005-09-15 マンコンベア用制御装置の持ち出し装置

Applications Claiming Priority (1)

Application Number Priority Date Filing Date Title
JP2005268855A JP4929656B2 (ja) 2005-09-15 2005-09-15 マンコンベア用制御装置の持ち出し装置

Publications (2)

Publication Number Publication Date
JP2007076854A JP2007076854A (ja) 2007-03-29
JP4929656B2 true JP4929656B2 (ja) 2012-05-09

Family

ID=37937532

Family Applications (1)

Application Number Title Priority Date Filing Date
JP2005268855A Expired - Fee Related JP4929656B2 (ja) 2005-09-15 2005-09-15 マンコンベア用制御装置の持ち出し装置

Country Status (1)

Country Link
JP (1) JP4929656B2 (ja)

Cited By (1)

* Cited by examiner, † Cited by third party
Publication number Priority date Publication date Assignee Title
CN102701059A (zh) * 2012-06-19 2012-10-03 苏州汉森电梯有限公司 自动扶梯的电气控制柜提拉装置

Families Citing this family (2)

* Cited by examiner, † Cited by third party
Publication number Priority date Publication date Assignee Title
JP5120048B2 (ja) * 2008-04-24 2013-01-16 三菱電機株式会社 マンコンベアの機器搬出支援装置
JP6170205B1 (ja) * 2016-05-13 2017-07-26 東芝エレベータ株式会社 乗客コンベア

Family Cites Families (5)

* Cited by examiner, † Cited by third party
Publication number Priority date Publication date Assignee Title
JPS55151494A (en) * 1979-05-15 1980-11-26 Hideo Suzuki Winch with hook
JPS61139965A (ja) * 1984-12-12 1986-06-27 Fujitsu Ten Ltd カセツトテ−プの巻き取り方式
JPS61294437A (ja) * 1985-06-21 1986-12-25 Konishiroku Photo Ind Co Ltd 自動現像装置
JP2004224540A (ja) * 2003-01-24 2004-08-12 Toshiba Elevator Co Ltd 乗客コンベア
JP2004338882A (ja) * 2003-05-15 2004-12-02 Toshiba Elevator Co Ltd マンコンベヤ及びマンコンベヤの制御装置の引き上げ方法

Cited By (1)

* Cited by examiner, † Cited by third party
Publication number Priority date Publication date Assignee Title
CN102701059A (zh) * 2012-06-19 2012-10-03 苏州汉森电梯有限公司 自动扶梯的电气控制柜提拉装置

Also Published As

Publication number Publication date
JP2007076854A (ja) 2007-03-29

Similar Documents

Publication Publication Date Title
CN110844743B (zh) 跃层电梯和跃层方法
CA2307424C (en) Equipment for carrying out operations in a lift shaft
JP5217073B2 (ja) 乗りかご及びエレベータ装置
JPH09263372A (ja) エレベータかご天井昇降装置
JP4753932B2 (ja) ゴンドラ装置
JP4929656B2 (ja) マンコンベア用制御装置の持ち出し装置
JP2009057198A (ja) エレベータかご、エレベータかごの組立方法、および揚重治具
JPWO2018138831A1 (ja) エレベータの据付方法
JP7455221B2 (ja) 工事用エレベーター及び工事用エレベーターの主ロープの延長方法
JP4921810B2 (ja) エレベータの据付装置およびそれを用いた据付工法
JP4491110B2 (ja) エレベータのロープ掛け工法
JP2003128359A (ja) エレベータのロープ掛け方法
EP1329411B1 (en) Elevator device
JP2009161346A (ja) エレベータ
JP7583224B2 (ja) 巻上機据付ガイド装置及び巻上機の据付方法
JPH10167611A (ja) エレベータの乗かご固定装置
JP2023128271A (ja) 工事用エレベータ
JP2001226056A (ja) エレベータ装置
JP2012180171A (ja) 乗客コンベアの制御盤昇降装置及びそれを用いた乗客コンベアの制御盤の昇降方法
JP2005178948A (ja) エレベータのガイドレール搭載用移動作業床
JP4989926B2 (ja) エレベーター用主ロープのロープ掛け方法
JP2939064B2 (ja) エレベータの据付用型板
JP2024157825A (ja) エレベータ吊り機、およびエレベータシャフト構造
JP2007210708A (ja) エレベータ巻上機の揚重装置及び揚重方法。
JP2001192186A (ja) エレベーター装置

Legal Events

Date Code Title Description
A621 Written request for application examination

Free format text: JAPANESE INTERMEDIATE CODE: A621

Effective date: 20080520

A977 Report on retrieval

Free format text: JAPANESE INTERMEDIATE CODE: A971007

Effective date: 20110523

A131 Notification of reasons for refusal

Free format text: JAPANESE INTERMEDIATE CODE: A131

Effective date: 20110816

A521 Written amendment

Free format text: JAPANESE INTERMEDIATE CODE: A523

Effective date: 20110905

TRDD Decision of grant or rejection written
A01 Written decision to grant a patent or to grant a registration (utility model)

Free format text: JAPANESE INTERMEDIATE CODE: A01

Effective date: 20120117

A01 Written decision to grant a patent or to grant a registration (utility model)

Free format text: JAPANESE INTERMEDIATE CODE: A01

A61 First payment of annual fees (during grant procedure)

Free format text: JAPANESE INTERMEDIATE CODE: A61

Effective date: 20120130

R150 Certificate of patent or registration of utility model

Ref document number: 4929656

Country of ref document: JP

Free format text: JAPANESE INTERMEDIATE CODE: R150

Free format text: JAPANESE INTERMEDIATE CODE: R150

FPAY Renewal fee payment (event date is renewal date of database)

Free format text: PAYMENT UNTIL: 20150224

Year of fee payment: 3

R250 Receipt of annual fees

Free format text: JAPANESE INTERMEDIATE CODE: R250

R250 Receipt of annual fees

Free format text: JAPANESE INTERMEDIATE CODE: R250

R250 Receipt of annual fees

Free format text: JAPANESE INTERMEDIATE CODE: R250

R250 Receipt of annual fees

Free format text: JAPANESE INTERMEDIATE CODE: R250

R250 Receipt of annual fees

Free format text: JAPANESE INTERMEDIATE CODE: R250

LAPS Cancellation because of no payment of annual fees