JP4871706B2 - 画像形成装置 - Google Patents

画像形成装置 Download PDF

Info

Publication number
JP4871706B2
JP4871706B2 JP2006305231A JP2006305231A JP4871706B2 JP 4871706 B2 JP4871706 B2 JP 4871706B2 JP 2006305231 A JP2006305231 A JP 2006305231A JP 2006305231 A JP2006305231 A JP 2006305231A JP 4871706 B2 JP4871706 B2 JP 4871706B2
Authority
JP
Japan
Prior art keywords
recording medium
foreign matter
image forming
forming apparatus
value
Prior art date
Legal status (The legal status is an assumption and is not a legal conclusion. Google has not performed a legal analysis and makes no representation as to the accuracy of the status listed.)
Expired - Fee Related
Application number
JP2006305231A
Other languages
English (en)
Other versions
JP2008120514A (ja
Inventor
安昌 梨子田
Current Assignee (The listed assignees may be inaccurate. Google has not performed a legal analysis and makes no representation or warranty as to the accuracy of the list.)
Canon Inc
Original Assignee
Canon Inc
Priority date (The priority date is an assumption and is not a legal conclusion. Google has not performed a legal analysis and makes no representation as to the accuracy of the date listed.)
Filing date
Publication date
Application filed by Canon Inc filed Critical Canon Inc
Priority to JP2006305231A priority Critical patent/JP4871706B2/ja
Publication of JP2008120514A publication Critical patent/JP2008120514A/ja
Application granted granted Critical
Publication of JP4871706B2 publication Critical patent/JP4871706B2/ja
Expired - Fee Related legal-status Critical Current
Anticipated expiration legal-status Critical

Links

Images

Classifications

    • GPHYSICS
    • G07CHECKING-DEVICES
    • G07DHANDLING OF COINS OR VALUABLE PAPERS, e.g. TESTING, SORTING BY DENOMINATIONS, COUNTING, DISPENSING, CHANGING OR DEPOSITING
    • G07D7/00Testing specially adapted to determine the identity or genuineness of valuable papers or for segregating those which are unacceptable, e.g. banknotes that are alien to a currency
    • G07D7/181Testing mechanical properties or condition, e.g. wear or tear
    • G07D7/189Detecting attached objects, e.g. tapes or clips

Landscapes

  • Physics & Mathematics (AREA)
  • General Physics & Mathematics (AREA)
  • Accessory Devices And Overall Control Thereof (AREA)
  • Electrostatic Charge, Transfer And Separation In Electrography (AREA)
  • Control Or Security For Electrophotography (AREA)
  • Controlling Sheets Or Webs (AREA)

Description

本発明は、複写機、プリンタ、ファクシミリ装置等の画像形成装置に関するものである。特に、搬送される記録媒体に画像形成を行う画像形成装置に関するものである。
従来、複写機、プリンタ、ファクシミリ装置等の画像形成装置として、記録紙検知機能を有する画像形成装置が提案されている(例えば、特許文献1参照)。この従来例に係る画像形成装置は、記録紙の種類の検出を行い、記録紙種類に応じて設定された画像形成条件を切り替えて画像形成動作を行うものである。
特開昭64−82049号公報
しかしながら、従来例に係る画像形成装置では、異物が付着した記録紙が給紙搬送された場合であっても、そのまま画像形成部に搬送して画像形成動作を行っていた。
そのため、記録紙に付着した異物が例えばクリップ、ステープラ等の場合、異物が、電子写真プリンタであれば定着器等に大きなダメージを与え、インクジェットプリンタであれば画像形成部のインクヘッドに大きなダメージを与えてしまうという問題があった。
あるいは、記録紙に付着した異物が例えば組み込まれた無線ICタグメモリ等の場合には、該記録紙を電子写真プリンタの定着器に通紙した際に、圧力と熱で異物がダメージを受けてしまうという問題があった。
本発明は、係る状況下でなされたものであり、記録媒体に異物が付着している場合に、装置が異物により受けるダメージあるいは異物が装置により受けるダメージを軽減することが可能な画像形成装置を提供することを目的とする。
本発明は上述した課題を解決するためになされたものであり、以下の構成を備える。
(1)搬送される記録媒体に画像を形成する画像形成装置において、記録媒体を搬送する搬送手段と、前記搬送手段により搬送される記録媒体に含まれる異物を、電気的特性の変化を示す異物検出信号として検出する異物検出手段と、前記異物検出手段による検出結果に応じて、前記搬送手段による記録媒体の搬送動作を停止させるか、又は、画像形成装置の動作条件を変更して前記搬送動作を継続させるかを決定する制御手段と、を備え、前記制御手段は、前記異物検出手段によって検出された前記異物検出信号の値が、第一の値より大きく、前記第一の値より大きい第二の値以下の場合、前記画像形成装置の動作条件を変更して記録媒体の搬送動作を継続させ、前記異物検出信号の値が、前記第二の値より大きい場合、記録媒体の搬送動作を停止させるように前記搬送手段の動作を制御することを特徴とする画像形成装置。
本発明によれば、記録媒体に異物が付着している場合に、装置が異物により受けるダメージあるいは異物が装置により受けるダメージを軽減することが可能な画像形成装置を提供することができる。
本発明を実施するための最良の形態を、以下の実施例に基づいて説明する。
ただし、この実施例に記載されている構成部品の寸法、材質、形状、その相対配置等は、特に特定的な記載がない限りは、この発明の範囲をそれらのみに限定する趣旨のものではない。
以下、本実施例に係る画像形成装置について、図面を参照しながら説明する。本実施例に係る画像形成装置としては、一例として、電子写真方式を採用した画像形成装置を用いた。
図1は、本実施例に係る画像形成装置の概略ブロック図である。
図1において、101は周知の電子写真プロセスで画像形成(プリント)を行う画像形成装置である。画像形成装置101は、不図示のホストコンピュータと通信を行い、ホストコンピュータから送られる画像データに基づいて、記録媒体としての記録紙にプリントを行う。107は、記録紙を積載保持する記録紙カセットである。記録紙カセット107に積載された記録紙は、給紙ローラ108と不図示の分離パッドによって1枚ずつ給紙され、記録紙搬送路121(図中の破線)上を搬送される。123は、搬送される記録紙の先端を検知する記録紙先端検知センサであり、記録紙先端検知センサ123からの信号によって、電子写真プロセス制御が開始される。
109は、像担持体としての感光体ドラム、現像手段としての現像ローラを含み、帯電プロセス、現像プロセス、転写プロセスを行うための画像形成部である。106は、画像形成部109とともに転写プロセスを行う転写ユニットである。転写ユニット106は、搬送されてきた記録紙を感光体ドラムに押圧するとともに所定値の電圧を印加する転写手段としての転写ローラを含む。本実施例においては、転写ユニット106を、記録紙に付着した異物を検出するための異物検出部として利用する。そして、転写ユニット106に所定値の電圧あるいは電流を印加したときに検知された転写電流値あるいは転写電圧値が、後述する異物判断部102に送信される。110は、不図示のホストコンピュータ等からの画像信号に応じてレーザビームをオンオフし、回転ミラーによって感光体ドラム面上を光走査して静電潜像を形成するレーザスキャナユニットである。
画像形成部109において、感光体ドラムが帯電プロセスによって一様に帯電され、レーザスキャナユニット110によって感光体ドラム表面に静電潜像が形成される。続いて、現像プロセスによって現像剤としてのトナーでトナー像が形成され、転写プロセスによって記録紙にトナー像が転写される。記録紙に転写されたトナー像は、温度検出素子114によって温度制御されている加熱ローラ113と、加圧ローラ112とから構成される加熱定着器において、圧力と熱で記録紙に定着される。加圧ローラ112は、不図示の駆動機構により加熱ローラ113への当接離間が可能な構成となっている。
トナー像の定着された記録紙は、記録紙搬送路121を通り、排紙ローラ115によって記録紙排出部111に積載される。
122は、制御手段としての画像形成装置制御部であり、画像形成装置のシーケンスを司る画像形成制御部104、動作条件変更部103、ユーザ報知部105を備える。102は、異物検出部106において検出された信号に基づいて異物を判断する異物検出手段としての異物判断部である。異物判断部102は、異物検出部106で検知された転写電流値から不図示の微分回路において転写電流変化分を取り出し、転写電流変化部と後述するマスク信号とから異物検出信号を生成し、異物を判断する。異物判断部102において異物があると判断された場合は、動作条件変更部103によって画像形成装置101及び異物のダメージを極力最小限にし、画像形成装置101及び異物の劣化を抑える所定の画像形成装置の動作条件が選択される。そして画像形成制御部104が、選択された動作条件による動作を実行する。また、ユーザ報知部105がユーザにエラーを報知する。
120は、異物検出部106で検出した信号から、記録紙の有無等の通常の変化で生じる信号を取り除くためのマスク信号である。マスク信号120は、記録紙先端検知センサ123からの信号によって、画像形成制御部104において生成され、異物判断部102に送信される。また、異物検出部106が記録紙材質、記録紙サイズ等の検出を行う場合は、これらの記録紙情報が画像形成制御部104に送出され、検出された記録紙情報に応じた画像形成動作条件でプリントが行われる。
続いて、図2ないし図4を用いて本実施例に係る画像形成装置における異物判断制御を説明する。
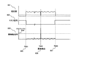
図2は、異物を含まない記録紙を搬送した場合、すなわち通常状態で異物検出部106において検出される転写電流波形と転写電圧波形の関係を示す図である。図3は、例として導電性の異物が付着した記録紙を搬送した場合に、異物検出部106において検出される転写電流波形と転写電流変化、異物検出信号との関係を示す図である。図4は、異物判断制御フローチャートである。
図2において、横軸は時間であり、縦軸201は転写電流値、縦軸202は転写電圧値である。横軸の0からT201までは、スタンバイ期間203であり、T201からT202までは、電子写真プロセスをイニシャライズするための前回転期間204である。また、T202からT203までとT204からT205までは、それぞれプリント期間205、207である。T203からT204までは記録紙と記録紙の紙間206、T205以降は後回転処理期間208である。
同様に、図3の横軸は時間であり、縦軸301は転写電流値である。横軸の0からT301までは、スタンバイ期間303であり、T301からT302までは、電子写真プロセスをイニシャライズするための前回転期間304である。T302からT303までとT304からT305までは、それぞれプリント期間305、307である。T303からT304までは記録紙と記録紙の紙間306、T305以降は後回転処理期間308である。T306は、異物を検出した時間である。302は転写電流変化分であり、不図示の微分回路において、転写電流値301から転写電流値の変化分が取り出される。310は、記録紙搬送と画像形成動作のタイミングから通常状態の変化分、例えば、記録紙の先端突入時、転写出力を変更したとき等における変化分を無効とするマスク信号である。転写電流変化分302とマスク信号310とから、異物検出信号311が得られる。また、2つの異なるスライスレベルが予め設定されており、検出された異物検出信号311が第1の変化レベルとしての第1スライスレベル313を超えた場合に異物が存在すると判断される。さらに、異物検出信号311が第2の変化レベルとしての第2スライスレベル312を超えるか否かによって、ダメージレベルが判断される。
前回転期間204、304においては、図4のステップS401からステップS409のフローで制御される。前回転処理制御が開始されると(ステップS401)、画像形成装置の状態の判別が行われる(ステップS402)。前回転処理が必要と判断された場合には、前回転処理期間中、予め設定された定電流値で転写出力が行われる(ステップS403、S406)。そのため、図2において、転写電流値201は一定となり、転写電圧値202は変動した波形となっている。この期間中の転写電圧値はサンプリングされ(ステップS405)、前回転処理が終了した時点で(ステップS406)、前回転処理中にサンプリングした転写電圧値に応じて、プリント時の電圧値を設定する(ステップS407)。
プリント期間205、207、305、307においては、図4のステップS410からステップS425のフローで制御される。プリント制御が開始されると(ステップS410)、状態がチェックされ(ステップS411)、ステップS407において設定された電圧値で定電圧制御が行われる(ステップS412)。そして、転写電流値がモニタされ(ステップS413)、転写電流値の変化が図3の異物検出信号311として検出される(ステップS414)。ステップS414において、転写電流値の異常変化が検出されなかった場合、すなわち異物検出信号311が第1スライスレベル313を超えなかった場合は、プリントが終了するまで定電圧で制御される(ステップS415)。プリントが終了すると、後回転処理が行われ(ステップS416)、終了する(ステップS417)。
ステップS414において、転写電流値の異常変化が検出された場合、すなわち異物検出信号311が第1スライスレベル313を超えた場合は、異常処理ルーティンが実行される(ステップS418)。これは、図3のT306で示す異物検出信号311を検出した場合の処理ルーティンである。異物処理ルーティンにおいて、まず画像形成装置101及び異物のダメージレベルが判定される(ステップS419)。異物検出信号311が第2スライスレベル312を超えた場合は、このままプリント動作を続行すると画像形成装置101あるいは異物に不具合を生じさせる恐れが高いと判断し、プリント動作を緊急停止させる(ステップS420)。そして、ユーザにエラーを報知し(ステップS421)、エラー処理を行うとともにメインプログラムへ復帰し、ウェイトする(ステップS422)。
異物検出信号311が第2スライスベル312を越えない場合は、画像形成装置101あるいは異物に不具合を生じさせる恐れは低いと判断し、記録紙搬送速度の低下、加熱定着器の温度及び圧力の低下等の処理を行い、自動排紙する(ステップS423)。そして、エラー処理を行い、ユーザにその旨を報知して(ステップS424)、ウェイトする(ステップS425)。
以上、本実施例によれば、記録媒体に異物が付着している場合であっても、装置及び異物に与えるダメージを軽減することが可能となる。また本実施例では、電子写真プロセスで使用される転写電流値をモニタすることによって異物検出を行うため、低コストで、ユーザフレンドリーな画像形成装置を提供することができる。さらには、転写電流値の変化分を比較して異物検出を行うため、記録紙や環境等の変動要因をキャンセルして精度良く異物を検出することができる。
なお、本実施例においては、転写電流値をモニタして異物判断を行ったが、特にこれに限定されず、転写電圧値をモニタして異物判断を行ってもよい。
本実施例に係る画像形成装置について説明する。本実施例においては、異物検出部として記録紙搬送路上に設けたレジストローラ対を用いた点が実施例1と異なる。それ以外の実施例1と同様の構成については同一の図面を用いるとともに同一の符号を付し、説明は省略する。
図5は、本実施例に係る画像形成装置の概略断面図である。
図5において、501及び502は記録紙の先端書き出し位置を合わせるための搬送手段としてのレジストローラ、504は記録紙である。513は給紙ローラ、514は記録紙先端検知センサ、510は感光体ドラム、509は帯電ローラである。508は不図示のレーザスキャナユニットから照射されたレーザビームであり、画像データに応じてレーザビームが点灯される。507は現像ローラであり、トナーにより感光体ドラム510上の静電潜像を現像する。506は転写ローラであり、感光体ドラム510と転写ローラ506の当接するニップ部において、感光体ドラム510上のトナー像が記録紙に静電転写される。
511は加熱ローラであり、内部に発熱ヒータが組み込まれている。512は記録紙を加熱ローラ511に圧接させるための加圧ローラである。トナー像が静電転写された記録紙は、加熱ローラ511と加圧ローラ512によって挟持搬送され、熱と圧力によりトナー像が記録紙に定着される。
レジストローラ501、502は、良導電性の部材から構成される。レジストローラ501とレジストローラ502とは絶縁されており、また両端が電源503に接続され、記録紙がレジストローラ501、502間を通過する際に、レジストローラ501、502と記録紙の抵抗値が検出できるようになっている。異物判断部102は、この抵抗値とマスク信号とから異物検出信号を生成し、異物を判断する。
図6は、異物検出部において検出される抵抗値と異物検出信号との関係を示す図である。図6において、横軸が時間であり、縦軸601が抵抗値、602がマスク信号、603がマスク処理した後の抵抗値変化分、すなわち異常検出信号である。T602が異物を検出した時間である。ここで、マスク信号602は、実施例1では制御に応じてそれぞれマスク信号を生成していたが、本実施例では、記録紙が異物検出部にかかっているときのみ、検出する構成となっている。
異物判断制御フローは実施例1と同様である。しかしながら、図6に示すように1つのスライスレベル604のみを設定し、異物による画像形成装置101のダメージレベルの判定を行わずに、異常検出信号がスライスレベル604を超えた場合、一律に同一の処理を行うようにしてもよい。
以上、本実施例によれば、記録紙搬送に必要なレジストローラを利用して、記録紙の抵抗値を測定することによって、より確実に金属製のステープラ、クリップ等の異物を検出することが可能となる。
なお、記録紙搬送に必要な他の搬送ローラ対を異物検出部として利用してもよい。
もちろん、これらの異物検出部と、記録紙材質や記録紙サイズを検出する記録紙判別部とを兼ねることも可能である。
本実施例に係る画像形成装置について説明する。本実施例においては、異物検出部として記録紙搬送路上に設けた記録紙搬送ガイドを用いた点が実施例1及び実施例2と異なる。それ以外の実施例1及び実施例2と同様の構成については同一の図面を用いるとともに同一の符号を付し、説明は省略する。
図7は、本実施例に係る画像形成装置の概略断面図である。
図7において、701及び702は記録紙搬送路上に設けられた記録媒体搬送ガイド部材としての記録紙搬送ガイドであり、704は記録紙である。713は給紙ローラ、714は記録紙紙先端検知センサ、710は感光体ドラム、709は帯電ローラである。708は不図示のレーザスキャナユニットから照射されたレーザビームである。707は現像ローラ、706は転写ローラである。711は加熱ローラであり、内部に発熱ヒータが組み込まれている。712は加圧ローラである。
記録紙搬送ガイド701、702は金属部材であって、交流電源703が接続されており、記録紙搬送ガイド701、702間を通過する記録紙のインピーダンス値を検出することができるようになっている。異物判断部102は、このインピーダンス値とマスク信号とから異物検出信号を生成し、異物を判断する。
図8は、異物検出部において検出されるインピーダンス値と異物検出信号との関係を示す図である。図8において、横軸が時間であり、縦軸801がインピーダンス値、802がマスク信号、803がマスク処理した後のインピーダンス変化分、すなわち異常検出信号である。T802が異物を検出した時間である。
本実施例においても異物判断制御フローは実施例1と同様であるが、スライスレベル804のみを設定し、実施例2と同様の制御を行う構成であってもよい。
本実施例は、特に、異物として記録紙に埋め込まれたRFIDを検出する際に有効である。RFIDは、近年、バーコードにとって変わり製品や部品の管理に使用され始めている。本実施例においてRFIDを検出した場合は、図4のステップS423において、プリント動作条件(定着温度、定着圧力、記録紙搬送速度等)をRFIDにダメージを与えない条件設定に変更する。
また、本実施例に示されるものの他に、異物検出部としてのアンテナを設けて、RFIDに記憶された情報を直接読み取る構成とすることも可能である。
以上、実施例1ないし3では、記録紙搬送路上に低コストで精度の高い異物検出部を設け、記録紙の特性変化を観測することとした。これにより、ユーザが不注意等で導入してしまった画像形成装置にダメージを与える恐れのある異物を含む記録紙を排除することができる。また、異物が無線ICタグメモリやRFID等の場合には、これらの異物が画像形成装置から受けるダメージを排除あるいは軽減することができる。そのため、信頼性の高く、ユーザフレンドリーな画像形成装置を提供することができる。
実施例1に係る画像形成装置の概略ブロック図 転写電流波形と転写電圧波形の関係を示す図 転写電流波形と転写電流変化、異物検出信号との関係を示す図 異物判断制御フローチャート 実施例2に係る画像形成装置の概略断面図 抵抗値と、異物検出信号との関係を示す図 実施例3に係る画像形成装置の概略断面図 インピーダンス値と異物検出信号との関係を示す図
符号の説明
102 異物判断部(異物検出手段に対応)
103 動作条件変更部
104 画像形成制御部
105 ユーザ報知部
106 転写ユニット
122 画像形成装置制御部(制御手段に対応)
312 第2スライスレベル(第2の変化レベルに対応)
313 第1スライスレベル(第1の変化レベルに対応)
501、502 レジストローラ(搬送手段に対応)
701、702 記録紙搬送ガイド(記録媒体搬送ガイド部材に対応)

Claims (4)

  1. 送される記録媒体に画像を形成する画像形成装置において、
    記録媒体を搬送する搬送手段と、
    前記搬送手段により搬送される記録媒体に含まれる異物を、電気的特性の変化を示す異物検出信号として検出する異物検出手段と、
    前記異物検出手段による検出結果に応じて、前記搬送手段による記録媒体の搬送動作を停止させるか、又は、画像形成装置の動作条件を変更して前記搬送動作を継続させるかを決定する制御手段とを備え
    前記制御手段は、前記異物検出手段によって検出された前記異物検出信号の値が、第一の値より大きく、前記第一の値より大きい第二の値以下の場合、前記画像形成装置の動作条件を変更して記録媒体の搬送動作を継続させ、前記異物検出信号の値が、前記第二の値より大きい場合、記録媒体の搬送動作を停止させるように前記搬送手段の動作を制御することを特徴とする画像形成装置。
  2. 請求項に記載の画像形成装置において、
    静電潜像を担持する像担持体と、
    前記像担持体上の静電潜像を現像剤像として可視化する現像手段と、
    前記像担持体に圧接して記録媒体を挟持搬送するとともに、所定の電圧又は電流が印加されて該記録媒体に前記現像剤像を転写する転写手段とを備え、
    前記電気的特性の変化は、前記記録媒体が前記像担持体及び前記転写手段により挟持搬送されている際に前記転写手段に所定の電圧又は電流が印加されたときの転写電流値又は転写電圧値の変化であることを特徴とする画像形成装置。
  3. 請求項に記載の画像形成装置において、
    前記搬送手段は、電源に接続された一対の搬送部材を有し、前記搬送部材で記録媒体を挟持搬送するとともに、挟持搬送の際に記録媒体の抵抗値を検知可能であり、
    前記電気的特性の変化は、記録媒体が前記搬送部材により挟持搬送されている際に検知された抵抗値の変化であることを特徴とする画像形成装置。
  4. 請求項に記載の画像形成装置において、
    電源に接続された一対の記録媒体搬送ガイド部材を備え、
    前記一対の記録媒体搬送ガイド部材は、前記記録媒体ガイド部材間に記録媒体を通過させることで前記搬送手段による記録媒体の搬送をガイドするとともに、記録媒体が通過する際に記録媒体のインピーダンス値を検知可能であり、
    前記電気的特性の変化は、記録媒体が前記一対の記録媒体搬送ガイド部材を通過する際に検知されたインピーダンス値の変化であることを特徴とする画像形成装置。
JP2006305231A 2006-11-10 2006-11-10 画像形成装置 Expired - Fee Related JP4871706B2 (ja)

Priority Applications (1)

Application Number Priority Date Filing Date Title
JP2006305231A JP4871706B2 (ja) 2006-11-10 2006-11-10 画像形成装置

Applications Claiming Priority (1)

Application Number Priority Date Filing Date Title
JP2006305231A JP4871706B2 (ja) 2006-11-10 2006-11-10 画像形成装置

Publications (2)

Publication Number Publication Date
JP2008120514A JP2008120514A (ja) 2008-05-29
JP4871706B2 true JP4871706B2 (ja) 2012-02-08

Family

ID=39505695

Family Applications (1)

Application Number Title Priority Date Filing Date
JP2006305231A Expired - Fee Related JP4871706B2 (ja) 2006-11-10 2006-11-10 画像形成装置

Country Status (1)

Country Link
JP (1) JP4871706B2 (ja)

Cited By (1)

* Cited by examiner, † Cited by third party
Publication number Priority date Publication date Assignee Title
US12138941B2 (en) 2020-07-23 2024-11-12 Hewlett-Packard Development Company, L.P. Determining particle concentration

Families Citing this family (7)

* Cited by examiner, † Cited by third party
Publication number Priority date Publication date Assignee Title
CN102207720B (zh) * 2010-03-29 2014-07-02 株式会社东芝 图像消除装置以及图像消除装置中的金属异物判断方法
CN102205731B (zh) * 2010-03-29 2013-10-30 株式会社东芝 图像消除装置及图像消除装置的控制方法
JP6855761B2 (ja) * 2016-11-21 2021-04-07 コニカミノルタ株式会社 定着装置、画像形成装置および圧力切替方法
JP6852475B2 (ja) * 2017-03-13 2021-03-31 コニカミノルタ株式会社 画像形成システム、画像形成方法および装置、ジョブ管理方法およびジョブ管理プログラム
JP6814677B2 (ja) * 2017-03-28 2021-01-20 株式会社沖データ 画像形成装置
JP2021026606A (ja) * 2019-08-07 2021-02-22 グローリー株式会社 紙葉類処理装置および異物検出方法
JP2024087411A (ja) * 2022-12-19 2024-07-01 東芝テック株式会社 画像形成装置、及びプログラム

Family Cites Families (5)

* Cited by examiner, † Cited by third party
Publication number Priority date Publication date Assignee Title
JPH0776993B2 (ja) * 1987-11-02 1995-08-16 ローレルバンクマシン株式会社 紙葉類処理機
JP3407863B2 (ja) * 1998-12-09 2003-05-19 株式会社日立製作所 紙葉類搬送装置
JP2001002272A (ja) * 1999-06-28 2001-01-09 Sharp Corp 用紙搬送装置
JP3946179B2 (ja) * 2003-09-05 2007-07-18 京セラミタ株式会社 画像形成装置
JP4750462B2 (ja) * 2005-04-28 2011-08-17 キヤノン株式会社 画像形成装置

Cited By (1)

* Cited by examiner, † Cited by third party
Publication number Priority date Publication date Assignee Title
US12138941B2 (en) 2020-07-23 2024-11-12 Hewlett-Packard Development Company, L.P. Determining particle concentration

Also Published As

Publication number Publication date
JP2008120514A (ja) 2008-05-29

Similar Documents

Publication Publication Date Title
US8200101B2 (en) Condition determining system, method of detecting abnormality of condition determining system, and image forming apparatus
US5676363A (en) Image forming apparatus with recording medium conveyance control
US20170277098A1 (en) Image forming apparatus
JP4871706B2 (ja) 画像形成装置
US20200002115A1 (en) Image forming apparatus that controls feeding operation
US7449708B2 (en) Paper detection apparatus and printing method
US7817930B2 (en) Image forming apparatus, control method therefor, and program
JP5268302B2 (ja) 画像形成装置
JP2005208105A (ja) 画像形成装置、およびその画像形成方法
US20070196115A1 (en) Image forming device
US11467519B2 (en) Error detection in temperature sensors of fuser
JP2006133310A (ja) 画像形成装置及び画像形成方法
JPH05178469A (ja) 画像形成装置
JP4627191B2 (ja) 画像形成装置
US20020030845A1 (en) Image forming apparatus and control method therefor
KR100856402B1 (ko) 화상형성시스템에 있어서 전사롤러 오염방지방법 및 장치
JP5167978B2 (ja) 定着装置および画像形成装置
JP4255497B2 (ja) 画像形成装置
JP4497868B2 (ja) 画像形成装置
JP2001235991A (ja) 記録媒体搬送方法及び装置並びに記憶媒体
US11947291B2 (en) Image forming apparatus, image forming method, and program
KR0185063B1 (ko) 이면지 감식 인쇄장치 및 그 방법
JP4239455B2 (ja) 除電装置
KR100854088B1 (ko) 화상형성장치의 정착시스템 및 그 정착제어방법
US11880154B2 (en) Image forming system and sheet conveyance method

Legal Events

Date Code Title Description
A621 Written request for application examination

Free format text: JAPANESE INTERMEDIATE CODE: A621

Effective date: 20091109

A977 Report on retrieval

Free format text: JAPANESE INTERMEDIATE CODE: A971007

Effective date: 20110722

A131 Notification of reasons for refusal

Free format text: JAPANESE INTERMEDIATE CODE: A131

Effective date: 20110726

A521 Request for written amendment filed

Free format text: JAPANESE INTERMEDIATE CODE: A523

Effective date: 20110926

TRDD Decision of grant or rejection written
A01 Written decision to grant a patent or to grant a registration (utility model)

Free format text: JAPANESE INTERMEDIATE CODE: A01

Effective date: 20111115

A01 Written decision to grant a patent or to grant a registration (utility model)

Free format text: JAPANESE INTERMEDIATE CODE: A01

A61 First payment of annual fees (during grant procedure)

Free format text: JAPANESE INTERMEDIATE CODE: A61

Effective date: 20111121

R151 Written notification of patent or utility model registration

Ref document number: 4871706

Country of ref document: JP

Free format text: JAPANESE INTERMEDIATE CODE: R151

FPAY Renewal fee payment (event date is renewal date of database)

Free format text: PAYMENT UNTIL: 20141125

Year of fee payment: 3

LAPS Cancellation because of no payment of annual fees