JP4852277B2 - 休息用家具 - Google Patents

休息用家具 Download PDF

Info

Publication number
JP4852277B2
JP4852277B2 JP2005232229A JP2005232229A JP4852277B2 JP 4852277 B2 JP4852277 B2 JP 4852277B2 JP 2005232229 A JP2005232229 A JP 2005232229A JP 2005232229 A JP2005232229 A JP 2005232229A JP 4852277 B2 JP4852277 B2 JP 4852277B2
Authority
JP
Japan
Prior art keywords
movable body
base
shaft
stopper shaft
handle
Prior art date
Legal status (The legal status is an assumption and is not a legal conclusion. Google has not performed a legal analysis and makes no representation as to the accuracy of the status listed.)
Expired - Fee Related
Application number
JP2005232229A
Other languages
English (en)
Other versions
JP2007044287A (ja
Inventor
長谷川  隆
Current Assignee (The listed assignees may be inaccurate. Google has not performed a legal analysis and makes no representation or warranty as to the accuracy of the list.)
France Bed Co Ltd
Original Assignee
France Bed Co Ltd
Priority date (The priority date is an assumption and is not a legal conclusion. Google has not performed a legal analysis and makes no representation as to the accuracy of the date listed.)
Filing date
Publication date
Application filed by France Bed Co Ltd filed Critical France Bed Co Ltd
Priority to JP2005232229A priority Critical patent/JP4852277B2/ja
Publication of JP2007044287A publication Critical patent/JP2007044287A/ja
Application granted granted Critical
Publication of JP4852277B2 publication Critical patent/JP4852277B2/ja
Anticipated expiration legal-status Critical
Expired - Fee Related legal-status Critical Current

Links

Images

Landscapes

  • Invalid Beds And Related Equipment (AREA)

Description

この発明は必要に応じてマットレスを水平方向に揺動させることができる休息用家具に関する。
たとえば、ベッドやソファーなどの休息用家具は基体を有し、この基体にはクッション体が設けられる。上記基体は固定的に設けられているため、揺動するロッキングチェアーやゆりかごなどのようにして利用することができないということがある。
そこで、特許文献1に示すように、利用者が横たわるマットレスを必要に応じて揺動させることができるようにすることで、そのベッド装置をロッキングチェアーやゆりかごのように使用できるようにしている。
特許文献1に示された休息用家具は、基体と可動体を有し、この可動体の四隅部を上記基体に連結部材によって揺動可能に連結している。上記連結部材としてはワイヤが用いられている。
実公平4−38766号公報
ところで、基体に対する可動体の揺動の振幅は利用者によって好みが異なる。上記可動体の揺動の振幅は、可動体を基体に連結したワイヤの長さによって決定される。しかしながら、可動体を基体にワイヤによって連結した従来の構成によると、可動体の揺動の振幅を変えたいときに、上記ワイヤを異なる長さのものに長さを変えることは作業性などの点で難しいから、可動体の揺動の振幅を利用者の好みに応じて簡単に調整するということができなかった。
この発明は可動体の揺動の振幅を容易に調整することができるようにした休息用家具を提供することにある。
この発明は、基体と、
この基体に一端が連結された揺動連結手段と、
この揺動連結手段の他端に連結されることで上記基体に対して揺動可能に取付けられた可動体と、
この可動体の上面に設けられるクッション体と、
上記可動体に設けられたストッパ軸と、
上記基体に設けられ上記ストッパ軸が係合して上記可動体の揺動を阻止する係合部材と、
上記ストッパ軸を上記係合部材に係脱させる操作手段を具備し、
上記揺動連結手段は、一端部と他端部とにそれぞれ逆向きのおねじが形成された連結軸と、めねじが形成されそのめねじを上記連結軸の一端部と他端部とのおねじにそれぞれ螺合させて設けられる一対の自在継ぎ手を有し、
上記連結軸の一端部に設けられた自在継ぎ手は上記基体に取付けられ、他端部に設けられた自在継ぎ手は上記可動体に取付けられ、
上記操作手段は、
ハンドルと、
このハンドルに一端が連結され他端が上記ストッパ軸に連結されていて、このハンドルの操作によって押し引きされる操作ワイヤと、
上記ハンドルを操作し上記操作ワイヤを押して上記ストッパ軸を上記係合部材に係合させた位置と、上記操作ワイヤを引いて上記ストッパ軸を上記係合部材から外した位置とで上記ハンドルを弾性的に保持するトグルばねを有することを特徴とする休息用家具にある。
上記ストッパ軸は上記係合部材に係合する方向に付勢ばねによって付勢されていることが好ましい。
この発明によれば、揺動連結手段の連結軸を回転させれば、この一端部と他端部に設けられた自在継ぎ手の距離を変えることができるから、その距離に応じて可動体の揺動の振幅を変えることができる。
以下、この発明の一実施の形態を図面を参照しながら説明する。
図1乃至図3は休息用家具としてのベッド装置を示し、このベッド装置は基体1を備えている。この基体1は図2に示すように下部フレーム2の四隅部に支柱3が立設され、この支柱3の上端に上部フレーム4が設けられている。
上記基体1には可動体6が後述する揺動連結手段7によって揺動可能に連結されている。上記可動体6は上記基体1の上部フレーム4よりも大きな矩形状の可動フレーム8を有する。この可動フレーム8の長手方向の一端にはヘッドボード9が設けられ、残りの三辺にはそれぞれ外装部材11が設けられている。
上記可動フレーム8の上面には、この可動フレーム8とほぼ同じ大きさの床板12が設けられ、この床板12上にはクッション体であるマットレス13が載置される。
上記基体1の上部フレーム4の四隅部に、上記可動体6の可動フレーム8の四隅部がそれぞれ上記揺動連結手段7によって連結され、それによって上記可動体6が上記基体1に対して揺動可能となっている。
上記揺動連結手段7は連結軸15を有する。この連結軸15は図6に示すように中途部が角柱部16に形成され、一端部が第1のおねじ部17、他端部が第2のおねじ部18に形成されている。第1のおねじ部17と第2のおねじ部18は逆向き、つまり右ねじと左ねじに形成されている。
第1のおねじ部17には第1の自在継ぎ手21が連結され、第2のおねじ部18には第2の自在継ぎ手22が連結される。各自在継ぎ手21,22は基部21a,22a及び継ぎ手部21b,22bを有する。基部21a,22aにはそれぞれめねじ部21c、22cが形成されていて、これらめねじ部21c、22cを上記第1、第2のおねじ部17,18にそれぞれ螺合させることで、上記連結軸15に一対の継ぎ手21,22が連結されている。
上記第1、第2のおねじ部17,18にはロックナット24が螺合されている。それによって、ロックナット24を締め込んで基部21a,22aの端面に圧接させることで、上記第1、第2のおねじ部17,18が上記連結軸15に対して回転するのを阻止できるようになっている。
上記継ぎ手部21b,22bは、内周面が球形面に形成された軸受け孔21d,22dを有し、各軸受け孔21d,22dには外周面が各取付け孔21d,22dの内周面と対応する曲率の球形面に形成された軸受け体21e,22eが保持されている。各軸受け体21e,22eには取付け孔21f,22fが形成されている。
図4と図5に示すように、第1の自在継ぎ手21は、継ぎ手部21bに設けられた軸受体21eの取付け孔21fに上部取付けねじ25が挿通されている。この上部取付けねじ25は上記基体1の上部フレーム4の隅部に取付けられている。
上部取付けねじ25には、上記継ぎ手部21bの両側面に位置する弾性材26が設けられている。それによって、上記継ぎ手部21bが上記上部取付けねじ25に対し所定以上の振幅で揺動しても、上記継ぎ手部21bが上記上部取付けねじ25の頭部や上部フレーム4に直接当たるのを阻止している。
上記可動体6の可動フレーム8の四隅部にはブラケット27が垂設されている。このブラケット27の下端部にはアーム28が水平に連結されている。このアーム28の先端部には図4と図5に断面して示す下部取付けねじ29が設けられている。この下部取付けねじ29には上記第2の自在継ぎ手22の軸受体22eがその取付け孔21fを介して連結されている。
第1、第2の自在継ぎ手21,22の各軸受体21e,22eは、各継ぎ手部21b,22bに球面支持されているから、各取付けねじ25,29を支点として360度方向に揺動可能である。それによって、上記可動体6は上記基体1の上部フレーム4に対して揺動可能となっている。
なお、第1の自在継ぎ手21と第2の自在継ぎ手22はそれぞれの軸受体21e,22eの取付け孔21f、22fの軸線が直交するよう、角度を90度ずらして連結軸15に設けられている。
上記可動体6に設けられた4つのアーム28のうちの、可動フレーム8の対角線方向に位置する2つのアーム28には、図4に示すように上記可動体6を揺動不能に保持するストッパ機構31が設けられている。このストッパ機構31は上記アーム28に軸線を垂直にして設けられたスリーブ32を有する。このスリーブ32にはストッパ軸33が上下動可能に挿通されている。このストッパ軸33の下端部は逆円錐台状の係合部34が形成されている。この係合部34と上記スリーブ32の下端面との間には、上記ストッパ軸33を下方向に付勢する付勢ばね35が設けられている。
上記付勢ばね35によって下方向に付勢されたストッパ軸33は、その係合部34がプレート状の係合部材36に形成された係合孔37に係合可能となっている。この係合部材36は連結プレート38にねじ39によって固定されている。この連結プレート38は、上記基体1の下部フレーム2に連結固定されている。
上記ストッパ軸33は操作手段41によって軸方向にスライドさせることができるようになっている。上記操作手段41は外装チューブ42に挿通された操作ワイヤ43を有する。この操作ワイヤ43の一端は上記ストッパ軸33に連結固定されている。
図3に示すように、一対のストッパ機構31の操作ワイヤ43が挿通された外装チューブ42は、可動体6のヘッドボード9が設けられた端部の幅方向一端部に導かれ、上記操作手段を構成する操作ハンドル45によって押し引き操作されるようになっている。
つまり、上記操作ハンドル45は図7に示すようにL字状に形成されていて、上記可動体6の一側の外装部材11に形成された凹部44内に位置している。操作ハンドル45の一端部は上記凹部44内に設けられた受け部材47に回転可能に支持されている。この操作ハンドル45の一端には伝達軸46の一端が一体的に回転するよう連結されている。この伝達軸46の他端は外装部材11を厚さ方向に貫通している。
なお、可動体5の幅方向両側に設けられた外装部材11は、図7に示すように木枠11aの外面にクッション部11bが設けられていて、上記木枠11aが可動フレーム8に連結部材11cを介して取り付けられる。
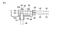
上記可動体6の可動フレーム8の上記伝達軸46が貫通した部分には、幅方向両端部が折り曲げられて平面形状がコ字状をなしたベース板48が取り付けられている。このベース板48には、図9に示すように固定ブッシュ49が貫通して設けられている。この固定ブッシュ49には回転ブッシュ51が回転可能に挿通されていて、この回転ブッシュ51に上記伝達軸46の他端部が挿入されている。この伝達軸46と上記回転ブッシュ51はピン52によって一体に連結されている。
上記回転ブッシュ51の上記ベース48を貫通した端部にはレバー53の一端が固着されている。このレバー53の他端と上記ベース板48の上部とにはそれぞれピン54が設けられ、これらのピン54にはトグルばね55が張設されている。
図8に示すように、上記レバー53が実線で示す位置にあるとき、このトグルばね55はレバー53を矢印方向Xに付勢している。それによって、上記レバー53の他端は上記ベース板48の幅方向一端に設けられた第1の弾性ストッパ56に当接し、その位置で保持される。
上記レバー53をハンドル45によって矢印Xと逆方向に回転させ、その回転によってトグルばね55の一端と他端を結ぶ直線がハンドル45の回転中心である、伝達軸46の軸芯を通過すると、上記トグルばね55の復元力が上記レバー53を矢印と逆方向に回転させる力として作用する。それによって、レバー53の他端は、上記ベース板48の幅方向他端に設けられた第2の弾性ストッパ57に当接するまで回転し、その位置で上記トグルばね55の復元力によって弾性的に保持される。
上記一対のストッパ機構31から導かれたそれぞれ操作ワイヤ43の他端は上記レバー53にストッパ53aによって連結されている。それによって、上記レバー53を上記操作ハンドル45によって図8に実線で示す位置から鎖線で示す位置へ回動させれば、上記操作ワイヤ43を引くことができ、鎖線で示す位置から実線で示す位置へ回動させれば、上記操作ワイヤ43を押すことができる。
上記操作ワイヤ43が挿通された上記外装チューブ42の一端は、図4に示すように上記ブラケット27の下端部に設けられたL字状の弛み調整部材61の一辺に設けられた第1のホルダ62に保持固定されている。
上記弛み調整部材61は、その他辺に形成された長孔63を介してねじ64によって上記ブラケット27に上下方向の取り付け位置の調整可能に設けられている。上記外装チューブ42の他端は、図9に示すように上記ベース板48の一辺に設けられた第2のホルダ65に保持固定されている。
長期の使用に伴って上記操作ワイヤ43に伸びが生じたならば、上記弛み調整部材61を上昇方向にずらして外装チューブ42の屈曲度合を調整する。それによって、上記操作ワイヤ43の伸びを吸収することができる。
このように構成されたベッド装置によれば、可動体6を揺動可能な状態にしたいときには、操作ワイヤ43を引く方向、つまり操作ハンドル45を回転させ、レバー53を図8に鎖線で示す位置に回動させて保持する。レバー53を鎖線で示す位置に回動させれば、操作ワイヤ43が引かれてストッパ軸33が図4に鎖線で示すように上昇し、その下端の係合部34が係合部材36の係合孔37から外れる。
それによって、可動体5の基体1に対する固定状態が解除されるから、可動体5は揺動連結手段7の第1、第2の自在継ぎ手21,22によって360度方向に揺動可能となるから、マットレス13上に仰臥した利用者はベッド装置をロッキングチェアーやゆりかごのように使用できる。
上記可動体5の揺動を停止させたい場合には、上記操作ハンドル45を先程と逆方向に回転させ、レバー53を図8に実線で示す位置に回動させる。それによって、操作ワイヤ43が押されるから、ストッパ軸33が下降方向に付勢される。
可動体5が揺動している状態で、ストッパ軸33が下降すれば、その下端の係合部34が係合部材36の上面を摺動する。そして、係合部34が係合孔37に対応したときに、その係合孔37に係合する。それによって、第1、第2の自在継ぎ手21,22による揺動が阻止されるから、上記可動体5の揺動が停止することになる。
上記可動体5の揺動の振幅は、第1、第2の自在継ぎ手21,22の取付け孔21f,22fの距離によって決定される。第1、第2の自在継ぎ手21,22は連結軸15の一端部と他端部に形成された第1、第2のおねじ部17,18に螺合されている。第1のおねじ部17と第2のおねじ部18は逆向きのねじに形成されている。
そのため、一対のロックナット24を緩めてから、連結軸15の角柱部16に図示しないスパナを係合させてこの連結軸15を回転させれば、第1、第2の自在継ぎ手21,22の距離を変えることができる。つまり、連結軸15の回転方向によって第1、第2の自在継ぎ手21,22の距離を大きくしたり、小さくすることができる。
第1、第2の自在継ぎ手21,22の距離を大きくすれば、可動体5の揺動の振幅を大きくすることができ、距離を小さくすれば、振幅を小さくすることができる。したがって、利用者の好みに応じて可動体5の振幅を調整することができる。しかも、その調整は連結軸15を回転させるだけであるから、簡単に行うことができる。
揺動連結手段7は連結軸15の両端部に第1、第2の自在継ぎ手21,22を連結して構成されている。そのため、揺動連結手段としてワイヤを用いた場合のように、長期間使用することで損傷し易いということがない。
操作ワイヤ43を押し引き操作する操作手段41として、操作ハンドル45の回転に連動するレバー53を、所定の回転位置でトグルばね55の復元力によって弾性的に保持するようにした。そのため、操作ハンドル45を所定の位置まで回転させれば、その位置で回動不能に保持されるから、操作ワイヤ43が押された状態或いは引かれた状態を維持することができる。つまり、操作ハンドル45を所定の位置に回転させたならば、操作ハンドル45から直ちに手を放すことができるから、操作性が向上する。
しかも、ストッパ軸33は付勢ばね33によって下方向に付勢されている。そのため、可動体6の揺動を停止するために操作ワイヤ43を押す方向に操作ハンドル45を回転させれば、ストッパ軸33には操作ワイヤ43による力と相俟って付勢ばね33の復元力が作用するから、上記ストッパ軸33を係合部材36の係合孔37に確実に係合させることができる。
上記一実施の形態では休息用家具としてベッド装置を挙げたが、ソファーなどの他の家具であってもこの発明を適用することができる。
この発明の一実施の形態を示すベッド装置の側面図。 同じくベッド装置の正面図。 マットレス及び床板を除去したベッド装置の平面図。 基体に可動体を揺動可能に連結する部分と揺動不能に保持する部分の両方が設けられた箇所の側面図。 基体に可動体を揺動可能に連結する部分だけが設けられた箇所の側面図。 連結軸の一端部と他端部とにそれぞれ自在継ぎ手が設けられた揺動連結手段の平面図。 外装体の操作ハンドルが設けられた部分の断面図。 操作ハンドルに連動するレバーが設けられたベース板の正面図。 図8に示すベース板を幅方向に断面した図。
符号の説明
1…基体、6…可動体、13…マットレス(クッション体)、15…連結軸、17…第1のおねじ部、18…第2のおねじ部、21…第1の自在継ぎ手、22…第2の自在継ぎ手、31…ストッパ機構、33…ストッパ軸、41…操作手段、42…外装チューブ、43…操作ワイヤ、45…操作ハンドル、55…トグルばね。

Claims (2)

  1. 基体と、
    この基体に一端が連結された揺動連結手段と、
    この揺動連結手段の他端に連結されることで上記基体に対して揺動可能に取付けられた可動体と、
    この可動体の上面に設けられるクッション体と、
    上記可動体に設けられたストッパ軸と、
    上記基体に設けられ上記ストッパ軸が係合して上記可動体の揺動を阻止する係合部材と、
    上記ストッパ軸を上記係合部材に係脱させる操作手段を具備し、
    上記揺動連結手段は、一端部と他端部とにそれぞれ逆向きのおねじが形成された連結軸と、めねじが形成されそのめねじを上記連結軸の一端部と他端部とのおねじにそれぞれ螺合させて設けられる一対の自在継ぎ手を有し、
    上記連結軸の一端部に設けられた自在継ぎ手は上記基体に取付けられ、他端部に設けられた自在継ぎ手は上記可動体に取付けられ、
    上記操作手段は、
    ハンドルと、
    このハンドルに一端が連結され他端が上記ストッパ軸に連結されていて、このハンドルの操作によって押し引きされる操作ワイヤと、
    上記ハンドルを操作し上記操作ワイヤを押して上記ストッパ軸を上記係合部材に係合させた位置と、上記操作ワイヤを引いて上記ストッパ軸を上記係合部材から外した位置とで上記ハンドルを弾性的に保持するトグルばねを有することを特徴とする休息用家具。
  2. 上記ストッパ軸は上記係合部材に係合する方向に付勢ばねによって付勢されていることを特徴とする請求項1記載の休息用家具。
JP2005232229A 2005-08-10 2005-08-10 休息用家具 Expired - Fee Related JP4852277B2 (ja)

Priority Applications (1)

Application Number Priority Date Filing Date Title
JP2005232229A JP4852277B2 (ja) 2005-08-10 2005-08-10 休息用家具

Applications Claiming Priority (1)

Application Number Priority Date Filing Date Title
JP2005232229A JP4852277B2 (ja) 2005-08-10 2005-08-10 休息用家具

Publications (2)

Publication Number Publication Date
JP2007044287A JP2007044287A (ja) 2007-02-22
JP4852277B2 true JP4852277B2 (ja) 2012-01-11

Family

ID=37847661

Family Applications (1)

Application Number Title Priority Date Filing Date
JP2005232229A Expired - Fee Related JP4852277B2 (ja) 2005-08-10 2005-08-10 休息用家具

Country Status (1)

Country Link
JP (1) JP4852277B2 (ja)

Family Cites Families (5)

* Cited by examiner, † Cited by third party
Publication number Priority date Publication date Assignee Title
JPS55143048A (en) * 1979-04-25 1980-11-08 Fujitsu Ltd Manufacture of semiconductor device
JPS62174454A (ja) * 1986-01-24 1987-07-31 大日本インキ化学工業株式会社 コンクリ−ト打設用型枠
JP2000107236A (ja) * 1998-10-06 2000-04-18 Okidate Tekko Kk 安楽ベット
JP2001070075A (ja) * 1999-09-06 2001-03-21 Matsudaira Seisakusho:Kk ロッキングチェア
JP2005204795A (ja) * 2004-01-21 2005-08-04 Okamura Corp ソファー兼用ベッド

Also Published As

Publication number Publication date
JP2007044287A (ja) 2007-02-22

Similar Documents

Publication Publication Date Title
CN102176847B (zh) 椅子
US20040021051A1 (en) Mounting device for a display
JP2003348495A (ja) モニタ
JPWO2011128944A1 (ja) スケートボードのトラック構造
JP2006321482A (ja) 車両ミラー用円錐支持アームジョイント
JPH11225847A (ja) 椅子の肘掛け装置
JP4852277B2 (ja) 休息用家具
CN201622858U (zh) 一种高度调节定位机构
JP2010226268A (ja) 表示部手動回動装置
CN115023272B (zh) 滑板的轨道结构
JP5419796B2 (ja) 馳締機
JP2003245155A (ja) リクライニング椅子
JPH10211794A (ja) アーム支持具
JP3138590B2 (ja) 回転収納式ベッド
JP3106739U (ja) 仰角載置部を具えた枢軸装置
JP5068470B2 (ja) 家具の高さ調整装置
JP2008009144A (ja) ディスプレイ支持機構
JP2002345598A (ja) 肘掛け装置
JP2006238982A (ja) モップヘッドの継手構造
JP2007108528A (ja) 電気機器取付具
JP5636230B2 (ja) 背凭れ撓み量調整機構
CN214837778U (zh) 枢转装置
JP5000943B2 (ja) ワイパーアーム
JP3099517U (ja) テレビ台
JP2003245154A (ja) リクライニング椅子

Legal Events

Date Code Title Description
A621 Written request for application examination

Free format text: JAPANESE INTERMEDIATE CODE: A621

Effective date: 20080714

A977 Report on retrieval

Free format text: JAPANESE INTERMEDIATE CODE: A971007

Effective date: 20110314

A131 Notification of reasons for refusal

Free format text: JAPANESE INTERMEDIATE CODE: A131

Effective date: 20110322

A521 Written amendment

Free format text: JAPANESE INTERMEDIATE CODE: A523

Effective date: 20110406

TRDD Decision of grant or rejection written
A01 Written decision to grant a patent or to grant a registration (utility model)

Free format text: JAPANESE INTERMEDIATE CODE: A01

Effective date: 20111018

A01 Written decision to grant a patent or to grant a registration (utility model)

Free format text: JAPANESE INTERMEDIATE CODE: A01

A61 First payment of annual fees (during grant procedure)

Free format text: JAPANESE INTERMEDIATE CODE: A61

Effective date: 20111024

R150 Certificate of patent or registration of utility model

Free format text: JAPANESE INTERMEDIATE CODE: R150

FPAY Renewal fee payment (event date is renewal date of database)

Free format text: PAYMENT UNTIL: 20141028

Year of fee payment: 3

LAPS Cancellation because of no payment of annual fees