JP4851908B2 - 液晶表示装置 - Google Patents

液晶表示装置 Download PDF

Info

Publication number
JP4851908B2
JP4851908B2 JP2006275964A JP2006275964A JP4851908B2 JP 4851908 B2 JP4851908 B2 JP 4851908B2 JP 2006275964 A JP2006275964 A JP 2006275964A JP 2006275964 A JP2006275964 A JP 2006275964A JP 4851908 B2 JP4851908 B2 JP 4851908B2
Authority
JP
Japan
Prior art keywords
liquid crystal
light
microlens array
crystal display
display device
Prior art date
Legal status (The legal status is an assumption and is not a legal conclusion. Google has not performed a legal analysis and makes no representation as to the accuracy of the status listed.)
Expired - Fee Related
Application number
JP2006275964A
Other languages
English (en)
Other versions
JP2008096547A (ja
Inventor
理 伊東
辰哉 杉田
昌哉 足立
真一 小村
昇一 廣田
Current Assignee (The listed assignees may be inaccurate. Google has not performed a legal analysis and makes no representation or warranty as to the accuracy of the list.)
Panasonic Liquid Crystal Display Co Ltd
Original Assignee
Panasonic Liquid Crystal Display Co Ltd
Priority date (The priority date is an assumption and is not a legal conclusion. Google has not performed a legal analysis and makes no representation as to the accuracy of the date listed.)
Filing date
Publication date
Application filed by Panasonic Liquid Crystal Display Co Ltd filed Critical Panasonic Liquid Crystal Display Co Ltd
Priority to JP2006275964A priority Critical patent/JP4851908B2/ja
Priority to US11/869,900 priority patent/US7639320B2/en
Publication of JP2008096547A publication Critical patent/JP2008096547A/ja
Application granted granted Critical
Publication of JP4851908B2 publication Critical patent/JP4851908B2/ja
Expired - Fee Related legal-status Critical Current
Anticipated expiration legal-status Critical

Links

Images

Classifications

    • GPHYSICS
    • G02OPTICS
    • G02FOPTICAL DEVICES OR ARRANGEMENTS FOR THE CONTROL OF LIGHT BY MODIFICATION OF THE OPTICAL PROPERTIES OF THE MEDIA OF THE ELEMENTS INVOLVED THEREIN; NON-LINEAR OPTICS; FREQUENCY-CHANGING OF LIGHT; OPTICAL LOGIC ELEMENTS; OPTICAL ANALOGUE/DIGITAL CONVERTERS
    • G02F1/00Devices or arrangements for the control of the intensity, colour, phase, polarisation or direction of light arriving from an independent light source, e.g. switching, gating or modulating; Non-linear optics
    • G02F1/01Devices or arrangements for the control of the intensity, colour, phase, polarisation or direction of light arriving from an independent light source, e.g. switching, gating or modulating; Non-linear optics for the control of the intensity, phase, polarisation or colour 
    • G02F1/13Devices or arrangements for the control of the intensity, colour, phase, polarisation or direction of light arriving from an independent light source, e.g. switching, gating or modulating; Non-linear optics for the control of the intensity, phase, polarisation or colour  based on liquid crystals, e.g. single liquid crystal display cells
    • G02F1/133Constructional arrangements; Operation of liquid crystal cells; Circuit arrangements
    • G02F1/1333Constructional arrangements; Manufacturing methods
    • G02F1/1335Structural association of cells with optical devices, e.g. polarisers or reflectors
    • G02F1/133553Reflecting elements
    • G02F1/133555Transflectors
    • GPHYSICS
    • G02OPTICS
    • G02FOPTICAL DEVICES OR ARRANGEMENTS FOR THE CONTROL OF LIGHT BY MODIFICATION OF THE OPTICAL PROPERTIES OF THE MEDIA OF THE ELEMENTS INVOLVED THEREIN; NON-LINEAR OPTICS; FREQUENCY-CHANGING OF LIGHT; OPTICAL LOGIC ELEMENTS; OPTICAL ANALOGUE/DIGITAL CONVERTERS
    • G02F1/00Devices or arrangements for the control of the intensity, colour, phase, polarisation or direction of light arriving from an independent light source, e.g. switching, gating or modulating; Non-linear optics
    • G02F1/01Devices or arrangements for the control of the intensity, colour, phase, polarisation or direction of light arriving from an independent light source, e.g. switching, gating or modulating; Non-linear optics for the control of the intensity, phase, polarisation or colour 
    • G02F1/13Devices or arrangements for the control of the intensity, colour, phase, polarisation or direction of light arriving from an independent light source, e.g. switching, gating or modulating; Non-linear optics for the control of the intensity, phase, polarisation or colour  based on liquid crystals, e.g. single liquid crystal display cells
    • G02F1/133Constructional arrangements; Operation of liquid crystal cells; Circuit arrangements
    • G02F1/1333Constructional arrangements; Manufacturing methods
    • G02F1/1335Structural association of cells with optical devices, e.g. polarisers or reflectors
    • G02F1/133509Filters, e.g. light shielding masks
    • G02F1/133514Colour filters
    • GPHYSICS
    • G02OPTICS
    • G02FOPTICAL DEVICES OR ARRANGEMENTS FOR THE CONTROL OF LIGHT BY MODIFICATION OF THE OPTICAL PROPERTIES OF THE MEDIA OF THE ELEMENTS INVOLVED THEREIN; NON-LINEAR OPTICS; FREQUENCY-CHANGING OF LIGHT; OPTICAL LOGIC ELEMENTS; OPTICAL ANALOGUE/DIGITAL CONVERTERS
    • G02F1/00Devices or arrangements for the control of the intensity, colour, phase, polarisation or direction of light arriving from an independent light source, e.g. switching, gating or modulating; Non-linear optics
    • G02F1/01Devices or arrangements for the control of the intensity, colour, phase, polarisation or direction of light arriving from an independent light source, e.g. switching, gating or modulating; Non-linear optics for the control of the intensity, phase, polarisation or colour 
    • G02F1/13Devices or arrangements for the control of the intensity, colour, phase, polarisation or direction of light arriving from an independent light source, e.g. switching, gating or modulating; Non-linear optics for the control of the intensity, phase, polarisation or colour  based on liquid crystals, e.g. single liquid crystal display cells
    • G02F1/133Constructional arrangements; Operation of liquid crystal cells; Circuit arrangements
    • G02F1/1333Constructional arrangements; Manufacturing methods
    • G02F1/1335Structural association of cells with optical devices, e.g. polarisers or reflectors
    • G02F1/1336Illuminating devices
    • G02F1/133621Illuminating devices providing coloured light
    • GPHYSICS
    • G02OPTICS
    • G02BOPTICAL ELEMENTS, SYSTEMS OR APPARATUS
    • G02B6/00Light guides; Structural details of arrangements comprising light guides and other optical elements, e.g. couplings
    • G02B6/0001Light guides; Structural details of arrangements comprising light guides and other optical elements, e.g. couplings specially adapted for lighting devices or systems
    • G02B6/0011Light guides; Structural details of arrangements comprising light guides and other optical elements, e.g. couplings specially adapted for lighting devices or systems the light guides being planar or of plate-like form
    • G02B6/0033Means for improving the coupling-out of light from the light guide
    • G02B6/0035Means for improving the coupling-out of light from the light guide provided on the surface of the light guide or in the bulk of it
    • GPHYSICS
    • G02OPTICS
    • G02BOPTICAL ELEMENTS, SYSTEMS OR APPARATUS
    • G02B6/00Light guides; Structural details of arrangements comprising light guides and other optical elements, e.g. couplings
    • G02B6/0001Light guides; Structural details of arrangements comprising light guides and other optical elements, e.g. couplings specially adapted for lighting devices or systems
    • G02B6/0011Light guides; Structural details of arrangements comprising light guides and other optical elements, e.g. couplings specially adapted for lighting devices or systems the light guides being planar or of plate-like form
    • G02B6/0033Means for improving the coupling-out of light from the light guide
    • G02B6/0035Means for improving the coupling-out of light from the light guide provided on the surface of the light guide or in the bulk of it
    • G02B6/0038Linear indentations or grooves, e.g. arc-shaped grooves or meandering grooves, extending over the full length or width of the light guide
    • GPHYSICS
    • G02OPTICS
    • G02FOPTICAL DEVICES OR ARRANGEMENTS FOR THE CONTROL OF LIGHT BY MODIFICATION OF THE OPTICAL PROPERTIES OF THE MEDIA OF THE ELEMENTS INVOLVED THEREIN; NON-LINEAR OPTICS; FREQUENCY-CHANGING OF LIGHT; OPTICAL LOGIC ELEMENTS; OPTICAL ANALOGUE/DIGITAL CONVERTERS
    • G02F1/00Devices or arrangements for the control of the intensity, colour, phase, polarisation or direction of light arriving from an independent light source, e.g. switching, gating or modulating; Non-linear optics
    • G02F1/01Devices or arrangements for the control of the intensity, colour, phase, polarisation or direction of light arriving from an independent light source, e.g. switching, gating or modulating; Non-linear optics for the control of the intensity, phase, polarisation or colour 
    • G02F1/13Devices or arrangements for the control of the intensity, colour, phase, polarisation or direction of light arriving from an independent light source, e.g. switching, gating or modulating; Non-linear optics for the control of the intensity, phase, polarisation or colour  based on liquid crystals, e.g. single liquid crystal display cells
    • G02F1/133Constructional arrangements; Operation of liquid crystal cells; Circuit arrangements
    • G02F1/1333Constructional arrangements; Manufacturing methods
    • G02F1/1335Structural association of cells with optical devices, e.g. polarisers or reflectors
    • G02F1/1336Illuminating devices
    • G02F1/133614Illuminating devices using photoluminescence, e.g. phosphors illuminated by UV or blue light

Landscapes

  • Physics & Mathematics (AREA)
  • Nonlinear Science (AREA)
  • Mathematical Physics (AREA)
  • Chemical & Material Sciences (AREA)
  • Crystallography & Structural Chemistry (AREA)
  • General Physics & Mathematics (AREA)
  • Optics & Photonics (AREA)
  • Liquid Crystal (AREA)

Description

本発明は表示効率の良い液晶表示装置に関する。
携帯電話に代表される携帯型情報機器は通信速度を高速化しながら多機能化,高機能化していくことが予想され、大容量の画像情報に対応する必要があることから、高画質であること、高精細表示が可能であることが要求される。高画質に関してより具体的には、高コントラスト,高色再現性,広視野角,屋外視認性が挙げられる。また、限られた重量と容積に多種のデバイスを組み込むことから、薄型,軽量,低消費電力も要求される。
携帯型情報機器は多様な環境下で用いられるが、明るい環境の極限として真夏の直射日光下が、暗い環境の極限として暗室が挙げられる。これら多様な環境の全般において比較的良好な表示を得るために、1画素内に透過領域と反射領域を有する半透過型液晶表示装置が用いられることが多い。
液晶表示装置の光源には白色発光ダイオードが用いられており、これは青色発光ダイオードの発光を黄色発光の蛍光体に通し、両者の発光の混色により白色としたものである。また、液晶表示装置の液晶パネル内部には光吸収性のカラーフィルタを備え、光シャッターである液晶表示装置と組み合わせてカラー表示を行う。
また液晶表示装置には光吸収性の部材が用いられており、液晶表示装置の表示効率低下の要因になっている。光吸収性の部材のなかでも偏光板とカラーフィルタの光吸収率がとりわけ高いが、いずれも液晶表示装置の表示原理の根幹を成すものである。
液晶表示装置の表示効率を向上するため、各種の光学素子が考案されている。先ほどの半透過液晶表示装置との関連では、マイクロレンズの使用が考えられている。即ち、半透過液晶では一画素中の面積分割された一部分が透過表示部であり、主に反射表示部からなる他の部分に入射した光は大部分が利用されない。マイクロレンズを用いて光源光を透過表示部に集光すれば、原理上は光源光の大部分を有効利用できるはずである。
あるいはまた、蛍光体による色変換の使用が考えられている。即ち、光源光を紫外光もしくは青色光にし、蛍光体を用いて赤色光,緑色光,青色光に変換する。その後に対応するカラーフィルタに入射すれば、原理上はカラーフィルタによる光吸収を低減できるはずである。蛍光体のほかにも、例えばホログラムを用いて白色光源を赤色光,緑色光,青色光に分光して、対応するカラーフィルタに入射しても原理上同様の効果が得られるはずである。
マイクロレンズとホログラムを用いた液晶表示装置の表示効率向上は、例えば、特許文献1,特許文献2に記載されている。また、側面に配置された発光ダイオードの青色光を、蛍光体を用いて赤色光,緑色光,青色光に変換する効率向上については、特許文献3に記載されている。
特開2003−15121号公報 特開2003−15122号公報 特開2005−353650号公報
上記従来技術のようにマイクロレンズとホログラムを用いる場合、マイクロレンズは光源光のコリメート性が高くなければ十分な集光ができなく、且つホログラム,マイクロレンズ,液晶パネルの3者の位置合わせが必要であり、製造が困難である。また蛍光体を用いる場合、蛍光体は光源光を吸収して発光する過程で偏光を解消し、かつ光を散乱する性質を有する。これらの性質を考慮した上で、光源から液晶パネルまでを含む全体設計をしなければ、所望の表示効率向上の効果が得られない。
本発明の目的は、このような課題に鑑み、分光及び集光の最適な組み合わせによる高い表示効率の液晶表示装置を提供することである。
本発明では、上記目的を解決するために、第一の基板と、第二の基板と、第一の基板と第二の基板間に挟持された液晶層と、を有する液晶パネルと、青色光を出射する光源と、液晶パネルと光源間に配置され、複数のレンズが配置された第一のマイクロレンズアレイと、複数のレンズが配置された第二のマイクロレンズアレイと、第一のマイクロレンズアレイと第二のマイクロレンズアレイ間に配置された蛍光体層と、を有する光変換層と、を有する構成とする。
また、光変換層の第一のマイクロレンズアレイは、光源からの青色光を蛍光体層に集光する機能を有し、光変換層の第二のマイクロレンズアレイは、蛍光体層から出射された蛍光光、または光源からの青色光を、液晶パネル内の対応する画素に集光する機能を有する構成とする。
また、第一のマイクロレンズアレイの複数のレンズの断面形状は、光源が配置された側に対して凸形状であり、第二のマイクロレンズアレイの複数のレンズの断面形状は、液晶パネルが配置された側に対して凸形状である構成とする。
また、光源は、青色発光素子を有し、その青色発光素子は、導光体の一方側面に配置され、導光体は、ホログラムまたはブレーズグレーティングが配置され、ホログラムまたはブレーズグレーティングは、青色発光素子の発光を面状光源に変換して液晶パネルの法線方向に向かわせる構成とする。
また、第一の基板と、第二の基板と、第一の基板と第二の基板間に挟持された液晶層と、を有する液晶パネルと、液晶パネルを挟持する一対の偏光板と、青色光を出射する光源と、液晶パネルと光源間に配置された導光体と、液晶パネルと導光体間に配置され、複数のレンズが配置された第一のマイクロレンズと、複数のレンズが配置された第二のマイクロレンズアレイと、第一のマイクロレンズアレイと導光体間に配置された蛍光体層と、を有する光変換層と、導光体と蛍光体層間に蛍光体光反射層と、を有し、一対の偏光板の一方の偏光板は、第一のマイクロレンズアレイと第二のマイクロレンズアレイ間に配置された構成とする。
また、第一のマイクロレンズアレイの複数のレンズの断面形状は、液晶パネルが配置された側に対して凸形状であり、第二のマイクロレンズアレイの複数のレンズの断面形状は、光源が配置された側に対して凸形状である構成とする。
本発明によれば、分光及び集光の最適な組み合わせによる高い表示効率の液晶表示装置が提供できる。
以下図面を用いて各実施例を説明する。
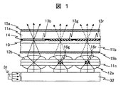
本発明の液晶表示装置の主要な構成部材とその機能を、図1に模式的に示す。
図1に記載の液晶表示装置は、導光体32,光変換層,液晶表示パネルが順次積層されており、導光体32の側面には青色光を出射する光源31が配置されている。光源31は青色発光素子(青色LED)であり、可視光域の中でも短波長域の青色光を発光する。導光体32はホログラムやブレーズグレーティング(回折格子)などの分散素子を備え、その反射作用や回折作用により一方側面に配置された光源31からの青色光を液晶表示パネルの基板法線方向に向ける作用を有する。
図1中では、青色の光の光路を実線で、緑色の光の光路を一点鎖線で、赤色の光の光路を破線で示した。光変換層は、青色の光源光の一部を緑色光,赤色光に変換する。液晶表示パネルは複数の画素を有し、それぞれ青色表示,赤色表示,緑色表示を行うが、光変換層は各表示色の画素に対応する色の光を集光する作用を有する。
なお本実施例では、光変換層は、複数のレンズが配置された第一のマイクロレンズアレイ12aと、第三の基板11cと、蛍光体層(緑色の蛍光体16g,赤色の蛍光体16r)と、複数のレンズが配置された第二のマイクロレンズアレイ12bとが順次積層されて形成された構成である。また液晶パネルは、一対の基板(第一の基板11a,第二の基板
11b)と、その一対の基板で挟持された液晶層10と、一対の基板を挟持する一対の偏光板(第一の偏光板15a,第二の偏光板15b)と、カラーフィルタ(青のカラーフィルタ13b,緑のカラーフィルタ13g,赤のカラーフィルタ13r)と、ブラックマトリクス14とを有する構成とする。
図2に液晶表示パネルの1画素の断面図の一例を示す。液晶表示パネルは第一の基板
11aと第二の基板11bと液晶層10からなり、第一の基板11aと第二の基板11bは液晶層10を挟持する。第一の基板11aと第二の基板11bは液晶層10に近接する面上に液晶層10の封入された液晶分子10′の配向状態を安定化するための一対の配向膜(第一の配向膜17a,第二の配向膜17b)を備える。また、第一の基板11aと第二の基板11bの一方もしくは両方に液晶層10に電圧を印加するための手段を備える。
第一の基板11aは透明性に優れ、かつイオン性不純物の含有が少ないホウケイサンガラス製であり、厚さは約400nmである。第一の基板11aは液晶層10に近接する側より第一の配向膜17a,平坦化膜,カラーフィルタ13,ブラックマトリクス14が積層されている。第一の配向膜17aはポリイミド系の有機高分子膜であり、ラビング方法により配向処理されており、液晶層10に約2度のプレチルト角を付与する所謂水平配向膜である。カラーフィルタ13は赤色,緑色,青色を呈するストライプ状の各部分が繰り返し配列された平面構造を有する。ブラックマトリクス14は黒色レジストからなり、画素境界部に対応するように格子状の平面分布構造を有する。
第二の基板11bは第一の基板11a同様ホウケイサンガラス製であり、厚さは約400μmである。第一の基板11aは液晶層10に近接する側より順に、主に第二の配向膜
17b,画素電極19,層間絶縁膜,共通電極18,走査配線,信号配線,アクティブ素子20、を備える。第二の配向膜17bは、第一の配向膜17aと同様にポリイミド系の有機高分子膜である。画素電極19と共通電極18はいずれも透明性と導電性を兼ね備えたインジウム錫酸化物(Indium Tin Oxide、ITO)であり、層厚は100nmである。両者は窒化珪素(SiN)製の層間絶縁膜によって隔たれており、層間絶縁膜の層厚は
500nmである。画素電極19の平面形状は櫛歯状であるのに対し、共通電極18は各画素の全面に渡って分布しており、電圧印加時に画素電極19と共通電極18の間にはアーチ状の電界が形成される。アーチ状の電界は液晶層10に平行な成分を有する所謂横電界であり、電界は近接する液晶層中にはみ出して分布することにより、液晶層10の液晶分子の配向状態を変形するIPS(In Plane Switching)方式液晶表示パネルである。
IPS方式液晶表示パネルでは電圧印加に伴う液晶層のチルト角増大が少ないため、視角方向での階調表示特性に優れた広視野角の表示が得られる。画素電極19と共通電極18が重畳する部分は液晶層10に対して並列に結合しているため、保持容量として機能する。
信号配線と走査配線は互いに交差し、信号配線と走査配線の交差部の近傍にはそれぞれアクティブ素子20を有し、画素電極19と1対1に対応している。画素電極19にはコンタクトホール21によりアクティブ素子20を介して信号配線より電位が付与され、アクティブ素子20の動作は走査配線により制御される。アクティブ素子20は薄膜トランジスタであり、そのチャネル部は電子移動度の比較的高いポリシリコン層から成る。ポリシリコン層はCVD(Chemical Vapor Deposition) 法で形成したアモルファスシリコン層をレーザー光線で加熱焼成して形成される。各画素電極は互いに独立制御され、図3に示したように長方形状であり、かつ第二の基板11b上に格子状に配置されている。
液晶層10は室温を含む広い温度範囲でネマチック相を示し、液晶分子の配向方向の誘電率がその垂直方向よりも大きい正の誘電率異方性を示す。なおかつ、液晶層10は高抵抗を示すので、アクティブ素子20がオフとなる保持期間中においても電圧低下が十分に少ない。第一の配向膜17aと第二の配向膜17bのラビング処理方向を反平行としたことにより、液晶層10をホモジニアス配向とする。その配向方向は信号電極(櫛歯状)の櫛歯方向に対して15度を成し、電圧印加時に発生する横電界に対して75度をなす。
第一の基板11aと第二の基板11bの外側には第一の偏光板15aと第二の偏光板
15bを配置し、一対の基板を挟持しており、第一の偏光板15aと第二の偏光板15bはヨウ素系色素を含み、その2色性で自然光を直線偏光に変換する。ヨウ素系色素の配向方向が吸収軸であり、第一の偏光板15aと第二の偏光板15bの吸収軸は互いに直交し、かつ第一の偏光板15aの吸収軸は液晶配向方向に平行である。
光変換層は、図1に示したように導光体32に近接する側より第一のマイクロレンズアレイ12a,第三の基板11c,蛍光体16,第二のマイクロレンズアレイ12bが順次積層された構造である。第一のマイクロレンズアレイ12bは第三の基板11c上にストライプ状に分布しており、押し型加工,印刷法、もしくはフォトリソグラフィーにより形成する。押し型加工では第三の基板11c上に樹脂層を形成,過熱して軟化させた状態で金型を押し当てて、凸状断面を形成する。印刷法では、溶融状態にある樹脂もしくは樹脂溶液を滴下して形成する。フォトリソグラフィーではレジストをストライプ状に加工した後、これを加熱溶融させ、メニスカスを形成した状態で焼成して固化する。このうち、金型を用いた押し型加工は最も加工精度が高いとう特徴を有し、集光性に優れたマイクロレンズを作成可能である。また、印刷法は最も低コストであり、多品種対応が可能である。
蛍光体16は、第一のマイクロレンズアレイ12aの焦点を中心とした領域に形成する。具体的には、第一のマイクロレンズアレイ12aはその焦点が第二のマイクロレンズアレイ12bが近接する第三の基板11cの平面上に位置するように設計する。すなわち、第三の基板11c法線に平行な方向から第一のマイクロレンズアレイ12aに単色の平行光を入射した場合、理想的には第二のマイクロレンズアレイ12bが近接する第三の基板11cの平面上に集光する。この時、第二のマイクロレンズアレイ12bが近接する第三の基板11cの平面上の、光源からの青色光が集光する部分を中心とした領域に蛍光体を形成する。
蛍光体層は光源31である青色光を吸収して蛍光を発光する必要があり、青色光を吸収する有機蛍光体,無機蛍光体がそれぞれ開発されている。青色吸収の緑色発光無機蛍光体には、例えば(Y,Gd)3(Ai,Ga)512:Tb3+が利用可能である。青色吸収の赤色発光無機蛍光体には、例えば(Ca,Sr,Zn)S:Eu3+,(Y,Gd)22S:Eu3+が利用可能である。青色吸収の緑色発光有機蛍光体には、例えばクマリン系色素やナフタルイミド系色素が利用可能である。青色吸収の赤色発光有機蛍光体には、例えばピリミジン系色素,ローダミン系色素,オキサジン系色素が利用可能である。現状では有機蛍光体の方が高い発光効率を示す傾向にあるが、耐候性では無機蛍光体の方が優れている。
青色表示には青色発光の光源光をそのまま用いることができるので、青色表示画素に相当する第一のマイクロレンズアレイ12aの焦点上には蛍光体を配置しなくても良い。この場合、蛍光体層は赤色の蛍光体16rと緑色の蛍光体16gだけで構成する。あるいはまた、青色表示の色調を変えるために、青色表示画素に相当する第一のマイクロレンズアレイ12aの焦点上に青色のカラーフィルタを配置しても良い。
蛍光体層の上面に平坦化膜を形成した後に第二のマイクロレンズアレイ12bを形成する。図3(a)に示した様に、蛍光体16の位置が第二のマイクロレンズアレイ12bの焦点と一致すれば、蛍光体層の光は第二のマイクロレンズアレイ12bにより平行光に変換される。図3(b)に示した様に、蛍光体16の位置がその焦点よりも第二のマイクロレンズアレイ12bから離れていれば、蛍光体層の光は第二のマイクロレンズアレイ12bにより収束光に変換される。あるいはまた、図3(c)に示した様に、蛍光体16の位置がその焦点よりも第二のマイクロレンズアレイ12bに近ければ、蛍光体層の光は第二のマイクロレンズアレイ12bにより発散光に変換される。
つまり、対応する画素の中心部に蛍光光を集光するためには、図3(b)に示した様に蛍光体層は第二のマイクロレンズアレイ12bの焦点位置よりも第二のマイクロレンズアレイ12bから離れた位置に配置する方がより好ましい。第一のマイクロレンズアレイ
12bの平面分布をストライプ状にしたため、これに対応する第二のマイクロレンズアレイ12bの平面分布もストライプ状とした。
第一のマイクロレンズアレイ12aと、蛍光体層と、第二のマイクロレンズアレイ12bと、第二の基板11b上の画素と、第一の基板11a上のカラーフィルタの対応関係を図4,図5に示す。
図4,図5中に示した画素19′は、走査配線と信号配線の形成する格子状(マトリクス)構造に対応し、かつ共通電極と画素電極が形成する電界の影響が及ぶ範囲の概略を示している。図4,図5中の破線は、図4,図5に示した液晶表示パネルの表示領域内の左下端部にある緑色画素の一つに注目し、その上部に配置されたカラーフィルタと、下部に配置された第二のマイクロレンズアレイ12b等との対応関係を示している。図5は、カラーフィルタ(青のカラーフィルタ13b,緑のカラーフィルタ13g,赤のカラーフィルタ13r)と蛍光体層(赤色の蛍光体16r,緑色の蛍光体16g)は各画素の長辺に平行なストライプ構造をなし、第一のマイクロレンズアレイ12aと第二のマイクロレンズアレイ12bは各画素の短辺に平行なストライプ構造をなす様に配置した例である。図4はカラーフィルタ(青のカラーフィルタ13b,緑のカラーフィルタ13g,赤のカラーフィルタ13r)は各画素の長辺に平行なストライプ構造をなし、蛍光体層(赤色の蛍光体16r,緑色の蛍光体16g)を四角形のドット状に配置した例である。尚、図4,図5では青色画素に対応する蛍光体層は配置せず、光源の青色光がそのまま入射するようにしている。
導光体32に入射した光源光である青色光を、光変換層に向かう平行度の高い平面光源に変換するために、例えば導光体自体を体積ホログラムとしても良い。即ち、導光体を感光性部材で形成し、二方向から互いに可干渉なレーザー光線を入射して導光体内部に干渉を生じさせ、光が強めあう部分で光反応が進行して屈折率が増大する。これにより、導光体の内部に格子ベクトルkh で特徴付けられる屈折率の周期的変化を形成する。光源光の波数ベクトルをks とすると、光変換層に向かう出射光の波数ベクトルke は、ke=ks+kh を満足する。光源光は側面から導光体に入射し、出射光は導光体の法線方向に向かうことからke とks は直交するので、ke とks とkh の関係を図示すると図6(c)に示した様になる。図6(a)に示した様に、互いに可干渉なレーザー光線は、同一レーザー光源33からのレーザー光線をハーフミラー34,ミラー35等で分岐して参照光
36と物体光37を作成し、両者を導光体32内部で交差させる。一般にレーザー光は径が小さいため、交差部をスキャンすれば導光体の全面に体積ホログラムを作成可能である。図6(b)に示した様に、光変換層に向かう出射光を再生光38,光源光を参照光36とみなすことが可能であり、この点において図6(a),(b)は一般的なホログラムの作成方法と同様である。
e ,ks は波長を含んでおり、体積ホログラムの回折角度は波長に依存する。そのため、白色光が体積ホログラムに入射すれば波長に応じて角度の異なる光路に分離されるが、青色発光LEDは発光スペクトルの半値幅が50nm程度と狭く単色光に近いため、全発光の光路がほぼ同一方向に変換される。
青色発光素子を有する光源31を導光体32側面のある一点に集中して配置すれば、導光体32側面に点光源が1つある状態に近似することが可能であり、導光体32の任意の点に入射する光源光の方向が一義的に定まる。これを効率的に液晶パネル法線方向に反射するため、導光体32にブレーズグレーティングを配置しても良い。図7に示した様に、ブレーズグレーティング48を導光体32底部に配置する場合には、アルミなどの高反射率の金属層39を蒸着し、液晶表示パネル法線方向に対して正反射条件を満足する角度に設定すれば、各ブレーズグレーティング48から法線方向に光源光が反射されるため、コリメート性に優れた平面光源が得られる。このように単色光に近い青色光をホログラムやブレーズグレーティングにより光路変換するため、平行度の良好な平面光源が得られる。そのため、マイクロレンズの集光効果を十分に利用できる。
以上のように一対のマイクロレンズアレイの間に蛍光体を配置したことにより、蛍光体を用いながらその光散乱による光路の拡散を防止することができ、なおかつ対応する液晶パネル上の画素内に集光できる。また青色発光を蛍光体で緑色,赤色に変換し、マイクロレンズで対応する表示色の画素に集光することが可能になる。従来の主流な液晶表示装置では青色発光を黄色蛍光体で一部を黄色の蛍光に変換し、これを赤,青,緑のカラーフィルタで吸収して色表示を行っていた。このうち、特に後者の過程において生じるカラーフィルタの吸収による光損失が大きく、効率低下の原因になっていた。本発明の蛍光体の発光効率はカラーフィルタの透過効率に比較して高いため、より高効率の表示が得られる。
蛍光体層の蛍光は、蛍光体層を中心にして等方的に広がる性質を有する。蛍光体層が発した蛍光の典型的な光路のいくつかを図8(a)に示す。
第二のマイクロレンズアレイ12bのある前面に向かう蛍光成分の他にも、第一のマイクロレンズアレイ12a側のある後方に向かう蛍光成分も存在する。あるいはまた側面に向かう蛍光成分も存在し、光変換層の内部で多重反射を繰り返す。これら側面、後方に向かう蛍光成分は効率低下の原因となり、その他にも迷光となって自らの色と対応しない画素に入射すれば色純度低下の原因になることもある。
本実施例では、効率低下と迷光の発生を防ぐために、蛍光体16の周辺に高反射率の金属層からなる蛍光体光反射層22を配置した。側面に向かう蛍光成分が蛍光体光反射層
22に入射するように、蛍光体16の側面に蛍光体光反射層22を配置する。また、後方からは光源光が入射するが、これを妨げず、かつ後方に向かう蛍光成分がなるだけ多く蛍光体光反射層22に入射するように、後方にも部分的に蛍光体光反射層22を配置する。
具体的には、図8(b)に示したように、第三の基板11c平面に対して約45度の傾斜を有する蛍光体光反射層22を、各蛍光体層の周囲に配置する。蛍光体光反射層22は高反射率の金属膜で形成する。側面に向かう蛍光成分は蛍光体光反射層22で反射されて蛍光体層に戻されるため、側面に向かう光は発生しない。また、後方に向かう光の大部分も蛍光体光反射層22で反射されて蛍光体層に戻されるため、効率向上と迷光防止の効果が得られる。
実施例1では、蛍光体層は赤色の蛍光体16rと緑色の蛍光体16gだけで構成した。あるいはまた図9(a)に示した様に、青色表示画素に相当する第一のマイクロレンズアレイ12aの焦点上に青のカラーフィルタ13bを配置した。この場合、赤色光と緑色光は蛍光であり、蛍光体層を中心に等方的に発光するのに対し、青色光は蛍光体による拡散を受けない。そのため、液晶パネル通過後における青色光の角度分布が、赤色光や緑色光と異なる角度分布になることもある。この場合、光源自体が色調の角度変化を有することになり、視角変化による表示の色調変化が増大するため好ましくない。
本実施例では、青色光の角度分布を他の色と一致させるため、図9(b)に示した様に青色表示画素に相当する第一のマイクロレンズアレイ12aの焦点上に光散乱層23を配置した。光散乱層23には、例えば透明微粒子を含有する透明レジストを用いることができる。この場合、フォトリソグラフィーでパターンニングが可能になり、青色表示画素に相当する第一のマイクロレンズアレイの焦点上に光散乱層23を選択的に形成できる。
一般に透明微粒子と透明レジストの屈折率は異なるため、両者の界面で屈折が生じる。光散乱層23内の透明微粒子の分散密度や透明微粒子の屈折率,透明レジストの厚さを適宜調節すれば、光散乱層23に蛍光体16と同じ拡散作用を付与することができる。
以上により、赤色光,緑色光,青色光の角度分布を互いに等しくし、視角変化による表示の色調変化を低減できる。
本発明の液晶表示装置では、各画素の表示色に対応した色の光を入射するため、第一の基板11a上のカラーフィルタを除いてもカラー表示が可能になる。この場合、第一の基板の作成プロセスが減少するため、第一の基板11aの作成が容易になる。
印刷法やフォトリソグラフィーで第一のマイクロレンズアレイ12a並びに第二のマイクロレンズアレイ12bを作成する場合、複数のレンズの個々のレンズの間に平坦部を形成しなければならない。即ち、印刷法では溶融状態若しくは溶液状態の樹脂がメニスカスを形成してマイクロレンズアレイとなるが、その際近接するメニスカス間に間隙が無ければ2つのメニスカスが表面張力により一つに合体し、個々の画素に対応するマイクロレンズアレイが作成できないからである。
平坦部に入射した青色発光は、蛍光体に入射せずに青色のまま液晶パネルに入射するが、本実施例のようにカラーフィルタを除いた液晶表示パネルの赤色表示画素,緑色表示画素に入射すると色純度を低下させる。これを防ぐため、例えば図10(a)に示した様に、マイクロレンズ間の平坦部にブラックマトリクス等の平坦部吸収層24を形成する。平坦部に入射した青色発光はブラックマトリクスにより吸収されるため、青色発光の直接入射による色再現範囲低下を防ぐことができる。
あるいはまた、図10(b)に示した様に平坦部に平坦部反射層25を形成しても良い。この場合には、平坦部に入射した青色発光は平坦部反射層25で反射されるので、青色発光の直接入射による色再現範囲低下を防ぐことができる。実施例1では迷光の発生を防ぐため蛍光体光反射層22を配置したが、蛍光体光反射層22を平坦部にまで延長して分布させ、平坦部反射層25と兼用しても良い。
液晶表示パネルと光変換層は、対応する画素とマイクロレンズアレイが一致するように位置合わせして組み合わせる必要があるが、その際には両者に位置合わせマークが必要になる。位置合わせマークはより光吸収率の高い層で形成すれば鮮明に観察されて好都合であるが、ブラックマトリクス14に用いる黒色レジストは全可視波長で光吸収するためこれに最適である。ブラックマトリクス14に用いる黒色レジストを利用して、光変換層の端部に位置合わせマークを形成しても良い。図11(b)は光変換層の第三の基板11cの端部の2箇所に位置合わせマーク40bを形成した例であり、図11(a)はこれに対応する液晶パネル側の第二の基板11bの端部の2箇所に位置合わせマーク40aを形成した例である。位置合わせ精度を向上するためには二つの位置合わせマークは互いに離れていれば良く、図11(a),(b)では位置合わせマークは概略長方形をした光変換層および液晶表示パネルの対角線上に離れて配置している。尚、図11(a),(b)では実際よりも位置合わせマークを大きく描いてある。
以上のように、本実施例では液晶パネルのカラーフィルタを省略して構造を簡略化した上で、実施例1と同様の高色純度の表示特性が得られる。
実施例1の液晶表示装置において、液晶表示パネルは透過型であったが、本実施例ではこれを半透過型液晶表示パネルとした。半透過型液晶表示パネルは一画素内に反射表示部と透過表示部を有するが、その断面の一例を図12(a)に示す。
第二の基板11bについては、反射表示部に相当する部分の共通電極18に、アルミからなる反射共通電極18′を重畳して配置する変更を加えた。第一の基板11aについては、反射表示部に相当する部分に位相差板26と段差形成層27を配置した。位相差板
26はジアクリル系液晶を光重合して形成する。位相差板26のリタデーションを310nmにし、段差形成層27で反射表示部の液晶層10のリタデーションを160nmにした。これに加えて、位相差板26の遅相軸が液晶配向方向となす角を67.5度 とすることにより、電圧無印加時に反射共通電極18′に入射する光の偏光状態を円偏光にでき、反射表示,透過表示ともノーマリクローズ表示にすることができる。
一画素内を反射表示部と透過表示部に面積分割したことにより、透過表示部の面積が減少する。しかし、本発明では光変換層で透過表示部に光源光を集光するので、実施例1の液晶表示装置に比較して輝度の低下はほとんど無く、その上反射表示が得られるという効果がある。
反射表示部では光がカラーフィルタ13を2回通過するのに対し、透過表示部では1回だけ通過する。透過表示部と反射表示部の色再現範囲を等しくするためには、反射表示部と透過表示部のカラーフィルタ13の吸収率を変えなければならない。具体的には、図
12(a)に示した様に、反射表示部の一部にカラーフィルタ13の存在しないカラーフィルタ開口部13hを配置することにより、反射表示部の面積平均した吸収率を低下している。しかし、カラーフィルタ開口部13hの面積が設計値から外れた場合に、反射表示のカラーバランスが崩れるなどの困難があった。
本発明では、透過表示部の色表示は光源光の着色で決定されるため、原理的には透過表示部にカラーフィルタ13を必要としない。そのため、反射表示向けに吸収率を最適化した反射表示用カラーフィルタ13′を、図12(b)に示した様に反射表示部と透過表示部を含む画素内の全面に均一に配置することが可能になる。
反射表示用の低吸収率のカラーフィルタでは、各画素の表示色と異なる色の迷光が入射した場合に充分に吸収しきれず、色再現範囲の低下を生じる。この場合には、実施例3と同様にブラックマトリクスを配置した色変換層を用いることにより、迷光による色再現範囲の低下を防ぐことができる。
反射表示部に位相差板26を内蔵したことにより、液晶表示パネルの第一の基板11aおよび第二の基板11bに貼り付ける光学部材は第一の偏光板15aと、第二の偏光板
15bのみとなる。液晶表示装置全体を薄型化できるという長所を有する。
反射表示部は周囲から入射する光を反射して表示を行うため、コントラスト比は明るさによらず一定である。透過表示ではバックライト光に比較して周囲から入射する光が強い場合には界面反射によりコントラスト比が低下するが、反射表示ではこの様な場合でもコントラスト比の低下が生じない。そのため、日中の屋外など明るい環境下では透過表示よりも良好な表示が得られる。
以上のように、本実施例では液晶表示パネルを半透過型としたことにより、実施例1と同様の透過表示輝度を確保した上で、明所における視認性を向上できる。
本実施例では他の実施例とは構造が異なる光変換層の一例を示す。実施例1では液晶表示パネルを構成する第一の基板11aと第二の基板11bの他に、光変換層に別途第三の基板11cを用いた。本実施例では第三の基板11cを用いずに、第一のマイクロレンズアレイ12aと蛍光体層を導光体上に形成し、第二のマイクロレンズアレイ12bを第二の基板11b上に形成した。
本実施例の液晶表示装置の一構成例を図13(a)に示す。蛍光体層と蛍光体光反射層22を導光体上面に配置しており、蛍光体層の上層に液晶パネルが配置された側に対して断面が凸形状のレンズを有する第一のマイクロレンズアレイ12aを配置している。導光体32側面の光源31を発した青色光は、導光体32の内部を多重反射するうちに蛍光体層に入射して蛍光となる。蛍光は蛍光体層を中心に等方的に広がるが、蛍光体層は第一のマイクロレンズアレイ12aの焦点に位置しており、蛍光のうち前方に向かう成分は第一のマイクロレンズアレイ12aに入射して、これにより平行光に変換される。後方に向かう成分の一部と側面に向かう成分は蛍光体光反射層22によって反射されて前方に向かい、その後第一のマイクロレンズアレイ12aに入射して平行光に変換される。蛍光は第二の偏光板15bを通過してその後、導光体32が配置された側に対して断面が凸形状のレンズを有する第二のマイクロレンズアレイ12bに入射する。ここで第二のマイクロレンズアレイ12bによる集光作用を受け、対応する画素の中央部に集光される。この場合、第二のマイクロレンズアレイ12bはほぼ平行光となって入射した蛍光を、第二の基板
11bを介して存在する画素中心近傍に集光する。そのため、第二のマイクロレンズアレイ12bの焦点距離は第一のマイクロレンズアレイ12aに比較して著しく長いことが特徴である。
この場合、液晶表示パネルと導光体32の位置合わせが必要になるので、導光体32の端部と液晶表示パネルの端部に位置合わせマークを形成しても良い。これは上述した図
11(a)(b)と同様である。
光源31からの青色光の蛍光体層への入射効率を向上するためには、図13(b)に示した様に蛍光体層の下面にブレーズグレーティング48を配置する。実施例1にて説明したように、ブレーズグレーティング48は光源光を導光体32の法線方向に反射する様に設計可能である。ブレーズグレーティング48の直上に蛍光体層が有れば、ブレーズグレーティング48で反射した光源光が蛍光体層に直接入射することになる。
図13(a),(b)では青色表示画素に対応する光変換層には上述した光散乱層を配置していないが、実施例3で説明したのと同様の理由により、光源自体が色調の角度変化を示す場合がある。本実施例の構成においても、青色表示画素に対応する光変換層に光散乱層を配置すれば、同様にして光源自体が色調の角度変化を解消できる。
本実施例では第二のマイクロレンズアレイ12bの外側に光学フィルムを貼り付けるが、凹凸面上に貼り付けるため、粘着力不足になる場合がある。第二の偏光板15bをグリッドワイア偏光板として液晶パネルの内側に配置すれば、第二のマイクロレンズアレイ
12b上に光学部材を貼り付ける必要がなくなる。グリッドワイア偏光板は光の波長以下のピッチでスリットを形成した金属膜であり、スリットの垂直方向には金属膜の自由電子が動けないことから、スリット方向の直線偏光成分を反射し、スリット垂直方向の直線偏光成分を通過する性質を示す。
以上の様に、第三の基板11cを用いないより薄型軽量な構造にて、実施例1と同様に高効率の液晶表示装置を実現した。
実施例1では第一のマイクロレンズアレイ12aと第二のマイクロレンズアレイ12bをストライプ状に形成したが、マイクロレンズアレイの形状はこれに限定されず、例えば個々のマイクロレンズを球面にしてハニカム状に配列しても良い。
図14は第一のマイクロレンズアレイ12aと蛍光体層と第二のマイクロレンズアレイ12bと画素とカラーフィルタの分布を法線方向から観察した図である。第一のマイクロレンズアレイ12aと第二のマイクロレンズアレイ12bの形状はいずれも円状とし、第一のマイクロレンズアレイ12aの中心と、これより小さい正方形ドット状の蛍光体層の分布の中心と、第二のマイクロレンズアレイ12bの中心が法線方向から見て一致するように積層した。一方で、画素とカラーフィルタはストライプ配列である。この場合にも、図14に示した様にマイクロレンズアレイの繰り返し周期を画素短辺の長さの2倍にすれば組み合わせることが可能である。各画素内において蛍光および光源光が集光される部分は画素中心からずれることになるが、マイクロレンズアレイの集光作用が充分であれば、各色の蛍光および光源光を対応する表示色の画素に集光できる。
ストライプ配列の長方形画素に円形ハニカム配列のマイクロレンズアレイを組み合わせ、かつ各画素を半透過型とすることも考えられる。この場合には、各画素内において蛍光および光源光が集光される部分に透過表示部を配置すべきであり、図15に示した様に透過部画素電極19tを画素中心からずらした位置に互い違いに配置した。これにより、一画素の一定割合を反射型表示とした半透過型液晶でありながらも、全透過型と同様の透過表示効率を得ることができる。
図14,図15に示したストライプ配列画素の他にも、各画素の形状を正方形にしてかつデルタ配列にした場合には、ハニカム配列の方が一画素に集められる光量が増大して効率が向上するためより好ましい。
実施例1では液晶表示パネルを互いに異なる層に形成された櫛歯状の画素電極19と平面ベタ状の共通電極18間に電界を印加するIPS方式液晶表示パネルとした。これ以外にも、櫛歯状の画素電極と櫛歯状の共通電極の間に横電界を形成するIPS方式液晶表示パネルとしても良い。この場合にも、実施例1と同様に視角方向での階調表示特性に優れた広視野角の表示が得られる。
あるいはまた、共通電極18を第一の基板11aの液晶層10に近接する面上に形成し、共通電極18と画素電極19をいずれも平面状とし、第一の基板11a並びに第二の基板11bの法線方向に電界を印加する所謂縦電界方式としても良い。液晶層10はツイスト角が90度のツイステッドネマチック方式でも良く、ホモジニアス配向の電界複屈折方式にしても良い。IPS方式のような微細な電極加工が不必要なため、量産性に優れている。縦電界方式を半透過表示とするには、第一の基板11aと第一の偏光板15a、並びに第二の偏光板15bと第二の基板11bの間に複数の位相差板を配置して、かつ暗表示時に反射電極に到達する光の偏光状態が円偏光になるように遅相軸角度とΔndを設定すれば良い。これにより、液晶表示パネルの内側に位相差層を形成せずに半透過表示が得られるという利点がある。
各色の蛍光並びに光源光を対応する表示色の画素に選択的に入射することにより、これらの液晶表示パネルとの組み合わせにおいてもより高効率の表示が得られる。
第三の基板を用いて光変換層を構成した際の主要な構成部材とその機能を示す断面図である。 実施例1における透過型液晶表示パネルの1画素の断面図である。 第二のマイクロレンズアレイの焦点と蛍光層の位置関係を変えた時の光路の変化を示す図である。 第一のマイクロレンズアレイと、蛍光体層と、第二のマイクロレンズアレイと、第二の基板上の画素と、第一の基板上のカラーフィルタの対応関係を示す図である。 第一のマイクロレンズアレイと、蛍光体層と、第二のマイクロレンズアレイと、第二の基板上の画素と、第一の基板上のカラーフィルタの対応関係を示す図である。 導光体を体積ホログラムとした際の作成方法と光路を示す図である。 ブレーズグレーティングを導光体底部に配置した状態とその作用を示す図である。 蛍光体層を発した光の光路と蛍光体反射層の作用を示す図である。 青色表示画素に相当する第一のマイクロレンズアレイの焦点上に青色のカラーフィルタもしくは光散乱層を配置した光変換層の断面図である。 平坦部吸収層,平坦部反射層を形成した光変換層の構成を示す断面図である。 液晶表示パネルと光変換層に位置合わせマークを配置した例を示す平面図である。 半透過型液晶表示パネルの1画素の断面図である。 第三の基板を用いないで光変換層を構成した際の主要な構成部材とその機能を示す断面図である。 円形のマイクロレンズアレイをハニカム配列した際の画素との組み合わせを示す図である。 円形のマイクロレンズアレイをハニカム配列した際の半透過画素との組み合わせを示す図である。
符号の説明
10 液晶層
10′ 液晶分子
11a 第一の基板
11b 第二の基板
12a 第一のマイクロレンズアレイ
12b 第二のマイクロレンズアレイ
13 カラーフィルタ
13r 赤のカラーフィルタ
13g 緑のカラーフィルタ
13b 青のカラーフィルタ
13h カラーフィルタ開口部
13′ 反射表示用カラーフィルタ
14 ブラックマトリクス
15a 第一の偏光板
15b 第二の偏光板
16 蛍光体
16r 赤色の蛍光体
16g 緑色の蛍光体
17a 第一の配向膜
17b 第二の配向膜
18 共通電極
18′ 反射共通電極
19 画素電極
19t 透過部画素電極
20 アクティブ素子
21 コンタクトホール
22 蛍光体光反射層
23 光散乱層
24 平坦部吸収層
25 平坦部反射層
26 位相差板
27 段差形成層
31 光源
32 導光体
33 レーザー光源
34 ハーフミラー
35 ミラー
36 参照光
37 物体光
38 再生光
39 金属層
40a,40b 位置合わせマーク
48 ブレーズグレーティング

Claims (17)

  1. 第一の基板と、第二の基板と、前記第一の基板と第二の基板間に挟持された液晶層と、
    を有して複数の画素を備える液晶パネルと、
    青色光を出射する光源と、
    前記液晶パネルと前記光源間に配置され、複数のレンズが配置された第一のマイクロレンズアレイと、複数のレンズが配置された第二のマイクロレンズアレイと、前記第一のマイクロレンズアレイと前記第二のマイクロレンズアレイ間に配置された蛍光体層と、を有する光変換層と、を有し、
    前記光変換層の前記第一のマイクロレンズアレイは、前記光源からの青色光を前記蛍光体層に集光する機能を有し、
    前記光変換層の前記第二のマイクロレンズアレイは、前記蛍光体層から出射された蛍光光、または前記光源からの青色光を、前記液晶パネル内の対応する画素に集光する機能を有し、
    前記蛍光体層は、赤色蛍光体と、緑色蛍光体とを有し、
    前記赤色蛍光体は、前記複数の画素のうち赤色表示を行う画素に対応して配置され、
    前記緑色蛍光体は、前記複数の画素のうち緑色表示を行う画素に対応して配置された液晶表示装置。
  2. 請求項記載の液晶表示装置において、
    前記光源と前記光変換層間に配置され、前記光源からの青色光を前記光変換層へ出射する導光体を有する液晶表示装置。
  3. 請求項記載の液晶表示装置において、
    前記第一のマイクロレンズアレイの前記複数のレンズの断面形状は、前記光源が配置された側に対して凸形状であり、
    前記第二のマイクロレンズアレイの前記複数のレンズの断面形状は、前記液晶パネルが配置された側に対して凸形状である液晶表示装置。
  4. 請求項記載の液晶表示装置において、
    前記液晶パネルは、カラーフィルタを有し、
    前記赤色蛍光体と、前記緑色蛍光体は、前記複数の画素の各画素に位置する前記カラーフィルタの色に対応して配置された液晶表示装置。
  5. 請求項記載の液晶表示装置において、
    前記第一のマイクロレンズアレイと前記第二のマイクロレンズアレイは同一の平面分布を示す液晶表示装置。
  6. 請求項記載の液晶表示装置において、
    前記光源は、青色発光素子を有し、
    前記青色発光素子は、前記導光体の一方側面に配置され、
    前記導光体は、ホログラムまたはブレーズグレーティングが配置され、
    前記ホログラムまたはブレーズグレーティングは、前記青色発光素子の発光を面状光源に変換して前記液晶パネルの法線方向に向かわせる液晶表示装置。
  7. 請求項記載の液晶表示装置において、
    前記蛍光体層は、前記第一のマイクロレンズアレイの焦点位置に配置された液晶表示装置。
  8. 請求項記載の液晶表示装置において、
    前記蛍光体層は、前記第二のマイクロレンズアレイの焦点位置よりも前記第二のマイクロレンズアレイから離れた位置に配置された液晶表示装置。
  9. 請求項記載の液晶表示装置において、
    前記第一のマイクロレンズアレイ及び前記第二のマイクロレンズアレイの前記複数のレンズのレンズ間に平坦部を有し、前記第一のマイクロレンズアレイと前記第二のマイクロレンズアレイ間に配置され、前記平坦部に対応する位置に平坦部吸収層若しくは平坦部反射層を配置した液晶表示装置。
  10. 請求項1記載の液晶表示装置において、
    前記光変換層と前記液晶パネルの位置合わせのためのマークを、前記光変換層上及び前記液晶パネル上に形成した液晶表示装置。
  11. 請求項記載の液晶表示装置において、
    前記光変換層は、第三の基板を有し、
    前記第一のマイクロレンズアレイと前記第二のマイクロレンズアレイは、前記第三の基板の異なる側に互いに形成され、前記蛍光体層は、前記第三の基板上に形成された液晶表示装置。
  12. 請求項記載の液晶表示装置において、
    前記液晶パネルが備える前記画素は、櫛歯状またはスリット状の画素電極と、前記画素全面にわたって形成されたべた状の共通電極を有する液晶表示装置。
  13. 請求項記載の液晶表示装置において、
    前記液晶パネルが備える前記複数の各画素は、透過表示部と反射表示部を有する液晶表示装置。
  14. 第一の基板と、第二の基板と、前記第一の基板と第二の基板間に挟持された液晶層と、を有して複数の画素を備える液晶パネルと、
    前記液晶パネルを挟持する一対の偏光板と、
    青色光を出射する光源と、
    前記液晶パネルと前記光源間に配置された導光体と、
    前記液晶パネルと前記導光体間に配置され、複数のレンズが配置された第一のマイクロレンズアレイと、複数のレンズが配置された第二のマイクロレンズアレイと、前記第一のマイクロレンズアレイと前記導光体間に配置された蛍光体層と、を有する光変換層と、
    前記導光体と前記蛍光体層間に部分的に配置される蛍光体光反射層と、を有し、
    前記一対の偏光板の一方の偏光板は、前記第一のマイクロレンズアレイと前記第二のマイクロレンズアレイ間に配置され、
    前記蛍光体層は、赤色蛍光体と、緑色蛍光体とを有し、
    前記赤色蛍光体は、前記複数の画素のうち赤色表示を行う画素に対応して配置され、
    前記緑色蛍光体は、前記複数の画素のうち緑色表示を行う画素に対応して配置され、
    前記光変換層の前記第一のマイクロレンズアレイは、前記赤色蛍光体および前記緑色蛍光体からの蛍光、または前記光源からの青色光を、平行光とする機能を有し、
    前記光変換層の前記第二のマイクロレンズアレイは、前記赤色蛍光体および前記緑色蛍光体から前記一方の偏光板を介して出射された蛍光光、または前記光源から前記一方の偏光板を介して出射された青色光を、前記液晶パネル内の対応する画素に集光する機能を有する液晶表示装置。
  15. 請求項14記載の液晶表示装置において、
    前記第一のマイクロレンズアレイの前記複数のレンズの断面形状は、前記液晶パネルが配置された側に対して凸形状であり、
    前記第二のマイクロレンズアレイの前記複数のレンズの断面形状は、前記光源が配置された側に対して凸形状である液晶表示装置。
  16. 請求項14記載の液晶表示装置において、
    前記導光体は、ブレーズグレーティングを有する液晶表示装置。
  17. 請求項14記載の液晶表示装置において、
    前記液晶パネルが備える前記画素は、櫛歯状またはスリット状の画素電極と、前記画素全面にわたって形成されたべた状の共通電極を有する液晶表示装置。
JP2006275964A 2006-10-10 2006-10-10 液晶表示装置 Expired - Fee Related JP4851908B2 (ja)

Priority Applications (2)

Application Number Priority Date Filing Date Title
JP2006275964A JP4851908B2 (ja) 2006-10-10 2006-10-10 液晶表示装置
US11/869,900 US7639320B2 (en) 2006-10-10 2007-10-10 Liquid crystal display device

Applications Claiming Priority (1)

Application Number Priority Date Filing Date Title
JP2006275964A JP4851908B2 (ja) 2006-10-10 2006-10-10 液晶表示装置

Publications (2)

Publication Number Publication Date
JP2008096547A JP2008096547A (ja) 2008-04-24
JP4851908B2 true JP4851908B2 (ja) 2012-01-11

Family

ID=39274690

Family Applications (1)

Application Number Title Priority Date Filing Date
JP2006275964A Expired - Fee Related JP4851908B2 (ja) 2006-10-10 2006-10-10 液晶表示装置

Country Status (2)

Country Link
US (1) US7639320B2 (ja)
JP (1) JP4851908B2 (ja)

Families Citing this family (36)

* Cited by examiner, † Cited by third party
Publication number Priority date Publication date Assignee Title
US20090218582A1 (en) * 2008-02-28 2009-09-03 Kang Wei-Hung Optical device and method of fabricating the same
CN201174014Y (zh) * 2008-04-10 2008-12-31 北京京东方光电科技有限公司 背光模组
EP2314074A4 (en) * 2008-07-29 2013-06-26 Thomson Licensing DISPLAY CHARACTERIZATION WITH FILTRATION
JP4848404B2 (ja) * 2008-09-04 2011-12-28 株式会社 日立ディスプレイズ 液晶表示素子、および液晶表示装置
US20100214282A1 (en) 2009-02-24 2010-08-26 Dolby Laboratories Licensing Corporation Apparatus for providing light source modulation in dual modulator displays
US20120013654A1 (en) * 2009-03-30 2012-01-19 Sharp Kabushiki Kaisha Display panel and display device
US20110216266A1 (en) * 2010-03-02 2011-09-08 Microsoft Corporation Wedge backlight with diffraction grating
JP5607430B2 (ja) * 2010-06-10 2014-10-15 株式会社ジャパンディスプレイ 立体映像表示装置及び電子機器
US20120120467A1 (en) * 2010-11-17 2012-05-17 Qualcomm Mems Technologies, Inc. Hybrid light guide with faceted and holographic light turning features
US8514352B2 (en) * 2010-12-10 2013-08-20 Sharp Kabushiki Kaisha Phosphor-based display
TWI451387B (zh) 2010-12-17 2014-09-01 Dolby Lab Licensing Corp 用於顯示面板之量子點技術
KR101851726B1 (ko) * 2011-11-23 2018-04-24 엘지이노텍 주식회사 표시장치
KR101360643B1 (ko) 2012-05-09 2014-02-10 엘지이노텍 주식회사 광 변환 부재, 이를 포함하는 발광장치 및 표시장치
KR102118309B1 (ko) 2012-09-19 2020-06-03 돌비 레버러토리즈 라이쎈싱 코오포레이션 양자점/리모트 인광 디스플레이 시스템 개선
WO2014103093A1 (ja) * 2012-12-26 2014-07-03 パナソニック株式会社 画像表示装置とこれに用いられる光変換パネル
US9436056B2 (en) * 2013-02-06 2016-09-06 E Ink Corporation Color electro-optic displays
PL2965308T3 (pl) 2013-03-08 2021-01-25 Dolby Laboratories Licensing Corporation Techniki wyświetlania z podwójną modulacją z konwersją światła
JP6087872B2 (ja) * 2013-08-12 2017-03-01 富士フイルム株式会社 光学フィルム、バリアフィルム、光変換部材、バックライトユニットおよび液晶表示装置
US10262603B2 (en) 2014-03-26 2019-04-16 Dolby Laboratories Licensing Corporation Global light compensation in a variety of displays
EP3633663B1 (en) 2014-08-21 2024-06-19 Dolby Laboratories Licensing Corporation Techniques for dual modulation with light conversion
US20160093269A1 (en) * 2014-09-26 2016-03-31 Pixtronix, Inc. Laser-Pumped Phosphor Backlight and Methods
US9470925B2 (en) * 2014-09-30 2016-10-18 Shenzhen China Star Optoelectronics Technology Co., Ltd Liquid crystal display device
KR101621820B1 (ko) 2014-12-29 2016-05-17 삼성전자 주식회사 광원, 광원을 포함하는 백라이트 유닛 및 액정 표시 장치
CN105929591B (zh) 2016-07-08 2019-04-05 京东方科技集团股份有限公司 量子点显示基板及其制造方法和量子点显示装置
KR102712901B1 (ko) 2016-08-17 2024-10-07 삼성전자주식회사 디스플레이 패널 및 이를 포함하는 디스플레이 장치
CN107402473B (zh) * 2017-09-25 2020-11-06 京东方科技集团股份有限公司 显示模组和显示装置
CN108051945B (zh) * 2018-01-02 2021-03-16 京东方科技集团股份有限公司 一种显示组件、液晶显示器和电子设备
CN108415191A (zh) * 2018-03-15 2018-08-17 京东方科技集团股份有限公司 显示装置、电子设备和显示方法
CN109100871B (zh) * 2018-09-14 2021-09-03 京东方科技集团股份有限公司 光调制装置以及光谱检测系统
EP3671711A1 (en) * 2018-12-20 2020-06-24 IMEC vzw Cross-talk reduction in display with optical scanner
CN110646982B (zh) * 2019-10-08 2021-08-10 京东方科技集团股份有限公司 液晶显示面板及其驱动方法、显示装置
CN111175982B (zh) * 2020-02-24 2023-01-17 京东方科技集团股份有限公司 近眼显示装置和可穿戴设备
CN113534456A (zh) * 2020-04-22 2021-10-22 京东方科技集团股份有限公司 一种近眼显示设备和近眼显示装置
CN112054131B (zh) * 2020-09-14 2022-09-20 京东方科技集团股份有限公司 显示面板、显示装置及显示设备
CN112859347A (zh) * 2021-02-25 2021-05-28 京东方科技集团股份有限公司 近眼显示装置及可穿戴设备
CN117031814A (zh) * 2023-07-03 2023-11-10 联想(北京)有限公司 显示装置、处理方法及处理器

Family Cites Families (10)

* Cited by examiner, † Cited by third party
Publication number Priority date Publication date Assignee Title
US4798448A (en) * 1988-02-16 1989-01-17 General Electric Company High efficiency illumination system for display devices
JP3528994B2 (ja) * 1994-11-08 2004-05-24 大日本印刷株式会社 液晶表示装置用平行光源及びそれを用いた液晶表示装置
JP3405087B2 (ja) * 1995-11-06 2003-05-12 ソニー株式会社 液晶表示装置およびその製造方法
JPH09167513A (ja) * 1995-12-15 1997-06-24 Kuraray Co Ltd 面光源素子
JP2865618B2 (ja) * 1996-05-31 1999-03-08 嶋田プレシジョン株式会社 導光板および導光板アセンブリ
JP2001133770A (ja) * 1999-11-04 2001-05-18 Hitachi Ltd 液晶表示装置
JP2003015122A (ja) 2001-06-27 2003-01-15 Seiko Epson Corp 液晶表示装置および電子機器
JP2003015121A (ja) 2001-06-27 2003-01-15 Seiko Epson Corp 液晶表示装置および電子機器
JP2005353650A (ja) 2004-06-08 2005-12-22 Matsushita Electric Ind Co Ltd Led光源および液晶表示装置
JP2006012722A (ja) * 2004-06-29 2006-01-12 Sharp Corp バックライト装置、およびそれを備えた液晶表示装置

Also Published As

Publication number Publication date
US7639320B2 (en) 2009-12-29
JP2008096547A (ja) 2008-04-24
US20080084517A1 (en) 2008-04-10

Similar Documents

Publication Publication Date Title
JP4851908B2 (ja) 液晶表示装置
JP5112230B2 (ja) 液晶表示装置
US8345182B2 (en) Liquid crystal display device
KR101222566B1 (ko) 디스플레이패널 및 이를 포함하는 디스플레이장치
JP4778873B2 (ja) 液晶表示装置
US6469755B1 (en) Illuminating arrangement with reflector having inclined irregularities or corrugations
JP3957986B2 (ja) 反射型表示装置
CN110389469B (zh) 显示装置及其显示方法
JPH10325953A (ja) 反射型兼透過型表示装置
WO2020007181A1 (zh) 显示面板及显示装置
JP3506978B2 (ja) 反射型液晶表示装置
US10558083B2 (en) Liquid crystal display module and liquid crystal display device
JP2013235141A (ja) カラー液晶表示装置
CN111025728A (zh) 显示装置
US20180196302A1 (en) Display device
JP2003195275A (ja) 液晶表示装置
US8531629B2 (en) Reflective display device including polymer-dispersed liquid crystals having particular light-absorbing member
TW202430990A (zh) 光學元件及其製造方法以及照明裝置
JP4112663B2 (ja) 液晶表示装置
JP2009092972A (ja) 表示装置
JP2000338476A (ja) 反射型液晶表示装置用カラーフィルター基板
JPH0815689A (ja) 液晶表示器
JP2006179319A (ja) 光源装置および液晶表示装置
KR101213104B1 (ko) 마이크로렌즈 어레이 시트 및 이를 이용한 액정 표시 장치
JP2001133777A (ja) 液晶表示装置

Legal Events

Date Code Title Description
A621 Written request for application examination

Free format text: JAPANESE INTERMEDIATE CODE: A621

Effective date: 20090225

A521 Written amendment

Free format text: JAPANESE INTERMEDIATE CODE: A523

Effective date: 20090225

RD02 Notification of acceptance of power of attorney

Free format text: JAPANESE INTERMEDIATE CODE: A7422

Effective date: 20100127

RD04 Notification of resignation of power of attorney

Free format text: JAPANESE INTERMEDIATE CODE: A7424

Effective date: 20100301

A711 Notification of change in applicant

Free format text: JAPANESE INTERMEDIATE CODE: A712

Effective date: 20110112

A977 Report on retrieval

Free format text: JAPANESE INTERMEDIATE CODE: A971007

Effective date: 20110622

A131 Notification of reasons for refusal

Free format text: JAPANESE INTERMEDIATE CODE: A131

Effective date: 20110705

A521 Written amendment

Free format text: JAPANESE INTERMEDIATE CODE: A523

Effective date: 20110905

TRDD Decision of grant or rejection written
A01 Written decision to grant a patent or to grant a registration (utility model)

Free format text: JAPANESE INTERMEDIATE CODE: A01

Effective date: 20110927

A01 Written decision to grant a patent or to grant a registration (utility model)

Free format text: JAPANESE INTERMEDIATE CODE: A01

A61 First payment of annual fees (during grant procedure)

Free format text: JAPANESE INTERMEDIATE CODE: A61

Effective date: 20111021

R150 Certificate of patent or registration of utility model

Ref document number: 4851908

Country of ref document: JP

Free format text: JAPANESE INTERMEDIATE CODE: R150

Free format text: JAPANESE INTERMEDIATE CODE: R150

FPAY Renewal fee payment (event date is renewal date of database)

Free format text: PAYMENT UNTIL: 20141028

Year of fee payment: 3

R250 Receipt of annual fees

Free format text: JAPANESE INTERMEDIATE CODE: R250

R250 Receipt of annual fees

Free format text: JAPANESE INTERMEDIATE CODE: R250

R250 Receipt of annual fees

Free format text: JAPANESE INTERMEDIATE CODE: R250

R250 Receipt of annual fees

Free format text: JAPANESE INTERMEDIATE CODE: R250

R250 Receipt of annual fees

Free format text: JAPANESE INTERMEDIATE CODE: R250

R250 Receipt of annual fees

Free format text: JAPANESE INTERMEDIATE CODE: R250

LAPS Cancellation because of no payment of annual fees