JP4849580B1 - 無排土砕石杭形成用具 - Google Patents

無排土砕石杭形成用具 Download PDF

Info

Publication number
JP4849580B1
JP4849580B1 JP2011106919A JP2011106919A JP4849580B1 JP 4849580 B1 JP4849580 B1 JP 4849580B1 JP 2011106919 A JP2011106919 A JP 2011106919A JP 2011106919 A JP2011106919 A JP 2011106919A JP 4849580 B1 JP4849580 B1 JP 4849580B1
Authority
JP
Japan
Prior art keywords
rotation
casing
crushed stone
locking
excavation
Prior art date
Legal status (The legal status is an assumption and is not a legal conclusion. Google has not performed a legal analysis and makes no representation as to the accuracy of the status listed.)
Expired - Fee Related
Application number
JP2011106919A
Other languages
English (en)
Other versions
JP2012237141A (ja
Inventor
正輝 八重樫
Original Assignee
八重樫 輝一
Priority date (The priority date is an assumption and is not a legal conclusion. Google has not performed a legal analysis and makes no representation as to the accuracy of the date listed.)
Filing date
Publication date
Application filed by 八重樫 輝一 filed Critical 八重樫 輝一
Priority to JP2011106919A priority Critical patent/JP4849580B1/ja
Application granted granted Critical
Publication of JP4849580B1 publication Critical patent/JP4849580B1/ja
Publication of JP2012237141A publication Critical patent/JP2012237141A/ja
Expired - Fee Related legal-status Critical Current
Anticipated expiration legal-status Critical

Links

Images

Landscapes

  • Investigation Of Foundation Soil And Reinforcement Of Foundation Soil By Compacting Or Drainage (AREA)

Abstract

【課題】軟弱地盤において、土砂や地下水を地上に排出させずに、短い工程で、支持力の高い良好な砕石杭を形成することができるようにすること。
【解決手段】下端に螺旋状の掘削翼2を備えた回転軸3と、その回転軸3を包囲する円筒状のケーシング4であって、その周側に長さ方向に沿った砕石投入口列9a、9bを備えたケーシング4と、ケーシング4の下端に構成した、ケーシング4と回転軸3との相対的な180度の回転で開閉する開閉手段5と、ケーシング4の上端と回転軸3の上部の対応部位との間に構成する後者から前者に回転力を伝える回転伝達手段6であって、正回転から逆回転又は逆回転から正回転に反転する際に180度分の回転軸3の空回りを経た上で回転力を伝達する回転伝達手段6と、回転軸3とケーシング4との相互の回転方向の自由な動きを許容しつつ上下方向には相互を連結する上下方向連結手段7とで構成する。
【選択図】 図1

Description

本発明は、軟弱な建築物用又は建造物用の敷地の地盤を補強する砕石杭を無排土で形成するために使用する無排土砕石杭形成用具に関する。
軟弱な地盤を補強する砕石杭の形成用の手段に関してはいくつかの提案例がある。
特許文献1は、その一例で、砕石杭形成用のアタッチメントおよびそのアタッチメントを備える砕石杭形成装置に関する。
これは、正逆回転駆動可能な回転駆動手段に接続する回転軸、その最下部に配した掘削刃を備えた螺旋部、該回転軸をその軸心に位置させて該螺旋部の直上までを包囲し、かつ該回転軸の正回転に伴って同様に正回転し、逆回転時には停止状態を維持する結合関係の円筒部からなり、該円筒部には、その長さ方向に沿って長い砕石投入孔を外周に開口し、かつ外周に正回転時に周囲の土砂を上昇させるように形成された螺旋状のフィンを備えたアタッチメントである。
従ってこの特許文献1のアタッチメントを備えた砕石杭形成装置によれば、以下のようにして補強対象の地盤に砕石杭の形成が行われる。
このアタッチメントを補強対象の地盤の所定の位置に直立させ、回転駆動手段で前記回転軸を正回転させると、その最下部の螺旋部の作用で地盤が掘削され、掘削孔を形成しながら地中に侵入し、生じた掘削土砂は、該回転軸の正回転に伴って正回転する該円筒部のフィンの作用でその外周部を通じて上昇し、地表に排出されることになる。このとき、円筒部中には前記砕石投入口を利用して予め一定量の砕石を投入しておき、下端から掘削土砂が内部に侵入しないように該砕石を詰めておく。
こうして所定の深さまで掘削孔を掘削した後、今度は、前記砕石投入孔を利用して、順次、砕石を投入しながら、前記回転軸を逆回転させ、該掘削孔に砕石を充填しかつ締め固めしながら上昇させる。このとき、円筒部は回転しないので、前記砕石投入孔は、円筒部の周方向の一定角度位置に固定され、かつ長さ方向に長いので、砕石投入手段を一定位置に固定しておいても投入を継続することができる。地表まで砕石を充填しかつ締め固めればこの作業は終了である。
以上のとおりであり、この特許文献1の技術は優れたものであるが、円筒部の下端が開口しているため、予めその中に砕石を投入し、該円筒部の下部内側に砕石を滞留させておき、掘削の際の土砂の侵入をこれによって防止するような手順を必要とする。もっともこのように掘削作業時に開口部を閉じているのはこのような滞留砕石であるから、掘削孔にかかる地下水圧を完全に抑え、地下水の浸入を確実に回避するのは困難である。また掘削作業時には掘削土砂が円筒部の周囲を通じて地表に上昇して排出される構成であるから、砕石杭を形成する作業の後に、排出された土砂を処分する必要も生じる。地下水が吹き上げてしまった場合は、その処理も必要である。
特許文献2は、同一出願人の出願にかかるものであり、特許文献1の砕石杭形成用のアタッチメントおよびそのアタッチメントを備える砕石杭形成装置に関し、全体として、特許文献1のそれを僅かに変更したものである。
変更部分は、回転軸の最下部の螺旋部である地中掘削翼に加えてこれと離間させてその若干上方に付加掘削翼を構成したこと及び地中杭形成材投入孔である長孔の形状を拘束するトラス状の補強構造体を備えたことである。
前記付加掘削翼は地中掘削翼と同一方向の螺旋翼であり、砕石を充填し締め固めする際に、砕石を投入し回転軸を逆転させると、該付加掘削翼は、投入した砕石を上方に向かって掘削し、その下方の砕石に対して予備圧力を発生させることができるとされている。それ故、地中掘削翼は、そのように予備圧力を受けている砕石に更に下方への圧力を印加することができるので、円筒内に浸入しようとする地下水圧や地中圧(土圧)に打ち勝って砕石を下方に排出することができるとされている。
これはその通りであると思われるが、逆に、掘削作業時には、地中掘削翼によって相対的に押し上げられる掘削土砂が滞留砕石に圧接し、これを押し上げようとした場合に、前記付加掘削翼はその押し上げを妨げるよりは、滞留砕石に対して下方に掘削するように作用し、該滞留砕石を押し上げるように作用することになる。それ故、掘削作業時に円筒部下端にかかる地中圧等による土砂の侵入を助長することになると思われる。
また前記のように、地中杭形成材投入孔である長孔の形状を拘束するトラス状の補強構造体を設けたことによって、その通りに円筒部が補強されると思われる。
その他は、特許文献1と同様である。
特許第4445033号公報 特開2011−6880号公報
本発明は、軟弱地盤において、土砂や地下水を地上に排出させずに、短い工程で、支持力の高い良好な砕石杭((自然の砂利等による杭も含む)を形成することができる無排土砕石杭形成用具を提供することを解決の課題とする。
本発明の1は、下端に螺旋状の掘削翼を備えた回転軸と、
前記回転軸の掘削翼より上部を包囲する円筒状のケーシングであって、周側壁に長さ方向に沿って複数の開閉自在な投入口からなる二列の砕石投入口列を形成したケーシングと、
前記ケーシングの下端を開閉する半円形で相互にその厚さ寸法だけ上方又は下方にずれて配されたケーシング側開閉板及び回転軸側開閉板からなる開閉手段であって、該ケーシング側開閉板の周端が該ケーシングの下部内周に固設され、該回転軸側開閉板の内周端が該回転軸の該当する高さ位置に固設されている開閉手段と、
前記ケーシングの上端と前記回転軸の対応部位との間に構成する後者から前者に回転力を伝える回転伝達手段であって、該回転軸の前記掘削翼に掘削動作をさせるべく掘削方向に回転させる該回転軸の掘削回転時に、前記開閉手段のケーシング側開閉板及び回転軸側で、該ケーシングの下端を閉じた状態で該回転軸からケーシングに回転力を伝達し、該回転軸に前記掘削方向の回転と逆方向の回転をさせると、その逆方向の初期の一定角度範囲の回転時には、該ケーシングにはその回転力が伝達されず、該回転軸の回転に伴って回転軸側開閉板がケーシング側開閉板に重畳するまで回転し、該一定角度範囲の回転が完了すると、この時点から該ケーシングに同方向の回転を伝える回転伝達手段と、
前記回転軸と前記ケーシングとの相互の回転方向の自由な動きは許容しつつ上下方向には相互を連結する上下方向連結手段と、
で構成した無排土砕石杭形成具である。
本発明の2は、本発明の1の無排土砕石杭形成具において、
前記ケーシングの外周に丸鋼材を断続的かつ下部ほどピッチの狭い前記掘削翼と同方向の螺旋状に配することで、断続的かつ下部ほどピッチの狭い螺旋を配したものである。
本発明の3は、本発明の1又は2の無排土砕石杭形成具において、
前記二列の砕石投入口列を、いずれも前記ケーシングの長さ方向に沿ってかつ周方向180度の角度間隔で配列構成し、更に各列の各投入口は、相互に高さ方向に交互に開口したものである。
本発明の4は、本発明の1、2又は3の無排土砕石杭形成具において、
前記回転伝達手段を、
前記ケーシングの上端にその周端を固設した円板状の下部伝達板であって、中央部に前記回転軸を回転自在に貫通させる軸孔を開口した下部伝達板と、
前記回転軸の前記下部伝達板より上方の部位に中央部を固設した円板状の上部伝達板と、
前記下部伝達板の上面の仮装円弧上に周方向180度の係止端間角度間隔で配した各々先端に該係止端を有する一対の掘削回転用の係止片であって、その係止端と反対側の端部から該係止端側に向かって高くなる傾斜上面を有する一対の掘削回転用の係止片と、
該下部伝達板の上面の他の仮装円弧上に周方向180度の係止端間角度間隔で配した各々先端に該係止端を有する一対の締め固め回転用の係止片であって、前記掘削回転用の係止片とは反対側から該係止端に向かって高くなるように構成された傾斜上面を有する一対の締め固め用の係止片と、
前記上部伝達板の前記下部伝達板における掘削回転用の係止片の仮装円弧と対応する仮装円弧上に、垂下支持片を介して、起伏回動自在に、かつ伏状態で、該掘削回転用の係止片の係止端と係止し得るとともに、周方向180度の先端間角度間隔となるように配した一対の掘削回転用の爪片であって、それらの先端が該掘削回転用の係止片の係止端に係止した状態から前記上部伝達板を逆方向に180度回転させた場合に、該掘削回転用の係止片の係止端と反対側の端部から起立回動状態になって傾斜上面に載った状態となるように構成した一対の掘削回転用の爪片と、
前記上部伝達板の前記下部伝達板における締め固め回転用の係止片の仮装円弧と対応する仮装円弧上に、前記一対の掘削回転用の爪片との間に、前記一対の掘削回転用の係止片と前記一対の締め固め用の係止片との間の位相のずれと同一の位相のずれを持たせて、垂下支持片を介して、起伏回動自在に、かつ伏状態で、該締め固め用の係止片の係止端と係止し得るとともに、周方向180度の先端間角度間隔となるように配した一対の締め固め回転用の爪片であって、それらの先端が該締め固め回転用の係止片の係止端に係止した状態から前記上部伝達板を逆方向に180度回転させた場合に、該締め固め用の係止片の係止片と反対側の端部から起立回動状態になって傾斜上面に載った状態となるように構成した一対の締め固め用の爪片と、
で構成したものである。
本発明の5は、本発明の4の無排土砕石杭形成具において、
前記上下方向連結手段を、
前記回転軸に固設した上部連結板及び下部連結板であって、前記下部伝達板の直上にスライド可能に配した上部連結板及び該下部伝達板の直下にスライド可能に配した下部連結板で構成したものである。
本発明の6は、本発明の1、2又は3の無排土砕石杭形成具において、
前記回転伝達手段を、
前記ケーシングの上端にその周端を固設した円板状の下部伝達板であって、中央部に前記回転軸を回転自在に貫通させる軸孔を開口した下部伝達板と、
前記回転軸の前記下部伝達板より上方の部位に中央部を固設した円板状の上部伝達板と、
前記下部伝達板の上面の仮装円弧上に周方向180度の中心間角度間隔で立設固定した一対の伝達下片と、
前記上部伝達板の前記下部伝達板における一対の伝達下片を配した仮装円弧と対応する仮装円弧上に、周方向180度の中心間角度間隔で垂下固定した伝達上片と、
で構成したものである。
本発明1の無排土砕石杭形成具によれば、建築用の敷地等の地盤が軟弱である場合に、これをその敷地の所定の位置に直立させ、適当な回転駆動装置を用いて若干の荷重をかけながら正回転(掘削回転)駆動することで地盤中にその回転軸の掘削翼でねじ込み掘削させ、掘削土砂を掘削孔の内周壁に押し付け密着させつつ下降させ、最終段階、すなわち、該掘削翼が設計深度に到達した段階で、該正回転駆動を停止させ、次いで、該回転駆動装置に一定角度の逆回転駆動をさせてケーシングの最下部の開閉手段を開動作させるのに前後して、該ケーシングの地上に露出している部位の投入口のうち最下部の投入口から砕石(該砕石に代わる砂利等でも良い)を投入し、その後、該回転駆動装置に逆回転駆動をさせ、該砕石を回転軸の最下部の掘削翼で掘削孔の底部に吐出下降させ、更に圧力を掛けて締め固めつつ上昇する。
その後、更に投入した砕石を前記掘削翼で掘削孔中に吐出下降させ、かつ圧力を掛けて締め固めつつ所定の高さ上昇し、ケーシングに開口した投入口のうちいずれかが地上の砕石供給手段の設置位置と一致したところで、この無排土砕石杭形成具の逆転動作を停止させ、また適量の砕石を投入する。その後、先の砕石の投入から次の砕石の投入までの工程を必要なだけ繰り返し、最後は、最後に投入した砕石を掘削孔中に吐出し、かつ締め固めを完了させることで終了となる。こうして、地下水や掘削土砂を地上に排出させることなく、砕石杭を形成し、軟弱地盤の支持力を向上させることができる。
詳細には、まず建築用の敷地等の地盤が軟弱である場合に、この無排土砕石杭形成具をその敷地の所定の位置に直立させる。ケーシングの最下部から突出垂下している掘削翼の回転軸の下端で位置決めし、続いて、アースオーガー等の回転駆動装置を用いて若干の荷重をかけながら正回転(掘削回転)駆動し、地盤中に掘削翼でねじ込み掘削させる。なお、該アースオーガー等の回転駆動装置は、この無排土砕石杭形成具の回転軸の上端にその駆動軸を結合し、例えば、適当な建設機械で支持するリーダーに昇降自在に取り付けたものである。
前記のように、回転駆動装置で回転軸を正回転駆動すると、当然、回転軸が正回転し、前記回転伝達手段の作用により、前記開閉手段のケーシング側開閉板及び回転軸側開閉板で、それぞれ前記ケーシングの下端をほぼ半分ずつ閉じた状態で(両者で全部を閉じた状態で)該回転軸からケーシングに回転力が伝達され、該回転軸と該ケーシングとが同時に正回転することとなる。
こうして前記回転軸の最下部の掘削翼が掘削回転(正回転)させられ、地盤に掘削孔を形成しながらねじ込み下降することになる。前記ケーシングも、前記のように、同時に正回転しながら同時に下降することになる。このケーシングの該回転軸との同時下降は、前記上下方向連結手段によって該ケーシングと該回転軸との間に上下方向の動きが生じないように連結されることによって確保される。また該掘削翼の掘削動作で生じた土砂は、この時、前記のように、前記開閉手段のケーシング側開閉板及び回転軸側開閉板により該ケーシングの下端が閉じた状態となっているので、該ケーシング中にその下端から侵入することはなく、その外周と前記掘削孔の内周との間に侵入することとなる。
この掘削動作の過程で、以上のように、ケーシングの外周と掘削孔の内周との間に侵入した掘削土砂は、該ケーシングの外周で、該掘削孔の内周に押圧され、該掘削孔の周囲の地盤と共に圧密されながら該掘削孔の内周に密着させられる。そのためこの無排土砕石杭形成具による掘削過程では、掘削土砂の地上への排出が行われず、かつ、以上のように、掘削孔の周囲及びその内周に密着された掘削土砂が圧密されているので、掘削孔の内周を通じての地下水の湧き出しも少なくなる。
この無排土砕石杭形成具は、このように、無排土状態で、かつ地下水の湧き出しも少ない中で掘削を継続し、掘削孔を設計深度まで形成したところで、前記回転駆動装置による正回転駆動動作を停止させ、引き続いて、該回転駆動装置を逆回転駆動し、前記回転軸を一定角度以上逆回転動作させる。前記回転伝達手段は、回転軸を正回転駆動し、ケーシングが同時に正回転している状態から、反転して該回転軸を逆回転駆動させた場合は、該回転軸が逆方向に一定角度だけ回転した後に、該ケーシングにその逆方向の回転を伝達するようになるように構成してあり、この後、該ケーシングは回転軸と同時に逆回転するようになる。なお、この逆方向の一定角度の回転は、180度又はそれに近い回転角度の回転であり、前記開閉手段の回転軸側開閉板がケーシング側開閉板に重畳する状態となって、該ケーシングの最下部の開閉手段が開くことになる。すなわち、該ケーシングの最下端のほぼ半分が開口することになる。
この後又は前記回転駆動装置による正回転駆動動作の停止時点で、ケーシングの地上に出ている部分に位置する投入口のうち、最も低い位置にある投入口から所定量の砕石(またはこれに代わる砂利等)を投入する。なお、ケーシングは、以上の場合、該当する投入口が地上に配してある砕石供給手段の位置と一致するように、回転させるべきなのは云うまでもない。また投入口の扉を開いて投入を行うべきなのは云うまでもない。
前者の場合は、この後、引き続いて該回転駆動装置に逆回転駆動をさせ、後者の場合は、その時点から該回転駆動装置を逆回転駆動させ、前記のように、開閉手段を開きかつ回転軸の逆回転駆動をケーシングに伝達可能にし、その後は、いずれも同様に、回転軸及びケーシングを逆回転動作させ、砕石の掘削孔中への充填及び締め固めを行いながら、この無排土砕石杭形成具を上昇させる。
前記のように、開閉手段はケーシングの最下部のほぼ半分だけを開くものであるが、このように開いた後は、ケーシングも回転軸と同時に逆回転動作するので、前記のように、投入口から投入した砕石は、この逆回転動作時に、掘削孔の平面視の全領域に渡って充填可能になる。すなわち、この逆回転動作に伴って、該開閉手段のほぼ半分の開口部を通じて下降する砕石は回転軸の最下部の掘削翼によってその下方に誘導され、かつ回転に伴って掘削孔の平面視の全領域に充填され、こうして該掘削翼より下方に位置するようになった砕石は、該掘削翼によって更に締め固めされることになる。
投入した砕石の全部を掘削孔に充填し、かつ掘削翼によって締め固めが終了した場合は、前記回転駆動装置の逆回転駆動動作を停止する。この場合は、その時点で地上に露出している最下部の投入口を、前記砕石供給手段の位置に一致するように位置決めをしつつ前記回転軸に加える逆回転動作を停止させる。そうした上で、該投入口から所要量の砕石を投入する。この後は、また前記回転駆動装置の逆回転駆動動作を再開し、回転軸及びケーシングにこの逆回転力を伝え、前記掘削孔への砕石の充填及びその締め固めを行いつつ、この無排土砕石杭形成具を上昇させる。この動作を掘削孔の最上部まで繰り返し、該掘削孔への砕石の充填及び締め固めが完了すれば、地盤への砕石杭の形成作業は完了である。
こうして本発明の1の無排土砕石杭形成具によれば、以上のように、掘削土砂の地上への排出や地下水の湧き出しを回避しながら、比較的簡単な手順で砕石杭を形成し、軟弱地盤の支持力を容易に向上させることができる。
本発明の2の無排土砕石杭形成具によれば、その掘削回転動作時に、ケーシングの外周に配した断続的な螺旋の作用で補助的な推進力を確保し得、掘削動作を容易に行い得ることとなる。他方、該螺旋が断続的であることにより、掘削土砂は、該ケーシングの外周と掘削孔の内周の間を通じて地上に排出されるようなことはない。該掘削土砂は該ケーシングの外周で該掘削孔の内周に押し付けられ圧密圧着されることになり、掘削作業を無排土で行うことができる。
本発明の3の無排土砕石杭形成具によれば、ケーシングにその長さ方向に沿って二列の砕石投入口列を180度の周方向の角度間隔で設け、それぞれの列の投入口を該ケーシングの長さ方向に交互に設けたため、該ケーシングの長さ方向の殆どの部位で砕石の投入が可能である。そのため、地上の比較的低い位置に砕石供給手段を配置していずれかの投入口を利用して砕石の投入を行うことが可能になる。また以上のような投入口の配置とすることにより、ケーシングの剛性の低下を比較的小さなものとすることができる。
本発明の4の無排土砕石杭形成具によれば、簡易な構成で、回転軸に加えられた正回転の回転力をケーシングに伝達し、同期して正回転させることが可能であり、その後、回転軸に逆回転の回転力が加えられた場合には、その初期には相対的に180度だけ回転軸のみが逆回転し、その後、該ケーシングにもその逆回転の回転力の伝達が行われ、該ケーシングも回転軸に同期して逆回転することができるようになっている。そのため、正回転から反転して逆回転が開始するときの初期の180度の回転時の回転軸のみの回転動作を利用して、開閉手段の開動作を行うことが可能になる。当然、回転軸が逆回転動作から正回転動作に反転する場合も、初期の180度の正回転動作は、回転軸のみが行うこととなり、その後に、前記したように、ケーシングも回転軸の正回転動作に同期して正回転動作をすることになる。そして、そのとき、その初期の180度の正回転時の回転軸のみの正回転動作を利用して、開閉手段の閉動作を行うことが可能になる。
本発明の5の無排土砕石杭形成具によれば、簡単な構成で、回転軸とケーシングとを、それら相互の相対的な回転を許容しつつ、それらの上下方向(長さ方向)には連結する構成を確保したものである。
本発明の6の無排土砕石杭形成具によれば、簡単な構成で、回転軸の正回転及び逆回転をケーシングに伝達可能であり、正逆回転の反転の際には、回転軸の空回り回転が180度を若干下回るが、それは僅かであるので、これを利用した前記開閉手段のほぼ半分の開閉に不都合は殆ど生じない。
一実施例の無排土砕石杭形成具の一部切欠概略正面図。 一実施例の無排土砕石杭形成具の下部の開閉手段が閉じている状態の縦断面図。 一実施例の無排土砕石杭形成具の下部の開閉手段が開いている状態の縦断面図。 (a)は一実施例の無排土砕石杭形成具の開閉手段の直上で断面した、該開閉手段の閉じている状態の断面平面図、(b)は該開閉手段の開いている状態の断面平面図(掘削翼は省略)。 一実施例の無排土砕石杭形成具の上部の一部断面正面図。 (a)は一実施例の回転伝達手段の正回転(掘削回転)動作時の状態を示す平面説明図、(b)は一実施例の回転伝達手段の逆回転(締め固め回転)動作時の状態を示す平面説明図。 一実施例の回転伝達手段の正回転(掘削回転)動作時の状態を示す側面部分図。 (a)は一実施例の無排土砕石杭形成具のケーシングの一部切欠正面図、(b)は他の実施例の無排土砕石杭形成具のケーシングの一部切欠正面図、(c)は(a)及び(b)のケーシングについて投入口を省略して示した一部切欠正面図(投入口がない場合の螺旋を示している)。 (a)は一実施例の無排土砕石杭形成具のケーシングの投入口付近の一部切欠拡大正面図、(b)は(a)のA−A線断面図(背後側省略)、(c)は(a)のB−B線断面図(螺旋省略)、(d)は他の実施例の投入口の開閉構造を示した拡大断面部分図、(e)はその正面図。 (a)はケーシングの一部の縦断面説明図(投入口省略)、(b)は(a)のC−C線断面説明図(螺旋省略)、(c)は回転軸の支持体の平面図。 一実施例の無排土砕石形成具を用いて砕石杭を形成する前半の工程を示したもので、(a)は掘削工程開始時の状態を示した一部切欠正面断面図、(b)は設計深度の掘削を完了した状態を示す一部切欠正面断面図、(c)は掘削孔への砕石の充填・締め固めを開始した直後の状態を示す一部切欠正面断面図。 一実施例の無排土砕石形成具を用いて砕石杭を形成する後半の工程を示したもので、(a)は掘削孔への砕石の充填・締め固め工程の終了直前の状態を示す一部切欠正面断面図、(b)は掘削孔への砕石の充填・締め固め工程の終了状態を示す一部切欠正面断面図。 (a)は他の実施例の回転伝達手段の正回転(掘削回転)動作時の状態を示す平面説明図、(b)は他の実施例の回転伝達手段の逆回転(締め固め回転)動作時の状態を示す平面説明図。 他の実施例の無排土砕石杭形成具の上部の回転伝達手段を示す一部断面正面図。
以下、発明を実施するための形態を実施例に基づき、かつ添付図を参照しつつ詳細に説明する。
まず無排土砕石杭形成具1の構成を説明し、次いでこれを用いた無排土での砕石杭の形成方法を説明する。
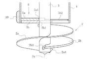
この実施例の無排土砕石杭形成具1は、図1に示すように、下端に螺旋状の掘削翼2を備えた回転軸3と、該回転軸3を包囲する円筒状のケーシング4と、該ケーシング4の下端に構成した開閉手段5と、該ケーシング4の上端と前記回転軸3の上部の対応部位との間に構成する後者から前者に回転力を伝える回転伝達手段6と、前記回転軸3と前記ケーシング4との相互の回転方向の自由な動きを許容しつつ上下方向には相互を連結する上下方向連結手段7と、で構成したものである。
前記掘削翼2は、図1〜図3に示すように、この実施例のそれは、前記回転軸3の最下部に結合した螺旋部材である。該回転軸3は、最下部の掘削翼取付用として用いる部分が上部と分離可能に構成してあり、該掘削翼2の螺旋部材は該回転軸3の最下部の掘削翼取付用として用いる部分の周囲に構成する。該掘削翼2は、回転軸3の上記部位に配した二枚の螺旋翼2a、2bからな部材である。各螺旋翼2a、2bの最下端にはそれぞれビット2a1、2b1が配してあり、これで地盤gを掘削可能にしてある。螺旋のピッチは特定のそれに限定されないが、若干狭い方が砕石sの締め固めの際に好都合であり、好ましい。この掘削翼2の外径は前記ケーシング4の外径より若干大きく構成する。該ケーシング4の外径より15〜25%程度大きな径とするのが適当である。この実施例では、ケーシング4の外径を340mmに設定し、この掘削翼2の外径は400mmとした。
なお、この実施例では、掘削翼2を二つの螺旋翼2a、2bで構成したが、これに限らず、一つの螺旋翼で構成することもできるのは云うまでもない。要するに、螺旋翼2の構成は、特定のそれに限定されない。
前記回転軸3は、最上部に連結する回転駆動装置8の発生する回転駆動力を最下部の掘削翼2に伝えて、その正回転動作によりこれに掘削動作をさせ、又はその逆回転動作によりこれに砕石sの充填及び締め固め動作をさせるための手段であり、その要求に応じ得る強度及び掘削動作を設計深度まで行いうる長さをもった円柱状の軸部材である。また上端には、図1及び図5に示すように、当然、前記回転駆動装置8が連結可能となっている。前記し、図1に示すように、上部には、前記ケーシング4との間に、回転伝達手段6及び上下方向連結手段7が配してあり、かつ下部には開閉手段5が配してある。また該回転軸の下端中央には、図1、図2及び図3に示すように、位置決め用の突起部3aが構成してある。
なお、回転軸3の前記掘削翼2取り付け用の部分とそれより上部との結合および回転駆動装置8の駆動軸と回転軸3の上端との結合は、相互の端部を各々外装する連結管等を利用して行うことができる。勿論、それ以外の種々の手段を自由に採用することができる。
前記ケーシング4は、図1〜図5及び図8(a)〜(c)に示すように、また前記したように、この実施例では、外径340mmの円筒状部材を採用した。またこのケーシング4は、図1及び図8(a)に示すように、その長さ方向に沿って定間隔で開口させた複数の投入口9ah、9ah…、9bh、9bh…からなる二列の砕石投入口列9a、9bを配してある。二列の砕石投入口列9a、9bは相互に周方向に180度の中心間角度間隔で配してあり、一方の砕石投入口列9aの投入口9ah、9ah…と、他方の砕石投入口列9bの投入口9bh、9bh…とは、各々相互に高さ方向の位置関係では一致しないように配する。例えば、相互に、一方の投入口9bh(9ah)が他方の上下隣接する二つの投入口9ah(9bh)、9ah(9bh)の中間の高さ位置に位置することとなるように配置する。
図8(b)は、ケーシング4の他の例(符号は同じそれを用いている)を示している。これは、二列の砕石投入口9a、9bの投入口9ah、9ah…、9bh、9bh…の間隔をより広くした例に関する。
なお、ケーシング4の最下部の方形開口9cはケーシング4内に配した回転軸3の最下部に掘削翼2を取り付けた分離状態の回転軸3の掘削翼取付用の部位を結合する際に利用する開口部である。この方形開口9cには、上下スライド自在なスライド扉9cdが配してある。
前記投入口9ah(9bh)には、図9(a)〜(c)に示すように、上下方向スライド自在な扉9ad(9bd)が配してある。該扉9ad(9bd)の両側には、ケーシング4の内周に固設したガイドレール9ar(9br)が配してあり、これによって該扉9ad(9bd)が上下方向スライド自在となっている。該扉9ad(9bd)の中央上部には上下スライド操作用の操作凹部9ag(9bg)が形成してあり、ケーシング4内に砕石sを投入する際は、該操作凹部9ag(9bg)を利用して該扉9ad(9bd)をスライド下降させ、該投入口9ah(9bh)を開くことができる。また投入した後は引き上げて投入口9ah(9bh)を閉じておく。また該扉9ad(9bd)は、閉じた状態でロック棒9as(9bs)を外部からロック孔に挿入することでロックし、掘削又は締め固め動作時にみだりにこの扉9ad(9bd)が開かないようにすることができる。
なお前記投入口9ah(9bh)には、以上の扉9ad(9bd)に代えて、図9(d)及び(e)に示すように、該投入口9ah(9bh)の一側、例えば、同図に示すように、右側辺にヒンジtを介してスイングドア状に開閉自在なスイング扉9asd(9bsd)を配することとすることもできる。この場合は、該スイング扉9asd(9bsd)の左辺に弾力的に変形可能な係止突部9ak(9bk)を構成し、該投入口9ah(9bh)の対応する左側辺には該係止突部9ak(9bk)を弾力的に係脱自在に係止し得る係止凹部9ahg(9bhg)を構成し、これによって該スイング扉9asd(9bsd)を開閉自在かつ閉じた状態を一定の強さで固定できるようにする。また該スイング扉9asd(9bsd)には、その正面左上部に操作凹部9asg(9bsg)を構成し、その中に縦向きの操作棒9asr(9bsr)を固設し、これを掴んで該スイング扉9asd(9bsd)を開閉操作できるようにしておくものとする。なお、以下の説明では、スイング扉9asd(9bsd)ではなく、扉9ad(9bd)が配してあるものとして説明する。
前記ケーシング4は、図1及び図8(a)〜(c)に示すように、更にその外周に断続する螺旋10が配してある。この螺旋10は丸鋼材をその外周に巻き付け固定して構成したものであり、該ケーシング4の下方のそれはピッチを狭く構成し、上方に向かって段階的に広く構成してある。螺旋10の方向は、前記掘削翼2と同一方向であり、該掘削翼2による掘削下降時に、その推進力を補助する作用を果たすことを期待するものである。もっとも、該螺旋10は、掘削土砂をこの螺旋10によって該ケーシング4の外周と掘削孔hの内周との間を通じて地上に排出しないように、前記したように、断続状態、すなわち、数カ所で切れた状態に構成してあるものである。かくして、この無排土砕石杭形成具1による掘削動作時に、掘削土砂は、地上に排出されず、該ケーシング4の外周で掘削孔hの内周に押し付けられ、圧密圧着させられることになる。
以上のように、螺旋10の構成は、この実施例の場合を示す図8(a)も、他の例を示す図8(b)の場合も同様である。投入口9ah、9ah…、9bh、9bh…の位置が異なるので、削除される位置が異なるだけである。なお、図8(c)は、ケーシング4に開口した投入口9ah、9ah…、9bh、9bh…を省略して螺旋10をそれらによる削除のない状態で描いたものである。
またケーシング4には、図10(a)〜(c)に示すように、その内周の上下方向の複数の位置に軸心に沿って配してある支持体4sで回転軸3を該軸心に維持できるように構成してある。該支持体4sは、特に図10(b)、(c)に示すように、ほぼ半ドーナツ型をなし、その半円弧状外周部でケーシング4の内周に固設し、図10(a)、(b)に示すように、内側の半円弧部で回転軸3を回転自在に支持するものである。特に、同図に示すように、段違いに配した一対の支持体4s、4sで回転軸3をケーシング4の軸芯に沿って確実に回転自在に支持するものである。
前記開閉手段5は、図1〜図4(a)、(b)に示すように、ケーシング4の下端直上の内周にその外周端を固設したケーシング側開閉板5aと、前記回転軸3の該ケーシング側開閉板5aよりその厚み分だけ低い位置にその内周を固設した回転軸側開閉板5bとで構成したものである。該ケーシング側開閉板5aは、特に図4(a)、(b)に示すように、平面視ほぼ半円形の板状部材であり、上記のように、半円弧状の外周端をケーシング4の下端直上の内周に固設したものである。またその円弧の中心を通る仮装線に沿った辺である直径辺は、その中央部に半円形に切り欠いた半円形切欠部5a1が形成してある。この半円形切欠部5a1は、この位置を通過する回転軸3との干渉を回避する趣旨のものである。
前記回転軸側開閉板5bは、特に図4(a)、(b)に示すように、平面視ほぼ半円形の板状部材であり、その半円形の円の中心を通過する仮装線より僅かに外側を通過する直径辺の中央部に半円形の膨出部を構成し、該膨出部及び本体部分中に、該半円形の円の中心を中心とする結合孔5b1を形成し、この結合孔5b1で回転軸3に外装状態に固設したものである。該回転軸側開閉板5bを該回転軸3に固設する高さ位置は、前記したように、前記ケーシング側開閉板5aの直下であり、該回転軸3を回転させると、該回転軸側開閉板5bの上面が該ケーシング側開閉板5aの下面にスライド自在に接触しうる高さである。
前記ケーシング4の下部の、該ケーシング側開閉板5aの配していない半分及びこれを僅かに越える範囲には、図1〜図4(a)、(b)に示すように、前記回転軸側開閉板5bの周端を支持するレール部5b2を構成する。このレール部5b2は、特に図2及び図3に示すように、鍔状の構成となっており、その直下に該回転軸側開閉板5bの外周端付近を摺動自在に配しつつ、上方に押し上げられないように支持するようになっている。なお、このレール部5b2の両端部はケーシング側開閉板5aに当接するまで延びている。
この開閉手段5は、後述するように、前記回転伝達手段6により、前記掘削翼2を掘削回転(正回転)させる場合は、図2及び図4(a)に示すように、前記ケーシング4の下部を閉じ、すなわち、ケーシング側開閉板5aと回転軸側開閉板5bとが重畳せず、該ケーシング4の下部開口部をほぼ半分ずつ閉じている状態となり、該掘削翼2を砕石の締め固め回転(逆回転)をさせる場合は、図3及び図4(b)に示すように、前記ケーシング4の下部を開き、すなわち、ケーシング側開閉板5aと回転軸側開閉板5bとが重畳し、該ケーシング4の下部開口部をほぼ半分だけ開いている状態となるように駆動される。
前記回転伝達手段6は、以上に述べたように、開閉手段5の開閉を行いながら回転軸3からケーシング4に回転(正回転及び逆回転)を伝達できるものであれば、特定のそれに限定されない。
この実施例では、前記回転伝達手段6は、図1、図5〜図7に示すように、前記ケーシング4の上端にそのそと周端を固設した円板状の下部伝達板6aと、該下部伝達板6aの上方で中央部を前記回転軸3に固設した上部伝達板6bと、該下部伝達板6aの上面の外周端寄りの仮想円弧上に周方向180度の係止端間角度間隔で固設した一対の掘削回転用の係止片6a1、6a1と、該下部伝達板6aの上面の内側の仮装円弧上に周方向180度の係止端間角度間隔で固設した一対の締め固め回転用の係止片6a2、6a2と、前記上部伝達板6bの前記下部伝達板6aにおける掘削回転用の係止片6a1、6a1の仮装円弧と対応する仮装円弧上に、垂下支持片6b1、6b1を介して、起伏回動自在に、かつ伏状態で、該掘削回転用の係止片6a1、6a1の係止端6a11と係止し得るとともに、周方向180度の先端間角度間隔となるように配した一対の掘削回転用の爪片6b2、6b2と、前記上部伝達板6bの前記下部伝達板6aにおける締め固め回転用の係止片6a2、6a2の仮装円弧と対応する仮装円弧上に、前記垂下支持片6b1、6b1を介して、起伏回動自在に、かつ伏状態で、該締め固め用の係止片6a2、6a2の係止端6a21と係止し得るとともに、周方向180度の先端間角度間隔となるように配した一対の締め固め回転用の爪片6b3、6b3とで構成したものである。
前記下部伝達板6aは、図5及び図6(a)、(b)に示すように、前記のように、前記ケーシング4の上端にその外周端部を固設した円板状の部材であり、その中央部には前記回転軸3を貫通させる軸孔6a3を開口してあり、この軸孔6a3を該回転軸3の上部が貫通している。該軸孔6a3は、該回転軸3の外径より僅かに大径に開口した孔であり、該回転軸3は回転自在な状態で貫通している。
前記上部伝達板6bは、図5及び図6(a)、(b)に示すように、前記下部伝達板6aの上方で中央部を前記回転軸3に固設した円板状の部材である。該上部伝達板6bはその径を該下部伝達板6aとほぼ同一に構成したものである。
前記掘削回転用の係止片6a1、6a1は、前記し、図6(a)、(b)に示すように、該下部伝達板6aの上面の外周端寄りの仮想円弧上に周方向180度の係止端間角度間隔で固設したものであり、各々、時計回り方向で見た場合に、その後端側が垂直に立ち上がる係止端6a11となっている。また該掘削回転用の係止片6a1は、図7に示すように、該係止端6a11側が高く、その反対側が低く構成され、その上面は、反対側の低い方から係止端6a11側に向かって高くなる上向き傾斜の傾斜上面となっている。
前記締め固め用の係止片6a2、6a2は、前記し、図6(a)、(b)に示すように、該下部伝達板6aの上面の前記掘削回転用の係止片6a1、6a1より内側の仮装円弧上に周方向180度の係止端角度間隔で固設したものであり、各々、反時計回り方向で見た場合に、その後端側が垂直に立ち上がる係止端6a21となっている。また該締め固め回転用の係止片6a2は、図7に示すように、該係止端6a21側が高く、その反対側が低く構成され、その上面は、反対側の低い方から係止端6a21側に向かって高くなる上向き傾斜の傾斜上面となっている。
前記掘削回転用の爪片6b2、6b2は、前記し、図1及び図5〜図7に示すように、前記上部伝達板6bの前記下部伝達板6aにおける掘削回転用の係止片6a1、6a1を配した仮装円弧に対応する仮装円弧上に、垂下支持片6b1、6b1を介して、配したものである。詳細には、該掘削回転用の爪片6b2、6b2は、特に図5及び図7に示すように、それぞれ、該上部伝達板6bの下面に固設垂下した該垂下支持片6b1、6b1の外面側に起伏回動自在に軸着したものであり、特に図7及び図6(a)、(b)に示すように、時計回りの場合に、伏状態で、該掘削回転用の係止片6a1、6a1の係止端6a11に係止し得るように配してある。
なお、該一対の掘削回転用の爪片6b2、6b2は、該垂下支持片6b1、6b1に図示しないねじりコイルバネによって先端側が下方回動(図7中反時計回り)するように付勢してあり、他方、そのねじりコイルバネの作用により、該掘削回転用の爪片6b2、6b2の先端が、前記下部伝達板6aの上面に接触するほどには下方回動せず、適切に掘削回転用の係止片6a1の係止端6a11に係止しうるように(回転軸3の正回転の場合)、該爪片6b2、6b2の下側に前記垂下支持片6b1、6b1に固設した規制片6b11が配してあるものである。この状態で、該一対の掘削回転用の爪片6b2、6b2の先端は、相互に、周方向180度の先端間角度間隔となるように配してある訳である。
また、以上のように、該一対の掘削回転用の爪片6b2、6b2を回動自在で反時計回り(図7中)に付勢してあるため、前記回転軸3を逆回転(平面視反時計回り)させて、該一対の掘削回転用の爪片6b2、6b2を下方の下部伝達板6aに対して相対的に180度逆方向に回転させると、それらの先端が、図6(a)に示す、該掘削回転用の係止片6a1、6a1の係止端6a11に係止した状態から該掘削回転用の係止片6a1、6a1の係止端6a11と反対側の端部から起立回動状態になって、図6(b)に示す、傾斜上面に載った状態となる。図7には、締め固め回転用の爪片6b3、6b3が締め固め用の係止片6a2、6a2の係止端6a21と反対側の端部から起立回動状態になって傾斜上面に載った状態が示されており、向きは反対であるが、掘削回転用の爪片6b2、6b2もこれと同様になるわけである。
前記一対の締め固め回転用の爪片6b3、6b3は、前記し、図1及び図5〜図7に示すように、前記上部伝達板6bの前記下部伝達板6aにおける締め固め回転用の係止片6a2、6a2を配した仮装円弧に対応する仮装円弧上に、垂下支持片6b1、6b1を介して、配したものである。詳細には、該締め固め回転用の爪片6b3、6b3は、特に図5及び図7に示すように、それぞれ、前記垂下支持片6b1、6b1の内面側に起伏回動自在に軸着したものであり、特に図7及び図6(a)、(b)に示すように、反時計回りの場合に、伏状態で、該締め固め回転用の係止片6a2、6a2の係止端6a21に係止し得るように配してある。
なお、該一対の締め固め回転用の爪片6b3、6b3は、該垂下支持片6b1、6b1に図示しないねじりコイルバネによって先端側が下方回動(図7中時計回り)するように付勢してあり、他方、そのねじりコイルバネの作用により、該締め固め回転用の爪片6b3、6b3の先端が、前記下部伝達板6aの上面に接触するほどには下方回動せず、適切に締め固め回転用の係止片6a2、6a2の係止端6a21に係止しうるように(回転軸3の逆回転(平面視反時計回り)の場合)、該爪片6b3、6b3の下側に前記垂下支持片6b1、6b1に固設した規制片が配してあるものである。この状態で、該一対の締め固め回転用の爪片6b3、6b3の先端は、相互に、周方向180度の先端間角度間隔となるように配してある訳である。
また、以上のように、該一対の締め固め回転用の爪片6b3、6b3を回動自在で時計回り(図7中)に付勢してあるため、前記回転軸3を回転(平面視時計回り)させて、該一対の締め固め回転用の爪片6b3、6b3を下方の下部伝達板6aに対して相対的に180度反対方向に回転させると、それらの先端が、図6(b)に示す、該締め固め回転用の係止片6a2、6a2の係止端6a21に係止した状態から該締め固め回転用の係止片6a2、6a2の係止端6a21と反対側の端部から起立回動状態になって、図6(a)及び図7に示す、傾斜上面に載った状態となる。
なお、以上の一対の掘削回転用の爪片6b2と締め固め回転用の爪片6b3とは、掘削回転用の係止片6a1と締め固め回転用の係止片6a2との間の位相のずれと同様の位相のずれを持たせて配置する。
なおまたこの回転伝達手段6は、掘削回転用の爪片6b2、6b2、掘削回転用の係止片6a1、6a1、締め固め回転用の爪片6b3、6b3及び締め固め回転用の係止片6a2、6a2の上部伝達板6b及び下部伝達板6aへの取付位置関係を、前記開閉手段5における開閉動作が以下のように行われうるように設定する。すなわち、該回転伝達手段6により、前記掘削翼2を掘削回転(正回転)させる場合は、図2及び図4(a)に示すように、前記ケーシング側開閉板5aと前記回転軸側開閉板5bとが重畳せず、該ケーシング4の下部開口部をほぼ半分ずつ閉じている状態となり、他方、該回転伝達手段6により、該掘削翼2を砕石の締め固め回転(逆回転)させる場合は、図3及び図4(b)に示すように、該ケーシング側開閉板5aと回転軸側開閉板5bとが重畳し、該ケーシング4の下部開口部を約半分だけ開いている状態となるようにする。
前記上下方向連結手段7は、図1及び図5に示すように、それぞれ前記回転軸3に固設した上部連結板7a及び下部連結板7bと前記下部伝達板6aとで構成したものである。該上部連結板7aは、同図に示すように、前記ケーシング4の上端に固設してある該下部伝達板6aの直上で回転軸3にその中央部で固設した円板状部材であり、該下部連結板7bは、同図に示すように、該下部伝達板6aの直下で回転軸3にその中央部で固設した円板状部材である。こうして回転軸3とケーシング4とは、この上下方向連結手段7の上部連結板7a及び下部連結板7bと前記下部伝達板6aとを介して周方向には相互に回転自在に、そして上下方向には連結状態に結合されるものである。なお、該下部伝達板6aは、前記したように、前記回転伝達手段6の一要素を兼ねるものでもある。
しかしてこの実施例の無排土砕石杭形成具1は、建築用の敷地等の地盤gが軟弱である場合に、以下のように使用して、その工程の実行中に、地下水や掘削土砂を地上に排出することなく、良好な砕石杭を形成し、軟弱地盤gの支持力を向上させることができる。
まず建築用の敷地等の地盤gが軟弱である場合に、図11(a)に示すように、この無排土砕石杭形成具1をその敷地の所定の位置に直立させる。このとき、位置決めは、ケーシング4の最下部から突出垂下する掘削翼2の下端中央に位置する位置決め用の突起部3aを用いて行う。また、このとき、同図に示すように、無排土砕石杭形成具1の下部側方に、その投入口9ah、9ah…、9bh、9bh…を通じての砕石sのケーシング4内への投入を行う砕石供給手段11を設置しておく。
続いて、アースオーガー等の回転駆動装置8を用いて若干の荷重をかけながら前記回転軸3を正回転(掘削回転)駆動し、地盤g中に掘削翼2でねじ込み掘削させる。
なお、該回転駆動装置8は、図1及び図5等に示すように、この無排土砕石杭形成具1の回転軸3の上端にその駆動軸を結合し、図示しない適当な建設機械で支持するリーダーに昇降自在に取り付けたものである。
前記のように、回転駆動装置8で回転軸3を正回転駆動(掘削回転駆動)すると、当然、該回転軸3が正回転する。この時点の状態、すなわち、開閉手段5の開度の状態が、例えば、図3及び図4(b)に示すように、180度分全開であれば、前記回転伝達手段6は、その掘削回転用の爪片6b2、6b2、掘削回転用の係止片6a1、6a1、締め固め用の爪片6b3、6b3、締め固め用の係止片6a2、6a2は、図6(b)の状態にあり、回転軸3に正方向180度のから周りをさせ、図6(a)の状態にして、ケーシング4にもその正方向の回転力を伝達するようにする。開閉手段5が90度分の半開であれば、回転軸3を90度の空回りをさせた上で、図6(b)の状態に導き、ケーシング4に同方向の回転力を伝えるようにする。
またこのとき、同時に、その回転軸3の該当する角度の空回り回転によって、前記開閉手段5を前記180度分の全開状態から、図2及び図4(a)に示す全閉状態に、90度分の半開状態から同様な全閉状態に、その他種々の開状態から同様な全閉状態に導く。開閉手段5が、回転軸3の正回転駆動開始時に全閉状態であれば、回転伝達手段6の掘削回転用の爪片6b2、6b2、掘削回転用の係止片6a1、6a1、締め固め用の爪片6b3、6b3、締め固め用の係止片6a2、6a2は、図6(a)の状態にあり、直ちに該回転軸3に加えられた正回転の駆動力はケーシング4にも伝達される。
こうして前記回転軸3に正回転駆動力が加えられると、その最下部の掘削翼2が掘削回転(正回転)させられ、地盤gに掘削孔hを形成しながらねじ込み下降することになる。前記ケーシング4も、前記所定のタイミングで同時に正回転するようになり、該回転軸3にはその時点から若干の下降荷重をかけるようにする。こうして前記掘削翼2により地盤gが掘削され、回転軸3とケーシング4とは同時に下降することになる。
このケーシング4の該回転軸3との同時下降は、前記上下方向連結手段7によって該ケーシング4と該回転軸3との間に上下方向の動きが生じないように連結されることによって確保される。前記一定の場合の回転軸3の空回りも、該上下方向連結手段7が該ケーシング4と該回転軸3の上下方向の連結を相互の相対的な周方向の自由な回転を許容しつつ行うものであるため確保される。
また以上の掘削下降工程では、該掘削翼2の掘削動作で生じた土砂は、このとき、前記のように、該ケーシング4の下端が前記開閉手段5のケーシング側開閉板5a及び回転軸側開閉板5bにより全閉状態となっているので、該ケーシング4中にその下端から侵入することはなく、その外周と前記掘削孔hの内周との間に侵入することとなる。
この掘削動作の過程で、以上のように、ケーシング4の外周と掘削孔hの内周との間に侵入した掘削土砂は、該ケーシング4の外周で、該掘削孔hの内周に押圧され、該掘削孔hの周囲の地盤gと共に圧密されながら該掘削孔hの内周に密着させられる。そのためこの無排土砕石杭形成具1による掘削過程では、地上への掘削土砂の排出が行われず、かつ、以上のように、掘削孔hの周囲及びその内周に密着された掘削土砂が圧密されるので、地下水の湧き出しも少なくなり、地下水が地上にあふれ出ることもない。また前記投入口9ah、9ah…、9bh、9bh…には扉9adが配してあるので、ケーシング4の周囲に侵入した土砂が該ケーシング4内に入ってしまうこともない。
なおまた、ケーシング4の外周には、掘削翼2と同方向の螺旋10が配してあるが、この螺旋10は、断続的に構成してあるため、掘削土砂を若干引き上げる作用はあるものの、地上まで引き上げることはない。それ故、地上に土砂を排出する問題は生ぜず、ケーシング4の外周でそのような土砂を掘削孔hの内周に圧密・密着させる作用を妨げることはない。他方、断続的でも、螺旋10を構成したことにより、掘削動作時には、この無排土砕石杭形成具1に補助的な下降推進力を加えることができる。
この無排土砕石杭形成具1は、このように、無排土状態で、かつ地下水の湧き出しも少ない中で掘削を継続し、図11(b)に示すように、掘削孔hを設計深度まで形成したところで、前記回転駆動装置8による正回転駆動動作を停止させ、引き続いて、該回転駆動装置8を逆回転駆動し、前記回転軸を180度以上逆回転動作させる。
このとき、前記回転伝達手段6の作用により、この逆方向回転の初期には、回転軸3のみが回転し、該回転軸3が反転初期から180度分の逆回転をしたところで、ケーシング4にも逆方向の回転力が伝達されるようになる。すなわち、該回転伝達手段6は、それまで図6(a)の状態であったものが、回転軸3の逆方向の180度分の回転で図6(b)の状態になり、ケーシング4に回転力を伝達することが可能になる。そしてこのとき、この回転軸3の逆方向の180度分の空回りにより、前記開閉手段5が、図2及び図4(a)の閉じた状態(全閉状態)から図3及び図4(b)の開いた状態(180度分の全開状態:該ケーシング4の最下端がほぼ半分開いた状態)になる。
ここでまた前記回転駆動装置8の回転駆動動作を停止させる。この停止状態で、ケーシング4の地上に露出している部分に位置する砕石投入口列9a、9bの複数の投入口9ah、9ah…、9bh、9bh…のうち、最も低い位置にある投入口9ah(9bh)から所定量の砕石sを投入する。なお、最も低い位置にある投入口9ah(9bh)が前記砕石供給手段11と高さ又はケーシング4の周方向の角度位置が一致していない場合は、必要なだけ回転させ又は引き上げながら調整し、該当する投入口9ah(9bh)の位置を該砕石供給手段11と一致させるべきなのは云うまでもない。
引き続いて、該当する投入口9ah(9bh)の扉9ad(9bd)をスライド下降させて開口し、前記砕石供給手段11から該投入口9ah(9bh)を通じてケーシング4内に所定量の砕石sを投入し、更に該扉9ad(9bd)をスライド上昇させて該投入口9ah(9bh)を閉じた上で、また前記回転駆動装置8を逆回転動作させ、回転軸3及びケーシング4に逆回転動作させ、更に該回転軸3の逆回転動作に伴う掘削翼2の逆回転動作をさせながら、この無排土砕石杭形成具1を徐々に上昇させる。
前記し、図3及び図4(b)に示すように、開閉手段5は、全開であっても、ケーシング4の最下部をほぼ半分だけを開くものであるが、このように開いた後は、ケーシング4も回転軸3と同時に逆回転動作するので、投入口9ah(9bh)から投入した砕石sは、この逆回転動作時に、掘削孔hの平面視の全領域に渡って充填可能になる。すなわち、この逆回転動作に伴って該開閉手段5のほぼ半分の開口部もまた同時に逆回転するので、該開口部を通じて下降する砕石sは、掘削孔hの平面視の全領域にわたって敷き詰められることとなり、該掘削孔hの全領域に渡って充填されることとなるものである。
こうして、図11(c)に示すように、砕石sは、開閉手段5の開口部から降下し、回転軸3の最下部の掘削翼2によってその下方に誘導され、かつ掘削孔hの全領域に充填され、更に該掘削翼2より下方に位置するようになった砕石sは、該掘削翼2によって締め固めされることになる。投入した砕石sの充填及び締め固めが終了した場合には、また回転駆動装置8の逆回転動作を停止させる。その時点で最も砕石供給手段11の近くに位置する投入口9ah(9bh)を該砕石供給手段11に一致させて停止させる。引き続いて該砕石供給手段11を用いて該投入口9ah(9bh)を通じて所定量の砕石sを投入し、その後、また回転駆動装置8を逆回転動作させつつ該無排土砕石杭形成具1を徐々に上昇させ、図12(a)に示すように、該砕石sを最下部の開閉手段5の開口部から掘削孔h中に充填し、かつ前記掘削翼2によってその締め固めを行う。
砕石sの投入から締め固め完了までのサイクルを必要なだけ、すなわち、掘削孔hの最上部まで繰り返し、図12(b)に示すように、該掘削孔hへの砕石sの充填及び締め固めが完了すれば、地盤gへの砕石杭の形成作業は完了である。
こうしてこの実施例の無排土砕石杭形成具によれば、以上のように、掘削土砂の排出や地下水の湧き出しを回避しながら、比較的簡単な手順で砕石杭を形成し、軟弱地盤gの支持力を容易に向上させることができる。
図13及び図14は、回転伝達手段の他の例を示すものである。
この回転伝達手段は、前記下部伝達板6aと、前記上部伝達板6bと、該下部伝達板6aの上面の外周近くの仮装円弧上に周方向180度の中心間角度間隔で立設固定した一対の伝達下片6ax、6axと、該上部伝達板6bの該下部伝達板6aにおける一対の伝達下片6ax、6axを配した仮装円弧と対応する仮装円弧上に、周方向180度の中心間角度間隔で垂下固定した伝達上片6by、6byとで構成したものである。これは、前記下部連結板7bと下部伝達板6aと上部伝達板6b及び伝達上片6by、6byとで上下方向連結手段を構成するものでもある。
従って回転軸3に正回転の駆動力が加えられると、該回転軸3が正回転し、上部伝達板6bも正回転する。これに伴って伝達上片6by、6byも前記仮装円弧に沿って正回転し、そのときの状態に従って、直ちに又は一定角度回転した後に、図13(a)に示すように、該伝達上片6by、6byは、伝達下片6ax、6axの一面にそれぞれ当接し、これを押して下部伝達板6aに正回転方向の回転力を伝え、これを介して、回転軸3の正回転をケーシング4に伝達できることになる。
この後、回転軸3に逆方向の回転駆動力が加えられると、上部伝達板6b及びこれに固設した伝達上片6by、6byも逆回転し、逆回転初期には180度近くの空回りの後、図13(b)に示すように、該伝達上片6by、6byは伝達下片6ax、6axの他面に当接するに至り、後者を押して下部伝達板6aに逆回転方向の回転力を伝え、これを介して、回転軸3の逆回転をケーシング4に伝達できることになる。しかしてこの状態から回転軸3を正回転させた場合は、180度近くのその空回りの後に、ケーシング4にその回転を伝達できるようになる。
開閉手段5の開閉動作は、以上の回転軸3の空回りのときに行うことができることは云うまでもない。
また上下方向連結手段としては、例えば、回転軸3を引き上げると、下部連結板7bの上面が下部伝達板6aの下面に当接して、これを引き上げることが可能になり、回転軸3を下降させると、上部伝達板6b及び伝達上片6by、6byが下部伝達板6aを押し下げるように作用することで、該回転軸3とケーシング4との回転自在な上下方向の連結を実現しているものである。
本発明の無排土砕石杭形成具は、土木工事用部材の製造業の分野及び土木工事の分野で有効に利用することができる。
1 無排土砕石杭形成具
2 掘削翼
2a、2b 螺旋翼
2a1、2b1 ビット
3 回転軸
3a 突起部
4 ケーシング
4s 支持体
5 開閉手段
5a ケーシング側開閉板
5a1 半円形切欠部
5b 回転軸側開閉板
5b1 結合孔
5b2 レール部
6 回転伝達手段
6a 下部伝達板
6a1 掘削回転用の係止片
6a11 掘削回転用の係止片の係止端
6a2 締め固め回転用の係止片
6a21 締め固め用の係止片の係止端
6a3 軸孔
6ax 伝達下片
6b 上部伝達板
6b1 垂下支持片
6b11 規制片
6b2 掘削回転用の爪片
6b3 締め固め回転用の爪片
6by 伝達上片
7 上下方向連結手段
7a 上部連結板
7b 下部連結板
8 回転駆動装置
9a 砕石投入口列
9ad 扉
9ag 操作凹部
9ah 投入口
9ar ガイドレール
9as ロック棒
9b 砕石投入口列
9bd 扉
9bg 操作凹部
9bh 投入口
9br ガイドレール
9bs ロック棒
9c 方形開口
9cd スライド扉
10 螺旋
11 砕石供給手段
9asd(9bsd) スイング扉
9ak(9bk) 係止突部
9ahg(9bhg) 係止凹部
9asg(9bsg) 操作凹部
9asr(9bsr) 操作棒
g 地盤
h 掘削孔
s 砕石
t ヒンジ

Claims (6)

  1. 下端に螺旋状の掘削翼を備えた回転軸と、
    前記回転軸の掘削翼より上部を包囲する円筒状のケーシングであって、周側壁に長さ方向に沿って複数の開閉自在な投入口からなる二列の砕石投入口列を形成したケーシングと、
    前記ケーシングの下端を開閉する半円形で相互にその厚さ寸法だけ上方又は下方にずれて配されたケーシング側開閉板及び回転軸側開閉板からなる開閉手段であって、該ケーシング側開閉板の周端が該ケーシングの下部内周に固設され、該回転軸側開閉板の内周端が該回転軸の該当する高さ位置に固設されている開閉手段と、
    前記ケーシングの上端と前記回転軸の対応部位との間に構成する後者から前者に回転力を伝える回転伝達手段であって、該回転軸の前記掘削翼に掘削動作をさせるべく掘削方向に回転させる該回転軸の掘削回転時に、前記開閉手段のケーシング側開閉板及び回転軸側で、該ケーシングの下端を閉じた状態で該回転軸からケーシングに回転力を伝達し、該回転軸に前記掘削方向の回転と逆方向の回転をさせると、その逆方向の初期の一定角度範囲の回転時には、該ケーシングにはその回転力が伝達されず、該回転軸の回転に伴って回転軸側開閉板がケーシング側開閉板に重畳するまで回転し、該一定角度範囲の回転が完了すると、この時点から該ケーシングに同方向の回転を伝える回転伝達手段と、
    前記回転軸と前記ケーシングとの相互の回転方向の自由な動きは許容しつつ上下方向には相互を連結する上下方向連結手段と、
    で構成した無排土砕石杭形成具。
  2. 前記ケーシングの外周に丸鋼材を断続的かつ下部ほどピッチの狭い前記掘削翼と同方向の螺旋状に配することで、断続的かつ下部ほどピッチの狭い螺旋を配した請求項1の無排土砕石杭形成具。
  3. 前記二列の砕石投入口列を、いずれも前記ケーシングの長さ方向に沿ってかつ周方向180度の角度間隔で配列構成し、更に各列の各投入口は、相互に高さ方向に交互に開口した請求項1又は2の無排土砕石杭形成具。
  4. 前記回転伝達手段を、
    前記ケーシングの上端にその周端を固設した円板状の下部伝達板であって、中央部に前記回転軸を回転自在に貫通させる軸孔を開口した下部伝達板と、
    前記回転軸の前記下部伝達板より上方の部位に中央部を固設した円板状の上部伝達板と、
    前記下部伝達板の上面の仮装円弧上に周方向180度の係止端間角度間隔で配した各々先端に該係止端を有する一対の掘削回転用の係止片であって、その係止端と反対側の端部から該係止端側に向かって高くなる傾斜上面を有する一対の掘削回転用の係止片と、
    該下部伝達板の上面の他の仮装円弧上に周方向180度の係止端間角度間隔で配した各々先端に該係止端を有する一対の締め固め回転用の係止片であって、前記掘削回転用の係止片とは反対側から該係止端に向かって高くなるように構成された傾斜上面を有する一対の締め固め用の係止片と、
    前記上部伝達板の前記下部伝達板における掘削回転用の係止片の仮装円弧と対応する仮装円弧上に、垂下支持片を介して、起伏回動自在に、かつ伏状態で、該掘削回転用の係止片の係止端と係止し得るとともに、周方向180度の先端間角度間隔となるように配した一対の掘削回転用の爪片であって、それらの先端が該掘削回転用の係止片の係止端に係止した状態から前記上部伝達板を逆方向に180度回転させた場合に、該掘削回転用の係止片の係止端と反対側の端部から起立回動状態になって傾斜上面に載った状態となるように構成した一対の掘削回転用の爪片と、
    前記上部伝達板の前記下部伝達板における締め固め回転用の係止片の仮装円弧と対応する仮装円弧上に、前記一対の掘削回転用の爪片との間に、前記一対の掘削回転用の係止片と前記一対の締め固め用の係止片との間の位相のずれと同一の位相のずれを持たせて、垂下支持片を介して、起伏回動自在に、かつ伏状態で、該締め固め用の係止片の係止端と係止し得るとともに、周方向180度の先端間角度間隔となるように配した一対の締め固め回転用の爪片であって、それらの先端が該締め固め回転用の係止片の係止端に係止した状態から前記上部伝達板を逆方向に180度回転させた場合に、該締め固め用の係止片の係止片と反対側の端部から起立回動状態になって傾斜上面に載った状態となるように構成した一対の締め固め用の爪片と、
    で構成した請求項1、2又は3の無排土砕石杭形成具。
  5. 前記上下方向連結手段を、
    前記回転軸に固設した上部連結板及び下部連結板であって、前記下部伝達板の直上にスライド可能に配した上部連結板及び該下部伝達板の直下にスライド可能に配した下部連結板で構成した請求項4の無排土砕石杭形成具。
  6. 前記回転伝達手段を、
    前記ケーシングの上端にその周端を固設した円板状の下部伝達板であって、中央部に前記回転軸を回転自在に貫通させる軸孔を開口した下部伝達板と、
    前記回転軸の前記下部伝達板より上方の部位に中央部を固設した円板状の上部伝達板と、
    前記下部伝達板の上面の仮装円弧上に周方向180度の中心間角度間隔で立設固定した一対の伝達下片と、
    前記上部伝達板の前記下部伝達板における一対の伝達下片を配した仮装円弧と対応する仮装円弧上に、周方向180度の中心間角度間隔で垂下固定した伝達上片と、
    で構成した請求項1、2又は3の無排土砕石杭形成具。
JP2011106919A 2011-05-12 2011-05-12 無排土砕石杭形成用具 Expired - Fee Related JP4849580B1 (ja)

Priority Applications (1)

Application Number Priority Date Filing Date Title
JP2011106919A JP4849580B1 (ja) 2011-05-12 2011-05-12 無排土砕石杭形成用具

Applications Claiming Priority (1)

Application Number Priority Date Filing Date Title
JP2011106919A JP4849580B1 (ja) 2011-05-12 2011-05-12 無排土砕石杭形成用具

Publications (2)

Publication Number Publication Date
JP4849580B1 true JP4849580B1 (ja) 2012-01-11
JP2012237141A JP2012237141A (ja) 2012-12-06

Family

ID=45540466

Family Applications (1)

Application Number Title Priority Date Filing Date
JP2011106919A Expired - Fee Related JP4849580B1 (ja) 2011-05-12 2011-05-12 無排土砕石杭形成用具

Country Status (1)

Country Link
JP (1) JP4849580B1 (ja)

Cited By (1)

* Cited by examiner, † Cited by third party
Publication number Priority date Publication date Assignee Title
JP5027958B1 (ja) * 2012-03-29 2012-09-19 八重樫 輝一 砕石杭形成工法及びこれに用いる砕石杭形成装置

Families Citing this family (7)

* Cited by examiner, † Cited by third party
Publication number Priority date Publication date Assignee Title
JP6915800B2 (ja) * 2017-03-29 2021-08-04 国立大学法人三重大学 砕石構造体の構築方法及び砕石構造体
JP7138862B2 (ja) * 2018-11-07 2022-09-20 株式会社熊谷組 地盤改良装置および地盤改良工法
JP7527637B2 (ja) * 2020-11-30 2024-08-05 株式会社 尾鍋組 砕石杭形成用アタッチメント及びそれを備える砕石杭形成装置
JP7164746B1 (ja) 2022-06-09 2022-11-01 株式会社不動テトラ 砂杭造成用施工装置
JP7164748B1 (ja) 2022-06-09 2022-11-01 株式会社不動テトラ 砂杭造成用ケーシング
JP7248855B1 (ja) 2022-06-09 2023-03-29 株式会社不動テトラ 砂杭造成用施工装置
JP2024012939A (ja) * 2022-07-19 2024-01-31 株式会社 尾鍋組 砕石杭形成用アタッチメント及びそれを備える砕石杭形成装置

Citations (5)

* Cited by examiner, † Cited by third party
Publication number Priority date Publication date Assignee Title
JPS5131010A (ja) * 1974-09-09 1976-03-16 Obayashi Constr Co Ltd Kaiteichibannokairyokoho oyobi sonosochi
JPS5325011A (en) * 1976-08-19 1978-03-08 Matsupu Kougiyou Kk Apparatus for improving subsoil
JP2009062762A (ja) * 2007-09-07 2009-03-26 Onabegumi:Kk 地盤改良用ドレーン杭の埋設装置とその使用による埋設工法
JP4445033B1 (ja) * 2008-09-09 2010-04-07 国立大学法人三重大学 砕石杭形成用のアタッチメントおよびそのアタッチメントを備える砕石杭形成装置
JP2011006880A (ja) * 2009-06-24 2011-01-13 Mie Univ 地中杭形成ヘッドおよびその地中杭形成ヘッドを備える砕石杭形成装置用アタッチメント

Patent Citations (5)

* Cited by examiner, † Cited by third party
Publication number Priority date Publication date Assignee Title
JPS5131010A (ja) * 1974-09-09 1976-03-16 Obayashi Constr Co Ltd Kaiteichibannokairyokoho oyobi sonosochi
JPS5325011A (en) * 1976-08-19 1978-03-08 Matsupu Kougiyou Kk Apparatus for improving subsoil
JP2009062762A (ja) * 2007-09-07 2009-03-26 Onabegumi:Kk 地盤改良用ドレーン杭の埋設装置とその使用による埋設工法
JP4445033B1 (ja) * 2008-09-09 2010-04-07 国立大学法人三重大学 砕石杭形成用のアタッチメントおよびそのアタッチメントを備える砕石杭形成装置
JP2011006880A (ja) * 2009-06-24 2011-01-13 Mie Univ 地中杭形成ヘッドおよびその地中杭形成ヘッドを備える砕石杭形成装置用アタッチメント

Cited By (1)

* Cited by examiner, † Cited by third party
Publication number Priority date Publication date Assignee Title
JP5027958B1 (ja) * 2012-03-29 2012-09-19 八重樫 輝一 砕石杭形成工法及びこれに用いる砕石杭形成装置

Also Published As

Publication number Publication date
JP2012237141A (ja) 2012-12-06

Similar Documents

Publication Publication Date Title
JP4849580B1 (ja) 無排土砕石杭形成用具
JP3468724B2 (ja) コンクリート杭の打設方法とその装置並びに拡大ヘッド
JP2002155530A (ja) 既製杭の埋設方法及び先端金具
GB2154630A (en) Construction method for foundation piling
KR100255423B1 (ko) 기초공사용 파일 시공장치 및 그 시공법
JP2007297859A (ja) 穴あけ具
CN104453720A (zh) 两段式旋挖扩底钻头
CN217439973U (zh) 一种用于复杂地质桩基成孔施工的设备
JP7104870B1 (ja) 地盤改良工法及び地盤改良用掘削装置
KR101363625B1 (ko) 지하천공기
KR102595736B1 (ko) 확공을 이용한 헬리컬 파일의 시공 방법
JP2000008763A (ja) 深礎掘削機および深礎掘削工法
JP2022095043A (ja) 砂地盤改良工法及び地盤改良用掘削装置
JP6729902B1 (ja) ソイルセメント連続壁の施工法
GB2137678A (en) Method and apparatus for pile construction
RU2263787C1 (ru) Способ вскрытия и ремонта тоннеля глубокого заложения
KR101299643B1 (ko) 기초공사용 파일공 천공장치
JP2897870B2 (ja) 掘削装置及び中掘り工法
JPH0448898B2 (ja)
JP2969371B2 (ja) 函型トンネル掘削工法及び掘削装置
CN215857677U (zh) 一种锚孔注浆堵水装置
KR0134073B1 (ko) 지반굴착기를 이용한 무진동 파일 매설장치 및 방법
JP3443590B2 (ja) ソイル柱施工装置およびソイル柱を施工するための方法
JP2004036157A (ja) 杭の施工方法およびそれに用いる杭頭部伸縮回転装置
JP3515991B2 (ja) ソイル柱施工装置

Legal Events

Date Code Title Description
TRDD Decision of grant or rejection written
A01 Written decision to grant a patent or to grant a registration (utility model)

Free format text: JAPANESE INTERMEDIATE CODE: A01

Effective date: 20111012

A01 Written decision to grant a patent or to grant a registration (utility model)

Free format text: JAPANESE INTERMEDIATE CODE: A01

A61 First payment of annual fees (during grant procedure)

Free format text: JAPANESE INTERMEDIATE CODE: A61

Effective date: 20111013

R150 Certificate of patent or registration of utility model

Ref document number: 4849580

Country of ref document: JP

Free format text: JAPANESE INTERMEDIATE CODE: R150

Free format text: JAPANESE INTERMEDIATE CODE: R150

FPAY Renewal fee payment (event date is renewal date of database)

Free format text: PAYMENT UNTIL: 20141028

Year of fee payment: 3

R250 Receipt of annual fees

Free format text: JAPANESE INTERMEDIATE CODE: R250

R250 Receipt of annual fees

Free format text: JAPANESE INTERMEDIATE CODE: R250

R250 Receipt of annual fees

Free format text: JAPANESE INTERMEDIATE CODE: R250

S201 Request for registration of exclusive licence

Free format text: JAPANESE INTERMEDIATE CODE: R314201

R350 Written notification of registration of transfer

Free format text: JAPANESE INTERMEDIATE CODE: R350

R250 Receipt of annual fees

Free format text: JAPANESE INTERMEDIATE CODE: R250

S804 Written request for registration of cancellation of exclusive licence

Free format text: JAPANESE INTERMEDIATE CODE: R314805

R350 Written notification of registration of transfer

Free format text: JAPANESE INTERMEDIATE CODE: R350

R250 Receipt of annual fees

Free format text: JAPANESE INTERMEDIATE CODE: R250

R250 Receipt of annual fees

Free format text: JAPANESE INTERMEDIATE CODE: R250

S111 Request for change of ownership or part of ownership

Free format text: JAPANESE INTERMEDIATE CODE: R313113

R350 Written notification of registration of transfer

Free format text: JAPANESE INTERMEDIATE CODE: R350

S111 Request for change of ownership or part of ownership

Free format text: JAPANESE INTERMEDIATE CODE: R313113

R350 Written notification of registration of transfer

Free format text: JAPANESE INTERMEDIATE CODE: R350

LAPS Cancellation because of no payment of annual fees