JP4842016B2 - パンツ型使い捨ておむつの製造方法 - Google Patents

パンツ型使い捨ておむつの製造方法 Download PDF

Info

Publication number
JP4842016B2
JP4842016B2 JP2006149227A JP2006149227A JP4842016B2 JP 4842016 B2 JP4842016 B2 JP 4842016B2 JP 2006149227 A JP2006149227 A JP 2006149227A JP 2006149227 A JP2006149227 A JP 2006149227A JP 4842016 B2 JP4842016 B2 JP 4842016B2
Authority
JP
Japan
Prior art keywords
pants
side edge
diaper
notch
type disposable
Prior art date
Legal status (The legal status is an assumption and is not a legal conclusion. Google has not performed a legal analysis and makes no representation as to the accuracy of the status listed.)
Expired - Fee Related
Application number
JP2006149227A
Other languages
English (en)
Other versions
JP2007319177A (ja
Inventor
勝彦 杉山
智次 三好
健 新見
和泉 田代
香保里 鈴木
Current Assignee (The listed assignees may be inaccurate. Google has not performed a legal analysis and makes no representation or warranty as to the accuracy of the list.)
New Oji Paper Co Ltd
Oji Nepia Co Ltd
Oji Holdings Corp
Original Assignee
Oji Nepia Co Ltd
Oji Holdings Corp
Oji Paper Co Ltd
Priority date (The priority date is an assumption and is not a legal conclusion. Google has not performed a legal analysis and makes no representation as to the accuracy of the date listed.)
Filing date
Publication date
Application filed by Oji Nepia Co Ltd, Oji Holdings Corp, Oji Paper Co Ltd filed Critical Oji Nepia Co Ltd
Priority to JP2006149227A priority Critical patent/JP4842016B2/ja
Publication of JP2007319177A publication Critical patent/JP2007319177A/ja
Application granted granted Critical
Publication of JP4842016B2 publication Critical patent/JP4842016B2/ja
Expired - Fee Related legal-status Critical Current
Anticipated expiration legal-status Critical

Links

Images

Landscapes

  • Absorbent Articles And Supports Therefor (AREA)

Description

本発明は、パンツ型使い捨ておむつの製造方法に関するものである。さらに詳しくは、本発明は、おむつ着用時に胴周り部の蒸れを防止し、使用後のおむつを着用者から外す際に容易に外すことができるパンツ型使い捨ておむつの製造方法に関するものである。
一般に、パンツ型使い捨ておむつは、液透過性のトップシートと、液不透過性のバックシートと、これら両シートの間に配置された吸収体とを具備するおむつ本体からなり、おむつ本体の前後身頃の相対する両側縁を接合して、ウエスト周り開口部と一対の脚周り開口部を形成し、さらに、各開口部に沿って伸縮弾性部材を配置して形成されている。そして、用途に応じて好適に使用できるように様々な形態のものが提案されており、乳幼児を始めとして成人失禁者まで広く使用されている。
このようなパンツ型使い捨ておむつは、ウエスト周り部と脚周り部のフィット性を高めて漏れ防止効果の向上が図られているが、おむつのウエスト周りや脚周りの大きさより着用者のウエスト周りや脚周りが小さい場合にはその部分におむつが十分にフィットしないため、その部分から漏れが生じるという問題点を有している。
上記のような問題点を改善するために、ウエスト周り開口部と脚周り開口部に沿って止着テープを配置し、止着テープで各開口部を締め付けるようにしたパンツ型使い捨ておむつ(特許文献1)、ウエスト周り開口部に沿って止着テープを取付け、止着テープでウエスト周りを開口部を締め付けるようにしたパンツ型使い捨ておむつ(特許文献2)、両側縁の胴周り部に締結片を取付け、締結片で胴周り部を締め付けるようにしたパンツ型使い捨ておむつ(特許文献3、特許文献4)等が開示されている。
しかしながら、上記従来のパンツ型使い捨ておむつは、いずれも、ウエスト周り部と脚周り部のフィット性を高めて漏れ防止効果の向上を図っているため、着用者の胴周り部を必要以上に覆う構造になっており、そのため着用者の胴周り部から脚周り部にかけての部分が蒸れ易くなるという問題点を有している。
さらに、パンツ型使い捨ておむつは、使用後のおむつを着用者から取り外す場合には前後身頃を接合している側縁部の接合部を手で引裂いて外すことになるが、上記従来のパンツ型使い捨ておむつは、側縁部の接合状態によっては手で引裂き難い場合があり、引裂く際に余分な力が加わっておむつから排泄物が外へ飛出してしまい、着用者の衣類や肌を汚してしまうという問題点を有している。
実開平5−39531号公報 特表平10−503096号公報 特開平5−317356号公報 特表2003−533247号公報
本発明は、上記従来のパンツ型使い捨ておむつの有する問題点を克服し、おむつ着用時に胴周り部の蒸れを防止して良好な着用感が得られ、使用後のおむつを着用者から外す際にも前後身頃の側縁部の接合部を容易に引裂くことができるパンツ型使い捨ておむつをすでに特許出願しているが、本発明は、そのような着用感に優れ、着脱の操作性にも優れている特殊な構造のパンツ型使い捨ておむつの効率的な製造方法を提供することを目的とするものである。
上記従来のパンツ型使い捨ておむつの有する問題点を解決するための本発明は、以下の各発明から選択される。なお、以下の文中における各符号は添付図面の図1〜9に各部位又は部材を示す符号として使用されているものを、同じ部位又は部材について参考として付与したものである。
(1)液透過性のトップシートと、液不透過性のバックシートと、これら両シートの間に配置された吸収体とを有する吸収性本体が、連続シート部材Sに所定間隔で配置固定されており、各吸収性本体間の中間領域にはパンツ型おむつの脚開口部を形成する空所部(L)と、該空所部を挟んで吸収性本体間に平行に跨る帯状の連続シート部材S部分からなる2本の側縁連結部(3a,3b)を有しており、かつ、該2本の側縁連結部の一方(3a)における流れ方向中間部には略円形状又は略矩形状の切り欠き部が形成されている連続するパンツ型おむつ形成部材Aを形成し、連続的に送給する工程、
連続的に送給されるパンツ型おむつ形成部材Aを流れ方向に対して直角方向に2つ折りする折り重ね工程、
隣接する吸収性本体間で重ね合わされている両側縁連結部を、前記切り欠き部の中心部を通って流れ方向に対して直角方向に延びる帯状接合帯域を形成するように接合する工程、
該帯状接合帯域内の中間部を切断するパンツ型おむつ単体の切離し工程、
を有することを特徴とするパンツ型使い捨ておむつの製造方法。
(2)液透過性のトップシートと、液不透過性のバックシートと、これら両シートの間に配置された吸収体とを有する吸収性本体(2)が、互いに離間して平行状態で送られる2本の連続シート部材(S,S)に所定間隔で配置固定されており、各吸収性本体(2)間の中間領域にはパンツ型おむつの脚開口部を形成する空所部(L)と、該空所部(L)を挟んで吸収性本体間に平行に跨る帯状の連続シート部材(S、S)部分からなる2本の側縁連結部(3a,3b)を有しており、かつ、該2本の側縁連結部の一方(3a)における流れ方向中間部には略円形状又は略矩形状の切り欠き部(12)が形成されている連続するパンツ型おむつ形成部材(A)を形成し、連続的に送給する工程、
連続的に送給されるパンツ型おむつ形成部材(A)を流れ方向に対して直角方向に2つ折りする折り重ね工程、
隣接する吸収性本体間で重ね合わされている両側縁連結部(3a,3b)を、前記切り欠き部(12)の中心部を通って流れ方向に対して直角方向に延びる帯状接合帯域(7、14)を形成するように接合する工程、
該帯状接合帯域内の中間部を切断するパンツ型おむつ単体の切離し工程、
を有することを特徴とするパンツ型使い捨ておむつの製造方法。
(3)液透過性のトップシートと、液不透過性のバックシートと、これら両シートの間に配置された吸収体とを有する吸収性本体(2)が、該吸収性本体(2)全体を覆う幅を有する連続シート部材(S)内に所定間隔で配置固定されており、各吸収性本体(2)間の中間領域には該領域を刳り抜いた箇所からなるパンツ型おむつの脚開口部を形成する空所部(L)と、該空所部を挟んで吸収性本体間に平行に跨る帯状の連続シート部材(S)部分からなる2本の側縁連結部(3a,3b)を有しており、かつ、該2本の側縁連結部の一方(3a)における流れ方向中間部には略円形状又は略矩形状の切り欠き部(12)が形成されている連続するパンツ型おむつ形成部材(A)を形成し、連続的に送給する工程、
連続的に送給されるパンツ型おむつ形成部材(A)を流れ方向に対して直角方向に2つ折りする折り重ね工程、
隣接する吸収性本体(2)間で重ね合わされている両側縁連結部(3a,3b)を、前記切り欠き部(12)の中心部を通って流れ方向に対して直角方向に延びる帯状接合帯域(7、14)を形成するように接合する工程、
該帯状接合帯域(7,14)内の中間部)を切断するパンツ型おむつ単体の切離し工程、
を有することを特徴とするパンツ型使い捨ておむつの製造方法。
(4)前記折り重ね工程に続く工程として、
パンツ型おむつ形成部材(A)の流れ方向に対して平行に、前記一方の側縁連結部(3a)内に形成されている切り欠き部(12)を跨いで両端部に止着部(15)を有する止着テープ部材(13)を該一方の側縁連結部(3a)の外面に仮着して配置する止着テープ仮着工程を有しており、
前記接合工程では、吸収性本体(2)間で重なり合っている両側縁連結部(3a,3b)どうしが、前記切り欠き部(12)の中心部を通って流れ方向に対して直角方向に延びる帯状接合帯域(7,14)を形成することによって接合されると同時に、該切り欠き部(12)を跨いで仮着されている止着テープ部材(13)の長手方向中間部も対面している他方の側縁連結部(3b)の内面に接合され、
前記切離し工程では、前記帯状接合帯域(7,14)の中心部がその長手方向に切断されて、パンツ型おむつ単体(1)が切り離されることを特徴とする(1)項〜(3)項のいずれか1項に記載のパンツ型使い捨ておむつの製造方法。
(5)前記切り欠き部(12)の中心部を通って流れ方向に対して直角方向に延びる帯状接合帯域(7,14)が、所定幅の帯状の非接合帯域(7’、14’)を挟んで平行配置されている2本の帯状接合帯域からなり、前記切り離し工程では、上記所定幅の帯状の非接合帯域の中心部が長手方向に切断されることを特徴とする(1)項〜(4)項のいずれか1項に記載のパンツ型使い捨ておむつの製造方法。
(6)前記切り欠き部を跨いで仮着されている止着テープ部材は、熱融着、圧着及び軽接着のいずれかの手段によって仮着されていることを特徴とする(4)項又は(5)項に記載のパンツ型使い捨ておむつの製造方法。
(7)前記止着テープ仮着工程の前のいずれかの工程間の工程として、前記一方の側縁連結部外面における隣接する各切り欠き部間の位置に、止着テープ部材の止着部に対するターゲットシート部材を配置固定するターゲットテープ配置工程を有することを特徴とする(4)項〜(6)項のいずれか1項に記載のパンツ型使い捨ておむつの製造方法。
(8)前記止着テープ部材は、前記切り欠き部の流れ方向に垂直方向の幅よりも小さい幅のテープ部材であることを特徴とする(4)項〜(7)項のいずれか1項に記載のパンツ型使い捨ておむつの製造方法。
(9)前記止着テープ部材は、粘着剤塗布部又は機械的ファスナーのフック部材を止着部とすることを特徴とする(4)項〜(8)項のいずれか1項に記載のパンツ型使い捨ておむつの製造方法。
(10)前記止着テープ部材は、少なくとも一部に伸縮弾性部材が配置されている伸縮性部材よりなることを特徴とする(4)項〜(9)項のいずれか1項に記載のパンツ型使い捨ておむつの製造方法。
(11)前記止着テープ仮着工程の前のいずれかの工程間の工程として、前記一方の側縁連結部に形成されている切り欠き部と相対する他方の側縁連結部の内外面のいずれかの面に、前記止着テープ部材の固定端部を形成する接合部を補強する補強シート部材を固定配置する補強シート配置工程を有することを特徴とする(4)項〜(10)項のいずれか1項に記載のパンツ型使い捨ておむつの製造方法。
(12)前記吸収性本体は、両側縁部に防漏性立体ギャザーを有する吸収性本体であることを特徴とする(1)項〜(11)項のいずれか1項に記載のパンツ型使い捨ておむつの製造方法。
本発明のパンツ型使い捨ておむつの製造方法によれば、前身頃と後身頃の相対する長手方向両側縁部を接合して形成されているパンツ型おむつの一方の身頃側の側縁部には、少なくとも1箇所に切り欠き部が形成され、切り欠き部が形成された部位でおむつの内側と外側が連通している状態になっていて優れた蒸れ防止効果を有するパンツ型使い捨ておむつを効率よく製造することができる。
また、本発明の方法によれば、切り欠き部が形成された側縁部において、前身頃と後身頃のうちの一方の身頃に、他方の身頃と着脱可能な止着手段を有する止着テープを取り付けるために工夫された効率的な手段を採択した工程を設けることにより、切り欠き部が形成された部位を止着テープで締め付けてフィット性を良好にすることが可能で、かつ、優れた蒸れ防止効果をも有しているパンツ型使い捨ておむつをトラブルなく製造することが可能である。
本発明の方法に従って製造されるパンツ型使い捨ておむつは、切り欠き部が形成された部位で通気性が良好となり、おむつ着用時に腰周り部の蒸れが防止されるのみならず、使用後のおむつを接合部で引裂いて着用者から外す場合、切り欠き部があるためにおむつ側縁部の接合部の長さが短くなっていて引裂き易いものである。
本発明のパンツ型使い捨ておむつの製造方法は、液透過性のトップシートと、液不透過性のバックシートと、これら両シートの間に配置された吸収体とを有する吸収性本体と、吸収性本体の前身頃と後身頃に配置され、吸収性本体の両側縁部から外側へ延出する長さを有する帯状の側縁連結部とからなり、おむつ長手方向に沿って相対する両側縁連結部を接合してパンツ型に形成した、いわゆる2ピース型のパンツ型使い捨ておむつの製造方法であって、前記接合されている両側縁連結部の少なくとも一方の身頃側におむつの内外を連通している切り欠き部を有しているタイプのパンツ型使い捨ておむつを連続的に製造するための方法である。
また、吸収性本体全体を覆って該吸収性本体を着用者に押し当てる外装部材を形成する帯状のシート体内に所定間隔で配置固定されている吸収性本体の股下部の両側縁部におけるシート体部分を切り欠いて脚開口部となる空所部を形成し、吸収性本体の前後身頃の両側縁部から流れ方向に延出しているシート体の部分からなる2本の側縁連結部を接合し、該接合部の中間を切離して形成されるパンツ型使い捨ておむつの製造方法も本発明の範囲に包含される。
以下、図面を参照して、本発明のパンツ型使い捨ておむつとその製造工程を詳細に説明するが、勿論、本発明は以下に示す具体的な製造例によって何ら限定されるものではない。
図1は、前身頃4と後身頃5の両側縁部の接合部7における前身頃4の側縁部におむつ内外を連通する切り欠き部12を有する図2に示されるパンツ型使い捨ておむつ1を製造する方法を実施することができる連続工程を例として示す図である。
図1において、符号100は、連続するパンツ型おむつ形成部材Aを形成し、次工程に送り出す工程を示し、符号200は、パンツ型使い捨ておむつ形成部材を流れ方向に対して直角方向に2つ折りして吸収性本体どうし及び平行する側縁連結部材3どうしを重ね合わせる折り重ね工程を示し、符号300は、吸収性本体間に位置する連結部材3の部分からなる前身頃側の帯状の側縁連結部材3a内に形成されている切り欠き部12部分に止着テープ部材13を仮着する止着テープ仮着工程を示し、符号400は、吸収性本体間の中間部で止着テープを含んで重ね合わされている帯状の側縁連結部材部3a,3bどうしを接合して帯状の接合帯域14を形成する接合工程を示し、符号500は、前工程400で形成された帯状の接合帯域7、14の中間部を切断してパンツ型おむつ単体を切離す切断工程を示している。
連続するパンツ型おむつ形成部材Aを形成する工程100では、平行状態で供給される2本の帯状の連続シート部材S1、S2間に跨って所定間隔で吸収性本体2を配置し、所定間隔で配置されている吸収性本体2間に位置するシート部材S1の部分からなる前身頃側の側縁連結部3aの中間部に切り欠き部12が形成される。この前身頃側の側縁連結部3aに形成される切り欠き部12は、シート部材S1に吸収性本体2が所定間隔で配置される前に予めシート部材S1における側縁連結部3aとなる予定箇所に設けてもよく、また、吸収性本体2を配置した後にそれらの中間部を切り欠いて設けてもよい。
また、同じく吸収性本体2間に位置するシート部材S2の部分からなる後身頃側の側縁連結部3bの中間部にはパンツ型使い捨ておむつの側縁接合部を強化するための補強シート17が配置される。
この後身頃側の側縁連結部3bに形成される補強シート17も、シート部材Sに吸収性本体2が所定間隔で配置される前に予めシート部材Sに所定間隔で設けてもよく、また、吸収性本体2を配置した後にそれらの中間部に接着することによって設けてもよい。補強シートは、場合によっては、後続する折り重ね工程で折り重ねられた後の後身頃外面に接着固定することによって設けることもできる。
上記のように形成された連続するパンツ型おむつ形成部材Aは、次いで折り重ね工程200に送られる。
この折重ね工程200では、連続するパンツ型おむつ形成部材Aはその吸収性本体2の股下部となる中間部から2つ折りして、前身頃側シート部材S1からなる側縁連結部3aと後身頃側シート部材S2からなる側縁連結部3bを重ね合わせる。この状態では、前身頃側の側縁連結部3aに形成されている切り欠き部12内には後身頃側の側縁連結部3bの内面が露出している。
上記のように折り重ねられた連続するパンツ型おむつ形成部材Aは、次いで止着テープ仮着工程300に送られる。
止着テープ仮着工程300では、両端部領域におむつのシート部材S1面、又は該S1面に配置されるターゲットゾーンに止着可能な止着部を有する所定長さのテープ部材が、切り欠き部12を跨いで側縁連結部3aの流れ方向両側の面に仮着される。この止着テープ部材を側縁連結部3a面に仮着する態様としては、前記側縁連結部3aの面に面している止着部又はそれ以外の止着テープ部材面を熱融着、圧着及び軽接着等の手段により該側縁連結部3aの面に剥離可能に接着する態様が挙げられる。
前記止着テープ部材13は、前記切り欠き部12全体を塞ぐことがないように、切り欠き部の流れ方向に垂直方向の幅よりも小さい幅のテープ部材であることが好ましい。
また、止着テープ部材の止着部には、粘着剤層又は機械的ファスナーのフック部材等を配置することができる。
また、止着テープ部材は、少なくとも一部に伸縮弾性部材が配置されていて伸縮性を有するテープ部材で形成されていることが好ましく、さらに、側縁連結部3bの内面とヒートシール加工によって強固に接合できる材料であることが好ましい。
上記のように、折り重ねられ、切り欠き部に止着テープ部材が仮着された連続するパンツ型おむつ形成部材Aは、次いで接合工程400に送られる。
この接合工程400では、連続するパンツ型おむつ形成部材Aは、前身頃側の側縁連結部3aと後身頃側の側縁連結部3bとを、前身頃側の側縁連結部3aに形成されている切り欠き部12内の中間部を通って縦方向(流れ方向に対して垂直方向)に帯状接合帯域7を形成するように接合される。この際に、止着テープ部材13は、切り欠き部12内に露出している側縁連結部3bの内面に接合部14において同時に接合される。
接合手段としては、シート部材S1,S2及び止着テープ部材13を共にヒートシール可能な部材で構成し、ヒートシール加工とすることが好ましい。しかし、該接合手段としては、接着剤による接着手段、特にホットメルトによる接着手段を採用することも可能である。
前記帯状接合帯域7及び14は、丸Cで囲んだ切断工程部分の拡大図である図10に示すように、帯状の非接合帯域7’、14’を間に挟んで平行に形成されていて、この非接合帯域7’、14’の中心部を長手方向に切断することが好ましい。
この接合工程で、止着テープ部材と接合される側縁連結部3bの外面に補強シート17が配置されていると、接合部14の強度が高くなるので好ましい。
上記のように、切り欠き部12に止着テープ部材13が仮着され、接合された連続するパンツ型おむつ形成部材Aは、次いで切離し工程500に送られる。
この切離し工程500では、前工程で切り欠き部12内を通って形成された帯状の接合帯域7、14内の帯状中間部(7’、14’)が流れ方向に対して垂直方向に切断されてパンツ型使い捨ておむつ単体が分離される。前記したように、接合帯域7、14内の中間部は帯状の非接合帯域非接合帯域(7’、14’)とされていることが好ましく、この非接合帯域の中心部を切断することによって、切断端縁をヒートシール等の接合部を切断したときに生じるゴワゴワ感のない端縁とすることができる。
該切断端縁分離されたパンツ型使い捨ておむつ単体1は、切り欠き部12内に露出している後身頃側の側縁連結部3bの側縁部内面に接合部14によって接合されている固定端部を有しており、その自由端部はおむつの外面となる前身頃側の側縁連結部3a外面に仮着されているので、使用時に剥離し易い配置状態である。また、優れた引っ張り強度を有する止着テープの固定端部を、着用者に硬さやゴワゴワ感を与えることなく容易にパンツ型使い捨ておむつの側縁部に形成することができる。
以上のように、本発明のパンツ型使い捨ておむつの製造方法を構成する連続的な組合せ工程は、使用時に剥離しやすい状態に仮着されている止着部を有する止着テープ部材を、切り欠き部を形成しているおむつ側縁接合部に取り付けているという複雑な構造部分であるおむつ側縁接合部の形成工程を工夫された工程の組合せによって単純化し、トラブルのないパンツ型使い捨ておむつの製造を可能ならしめたことに、特に重要な技術的意義があるものである。
図2は、本発明のパンツ型使い捨ておむつの製造方法によって製造できるパンツ型使い捨ておむつの1例を示しており、パンツ型使い捨ておむつを組立てた状態を前身頃側から見た斜視図である。
図2において、パンツ型使い捨ておむつ1は、吸収性本体2と、吸収性本体2の長手方向両端部領域に取付けられた帯状のシート部材3(図1における連続シート部材S1,S2)とからなり、吸収性本体2が股下部6で折返され、前身頃4と後身頃5におけるおむつの側縁連結部3a,3bのおむつの長手方向に沿う両側縁部が接合部7において接合されてウエスト周り開口部8と一対の脚周り開口部9が形成され、各開口部に沿って伸縮弾性部材10、11が配置されており、さらに、胴周り部にも、吸収性本体2が存在しない部位において、おむつの幅方向に複数本の伸縮弾性部材10’が配置されている。
また、前身頃4側の側縁連結部3aの長手方向両側縁部には、切り欠き部12が形成されており、切り欠き部12が形成された部位では、後身頃5側の側縁連結部3bと非接合状態になっている。さらに、切り欠き部12が形成された部位には止着テープ13が配置されており、止着テープ13の一方の端部が後身頃5側の側縁連結部3bの側縁部内面と接合部14において接合されており、他方の端部領域には止着手段15が取付けられており、前身頃4側の側縁連結部3aの表面に配置されたターゲットシート16に着脱可能に止着されている。
なお、図2には、前身頃側の側縁連結部3aの表面に止着テープの止着手段と止着可能なターゲットシートを配置した例を示したが、側縁連結部3aが止着手段と止着可能な材料で形成されている場合には必ずしもターゲットシートを配置する必要はない。
図3は、本発明の方法で製造できるパンツ型使い捨ておむつを組立てた状態を後身頃側から見た斜視図である。
図3において、パンツ型使い捨ておむつ1の後身頃5側の側縁連結部3bの長手方向両側縁部表面には、補強シート17が配置されており、接合部7において側縁連結部3bに接合されている。このように、補強シート17を配置することにより、図2に示すように、切り欠き部12の部位に止着テープ13を配置した場合、止着テープ13を補強シート17で補強されている後身頃5側の側縁連結部3bに強固に接合することができるため、止着テープ13を引っ張って切り欠き部12が形成された部位を締め付けるための操作を容易に行なうことができるようになる。
なお、図2及び図3では、胴周り部の伸縮弾性部材10’が、吸収性本体2が存在する部位には配置されていない不連続の状態で配置された例を示したが、胴周り部全体に亘って連続して配置しても良い。
図4は、本発明の製造方法で製造できるパンツ型使い捨ておむつの側縁接合部7を引き剥がして展開した状態におけるトップシート側から見た一部切り欠き展開平面図である。
図4において、パンツ型使い捨ておむつ1は、吸収性本体2と帯状の側縁連結部3a,3bとからなり、吸収性本体2は、液透過性のトップシート21と、液不透過性のバックシート22と、これら両シートの間に配置された吸収体23とから基本的に形成されている。
2つの側縁連結部3a,3bは、吸収性本体2の前身頃4と後身頃5において、帯状の連続シート部材3が吸収性本体2の側縁部から外側に延出している延出部によって形成されている。2つの側縁連結部3a,3bの先端部は互いに接合されて図2に示されるようにおむつ側縁部の接合部7を形成している。
また、両側縁連結部3a,3bの前身頃側の側縁連結部3aには切り欠き部12が形成され、後身頃側の側縁連結部3bの内側には止着テープ13の一方の端部が接合されて固定端部を形成している。
また、両側縁連結部3a,3bの長手方向端縁部はウエスト周り開口より外側に延出している延出部を、ウエスト周り端部を覆っておむつ内部側に折り返し、折り返した箇所にウエスト周り伸縮弾性部材10を配置し、胴周り部の位置には胴周り伸縮弾性部材10’を配置した状態とされていてもよい。
前身頃4側の側縁連結部3aの長手方向両側縁部には切り欠き部12が形成されている。また、吸収性本体2の股下部6の脚周り開口部の両側縁部の位置には脚周り伸縮弾性部材11が配置されており、脚周り伸縮弾性部材11の内側には、おむつの長手方向に一対の立体ギャザー18が配置されていることが好ましい。
図5は、本発明のパンツ型使い捨ておむつを組立てた状態を前身頃側から見た斜視図であり、図2とは異なる例を示している。なお、図5において、図2と同じ部分には同じ符号が付してあり、重複する説明は省略する。
図5において、前身頃4側の側縁連結部3aの両側縁部には、それぞれウエスト周り開口部側の上辺を含む領域と脚周り開口部側の下辺を含む領域の2箇所に切り欠き部12が形成されており、切り欠き部が形成された部位に止着テープ13が取付けられている。
この図に示されるパンツ型使い捨ておむつの場合、前記図2〜図3に示されているパンツ型使い捨ておむつと同様にして、切り欠き部12を2箇所に設け、止着テープ部材を該2箇所の切り欠き部を跨いで設けることによって製造することができる。
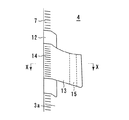
図6は、本発明の製造方法によって製造されるパンツ型使い捨ておむつにおいて、前後身頃の側縁部に切り欠き部が形成された部位の状態を示す部分拡大平面図である。
図6において、前身頃4側の側縁連結部3aの側縁部に切り欠き部12が形成されており、切り欠き部12が形成された部位では、前身頃側の連結部3aと後身頃側の連結部3bが非接合状態になっている。さらに、切り欠き部12が形成された部位には止着テープ13が配置されており、止着テープ13の一方の端部が後身頃側の連結部3bの側縁部と接合部14を介して接合されており、他方の端部領域には止着手段15が取付けられており、前身頃4側の側縁連結部3aの表面に着脱可能に止着されている。
図7は、図6に示す切り欠き部が形成された部位をX−X線に沿って切断した状態を示す断面図である。図7において、側縁連結部3a,3bは2枚の不織布31、32からなり、2枚の不織布31、32の間に伸縮弾性部材(図示せず)を配置して形成されている。
また、前身頃4側の側縁連結部3aの側縁部に切り欠き部12が形成され、切り欠き部12が形成された部位では前身頃4側と後身頃5側の側縁連結部3bは非接合状態になっている。さらに、切り欠き部12が形成された部位には止着テープ13が配置されており、止着テープ13の一方の端部が、後身頃5側の側縁連結部3bの側縁部及び側縁連結用部3b表面に配置された補強シート17と共に、接合部14を介して接合されており、止着テープ13の他方の端部領域には止着手段15としての面ファスナーのフック材が取付けられており、前身頃4側の側縁連結部3aの表面に着脱可能に止着されている。
図8は、図6に示す切り欠き部が形成された部位をX−X線に沿って切断した状態を示す断面図であり、図7とは異なる例を示している。なお、図8において、図7と同じ部分には同じ符号が付してあり、重複する説明は省略する。
図8には、補強シート17が、後身頃5側の側縁連結部3bを形成する2枚の不織布31、32の間に配置されている状態の例が示されている。
図9は、図6に示す切り欠き部が形成された部位をX−X線に沿って切断した状態を示す断面図であり、図7及び図8とは異なる例を示している。なお、図9において、図7、図8と同じ部分には同じ符号が付してあり、重複する説明は省略する。
図9には、補強シート17が、後身頃5側の側縁連結部3bを形成する2枚の不織布31、32の不織布31の外面に配置されている状態の例が示されている。
図10は、図1の工程図において、丸Cで囲まれている切断工程400部分の拡大図である。
帯状接合帯域7,14は、間に帯状の非接合帯域7’、14’を挟んで平行な帯状のヒートシール部として形成されている。
この帯状の非絵都合帯域の中心部を長手方向に切断することによってパンツ型使い捨ておむつ単体が形成される。このように形成されたパンツ型使い捨ておむつの両側縁接合部は、その端縁部がヒートシール部のない柔らかな感触の端縁部となるので、使用者にゴワゴワ感を与えることがない。
以下、本発明のパンツ型使い捨ておむつの製造方法において使用される材料について説明するが、本発明は、これらによって何等制限されるものではない。
本発明において、液透過性のトップシートとしては、ポリエチレン、ポリプロピレン、ポリエステル、その他の熱可塑性樹脂を原料とした合成繊維等からなる不織布に親水化処理を施したものが用いられる。
本発明において、液不透過性、かつ、通気性のバックシートとしては、微孔を設けたポリエチレンシート、あるいは熱可塑性樹脂にフィラーを加えて延伸したシートのような透湿性のある液体不透過性のシートが用いられる。このようなシートを用いると、ムレが改善されるため快適な着用感が得られる。さらに、このようなシートの外側に不織布からなるカバーシートを貼り合わせた積層構造のシートを用いることもできる。
本発明において、吸収体としては、通常の使いすておむつのような吸収性物品に使用されるものであればいずれも使用することができる。すなわち、綿状パルプと高吸収性ポリマー(SAP)を併用したもの、さらに熱融着繊維を加えたもの等を使用することができ、全体をティッシュのような親水性シートで包まれているものが好ましい。その他、親水性シートの片面にSAPの層を設けたもの、2枚の親水性シートの間にSAPを挟持したもの等のシート状の吸収体も使用することができる。また、吸収体の形状は、砂時計型でも矩形でも良い。
本発明において、側縁連結部3a,3bを形成するシート部材3としては、ポリエチレン、ポリプロピレン、ポリエステル、その他の熱溶融性樹脂を原料とした合成繊維を含有する不織布により形成することができる。上記不織布は、上記原料合成繊維の単体からなる繊維、または2種類の合成樹脂原料を使用した芯鞘繊維を1種類または複数混合したものから構成される。また、不織布は、熱溶融性合成繊維と他の天然繊維又は合成繊維の混合原料から製造されるものであってもよい。シート部材3は、これらの不織布を1枚で、あるいは、2枚以上のものを重ね合わせた状態で、さらには1枚の不織布を折畳んだ状態で使用することができる。
本発明において、おむつの側縁連結部、脚周り開口部及びウエスト周り開口部に配置される伸縮弾性部材としては、天然系、合成系の糸ゴム、平ゴム等の通常の使いすておむつに使用される伸縮弾性部材をそのまま使用することができ、これらの伸縮弾性部材を伸長状態で配置し、ホットメルト接着剤などにより接着固定される。
本発明において、止着テープは、基材シートの一方の端部領域に止着手段を配置して形成される。
基材シートとしては、着用者の肌に触れる可能性があるため、柔軟な材料で形成することが好ましく、また、伸縮性を有することが好ましく、伸縮性フィルム、平ゴム、糸ゴムなどを不織布で挟持固定したシート、伸縮性フォーム等を用いることができる。また、止着手段としては、各種粘着剤、面ファスナーのフック材等を用いることができる。
本発明において、止着テープの止着手段と着脱可能に止着されるターゲットシートとしては、止着手段が粘着剤で形成されている場合には、粘着剤と再接着、再剥離が可能な各種の合成樹脂からなるフィルムが用いられ、止着手段が面ファスナーのフック材で形成されている場合には、フック材と係合可能なループ材や不織布が用いられる。
本発明において、補強シートは、ポリエチレン、ポリプロピレン、ポリエステル、その他の熱可塑性樹脂を原料とした合成繊維等からなる熱融着可能な不織布で形成することができ、その坪量は、20〜100g/m2 であることが好ましく、40〜70g/m2 であることがより好ましい。
本発明のパンツ型使い捨ておむつは、液透過性のトップシートと、液不透過性のバックシートと、これら両シートの間に配置された吸収体とを有するおむつ本体の前後身頃の長手方向両側縁部にサイドパネルを取付け、サイドパネルの相対する側縁部を接合してパンツ型に形成したものであっても良い。
本発明において、サイドパネルとしては、ポリエチレン、ポリプロピレン、ポリエステル、その他の熱可塑性樹脂を原料とした合成繊維等からなる熱融着可能な不織布で形成することができ、伸縮性フィルム、伸縮性ネット、平ゴム、糸ゴム、伸縮性フォーム等の伸縮弾性部材を伸張状態で、ホットメルト接着剤などによる接着固定や熱接着で、前記不織布間に挟持固定したシートを用いることができる。また、前記伸縮弾性部材を自然長のまま、伸張可能な不織布で挟持・固定して伸縮可能にしたシートを用いることもできる。
また、本発明のパンツ型使い捨ておむつは、液透過性のトップシートと、液不透過性のバックシートと、これら両シートの間に配置された吸収体とを有する吸収性本体と、吸収性本体が取付けられ、これを着用者に当てて保持する外装部材とからなり、該外装部材の前身頃と後身頃の相対する両側縁部を接合してパンツ型に形成したものであっても良い。
本発明において、外装部材としては、ポリエチレン、ポリプロピレン、ポリエステル、その他の熱可塑性樹脂を原料とした合成繊維等からなる不織布で形成することができ、これらの不織布を単独で、あるいは数種類のものを張合わせて用いることができる。
本発明において、パンツ型使い捨ておむつには、その長手方向に沿って一対の立体ギャザーを配置することが好ましい。立体ギャザーは、各種の素材により形成することができる。例えば、ポリエチレン、ポリプロピレン、ポリエステル、その他の熱可塑性樹脂を原料とした合成繊維からなる通気性を有する撥水性の不織布を用いて形成することができる。あるいは、サイドフラップを形成する不織布として広幅のものを用い、サイドフラップを形成するとともにおむつの内側へ延出する部分で立体ギャザーを形成しても良い。さらに、トップシートとして広幅のものを用い、トップシートの吸収体の両側縁から延出する部分で立体ギャザーを形成しても良い。
また、立体ギャザーの自由部の側縁部には伸縮弾性部材が配置されている。伸縮弾性部材としては、天然系、合成系の糸ゴム、平ゴム等の通常の使いすておむつに使用される伸縮弾性部材をそのまま使用することができ、これらの伸縮弾性部材を伸長状態で自由部の側縁部に配置し、ホットメルト接着剤などにより接着固定される。
本発明の方法で製造されるパンツ型使い捨ておむつは、前身頃と後身頃の相対する長手方向両側縁部を接合して形成されており、少なくとも一方の身頃の側縁連結部には少なくとも1箇所に切り欠き部が形成され、切り欠き部が形成された部位では前身頃と後身頃は非接合状態になっている。このような構成の本発明のパンツ型使い捨ておむつは、切り欠き部が形成された部位では前後身頃が非接合状態となっているため、通気性が良好となり、おむつ着用時に腰周り部の蒸れが防止される。また、使用後のおむつを接合部で引裂いて着用者から外す場合、切り欠き部の部位では接合部が形成されていないため、接合部の長さが短くなっており、引裂き易いものである。
さらに、本発明のパンツ型使い捨ておむつは、切り欠き部が形成された部位において、前身頃と後身頃のうちの一方の身頃に、他方の身頃と着脱可能な止着手段を有する止着テープを取付けることにより、切り欠き部が形成された部位を止着テープで締め付けて、この部位のフィット性を良好にすることが可能となるものであり、乳幼児を始めとして成人失禁者用のパンツ型使い捨ておむつとして有用である。
本発明のパンツ型使い捨ておむつの製造工程を示す図である。 本発明のパンツ型使い捨ておむつを組立てた状態を前身頃側から見た斜視図である。 本発明のパンツ型使い捨ておむつを組立てた状態を後身頃側から見た斜視図である。 本発明のパンツ型使い捨ておむつを組立てる前の状態をトップシート側から見た一部切り欠き展開平面図である。 本発明のパンツ型使い捨ておむつを組立てた状態を前身頃側から見た場合の他の例を示す斜視図である。 本発明のパンツ型使い捨ておむつの前後身頃の側縁部に切り欠き部が形成された部位の状態を示す部分拡大平面図である。 図6に示す切り欠き部が形成された部位をX−X線に沿って切断した状態を示す断面図である。 図6に示す切り欠き部が形成された部位をX−X線に沿って切断した状態の他の例を示す断面図である。 図6に示す切り欠き部が形成された部位をX−X線に沿って切断した状態のさらに別の例を示す断面図である。 図1の丸Cで囲んだ切断工程部分の拡大図である。
符号の説明
1:パンツ型使い捨ておむつ
2:吸収性本体
3:連続シート部材
4:前身頃
5:後身頃
6:股下部
7:接合部
7’:非接合部
8:ウエスト周り開口部
9:脚周り開口部
10:伸縮弾性部材
10’:伸縮弾性部材
11:伸縮弾性部材
12:切り欠き部
13:止着テープ
14:接合部
14’:非接合部
15:止着手段
16:ターゲットシート
17:補強シート
18:立体ギャザー
21:トップシート
22:バックシート
23:吸収体
31:不織布
32:不織布
3a:前身頃側側縁連結部
3b:後身頃側側縁連結部
100:パンツ型使い捨ておむつ形成部材形成工程
200:折り重ね工程
300:止着テープ仮着工程
400:接合工程
500:切離し工程
A:パンツ型使い捨ておむつ形成部材
B:中心線
L:脚開口部形成用空所部
S1,S2:連続シート部材

Claims (5)

  1. 液透過性のトップシートと、液不透過性のバックシートと、これら両シートの間に配置された吸収体とを有する吸収性本体が、連続シート部材に所定間隔で配置固定されており、各吸収性本体間の中間領域にはパンツ型おむつの脚開口部を形成する空所部と、該空所部を挟んで吸収性本体間に平行に跨る帯状の連続シート部材部分からなる2本の側縁連結部を有しており、かつ、該2本の側縁連結部の一方における流れ方向の吸収性本体間の中間部には略円形状又は略矩形状の切り欠き部が形成されている連続するパンツ型おむつ形成部材を形成し、連続的に送給する工程、
    連続的に送給されるパンツ型おむつ形成部材を流れ方向に対して直角方向に2つ折りする折り重ね工程、
    前記折り重ね工程に続いて、
    連続するパンツ型おむつ形成部材の流れ方向に対して平行に、前記切り欠き部を跨いで、両端部に止着部を有する止着テープ部材を該切り欠き部が形成されている一方の側縁連結部の外面に配置し、両端部の止着部によって仮着する止着テープ部材仮着工程、
    隣接する吸収性本体間で重ね合わされている両側縁連結部を、前記切り欠き部の中心部を通って流れ方向に対して直角方向に延びる帯状接合帯域を形成するように接合すると同時に、前記止着テープ部材の長手方向中間部をも前記切り欠き部内で対面する他方の側縁連結部の内面に接合する側縁連結部接合工程、
    該帯状接合帯域内の中間部を連続するパンツ型おむつ形成部材の流れ方向に対して直角方向に切断するパンツ型おむつ単体の切離し工程、
    を有することを特徴とするパンツ型使い捨ておむつの製造方法。
  2. 前記連続するパンツ型おむつ形成部材を形成し、連続的に送給する工程が、液透過性のトップシートと、液不透過性のバックシートと、これら両シートの間に配置された吸収体とを有する吸収性本体が、互いに離間して平行状態で送られる2本の連続シート部材に所定間隔で配置固定されており、各吸収性本体間の中間領域にはパンツ型おむつの脚開口部を形成する空所部と、該空所部を挟んで吸収性本体間に平行に跨る帯状の連続シート部材部分からなる2本の側縁連結部を有しており、かつ、該2本の側縁連結部の一方における流れ方向中間部には略円形状又は略矩形状の切り欠き部が形成されている連続するパンツ型おむつ形成部材を形成し、連続的に送給する工程よりなることを特徴とする請求項1記載のパンツ型使い捨ておむつの製造方法。
  3. 前記連続するパンツ型おむつ形成部材を形成し、連続的に送給する工程が、液透過性のトップシートと、液不透過性のバックシートと、これら両シートの間に配置された吸収体とを有する吸収性本体が、該吸収性本体全体を覆う幅を有する連続シート部材内に所定間隔で配置固定されており、各吸収性本体間の中間領域には該領域を刳り抜いた箇所からなるパンツ型おむつの脚開口部を形成する空所部と、該空所部を挟んで吸収性本体間に平行に跨る帯状の連続シート部材部分からなる2本の側縁連結部を有しており、かつ、該2本の側縁連結部の一方における流れ方向中間部には略円形状又は略楕円形状の切り欠き部が形成されている連続するパンツ型おむつ形成部材を形成し、連続的に送給する工程よりなることを特徴とする請求項1記載のパンツ型使い捨ておむつの製造方法。
  4. 前記側縁連結部接合工程において形成される前記切り欠き部の中心部を通って流れ方向に対して直角方向に延びる帯状接合帯域が、所定幅の帯状の非接合帯域を挟んで平行配置されている2本の帯状接合帯域からなり、
    前記パンツ型おむつ単体の切り離し工程が、上記所定幅の帯状の非接合帯域の中心部を長手方向に切断する工程であることを特徴とする請求項1〜のいずれか1項に記載のパンツ型使い捨ておむつの製造方法。
  5. 前記切り欠き部を跨いで仮着されている止着テープ部材は、熱融着、圧着及び軽接着のいずれかの手段によって仮着されていることを特徴とする請求項1〜4のいずれか1項に記載のパンツ型使い捨ておむつの製造方法。
JP2006149227A 2006-05-30 2006-05-30 パンツ型使い捨ておむつの製造方法 Expired - Fee Related JP4842016B2 (ja)

Priority Applications (1)

Application Number Priority Date Filing Date Title
JP2006149227A JP4842016B2 (ja) 2006-05-30 2006-05-30 パンツ型使い捨ておむつの製造方法

Applications Claiming Priority (1)

Application Number Priority Date Filing Date Title
JP2006149227A JP4842016B2 (ja) 2006-05-30 2006-05-30 パンツ型使い捨ておむつの製造方法

Publications (2)

Publication Number Publication Date
JP2007319177A JP2007319177A (ja) 2007-12-13
JP4842016B2 true JP4842016B2 (ja) 2011-12-21

Family

ID=38852470

Family Applications (1)

Application Number Title Priority Date Filing Date
JP2006149227A Expired - Fee Related JP4842016B2 (ja) 2006-05-30 2006-05-30 パンツ型使い捨ておむつの製造方法

Country Status (1)

Country Link
JP (1) JP4842016B2 (ja)

Families Citing this family (4)

* Cited by examiner, † Cited by third party
Publication number Priority date Publication date Assignee Title
BR112013000510B8 (pt) * 2010-07-23 2022-11-16 Zuiko Corp Artigo usado descartável formado anteriormente no formato de calça e método para fabricar o mesmo
TW201244701A (en) * 2011-05-04 2012-11-16 Kang Na Hsiung Entpr Co Ltd Paper diaper
JP5548755B2 (ja) * 2012-11-19 2014-07-16 株式会社リブドゥコーポレーション パンツ型使い捨ておむつ
US20140259563A1 (en) * 2013-03-15 2014-09-18 The Procter & Gamble Company Subassemblies comprising folded fastening tab members

Family Cites Families (4)

* Cited by examiner, † Cited by third party
Publication number Priority date Publication date Assignee Title
SE508214C2 (sv) * 1995-12-22 1998-09-14 Moelnlycke Ab Förfarande för tillverkning av återförslutningsbara absorberande plagg och absorberande plagg erhållna därmed
US6743321B2 (en) * 2001-09-14 2004-06-01 Kimberly-Clark Worldwide, Inc. Method and apparatus for assembling refastenable absorbent garments
JP4078287B2 (ja) * 2003-10-30 2008-04-23 大王製紙株式会社 パンツ型おむつ
JP4521214B2 (ja) * 2004-03-30 2010-08-11 株式会社瑞光 パンツタイプ着用物品の製造方法

Also Published As

Publication number Publication date
JP2007319177A (ja) 2007-12-13

Similar Documents

Publication Publication Date Title
US8221376B2 (en) Disposable absorbent article
JP4574548B2 (ja) 使い捨て着用物品及びこれを製造する方法
WO2006109596A1 (ja) パンツ型使い捨ておむつ
JP4875350B2 (ja) 使い捨ておむつ
JPH07299094A (ja) 使い捨ておむつまたは使い捨てパンツ
JP4451420B2 (ja) パンツ型紙おむつ
CA2494763A1 (en) Absorbent garment with integral elastomeric side panels
JP4731874B2 (ja) 使い捨ての着用物品
KR101251677B1 (ko) 일회용 착용 물품
JP4351173B2 (ja) 使い捨ておむつ
JP4705405B2 (ja) パンツ型の使い捨て着用物品
JP4842016B2 (ja) パンツ型使い捨ておむつの製造方法
JP2008029762A5 (ja)
JP3783584B2 (ja) パンツ型使い捨ておむつ
JP4969894B2 (ja) パンツ型使い捨ておむつ
JP3770118B2 (ja) パンツ型使い捨ておむつ
JP2000051273A (ja) 吸収性物品
JP5453827B2 (ja) ウエストベルトの製造方法及び使い捨ておむつの製造方法
JPH09566A (ja) おむつ
JP4482426B2 (ja) 使い捨ておむつ
JP4813156B2 (ja) 使い捨ておむつ
JP4082932B2 (ja) 使い捨て吸収性物品およびその製造方法
JP2005211179A (ja) パンツ型使い捨ておむつ
JPH09117472A (ja) パンツ型使いすておむつ
JPH09117469A (ja) パンツ型使いすておむつ

Legal Events

Date Code Title Description
A621 Written request for application examination

Free format text: JAPANESE INTERMEDIATE CODE: A621

Effective date: 20080820

A977 Report on retrieval

Free format text: JAPANESE INTERMEDIATE CODE: A971007

Effective date: 20100215

A131 Notification of reasons for refusal

Free format text: JAPANESE INTERMEDIATE CODE: A131

Effective date: 20110517

A521 Request for written amendment filed

Free format text: JAPANESE INTERMEDIATE CODE: A523

Effective date: 20110707

TRDD Decision of grant or rejection written
A01 Written decision to grant a patent or to grant a registration (utility model)

Free format text: JAPANESE INTERMEDIATE CODE: A01

Effective date: 20111004

A01 Written decision to grant a patent or to grant a registration (utility model)

Free format text: JAPANESE INTERMEDIATE CODE: A01

A61 First payment of annual fees (during grant procedure)

Free format text: JAPANESE INTERMEDIATE CODE: A61

Effective date: 20111005

R150 Certificate of patent or registration of utility model

Ref document number: 4842016

Country of ref document: JP

Free format text: JAPANESE INTERMEDIATE CODE: R150

FPAY Renewal fee payment (event date is renewal date of database)

Free format text: PAYMENT UNTIL: 20141014

Year of fee payment: 3

S111 Request for change of ownership or part of ownership

Free format text: JAPANESE INTERMEDIATE CODE: R313115

FPAY Renewal fee payment (event date is renewal date of database)

Free format text: PAYMENT UNTIL: 20141014

Year of fee payment: 3

R350 Written notification of registration of transfer

Free format text: JAPANESE INTERMEDIATE CODE: R350

R250 Receipt of annual fees

Free format text: JAPANESE INTERMEDIATE CODE: R250

R250 Receipt of annual fees

Free format text: JAPANESE INTERMEDIATE CODE: R250

R250 Receipt of annual fees

Free format text: JAPANESE INTERMEDIATE CODE: R250

R250 Receipt of annual fees

Free format text: JAPANESE INTERMEDIATE CODE: R250

R250 Receipt of annual fees

Free format text: JAPANESE INTERMEDIATE CODE: R250

R250 Receipt of annual fees

Free format text: JAPANESE INTERMEDIATE CODE: R250

R250 Receipt of annual fees

Free format text: JAPANESE INTERMEDIATE CODE: R250

R250 Receipt of annual fees

Free format text: JAPANESE INTERMEDIATE CODE: R250

LAPS Cancellation because of no payment of annual fees