JP4792504B2 - 造形データ作成システム、製造方法および造形データ作成プログラム - Google Patents
造形データ作成システム、製造方法および造形データ作成プログラム Download PDFInfo
- Publication number
- JP4792504B2 JP4792504B2 JP2008538732A JP2008538732A JP4792504B2 JP 4792504 B2 JP4792504 B2 JP 4792504B2 JP 2008538732 A JP2008538732 A JP 2008538732A JP 2008538732 A JP2008538732 A JP 2008538732A JP 4792504 B2 JP4792504 B2 JP 4792504B2
- Authority
- JP
- Japan
- Prior art keywords
- data
- shape
- support member
- modeling
- composition
- Prior art date
- Legal status (The legal status is an assumption and is not a legal conclusion. Google has not performed a legal analysis and makes no representation as to the accuracy of the status listed.)
- Active
Links
Images
Classifications
-
- B—PERFORMING OPERATIONS; TRANSPORTING
- B29—WORKING OF PLASTICS; WORKING OF SUBSTANCES IN A PLASTIC STATE IN GENERAL
- B29C—SHAPING OR JOINING OF PLASTICS; SHAPING OF MATERIAL IN A PLASTIC STATE, NOT OTHERWISE PROVIDED FOR; AFTER-TREATMENT OF THE SHAPED PRODUCTS, e.g. REPAIRING
- B29C64/00—Additive manufacturing, i.e. manufacturing of three-dimensional [3D] objects by additive deposition, additive agglomeration or additive layering, e.g. by 3D printing, stereolithography or selective laser sintering
- B29C64/10—Processes of additive manufacturing
- B29C64/141—Processes of additive manufacturing using only solid materials
- B29C64/153—Processes of additive manufacturing using only solid materials using layers of powder being selectively joined, e.g. by selective laser sintering or melting
-
- A—HUMAN NECESSITIES
- A61—MEDICAL OR VETERINARY SCIENCE; HYGIENE
- A61C—DENTISTRY; APPARATUS OR METHODS FOR ORAL OR DENTAL HYGIENE
- A61C13/00—Dental prostheses; Making same
- A61C13/0003—Making bridge-work, inlays, implants or the like
- A61C13/0004—Computer-assisted sizing or machining of dental prostheses
-
- A—HUMAN NECESSITIES
- A61—MEDICAL OR VETERINARY SCIENCE; HYGIENE
- A61C—DENTISTRY; APPARATUS OR METHODS FOR ORAL OR DENTAL HYGIENE
- A61C5/00—Filling or capping teeth
- A61C5/70—Tooth crowns; Making thereof
- A61C5/77—Methods or devices for making crowns
-
- B—PERFORMING OPERATIONS; TRANSPORTING
- B29—WORKING OF PLASTICS; WORKING OF SUBSTANCES IN A PLASTIC STATE IN GENERAL
- B29C—SHAPING OR JOINING OF PLASTICS; SHAPING OF MATERIAL IN A PLASTIC STATE, NOT OTHERWISE PROVIDED FOR; AFTER-TREATMENT OF THE SHAPED PRODUCTS, e.g. REPAIRING
- B29C64/00—Additive manufacturing, i.e. manufacturing of three-dimensional [3D] objects by additive deposition, additive agglomeration or additive layering, e.g. by 3D printing, stereolithography or selective laser sintering
- B29C64/40—Structures for supporting 3D objects during manufacture and intended to be sacrificed after completion thereof
-
- B—PERFORMING OPERATIONS; TRANSPORTING
- B33—ADDITIVE MANUFACTURING TECHNOLOGY
- B33Y—ADDITIVE MANUFACTURING, i.e. MANUFACTURING OF THREE-DIMENSIONAL [3-D] OBJECTS BY ADDITIVE DEPOSITION, ADDITIVE AGGLOMERATION OR ADDITIVE LAYERING, e.g. BY 3-D PRINTING, STEREOLITHOGRAPHY OR SELECTIVE LASER SINTERING
- B33Y50/00—Data acquisition or data processing for additive manufacturing
-
- G—PHYSICS
- G16—INFORMATION AND COMMUNICATION TECHNOLOGY [ICT] SPECIALLY ADAPTED FOR SPECIFIC APPLICATION FIELDS
- G16Z—INFORMATION AND COMMUNICATION TECHNOLOGY [ICT] SPECIALLY ADAPTED FOR SPECIFIC APPLICATION FIELDS, NOT OTHERWISE PROVIDED FOR
- G16Z99/00—Subject matter not provided for in other main groups of this subclass
-
- B—PERFORMING OPERATIONS; TRANSPORTING
- B33—ADDITIVE MANUFACTURING TECHNOLOGY
- B33Y—ADDITIVE MANUFACTURING, i.e. MANUFACTURING OF THREE-DIMENSIONAL [3-D] OBJECTS BY ADDITIVE DEPOSITION, ADDITIVE AGGLOMERATION OR ADDITIVE LAYERING, e.g. BY 3-D PRINTING, STEREOLITHOGRAPHY OR SELECTIVE LASER SINTERING
- B33Y50/00—Data acquisition or data processing for additive manufacturing
- B33Y50/02—Data acquisition or data processing for additive manufacturing for controlling or regulating additive manufacturing processes
-
- G—PHYSICS
- G16—INFORMATION AND COMMUNICATION TECHNOLOGY [ICT] SPECIALLY ADAPTED FOR SPECIFIC APPLICATION FIELDS
- G16H—HEALTHCARE INFORMATICS, i.e. INFORMATION AND COMMUNICATION TECHNOLOGY [ICT] SPECIALLY ADAPTED FOR THE HANDLING OR PROCESSING OF MEDICAL OR HEALTHCARE DATA
- G16H20/00—ICT specially adapted for therapies or health-improving plans, e.g. for handling prescriptions, for steering therapy or for monitoring patient compliance
- G16H20/40—ICT specially adapted for therapies or health-improving plans, e.g. for handling prescriptions, for steering therapy or for monitoring patient compliance relating to mechanical, radiation or invasive therapies, e.g. surgery, laser therapy, dialysis or acupuncture
Landscapes
- Health & Medical Sciences (AREA)
- Chemical & Material Sciences (AREA)
- Engineering & Computer Science (AREA)
- Materials Engineering (AREA)
- Optics & Photonics (AREA)
- Physics & Mathematics (AREA)
- Manufacturing & Machinery (AREA)
- Oral & Maxillofacial Surgery (AREA)
- Mechanical Engineering (AREA)
- Dentistry (AREA)
- Epidemiology (AREA)
- Life Sciences & Earth Sciences (AREA)
- Animal Behavior & Ethology (AREA)
- General Health & Medical Sciences (AREA)
- Public Health (AREA)
- Veterinary Medicine (AREA)
Description
実施の形態1は、造形テーブル上に粉体を積層させることよって形成される造形物の形状を表すデータを作成する造形データ作成システムに関する。本実施形態においては、造形物が、例えば、陶材焼付け冠のブリッジフレームとして用いるジルコニア製構造物を積層造形装置で製造する場合を例にとり説明する。図1は、本実施の形態1における造形データ作成システムの構成を表す機能ブロック図である。
ステップS1において、補綴物形状データ作成システム2の測定装置17が、例えば、ブリッジを使用する患者の口腔内および支台歯周辺部を測定することによって得た測定データを作成部15へ入力する。測定データは、例えば、支台歯形状、支台歯、対合歯列の形状、咬合高径(上下顎の間隔)、中心位(中心位置)、ゴシックアーチ等の患者固有の値である。ゴシックアーチは、顎の運動に伴って生じる特定部位の運動経路を描記したものである。患者の口腔内および支台歯周辺部の形状は、例えば、点群データ、すなわちXYZ座標値の集まりで表現される。
ステップS2の形状作成工程において、作成部15は、モデル記録部13に記録されたモデル21および測定データに基づいて、構造物データ22および関係データを作成する。図3Aは、作成部15が作成した構造物データ22が表すフレームの例を示す図である。なお、図3Aは、フレームが、後述するステップS5で生成される支持部材の上に形成された状態を示している。
ステップS3の補助形状作成工程は正確なスペースの確保や位置決めが必要な場合など、補助形状が必要な場合に行われる。例えば、前記入力部3が、作成部15が作成した構造物データ22とともに関係データも読み込んだ場合に、造形データ作成システム1は補助形状作成工程が必要と判断することができる。
ステップS4の構造物データ補正工程において、補正部28は作成部15、あるいは補助形状データ生成部27によって生成され、記録部11に記録された構造物データ22を組成データ23に基づいて補正することにより、補正済み構造物データ29を生成し記録部11に記録する。
ステップS5の支持部材データ生成工程において、外形生成部5と支持部材生成部7が、補正部28が作成した補正済み構造物データ29を用いて、構造物を支持する支持部材の形状を表す支持部材データ25を作成する。以下、一例として、補正済み構造物データ29が表す構造物がステップS4で説明したブリッジのフレームである場合について説明する。
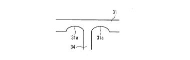
記録部11には、支持部材34に用いられる材料の組成を表す組成データ23が予め記録されていることが好ましい。例えば、構造物31の設計者が、支持部材34に用いる材料の組成を組成データ23に設定してもよい。支持部材生成部7は、設定された組成データ23を基に、支持部材34の壁の厚みを計算により求めることができる。
ここで、支持部材34が構造物31と接する部分の形状の例について説明する。支持部材データ25および補正済み構造物データ29で表される造形物が、積層造形装置100によって造形された後、あるいは焼成工程終了後に、支持部材34は構造物31から除去される。支持部材34が除去された後の構造物には後加工(検索、研磨、バフがけ)が施され、表面が平滑化される。支持部材34を除去する際に、支持部材34のどの部分で折り取ることができるかは、後加工の作業量や所要時間に大きく影響する。後加工を容易にするためには、構造物31と支持部材34が接する部分の近くが折れることが好ましい。すなわち、支持部材34として、構造物31から除去した時に、その残骸が構造物31に残らないような形状を表す支持部材データ25を生成することが好ましい。
図13および図14は、図10に示す支持部材34の例とは、異なる形状を有する支持部材34の変形例を表示する画面を表す図である。図13に示す支持部材34の形状は、xy平面に垂直な板状体を縦横に交差させた構造であり、それぞれの板状体におけるxy方向の端部が外側へ突出している。図14に示す支持部材34においては、支持部材34を構成する柱状体の断面形状が、x軸に対して略45°の角度を有する辺を持つ正方形となっている。
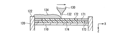
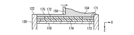
ステップS6において、断面生成部9は、支持部材データ25で表される支持部材34と、補正済み構造物データ29で表される構造物31とで構成される造形物の、基礎平面に略平行な複数の平面それぞれにおける断面形状を表す断面データ26を生成する。
実施の形態2は、実施の形態1における造形データ作成システム1で作成される断面データ26と、積層造形装置100とを用いて、例えば、フレーム等のような構造物を製造するための製造方法に関する。積層造形装置100は、造形テーブル上に、その層の一部を選択的に形状化させた造形層を積層することによって所望の造形物を製作する装置である。
Claims (14)
- 光を照射することにより、またはバインダー液を含浸させることにより、少なくとも一部を形状化させた造形層を、基礎平面上に積層することによって、前記形状化された部分を造形物として形成する積層造形装置で用いられる、前記造形物の形状を表す造形データを作成する造形データ作成システムであって、
所望の構造物の形状を表す構造物データを入力する構造物データ入力部と、
前記積層造形装置が形成する前記造形物に用いられる材料の組成を表す組成データを記録する組成データ記録部と、
前記造形物に用いられる可能性のある材料の組成と、当該材料の乾燥、重合または焼結による変化の量を示す変化量データとを対応づけて記録する変化量データ記録部と、
前記組成データで示される材料の組成に対応する変化の量を示す変化量データを前記変化量データから取得し、取得した変化量データに基づいて、前記構造物データを用いて形成される造形物が、乾燥、重合または焼結による変化後に前記所望の構造物の形状に近くなるように当該構造物データを補正する補正部と、
前記構造物を前記基礎平面上に配置し、前記配置された前記構造物を前記基礎平面に垂直に投影した投影面と、前記構造物との間の空間の外形を表す外形データを、前記構造物データを用いて生成する外形生成部と、
前記空間の略全体を満たすように形成され、かつ前記基礎平面に対して垂直に設けられた複数の板状体または柱状体で形成され、前記構造物を支持する支持部材の形状を表す支持部材データを生成する支持部材生成部と、
前記基礎平面に略平行な複数の平面それぞれにおける断面形状を表す断面データを、前記構造物データ、前記支持部材データおよび前記外形データに基づいて生成する断面生成部とを備え、
前記組成データ記録部は、前記支持部材に用いられる材料の組成を表す組成データもさらに記録し、
前記支持部材生成部は、前記組成データ記録部に記録された前記組成データを用いて、前記板状体または前記柱状体の水平方向の厚みを求める、造形データ作成システム。 - 光を照射することにより、またはバインダー液を含浸させることにより、少なくとも一部を形状化させた造形層を、基礎平面上に積層することによって、前記形状化された部分を造形物として形成する積層造形装置で用いられる、前記造形物の形状を表す造形データを作成する造形データ作成システムであって、
所望の構造物の形状を表す構造物データを入力する構造物データ入力部と、
前記積層造形装置が形成する前記造形物に用いられる材料の組成を表す組成データを記録する組成データ記録部と、
前記造形物に用いられる可能性のある材料の組成と、当該材料の乾燥、重合または焼結による変化の量を示す変化量データとを対応づけて記録する変化量データ記録部と、
前記組成データで示される材料の組成に対応する変化の量を示す変化量データを前記変化量データから取得し、取得した変化量データに基づいて、前記構造物データを用いて形成される造形物が、乾燥、重合または焼結による変化後に前記所望の構造物の形状に近くなるように当該構造物データを補正する補正部と、
前記構造物を前記基礎平面上に配置し、前記配置された前記構造物を前記基礎平面に垂直に投影した投影面と、前記構造物との間の空間の外形を表す外形データを、前記構造物データを用いて生成する外形生成部と、
前記空間の略全体を満たすように形成され、前記構造物を支持する支持部材の形状を表す支持部材データを生成する支持部材生成部と、
前記基礎平面に略平行な複数の平面それぞれにおける断面形状を表す断面データを、前記構造物データ、前記支持部材データおよび前記外形データに基づいて生成する断面生成部とを備え、
前記構造物データ入力部は、前記所望の構造物が他の物体に装着されるものである場合に、前記物体と前記構造物との相対的な位置関係を示す関係データをさらに入力し、
前記関係データに基づいて、前記物体と前記構造物との前記位置関係を固定するための部材を表す補助形状データを生成し、前記構造物データに付加する補助形状データ生成部をさらに備え、
前記補助形状データ生成部は、前記物体と前記構造物との間に設けられた板状体または柱状体を表すデータを、補助形状データとして生成するものであって、前記組成データ記録部に記録された前記組成データを用いて、前記板状体または前記柱状体の断面積を求めることで前記補助形状データを生成する、造形データ作成システム。 - 前記補助形状データ生成部は、前記部材が前記物体と接触する部分の面積を、前記位置関係を固定するのに必要な面積であり、且つ前記構造物と前記物体との間の接着強度が所定値を下回らないために必要な面積となるように構造物データおよび関係データを用いて計算し、前記補助形状データを生成する、請求項2に記載の造形データ作成システム。
- 前記補助形状データ生成部は、前記構造物データが示す構造体のうち、前記物体に装着される面に付加され、前記構造体と前記物体との間に所望のスペースに等しい厚みを持ち、前記物体と接触する面が前記物体の該当する部分の形状と同じ形状の面である複数の板状体、または柱状体で形成される部材を表す補助形状データを生成する、請求項2〜3のいずれか1項に記載の造形データ作成システム。
- 前記補助形状データ生成部は、前記構造体の前記部材と当接する部分における法線方向に伸びている複数の板状体、または柱状体で形成される部材を表す補助形状データを生成する、請求項2〜4のいずれか1項に記載の造形データ作成システム。
- 前記外形生成部は、前記補正部によって補正された補正済み構造物データと前記基礎平面上との間にできる空間の体積に基づいて前記補正済み構造物の配置を決定し、前記補正済み構造物データと前記基礎平面との間にできる空間の外形を表す外形データを生成する、請求項1〜5のいずれか1項に記載の造形データ作成システム。
- 前記支持部材データは、前記板状体または前記柱状体の水平方向の厚みが、前記構造物に接する部分において、他の部分に比べて小さくなっている前記支持部材を表す、請求項1に記載の造形データ作成システム。
- 前記支持部材生成部は、前記構造物に接する部分の近くに切り欠きを有する支持部材を表す支持部材データを生成する、請求項1〜7のいずれか1項に記載の造形データ作成システム。
- 前記支持部材生成部は、前記構造物において、前記支持部材が接する部分の周辺部を構造物の内面方向へ窪ませるように前記構造物データを修正する、請求項1〜8のいずれか1項に記載の造形データ作成システム。
- 前記支持部材生成部は、前記構造物が前記支持部材に与える力の分布を、構造物データを用いて計算し、該分布に基づいて前記板状体または前記柱状体の水平方向の厚みを求める、請求項1に記載の造形データ作成システム。
- 前記構造物は、口腔内の補綴物であり、前記構造物データは、前記口腔内またはその周辺部を測定することによって得られた測定データを基に生成されたデータである、請求項1〜10のいずれか1項に記載の造形データ作成システム。
- 請求項1〜11のいずれか1項に記載の造形データ作成システムで作成される前記断面データと、前記積層造形装置とを用いて前記構造物を製造するための製造方法であって、
前記積層造形装置が備える上下に移動可能な造形テーブル上に、所定の厚みの造形層を形成する層形成工程と、
前記造形層の少なくとも一部であって、前記断面データが表す断面形状に応じた形状の部分のみ選択的に光を照射するかまたはバインダー液を射出し、含浸させて形状化する造形工程と、
前記造形テーブルを前記所定の厚み分降下させる降下工程と、
前記層形成工程および前記形状化工程を、前記断面データが表す前記複数の平面それぞれについて順次繰り返すことによって、前記造形層を積層する積層工程と、
前記積層工程で積層された前記造形層において、前記形状化工程で形状化された部分以外の部分を除去することによって、前記支持部材によって前記造形テーブル上に支持された状態の前記構造物を形成する除去工程とを備える製造方法。 - 光を照射することにより、またはバインダー液を含浸させることにより、少なくとも一部を形状化させた造形層を、基礎平面上に積層することによって、前記形状化された部分を造形物として形成する積層造形装置で用いられる、前記造形物の形状を表す造形データを作成する処理をコンピュータに実行させる造形データ作成プログラムであって、
所望の構造物の形状を表す構造物データを入力する構造物データ入力処理と、
前記積層造形装置が形成する前記造形物に用いられる材料の組成を表す組成データを記録する組成データ記録部と、前記造形物に用いられる可能性のある材料の組成と、当該材料の乾燥、重合または焼結による変化の量を示す変化量データとを対応づけて記録する変化量データ記録部とにアクセスし、前記組成データで示される材料の組成に対応する変化の量を示す変化量データを前記変化量データから取得し、取得した変化量データに基づいて、前記構造物データを用いて形成される造形物が、乾燥、重合または焼結による変化後に前記所望の構造物の形状に近くなるように当該構造物データを補正する補正処理と、
前記構造物を前記基礎平面上に配置し、前記配置された前記構造物を前記基礎平面に垂直に投影した投影面と、前記構造物との間の空間の外形を表す外形データを、前記構造物データを用いて生成する外形生成処理と、
前記空間の略全体を満たすように形成され、かつ前記基礎平面に対して垂直に設けられた複数の板状体または柱状体で形成され、前記構造物を支持する支持部材の形状を表す支持部材データを生成する支持部材生成処理と、
前記支持部材データで表される前記支持部材と、前記補正部によって補正された構造物データで表される前記構造物とで構成される造形物の、前記基礎平面に略平行な複数の平面それぞれにおける断面形状を表す断面データを、前記構造物データ、前記支持部材データおよび前記外形データに基づいて生成する断面生成処理とをコンピュータに実行させ、
前記組成データ記録部は、前記支持部材に用いられる材料の組成を表す組成データもさらに記録し、
前記支持部材生成処理は、前記組成データ記録部に記録された前記組成データを用いて、前記板状体または前記柱状体の水平方向の厚みを求める、造形データ作成プログラム。 - 光を照射することにより、またはバインダー液を含浸させることにより、少なくとも一部を形状化させた造形層を、基礎平面上に積層することによって、前記形状化された部分を造形物として形成する積層造形装置で用いられる、前記造形物の形状を表す造形データを作成する処理をコンピュータに実行させる造形データ作成プログラムであって、
所望の構造物の形状を表す構造物データを入力する構造物データ入力処理と、
前記積層造形装置が形成する前記造形物に用いられる材料の組成を表す組成データを記録する組成データ記録部と、前記造形物に用いられる可能性のある材料の組成と、当該材料の乾燥、重合または焼結による変化の量を示す変化量データとを対応づけて記録する変化量データ記録部とにアクセスし、前記組成データで示される材料の組成に対応する変化の量を示す変化量データを前記変化量データから取得し、取得した変化量データに基づいて、前記構造物データを用いて形成される造形物が、乾燥、重合または焼結による変化後に前記所望の構造物の形状に近くなるように当該構造物データを補正する補正処理と、
前記構造物を前記基礎平面上に配置し、前記配置された前記構造物を前記基礎平面に垂直に投影した投影面と、前記構造物との間の空間の外形を表す外形データを、前記構造物データを用いて生成する外形生成処理と、
前記空間の略全体を満たすように形成され、前記構造物を支持する支持部材の形状を表す支持部材データを生成する支持部材生成処理と、
前記支持部材データで表される前記支持部材と、前記補正部によって補正された構造物データで表される前記構造物とで構成される造形物の、前記基礎平面に略平行な複数の平面それぞれにおける断面形状を表す断面データを、前記構造物データ、前記支持部材データおよび前記外形データに基づいて生成する断面生成処理とをコンピュータに実行させ、
前記構造物データ入力処理においては、前記所望の構造物が他の物体に装着されるものである場合に、前記物体と前記構造物との相対的な位置関係を示す関係データがさらに入力され、
前記関係データに基づいて、前記物体と前記構造物との前記位置関係を固定するための部材を表す補助形状データを生成し、前記構造物データに付加する補助形状データ生成処理をさらにコンピュータに実行させ、
前記補助形状データ生成処理は、前記物体と前記構造物との間に設けられた板状体または柱状体を表すデータを、補助形状データとして生成するものであって、前記組成データ記録部に記録された前記組成データを用いて、前記板状体または前記柱状体の断面積を求めることで前記補助形状データを生成する処理を含む、造形データ作成プログラム。
Priority Applications (1)
| Application Number | Priority Date | Filing Date | Title |
|---|---|---|---|
| JP2008538732A JP4792504B2 (ja) | 2006-10-10 | 2007-10-10 | 造形データ作成システム、製造方法および造形データ作成プログラム |
Applications Claiming Priority (4)
| Application Number | Priority Date | Filing Date | Title |
|---|---|---|---|
| JP2006276201 | 2006-10-10 | ||
| JP2006276201 | 2006-10-10 | ||
| PCT/JP2007/069723 WO2008044693A1 (en) | 2006-10-10 | 2007-10-10 | Modeling data creating system, manufacturing method, and modeling data creating program |
| JP2008538732A JP4792504B2 (ja) | 2006-10-10 | 2007-10-10 | 造形データ作成システム、製造方法および造形データ作成プログラム |
Publications (2)
| Publication Number | Publication Date |
|---|---|
| JPWO2008044693A1 JPWO2008044693A1 (ja) | 2010-02-12 |
| JP4792504B2 true JP4792504B2 (ja) | 2011-10-12 |
Family
ID=39282886
Family Applications (1)
| Application Number | Title | Priority Date | Filing Date |
|---|---|---|---|
| JP2008538732A Active JP4792504B2 (ja) | 2006-10-10 | 2007-10-10 | 造形データ作成システム、製造方法および造形データ作成プログラム |
Country Status (5)
| Country | Link |
|---|---|
| US (1) | US8209044B2 (ja) |
| JP (1) | JP4792504B2 (ja) |
| CN (1) | CN101535032B (ja) |
| DE (1) | DE112007002411T5 (ja) |
| WO (1) | WO2008044693A1 (ja) |
Cited By (3)
| Publication number | Priority date | Publication date | Assignee | Title |
|---|---|---|---|---|
| KR101796693B1 (ko) | 2016-08-11 | 2017-11-10 | 주식회사 신도리코 | 3d 프린터 출력물의 내부 지지 장치 및 방법 |
| KR20180124542A (ko) * | 2017-05-12 | 2018-11-21 | 울산대학교 산학협력단 | 잔류 응력에 따른 출력물의 변형을 방지하는 3차원 프린팅 장치 및 그것을 이용한 3차원 프린팅 방법 |
| KR20200019285A (ko) * | 2018-08-08 | 2020-02-24 | 한국생산기술연구원 | 이중 벽 구조를 구비하는 3d 조형체의 3d 프린팅 방법 |
Families Citing this family (68)
| Publication number | Priority date | Publication date | Assignee | Title |
|---|---|---|---|---|
| WO2009039159A2 (en) | 2007-09-17 | 2009-03-26 | 3D Systems, Inc. | Region-based supports for parts produced by solid freeform fabrication |
| JP2011185650A (ja) * | 2010-03-05 | 2011-09-22 | Omron Corp | モデル作成装置およびモデル作成プログラム |
| DE102010041461B4 (de) * | 2010-09-27 | 2016-03-17 | Siemens Aktiengesellschaft | Prüfverfahren für ein additives Fertigungsverfahren |
| GB2485598A (en) | 2010-11-22 | 2012-05-23 | Biocad Medical Inc | Method and device for producing a dental component: shaping the component with support pin, then engaging second holding means for subsequent pin removal. |
| WO2012070052A1 (en) * | 2010-11-28 | 2012-05-31 | Objet Ltd. | System and method for additive manufacturing of an object |
| CN102081693B (zh) * | 2011-01-11 | 2013-01-30 | 大连理工大学 | 薄壁复杂曲面零件三维加工预处理方法 |
| JP5890683B2 (ja) * | 2011-01-28 | 2016-03-22 | キヤノン株式会社 | 情報処理装置およびその方法 |
| US8973249B2 (en) * | 2011-08-09 | 2015-03-10 | Toyota Motor Engineering & Manufacturing North America, Inc. | Test fixtures for automotive parts and methods of fabricating the same |
| US9922241B2 (en) | 2011-12-01 | 2018-03-20 | Nokia Technologies Oy | Gesture recognition method, an apparatus and a computer program for the same |
| CN102592005B (zh) * | 2011-12-29 | 2013-11-13 | 北京煜邦电力技术有限公司 | 一种单线图生成方法和装置 |
| DE102012013318A1 (de) | 2012-07-06 | 2014-01-09 | Eos Gmbh Electro Optical Systems | Verfahren und Vorrichtung zum schichtweisen Herstellen eines dreidimensionalen Objekts |
| US8751543B2 (en) * | 2012-07-13 | 2014-06-10 | Sap Ag | Database view modeling using existing data model |
| FR3002168B1 (fr) * | 2013-02-15 | 2016-12-23 | Michelin & Cie | Piece obtenue par fusion selective d'une poudre comprenant un element principal et des elements secondaires rigides |
| US20140303942A1 (en) * | 2013-04-05 | 2014-10-09 | Formlabs, Inc. | Additive fabrication support structures |
| JP2015058678A (ja) * | 2013-09-20 | 2015-03-30 | インターナショナル・ビジネス・マシーンズ・コーポレーションInternational Business Machines Corporation | レーザ照射で形成される3次元構造物の寸法と当該3次元構造物のスキャンパスの設計値との差を最小化するためのデータを作成する方法、並びに当該データを作成するためのコンピュータ及びコンピュータ・プログラム |
| KR20160138117A (ko) * | 2014-03-24 | 2016-12-02 | 디더블유에스 에스.알.엘. | 스테레오리소그라피를 통한 삼차원 물체 만들기에 사용하기 적합한 삼차원 물체의 수치 표현을 생성하기 위한 방법 및 장치 |
| CA2941198A1 (en) * | 2014-03-25 | 2015-10-01 | Dws S.R.L. | Improved computer-implemented method for defining the points of development of supporting elements of an object made by means of a stereolithography process |
| CN104015360B (zh) * | 2014-06-13 | 2016-03-16 | 英华达(上海)科技有限公司 | 立体列印机的列印方法及存储装置 |
| US10252466B2 (en) | 2014-07-28 | 2019-04-09 | Massachusetts Institute Of Technology | Systems and methods of machine vision assisted additive fabrication |
| WO2016054744A1 (en) * | 2014-10-09 | 2016-04-14 | Dental Wings Inc. | Method and system for processing dental prostheses |
| GB2532470A (en) | 2014-11-19 | 2016-05-25 | Digital Metal Ab | Manufacturing method, manufacturing apparatus, data processing method, data processing apparatus, data carrier |
| US10442138B2 (en) | 2014-12-01 | 2019-10-15 | Canon Kabushiki Kaisha | Three-dimensional object manufacturing method and three-dimensional shaping apparatus |
| GB201500608D0 (en) * | 2015-01-14 | 2015-02-25 | Digital Metal Ab | Sintering method, manufacturing method, object data processing method, data carrier and object data processor |
| GB201500607D0 (en) * | 2015-01-14 | 2015-02-25 | Digital Metal Ab | Additive manufacturing method, method of processing object data, data carrier, object data processor and manufactured object |
| JP6751434B2 (ja) | 2015-07-13 | 2020-09-02 | マッシビット スリーディー プリンティング テクノロジーズ リミテッド | 支持構造 |
| JP6798184B2 (ja) * | 2015-10-01 | 2020-12-09 | 株式会社リコー | 立体造形装置の制御装置、立体造形装置の制御方法、立体造形装置の制御プログラム、立体造形システム、及び立体造形物の製造方法 |
| JP2017077707A (ja) * | 2015-10-22 | 2017-04-27 | ローランドディー.ジー.株式会社 | 3次元造形データ生成装置およびこれを備えた3次元造形システム |
| EP3368227B1 (en) | 2015-10-30 | 2021-12-08 | Seurat Technologies, Inc. | Additive manufacturing system and method |
| JP6699161B2 (ja) | 2015-12-18 | 2020-05-27 | 株式会社リコー | 立体造形装置、立体造形装置の制御方法及びプログラム |
| FR3046094A1 (fr) | 2015-12-23 | 2017-06-30 | Michelin & Cie | Procede de fabrication additive d'une piece par fusion selective totale ou partielle d'une poudre et machine adaptee a la mise en oeuvre d'un tel procede |
| FR3046095B1 (fr) * | 2015-12-23 | 2018-01-26 | Addup | Machine de fabrication additive et procede de fabrication additive mettant en oeuvre une telle machine |
| CN105426642B (zh) * | 2015-12-29 | 2018-07-20 | 成都天衡电科科技有限公司 | 一种制造工序模型提取方法 |
| JP6676984B2 (ja) * | 2016-01-29 | 2020-04-08 | セイコーエプソン株式会社 | 三次元造形物の製造方法 |
| JP6778883B2 (ja) * | 2016-01-29 | 2020-11-04 | パナソニックIpマネジメント株式会社 | 三次元形状造形物の製造方法 |
| WO2017130834A1 (ja) * | 2016-01-29 | 2017-08-03 | パナソニックIpマネジメント株式会社 | 三次元形状造形物の製造方法 |
| NZ745973A (en) * | 2016-03-16 | 2020-02-28 | Ricoh Co Ltd | Information processing apparatus, program, information processing method, and modeling system |
| US20170297099A1 (en) | 2016-04-14 | 2017-10-19 | Desktop Metal, Inc. | Fused filament fabrication system configured to fabricate interface layers for breakaway support |
| US10556383B2 (en) | 2016-05-12 | 2020-02-11 | General Electric Company | Methods and rail supports for additive manufacturing |
| JP6877993B2 (ja) * | 2016-05-18 | 2021-05-26 | 三菱重工業株式会社 | データ作成装置、3次元積層システム、制御方法及びプログラム |
| JP6112693B1 (ja) * | 2016-09-01 | 2017-04-12 | 株式会社ソディック | 積層造形装置 |
| US10160082B2 (en) * | 2016-09-28 | 2018-12-25 | The Boeing Company | Method and apparatus for monitoring automated drilling processes |
| JP6188103B1 (ja) | 2016-11-16 | 2017-08-30 | 株式会社ソディック | 積層造形装置 |
| WO2018169587A2 (en) | 2016-12-16 | 2018-09-20 | Massachusetts Institute Of Technology | Adaptive material deposition for additive manufacturing |
| DE112016007474T5 (de) * | 2016-12-28 | 2019-08-14 | Mitsubishi Electric Corporation | Hilfsvorrichtung für die additive Fertigung, Hilfsverfahren für die additive Fertigung und Hilfsprogramm für die additive Fertigung |
| JP6415004B2 (ja) | 2017-03-14 | 2018-10-31 | 株式会社ソディック | 積層造形装置 |
| WO2018181833A1 (ja) * | 2017-03-29 | 2018-10-04 | 三井化学株式会社 | 光硬化性組成物、人工爪、造形データの生成方法、人工爪の製造方法及び人工爪の製造システム |
| JP2018171308A (ja) * | 2017-03-31 | 2018-11-08 | 三井化学株式会社 | 人工歯の造形データ生成方法、人工歯の造形データ生成プログラム、人工歯の製造方法、及び人工歯の製造プログラム |
| DE102017208520A1 (de) * | 2017-05-19 | 2018-11-22 | Premium Aerotec Gmbh | Verfahren zur Herstellung eines Objekts mittels generativer Fertigung, Bauteil, insbesondere für ein Luft- oder Raumfahrzeug, und computerlesbares Medium |
| CN110831735B (zh) * | 2017-06-28 | 2021-12-14 | 3M创新有限公司 | 用于粘合剂和粘合剂制品的增材制造方法 |
| EP3473418B1 (en) * | 2017-10-19 | 2023-12-06 | Essilor International | Method for manufacturing an ophthalmic lens |
| US20190126558A1 (en) | 2017-11-02 | 2019-05-02 | Eos Gmbh Electro Optical Systems | Method and assembly for generating control data for the manufacture of a three-dimensional object by means of an additive manufacturing method |
| CN108247055B (zh) * | 2018-02-12 | 2019-01-29 | 成都优材科技有限公司 | 牙科附着体的数字化一体化成型方法 |
| JP2020001374A (ja) * | 2018-03-16 | 2020-01-09 | 株式会社リコー | 造形システム、情報処理装置、造形装置、方法およびプログラム |
| JP7027221B2 (ja) * | 2018-03-29 | 2022-03-01 | 三菱重工業株式会社 | 造形データ生成システム及び造形データ生成方法 |
| FR3086567B1 (fr) * | 2018-10-02 | 2022-07-22 | Norimat | Procede de realisation de contreforme et procede de fabrication de piece de forme complexe utilisant une telle contre-forme |
| CN109648856B (zh) * | 2018-12-19 | 2021-04-16 | 上海汉邦联航激光科技有限公司 | 一种3d打印机的加工时间估算方法 |
| CN109657362B (zh) | 2018-12-22 | 2021-06-08 | 上海杰达齿科制作有限公司 | 修复体瓷材料层的缩放方法及加工工艺 |
| EP4628048A3 (en) * | 2019-03-25 | 2025-12-17 | Align Technology, Inc. | Various structured supports for 3d printed aligners/mouth pieces |
| EP3950209B1 (en) * | 2019-03-25 | 2025-07-16 | Nikon Corporation | Build system configured to build, and method of building a build object on an object |
| JP7257316B2 (ja) * | 2019-12-27 | 2023-04-13 | 京セラ株式会社 | 収縮率予測装置、収縮率予測システム、収縮率予測装置の制御方法、セラミックス製品の製造方法 |
| JP7290564B2 (ja) * | 2019-12-27 | 2023-06-13 | 京セラ株式会社 | 収縮率予測装置、収縮率予測システム、収縮率予測装置の制御方法、セラミックス製品の製造方法 |
| JP7290565B2 (ja) * | 2019-12-27 | 2023-06-13 | 京セラ株式会社 | 収縮率予測装置、収縮率予測システム、収縮率予測装置の制御方法、セラミックス製品の製造方法 |
| WO2022108517A1 (en) * | 2020-11-20 | 2022-05-27 | Agency For Science, Technology And Research | Optimization of support structures for additive manufacturing |
| US12162074B2 (en) | 2020-11-25 | 2024-12-10 | Lawrence Livermore National Security, Llc | System and method for large-area pulsed laser melting of metallic powder in a laser powder bed fusion application |
| JP7759083B2 (ja) * | 2021-06-08 | 2025-10-23 | 株式会社コスモス・コーポレイション | 義歯の取得方法 |
| ES3039275T3 (en) | 2022-03-31 | 2025-10-20 | Ivoclar Vivadent Ag | Method for manufacturing a dental object |
| JP2023154441A (ja) * | 2022-04-07 | 2023-10-20 | キヤノン株式会社 | 造形物、造形物の製造方法、光造形装置、加工プログラムの作成方法、作成プログラム、加工プログラム、及び記録媒体 |
| ES3032955T3 (en) * | 2022-07-21 | 2025-07-29 | Ivoclar Vivadent Ag | Method for arranging supporting structures for the additive manufacturing of a dental restoration |
Family Cites Families (28)
| Publication number | Priority date | Publication date | Assignee | Title |
|---|---|---|---|---|
| US5691905A (en) * | 1990-06-11 | 1997-11-25 | Dentsply Research & Development Corp. | Prosthetic teeth and mold making and polishing therefor |
| SE501411C2 (sv) * | 1993-07-12 | 1995-02-06 | Nobelpharma Ab | Förfarande och anordning vid tredimensionell kropp användbar i människokroppen |
| US6648640B2 (en) * | 1999-11-30 | 2003-11-18 | Ora Metrix, Inc. | Interactive orthodontic care system based on intra-oral scanning of teeth |
| US7013191B2 (en) * | 1999-11-30 | 2006-03-14 | Orametrix, Inc. | Interactive orthodontic care system based on intra-oral scanning of teeth |
| EP1272122A4 (en) * | 1999-12-29 | 2007-10-03 | Ormco Corp | METHOD AND DEVICE FOR FORMING PERSONALIZED ORTHODONTIC DEVICE |
| US6633789B1 (en) * | 2000-02-17 | 2003-10-14 | Align Technology, Inc. | Effiicient data representation of teeth model |
| US6463344B1 (en) * | 2000-02-17 | 2002-10-08 | Align Technology, Inc. | Efficient data representation of teeth model |
| JP3873571B2 (ja) * | 2000-03-28 | 2007-01-24 | 松下電工株式会社 | 光造形機用データ作成方法及びその装置 |
| WO2001074268A1 (en) * | 2000-03-30 | 2001-10-11 | Align Technology, Inc. | System and method for separating three-dimensional models |
| US6772026B2 (en) * | 2000-04-05 | 2004-08-03 | Therics, Inc. | System and method for rapidly customizing design, manufacture and/or selection of biomedical devices |
| US7245977B1 (en) * | 2000-07-20 | 2007-07-17 | Align Technology, Inc. | Systems and methods for mass customization |
| US6915178B2 (en) * | 2000-09-06 | 2005-07-05 | O'brien Dental Lab, Inc. | Dental prosthesis manufacturing process, dental prosthesis pattern & dental prosthesis made thereby |
| US6682684B1 (en) | 2000-09-07 | 2004-01-27 | Honeywell International Inc. | Procedures for rapid build and improved surface characteristics in layered manufacture |
| JP4739507B2 (ja) * | 2000-11-29 | 2011-08-03 | 株式会社アスペクト | 3次元造形装置 |
| US20050043835A1 (en) * | 2002-09-30 | 2005-02-24 | Medical Modeling Llc | Method for design and production of custom-fit prosthesis |
| US7328077B2 (en) * | 2003-01-06 | 2008-02-05 | Duane Milford Durbin | Method and system for automated mass manufacturing of custom tooth die models for use in the fabrication of dental prosthetics |
| US6882894B2 (en) * | 2003-01-06 | 2005-04-19 | Duane Milford Durbin | Method and system for automated mass manufacturing of custom tooth die models for use in the fabrication of dental prosthetics |
| WO2004087000A1 (en) * | 2003-04-03 | 2004-10-14 | Cadent Ltd. | Method and system for fabricating a dental coping, and a coping fabricated thereby |
| US7228191B2 (en) * | 2003-05-02 | 2007-06-05 | Geodigm Corporation | Method and apparatus for constructing crowns, bridges and implants for dental use |
| JP2004344623A (ja) | 2003-05-23 | 2004-12-09 | Shiyoufuu:Kk | 歯科用構造物自動作製装置 |
| ATE336957T1 (de) * | 2003-06-13 | 2006-09-15 | Ivoclar Vivadent Ag | Verfahren zur herstellung einer zahnrestauration und entsprechendes gerät |
| JP2005059477A (ja) | 2003-08-18 | 2005-03-10 | Shiyoufuu:Kk | 立体構造物製作装置 |
| US7474932B2 (en) * | 2003-10-23 | 2009-01-06 | Technest Holdings, Inc. | Dental computer-aided design (CAD) methods and systems |
| US7333874B2 (en) * | 2004-02-24 | 2008-02-19 | Cadent Ltd. | Method and system for designing and producing dental prostheses and appliances |
| US7236842B2 (en) * | 2004-12-02 | 2007-06-26 | Cadent Ltd. | System and method for manufacturing a dental prosthesis and a dental prosthesis manufactured thereby |
| DE102005035474B4 (de) * | 2005-07-28 | 2019-06-13 | Institut Straumann Ag | Verfahren zum Herstellen von Zahnersatzteilen, Computer, Computerprogramm und computerlesbares Medium |
| JP4751144B2 (ja) | 2005-08-29 | 2011-08-17 | 株式会社松風 | 造形データ作成システム、製造方法および造形データ作成プログラム |
| US7844429B2 (en) * | 2006-07-19 | 2010-11-30 | Align Technology, Inc. | System and method for three-dimensional complete tooth modeling |
-
2007
- 2007-10-10 DE DE112007002411T patent/DE112007002411T5/de not_active Withdrawn
- 2007-10-10 CN CN2007800378047A patent/CN101535032B/zh not_active Expired - Fee Related
- 2007-10-10 JP JP2008538732A patent/JP4792504B2/ja active Active
- 2007-10-10 US US12/444,942 patent/US8209044B2/en not_active Expired - Fee Related
- 2007-10-10 WO PCT/JP2007/069723 patent/WO2008044693A1/ja not_active Ceased
Cited By (7)
| Publication number | Priority date | Publication date | Assignee | Title |
|---|---|---|---|---|
| KR101796693B1 (ko) | 2016-08-11 | 2017-11-10 | 주식회사 신도리코 | 3d 프린터 출력물의 내부 지지 장치 및 방법 |
| CN107718532A (zh) * | 2016-08-11 | 2018-02-23 | 新都有限公司 | 用于3d打印机的输出的填充设备和方法 |
| CN107718532B (zh) * | 2016-08-11 | 2019-05-10 | 新都有限公司 | 用于3d打印机的输出的填充设备和方法 |
| KR20180124542A (ko) * | 2017-05-12 | 2018-11-21 | 울산대학교 산학협력단 | 잔류 응력에 따른 출력물의 변형을 방지하는 3차원 프린팅 장치 및 그것을 이용한 3차원 프린팅 방법 |
| KR101960594B1 (ko) * | 2017-05-12 | 2019-03-20 | 울산대학교 산학협력단 | 잔류 응력에 따른 출력물의 변형을 방지하는 3차원 프린팅 장치 및 그것을 이용한 3차원 프린팅 방법 |
| KR20200019285A (ko) * | 2018-08-08 | 2020-02-24 | 한국생산기술연구원 | 이중 벽 구조를 구비하는 3d 조형체의 3d 프린팅 방법 |
| KR102147215B1 (ko) | 2018-08-08 | 2020-08-26 | 한국생산기술연구원 | 이중 벽 구조를 구비하는 3d 조형체의 3d 프린팅 방법 |
Also Published As
| Publication number | Publication date |
|---|---|
| DE112007002411T5 (de) | 2009-07-30 |
| US8209044B2 (en) | 2012-06-26 |
| WO2008044693A1 (en) | 2008-04-17 |
| JPWO2008044693A1 (ja) | 2010-02-12 |
| CN101535032B (zh) | 2012-02-08 |
| CN101535032A (zh) | 2009-09-16 |
| US20100042241A1 (en) | 2010-02-18 |
Similar Documents
| Publication | Publication Date | Title |
|---|---|---|
| JP4792504B2 (ja) | 造形データ作成システム、製造方法および造形データ作成プログラム | |
| US11523887B2 (en) | Method and system for fabricating a dental coping, and a coping fabricated thereby | |
| US11413117B2 (en) | Ceramic processing and design for the direct manufacture of customized labial and lingual orthodontic clear aligner attachments | |
| CA2698525C (en) | Systems and methods for 3d previewing | |
| EP2763622B1 (en) | Virtual design of the attachment of a dental model in an articulator | |
| CA2615461C (en) | Method and device for producing dental prosthetic elements | |
| CN104644276B (zh) | 制造牙齿矫治器的方法以及牙齿矫治器 | |
| US20130081271A1 (en) | Method of Making Self-Ligating Orthodontic Brackets and Component Parts | |
| US20140308623A1 (en) | Computer fabrication of dental prosthetics | |
| US20150289954A1 (en) | Computer fabrication of dental prosthetics | |
| US8857058B2 (en) | Method and system for making dental restorations | |
| JP4751144B2 (ja) | 造形データ作成システム、製造方法および造形データ作成プログラム | |
| Alammar et al. | The accuracy of 3D‐printed fixed dental restorations | |
| CN103338722A (zh) | 牙齿修复框架及其制备方法 | |
| Noh et al. | Comparison of accuracy in internal, marginal, and external regions of ceramic copings fabricated via milling, DLP printing, and heat-pressing methods | |
| Galeva et al. | Fixed prosthetic constructionsmanufacturing technology–significance for their precision |
Legal Events
| Date | Code | Title | Description |
|---|---|---|---|
| A131 | Notification of reasons for refusal |
Free format text: JAPANESE INTERMEDIATE CODE: A131 Effective date: 20110405 |
|
| A521 | Request for written amendment filed |
Free format text: JAPANESE INTERMEDIATE CODE: A523 Effective date: 20110511 |
|
| TRDD | Decision of grant or rejection written | ||
| A01 | Written decision to grant a patent or to grant a registration (utility model) |
Free format text: JAPANESE INTERMEDIATE CODE: A01 Effective date: 20110707 |
|
| A01 | Written decision to grant a patent or to grant a registration (utility model) |
Free format text: JAPANESE INTERMEDIATE CODE: A01 |
|
| A61 | First payment of annual fees (during grant procedure) |
Free format text: JAPANESE INTERMEDIATE CODE: A61 Effective date: 20110725 |
|
| FPAY | Renewal fee payment (event date is renewal date of database) |
Free format text: PAYMENT UNTIL: 20140729 Year of fee payment: 3 |
|
| R150 | Certificate of patent or registration of utility model |
Ref document number: 4792504 Country of ref document: JP Free format text: JAPANESE INTERMEDIATE CODE: R150 |
|
| FPAY | Renewal fee payment (event date is renewal date of database) |
Free format text: PAYMENT UNTIL: 20140729 Year of fee payment: 3 |
|
| R250 | Receipt of annual fees |
Free format text: JAPANESE INTERMEDIATE CODE: R250 |
|
| R250 | Receipt of annual fees |
Free format text: JAPANESE INTERMEDIATE CODE: R250 |
|
| R250 | Receipt of annual fees |
Free format text: JAPANESE INTERMEDIATE CODE: R250 |
|
| R250 | Receipt of annual fees |
Free format text: JAPANESE INTERMEDIATE CODE: R250 |
|
| R250 | Receipt of annual fees |
Free format text: JAPANESE INTERMEDIATE CODE: R250 |
|
| R250 | Receipt of annual fees |
Free format text: JAPANESE INTERMEDIATE CODE: R250 |
|
| R250 | Receipt of annual fees |
Free format text: JAPANESE INTERMEDIATE CODE: R250 |
|
| R250 | Receipt of annual fees |
Free format text: JAPANESE INTERMEDIATE CODE: R250 |
|
| R250 | Receipt of annual fees |
Free format text: JAPANESE INTERMEDIATE CODE: R250 |
|
| R250 | Receipt of annual fees |
Free format text: JAPANESE INTERMEDIATE CODE: R250 |
|
| R250 | Receipt of annual fees |
Free format text: JAPANESE INTERMEDIATE CODE: R250 |
|
| R250 | Receipt of annual fees |
Free format text: JAPANESE INTERMEDIATE CODE: R250 |
