JP4791069B2 - スクイズフォーマー及び液体製品 - Google Patents

スクイズフォーマー及び液体製品 Download PDF

Info

Publication number
JP4791069B2
JP4791069B2 JP2005109573A JP2005109573A JP4791069B2 JP 4791069 B2 JP4791069 B2 JP 4791069B2 JP 2005109573 A JP2005109573 A JP 2005109573A JP 2005109573 A JP2005109573 A JP 2005109573A JP 4791069 B2 JP4791069 B2 JP 4791069B2
Authority
JP
Japan
Prior art keywords
liquid
air
mixing
squeeze
content liquid
Prior art date
Legal status (The legal status is an assumption and is not a legal conclusion. Google has not performed a legal analysis and makes no representation as to the accuracy of the status listed.)
Expired - Fee Related
Application number
JP2005109573A
Other languages
English (en)
Other versions
JP2006290365A (ja
Inventor
歳廣 田代
啓育 加藤
Current Assignee (The listed assignees may be inaccurate. Google has not performed a legal analysis and makes no representation or warranty as to the accuracy of the list.)
Lion Corp
Original Assignee
Lion Corp
Priority date (The priority date is an assumption and is not a legal conclusion. Google has not performed a legal analysis and makes no representation as to the accuracy of the date listed.)
Filing date
Publication date
Application filed by Lion Corp filed Critical Lion Corp
Priority to JP2005109573A priority Critical patent/JP4791069B2/ja
Publication of JP2006290365A publication Critical patent/JP2006290365A/ja
Application granted granted Critical
Publication of JP4791069B2 publication Critical patent/JP4791069B2/ja
Anticipated expiration legal-status Critical
Expired - Fee Related legal-status Critical Current

Links

Images

Landscapes

  • Containers And Packaging Bodies Having A Special Means To Remove Contents (AREA)

Description

本発明は、容器をスクイズすることによって、容器内に収容された内容液を泡状化して吐出するスクイズフォーマー及びスクイズフォーマーを用いた液体製品に関する。
従来、例えば、洗浄液等の液体を内容液として収容した状態で、風呂やトイレ等の洗浄箇所に洗浄液を直接塗布することのできる容器として、スクイズフォーマーが用いられている。
この種のスクイズフォーマーは、容器をスクイズ、つまり押して絞り出す操作を行うことにより、内容液とエア(空気)とを内部で混合して気液とし、多孔板又はスクリーンメッシュを通過させることによって前記気液を泡状化して吐出するようになっている。
容器本体をスクイズして、内容液を泡状化して吐出するスクイズフォーマーとしては、混合部において内容液とエアとを別々の通路から供給して気液を生成し、混合部上方に設けられた多孔板及びスクリーンメッシュに気液を通過させて泡状化、吐出するものがある(例えば、特許文献1)。
また、容器をスクイズした後に、エアを、多孔板やスクリーンメッシュを介さずに容器本体内部へ吸引させるため、吸引エアが通過する専用のチェックバルブ機構を設けたものが提案されている(例えば、特許文献2)。
また、内容液の流路に邪魔板をジグザグ状に配置して設けることによって内容液を泡状化させ、吐出口から吐出するものが提案されている(例えば、特許文献3)。
実開昭58−174272号公報 実開平5−54304号公報 実公平6−21880号公報
特許文献1に記載のスクイズフォーマーは、多孔板及び微細なスクリーンメッシュに、混合部で混合された気液を通過させ、泡状化して吐出している。
しかしながら、特許文献1に記載のスクイズフォーマーでは、気液が多孔板及び微細なスクリーンメッシュを通過する際、通過に伴う大きな流路抵抗が生じるため、吐出時に必要な容器をスクイズする圧力が上昇して操作性が低下する虞がある。
また、吐出後に容器内に吸引されるエアも、多孔板やスクリーンメッシュを通過するため、容器本体の復元力を大きくしてエアの吸引力を高める必要がある。このため、容器本体の材質を、復元力の大きい硬いものにする必要があり、容器をスクイズする際の操作性が一層低下する虞がある。また、内容液中に乾燥固化する成分が含まれている場合、スクリーンメッシュが塞がってしまうという不具合が生じる。
特許文献2に記載のスクイズフォーマーは、スクイズ後に吸引するエアが逆止弁機構を通過する構成であり、スクリーンメッシュを介さずに、容器内にエアが取り込まれるため、容器本体の材質としては、復元力がそれほど大きくない柔らかいものを採用することが可能となる。
しかしながら、特許文献2に記載のスクイズフォーマーでは、内容液を、スクリーンメッシュを通過させることで泡状化して吐出する構成であり、内容液がスクリーンメッシュを通過する際は、大きな流路抵抗が生じる。このため、大きなスクイズ力が必要となり、吐出操作時の操作性が低下する。
また、エア通過専用のチェックバルブ機構は構成が複雑であり、容器の大型化やコストアップの要因となってしまう虞がある。
特許文献3に記載のスクイズフォーマーは、多孔板やスクリーンメッシュ等を使用せず、流路内にジグザグ配置した邪魔板の間に内容液を通過させることにより、内容液を泡状化して吐出する構成であり、流路抵抗が低いため、容器本体に大きな復元力を持たせる必要がなく、取り扱い性にも優れている。
しかしながら、特許文献3に記載のスクイズフォーマーでは、内容液の流路の構造が複雑となり、邪魔板を成形するのが難しいため、コストが上昇してしまう。また、内容液を、ジグザグ配置した邪魔板の間を通過させるだけでは攪拌効率が低いため、きめの細かな良質の泡が得られなくなる虞がある。
本発明は上記事情に鑑みてなされたもので、取り扱い性に優れ、液と気体の混合効率が高く、良質な泡状化及び吐出を行うことができるスクイズフォーマーを提供することを目的とする。
前記課題を解決するため、本発明は、スクイズすることによって内容液を泡状化して吐出するスクイズフォーマーであって、前記内容液が収容され、スクイズ操作後の復元性を有する容器本体と、該容器本体の口部に装着された口元部と、該口元部に取付けられ、前記内容液とエアとを混合させて泡状気液とする混合部と、前記混合部の下部に他端を接続して前記容器本体に収容され、スクイズによって前記容器本体の内圧を上昇させた時に、一端から前記内容液を吸い上げるチューブとを具備してなり、前記混合部は、前記チューブの一端から吸い上げられて他端から出される内容液を内部に取入れる液取入筒及びエアを内部に取入れるエア取入口が、各々少なくとも一以上の箇所に設けられた外側混合部と、該外側混合部の内側に取付けられ、前記外側混合部に取入れられた内容液及びエアを内部に設けられた攪拌室に取込む取込孔が、各々少なくとも一以上の箇所に設けられた内側混合部とからなり、前記内側混合部は、前記取込孔が、前記攪拌室内において前記内容液とエアとを渦巻き流を発生させて攪拌混合することで泡状気液が生成するように、前記内側混合部の径方向に対して傾斜した向きに形成されるとともに、前記取込孔の、前記内側混合部の径方向に対する傾斜角度が5°〜45°の範囲とされ、前記口元部に、前記攪拌室内で生成された泡状気液を吐出する吐出孔が設けられてなることを特徴とするスクイズフォーマーを提供する
発明のスクイズフォーマーは、前記口元部の吐出孔内面に凹凸部が設けられている構成としても良い。
本発明のスクイズフォーマーは、前記口元部の先端に、壁面が凹凸状に形成された吐出通路を有する吐出ノズル材を取り付けた構成としても良い。
本発明のスクイズフォーマーによれば、内容液とエアとを混合させて泡状気液とする混合部が、内容液を内部に取入れる液取入筒及びエアを内部に取入れるエア取入口を有する筒状の外側混合部と、該外側混合部の内側に取付けられて筒状に形成され、前記外側混合部に取入れられた内容液及びエアを、内部に設けられた攪拌室に取込む取込孔が少なくとも一以上の箇所に設けられた内側混合部とからなり、この内側混合部を、前記取込孔が、前記攪拌室内において前記内容液とエアとを渦巻き流を発生させて攪拌混合することで泡状気液が生成するように、前記内側混合部の径方向に対して傾斜した向きに形成されるとともに、前記取込孔の、前記内側混合部の径方向に対する傾斜角度が5°〜45°の範囲とされた構成としている。
これにより、多孔板やスクリーンメッシュ等を用いずに、内容液とエアとを混合した気液を泡状化して吐出することができ、流路抵抗が小さくなるため、スクイズ時に必要な力が小さくて済み、スクイズ後の容器内へのエアの吸引時も流路抵抗が無くスムーズになる。また、内容液に乾燥固化する成分を含むものを用いた場合であっても、目詰まりに等によって流路が塞がってしまうことが無い。
従って、容器本体に、大きな復元力を持たない柔らかな材質のものを用いることができ、操作性が高く、また、良質な泡状化及び吐出を可能とするスクイズフォーマーを、簡便で安価な構成で実現できる。また、乾燥固化する成分を含む内容液を使用することも可能となる。
また、本発明のスクイズフォーマーによれば、気液を外部に吐出する吐出孔の内面に凹凸部を設けた構成とすることにより、泡状気液が凹凸部でぶつかり合い、よりきめの細かい泡とすることができる。
従って、泡状気液の品位が一層向上し、内容液を洗浄剤とした際には洗浄力が向上する。
以下、本発明に係るスクイズフォーマーの一例について、図面を参照して説明する。
図1、図2、図3及び図4は、本発明のスクイズフォーマーの第1の実施形態を説明する図であり、このスクイズフォーマー1は、内容液8が収容される容器本体2と、該容器本体2の口部に装着されたキャップ状の口元部5と、口元部5の内側に一体化されて内容液8とエア9とを混合させて泡状気液81とする混合部4と、この混合部4の下部に装着されて容器本体2に収容されているチューブ3とから概略構成されている。このチューブ3は、その下端部(一端)3aからを容器本体2の底部に位置させ、上端部(他端)3bを混合部4に接続して設けられている。
本実施形態のスクイズフォーマー1に収容される内容液8は、例えば風呂用洗剤やトイレ用洗剤等であり、一定の粘度を有し、必要に応じて界面活性剤が添加された液剤である。内容液8は、エア9との気液混合状態として泡状化し、洗浄箇所に吐出して使用される。
図1(a)及び図4(a)に示すように、容器本体2は、有底筒状の容器であり、可撓性を有する樹脂等からなり、収容部22に内容液8が収容され、上部に容器口部21が開口されている。
容器本体2は、スクイズフォーマー1を使用する際に、容器胴部23が把持部及びスクイズ操作部として機能し、容器胴部23をスクイズすることによって後述する泡状化及び吐出操作を行った後は、形状が復元して内部にエア9を吸引するようになっている。
容器本体2の材質としては、特に限定されないが、可撓性を有する樹脂材料を用いることが好ましく、具体的には、ポリエチレン、ポリプロピレン、ポリエチレンテレフタレート等を用いることが好ましい。
図示例では、容器本体2は、上部が縮径して形成された円筒状となっているが、本体2の形状はこれに限定されず、使用者が把持してスクイズする際の操作性を考慮しながら、例えば角筒状等、適宜決定して採用すれば良い。
チューブ3は、上述した通り、容器本体2の収容部22に収容され、下端部3a(図4参照)から内容液8を吸い上げて液送し、上端部3bから排出する。
内容液8を吸い上げる際は、前記容器本体2の容器胴部23をスクイズすることによって容器本体2の内圧を上昇させることにより、内容液8を、下端部3aから押し入れるようにしてチューブ3内を上昇させて液送を行い、上端部3bから排出する。
チューブ3は、一般的な樹脂製のチューブを用いる等、特に限定されず、内容液8の成分を考慮しながら選定して採用すれば良い。
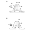
混合部4は、チューブ3内を液送された内容液8とエア9とを混合させて泡状気液とするものであり、図示例では有底円筒状とされ、その上部の開口端43が口元部5に取付けられて一体化され、容器本体2の上部に配置されている。
図1(a)、(b)に示すように、混合部4は、底部に形成された液取入筒41aに前記チューブ3の上端部3bが取付けられ、筒状に形成された外側混合部41と、外側混合部41の内側に固定して取付けられ、筒状に形成された内側混合部42とから構成される。
外側混合部41の液取入筒41aには、球弁45aと弁室45bとからなる逆止弁機構45が設けられている。
外側混合部41の内面には凹状に形成された液通路41cが、前記液取入筒41aに連続して設けられている。図1(b)に示す例では、液通路41cは、外側混合部41の内面の2箇所に、外側混合部41の径方向で対向して設けられているが、液通路41cを設ける位置及び数については、適宜決定することができる。
外側混合部41の側壁には、エア9を内部に取り入れるためのエア取入口41bが設けられており、図示例では、側壁の2箇所に、外側混合部41の径方向で対向して設けられているが、エア取入口41bを設ける位置及び数については、適宜決定することができる。
内側混合部42は、内部空間である攪拌室44が設けられており、前記外側混合部41に取入れられた内容液8或いはエア9を攪拌室44に取込むための取込孔42aが、少なくとも側壁の周方向の1箇所以上に設けられており、図1(b)に示す例では計4箇所、図2(a)、(b)に示す例では計8箇所に、内側混合部42の径方向に対向して設けられている。
これらの取込孔42aのうちの2つは、内側混合部42を外側混合部41内に組み付けた際に、外側混合部41の内面に設けられた液通路41cから内容液8を攪拌室44に取り込み、また、他の2つは、外側混合部41に設けられたエア取入口41bからエア8を攪拌室44に取り込む機能を有している。
取込孔42aは、図1(b)に示すように、内側混合部42の径方向に対して、角度αを有して傾斜した向きに形成されている。
角度αは、5°〜45°の範囲であれば良い。
角度αが5°未満だと、後述する攪拌室44での旋回流が得られないため、攪拌室44における内容液8とエア9との混合効率が低下する虞がある。
角度αが45°を超えると、内容液8が取込孔42aから攪拌室44へ流入する際の流入面積が小さくなり、流路抵抗が上昇する可能性がある。
混合部4は、以下に説明する作用により、内容液8とエア9とを混合して泡状気液81を生成する。
容器本体2をスクイズすると、容器本体2の内圧が上昇し、内容液8が下端部3aからチューブ3内に流入して上端部3bへと導かれる。内容液8は、上端部3bから液取入筒41aに流入した後、逆止弁機構45を通過して液通路41cへ導かれ、L方向(図1(b)参照)の向きで、取込孔42aから攪拌室44に圧入される。また、内側混合部42の他の箇所に設けられた取込孔42aからは、容器本体2内の内圧が上昇することによって、エア取入口41bから混合部4に流入したエア9が、A方向(図1(b)参照)の向きで、攪拌室44に圧入される。
この時、取込孔42aは、内側混合部42及び外側混合部41の径方向に対して、角度αを有して傾斜した構成となっているため、攪拌室44に圧入された内容液8及びエア9は、旋回流を形成するようにして一定方向(図1(a)、(b)のR方向)へ旋回する。
攪拌室44に圧入された内容液8及びエア9は、攪拌室44内において旋回流となって効率良く攪拌混合され、泡状気液81として生成される。泡状気液81は、攪拌室44に順次流入する内容液8及びエア9に押し出されるようにして、混合部4の開口端43から後述する口元部5へ向けて導かれてゆく。
口元部5は、容器本体2の容器口部21に覆い被せるようにして装着され、スクイズフォーマー1のキャップとして機能する。
図1(a)、図3(a)に示すように、口元部5には、吐出部51が上面から突出して設けられ、該吐出部51を貫通して吐出孔52が設けられており、この吐出孔52は、前記攪拌室44の内径Dよりも縮径して形成された傾斜部52aと小径部52bとからなる。
小径部52bの内面には、周方向に沿うようにして凹凸部53が設けられている。凹凸部53の形状は、凹凸の各々が独立した形状であっても、凸部がねじ山のように連続した形状であっても、また蛇腹状であっても良く、適宜決定することができる。
また、吐出孔の形状は、図3(b)に示す吐出孔55のように、内面をフラット形状として構成しても良い。
本実施形態のスクイズフォーマー1を使用する際は、図1(a)、図4(a)に示すように、上述の容器本体2のスクイズ操作に伴い、混合部4で泡状気液81が生成される。ここで生成される泡状気液81は、泡径が大きめの荒い泡となっている。
泡状気液81は、開口端43に取付けられた口元部5の吐出孔52へ流入する。この時、泡状気液81は、縮径部52aを通過して小径部52bに導かれ、小径部52bの内面に形成された凹凸部53でぶつかり合うことにより、きめの細かな泡を有する気液となる。
小径部52b内を通過した泡状気液81は、吐出端54から風呂やトイレ等の洗浄箇所へ向けて吐出される。
泡状気液81を吐出した後、スクイズした容器本体2は、可撓性材料による復元力によって元の形状に復元する。この時、吐出孔52から混合部4の攪拌室44内に外部からエアが吸入されるが、液取入れ口41aは逆止弁機構45によって閉弁されるため、外部から吸入されたエアは、チューブ3へは流入せずに、取込孔42a及びエア取入れ口41bを通じて、容器本体2内部に流入する。
スクイズフォーマー1を使用する際は、通常、上述の操作を繰り返して行うことにより、洗浄箇所等へ向けて吐出する。
上述した本実施形態のスクイズフォーマー1の作用については、図4(a)に示すような向きの正立状態で使用した場合を基に説明しているが、本実施形態のスクイズフォーマー1は、図4(b)に示すような向きでの倒立状態で使用することもできる。
スクイズフォーマー1を倒立状態で使用した場合には、正立状態で使用した場合とは内容液8及びエア9の流路が異なる。
図4(b)に示すように、スクイズフォーマー1を倒立させると、内容液8は容器本体2の容器口部21側の位置に溜まった状態となり、エア9は上方の底部24側へ移動し、チューブ3の下端部3aはエア9中に露出した状態となる。
この倒立状態で容器本体2をスクイズした場合には、内容液8は、エア取入口41b及び取込孔42aを通じて攪拌室44に圧入される。一方、チューブ3には、下端部3aからエア9が流入し、液取入筒41a、液通路41c及び取込孔42aを通じて攪拌室44に圧入される。攪拌室44内において、内容液8とエア9とが旋回流となって混じり合い、泡状気液81が生成され、この泡状気液81は開口端43から順次口元部の吐出孔52へと導かれ、凹凸部53による作用できめの細かな泡とされた後、外部へ吐出される。
上述したように、図4(a)、(b)に示した正立状態と倒立状態とでは、内容液8とエア9の流路が異なるため、混合部4に圧入される内容液8とエア9との比率が変わる可能性あがる。このため、スクイズフォーマー1を使用する状況を勘案し、液取入筒41a、エア取入口41b、液通路41c、取込孔42aやチューブ3の内径の寸法設定により、使用状況等に応じた気液バランスを設定すれば良い。
以上、説明したように、本実施形態のスクイズフォーマー1によれば、内容液8とエア9とを混合させて泡状気液81とする混合部4が、筒状に形成され、内容液8を内部に取入れる液取入筒41a及びエア9を内部に取入れるエア取入口41bが、少なくとも一以上の箇所に設けられた外側混合部41と、該外側混合部41の内側に固定して取付けられて筒状に形成され、外側混合部41に取入れられた内容液8及びエア9を内部に設けられた攪拌室44に取込む取込孔42aが、少なくとも一以上の箇所に設けられた内側混合部42とからなる構成としている。
これにより、多孔板やスクリーンメッシュ等を用いずに、内容液8とエア9とを混合した気液を泡状化して吐出することができ、流路抵抗が小さくなるため、スクイズ時に必要な力が小さくて済み、また、スクイズ後の容器内へのエアの吸引時も流路抵抗が無くスムーズになる。また、内容液8に乾燥固化する成分を含むものを用いた場合であっても、目詰まりに等によって流路が塞がってしまうことが無い。
従って、容器本体2に、大きな復元力を持たない柔らかな材質のものを用いることができ、操作性が高く、良質な泡状化及び吐出を可能とするスクイズフォーマーを、簡便で安価な構成で実現できる。また、乾燥固化する成分を含む内容液を使用することも可能となる。
また、スクイズフォーマー1によれば、吐出孔52(小径部52b)の内面に凹凸部53を設けた構成とすることにより、泡状気液81が凹凸部53でぶつかり合い、よりきめの細かい泡とすることができる。
従って、泡状気液81の品位が一層向上し、内容液8を洗浄剤とした際には、洗浄力の向上も実現できる。
以下に、本発明に係るスクイズフォーマーの第2の実施形態について、図5を用いて説明する。
以下の説明において、第1の実施形態のスクイズフォーマー1との共通部分については同じ符号を付して、その説明を省略する。
スクイズフォーマー11は、口元部6の吐出部(先端)61に、吐出ノズル材7が取付けられている点で、第1の実施形態のスクイズフォーマー1と異なる。
図5に示すように、スクイズフォーマー11の上部に取付けられた口元部6の吐出部61に、吐出ノズル材7の取付部71が嵌め込まれるようにして取付けられている。
吐出ノズル材7は、取付部71からノズル端72に向かって徐々に縮径するように形成され、また、ノズル吐出孔73の内面には凹凸部74が形成されており、図示例では蛇腹状の凹凸形状となっている。
スクイズフォーマー11は、混合部4で生成された泡状気液81が、吐出ノズル材7のノズル吐出孔73を通過する際に、凹凸部74にぶつかり合うことにより、きめの細かな泡を有する気液となってノズル吐出端72から吐出される。
なお、図5に示す例では、口元部6の吐出孔62内面はフラットな形状となっているが、図3(a)及び図1(a)に示すような、凹凸部53を有した構成としても良い。
本発明に係るスクイズフォーマーは、内容液として、例えば、風呂用洗剤やトイレ用洗剤等の液体が充填されて液体製品をなす。
また、本発明に係るスクイズフォーマーでは、充填される液体として、液粘度が3〜60mPa・sの範囲であり、また、活性剤を1〜30%の範囲で含んだものを用いた際に、優れた気液混合効果とスクイズ操作性を有する。
以下に、本発明に係るスクイズフォーマーの実施例について説明する。
各々の実施例及び比較例の欄で説明するようなスクイズフォーマーを作製し、内容液として風呂用洗剤(粘度20mPa・s、界面活性剤5%含有)を収容した。
作製したスクイズフォーマーの容器本体をスクイズして泡状気液を生成及び吐出させ、泡状気液の状態を目視で確認し、以下の基準で判定した(○、△、×で表記)。
(1)○:内容液とエアとが良く混じり合い、泡がきめ細やかであり、良質な泡状気液であった。
(2)△:内容液とエアとが良く混じり合い、泡は若干大径で荒めであったが、良質な泡状気液であった。
(3)×:内容液とエアとの混合がうまくいかず、泡も大径で荒い状態であった。
[実施例1]
図1に示すような、本発明に係るスクイズフォーマーにおいて、口元部の形状が、図3(b)に示す、吐出孔に凹凸部が形成されていないものを作製し、内容液として上述の風呂用洗剤を収容した。
容器本体をスクイズして泡状気液を生成して吐出したところ、風呂用洗剤とエアとが良く混合され、泡は若干大きめで荒いものであったが、良質の泡状気液が吐出された。
結果は△であった。
[実施例2]
図1に示すような、本発明に係るスクイズフォーマーを作製した。口元部の形状は、図1(a)、図3(a)に示すような、吐出孔に凹凸部が形成されたものとし、内容液として上述の風呂用洗剤を収容した。
容器本体をスクイズして泡状気液を生成して吐出したところ、風呂用洗剤とエアとが良く混合され、泡は小径できめの細やかなものであり、良質の泡状気液が吐出された。
結果は○であった。
[比較例1]
特許文献3に記載のスクイズフォーマーのような、内容液の流路に邪魔板をジグザグ状に配置して設けることによって内容液を泡状化させ、吐出口から吐出する構成の、従来のスクイズフォーマーを作製し、内容液として上述の風呂用洗剤を収容した。
容器本体をスクイズして泡状気液を生成して吐出したところ、風呂用洗剤とエアとがあまり良く混合されておらず、また、泡は大径で非常に荒いものであり、きめの細やかさに欠ける泡状気液が吐出された。
結果は×であった。
本発明のスクイズフォーマーの一例を示す概略図である。 本発明のスクイズフォーマーの一例を示す概略図である。 本発明のスクイズフォーマーの要部を示す断面図である。 本発明のスクイズフォーマーの使用状態を説明する概略図である。 本発明のスクイズフォーマーの他例を説明する概略図である。
符号の説明
1、11…スクイズフォーマー、2…容器本体、3…チューブ、3a…下端部(一端)、3b…上端部(他端)、4、14…混合部、41…外側混合部、42…内側混合部、44…攪拌室、5、6…口元部、51、61…吐出部(先端)、52、55、62…吐出孔、53…凹凸部、7…吐出ノズル材、73…ノズル吐出孔、74…ノズル凹凸部、8…内容液、81…泡状気液、9…エア

Claims (3)

  1. スクイズすることによって内容液を泡状化して吐出するスクイズフォーマーであって、
    前記内容液が収容され、スクイズ操作後の復元性を有する容器本体と、該容器本体の口部に装着された口元部と、該口元部に取付けられ、前記内容液とエアとを混合させて泡状気液とする混合部と、前記混合部の下部に他端を接続して前記容器本体に収容され、スクイズによって前記容器本体の内圧を上昇させた時に、一端から前記内容液を吸い上げるチューブとを具備してなり、
    前記混合部は、前記チューブの一端から吸い上げられて他端から出される内容液を内部に取入れる液取入筒及びエアを内部に取入れるエア取入口が、各々少なくとも一以上の箇所に設けられた外側混合部と、該外側混合部の内側に取付けられ、前記外側混合部に取入れられた内容液及びエアを内部に設けられた攪拌室に取込む取込孔が、各々少なくとも一以上の箇所に設けられた内側混合部とからなり、
    前記内側混合部は、前記取込孔が、前記攪拌室内において前記内容液とエアとを渦巻き流を発生させて攪拌混合することで泡状気液が生成するように、前記内側混合部の径方向に対して傾斜した向きに形成されるとともに、前記取込孔の、前記内側混合部の径方向に対する傾斜角度が5°〜45°の範囲とされ、
    前記口元部に、前記攪拌室内で生成された泡状気液を吐出する吐出孔が設けられてなることを特徴とするスクイズフォーマー。
  2. 前記口元部の吐出孔内面に凹凸部が設けられていることを特徴とする請求項1に記載のスクイズフォーマー。
  3. 前記口元部の先端に、壁面が凹凸状に形成された吐出孔を有する吐出ノズル材が取り付けられていることを特徴とする請求項1又は2に記載のスクイズフォーマー。
JP2005109573A 2005-04-06 2005-04-06 スクイズフォーマー及び液体製品 Expired - Fee Related JP4791069B2 (ja)

Priority Applications (1)

Application Number Priority Date Filing Date Title
JP2005109573A JP4791069B2 (ja) 2005-04-06 2005-04-06 スクイズフォーマー及び液体製品

Applications Claiming Priority (1)

Application Number Priority Date Filing Date Title
JP2005109573A JP4791069B2 (ja) 2005-04-06 2005-04-06 スクイズフォーマー及び液体製品

Publications (2)

Publication Number Publication Date
JP2006290365A JP2006290365A (ja) 2006-10-26
JP4791069B2 true JP4791069B2 (ja) 2011-10-12

Family

ID=37411381

Family Applications (1)

Application Number Title Priority Date Filing Date
JP2005109573A Expired - Fee Related JP4791069B2 (ja) 2005-04-06 2005-04-06 スクイズフォーマー及び液体製品

Country Status (1)

Country Link
JP (1) JP4791069B2 (ja)

Families Citing this family (4)

* Cited by examiner, † Cited by third party
Publication number Priority date Publication date Assignee Title
RU2577491C2 (ru) 2010-05-31 2016-03-20 Као Корпорейшн Контейнер для выдачи пены
EP3463676B1 (en) * 2016-05-23 2019-08-14 Unilever N.V. Foam dispenser
WO2019117285A1 (ja) 2017-12-15 2019-06-20 花王株式会社 泡吐出器
CN115477089A (zh) * 2021-05-31 2022-12-16 上海百雀羚生物科技有限公司 一种混合出料双泵结构

Family Cites Families (7)

* Cited by examiner, † Cited by third party
Publication number Priority date Publication date Assignee Title
JPS5078638U (ja) * 1973-11-21 1975-07-08
JPS582459Y2 (ja) * 1976-04-16 1983-01-17 ポ−ラ化成工業株式会社 泡噴出装置
JPH11106795A (ja) * 1997-10-01 1999-04-20 Lion Corp 成泡機構付き容器入り洗浄剤
IT1307523B1 (it) * 1999-12-02 2001-11-06 Taplast Spa Metodo di erogazione di liquidi sotto forma di schiuma tramitecontenitori deformabili e dispositivo utilizzante tale metodo
JP4693967B2 (ja) * 2000-08-23 2011-06-01 花王株式会社 容器入り液体洗浄剤
US6536685B2 (en) * 2001-03-16 2003-03-25 Unilever Home And Personal Care Usa, Division Of Conopco, Inc. Foamer
JP4267399B2 (ja) * 2002-07-29 2009-05-27 花王株式会社 衣料漂白用泡状組成物

Also Published As

Publication number Publication date
JP2006290365A (ja) 2006-10-26

Similar Documents

Publication Publication Date Title
JP5493682B2 (ja) 泡吐出容器
AU2002238562B2 (en) Foamer
KR101538809B1 (ko) 거품 토출용 어댑터 및 거품 토출 장치
CN1756602B (zh) 经过改进的泡沫形成装置及具有该装置的泡沫分配组件
US8944349B2 (en) Shower apparatus
JP5430297B2 (ja) スクイズフォーマー
CN1438966A (zh) 多隔室容器
WO2013031136A1 (ja) 注出容器
JP2009149325A (ja) スクイズフォーマー容器
JP2011251691A (ja) 泡吐出容器
JP4791069B2 (ja) スクイズフォーマー及び液体製品
JPH10397A (ja) 泡吐出容器
JP2009149323A (ja) 二重容器
JP2001149827A (ja) 泡噴出器
JP2011251693A (ja) 泡吐出容器
JP6621367B2 (ja) 泡吐出容器
JP5537914B2 (ja) 吐出器
JP2010285195A (ja) 泡吐出容器
JP4880322B2 (ja) 泡噴出器
JP2009148951A (ja) デラミボトルの製造方法
JPH0678266U (ja) 泡状物吐出構造
JP4936308B2 (ja) 泡噴出器
JP6875910B2 (ja) スクイズフォーマー容器
CN112918115A (zh) 墨盒和喷印设备
JP2025021885A (ja) 噴出容器及び装着キャップ

Legal Events

Date Code Title Description
A621 Written request for application examination

Free format text: JAPANESE INTERMEDIATE CODE: A621

Effective date: 20080208

A977 Report on retrieval

Free format text: JAPANESE INTERMEDIATE CODE: A971007

Effective date: 20100616

A131 Notification of reasons for refusal

Free format text: JAPANESE INTERMEDIATE CODE: A131

Effective date: 20100629

A521 Written amendment

Free format text: JAPANESE INTERMEDIATE CODE: A523

Effective date: 20100830

A02 Decision of refusal

Free format text: JAPANESE INTERMEDIATE CODE: A02

Effective date: 20110215

A521 Written amendment

Free format text: JAPANESE INTERMEDIATE CODE: A523

Effective date: 20110511

A911 Transfer of reconsideration by examiner before appeal (zenchi)

Free format text: JAPANESE INTERMEDIATE CODE: A911

Effective date: 20110519

TRDD Decision of grant or rejection written
A01 Written decision to grant a patent or to grant a registration (utility model)

Free format text: JAPANESE INTERMEDIATE CODE: A01

Effective date: 20110712

A01 Written decision to grant a patent or to grant a registration (utility model)

Free format text: JAPANESE INTERMEDIATE CODE: A01

A61 First payment of annual fees (during grant procedure)

Free format text: JAPANESE INTERMEDIATE CODE: A61

Effective date: 20110721

FPAY Renewal fee payment (event date is renewal date of database)

Free format text: PAYMENT UNTIL: 20140729

Year of fee payment: 3

R150 Certificate of patent or registration of utility model

Free format text: JAPANESE INTERMEDIATE CODE: R150

LAPS Cancellation because of no payment of annual fees