JP4697708B2 - 多機能カンチレバー及び走査型プローブ顕微鏡並びに加工対象物の切削方法 - Google Patents

多機能カンチレバー及び走査型プローブ顕微鏡並びに加工対象物の切削方法 Download PDF

Info

Publication number
JP4697708B2
JP4697708B2 JP2006024640A JP2006024640A JP4697708B2 JP 4697708 B2 JP4697708 B2 JP 4697708B2 JP 2006024640 A JP2006024640 A JP 2006024640A JP 2006024640 A JP2006024640 A JP 2006024640A JP 4697708 B2 JP4697708 B2 JP 4697708B2
Authority
JP
Japan
Prior art keywords
cantilever
sample surface
lever portion
lever
blade
Prior art date
Legal status (The legal status is an assumption and is not a legal conclusion. Google has not performed a legal analysis and makes no representation as to the accuracy of the status listed.)
Expired - Fee Related
Application number
JP2006024640A
Other languages
English (en)
Other versions
JP2007205849A (ja
Inventor
雅次 繁野
明 井上
Current Assignee (The listed assignees may be inaccurate. Google has not performed a legal analysis and makes no representation or warranty as to the accuracy of the list.)
Seiko Instruments Inc
Original Assignee
Seiko Instruments Inc
Priority date (The priority date is an assumption and is not a legal conclusion. Google has not performed a legal analysis and makes no representation as to the accuracy of the date listed.)
Filing date
Publication date
Application filed by Seiko Instruments Inc filed Critical Seiko Instruments Inc
Priority to JP2006024640A priority Critical patent/JP4697708B2/ja
Publication of JP2007205849A publication Critical patent/JP2007205849A/ja
Application granted granted Critical
Publication of JP4697708B2 publication Critical patent/JP4697708B2/ja
Expired - Fee Related legal-status Critical Current
Anticipated expiration legal-status Critical

Links

Images

Landscapes

  • Length Measuring Devices With Unspecified Measuring Means (AREA)

Description

本発明は、試料の表面形状を観察すると共に、試料表面上から加工対象物を切削加工することができる多機能カンチレバー及び該多機能カンチレバーを有する走査型プローブ顕微鏡、並びに、加工対象物の切削方法に関するものである。
走査型プローブ顕微鏡(SPM:Scanning Probe Microscope)にて、試料の観察を行っている際、試料表面上の加工対象物、例えば、半導体チップ上に付着した屑等の汚れや、半導体チップを作製する上で付着した切削加工屑等を削り取って除去する場合がある。
このような加工対象物の切削加工を行う場合には、一般的にカンチレバーの探針に、ピンセット等の把持機構を設けて除去(例えば、特許文献1及び2参照)したり、加工対象物を探針に吸着するように擦り付けて除去(例えば、特許文献3参照)したりすることが行われている。また、このような方法で除去された加工対象物は、探針の先端に位置した状態となっている。
特開2004−345009号公報 特開2001−252900号公報 特開2000−69953号公報
しかしながら、上述した従来の装置では、以下の課題がまだ残されていた。
まず、一般的に走査型プローブ顕微鏡の大部分は、各種の観察装置が試料表面を真上から観察できるように組み込まれている。つまり、カンチレバーを、探針側から観察することができる構成には通常なっていない。そのため、上述した従来の方法により加工対象物を除去したとしても、カンチレバー自体が邪魔となってしまい、切削加工する様子や除去した後の加工対象物を直ちに観察することができなかった。従って、除去した後にカンチレバーを動かして、切削加工後の試料表面の状態を確認することでしか、切削加工が確実に行われた否かを判断することができなかった。
よって、確認に時間と手間がかかり作業効率が悪かった。また、切削加工の確実性に劣るものであった。特に、確認した時点で除去が不十分であった場合には、再度カンチレバーを移動させて手探り状態で切削加工を行わなければならないので、さらに時間と手間がかかってしまい、作業性が悪かった。
この発明は、このような事情を考慮してなされたもので、その目的は、試料上を観察できると共に、試料表面上から加工対象物を観察しながら確実に切削加工することができ、除去作業にかかる時間を短縮して作業効率を向上することができる多機能カンチレバー及び該多機能カンチレバーを有する走査型プローブ顕微鏡、並びに、加工対象物を切削加工しながら除去する加工対象物の切削方法を提供することである。
上記の目的を達成するために、この発明は以下の手段を提供している。
本発明の多機能カンチレバーは、試料表面上の加工対象物を切削加工して除去する多機能カンチレバーであって、前記試料表面に下面を対向させた状態で配置され、基端側から一端側に向けて一方向に延びるように形成されると共に、所定の力で前記試料に押し付けられたときに上面側に向けて湾曲するレバー部と、該レバー部の先端側で幅方向に亘って、前記上面側に斜面が露出するように刃状に形成され、前記レバー部が湾曲したときに少なくとも前記試料表面に辺接触する刃部と、前記レバー部の基端側を片持ち状態に支持するホルダ部とを備え、前記レバー部が、前記押し付け動作されるまで、前記刃部が前記試料表面に対して点接触するように前記ホルダ部に支持されていることを特徴とするものである。
また、本発明の加工対象物の切削方法は、上記本発明のいずれかの多機能カンチレバーを利用して、前記試料表面を観察すると共に、試料表面上の加工対象物を切削加工して除去する方法であって、前記刃部を前記試料表面に点接触させた状態で、前記多機能カンチレバーと前記試料とを試料表面に平行なXY方向に相対的に走査させて試料表面上の観察データを採取すると共に、前記加工対象物を特定する観察工程と、該観察工程後、特定した前記加工対象物の近傍で、前記レバー部を前記試料表面に所定の力で押し付けて湾曲させ、前記刃部を試料表面に辺接触させる湾曲工程と、該湾曲工程後、前記刃部の状態を維持したまま、前記加工対象物に向けて前記レバー部を移動させて、前記刃部により前記加工対象物を切削加工する加工工程とを備えていることを特徴とするものである。
この発明に係る多機能カンチレバー及び加工対象物の切削方法においては、レバー部の先端に刃部を有する多機能カンチレバーを利用して、試料の表面形状を観察すると共に、試料表面上の加工対象物、例えば、切削屑等を切削加工して除去することができる。
まず、レバー部は、押し付け動作されるまで、刃部が試料表面に点接触した状態でホルダ部に支持されている。そして、この状態を維持したまま、カンチレバーと試料とをXY方向に相対的に移動させて、試料表面の走査を行う観察工程を行う。この際、刃部を常に試料表面に接触させても構わないし、刃部を所定の周波数で振動させながら走査させても構わない。また、レバー部の撓みや振動状態が一定となるように、刃部と試料表面との距離を制御しながら走査を行う。
この観察工程を行うことで、試料表面上の観察データを採取して表面形状を観察することができると共に、試料表面上にある加工対象物の形状や位置等を正確に特定することができる。
この観察工程後、特定した加工対象物の近傍でレバー部を試料表面側に下降、若しくは、試料をレバー側に上昇させて、該レバー部を試料に対して押し付ける。この押し付け動作によって、ホルダ部に片持ち状態に支持されているレバー部は、上面に撓もうとする。
そして、レバー部は、所定の力が加わったときに上面側に向けて湾曲すると共に、先端の刃部が試料表面に対して辺接触した状態となる。
この湾曲工程が終了した後、レバー部を加工対象物に向けて徐々に移動させる。この移動によって、辺接触している刃部は、加工対象物と試料表面との間に入り込み、徐々に加工対象物を試料表面から削り取るように浮かして、剥し始める。そして、さらなるレバー部の移動に伴って、加工対象物は完全に試料表面から剥がれると共に、片刃状の刃部の露出面に乗り上げるように移動する。つまり、レバー部の上面側に掬い取られた状態となる。このように、加工工程を行うことで、加工対象物を切削加工して試料表面から除去することができる。
特に、加工対象物は、切削加工される際にレバー部の上面側に移動するので、例えば、レバー部の上部が上になるように走査型プローブ顕微鏡に設置された場合には、従来とは異なり、多機能カンチレバーの上方からこの加工工程の様子を確認することが可能である。よって、加工対象物が確実に切削加工されているか否か、また、確実に除去されたか否か等を速やかに判断することができる。従って、切削加工による除去作業の確実性を向上することができると共に、除去作業にかかる時間を短縮して作業効率を向上することができる。
また、本発明の多機能カンチレバーは、試料表面上の加工対象物を切削加工して除去する多機能カンチレバーであって、前記試料表面に下面を対向させた状態で配置され、基端側から一端側に向けて一方向に延びるように形成されると共に、所定の力で前記試料に押し付けられたときに上面側に向けて湾曲するレバー部と、該レバー部の先端側で幅方向に亘って、前記上面側に斜面が露出するように刃状に形成され、前記レバー部が湾曲したときに少なくとも前記試料表面に辺接触する刃部と、該刃部の先端に設けられ、前記試料表面に対して点接触する探針と、前記レバー部の基端側を片持ち状態に支持するホルダ部とを備えていることを特徴とするものである。
また、本発明の加工対象物の切削方法は、上記本発明のいずれかの多機能カンチレバーを利用して、前記試料表面を観察すると共に、試料表面上の加工対象物を切削加工して除去する方法であって、前記探針を前記試料表面に点接触させた状態で、前記多機能カンチレバーと前記試料とを試料表面に平行なXY方向に相対的に走査させて試料表面上の観察データを採取すると共に、前記加工対象物を特定する観察工程と、該観察工程後、特定した前記加工対象物の近傍で、前記レバー部を前記試料表面に所定の力で押し付けて湾曲させ、前記刃部を試料表面に辺接触させる湾曲工程と、該湾曲工程後、前記刃部の状態を維持したまま、前記加工対象物に向けて前記レバー部を移動させて、前記刃部により前記加工対象物を切削加工する加工工程とを備えていることを特徴とするものである。
この発明に係る多機能カンチレバー及び加工対象物の切削方法においては、レバー部の先端に刃部を有する多機能カンチレバーを利用して、試料の表面形状を観察すると共に、試料表面上の加工対象物、例えば、切削屑等を切削加工して除去することができる。
まず、レバー部は、押し付け動作されるまで、刃部の先端に設けられた探針が試料表面に点接触した状態でホルダ部に支持されている。そして、この状態を維持したまま、カンチレバーと試料とをXY方向に相対的に移動させて、試料表面の走査を行う観察工程を行う。この際、探針を常に試料表面に接触させても構わないし、探針を所定の周波数で振動させながら走査させても構わない。そして、レバー部の撓みや振動状態が一定となるように、探針と試料表面との距離を制御しながら走査を行う。
この観察工程を行うことで、試料表面上の観察データを採取して表面形状を観察することができると共に、試料表面上にある加工対象物の形状や位置等を正確に特定することができる。
この観察工程後、特定した加工対象物の近傍でレバー部を試料表面側に下降、若しくは、試料をレバー側に上昇させて、該レバー部を試料に対して押し付ける。この押し付け動作によって、ホルダ部に片持ち状態に支持されているレバー部は、上面に撓もうとする。そして、レバー部は、所定の力が加わったときに上面側に向けて湾曲すると共に、先端の刃部が試料表面に対して辺接触した状態となる。
この湾曲工程が終了した後、レバー部を加工対象物に向けて徐々に移動させる。この移動によって、辺接触している刃部は、加工対象物と試料表面との間に入り込み、徐々に加工対象物を試料表面から削り取るように浮かして、剥し始める。そして、さらなるレバー部の移動に伴って、加工対象物は完全に試料表面から剥がれると共に、片刃状の刃部の露出面に乗り上げるように移動する。つまり、レバー部の上面側に掬い取られた状態となる。このように、加工工程を行うことで、加工対象物を切削加工して試料表面から除去することができる。
特に、加工対象物は、切削加工される際にレバー部の上面側に移動するので、例えば、レバー部の上部が上になるように走査型プローブ顕微鏡に設置された場合には、従来とは異なり、多機能カンチレバーの上方からこの加工工程の様子を確認することが可能である。よって、加工対象物が確実に切削加工されているか否か、また、確実に除去されたか否か等を速やかに判断することができる。従って、切削加工による除去作業の確実性を向上することができると共に、除去作業にかかる時間を短縮して作業効率を向上することができる。
また、本発明に係る多機能カンチレバーは、上記本発明の多機能カンチレバーにおいて、前記刃部が、前記レバー部を前記上面側から見たときに、幅方向に亘って斜めにカットされていることを特徴とするものである。
この発明に係る多機能カンチレバーにおいては、刃部がレバー部の幅方向に亘って斜めにカットされているので、レバー部を真直ぐ移動させたとしても、加工対象物を刃部に接触させた状態で、滑らせながら削り取ることができる。よって、加工対象物を除去し易い。また、レバー部の幅方向に亘って斜めにカットされているので、刃部の長さを極力大きくすることができる。よって、切削可能な領域が増え、除去作業が容易になる。
また、本発明の多機能カンチレバーは、上記本発明の多機能カンチレバーにおいて、前記刃部が、前記レバー部を前記上面側から見たときに、U字状又はV字状の切り欠き部を少なくとも1つ有するようにカットされていることを特徴とするものである。
この発明に係る多機能カンチレバーにおいては、刃部がU字状又はV字状の切り欠き部を少なくとも1つ有しているので、加工対象物を切削加工して除去する際に、該加工対象物を切り欠き部に嵌め込んで逃げを防止しながら切削加工することができる。従って、加工対象物をより確実に切削加工することができ、作業の確実性が向上する。
また、本発明の多機能カンチレバーは、上記本発明のいずれかの多機能カンチレバーにおいて、前記刃部が、先端角度が鋭角とされていることを特徴とするものである。
この発明に係る多機能カンチレバーにおいては、刃部の先端角度が90度未満の鋭角であるので、両刃であったとしても、切削加工時に加工対象物に刃部が食い込み易い。よって、加工性が高まり、より確実化且つスムーズに加工対象物を除去することができる。
また、本発明の多機能カンチレバーは、上記本発明の多機能カンチレバーにおいて、前記先端角度が、前記レバー部の結晶方位角度に合わせた角度であることを特徴とするものである。
この発明に係る多機能カンチレバーにおいては、刃部の先端角度が、レバー部の結晶方位角度に準じた角度であるので、刃部をより鋭利な状態にすることができる。この角度としては、例えば、レバー部がシリコンであり、異方性エッチングにより刃部を形成した場合には、54.75度となる。よって、加工性をさらに高めることができる。
また、本発明の多機能カンチレバーは、上記本発明のいずれかの多機能カンチレバーにおいて、前記刃部が、片刃状であることを特徴とするものである。
この発明に係る多機能カンチレバーにおいては、刃部が片刃状であるので、試料表面に辺接触させた際に、刃部と試料表面との間に余分な隙間が生じ難い。そのため、加工対象物と試料表面との間に刃部を誘導し易く、加工対象物を試料表面から剥し易い。その結果、加工対象物の除去作業をより確実に行うことができる。
また、本発明の多機能カンチレバーは、上記本発明のいずれかの多機能カンチレバーにおいて、前記刃部が、辺に沿って凹凸状に形成されていることを特徴とするものである。
この発明に係る多機能カンチレバーにおいては、刃部が辺に沿って凹凸状(例えば、波刃や山と谷とが連続する鋸刃等)となっている。そのため、切削加工を行う際に、加工対象物に対して単に刃部を押し付けるのではなく、切るように切削加工することができる。よって、より短時間でスムーズに加工対象物を除去することができる。また、加工対象物と接触する辺の長さが長くなることからも切削加工し易くなる。
また、本発明の多機能カンチレバーは、上記本発明のいずれかの多機能カンチレバーにおいて、前記レバー部には、前記上面側から見たときに、幅方向の断面積を低下させて湾曲時の応力を集中させる応力集中部が形成されていることを特徴とするものである。
この発明に係る多機能カンチレバーにおいては、レバー部には応力集中部が形成されているので、加工対象物の除去作業を行うために、レバー部を試料表面に押し付けて湾曲させたときに、該応力集中部を中心にレバー部が屈曲する。そのため、毎回確実に狙った位置で滑らかにレバー部を湾曲させることができ、刃部を試料表面に確実に辺接触させることができる。よって、刃部が加工対象物と試料表面との間に入り易くなり、より確実に加工対象物を切削加工して除去することができる。
また、本発明の多機能カンチレバーは、上記本発明の多機能カンチレバーにおいて、前記応力集中部が、前記レバー部の上面側で幅方向に亘って一様に厚みを低下させる溝部であることを特徴とするものである。
この発明に係る多機能カンチレバーにおいては、応力集中部がレバー部の幅方向に亘って一様に厚みを低下させる溝部であるので、レバー部を湾曲させた際に、レバー部にかかる力を均等にすることができる。よって、レバー部にねじれ等が生じず、幅方向に亘って均等に湾曲させることができる。そのため、刃部を試料表面に対してより辺接触させ易くなる。また、溝部がレバー部の上面に形成されているので、レバー部を上面側により湾曲させ易くなる。
また、本発明の多機能カンチレバーは、上記本発明の多機能カンチレバーにおいて、前記溝部が、前記刃部のカットパターンに合わせて形成されていることを特徴とするものである。
この発明に係る多機能カンチレバーにおいては、溝部が刃部のカットパターンに合わせて形成されているので、刃部を試料表面に対してより確実に辺接触させることができる、また、刃部のどの位置で加工対象物を切削加工したとしても、レバー部の上面に掬い上げられた加工対象物は、溝部に触れ易くなる。この際、溝部に触れた加工対象物は、溝部内に嵌って動き難い状態となる。よって、加工対象物が、レバー部の上面から再度刃部の先端に向けて滑り落ちてしまうことを防止でき、上面に保持することができる。つまり、溝部を“返し”のように機能させることができる。その結果、除去した加工対象物をレバー部の上面に載せた状態で、摘出することも可能である。
また、本発明の走査型プローブ顕微鏡は、上記本発明のいずれかの多機能カンチレバーと、前記試料を載置するステージと、前記ホルダ部を介して、前記ステージと前記多機能カンチレバーとを、前記試料表面に平行なXY方向及び前記試料表面に垂直なZ方向に相対的に移動させると共に、前記レバー部を前記試料表面に押し付ける移動手段と、前記レバー部の変位を測定する変位測定手段と、前記多機能カンチレバーの上方に配置され、前記試料表面の状態を観察する観察手段と、前記変位測定手段による測定結果に基づいて前記移動手段を制御して、前記レバー部の押し付け力を調整すると共に、前記試料表面の観察データを採取する制御手段とを備えていることを特徴とするものである。
この発明に係る走査型プローブ顕微鏡においては、移動手段を適宜作動させることで、ステージ上に載置された試料に対して多機能カンチレバーを走査させたり、レバー部を試料表面に押し付けて湾曲させると共にそのままの状態でXY方向に移動させて加工対象物を切削加工しながら除去したりすることができる。
まず、観察を行う場合には、制御手段が、例えば、点接触している刃部又は探針と試料表面との距離を、変位測定手段による測定結果に基づいて、レバー部の変位が一定(例えば、振動状態が一定、又は、撓みが一定)となるように移動手段を制御しながら走査させる。これにより、制御手段は、試料表面の観察データを採取することができ、試料の表面形状を観察することができる。
また、加工対象物の除去作業を行う場合には、制御手段が、レバー部を試料表面に押し付けるように移動手段を制御すると共に、変位測定手段による測定結果に基づいて、レバー部の押し付け力の調整を行う。これにより、レバー部は上面側に湾曲して、刃部が試料表面に辺接触した状態となる。そして、この状態を維持したまま、多機能カンチレバーと試料とをXY方向に相対的に移動させて加工対象物の除去作業を行うように移動手段の制御を行う。
特に、加工対象物をレバー部の上面側に掬い上げながら除去することができる多機能カンチレバーを有しているので、カンチレバーの上方に配された観察手段により、この除去作業の様子を確認することができる。従って、除去作業の確実性を向上することができると共に、除去作業にかかる時間を短縮して作業効率を向上することができる。
また、本発明の走査型プローブ顕微鏡は、上記本発明の走査型プローブ顕微鏡において、前記レバー部を幅方向に向けて振動させる振動発生部を備えていることを特徴とするものである。
また、本発明の加工対象物の切削方法は、上記本発明の加工対象物の切削方法において、前記加工工程の際に、前記レバー部を幅方向に対して振動させながら切削加工することを特徴とするものである。
この発明に係る走査型プローブ顕微鏡及び加工対象物の切削方法においては、加工工程を行う際に、刃部を試料表面に辺接触させた後、振動発生部によりレバー部を幅方向に対して振動(例えば、超音波振動)させる。そして、振動している刃部を加工対象物に移動させて切削加工を行う。これにより、刃部を超音波カッターの如く使用でき、加工対象物をより容易且つ確実に切削加工することができる。よって、除去作業の確実性をさらに高めることができると共に、作業時間の短縮化を図ることができる。
また、本発明の走査型プローブ顕微鏡は、上記本発明の走査型プローブ顕微鏡において、前記レバー部を加熱すると共に所定温度範囲内に収まるように温度調整する加熱手段を備えていることを特徴とするものである。
また、本発明の加工対象物の切削方法は、上記本発明の加工対象物の切削方法において 前記加工工程の際に、前記レバー部を加熱すると共に、該レバー部の温度を所定温度範囲内に収まるように調整した状態で切削加工を行うことを特徴とするものである。
この発明に係る走査型プローブ顕微鏡及び加工対象物の切削方法においては、加工工程を行う際に、加熱手段によりレバー部及び刃部を、所定温度範囲内に収まるように加熱させておく。これにより、加工対象物に熱を加えながら切削加工することができるので、加工性をより高めることができる。
この発明に係る多機能カンチレバー及び加工対象物の切削方法によれば、試料上を観察できると共に、試料表面上から加工対象物を観察しながら確実に切削加工により除去することができ、除去作業にかかる時間を短縮して作業効率を向上することができる
(第1実施形態)
以下、本発明に係る多機能カンチレバー及び走査型プローブ顕微鏡並びに加工対象物の切削方法の第1実施形態について、図1から図4を参照して説明する。なお、本実施形態においては、試料側を3次元方向に移動させる試料スキャン方式を例にして説明する。
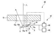
本実施形態の走査型プローブ顕微鏡1は、図1に示すように、多機能カンチレバー2と、試料Sを載置するステージ3と、多機能カンチレバー2のホルダ部12を介して、ステージ3と多機能カンチレバー2とを、試料表面S1に平行なXY方向及び試料表面S1に垂直なZ方向に相対的に移動させると共に、多機能カンチレバー2のレバー部10を試料表面S1に押し付ける移動手段4と、レバー部10の振動状態の変位を測定する変位測定手段5と、多機能カンチレバー2の上方に配され、試料表面S1の状態を観察する光学顕微鏡(観察手段)6と、変位測定手段5による測定結果に基づいて移動手段4を制御して、レバー部10の押し付け力を調整すると共に、試料表面S1の観察データを採取する制御手段7とを備えている。
なお、本実施形態では、観察時において制御手段7が、レバー部10の振動振幅が一定となるように移動手段4を制御する場合を例にして説明する。
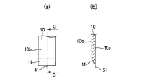
上記多機能カンチレバー2は、試料表面S1上の加工対象物Xを切削加工して除去することができるものであって、図2に示すように、試料表面S1に下面10aを対向させた状態で配置され、基端側から先端側に向けて一方向に延びるように形成されると共に、所定の力で試料Sに押し付けられたときに上面10b側に湾曲するレバー部10と、該レバー部10の先端側で幅方向に亘って、上面10b側に斜面が露出するように片刃状に形成され、レバー部10が湾曲したときに少なくとも試料表面S1に辺接触する刃部11と、レバー部10の基端側を片持ち状態に支持するホルダ部12とを備えている。
この多機能カンチレバー2は、例えば、シリコンにより、レバー部10、刃部11及びホルダ部12が一体となるように形成されている。また、本実施形態の刃部11は、図3(a)に示すように、レバー部10を上面10b側から見たときに、幅方向に亘って斜めにカットされていると共に、図3(b)に示すように、側面から見たときに鋭角な角度θとなるようにカットされている。その角度θとしては、例えば、異方性エッチングによりカッティングを行う場合には、シリコンの結晶方位に準じた角度である54.75度である。
また、レバー部10は、試料Sに押し付け動作されるまで、刃部11が試料表面S1に対して点接触するようにホルダ部12に支持されている。
このホルダ部12は、図2に示すように、ホルダ本体15に加振源16を挟んで固定された斜面ブロック17の載置面17aに、図示しないワイヤ等を利用して着脱自在に固定されている。これにより、多機能カンチレバー2は、試料表面S1に対して所定角度傾いた状態で固定されている。また、加振源16は、図1に示す加振電源18からの信号を受けて、所定の位相及び振幅で振動するようになっており、該振動を斜面ブロック17を介して多機能カンチレバー2に伝えている。これにより、多機能カンチレバー2は、加振源16と同様に所定の振動振幅で振動するようになっている。
上記ホルダ本体15は、図1に示すように、試料Sの上方に位置するように図示しない架台に取り付けられている。また、ホルダ本体15には、レバー部10の図示しない反射面に向けて、後述するレーザ光Lを入射させると共に、反射面で反射したレーザ光Lを出射させる開口部15aが形成されている。
上記ステージ3は、XYスキャナ20上に載置されており、該XYスキャナ20はZスキャナ21上に載置されている。また、このZスキャナ21は、図示しない防振台上に載置されている。
これらXYスキャナ20及びZスキャナ21は、例えば、ピエゾ素子であり、それぞれXY駆動部22及びZ駆動部23から電圧を印加されて、それぞれの方向に微小移動するようになっている。即ち、これらXYスキャナ20、Zスキャナ21、XY駆動部22及びZ駆動部23は、上記移動手段4を構成している。
また、ホルダ本体15の上方には、上記光学顕微鏡6と、ミラー24を利用してレバー部10の裏面に形成された図示しない反射面に向けてレーザ光Lを照射する光照射部25と、ミラー26を利用して反射面で反射されたレーザ光Lを受光する光検出部27とが設けられている。なお、光照射部25から照射されたレーザ光Lは、ホルダ本体15の開口部15a内を通過しながら反射面に達し、反射面で反射された後、再度開口部15a内を通過して光検出部27に入射するようになっている。
また、光検出部27は、例えば、フォトディテクタであり、レーザ光Lの入射位置からレバー部10の振動状態(振幅)を検出する。そして、光検出部27は、検出したレバー部10の振動状態の変位をDIF信号としてプリアンプ28に出力している。即ち、これら光照射部25、ミラー24、26及び光検出部27は、上記変位測定手段5を構成している。
また、光検出部27から出力されたDIF信号は、プリアンプ28によって増幅された後、交流−直流変換回路29に送られて直流変換され、Z電圧フィードバック回路30に送られる。Z電圧フィードバック回路30は、直流変換されたDIF信号が常に一定となるように、Z駆動部23をフィードバック制御する。これにより、移動手段4により走査を行ったときに、刃部11と試料表面S1との距離を、レバー部10の振動状態が一定になるように、即ち、振幅が一定となるように制御することができる。
また、このZ電圧フィードバック回路30には、制御部31が接続されており、該制御部31がZ電圧フィードバック回路30により上下させる信号に基づいて、試料表面S1上の観察データを採取して表面形状を観察することができるようになっている。
また、制御部31は、加工対象物Xの切削加工を行う場合には、加振源16を停止するように加振電源18の制御を行っている。そして、振動が停止した後、移動手段4を制御してレバー部10を試料Sに対して所定の力で押し付け動作させるようになっている。
即ち、これらZ電圧フィードバック回路30及び制御部31は、上記制御手段7を構成している。なお、この制御手段7は、上記各構成品を総合的に制御する機能を有している。
次に、このように構成された多機能カンチレバー2及び走査型プローブ顕微鏡1により、試料表面S1を振動モードSPMの1つであるDFMで測定すると共に、試料表面S1上の加工対象物Xを切削加工して除去する、加工対象物の切削方法について、以下に説明する。
即ち、本実施形態の加工対象物Xの切削方法は、刃部11を試料表面S1に点接触させた状態で、多機能カンチレバー2と試料SとをXY方向に相対的に走査させて、試料表面S1上の観察データを採取すると共に加工対象物Xを特定する観察工程と、該観察工程後、特定した加工対象物Xの近傍で、レバー部10を試料表面S1に所定の力で押し付けて湾曲させ、刃部11を試料表面S1に辺接触させる湾曲工程と、該湾曲工程後、刃部11の状態を維持したまま、加工対象物Xに向けてレバー部10を移動させて、刃部11により加工対象物Xを切削加工する加工工程とを備えている。
これら各工程について、以下に詳細に説明する。
まず始めに、観察を行うための初期設定を行う。即ち、ステージ3上に試料Sを載置した後、レバー部10の反射面に確実にレーザ光Lが入射するように、また、反射したレーザ光Lが光検出部27に確実に入射するように、光照射部25及び光検出部27の位置や、多機能カンチレバー2の取付状態等を調整する。また、光学顕微鏡6の位置の調整も併せて行う。その後、加振電源18から加振源16に対して信号を出力して、加振源16を所定の振幅及び周波数で振動させる。これにより、多機能カンチレバー2は、所定の振動振幅で振動し始める。
上述した初期設定が終了した後、試料Sの測定を行う。
まず、レバー部10は、押し付け動作されるまで、図4(a)に示すように、刃部11が試料表面S1に対して点接触した状態となっている。そして、この状態を維持したまま、試料表面S1と刃部11との距離を、レバー部10の振幅が一定になるように制御した状態で、XY駆動部22よりXYスキャナ20を移動させて、試料Sの走査を行う観察工程を行う。
この際、試料表面S1の凹凸に応じてレバー部10の振幅が増減しようとするので、光検出部27に入射するレーザ光L(反射面で反射したレーザ光)の振幅が異なる。光検出部27は、この振幅に応じたDIF信号をプリアンプ28に出力する。出力されたDIF信号は、プリアンプ28によって増幅されると共に、交流−直流変換回路29によって直流変換された後、Z電圧フィードバック回路30に送られる。
Z電圧フィードバック回路30は、直流変換されたDIF信号が常に一定になるように(つまり、レバー部10の振幅が一定になるように)、Z駆動部23によりZスキャナ21をZ方向に微小移動させて、フィードバック制御を行う。これにより、試料表面S1と刃部11との距離を、振幅が一定になるように制御した状態で走査を行うことができる。また、制御部31は、Z電圧フィードバック回路30により上下させる信号に基づいて、試料表面S1上の観察データを採取して表面形状を観察することができる。更に、この観察工程により、試料表面S1上にある加工対象物Xの形状や位置等を正確に特定する。
次いで、観察工程の終了後、加振源16を停止させて、多機能カンチレバー2の振動を停止させる。そして、特定した加工対象物Xの近傍まで多機能カンチレバー2を移動させる。次いで、多機能カンチレバー2を試料表面S1に向けて下降させ、レバー部10を試料Sに押し付ける。この押し付け動作によって、ホルダ部12に片持ち状態に支持されているレバー部10は、上面10bに撓もうとする。そして、レバー部10は、図4(b)に示すように、所定の力が加わったときに、上面10b側に向けて湾曲すると共に、先端の刃部11が試料表面S1に対して辺接触した状態となる。
この湾曲工程が終了した後、移動手段4により試料SをXY方向に移動させることで、レバー部10を加工対象物Xに向けて徐々に移動させる。この移動によって、辺接触している刃部11は、加工対象物Xと試料表面S1との間に入り込み、徐々に加工対象物Xを試料表面S1から削り取るように浮かして、剥し始める。そして、さらなるレバー部10の移動に伴って、加工対象物Xは完全に試料表面S1から剥がれると共に、片刃状の刃部11の露出面に乗り上げるように移動する。つまり、レバー部10の上面10b側に掬い取られた状態となる。
この加工工程を行った結果、加工対象物Xを切削加工して試料表面S1から除去することができる。
特に、除去された加工対象物Xは、レバー部10の上面10b側に移動するので、従来とは異なり、多機能カンチレバー2の上方からこの加工工程の様子を光学顕微鏡6を利用して確認することが可能である。よって、加工対象物Xが確実に切削加工されているか否か、また、確実に除去されたか否か等を速やかに判断することができる。従って、切削加工による除去作業の確実性を向上することができると共に、除去作業にかかる時間を短縮して作業効率を向上することができる。また、加工対象物Xは、レバー部10の上面10bに掬い取られ取られるので重力の影響により落下し難い。この点からも、除去作業の確実性を向上できる。
また、刃部11が片刃状であるので、試料表面S1に辺接触させた際に、刃部11と試料表面S1との間に余分な隙間が生じ難い。そのため、加工対象物Xと試料表面S1との間に刃部11を誘導し易く、加工対象物Xを試料表面S1から剥し易い。その結果、加工対象物Xの除去作業をより確実に行うことができる。特に、刃部11の先端角度θは、片刃状であるがゆえ鋭角である。そのため、加工性が高まり切削加工し易い。更に、この角度θを、レバー10の結晶方位角度(シリコン結晶方位角度)に準じた角度(54.75度)にすることで、より鋭利な状態にすることができ、さらに加工性を高めることができる。
また、刃部11がレバー部10の幅方向に亘って斜めにカットされているので、レバー部10を真直ぐ移動させたとしても、加工対象物Xを刃部11に接触させた状態で、滑らせながら削り取ることができる。よって、加工対象物Xを除去し易い。また、レバー部10の幅方向に亘って斜めにカットされているので、刃部11の長さを極力大きくすることができる。よって、切削可能な領域が増え除去作業が容易となる。
なお、上記実施形態では、レバー部10を上面10bから見たときに、単に刃部11が斜めにカットされている多機能カンチレバー2を用いたが、この場合に限られず、例えば、図5に示すように、V字状の切り欠き部40を有する多機能カンチレバー2を使用しても構わない。
このように構成された多機能カンチレバー2を利用して加工工程を行う場合には、図6に示すように、加工対象物Xを切り欠き部40に保持した状態で切削加工することができる。これにより、加工対象物Xが刃部11に沿って、逃げてしまうことを防止できる。従って、加工対象物Xをより確実に切削加工することができ、作業の確実性が向上する。
なお、切り欠き部40は1つに限られず、例えば、図7に示すように、複数形成しても構わない。また、切り欠き部40は、V字状に限られず、U字状でも構わない。
また、上記実施形態において、レバー部10を上面10b側から見たときに、幅方向の断面積を低下させて湾曲時の応力を集中させる、くびれ部(応力集中部)を形成しても構わない。
例えば、図8に示すように、レバー部10の両側を半円状に削って、くびれ部41を形成しても良い。こうすることで、レバー部10を試料表面S1に押し付けて湾曲させたときに、くびれ部41を中心にレバー部10が屈曲する。そのため、毎回確実に狙った位置で滑らかにレバー部10を湾曲させることができ、刃部11を試料表面S1に対して確実に辺接触させることができる。よって、刃部11が加工対象物Xと試料表面S1との間に入り易くなり、より確実に加工対象物Xの除去作業を行うことができる。
また、図9に示すように、レバー部10の上面10b側で幅方向に亘って一様に厚みを低下させる溝部42を応力集中部としても構わない。
この場合には、上述した作用効果に加え、レバー部10を湾曲させたときに、レバー部10にかかる力を均等にすることができる。よって、レバー部10にねじれ等が生じず、幅方向に亘って均等に湾曲させることができる。従って、刃部11を試料表面S1に対して辺接触させ易い。また、溝部42がレバー部10の上面10bに形成されているので、レバー部10を上面10b側により湾曲させ易くなる。
更に、この溝部42を、図10に示すように、刃部11のカットパターンに合わせて形成しても構わない。即ち、レバー部10の幅方向に亘って斜めに形成しても構わない。こうすることで、刃部11をさらに確実に試料表面S1に対して辺接触させることができる。また、刃部11のどの位置で加工対象物Xを切削加工したとしても、レバー部10の上面10bに掬い上げられた加工対象物Xは溝部42に触れ易くなる。この際、溝部42に触れた加工対象物Xは、溝部42内に嵌って動き難い状態となる。よって、加工対象物Xが、レバー部10の上面10bから再度の刃部11の先端に向けて滑り落ちてしまうことを防止でき、上面10bに保持し続けることができる。つまり、溝部42を“返し”のように機能させることができる。その結果、除去した加工対象物Xをレバー部10の上面10bに載せた状態で、摘出することも可能である。
(第2実施形態)
次に、本発明に係る多機能カンチレバーの第2実施形態について、図11及び図12を参照して説明する。なお、第2実施形態において第1実施形態と同一の構成については、同一の符号を付しその説明を省略する。
第1実施形態と第2実施形態との異なる点は、第1実施形態では、レバー部10が湾曲していない観察時において、刃部11の先端が試料表面S1に点接触するように構成されていたが、第2実施形態の多機能カンチレバー50は、図11に示すように、刃部11の先端に、試料表面S1に対して点接触する探針51を備えている点である。この探針51は、図12(a)に示すように、例えば、レバー部10の下面10aから試料表面S1に向けて突出した状態で設けられている。
このように構成された多機能カンチレバー50においても、上述した第1実施形態と同様の作用効果を奏することができる。それに加え、探針51を利用しているので、観察時の分解能を向上することができ、より明瞭な表面形状を観察することができる。なお、切削加工時には、図12(b)に示すように、探針51が形成されていない刃部11の一部分が、試料表面S1に対して辺接触している状態となる。
なお、探針51としては、図13に示すように、刃部11の先端から前方に突出するように形成しても構わないし、図14に示すように、刃部11の斜面に沿わせた状態で形成しても構わない。また、CNT(カーボンナノチューブ)を取り付けることで、探針51としても構わない。この場合には、観察時の分解能をさらに向上することができる。
なお、図13及び図14においては、レバー部10を上面10bから見たときに、平らな刃部11が形成されている場合を図示している。
(第3実施形態)
次に、本発明に係る走査型プローブ顕微鏡の第3実施形態について、図15及び図16を参照して説明する。なお、第3実施形態において第1実施形態と同一の構成については、同一の符号を付しその説明を省略する。
第1実施形態と第3実施形態との異なる点は、第1実施形態では、切削加工する際に、単にレバー部10を加工対象物Xに向けて移動させるだけであったのに対し、第3実施形態では、レバー部10を加熱すると共に振動させる点である。
即ち、本実施形態の走査型プローブ顕微鏡45は、図15に示すように、レバー部10を幅方向に向けて振動させる振動発生部46と、レバー部10を加熱すると共に所定温度範囲内に収まるように温度調整する加熱手段47とを備えている。
振動発生部47は、例えば、超音波を利用して振動を発生させる超音波発生部である。また、加熱手段は、レバー部10に設けられて該レバー部10の温度を検出する温度センサ48と、該温度センサ48による検出結果に基づいて、レバー部10を加熱制御する加熱部49とを備えている。これによって、レバー部10及び刃部11の温度を、所定の温度範囲内に収めるように温度制御している。
また、上記振動発生部46及び加熱手段47は、加工対象物Xの切削加工が行われる時に作動するように、制御部31によって作動タイミングが制御されている。
次に、このように構成された走査型プローブ顕微鏡45によって、切削加工を行う場合について説明する。
まず、加工工程を行うと同時に、加熱部49が温度センサ48による検出結果に基づいて、レバー部10及び刃部11を加熱すると共に、所定温度範囲内に収まるように温度制御する。次いで、レバー部10及び刃部11が目標温度に達した後、刃部11を試料表面S1に辺接触させると共に、振動発生部46によりレバー部10を振動させる。これにより、レバー部10及び刃部11は、図16に示すように、レバー部10の幅方向に向けて振動し始める。
次いで、レバー部10を振動させたまま加工対象物Xに向けて移動させて切削加工を行う。これにより、刃部11を超音波カッターの如く使用でき、加工対象物Xをより容易且つ確実に切削加工することができる。よって、除去作業の確実性をさらに高めることができると共に、作業時間の短縮化を図ることができる。
更に、レバー部10及び刃部11が加熱手段46によって加熱されているので、加工対象物Xに熱を加えながら切削加工することができる。このことからも、加工性を高めることができ、加工対象物Xをスムーズに切削加工することができる。
なお、本実施形態では、振動発生部46及び加熱手段47を共に設けた構成にしたが、いずれか一方のみを設けた構成にしても構わない。
なお、本発明の技術範囲は、上記実施形態に限定されるものではなく、本発明の趣旨を逸脱しない範囲において、種々の変更を加えることが可能である。
例えば、上記各実施形態では、刃部を片刃状として形成したが、片刃状に限定されるものではなく、両刃状に形成しても構わない。この場合においても、上記下記実施形態と同様に、刃部により加工対象物を切削加工しながら除去することができる。なお、刃部を両刃状とした場合には、加工性を高めるため、先端角度を90度以下の鋭角にすることが好ましい。
また、刃部を、辺に沿って凹凸状に形成しても構わない。例えば、波刃や山と谷とが連続する鋸刃のように形成しても構わない。こうすることで、切削加工を行う際に、加工対象物に対して単に刃部を押し付けるのではなく、切るように切削加工することができる。よって、より短時間でスムーズに加工対象物を切削加工することができる。また、加工対象物と接触する辺の長さが長くなることからも、切削加工し易くなる。
また、上記各実施形態では、走査時において、レバー部の振動振幅が一定になるように、刃部と試料との距離を制御したが、振動振幅に限られず、レバー部の振動状態が一定になるように制御すれば構わない。例えば、自励発振したレバー部の周波数が一定になるように制御しても構わないし、レバー部の位相が一定になるように制御しても構わない。
更には、加振源により多機能カンチレバーを振動させた状態で観察を行ったが、振動させずに静的な状態で観察を行っても構わない。この場合には、レバー部の撓みが一定となるように、刃部と試料との距離を制御すれば良い。
また、上記各実施形態では、試料側を3次元方向に移動させる試料スキャン方式を例にして説明したが、この方式に限られず、多機能カンチレバー側を3次元方向に移動させるカンチレバースキャン方式にしても構わない。この場合においても、スキャン方式が異なるだけで、試料スキャン方式と同一の作用効果を奏することができる。
なお、試料側及び多機能カンチレバー側を共に、3次元方向に移動できるように構成しても構わない。
また、観察手段の一例として光学顕微鏡を例にして説明したが、光学顕微鏡に限られず、例えば蛍光顕微鏡、電子顕微鏡、ラマン分光装置や顕微IR装置等でも構わない。特に、タンパク質やDNAを、加工対象物とする場合には、事前に蛍光を発するように処理をしておき、蛍光顕微鏡等で観察を行っても構わない。こうすることで、加工対象物が微小なサイズであったとしても、多機能カンチレバーの上面に載せた状態であれば、取り除かれた状態や、切削加工の様子を明瞭に確認することができる。
また、上記各実施形態では、ホルダ本体に形成された開口部を介して、多機能カンチレバーにレーザ光を入射させると共に反射したレーザ光を出射させる構成としたが、この場合に限られるものではない。例えば、ホルダ本体を光学的に透明な材料(例えば、ガラス)で構成して開口部をなくしても構わない。
更に、上記実施形態では、変位測定手段が光てこ方式によりレバー部の変位検出を行ったが、光てこ方式に限定されるものではない、例えば、レバー部自身に変位検出機能(例えば、ピエゾ抵抗素子等)を設けた自己検知方式を採用しても構わない。
本発明の第1実施形態に係る多機能カンチレバーを有する走査型プローブ顕微鏡の構成図である。 図1に示す走査型プローブ顕微鏡の構成品である多機能カンチレバーの周辺図である。 図2に示す多機能カンチレバーのレバー部及び刃部の拡大図であって、(a)は上面側から見た図であり、(b)は(a)の側面図である。 図2に示す多機能カンチレバーの使用方法を説明する図であって、(a)は刃部を試料表面に点接触させた状態で観察を行っている状態を示す図であり、(b)は刃部を試料表面に辺接触させて加工対象物を切削加工する直前の状態を示す図である。 図2に示す多機能カンチレバーの変形例(切り欠き部を有する)を示す、レバー部及び刃部の拡大図であって、(a)は上面側から見た図であり、(b)は(a)の断面矢視B−B図であり、(c)は(a)の断面矢視A−A図である。 図5に示す多機能カンチレバーを使用して、加工対象物を切削加工して除去する状態を示す流れ図である。 図2に示す多機能カンチレバーの変形例(複数の切り欠き部を有する)を示す、レバー部及び刃部の拡大図であって、(a)は上面側から見た図であり、(b)は(a)の断面矢視D−D図であり、(c)は(a)の断面矢視C−C図である。 図2に示す多機能カンチレバーの変形例(くびれ部を有する)を示す、レバー部の上面図である。 図2に示す多機能カンチレバーの変形例(溝部を有する)を示す、レバー部及び刃部の拡大図であって、(a)は上面側から見た図であり、(b)は(a)の側面図であり、(c)は(a)の断面矢視E−E図である。 図2に示す多機能カンチレバーの変形例(刃部と同じカットパターンの溝部を有する)を示す、レバー部及び刃部の拡大図であって、(a)は上面側から見た図であり、(b)は(a)の側面図であり、(c)は(a)の断面矢視F−F図である。 本発明の第2実施形態に係る多機能カンチレバーを示す図であって、刃部の先端に探針を有する多機能カンチレバーのレバー部及び刃部を拡大した上面図である。 図11に示す多機能カンチレバーの使用方法を説明する図であって、(a)は探針を試料表面に点接触させた状態で観察を行っている状態を示す図であり、(b)は刃部を試料表面に辺接触させて加工対象物を切削加工する直前の状態を示す図である。 図12に示す多機能カンチレバーの変形例(刃部の前方に突出する刃部を有する)を示す、レバー部及び刃部の拡大図であって、(a)は上面側から見た図であり、(b)は(a)の断面矢視G−G図である。 図12に示す多機能カンチレバーの変形例(刃部の斜面に沿って前方に突出する刃部を有する)を示す、レバー部及び刃部の拡大図であって、(a)は上面側から見た図であり、(b)は(a)の断面矢視H−H図である。 本発明の第3実施形態に係る走査型プローブ顕微鏡を示す図であって、多機能カンチレバーの周辺図である。 図15に示す走査型プローブ顕微鏡により、加工対象物を切削加工している状態を示す図であって、プローブを幅方向に向けて振動させている状態を示す図である。
符号の説明
S 試料
S1 試料表面
X 加工対象物
1、45 走査型プローブ顕微鏡
2、50 多機能カンチレバー
3 ステージ
4 移動手段
5 変位測定手段
6 光学顕微鏡(観察手段)
7 制御手段
10 レバー部
10a レバー部の下面
10b レバー部の上面
11 刃部
12 ホルダ部
46 振動発生部
47 加熱手段
51 探針




Claims (18)

  1. 試料表面上の加工対象物を切削加工して除去する多機能カンチレバーであって、
    前記試料表面に下面を対向させた状態で配置され、基端側から一端側に向けて一方向に延びるように形成されると共に、所定の力で前記試料に押し付けられたときに上面側に向けて湾曲するレバー部と、
    該レバー部の先端側で幅方向に亘って、前記上面側に斜面が露出するように刃状に形成され、前記レバー部が湾曲したときに少なくとも前記試料表面に辺接触する刃部と、
    前記レバー部の基端側を片持ち状態に支持するホルダ部とを備え、
    前記レバー部は、前記押し付け動作されるまで、前記刃部が前記試料表面に対して点接触するように前記ホルダ部に支持されていることを特徴とする多機能カンチレバー。
  2. 試料表面上の加工対象物を切削加工して除去する多機能カンチレバーであって、
    前記試料表面に下面を対向させた状態で配置され、基端側から一端側に向けて一方向に延びるように形成されると共に、所定の力で前記試料に押し付けられたときに上面側に向けて湾曲するレバー部と、
    該レバー部の先端側で幅方向に亘って、前記上面側に斜面が露出するように刃状に形成され、前記レバー部が湾曲したときに少なくとも前記試料表面に辺接触する刃部と、
    該刃部の先端に設けられ、前記試料表面に対して点接触する探針と、
    前記レバー部の基端側を片持ち状態に支持するホルダ部とを備えていることを特徴とする多機能カンチレバー。
  3. 請求項1又は2に記載の多機能カンチレバーにおいて、
    前記刃部は、前記レバー部を前記上面側から見たときに、幅方向に亘って斜めにカットされていることを特徴とする多機能カンチレバー。
  4. 請求項3に記載の多機能カンチレバーにおいて、
    前記刃部は、前記レバー部を前記上面側から見たときに、U字状又はV字状の切り欠き部を少なくとも1つ有するようにカットされていることを特徴とする多機能カンチレバー。
  5. 請求項1から4のいずれか1項に記載の多機能カンチレバーにおいて、
    前記刃部は、先端角度が鋭角とされていることを特徴とする多機能カンチレバー。
  6. 請求項5に記載の多機能カンチレバーにおいて、
    前記先端角度は、前記レバー部の結晶方位角度に合わせた角度であることを特徴とする多機能カンチレバー。
  7. 請求項1から6のいずれか1項に記載の多機能カンチレバーにおいて、
    前記刃部は、片刃状であることを特徴とする多機能カンチレバー。
  8. 請求項1から7のいずれか1項に記載の多機能カンチレバーにおいて、
    前記刃部は、辺に沿って凹凸状に形成されていることを特徴とする多機能カンチレバー。
  9. 請求項1から8のいずれか1項に記載の多機能カンチレバーにおいて、
    前記レバー部には、前記上面側から見たときに、幅方向の断面積を低下させて湾曲時の応力を集中させる応力集中部が形成されていることを特徴とする多機能カンチレバー。
  10. 請求項9に記載の多機能カンチレバーにおいて、
    前記応力集中部は、前記レバー部の上面側で幅方向に亘って一様に厚みを低下させる溝部であることを特徴とする多機能カンチレバー。
  11. 請求項10に記載の多機能カンチレバーにおいて、
    前記溝部は、前記刃部のカットパターンに合わせて形成されていることを特徴とする多機能カンチレバー。
  12. 請求項1から11のいずれか1項に記載の多機能カンチレバーと、
    前記試料を載置するステージと、
    前記ホルダ部を介して、前記ステージと前記多機能カンチレバーとを、前記試料表面に平行なXY方向及び前記試料表面に垂直なZ方向に相対的に移動させると共に、前記レバー部を前記試料表面に押し付ける移動手段と、
    前記レバー部の変位を測定する変位測定手段と、
    前記多機能カンチレバーの上方に配置され、前記試料表面の状態を観察する観察手段と、
    前記変位測定手段による測定結果に基づいて前記移動手段を制御して、前記レバー部の押し付け力を調整すると共に、前記試料表面の観察データを採取する制御手段とを備えていることを特徴とする走査型プローブ顕微鏡。
  13. 請求項12に記載の走査型プローブ顕微鏡において、
    前記レバー部を幅方向に向けて振動させる振動発生部を備えていることを特徴とする走査型プローブ顕微鏡。
  14. 請求項12又は13に記載の走査型プローブ顕微鏡において、
    前記レバー部を加熱すると共に所定温度範囲内に収まるように温度調整する加熱手段を備えていることを特徴とする走査型プローブ顕微鏡。
  15. 請求項1に記載の多機能カンチレバーを利用して、前記試料表面を観察すると共に、試料表面上の加工対象物を切削加工して除去する方法であって、
    前記刃部を前記試料表面に点接触させた状態で、前記多機能カンチレバーと前記試料とを試料表面に平行なXY方向に相対的に走査させて試料表面上の観察データを採取すると共に、前記加工対象物を特定する観察工程と、
    該観察工程後、特定した前記加工対象物の近傍で、前記レバー部を前記試料表面に所定の力で押し付けて湾曲させ、前記刃部を試料表面に辺接触させる湾曲工程と、
    該湾曲工程後、前記刃部の状態を維持したまま、前記加工対象物に向けて前記レバー部を移動させて、前記刃部により前記加工対象物を切削加工する加工工程とを備えていることを特徴とする加工対象物の切削方法。
  16. 請求項2に記載の多機能カンチレバーを利用して、前記試料表面を観察すると共に、試料表面上の加工対象物を切削加工して除去する方法であって、
    前記探針を前記試料表面に点接触させた状態で、前記多機能カンチレバーと前記試料とを試料表面に平行なXY方向に相対的に走査させて試料表面上の観察データを採取すると共に、前記加工対象物を特定する観察工程と、
    該観察工程後、特定した前記加工対象物の近傍で、前記レバー部を前記試料表面に所定の力で押し付けて湾曲させ、前記刃部を試料表面に辺接触させる湾曲工程と、
    該湾曲工程後、前記刃部の状態を維持したまま、前記加工対象物に向けて前記レバー部を移動させて、前記刃部により前記加工対象物を切削加工する加工工程とを備えていることを特徴とする加工対象物の切削方法。
  17. 請求項15又は16に記載の加工対象物の切削方法において、
    前記加工工程の際に、前記レバー部を幅方向に対して振動させながら切削加工することを特徴とする加工対象物の切削方法。
  18. 請求項15から17のいずれか1項に記載の加工対象物の切削方法において、
    前記加工工程の際に、前記レバー部を加熱すると共に、該レバー部の温度を所定温度範囲内に収まるように調整した状態で切削加工を行うことを特徴とする加工対象物の切削方法。
JP2006024640A 2006-02-01 2006-02-01 多機能カンチレバー及び走査型プローブ顕微鏡並びに加工対象物の切削方法 Expired - Fee Related JP4697708B2 (ja)

Priority Applications (1)

Application Number Priority Date Filing Date Title
JP2006024640A JP4697708B2 (ja) 2006-02-01 2006-02-01 多機能カンチレバー及び走査型プローブ顕微鏡並びに加工対象物の切削方法

Applications Claiming Priority (1)

Application Number Priority Date Filing Date Title
JP2006024640A JP4697708B2 (ja) 2006-02-01 2006-02-01 多機能カンチレバー及び走査型プローブ顕微鏡並びに加工対象物の切削方法

Publications (2)

Publication Number Publication Date
JP2007205849A JP2007205849A (ja) 2007-08-16
JP4697708B2 true JP4697708B2 (ja) 2011-06-08

Family

ID=38485449

Family Applications (1)

Application Number Title Priority Date Filing Date
JP2006024640A Expired - Fee Related JP4697708B2 (ja) 2006-02-01 2006-02-01 多機能カンチレバー及び走査型プローブ顕微鏡並びに加工対象物の切削方法

Country Status (1)

Country Link
JP (1) JP4697708B2 (ja)

Families Citing this family (7)

* Cited by examiner, † Cited by third party
Publication number Priority date Publication date Assignee Title
US8287653B2 (en) 2007-09-17 2012-10-16 Rave, Llc Debris removal in high aspect structures
JP5039944B2 (ja) * 2008-01-22 2012-10-03 エスアイアイ・ナノテクノロジー株式会社 走査型プローブ顕微鏡用ピンセットシステム、走査型プローブ顕微鏡装置およびゴミの除去方法
US8484761B2 (en) * 2008-06-11 2013-07-09 Imec Method for cost-efficient manufacturing diamond tips for ultra-high resolution electrical measurements and devices obtained thereof
JP5080380B2 (ja) * 2008-06-20 2012-11-21 エスアイアイ・ナノテクノロジー株式会社 原子間力顕微鏡を用いた微細加工方法
CN102583229B (zh) * 2012-03-14 2014-07-30 哈尔滨工业大学 面向微结构制造具有力反馈控制的微探针刻划加工方法
JP5754694B2 (ja) * 2012-06-22 2015-07-29 レーザーテック株式会社 異物除去装置及び異物除去方法
RU2653190C1 (ru) * 2017-02-06 2018-05-07 Константин Евгеньевич Мочалов Сканирующий зондовый микроскоп, совмещенный с устройством модификации поверхности образца

Family Cites Families (6)

* Cited by examiner, † Cited by third party
Publication number Priority date Publication date Assignee Title
JP3656399B2 (ja) * 1998-04-01 2005-06-08 トヨタ自動車株式会社 スクラッチ機構を有する原子間力顕微鏡
JP3461448B2 (ja) * 1998-08-28 2003-10-27 オリンパス光学工業株式会社 特定物質の導入装置及びこれを用いた観察装置、及び、物質導入方法
JP3706523B2 (ja) * 2000-03-08 2005-10-12 喜萬 中山 ナノピンセット及びこれを用いたナノマニピュレータ装置
JP2004345009A (ja) * 2003-05-21 2004-12-09 Japan Science & Technology Agency 微小立体構造マニピュレータ
JP2005084582A (ja) * 2003-09-11 2005-03-31 Sii Nanotechnology Inc フォトマスクのパーティクル除去方法
JP4361403B2 (ja) * 2004-03-15 2009-11-11 エスアイアイ・ナノテクノロジー株式会社 加工用プローブ

Also Published As

Publication number Publication date
JP2007205849A (ja) 2007-08-16

Similar Documents

Publication Publication Date Title
JP4073847B2 (ja) 走査型プローブ顕微鏡及び走査方法
JP2019534459A (ja) 化学的撮像用の原子間力顕微鏡赤外線分光法及び装置
WO2007072709A1 (ja) レーザ加工装置
JP4697708B2 (ja) 多機能カンチレバー及び走査型プローブ顕微鏡並びに加工対象物の切削方法
JP4835927B2 (ja) 硬脆材料板体の分割加工方法
JP4900594B2 (ja) 試料操作装置
JP2009003321A (ja) フォトマスク欠陥修正装置及びフォトマスク欠陥修正方法
JP4688643B2 (ja) 加振型カンチレバーホルダ及び走査型プローブ顕微鏡
JP2009074987A (ja) 走査型プローブ顕微鏡及び表面情報測定方法
JP6584113B2 (ja) 広がり抵抗測定方法及び広がり抵抗顕微鏡
JP2006153589A (ja) 走査型プローブ顕微鏡及び走査方法
JP2013226590A (ja) レーザ切断装置及びレーザ切断方法
JP4995466B2 (ja) 走査型プローブによる加工方法
JPH10267945A (ja) 走査型光顕微鏡
JP4474556B2 (ja) 走査型プローブ顕微鏡
WO2017006436A1 (ja) 原子間力顕微鏡およびその制御方法
JP3539867B2 (ja) 走査型プローブ顕微鏡
JP5014000B2 (ja) 走査プローブ顕微鏡
JP3131828U (ja) 走査型プローブ顕微鏡
JP2015227800A (ja) 走査型プローブ顕微鏡を用いた異物除去方法および同方法で用いる微小異物除去用探針
JP2005308605A (ja) 探針の位置合わせ方法、形状測定方法、測定装置
JP2004090081A (ja) 溶液中レーザーアブレーションの制御方法および装置
JP5148302B2 (ja) 微小加工装置用プローブおよび微小加工装置
JP2018136224A (ja) 走査型プローブ顕微鏡
JP2004156958A (ja) 走査型プローブ顕微鏡

Legal Events

Date Code Title Description
A621 Written request for application examination

Free format text: JAPANESE INTERMEDIATE CODE: A621

Effective date: 20081118

A977 Report on retrieval

Free format text: JAPANESE INTERMEDIATE CODE: A971007

Effective date: 20101006

A131 Notification of reasons for refusal

Free format text: JAPANESE INTERMEDIATE CODE: A131

Effective date: 20101019

A521 Request for written amendment filed

Free format text: JAPANESE INTERMEDIATE CODE: A523

Effective date: 20101201

TRDD Decision of grant or rejection written
A01 Written decision to grant a patent or to grant a registration (utility model)

Free format text: JAPANESE INTERMEDIATE CODE: A01

Effective date: 20110208

RD03 Notification of appointment of power of attorney

Free format text: JAPANESE INTERMEDIATE CODE: A7423

Effective date: 20110222

A61 First payment of annual fees (during grant procedure)

Free format text: JAPANESE INTERMEDIATE CODE: A61

Effective date: 20110222

R150 Certificate of patent or registration of utility model

Ref document number: 4697708

Country of ref document: JP

Free format text: JAPANESE INTERMEDIATE CODE: R150

S111 Request for change of ownership or part of ownership

Free format text: JAPANESE INTERMEDIATE CODE: R313113

R350 Written notification of registration of transfer

Free format text: JAPANESE INTERMEDIATE CODE: R350

R250 Receipt of annual fees

Free format text: JAPANESE INTERMEDIATE CODE: R250

R250 Receipt of annual fees

Free format text: JAPANESE INTERMEDIATE CODE: R250

R250 Receipt of annual fees

Free format text: JAPANESE INTERMEDIATE CODE: R250

R250 Receipt of annual fees

Free format text: JAPANESE INTERMEDIATE CODE: R250

R250 Receipt of annual fees

Free format text: JAPANESE INTERMEDIATE CODE: R250

R250 Receipt of annual fees

Free format text: JAPANESE INTERMEDIATE CODE: R250

LAPS Cancellation because of no payment of annual fees