JP4671100B2 - アンギュラヘッド - Google Patents

アンギュラヘッド Download PDF

Info

Publication number
JP4671100B2
JP4671100B2 JP2004320117A JP2004320117A JP4671100B2 JP 4671100 B2 JP4671100 B2 JP 4671100B2 JP 2004320117 A JP2004320117 A JP 2004320117A JP 2004320117 A JP2004320117 A JP 2004320117A JP 4671100 B2 JP4671100 B2 JP 4671100B2
Authority
JP
Japan
Prior art keywords
shaft portion
shaft
mounting
taper
hole
Prior art date
Legal status (The legal status is an assumption and is not a legal conclusion. Google has not performed a legal analysis and makes no representation as to the accuracy of the status listed.)
Expired - Fee Related
Application number
JP2004320117A
Other languages
English (en)
Other versions
JP2006130582A (ja
Inventor
信男 吉田
Original Assignee
江信特殊硝子株式会社
Priority date (The priority date is an assumption and is not a legal conclusion. Google has not performed a legal analysis and makes no representation as to the accuracy of the date listed.)
Filing date
Publication date
Application filed by 江信特殊硝子株式会社 filed Critical 江信特殊硝子株式会社
Priority to JP2004320117A priority Critical patent/JP4671100B2/ja
Publication of JP2006130582A publication Critical patent/JP2006130582A/ja
Application granted granted Critical
Publication of JP4671100B2 publication Critical patent/JP4671100B2/ja
Anticipated expiration legal-status Critical
Expired - Fee Related legal-status Critical Current

Links

Images

Landscapes

  • Jigs For Machine Tools (AREA)
  • Gripping On Spindles (AREA)

Description

本発明はマシニングセンタ等の工作機械に装着し、工作物(ワーク)を加工するアンギュラヘッド、特に、例えばカッター用等に適したアンギュラヘッドに関するものである。
本発明のアンギュラヘッドは、例えば石英ガラス、セラミック、或いは金属その他の各種のワークの加工用として使用できる。
従来のアンギュラヘッドとして、例えば図11に示すものが知られている。以下、図11に示すアンギュラヘッドについて同図を参照して説明する。このアンギュラヘッドは、工作機械の主軸に着脱自在に結合して装着される動力軸101と、この動力軸を回転自在に支持させたハウジング102と、ハウジング102の端部に設けたケーシング103と、動力軸101とを直交させる方向に配置され、ケーシング103に回転自在に支持させて設けた工具回転軸104と、動力軸101の動力(回転力)を工具回転軸104に伝達する動力伝達手段105とを備えている。
前記回転軸104の先端部には中心部に工具取付用のテーパ孔106を有する工具装着部材107を備えている。そして、カッターアーバその他の工具をテーパ孔に嵌合して固定し、この状態で工作機械に装着して使用するように構成されている(例えば、特許文献1参照)。
ところで、上記した従来のアンギュラヘッドに装着されるカッターアーバは、一般に例えば図12(a)に示すように構成されている。即ち、同図(a)に示すように、カッターアーバ110は、一端に前記テーパ孔106に嵌合するテーパシャンク111を設けた回転軸112の他端に取付軸113を延設し、この取付軸113にカッター114を、カラー115,116で挟んで嵌合し、ナット117で締め付けて固定して構成されている。
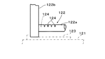
上記構成のカッターアーバ110を上述したアンギュラヘッドに装着してワークを加工する場合、次のような問題が生じる。以下、この問題点の一例について図10を参照して説明する。図10において、121は作業テーブル、122はテーブル121上に位置決めし、固定台部材123等を介して固定した石英ガラス、セラミック,金属その他のワークを示す。前記ワーク122は、例えば丸棒体122aと、この丸棒体の端部を固着して設けた側板122bを備えている。
前記カッターアーバ110を使用して、例えば、ワーク122の丸棒体122aに切溝124を施す加工を行なう場合、丸棒体の中央部分の溝切り加工においては支障なく行なえる。しかし、丸棒体の端部近くに、同図仮想線で示す切溝124を施す場合、ナット117が側板122bに衝当して邪魔になる。したがって、丸棒体の端部近くまでは溝切り加工を施工することができない場合が生じる。
また、従来のカッターアーバとして、図12(b)に示すように構成したものがある。図12(b)のカッターアーバ110Aは前記カッターアーバ110において、前記テーパシャンク111に代え、ストレートシャンク118を設けて構成されている。他の構成は図12(a)のカッターアーバ110と同一ないし略同一構成であるため、同一符号を付して説明を省略する。
図12(b)に示すカッターアーバ110Aは図11に示すアンギュラヘッドにおいて、前記テーパ孔106を有する工具装着部材107に代え、前記回転軸104の先端部にチャック119を設ける。そして、図12(b)に示すように、チャック119にストレートシャンク118を挿入して締め付け固定し、アンギュラヘッドに装着して使用するものである。
図12(b)の構成のカッターアーバ110Aを使用する場合にも、カッターをナット117で締め付けて固定してあるため、図12(a)のカッターアーバと同様の問題が生じる恐れを有している。
特開平9−66431号公報
本発明は上記のような実情に鑑みてなされたもので、ワークに側板その他の支障物を備えている場合においても、ワークの隅の方の部位まで支障なく円滑良好に加工することができるアンギュラヘッドを提供することを目的とするものである。
上記目的を達成するため、本発明は、工作機械の主軸に着脱自在に装着される動力軸と、この動力軸を回転自在に支持させたハウジングと、このハウジングの端部に設けたケーシングと、前記動力軸と交差する方向に配置して前記ケーシングに回転自在に支持させて設け、前記動力軸の動力で回転する工具回転軸、及び前記回転軸の端部に設けた工具装着機構とを備えたアンギュラヘッドであって、
前記工具装着機構は、前記回転軸と同心、かつ、前記ケーシングから突出させて前記回転軸の先端部に設けられ、カッターその他の工具を嵌合して装着する工具取付軸部と、この取付軸部の中心部に、前記取付軸部の先端から基部側方向に設けられ、基部側に縮径するテーパ孔と、このテーパ孔に延長して設けたネジ孔と、前記取付軸部に、この取付軸部の先端から基部にかけると共に前記取付軸部の周方向に略等間隔を存して設けた複数本の割り溝(スリット)と、前記工具の前記取付軸部に対する周方向の動きを規制する回動防止手段、及び前記取付軸部を拡径操作する作動杆体とを備え、
前記作動杆体は、一端部側を前記ネジ孔に螺合する所定長さのネジ棒部で構成されていると共に他端部側は、外周壁面に前記テーパ孔と対応するテーパを付したテーパ軸部で構成され、
前記テーパ軸部は、前記ネジ棒部を前記ネジ孔に螺合し、前記作動杆体を前進させて前記テーパ軸部を前記テーパ孔に圧入した際に、前記テーパ軸部の外端面が前記取付軸部の先端面より突出しない長さに形成され、
前記テーパ軸部は、その外端中心部に設けた多角形の係合孔を備え、
前記テーパ軸部を前記テーパ孔に圧入することにより、前記取付軸部を拡径するように構成したことを特徴とする。
上記構成により、作動杆体をテーパ孔に挿入してネジ棒部をネジ孔に螺合し、作動杆体を所定方向(例えば正方向)へ回動すると作動杆体は前進する。そこで作動杆体を、例えばレンチ等を用いて強く回動してテーパ軸部をテーパ孔に圧入すると、工具取付軸部はテーパ作用により押圧力を受け、押し拡げられて拡径する。
したがって、カッター等の工具を前記軸部に嵌合し、その状態で上記したように作動杆体を強く回動すると、前記軸部の外周壁面がカッター等の工具に形成されている嵌合孔の周壁面に強く圧接する。そのため、工具は前記軸部に安定、かつ、強固に固定して装着される。また、作動杆体を前記と逆方向に回動するとテーパ軸部による前記押圧力は解除されるので、取付軸部は元の状態に復帰する。
本発明において、作動杆体の割り溝は、例えば3本ないし6本設けた構成を採用することができる。また、前記回動防止手段は、前記取付軸部に設けたキーで構成することができる。さらにまた、前記テーパ軸部に設けた前記係合孔は六角形の孔で構成することができる。
本発明は上述したように、カッター等の工具を前記軸部に嵌合して作動杆体を強く回動することにより前記工具を前記軸部に固定するように構成してあるので、カッター等の工具を前記軸部の先端面と略面一の部位に装着することができる。
したがって、本発明によれば、前記軸部の先端に従来のカッターアーバのナット等のような障害物を皆無にできるので、ワークの隅の方の部位まで支障なく円滑良好に加工することが可能になる。
以下、図面を参照して本発明の実施の形態の一例を説明する。
図1は本発明のアンギュラヘッドの一実施の形態を示す縦断面図、図2は同上アンギュラヘッドの工具取付軸部を示す正面図(a)と側面図(b)、図3は同上取付軸部の縦断面図、図4は同上アンギュラヘッドに採用した作動杆体を拡大して示す側面図(a)と正面図(b)、図5は同上工具取付軸部の作用を示す説明図、図6は同上取付軸部に装着して使用される工具に属するカッターの一例を示す正面図(a)と縦断面図(b)、図7は同上取付軸部に装着して使用されるカラーの一例を示す正面図(a)と縦断面図(b)、図8は同上取付軸部に図7に示すカラーを介装して図6に示すカッターを装着した状態を示す説明図である。
上記図1ないし図8において、この実施の形態のアンギュラヘッドは、動力軸1と、この軸1を支持するハウジング2と、このハウジング2の端部に設けたケーシング3と、このケーシングに支持させて設けた工具回転軸4、及び前記回転軸4の端部に設けたカッター等の工具装着機構5とを備えている。
前記動力軸1は、回転軸11と、回転軸11の一端(図1において上端)に設けた保持部12と、この保持部12の上端に設けたテーパシャンク部13とを備えている。前記動力軸1は回転軸11をハウジング2に嵌挿し、ベアリング等の軸受部材14でハウジングに回転自在、かつ、軸方向への動きを規制して支持させて設けてある。前記軸受部材14は回転軸11に嵌合して設けたリング15で押えられ、軸方向への動きを規制されている。なお、図示しないが、回転軸11は、図1において上端部側も軸受部材で回転自在に支持させてある。
前記動力軸1は、テーパシャンク部13をマシニングセンタ等の工作機械の主軸頭の主軸16に着脱自在に結合して主軸16に装着される。
前記ハウジング2は円筒状に形成され、一端(図1において下端)にフランジ21が設けてある。図1において、22は前記ハウジング2の一端(図1において上端)に回動自在に設けた角度調整用リング、23はリング22を止め着するネジ、24は位置決め用ピン、25はハウジング2の一端部側(図1において上端部側)に固定して設けたストッパー部材を示す。
前記ストッパー部材25は、動力軸1のテーパシャンク部13を主軸16に結合してアンギュラヘッドを工作機械に装着した際に、ハウジング2の軸周り方向の動きを規制するもので、ストッパーピン26を備えている。ストッパーピン26は動力軸1の前記シャンク部13を主軸に装着する際に、工作機械の固定部材27(非回転部材)に係脱自在に係合させ、ハウジング2の軸周り方向の動きを規制するように構成してある。
前記ケーシング3は円筒部31を備え、ハウジング2の一端に設けた前記フランジ21にワッシャー32を介してボルト33で締め付けて取付けてある。なお、ケーシング3は、ハウジング2に対して旋回させ、任意の位置で前記ボルト33により締め付けてハウジング2に固定できるように構成してある。ケーシング3の後端(図1において右側端)には蓋部材34がネジ止めして設けてある。
前記工具回転軸4は、動力軸1と交差(図示では直角に交差)する方向に向けてケーシング3内に配置し、ベアリング等の軸受部材41,42でケーシング3に回転自在に支持させて設けてある。工具回転軸4は動力伝達手段43を介して動力軸1の動力(回転力)を伝達されて回転するように構成してある。
図示の動力伝達手段43は、動力軸1の回転軸11の一端(図1において下端)に軸装して固定して設けたベベルギャ43aと、このギャ43aと噛合させて工具回転軸4に軸装して固定して設けたベベルギャ43bとで構成されている。
前記工具回転軸4は、先端側(図1において左端部側)に回転軸4と同心、かつ、回転軸4と一体回転するホイール44,45,46を備えている。そして、前記一方の軸受部材42はホイール44を回転自在に支持させてある。図1において、47はホイール45の回転を阻害することなくホイール45に嵌合し、ケーシング3の前端にネジ止めして設けた蓋用リング部材を示す。
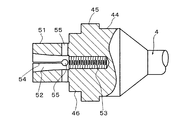
前記工具装着機構5は、工具取付軸部51と、テーパ孔52と、ネジ孔53と割り溝54(スリット)と、逃げ用の孔55と、回動防止手段56、及び作動杆体57とを備えている。
工具取付軸部51はカッター70等の工具を嵌合して装着するもので、適当な径及び長さに形成され、工具回転軸4と同心、かつ、ケーシング3から突出させて前記回転軸4(図示ではホイール46の先端)に設けてある。この実施の形態の取付軸部51は丸棒材で形成されている。
前記テーパ孔52は、取付軸部51の中心部に、軸部51の先端から基部側方向に設けられ、基部側に縮径する円錐形状に形成されている。テーパ孔52は、作動杆体57の後述するテーパ軸部を圧入することにより軸部51を作用するものである。テーパ孔の径、長さ、及びテーパ角度は適当に決定できる。
前記ネジ孔53は、取付軸部51に設けたテーパ孔52に延長して設けてある。このネジ孔53の径及び長さは適当に決定できる。このネジ孔53は、後述するネジ棒部を螺合して正逆回動することにより、作動杆体57を前進・後退させるために設けたものである。
前記割り溝54(スリット)は、取付軸部51に、この軸部51の先端から基部にかけると共に軸部51の周方向に略等間隔を存して複数本(実施の形態では4本)設けてある。この割り溝54の本数は適当(例えば3本ないし6本程度の範囲)に増減することができる。
前記逃げ用の孔55は、前記各割り溝54の基端に設けてある。実施の形態の前記孔55は丸孔で構成したものが開示されている。前記孔55の大きさは適当に決定することができる。また、孔55の形状は例えば楕円形その他の形状に変更することができる。
前記回動防止手段56は、取付軸部51に嵌合して装着されるカッター等の工具の前記軸部51に対する周方向の動きを規制するために設けたものである。この実施の形態の回動防止手段56は、取付軸部51の先端から基部にかけて、前記軸部51に固定して設けたキー56aで構成されている。
前記作動杆体57は、一端部側をネジ孔53に螺合する適当長さ(但し、ネジ孔53の長さより短い)に形成したネジ棒部58で構成されていると共に他端部側は、外周壁面に前記テーパ孔52と対応するテーパを付した適当長さの円錐形状に形成したテーパ軸部59で構成されている。テーパ軸部59の長さは任意に決定するものであるが、作動杆体57を前進させてテーパ軸部59をテーパ孔52に圧入した際に、テーパ軸部59の外端面が前記軸部51の先端面より突出しない長さに設定する。
前記テーパ軸部59の外端部における中心部には、図示しないレンチ等の工具を係合するための多角形の係合孔60が設けてある。この実施の形態の係合孔60は六角形に形成したものが開示されている。前記孔60はレンチ等の工具を係合して作動杆体57を回動するために設けたものである。
上記構成により、作動杆体57をテーパ孔52に挿入してネジ棒部58をネジ孔53に螺合し、作動杆体57を例えば正方向へ回動すると作動杆体57は前進し、また、逆方向へ回動すると作動杆体57は後退する。
そこで、図5に示すように、作動杆体57を、例えばレンチ等(図示せず)を用いて強く回動してテーパ軸部59をテーパ孔52に圧入すると、取付軸部51はテーパ作用に押圧力を受けて図5に仮想線で示すように、押し拡げられて拡径する。また、作動杆体57を逆方向に回動するとテーパ軸部59による押圧力は解除され、取付軸部51は元の状態に復帰する。
上記の場合において、取付軸部51が拡径する寸法はテーパ孔52(及びテーパ軸部59)のテーパ角度により決定される。そこで、テーパ角度は適当に設定する。
次に取付軸部51に嵌合して装着されるカッター等の工具の一例につき図6及び図7を参照して説明する。図6には工具としてカッター70の一例が開示されている。このカッター70は適当な径(例えば直径約80〜約120センチ程度)、及び適当な厚み(例えば約1.5〜約2.5ミリ程度)の円板状に形成したものが開示されている。
また、図示のカッター70は、板体71の外周部72をダイヤでコーティングしたダイヤカッターが開示されている。なお、カッター70の直径及び厚みは一例として示したもので上記範囲内に限定するものではないこと勿論である。
前記カッター70は板体71の中心に前記取付軸部51の直径より微か(例えば約0.2〜約0.8ミリ程度、但し、この範囲に限定するものではない)に大径の嵌合孔73が形成されていると共に嵌合孔73の縁部に前記キー56aと対応するキー用の切欠凹溝74が形成されている。
なお、前記カッター70は一例として開示したもので、上記構成のカッターに限定するものではなく、例えば外周面を鋸刃状に形成したもの、その他の構成のものを採用できること勿論である。
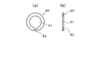
図7にはカラーの一例が開示されている。このカラー80は、適当な径(例えば直径約40〜約60センチ程度)、及び適当な厚み(例えば約1.5〜約3ミリ程度)のリング状に形成され、中心部に設けた嵌合孔81はカッター70の嵌合孔73と略同一の大きさに形成されている。また、前記孔81の縁部に前記カッター70の凹溝74と対応する大きさのキー用の切欠凹溝82が形成されている。なお、前記カラー80は一例として開示したもので、カラー80の直径及び厚みは任意に変更可能なこと勿論である。
次に前記カッター70を工具取付軸部51へ装着する装着方法の一例につき説明する。図8に示すように、カッター70を取付軸部51の先端面と略面一に装着するように、所定枚数のカラー80を重ね合わせて取付軸部51に嵌合し、次いでカッター70を取付軸部51に嵌合する。
そして、上記の状態でレンチ等を用いて作動杆体57を回動してテーパ軸部59をテーパ孔52に圧入すると、上述したように、取付軸部51は拡径し、軸部51の外周壁面がカッター70の嵌合孔81の周壁面に強く圧接する。なお、取付軸部51の外周壁面は各カラー80の嵌合孔81の周壁面にも接触ないし圧接する。したがって、カッター70は軸部51の先端面と略面一の部位に安定、かつ強固に固定して装着される。
また、作動杆体57を前記と逆方向に回動するとテーパ軸部59による押圧力は解除されるので、取付軸部51は元の状態に復帰する。これにより、カッター70及び各カラー80を取付軸部51から取り外すことができる。
この実施の形態のアンギュラヘッドは上記のように構成したもので、従来と同様に、動力軸1のテーパシャンク13をマシニングセンタ等の工作機械の主軸頭の主軸16に着脱自在に結合して装着し、使用される。
実施の形態のアンギュラヘッドによれば、カッター70等の工具を取付軸部51の先端面と略面一の部位に装着することができる。したがって、軸部51の先端に従来のカッターアーバのナット等のような障害物を皆無にできるので、例えば図10に示すようなワーク122の仮想線で示す部位であっても円滑に溝切り加工等を施工することができる。このように、実施の形態によれば、ワークの隅の方の部位まで支障なく円滑良好に加工することが可能になる。
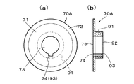
図9は取付軸部51に嵌合して装着されるカッターの他の例が開示されている。このカッター70Aは図6に示すカッター70の側面に適当な長さの嵌合筒体91を溶接その他の手段で固着して設けてある。
前記筒体91の嵌合孔92の直径は前記嵌合孔73と同径に形成されていると共に筒体91には、前記キー用の切欠凹溝74と合致するキー用の切欠凹溝93が筒体91の一端から他端にかけて設けてある。他の構成は図6のカッター70と同一であるため、同一符号を付して説明を省略する。
図9のカッター70Aは上記したように構成したもので、図6のカッター70と同様の方法で取付軸部51に嵌合して装着し、使用される。このカッター70Aを装着したアンギュラヘッドも前記と同様の作用効果を奏する。
なお、上記した実施の形態では取付軸部51に装着する工具としてカッター70,70Aを開示したが、本発明はカッター以外の工具を採用することができるものである。
また、上記した実施の形態は一例として開示したもので、本発明は上記実施の形態に限定されるものではなく、特許請求の範囲に記載の技術的思想を越脱しない範囲において任意に変更可能なものである。
本発明のアンギュラヘッドの一実施の形態の全体構成の概要を示す縦断面図である。 同上アンギュラヘッドの工具取付軸部を拡大して示す図であって、同図(a)は正面図、同図(b)は側面図である。 同上取付軸部の縦断面図である。 同上アンギュラヘッドに採用した作動杆体を拡大して示す図であって、同図(a)は一部を断面で示す側面図、同図(b)は正面図である。 同上アンギュラヘッドの工具装着機構の作用を示す図(但し、キーは省略)であって、同図(a)は側面方向から見た説明図、同図(b)は正面方向から見た説明図である。 同上アンギュラヘッドの工具取付軸部に装着して使用される工具の1つに属するカッターの一例を示す正面図(a)と縦断面図(b)である。 同上工具取付軸部に装着して使用されるカラーの一例を示す正面図(a)と縦断面図(b)である。 同上工具取付軸部に図7に示すカラーを介装して図6に示すカッターを装着した状態を示す説明図である。 同上工具取付軸部に装着して使用されるカッターの他の例を示す正面図(a)と縦断面図(b)である。 従来のアンギュラヘッドの問題点を説明するために示す説明図である。 従来のアンギュラヘッドの一例を示す縦断面図である。 従来のアンギュラヘッドに装着して使用するカッターアーバを示す図であって、同図(a)は図11にアンギュラヘッドに装着して使用するカッターアーバを示す説明図、同図(b)はカッターアーバの他の例を示す説明図である。
符号の説明
1 動力軸
3 ケーシング
51 工具取付軸部
52 テーパ孔
53 ネジ孔
54 割り溝
57 作動杆体
58 ネジ棒部
59 テーパ軸部
70 カッター

Claims (4)

  1. 工作機械の主軸に着脱自在に装着される動力軸と、この動力軸を回転自在に支持させたハウジングと、このハウジングの端部に設けたケーシングと、前記動力軸と交差する方向に配置して前記ケーシングに回転自在に支持させて設け、前記動力軸の動力で回転する工具回転軸、及び前記回転軸の端部に設けた工具装着機構とを備えたアンギュラヘッドであって、
    前記工具装着機構は、前記回転軸と同心、かつ、前記ケーシングから突出させて前記回転軸の先端部に設けられ、カッターその他の工具を嵌合して装着する工具取付軸部と、この取付軸部の中心部に、前記取付軸部の先端から基部側方向に設けられ、基部側に縮径するテーパ孔と、このテーパ孔に延長して設けたネジ孔と、前記取付軸部に、この取付軸部の先端から基部にかけると共に前記取付軸部の周方向に略等間隔を存して設けた複数本の割り溝と、前記工具の前記取付軸部に対する周方向の動きを規制する回動防止手段、及び前記取付軸部を拡径操作する作動杆体とを備え、
    前記作動杆体は、一端部側を前記ネジ孔に螺合する所定長さのネジ棒部で構成されていると共に他端部側は、外周壁面に前記テーパ孔と対応するテーパを付したテーパ軸部で構成され、
    前記テーパ軸部は、前記ネジ棒部を前記ネジ孔に螺合し、前記作動杆体を前進させて前記テーパ軸部を前記テーパ孔に圧入した際に、前記テーパ軸部の外端面が前記取付軸部の先端面より突出しない長さに形成され、
    前記テーパ軸部は、その外端中心部に設けた多角形の係合孔を備え、
    前記テーパ軸部を前記テーパ孔に圧入することにより、前記取付軸部を拡径するように構成した
    ことを特徴とする、アンギュラヘッド。
  2. 前記割り溝は3本ないし6本設けてあることを特徴とする、請求項1に記載のアンギュラヘッド。
  3. 前記回動防止手段は、前記取付軸部に設けたキーで構成されていることを特徴とする、請求項1に記載のアンギュラヘッド。
  4. 前記テーパ軸部に設けた前記係合孔は、六角形の孔で構成されていることを特徴とする、請求項1に記載のアンギュラヘッド。
JP2004320117A 2004-11-04 2004-11-04 アンギュラヘッド Expired - Fee Related JP4671100B2 (ja)

Priority Applications (1)

Application Number Priority Date Filing Date Title
JP2004320117A JP4671100B2 (ja) 2004-11-04 2004-11-04 アンギュラヘッド

Applications Claiming Priority (1)

Application Number Priority Date Filing Date Title
JP2004320117A JP4671100B2 (ja) 2004-11-04 2004-11-04 アンギュラヘッド

Publications (2)

Publication Number Publication Date
JP2006130582A JP2006130582A (ja) 2006-05-25
JP4671100B2 true JP4671100B2 (ja) 2011-04-13

Family

ID=36724566

Family Applications (1)

Application Number Title Priority Date Filing Date
JP2004320117A Expired - Fee Related JP4671100B2 (ja) 2004-11-04 2004-11-04 アンギュラヘッド

Country Status (1)

Country Link
JP (1) JP4671100B2 (ja)

Cited By (2)

* Cited by examiner, † Cited by third party
Publication number Priority date Publication date Assignee Title
CN103481097A (zh) * 2013-09-06 2014-01-01 大连中盛金属制品有限公司 汽车活塞缸筒薄壁外表面加工胎具
CN105563191A (zh) * 2016-03-10 2016-05-11 胡金花 车削球面垫片夹具

Families Citing this family (4)

* Cited by examiner, † Cited by third party
Publication number Priority date Publication date Assignee Title
KR101302855B1 (ko) * 2011-09-27 2013-09-02 전영용 갱 타입 선반용 앵글헤드
CN103506695B (zh) * 2013-09-26 2016-03-23 佛山市普拉迪数控科技有限公司 一种锯片直角角度头
CN106736687A (zh) * 2016-12-19 2017-05-31 广东长盈精密技术有限公司 工件定位结构、工件定位装置及加工设备
CN114472998A (zh) * 2022-01-13 2022-05-13 中国长江动力集团有限公司 一种角铣头的定位固定装置

Family Cites Families (4)

* Cited by examiner, † Cited by third party
Publication number Priority date Publication date Assignee Title
JPS62121056U (ja) * 1986-01-21 1987-07-31
JPH0314252Y2 (ja) * 1986-09-17 1991-03-29
JPH037124Y2 (ja) * 1987-06-24 1991-02-22
JPH1086023A (ja) * 1996-09-12 1998-04-07 Fuji Seiko Kk 工具ホルダ

Cited By (2)

* Cited by examiner, † Cited by third party
Publication number Priority date Publication date Assignee Title
CN103481097A (zh) * 2013-09-06 2014-01-01 大连中盛金属制品有限公司 汽车活塞缸筒薄壁外表面加工胎具
CN105563191A (zh) * 2016-03-10 2016-05-11 胡金花 车削球面垫片夹具

Also Published As

Publication number Publication date
JP2006130582A (ja) 2006-05-25

Similar Documents

Publication Publication Date Title
US10112277B2 (en) Combined type angle head milling cutter for machining mounting faces of axial bearing
JP5873670B2 (ja) アングルヘッド型工具ホルダ
JP4436829B2 (ja) 割出し可能な切削工具
JP2002205220A (ja) 歯切りされたワークピースの端面側を駆動する装置
JP4671100B2 (ja) アンギュラヘッド
JP4095911B2 (ja) 工具保持装置
JP2002018609A (ja) 複合工具
CA2712796A1 (en) Hole saw with tapered pilot bit
JP4227745B2 (ja) 案内シャンクを備えたリーマ仕上げ工具
JP2802047B2 (ja) 孔加工工具
US5052865A (en) Deburring apparatus
US3978765A (en) Internal and external cutting tool
EP0619158B1 (en) Pipe end preparation tool having improved torque reacting and clamping capabilities
JP2607436Y2 (ja) ワンタッチ形工具ホルダ
JP2536352Y2 (ja) 溝加工装置
JPH0513454Y2 (ja)
JPH03184708A (ja) 切削加工装置
JP2761367B2 (ja) 鋼管杭の端部切削装置
JP2834422B2 (ja) 孔加工工具
JP2002066830A (ja) 側フライス用冷却液供給装置
JPH11104917A (ja) 手動操作刃具用ビット
JP4261663B2 (ja) 回転工具ホルダおよびそれを用いた工作機械
JPH1043981A (ja) アンギュラヘッド
JP2024104855A (ja) 回転工具およびバリ取り部品
JP2002103154A (ja) 工具ホルダ

Legal Events

Date Code Title Description
A621 Written request for application examination

Free format text: JAPANESE INTERMEDIATE CODE: A621

Effective date: 20070925

A977 Report on retrieval

Free format text: JAPANESE INTERMEDIATE CODE: A971007

Effective date: 20100413

A131 Notification of reasons for refusal

Free format text: JAPANESE INTERMEDIATE CODE: A131

Effective date: 20100420

A521 Request for written amendment filed

Free format text: JAPANESE INTERMEDIATE CODE: A523

Effective date: 20100526

A131 Notification of reasons for refusal

Free format text: JAPANESE INTERMEDIATE CODE: A131

Effective date: 20100817

TRDD Decision of grant or rejection written
A01 Written decision to grant a patent or to grant a registration (utility model)

Free format text: JAPANESE INTERMEDIATE CODE: A01

Effective date: 20101214

A01 Written decision to grant a patent or to grant a registration (utility model)

Free format text: JAPANESE INTERMEDIATE CODE: A01

A61 First payment of annual fees (during grant procedure)

Free format text: JAPANESE INTERMEDIATE CODE: A61

Effective date: 20110106

R150 Certificate of patent or registration of utility model

Ref document number: 4671100

Country of ref document: JP

Free format text: JAPANESE INTERMEDIATE CODE: R150

Free format text: JAPANESE INTERMEDIATE CODE: R150

FPAY Renewal fee payment (event date is renewal date of database)

Free format text: PAYMENT UNTIL: 20140128

Year of fee payment: 3

R250 Receipt of annual fees

Free format text: JAPANESE INTERMEDIATE CODE: R250

R250 Receipt of annual fees

Free format text: JAPANESE INTERMEDIATE CODE: R250

R250 Receipt of annual fees

Free format text: JAPANESE INTERMEDIATE CODE: R250

R250 Receipt of annual fees

Free format text: JAPANESE INTERMEDIATE CODE: R250

R250 Receipt of annual fees

Free format text: JAPANESE INTERMEDIATE CODE: R250

R250 Receipt of annual fees

Free format text: JAPANESE INTERMEDIATE CODE: R250

R250 Receipt of annual fees

Free format text: JAPANESE INTERMEDIATE CODE: R250

R250 Receipt of annual fees

Free format text: JAPANESE INTERMEDIATE CODE: R250

R250 Receipt of annual fees

Free format text: JAPANESE INTERMEDIATE CODE: R250

R250 Receipt of annual fees

Free format text: JAPANESE INTERMEDIATE CODE: R250

LAPS Cancellation because of no payment of annual fees