JP4670844B2 - 油圧装置 - Google Patents
油圧装置 Download PDFInfo
- Publication number
- JP4670844B2 JP4670844B2 JP2007188213A JP2007188213A JP4670844B2 JP 4670844 B2 JP4670844 B2 JP 4670844B2 JP 2007188213 A JP2007188213 A JP 2007188213A JP 2007188213 A JP2007188213 A JP 2007188213A JP 4670844 B2 JP4670844 B2 JP 4670844B2
- Authority
- JP
- Japan
- Prior art keywords
- passage
- oil
- fluid
- rotating member
- fluid passage
- Prior art date
- Legal status (The legal status is an assumption and is not a legal conclusion. Google has not performed a legal analysis and makes no representation as to the accuracy of the status listed.)
- Expired - Fee Related
Links
Images
Classifications
-
- F—MECHANICAL ENGINEERING; LIGHTING; HEATING; WEAPONS; BLASTING
- F04—POSITIVE - DISPLACEMENT MACHINES FOR LIQUIDS; PUMPS FOR LIQUIDS OR ELASTIC FLUIDS
- F04B—POSITIVE-DISPLACEMENT MACHINES FOR LIQUIDS; PUMPS
- F04B1/00—Multi-cylinder machines or pumps characterised by number or arrangement of cylinders
- F04B1/04—Multi-cylinder machines or pumps characterised by number or arrangement of cylinders having cylinders in star- or fan-arrangement
- F04B1/10—Multi-cylinder machines or pumps characterised by number or arrangement of cylinders having cylinders in star- or fan-arrangement the cylinders being movable, e.g. rotary
- F04B1/107—Multi-cylinder machines or pumps characterised by number or arrangement of cylinders having cylinders in star- or fan-arrangement the cylinders being movable, e.g. rotary with actuating or actuated elements at the outer ends of the cylinders
- F04B1/1071—Multi-cylinder machines or pumps characterised by number or arrangement of cylinders having cylinders in star- or fan-arrangement the cylinders being movable, e.g. rotary with actuating or actuated elements at the outer ends of the cylinders with rotary cylinder blocks
- F04B1/1072—Multi-cylinder machines or pumps characterised by number or arrangement of cylinders having cylinders in star- or fan-arrangement the cylinders being movable, e.g. rotary with actuating or actuated elements at the outer ends of the cylinders with rotary cylinder blocks with cylinder blocks and actuating cams rotating together
Landscapes
- Engineering & Computer Science (AREA)
- Mechanical Engineering (AREA)
- General Engineering & Computer Science (AREA)
- Reciprocating Pumps (AREA)
- Hydraulic Motors (AREA)
- Details Of Reciprocating Pumps (AREA)
Description
本発明は、特に、車両の自動変速機に用いられる油圧装置に関するものである。
油圧装置として、例えば、作動流体を吸入すると共に吐出して必要な部分に供給するラジアルピストンポンプがあり、下記特許文献1に記載されている。この特許文献1に記載されたラジアルピストンポンプは、ハウジングに吸入ポートと吐出ポート及び吸入スロットと吐出スロットを有するバルブシャフトを設け、このバルブシャフトに対してロータを回転自在に支持すると共に、このロータの外側にカムリングを回転自在に設け、ロータにシリンダを放射状に設け、このシリンダにピストンを摺動可能に嵌装することで吸入スロット及び吐出スロットに選択的に連通するポンプ室を形成したものである。従って、作動流体は、吸入ポートから吸入スロットを通ってポンプ室に吸入され、吐出スロットを通って吐出ポートに吐出される。
ところで、このようなラジアルピストンポンプを車両の自動変速機に内蔵し、ラジアルピストンポンプのロータを入力軸と出力軸のいずれか一方に連結し、ラジアルピストンポンプのカムリングを入力軸と出力軸のいずれか他方に連結し、入力軸と出力軸の回転速度差によってオイルを吐出するオイルポンプ、即ち、差動オイルポンプとして使用することがある。この場合、車両の加速時のような正駆動時、つまり、入力軸の回転速度が出力軸の回転速度より大きく、相対的に入力軸が正回転であるときに、ラジアルピストンポンプが作動して作動流体を吐出することができる。ところが、車両にエンジンブレーキが作用しているような被駆動時、つまり、入力軸の回転速度が出力軸の回転速度より小さく、相対的に入力軸が逆回転であるときには、ピストンによる作動流体の吸入行程と吐出行程が逆となり、ラジアルピストンポンプは作動流体を吐出することができない。
そのため、例えば、下記特許文献2では、逆止弁を用いて入力軸の正回転及び逆回転時に作動油を適正に吐出可能としている。即ち、この特許文献2のオイルポンプでは、オイルポンプの吸入口を第一逆止弁を介して液体溜まり部に接続すると共に、オイルポンプの吐出口を第二逆止弁を介して吐出液体要求部に接続し、また、オイルポンプの吐出口を第三逆止弁を介して液体溜まり部に接続すると共に、オイルポンプの吸入口を第四逆止弁を介して吐出液流体要求部に接続し、オイルポンプが正回転するときには第一及び第二逆止弁のみを開き、オイルポンプが逆回転するときには、第三及び第四逆止弁のみを開く向きに配置している。従って、オイルポンプは、モータの回転方向に関わらずに所定の流量を吐出できる。
上述した特許文献2に記載された従来のオイルポンプでは、オイルポンプの吸入口と吐出口に複数の逆止弁を設けることで、オイルポンプが正回転するときには一方の逆止弁を開き、オイルポンプが逆回転するときには他方の逆止弁を開くことで、モータの回転方向に関わらずオイルを吐出することができる。ところが、逆止弁は、オイルの圧力が所定圧力を超えたときに開放するものであることから、オイルの圧力損失が大きく、オイルの吸入時にキャビテーションやピストンの作動不良(カム山飛び現象)が発生しやすく、更には、機械効率が低下してしまうという問題がある。
また、差動オイルポンプは、2つの回転体の回転速度に応じて、作動流体としてのオイルを吸入して吐出するものであるが、一方の回転体を拘束した状態でオイルを供給することで、他方の回転体を回転することで動力を得るモータとして使用することが望まれている。ところが、上述した従来のオイルポンプでは、オイルポンプの吸入口と吐出口に複数の逆止弁が設けられているため、モータとして機能させることが困難となる。
本発明は、回転部材の回転方向に拘らず流体を効率良く供給して機械効率の向上を図ると共に汎用性の向上を図った油圧装置を提供することを目的とする。
本発明の油圧装置は、中心軸心をもって相対回転自在に設けられた第1回転部材及び第2回転部材と、前記第1回転部材に設けられるカムと、前記第2回転部材に前記カムに対向して配置されて径方向に沿って移動自在に設けられるピストンと、前記ピストンを前記カムに接触するように押し付ける押付部と、前記第2回転部材に設けられて前記ピストンの移動に伴って容積が拡大縮小する流体室と、前記流体室に対して流体が流入または排出する第1流体通路及び第2流体通路と、前記第1流体通路及び前記第2流体通路の圧力差に応じて前記第1流体通路及び前記第2流体通路における流体の流入方向及び排出方向が切換わる通路切換装置を備える。
一実施形態では、前記通路切換装置は、前記第1流体通路及び前記第2流体通路の圧力差に応じて移動することで、前記第1流体通路及び前記第2流体通路における流体の流入方向及び排出方向を切換える移動体を有することをことが好ましい。
一実施形態では、前記移動体は、前記第1流体通路を流体の排出方向として前記第2流体通路を流体の流入方向に切換える第1移動位置と、前記第1流体通路を流体の流入方向として前記第2流体通路を流体の排出方向に切換える第2移動位置とに移動自在であると共に、付勢手段により前記第1移動位置に付勢支持されることをことが好ましい。
一実施形態では、前記第1回転部材に入力軸が連結され、前記第2回転部材に入力軸が連結され、前記付勢手段は、前記第1回転部材の回転速度が前記第2回転部材の回転速度より高速であるときに流体供給部に連通する前記第1流体通路または前記第2流体通路の圧力が高くなるように前記移動体を付勢支持することをことが好ましい。
一実施形態では、前記通路切換装置は、ハウジングと、前記ハウジングに設けられて前記第1流体通路及び前記第2流体通路が連通する第1ポート及び第2ポートと、前記ハウジングに設けられて流体吸入通路及び流体排出通路が連通する吸入ポート及び排出ポートと、前記ハウジング内に移動自在に支持されて前記第1ポート及び前記第2ポートと前記吸入ポート及び前記排出ポートとの連通関係を切換えるスプールと、前記ハウジングに設けられて前記第1流体通路の圧力が前記スプールに作用する第1圧力ポートと、前記ハウジングに設けられて前記第2流体通路の圧力が前記スプールに作用する第2圧力ポートを有することをことが好ましい。
一実施形態では、前記通路切換装置は、前記第2回転部材の内側に同心上に回転自在に支持される回転体と、前記回転体に設けられて流体吸入通路が連通すると共に前記第1流体通路または前記第2流体通路が連通可能な吸入室と、前記回転体に設けられて流体排出通路が連通すると共に前記第1流体通路または前記第2流体通路が連通可能な排出室と、前記第1流体通路の圧力が前記回転体に作用して回転可能な第1圧力室と、前記第2流体通路の圧力が前記回転体に作用して回転可能な第2圧力室を有し、前記回転体の回転位置に応じて前記第1流体通路及び前記第2流体通路と前記吸入室及び前記排出室との連通関係を切換可能であることをことが好ましい。
一実施形態では、前記通路切換装置は、流体貯留部に流体吸入通路を介して連結されると共に、流体供給部に流体排出通路を介して連結され、前記流体吸入通路または前記流体排出通路の少なくともいずれか一方に流体の流動量を制御する制御弁が設けられることをことが好ましい。
一実施形態では、前記第1回転部材と前記第2回転部材の一方に入力軸が連結され、他方に出力軸が連結され、前記第1回転部材と前記第2回転部材との回転速度差により前記ピストンが往復移動し、前記流体室の圧力が変動することで、前記第1流体通路及び前記第2流体通路を通して流体の吸入及び吐出が行われることをことが好ましい。
一実施形態では、前記第1回転部材または前記第2回転部材を拘束可能な拘束手段と、前記第1流体通路または前記第2流体通路に流体を供給可能な流体供給手段を設けることをことが好ましい。
本発明の油圧装置によれば、回転部材の回転方向に拘らず流体を効率良く供給して機械効率の向上を図ると共に汎用性の向上を図ることができる。
この発明は、車両の自動変速機に用いられる油圧装置に関するものであり、ポンプ、動力伝達装置、モータとして使用することができるものである。このポンプは、第1回転部材と第2回転部材を相対回転することにより、ピストンをカム形状に沿って往復動させることで、内部に流体を吸入してから外部に吐出することができる。動力伝達装置は、動力を第1回転部材または第2回転部材に伝達し、この第1回転部材と第2回転部材を相対回転することにより、ピストンをカム形状に沿って往復動させと共に、ピストンとカムの係合力により、第1回転部材と第2回転部材との間で動力を伝達することができる。モータは、内部に流体を供給して外部に排出することにより、ピストンを作動させることで、このピストンとカムの係合力により、第1回転部材と第2回転部材とを相対回転して動力を取り出すことができる。
好ましくは、相対回転自在な第1回転部材及び第2回転部材を設け、この第1回転部材にカムを設ける一方、第2回転部材にカムに対向して径方向に沿って移動自在なピストンを設けると共に、このピストンを押付部によりカムに接触するように押し付け、第2回転部材にピストンの移動に伴って容積が拡大縮小する流体室を設け、この流体室に対して流体が流入または排出する第1流体通路及び第2流体通路を設け、この第1流体通路及び第2流体通路の圧力差に応じて流体の流入方向及び排出方向が切換わる通路切換装置を設けている。それによれば、通路切換装置により第1流体通路と第2流体通路の圧力差に応じて流体の流入方向と排出方向が切換わることで、回転部材の回転方向に拘らず流体を所定の油路に供給し、更には機械効率を向上することができると共に、動力を取り出す装置として機能させることで汎用性を向上することができる。
好ましくは、通路切換装置は、第1流体通路及び第2流体通路の圧力差に応じて移動することで、第1流体通路及び第2流体通路における流体の流入方向及び排出方向を切換える移動体を有する。それによれば、第1流体通路及び第2流体通路の圧力差に応じて、移動体を移動することで各流体通路における流体の流入方向及び排出方向を切換えることができ、簡単な構成で流体の吸入と吐出を適正に行うことができる。
好ましくは、移動体は、第1流体通路を流体の排出方向として第2流体通路を流体の流入方向に切換える第1移動位置と、第1流体通路を流体の流入方向として第2流体通路を流体の排出方向に切換える第2移動位置とに移動自在であると共に、付勢手段により第1移動位置に付勢支持される。それによれば、第1流体通路及び第2流体通路の圧力差に応じて、移動体を第1移動位置と第2移動位置に移動することで、オイルの流入方向とオイルの排出方向を切換えることができ、簡単な構成で、且つ、単純な作動によりオイルの吸入と吐出を適正に行うことができる。
好ましくは、第1回転部材に入力軸が連結され、第2回転部材に入力軸が連結され、付勢手段は、第1回転部材の回転速度が第2回転部材の回転速度より高速であるときに流体供給部に連通する第1流体通路または第2流体通路の圧力が高くなるように移動体を付勢支持する。それによれば、移動体が付勢手段により付勢支持されることで、始動時に、流体の逆流を防止することができると共に、早期に流体を吐出することができ、また、構成の簡素化を図ることができる。
好ましくは、通路切換装置は、ハウジングと、ハウジングに設けられて第1流体通路及び第2流体通路が連通する第1ポート及び第2ポートと、ハウジングに設けられて流体吸入通路及び流体排出通路が連通する吸入ポート及び排出ポートと、ハウジング内に移動自在に支持されて第1ポート及び第2ポートと吸入ポート及び排出ポートとの連通関係を切換えるスプールと、ハウジングに設けられて第1流体通路の圧力がスプールに作用する第1圧力ポートと、ハウジングに設けられて第2流体通路の圧力がスプールに作用する第2圧力ポートを有する。それによれば、第1流体通路と第2流体通路の油圧を各圧力ポートを通してスプールに作用させることで、その圧力差に応じてスプールを第1移動位置または第2移動位置に移動することとなり、このスプールの移動により第1ポート及び第2ポートと吸入ポート及び排出ポートとの連通関係を切換えることができ、流体の吸入と吐出を適正に行うことができる。
好ましくは、通路切換装置は、第2回転部材の内側に同心上に回転自在に支持される回転体と、回転体に設けられて流体吸入通路が連通すると共に第1流体通路または第2流体通路が連通可能な吸入室と、回転体に設けられて排出通路が連通すると共に第1流体通路または第2流体通路が連通可能な排出室と、第1流体通路の圧力が回転体に作用して回転可能な第1圧力室と、第2流体通路の圧力が回転体に作用して回転可能な第2圧力室を有し、回転体の回転位置に応じて第1流体通路及び第2流体通路と吸入室及び排出室との連通関係を切換可能である。それによれば、スペース効率が良くなって装置の小型化を可能とすることができると共に、油路の開口面積を大きく確保することができるため、圧力損失を更に抑制することが可能となり、また、回転体が第2回転部材と相対回転自在であるため、作動不良を防止することができる。
好ましくは、通路切換装置は、流体貯留部に流体吸入通路を介して連結されると共に、流体供給部に流体排出通路を介して連結され、流体吸入通路または流体排出通路の少なくともいずれか一方に流体の流動量を制御する制御弁が設けられる。それによれば、制御弁により流体吸入通路または流体排出通路の一方に流体の流動量を制御することで、第1回転部材と第2回転部材との間でのトルク伝達量を調整することができ、オイルの吸入と吐出を適正に行うことができると共に、第1回転部材と第2回転部材との間でのトルク伝達を適正に行うことができる。
好ましくは、第1回転部材と第2回転部材の一方に入力軸が連結され、他方に出力軸が連結され、第1回転部材と第2回転部材との回転速度差によりピストンが往復移動し、流体室の圧力が変動することで、第1流体通路及び第2流体通路を通して流体の吸入及び吐出が行われる。それによれば、第1回転部材と第2回転部材との回転速度差に基づいて適正なオイルの吐出量を確保することができる。
好ましくは、第1回転部材または第2回転部材を拘束可能な拘束手段と、第1流体通路または第2流体通路に流体を供給可能な流体供給手段を設ける。それによれば、拘束手段により第1回転部材または第2回転部材を拘束した状態で、流体供給手段により第1流体通路または第2流体通路に流体を供給して回転させることで、モータとして機能させることができる。
以下に、本発明に係る油圧装置の実施例を図面に基づいて詳細に説明する。なお、この実施例により本発明が限定されるものではない。
図1は、本発明の実施例1に係る油圧装置を表すオイルポンプの概略構成図、図2は、図1のII−II断面図、図3は、実施例1のオイルポンプが適用された車両の駆動伝達系を表す概略構成図である。
実施例1の油圧装置が適用された車両の駆動伝達系において、図3に示すように、原動機としてのエンジン11が設けられており、このエンジン11のクランクシャフト12には、ダンパ装置13を介してインプットシャフト14が連結されており、エンジントルクがインプットシャフト14に伝達されるように構成されている。
インプットシャフト14は、外周側にプライマリシャフト15が複数の軸受16a,16b,16c,16dを介して相対回転自在に支持されている。インプットシャフト14及びプライマリシャフト15は、ケーシング17内に配置されている。このケーシング17は、フロントケース18とセンターケース19とリヤケース20が図示しない連結ボルトにより結合固定されて構成されている。そして、フロントケース18とセンターケース19とリヤケース20には、内面に連続する隔壁18a,19a,20a,20bが設けられており、この隔壁18a,19a,20a,20bに軸受21a,21b,21cを介してプライマリシャフト15が回転自在に支持されている。
ケーシング17の内部であって、リヤケース20の隔壁20a,20bにより取り囲まれた空間に第1収容室A1が形成されている。この第1収容室A1には、本実施例の油圧装置としてのオイルポンプ22が配設されている。このオイルポンプ22は、ラジアルピストンポンプである。
このオイルポンプ22において、図1及び図2に示すように、リヤケース20の隔壁20bには、軸受16dを介して円筒形状をなすスリーブ23が回転自在に支持されている。このスリーブ23は、フランジ部23aに円形状をなす回転板24が固定され、この回転板24に円筒形状をなす第1回転部材25が固定されている。そして、この第1回転部材の内周面にカム26が設けられている。このカム26は、径方向に対向する第1カム面26a,26cと第2カム面26b,26dが周方向に交互に配置され、滑らかに連続するように形成されている。この場合、第1回転部材25の中心軸線Oから第1カム面26a,26cまでの距離は、第1回転部材25の中心軸線Oから第2カム面26a,26cまでの距離よりも長くなるように設定されている。
また、回転板24には、ロータリバルブ27が結合されており、インプットシャフト14の端部に一体に形成された端板28がこのロータリバルブ27の外周面に嵌合して一体に結合されている。
ロータリバルブ27は、一方の端面からその中心部に第1連通孔29が形成されると共に、この第1連通孔29の外周側に2つの第2連通孔30a,30bが形成されている。そして、円筒形状をなすホルダ31がスリーブ23内を挿通し、端部が第1連通孔29に嵌合して固定されることで、ホルダ31の内部から第1連通孔29に連通する第1油路32が形成されると共に、スリーブ23とホルダ31の間から第2連通孔30a,30bに連通する第2油路33が形成されている。また、ロータリバルブ27は、外周面に周方向に沿って4つの連結溝34a,34b,34c,34dが形成されており、第1連通孔29と連結溝34a,34cが連結孔35a,35cにより連通する一方、第2連通孔30a,30bと連結溝34b,34dが連結孔35b,35dにより連通している。
このロータリバルブ27は、その外周面に円筒形状をなす第2回転部材36が回転自在に嵌合している。この第2回転部材36は、外周部に周方向均等間隔で8つのシリンダ37a〜37hが外方に開口して形成されており、各シリンダ37a〜37hにピストン38a〜38hがロータリバルブ27の径方向に沿って移動自在に支持されている。そして、この各ピストン38a〜38hの先端部にローラ39a〜39hが装着されており、このローラ39a〜39hは、ロータリバルブ27の軸方向に平行な軸線を中心として回転自在に支持されている。また、各シリンダ37a〜37h内には、押付部としての圧縮コイルスプリング40a〜40hが介装されており、各圧縮コイルスプリング40a〜40hは、その付勢力により各シリンダ37a〜37hのローラ39a〜39hをカム26のカム面26a,26b,26c,26dに接触するように押し付けている。
即ち、各ピストン38a〜38hは、第1回転部材25のカム26に径方向に対向して配置され、各圧縮コイルスプリング40a〜40hの付勢力によりローラ39a〜39hがカム26のカム面26a,26b,26c,26dに接触している。そして、各ピストン38a〜38hと各シリンダ37a〜37hとの間には、密閉された油室41a〜41hが形成されており、第1回転部材25と第2回転部材36が相対回転すると、各ピストン38a〜38hがローラ39a〜39hを介してカム面26a,26b,26c,26dにより往復移動することで、油室41a〜41hの容積が拡大縮小する。また、この油室41a〜41hは、連結孔42a〜42hを通して連結溝34a〜34dに連通可能となっている。
また、第2回転部材36の一方の平面部には、円筒形状をなす連結筒43が固定されている。一方、リヤケース20の隔壁20aには、軸受21cを介して円板形状をなす支持板44が回転自在に支持され、この支持板44の貫通孔44aに円筒形状をなすアウトプットシャフト45の端部が嵌合し、結合部材46により一体に結合されている。そして、連結筒43の内周部に対して、支持板44に一体に形成されたフランジ部44bの外周部がスプライン47により嵌合し、連結筒43と支持板44、つまり、第2回転部材36とアウトプットシャフト45が一体回転可能に連結されている。なお、第2回転部材36の他方の平面部と回転板24との間には軸受48が介装され、連結筒43と支持板44との間には軸受49が介装され、インプットシャフト14とアウトプットシャフト45との間には軸受16cが介装されている。
図3に示すように、ケーシング17の内部であって、センターケース19の隔壁19aとリヤケース20の隔壁20aにより取り囲まれた空間に第2収容室A2が形成されている。この第2収容室A2には、前後進切換装置51が配設されている。この前後進切換装置51は、アウトプットシャフト45の回転方向に対して、プライマリシャフト15の回転方向を正転方向と逆転方向との間で切換えるものであり、エンジン11とオイルポンプ2との間に配置されている。
この前後進切換装置51は、遊星歯車機構、具体的には、シングルピニオン型遊星歯車機構を有している。即ち、この遊星歯車機構は、サンギヤ52と、このサンギヤ52と同軸上に配置されるリングギヤ53と、サンギヤ52とリングギヤ53に噛み合う複数のピニオンギヤ54と、このピニオンギヤ54の自転可能で、且つ、公転可能に支持するキャリヤ55とから構成されている。そして、サンギヤ52がプライマリシャフト15に駆動連結され、リングギヤ53がアウトプットシャフト45に駆動連結されている。また、前後進切換装置51を構成する回転要素同士の連結及び解放を制御する前進用クラッチ56が設けられると共に、回転要素の回転及び停止を制御する後進用ブレーキ57が設けられている。この前進用クラッチ56は、サンギヤ52とリングギヤ53の連結及び解放を制御することができ、後進用ブレーキ57は、キャリヤ55の回転及び停止を制御することができる。
なお、上述した前進用クラッチ56として、摩擦クラッチ、電磁クラッチ、噛み合いクラッチなどを適用することができ、後進用ブレーキ57として、摩擦ブレーキ、電磁ブレーキ、噛み合いブレーキなどを適用することができる。そして、摩擦クラッチや噛み合いクラッチ、摩擦ブレーキや噛み合いブレーキを適用するときには、油圧制御式アクチュエータを用い、電磁クラッチや電磁ブレーキを適用するときには、電磁制御式アクチュエータを用いることとなる。本実施例では、油圧制御式アクチュエータを用いて摩擦クラッチ(噛み合いクラッチ)と摩擦ブレーキ(噛み合いブレーキ)を制御している。
また、ケーシング17の内部であって、フロントケース18の隔壁18aとセンターケース19の隔壁19aにより取り囲まれた空間に第3収容室A3が形成されている。この第3収容室A3には、無段変速機58が配設されている。この無段変速機58は、プライマリシャフト15の回転速度を無段階で変速してセカンダリシャフト59に伝達するものであり、エンジン11と前後進切換装置51との間に配置されている。
この無段変速機58はベルト式無段変速機であって、上述したプライマリシャフト15とセカンダリシャフト59を有しており、このプライマリシャフト15とセカンダリシャフト59は平行をなすように隔壁18a,19aに回転自在に支持されている。プライマリシャフト15には、プライマリプーリ60が一体回転可能に設けられ、セカンダリシャフト59には、セカンダリプーリ61が一体回転可能に設けられている。そして、このプライマリプーリ60とセカンダリプーリ61との間には、無端のベルト62が掛け回されている。
このプライマリプーリ60は、プライマリシャフト15と一体の固定シーブ60aと、プライマリシャフト15の軸方向に移動自在な可動シーブ60bとを有し、この間に無端のベルト62が掛け回されている。そして、可動シーブ60bをプライマリシャフト15の軸方向に移動して固定シーブ60aに対して接近離反させる第1油圧サーボ機構63が設けられている。一方、セカンダリプーリ61は、セカンダリシャフト59と一体の固定シーブ61aと、セカンダリシャフト59の軸方向に移動自在な可動シーブ61bとを有し、この間に無端のベルト62が掛け回されている。そして、可動シーブ61bをセカンダリシャフト59の軸方向に移動して固定シーブ61aに対して接近離反させる第2油圧サーボ機構64が設けられている。この各油圧サーボ機構63,64によりベルト62に対するプライマリプーリ60及びセカンダリプーリ61の係合位置を変更することで、変速比を無段に変更することができる。
更に、ケーシング17の内部には、セカンダリシャフト59のトルクが伝達される歯車伝動装置65と、デファレンシャル66が設けられており、デファレンシャル66には、ドライブシャフト67を介して車輪68が連結されている。
ところで、車両には、この車両全体を統括制御する電子制御装置(ECU)71が設けられている。即ち、イグニッションスイッチ72、アクセル開度センサ73、ブレーキストロークセンサ74、エンジン回転数センサ75、スロットル開度センサ76、インプットシャフト14の回転数センサ77、プライマリシャフト15の回転数センサ78、セカンダリシャフト59の回転数センサ79、シフトポジションセンサ80が設けられており、ECU71にはこの検出信号が入力される。
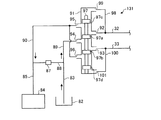
また、車両には、上述したオイルポンプ22、前後進切換装置51、無段変速機58などを制御する油圧制御装置81が設けられており、ECU71により制御可能となっている。この油圧制御装置81は、油貯留部(流体貯留部、例えば、オイルパン)82に連結される第1油吸入通路(流体吸入通路)83が連結されると共に、油供給部(流体供給部、例えば、前後進切換装置51や無段変速機58の油圧制御部など)84に連結される第1油排出通路(流体排出通路)85が連結されている。また、油圧制御装置81は、オイルポンプ22を制御する通路切換装置86及び制御弁87を介してこのオイルポンプ22に連結されている。
即ち、図1及び図2に示すように、オイルポンプ22には、流体室41a〜41hに対して、流体としてのオイル(油)が流入または排出する第1流体通路として、第1油路32、第1連通孔29、連結孔35a,35c、連結溝34a,34c、連結孔42a〜42hが設けられると共に、第2流体通路として、第2油路33、第2連通孔30a,30b、連結孔35b,35d、連結溝34b,34d、連結孔42a〜42hが設けられている。通路切換装置86は、この第1流体通路及び第2流体通路の圧力差に応じて、第1流体通路及び第2流体通路における流体の流入方向及び排出方向が切換わる。また、制御弁87は、油循環通路88におけるオイルの流動量を制御する。
通路切換装置86において、ハウジング91は中空形状をなし、第1流体通路としての第1油路32に連通する第1ポート92と、第2流体通路としての第2油路33に連通する第2ポート93が形成されている。また、ハウジング91には、第2油吸入通路89に連通する吸入ポート94と、第2油排出通路90に連通する2つの排出ポート95,96が形成されている。そして、このハウジング91内には、移動体としてのスプール97が移動自在に支持されおり、このスプール97には、第1ポート92と吸入ポート94、排出ポート95とを連通及び遮断可能な弁部97aと、第2ポート93と吸入ポート94、排出ポート96とを連通遮断可能な弁部97bが形成されている。更に、ハウジング91には、軸方向における各端部に第1流体通路としての第1油路32から分岐した第1分岐通路98に連通する第1圧力ポート99と、第2流体通路としての第2油路33から分岐した第2分岐通路100に連通する第2圧力ポート101が形成されている。そして、スプール97に、第1分岐通路98からの油圧が作用する弁部97cと、第2分岐通路100からの油圧が作用する弁部97dが形成されている。
従って、通路切換装置86は、第1流体通路(第1油路32)及び第2流体通路(第2油路33)の圧力差に応じてスプール97が移動することで、第1流体通路及び第2流体通路における流体の流入方向及び排出方向を切換えることができる。即ち、第1流体通路としての第1油路32の油圧が第2流体通路としての第2油路33の油圧より高いとき、第1油路32の油圧が第1分岐通路98を通して第1圧力ポート99から弁部97cに作用するため、スプール97は、図1にて右方に移動して第1移動位置に停止する。すると、弁部97aにより第1ポート92と排出ポート95が連通すると共に、弁部97bにより第2ポート93と吸入ポート94とを連通し、第2油吸入通路89の油圧が吸入ポート94及び第2ポート93を通って第2油路33に流れると共に、第1油路32の油圧が第1ポート92及び排出ポート95を通って第2油排出通路90に流れる。
一方、第2油路33の油圧が第1油路32の油圧より高いとき、第2油路33の油圧が第2分岐通路100を通して第2圧力ポート101から弁部97dに作用するため、スプール97は、図1にて左方に移動して第2移動位置に停止する。すると、弁部97aにより第1ポート92と排出ポート94が連通すると共に、弁部97bにより第2ポート93と排出ポート96が連通し、油吸入通路83の油圧が吸入ポート94及び第1ポート92を通って第1油路32に流れると共に、第2油路33の油圧が第2ポート93及び排出ポート96を通って油排出通路85に流れる。
また、第2油排出通路90は、第1油排出通路85及び油循環通路88に分岐しており、オイルポンプ22から排出されたオイルの一部が第1油排出通路85を通って油供給部84に流れると共に、残りが油循環通路88に流れる。油循環通路88に流れたオイルは、第1油吸入通路83から流れるオイルと合流して第2油吸入通路89に戻される。油循環通路88には、制御弁87が設けられている。この制御弁87は、流量調整弁であって、その開度を調整することで、油循環通路88を流れるオイルの流動量を調整する。油供給部84に供給されるオイル量は、運転条件によって幾分変化するが、概ね一定量であり、従って、制御弁87は、油循環通路88を流れるオイルの流動量を調整することにより、オイルポンプ22からの吐出量を調整することができる。
ここで、上述した本実施例のオイルポンプ22の作動について詳細に説明する。
本実施例のオイルポンプ22において、図1乃至図3に示すように、エンジン11のトルクがクランクシャフト12からダンパ装置13を介してインプットシャフト14に伝達されると、このインプットシャフト14のトルクがオイルポンプ22のロータリバルブ27から回転板24を介して第1回転部材25に伝達される。このとき、制御弁87によりオイルポンプ22からの吐出量を調整することで、各ピストン38a〜38hの移動を制限し、第1回転部材25のトルクをカム26からピストン38a〜38hを介して第2回転部材36に伝達し、この第2回転部材36から支持板44を介してアウトプットシャフト45に伝達することができる。
即ち、オイルポンプ22は、第1回転部材25と第2回転部材36が図2にて反時計回り方向(図2に矢印で表す方向)に回転し、第1回転部材25の回転速度V1が第2回転部材36の回転速度V2より大きいとき、第1回転部材25に対して第2回転部材36が相対的に逆方向、つまり、時計回り方向に回転することとなる。そのため、例えば、図2に表す状態から、ピストン38fは、ローラ39fがカム面26dからカム面26aに向かって転動し、シリンダ37fから外方に移動して油室41fが拡大する。このとき、油室41fは、連結孔42f、連結溝34b、連結孔35b、第2連通孔30a、第2油路33に連通する。一方、図2に表す状態から、例えば、ピストン38hは、ローラ39hがカム面26aからカム面26bに向かって転動するため、シリンダ37hの内方に移動して油室41hが収縮する。このとき、油室41hは、連結孔42h、連結溝34a、連結孔35a、第1連通孔29、第1油路32に連通する。
この場合、油室41fが拡大することで、油室41fから第2油路33に対して吸引力が作用する一方、油室41hが収縮することで、油室41hから第1油路32に圧縮力が作用する。そのため、前述したように、通路切換装置86にて、第1油路32の油圧が第2油路33の油圧より高くなり、スプール97が第1移動位置に移動する。そして、油循環通路88からの油が第2油吸入通路89に流れると共に、油貯留部82の油も第1油吸入通路83を通って第2油吸入通路89に流れ、吸入ポート94及び第2ポート93を通って第2油路33に流れ、油室41fに吸入される。一方、油室41hの油が第1油路32から第1ポート92及び排出ポート95を通って第2油排出通路90に流れ、一部は第1油排出通路85を通って油供給部84に吐出されると共に、残りが油循環通路88に流れる。
このとき、制御弁87を全開状態として場合には、油循環通路88を流れる油の流量が制限されずに流動抵抗が小さく、油室41hから第2油排出通路90に吐出される油の流動抵抗も小さい。従って、ピストン38hのローラ39hがカム面26aからカム面26bに向かって転動するとき、ピストン38hがシリンダ37hの内方に移動する際の抵抗も小さく、第1回転部材25に対して第2回転部材36が逆方向(図2にて時計回り方向)に回転しやすくなる。その結果、インプットシャフト14からオイルポンプ22を通してアウトプットシャフト45にトルクはほとんど伝達されず、アウトプットシャフト45は回転せず、車両は停止状態となる。一方、制御弁87の開度を徐々に小さくしていくと、油循環通路88を流れる油の流動抵抗が増加し、油室41hから第2油排出通路90に吐出される油の流動抵抗も増加し、ピストン38hがシリンダ37hの内方に移動する際の抵抗も増加し、インプットシャフト14からオイルポンプ22を通してアウトプットシャフト45に伝達されるトルクも増加し、アウトプットシャフト45が回転し始め、車両は発進する。即ち、オイルポンプ22は、制御弁87の開度を調整することにより、発進装置としても機能させることができる。
また、制御弁87を全閉状態とすると、油循環通路88を流れる油の流量が0となり、オイルポンプ22から吐出される油は全て油供給部84へ供給され、オイルポンプ22の消費エネルギが抑制される。
なお、上述したオイルポンプ22の作動説明では、ピストン38f、ローラ39f、油室41fと、ピストン38h、シリンダ37h、油室41hの作動についてのみ説明したが、全てのピストン38a〜38h、シリンダ37a〜37h、油室41a〜41hにおいてもカム26により同様の作動をしている。
そして、インプットシャフト14のトルクがオイルポンプ22を通してアウトプットシャフト45に伝達されると、アウトプットシャフト45のトルクが前後進切換装置51を介して無段変速機58に伝達され、ここで設定された所定の変速比により減速される。無段変速機58で減速されたトルクは、歯車伝動装置65を介してデファレンシャル66に伝達され、ドライブシャフト67を介して車輪68に伝達される。
一方、車両にエンジンブレーキが作用すると、オイルポンプ22では、第1回転部材25と第2回転部材36が図2にて反時計回り方向(図2に矢印で表す方向)に回転するものの、第1回転部材25の回転速度V1が第2回転部材36の回転速度V2より小さくなる。即ち、第2回転部材36に対して第1回転部材25が逆方向、つまり、反時計回り方向に回転することとなる。そのため、例えば、ピストン38fは、ローラ39fがカム面26dからカム面26cに向かって転動するため、シリンダ37fから外方に移動して油室41fが拡大する。このとき、油室41fは、連結孔42f、連結溝34c、連結孔35c、第1連通孔29、第1油路32に連通する。一方、例えば、ピストン38hが、ローラ39hがカム面26aからカム面26dに向かって転動するため、シリンダ37hの内方に移動して油室41hが収縮する。このとき、油室41hは、連結孔42h、連結溝34b、連結孔35b、第2連通孔30a、第2油路33に連通する。
この場合、油室41fが拡大することで、油室41fから第1油路32に対して吸引力が作用する一方、油室41hが収縮することで、油室41hから第2油路33に圧縮力が作用する。そのため、前述したように、通路切換装置86にて、第2油路33の油圧が第1油路32の油圧より高くなり、スプール97が第2移動位置に移動する。そして、油循環通路88からの油が第2油吸入通路89に流れると共に、油貯留部82の油も第1油吸入通路83から第2油吸入通路89に流れ、吸入ポート94及び第1ポート92を通って第1油路32に流れ、油室41fに吸入される。一方、油室41hの油が第2油路33から第2ポート93及び排出ポート96を通って第2油排出通路90に流れ、一部は第1油排出通路85を通って油供給部84に吐出されると共に、残りが油循環通路88に流れる。
このように実施例1の油圧装置にあっては、第1回転部材25及び第2回転部材36を同一の中心軸心Oをもって相対回転自在に設け、第1回転部材25にカム26を設け、第2回転部材36にカム25に対向してピストン38a〜38hを配置し、圧縮コイルスプリング40a〜40hによりピストン38a〜38hをカム26に接触するように押し付け、第2回転部材36にピストン38a〜38hの移動に伴って容積が拡大縮小する油室41a〜41hを設け、この油室41a〜41hに対してオイルが流入または排出する第1流体通路(第1油路32)及び第2流体通路(第2油路33)を設け、この第1流体通路及び第2流体通路の圧力差に応じて第1流体通路及び第2流体通路におけるオイルの流入方向及び排出方向が切換わる通路切換装置86を設けている。
従って、通路切換装置86により第1流体通路と第2流体通路の圧力差に応じてオイルの流入方向と排出方向が切換わることで、各回転部材25,36の回転方向に拘らずオイルを所定の油路(第2油排出通路90)に吐出することで、油供給部84としての前後進切換装置51や無段変速機58の油圧制御部などに適正にオイルを供給することができ、前後進切換装置51におけるクラッチの焼き付きや係合時のショックの発生、無段変速機58におけるベルト破断などを防止することができる。また、オイル通路に逆止弁を使用しないことで、圧力損失を抑制することで、油吸入時におけるキャビテーションやピストン38a〜38hの作動不良(カム山飛び現象)の発生を抑制し、更には、機械効率を向上することができる。更に、特別な制御やアクチュエータなどを不要として、構造の簡素化を可能とすることができる。
また、実施例1では、通路切換装置86として、第1流体通路(第1油路32)及び第2流体通路(第2油路33)の圧力差に応じて移動することで、第1流体通路及び第2流体通路におけるオイルの流入方向及び排出方向を切換える移動体としてのスプール97を設け、このスプール97を、第1流体通路をオイルの排出方向として第2流体通路をオイルの流入方向に切換える第1移動位置と、第1流体通路をオイルの流入方向として第2流体通路をオイルの排出方向に切換える第2移動位置とに移動自在としている。
従って、第1油路32と第2油路33の圧力差に応じて、スプール97を第1移動位置と第2移動位置に移動することで、第1油路32と第2油路33におけるオイルの流入方向とオイルの排出方向を切換えることができ、簡単な構成でオイルの吸入と吐出を適正に行うことができる。
また、実施例1では、通路切換装置86として、ハウジング91に、第1流体通路としての第1油路32連通する第1ポート92及び第2流体通路としての第2油路33に連通する第2ポート93を設けると共に、油吸入通路83に連通する吸入ポート94及び油排出通路85に連通する排出ポート95,96を設け、スプール97により第1ポート92及び第2ポート93と吸入ポート94及び排出ポート95,96との連通関係を切換え可能とすると共に、第1油路32の圧力がスプール97に作用する第1圧力ポート99と、第2油路33の圧力がスプールに作用する第2圧力ポート101を設けている。
従って、第1油路32と第2油路33の油圧を圧力ポート99,101を通してスプール97に作用させることで、その圧力差に応じてスプール97を第1移動位置または第2移動位置に移動することとなり、このスプール97の移動により第1ポート92及び第2ポート93と吸入ポート94及び排出ポート95,96との連通関係を切換えることができ、オイルの吸入と吐出を適正に行うことができる。
また、実施例1では、通路切換装置86は、油貯留部82に油吸入通路83を介して連結されると共に、油供給部84に油排出通路85を介して連結され、油排出通路85にオイルの流動量を制御する制御弁87を設けている。従って、この制御弁87により油排出通路85におけるオイルの流量を調整することで、第1回転部材25と第2回転部材36との間でのトルク伝達量を調整することができ、オイルの吸入と吐出を適正に行うことができると共に、第1回転部材25と第2回転部材36との間でのトルク伝達を適正に行うことができる。
また、実施例1では、第1回転部材25にインプットシャフト14が連結され、第2回転部材36にアウトプットシャフト45が連結され、第1回転部材25と第2回転部材36との回転速度差によりピストン38a〜38hが往復移動し、流体室41a〜41hの圧力が変動することで、第1流体通路及び第2流体通路を通してオイルの吸入及び吐出が行われるものとしている。従って、第1回転部材25と第2回転部材36との回転速度差に基づいて適正なオイルの吐出量を確保することができる。
図4は、本発明の実施例2に係る油圧装置を表すオイルポンプの概略構成図、図5は、図4のV−V断面図、図6は、図4のVI−VI断面図、図7は、実施例2のオイルポンプにおける回転体の通路切換時の断面図、図8は、実施例1のオイルポンプにおける回転体の回転位置を表す断面図である。なお、前述した実施例で説明したものと同様の機能を有する部材には同一の符号を付して重複する説明は省略する。
実施例2において、図4乃至図6に示すように、ケーシングの内部であって、2つの隔壁20a,20bにより取り囲まれた空間に本実施例の油圧装置としてのオイルポンプ111が配設されている。このオイルポンプ111において、リヤケース20の隔壁20bに軸受16dを介してスリーブ23が回転自在に支持され、スリーブ23に回転板24が固定され、この回転板24に第1回転部材25が固定されている。そして、この第1回転部材の内周面にカム面26a,26b,26c,26dを有するカム26が設けられている。
また、回転板24には、円筒形状をなすロータリバルブ112が結合されており、インプットシャフト14の端板28がこのロータリバルブ112の外周面に嵌合して一体に結合されている。このロータリバルブ112は、外周面に周方向に沿って4つの連結溝113a,113b,113c,113dが形成される一方、内周面にこの連結溝113a,113b,113c,113dと連通する連結孔114a,114b,114c,114dが形成されている。
このロータリバルブ112は、その外周面に第2回転部材36が回転自在に嵌合している。この第2回転部材36は、外周部に周方向均等間隔で8つのシリンダ37a〜37hが形成されており、各シリンダ37a〜37hにピストン38a〜38hが移動自在に支持されている。そして、この各ピストン38a〜38hの先端部にローラ39a〜39hが装着されている。また、各シリンダ37a〜37h内には、圧縮コイルスプリング40a〜40hが介装されており、各シリンダ37a〜37hのローラ39a〜39hは、各圧縮コイルスプリング40a〜40hの付勢力によりカム26のカム面26a,26b,26c,26dに押し付けられている。そして、各ピストン38a〜38hと各シリンダ37a〜37hとの間に、油室41a〜41hが形成されている。また、この油室41a〜41hは、連結孔42a〜42hを通して連結溝113a,113b,113c,113dに連通可能となっている。
また、第2回転部材36には連結筒43が固定されており、アウトプットシャフト45に結合された支持板44とスプライン47により嵌合することで、連結筒43と支持板44、つまり、第2回転部材36とアウトプットシャフト45が一体回転可能に連結されている。
本実施例のオイルポンプ111には、流体室41a〜41hに対して、流体としてのオイル(油)が流入または排出する第1流体通路として、連結孔114a,114c、連結溝113a,113c、連結孔42a〜42hが設けられると共に、第2流体通路として、連結孔114b,114d、連結溝113b,113d、連結孔42a〜42hが設けられている。ロータリバルブ112の内周部には、通路切換装置を構成する回転体115が同心上に回動自在に嵌合している。この回転体115は、第1流体通路及び第2流体通路の圧力差に応じて、第1流体通路及び第2流体通路における流体の流入方向及び排出方向が切換わる。また、制御弁87は、油循環通路88におけるオイルの流動量を制御する。
回転体115において、一方の端面からその中心部に排出室116が形成されると共に、この排出室116の外周側に2つの吸入室117a,117bが形成されている。そして、円筒形状をなすホルダ118がスリーブ23内を挿通し、端部が排出室116に嵌合して固定されることで、ホルダ118の内部から排出室116に連通する排出油路119が形成されると共に、スリーブ23とホルダ118の間から吸入室117a,117bに連通する吸入油路120が形成されている。そして、排出室116は、排出油路119を介して第2油排出通路90に連通すると共に、連結孔121a,121b,121c,121dを介して第1流体通路としての連結孔114a,114cまたは第2流体通路としての連結孔114b,114dに連通可能となっている。また、吸入室117a,117bは、吸入油路120を介して第2油吸入通路89に連通すると共に、連結孔122a,122bを介して第1流体通路としての114a,114cまたは第2流体通路としての連結孔114b,114dに連通可能となっている。
また、ロータリバルブ112と回転体115との間に、第1流体通路としての連結孔114a,114cが連通する第1圧力室123a,123bが設けられると共に、ロータリバルブ112と回転体115との間に、第2流体通路としての連結孔114b,114dが連通する第2圧力室124a,124bが設けられている。即ち、回転体115は、外周部に周方向に均等間隔で2つの切欠部115a,115bが形成される一方、ロータリバルブ112は、外周部にこの切欠部115a,115bに係合する突起部112a,112bが形成されている。そのため、回転体115は、ロータリバルブ112に対して相対回転可能であるものの、切欠部115a,115bの端面がロータリバルブ112の突起部112a,112bに当接することで、この回動範囲が規制されている。そして、この切欠部115a,115bにより第1圧力室123a,123bと第2圧力室124a,124bが区画される。そして、第1圧力室123a,123bは、連通溝115c,115dを介して連結孔114a,114cに連通し、第2圧力室124a,124bは、連通溝115e,115fを介して連結孔114b,114dに連通する。
従って、第1流体通路(連結孔114a,114c)及び第2流体通路(連結孔114b,114d)の圧力差に応じて回転体115が回動することで、第1流体通路及び第2流体通路における流体の流入方向及び排出方向を切換えることができる。即ち、第1流体通路としての連結孔114a,114cの油圧が第2流体通路としての連結孔114b,114dの油圧より高いとき、連結孔114a,114cの油圧が連通溝115c,115dを通して第1圧力室123a,123bに作用するため、回転体115は、図5及び図6にて時計回り方向に回動して切欠部115a,115bの端面が突起部112a,112bに当接する第1位置に停止する。すると、連結孔121a,121cと連結孔114a,114cが連通すると共に、連結孔122a,122bと連結孔114b,114dが連通し、第2油吸入通路89の油圧が吸入油路120及び吸入室117a,117bを通って第2流体通路に流れると共に、第1流体通路の油圧が排出室116及び排出油路119を通って第2油排出通路90に流れる。
一方、第2流体通路としての連結孔114b,114dの油圧が第1流体通路としての連結孔114a,114cの油圧より高いとき、図7及び図8に示すように、連結孔114b,114dの油圧が連通溝115e,115fを通して第2圧力室124a,124bに作用するため、回転体115は、図7及び図8にて反時計回り方向に回動して切欠部115a,115bの端面が突起部112a,112bに当接する第2位置に停止する。すると、連結孔121b,121dと連結孔114b,114dが連通すると共に、連結孔122a,122bと連結孔114a,114cが連通し、第2油吸入通路89の油圧が吸入油路120及び吸入室117a,117bを通って第1流体通路に流れると共に、第2流体通路の油圧が排出室116及び排出油路119を通って第2油排出通路90に流れる。
また、第2油排出通路90は、第1油排出通路85及び油循環通路88に分岐しており、オイルポンプ22から排出されたオイルの一部が第1油排出通路85を通って油供給部84に流れると共に、残りが油循環通路88に流れる。油循環通路88に流れたオイルは、第1油吸入通路83から流れるオイルと合流して第2油吸入通路89に戻される。油循環通路88には、制御弁87が設けられている。この制御弁87は、流量調整弁であって、その開度を調整することで、油循環通路88を流れるオイルの流動量を調整することにより、オイルポンプ111からの吐出量を調整することができる。
ここで、上述した本実施例のオイルポンプ111の作動について詳細に説明する。
本実施例のオイルポンプ111において、図4乃至図8に示すように、第1回転部材25と第2回転部材36が図5にて反時計回り方向(図5に矢印で表す方向)に回転し、第1回転部材25の回転速度V1が第2回転部材36の回転速度V2より大きいとき、第1回転部材25に対して第2回転部材36が相対的に逆方向、つまり、時計回り方向に回転することとなる。そのため、図5に表す状態から、例えば、ピストン38fは、ローラ39fがカム面26dからカム面26aに向かって転動し、シリンダ37fから外方に移動して油室41fが拡大する。このとき、油室41fは、連結孔42f、連結溝113b、連結孔114bに連通する。一方、例えば、ピストン38hは、ローラ39hがカム面26aからカム面26bに向かって転動するため、シリンダ37hの内方に移動して油室41hが収縮する。このとき、油室41hは、連結孔42h、連結溝113a、連結孔114aに連通する。
この場合、油室41fが拡大することで、油室41fから連結孔114bに対して吸引力が作用する一方、油室41hが収縮することで、油室41hから連結孔114aに圧縮力が作用する。そのため、前述したように、連結孔114aの油圧が連結孔114bの油圧より高くなり、連結孔114aの油圧が第1圧力室123aに作用して回転体115が、図6にて時計回り方向に回転して第1位置に移動する。そして、油循環通路88からの油が第2油吸入通路89に流れると共に、油貯留部82の油も第1油吸入通路83を通って第2油吸入通路89に流れ、吸入油路120及び吸入室117bを通り、連結孔122b、連結孔114b、連結溝113b、連結孔42fを通って油室41fに吸入される。一方、油室41hの油が連結孔42h、連結溝113a、連結孔114a、連結孔121aを通り、排出室116から排出油路119を通って第2油排出通路90に流れ、一部は第1油排出通路85を通って油供給部84に吐出されると共に、残りが油循環通路88に流れる。
このとき、制御弁87を全開状態として場合には、油循環通路88を流れる油の流量が制限されずに流動抵抗が小さく、油室41hから第2油排出通路90に吐出される油の流動抵抗も小さい。従って、ピストン38hのローラ39hがカム面26aからカム面26bに向かって転動するとき、ピストン38hがシリンダ37hの内方に移動する際の抵抗も小さく、第1回転部材25に対して第2回転部材36が逆方向(図5にて時計回り方向)に回転しやすくなる。その結果、インプットシャフト14からオイルポンプ22を通してアウトプットシャフト45にトルクはほとんど伝達されず、アウトプットシャフト45は回転せず、車両は停止状態となる。一方、制御弁87の開度を徐々に小さくしていくと、油循環通路88を流れる油の流動抵抗が増加し、油室41hから第2油排出通路90に吐出される油の流動抵抗も増加し、ピストン38hがシリンダ37hの内方に移動する際の抵抗も増加し、インプットシャフト14からオイルポンプ22を通してアウトプットシャフト45に伝達されるトルクも増加し、アウトプットシャフト45が回転し始め、車両は発進する。即ち、オイルポンプ22は、制御弁87の開度を調整することにより、発進装置としても機能させることができる。また、制御弁87を全閉状態とすると、油循環通路88を流れる油の流量が0となり、オイルポンプ22から吐出される油は全て油供給部84へ供給され、オイルポンプ22の消費エネルギが抑制される。
一方、第1回転部材25と第2回転部材36が図5にて反時計回り方向(図5に矢印で表す方向)に回転し、第1回転部材25の回転速度V1が第2回転部材36の回転速度V2より小さいとき、第2回転部材36に対して第1回転部材25が相対的に逆方向、つまり、反時計回り方向に回転することとなる。そのため、図5に表す状態から、例えば、ピストン38fは、ローラ39fがカム面26dからカム面26cに向かって転動するため、シリンダ37fから外方に移動して油室41fが拡大する。このとき、油室41fは、連結孔42f、連結溝113c、連結孔114cに連通する。一方、図5に表す状態から、例えば、ピストン38hが、ローラ39hがカム面26aからカム面26dに向かって転動するため、シリンダ37hの内方に移動して油室41hが収縮する。このとき、油室41hは、連結孔42h、連結溝113b、連結孔114bに連通する。
この場合、油室41fが拡大することで、油室41fから連結孔114cに対して吸引力が作用する一方、油室41hが収縮することで、油室41hから連結孔114bに圧縮力が作用する。そのため、前述したように、連結孔114bの油圧が連結孔114cの油圧より高くなり、連結孔114bの油圧が第2圧力室124bに作用して回転体115が、図8にて反時計回り方向に回転して第2位置に移動する。そして、油循環通路88からの油が第2油吸入通路89に流れると共に、油貯留部82の油も第1油吸入通路83を通って第2油吸入通路89に流れ、吸入油路120及び吸入室117bを通り、連結孔122b、連結孔114c,連結溝113c、連結孔42fを通って油室41fに吸入される。一方、油室41hの油が連結孔42h、連結溝113b、連結孔114b、連結孔121bを通り、排出室116から排出油路119を通って第2油排出通路90に流れ、一部は第1油排出通路85を通って油供給部84に吐出されると共に、残りが油循環通路88に流れる。
このように実施例2の油圧装置にあっては、第1回転部材25及び第2回転部材36を同一の中心軸心Oをもって相対回転自在に設け、第1回転部材25にカム26を設け、第2回転部材36にカム26に対向してピストン38a〜38hを配置し、圧縮コイルスプリング40a〜40hによりピストン38a〜38hをカム26に接触するように押し付け、第2回転部材36にピストン38a〜38hの移動に伴って容積が拡大縮小する油室41a〜41hを設け、この油室41a〜41hに対してオイルが流入または排出する第1流体通路(連結孔114a,114c)及び第2流体通路(連結孔114b,114d)を設け、この第1流体通路及び第2流体通路の圧力差に応じて第1流体通路及び第2流体通路におけるオイルの流入方向及び排出方向が切換わる回転体115を設けている。
従って、回転体115により第1流体通路と第2流体通路の圧力差に応じてオイルの流入方向と排出方向が切換わることで、各回転部材25,36の回転方向に拘らずオイルを所定の油路(第2油排出通路90)に供給することで、油供給部84としての前後進切換装置51や無段変速機58の油圧制御部などに適正にオイルを供給することができ、前後進切換装置51におけるクラッチの焼き付きや係合時のショックの発生、無段変速機58におけるベルト破断などを防止することができる。また、オイル通路に逆止弁を使用しないことで、圧力損失を抑制することで、油吸入時におけるキャビテーションやピストン38a〜38hの作動不良(カム山飛び現象)の発生を抑制し、更には、機械効率を向上することができる。
また、実施例2では、回転体115を第2回転部材36の内側に同心上に回転自在に支持し、この回転体115に第2油吸入通路89が連通すると共に第1流体通路または第2流体通路が連通可能な排出室116と、第2油排出通路90が連通すると共に第1流体通路または第2流体通路が連通可能な吸入室117a,117bを設けると共に、第1流体通路の圧力が回転体115に作用して回転可能な第1圧力室123a,123bと、第2流体通路の圧力が回転体115に作用して回転可能な第2圧力室124a,124bを設け、回転体115の回転位置に応じて第1流体通路及び第2流体通路と吸入室116及び排出室117a,117bとの連通関係を切換可能としている。
従って、スペース効率が良くなって装置の小型化を可能とすることができると共に、油路の開口面積を大きく確保することができるため、圧力損失を更に抑制することが可能となり、また、回転体が第2回転部材36と相対回転自在であるため、作動不良を防止することができる。そして、連結孔114a,114cと連結孔114b,114dの圧力差に応じて、油圧が第1圧力室123a,123bまたは第2圧力室124a,124bを介して回転体115に作用し、この回転体115が第1移動位置と第2移動位置に移動することで、連結孔114a,114cと連結孔114b,114dにおけるオイルの流入方向とオイルの排出方向を切換えることができ、簡単な構成でオイルの吸入と吐出を適正に行うことができる。
図9は、本発明の実施例3に係る油圧装置を表すオイルポンプに適用された通路切換装置の概略構成図である。なお、本実施例の油圧装置における全体構成は、上述した実施例1とほぼ同様であり、図1及び図2を用いて説明すると共に、この実施例で説明したものと同様の機能を有する部材には同一の符号を付して重複する説明は省略する。
実施例3の油圧装置としてのオイルポンプは、図1及び図2に示すように、第1回転部材25と第2回転部材36が相対回転自在に支持され、インプットシャフト14がロータリバルブ27を介して第1回転部材25に連結され、この第1回転部材25にカム26が設けられる一方、第2回転部材36にピストン38a〜38hを移動自在に支持し、圧縮コイルスプリング40a〜40hによりカム26に押し付けると共に、アウトプットシャフト45を連結して構成している。そして、第2回転部材36にピストン38a〜38hの移動に伴って容積が拡大縮小する油室41a〜41hを設け、この油室41a〜41hに対してオイルが流入または排出する第1流体通路(第1油路32)及び第2流体通路(第2油路33)を設けている。
このオイルポンプ22には、図9に示すように、その作動を制御する通路切換装置131が設けられている。この通路切換装置131において、ハウジング91は中空形状をなし、鉛直方向に沿って配置されている。このハウジング91には、第1流体通路としての第1油路32に連通する第1ポート92と、第2流体通路としての第2油路33に連通する第2ポート93が形成されている。また、ハウジング91には、第2油吸入通路89に連通する吸入ポート94と、第2油排出通路90に連通する2つの排出ポート95,96が形成されている。更に、ハウジング91には、第1油路32から分岐した第1分岐通路98に連通する第1圧力ポート99と、第2油路33から分岐した第2分岐通路100に連通する第2圧力ポート101が形成されている。そして、このハウジング91内には、スプール97が移動自在に支持され、4つの弁部97a,97b,97c,97dが形成されている。
本実施例にて、スプール97は、第1油路32と第2油路33の圧力差に応じて、この第1油路32をオイルの排出方向として第2油路33をオイルの流入方向に切換える第1移動位置と、第1油路32をオイルの流入方向として第2油路33をオイルの排出方向に切換える第2移動位置とに移動自在であると共に、付勢手段としての重力により第1移動位置に付勢支持されている。この場合、図1及び図9に示すように、第1圧力ポート99及び弁部97cが上方側に位置し、第2圧力ポート101及び弁部97dが下方に位置するようにハウジング91が配置されている。また、第1回転部材25にインプットシャフト14が連結され、第2回転部材36にアウトプットシャフト45が連結されており、第1回転部材25の回転速度が第2回転部材36の回転速度より高速であるとき、高圧となる油路を第1油路32、低圧となる油路を第2油路33と設定している。
また、第2油排出通路90は、第1油排出通路85及び油循環通路88に分岐しており、オイルポンプ22から排出されたオイルの一部が第1油排出通路85を通って油供給部84に流れると共に、残りが油循環通路88に流れる。油循環通路88に流れたオイルは、第1油吸入通路83から流れるオイルと合流して第2油吸入通路89に戻される。油循環通路88には、制御弁87が設けられている。この制御弁87は、流量調整弁であって、その開度を調整することで、油循環通路88を流れるオイルの流動量を調整することにより、オイルポンプ22からの吐出量を調整することができる。
従って、通路切換装置131にて、スプール97がその重力によりハウジング91内を下方、つまり、第1移動位置に移動して停止しており、このとき、弁部97aにより第1ポート92と排出ポート95が連通し、弁部97bにより第2ポート93と吸入ポート94連通している。この状態で、第1油路32の油圧が第2流体通路としての第2油路33の油圧より高いと、第1油路32の油圧が第1分岐通路98を通して第1圧力ポート99から弁部97cに作用するため、スプール97は、第1移動位置に維持される。そのため、第2油吸入通路89の油圧が吸入ポート94及び第2ポート93を通って第2油路33に流れると共に、第1油路32の油圧が第1ポート92及び排出ポート95を通って第2油排出通路90に流れる。
一方、第2油路33の油圧が第1油路32の油圧より高くなると、第2油路33の油圧が第2分岐通路100を通して第2圧力ポート101から弁部97dに作用するため、スプール97は、重力に抗して上昇し、第2移動位置に移動して停止する。そのため、弁部97aにより第1ポート92と排出ポート94が連通すると共に、弁部97bにより第2ポート93と排出ポート96が連通し、第2油吸入通路89の油圧が吸入ポート94及び第1ポート92を通って第1油路32に流れると共に、第2油路33の油圧が第2ポート93及び排出ポート96を通って第2油排出通路90に流れる。
このように実施例3の油圧装置にあっては、オイルポンプの作動を制御する通路切換装置131として、ハウジング91内に、第1油路32と第2油路33の圧力差に応じて移動することで、オイルの流入方向及び排出方向を切換えるスプール97を設け、このスプール97を、第1油路32をオイル排出方向として第2油路33をオイル流入方向に切換える第1移動位置と、第1油路32をオイル流入方向として第2油路33をオイル排出方向に切換える第2移動位置とに移動自在に支持すると共に、付勢手段としての重力により第1移動位置に付勢支持している。
従って、スプール97を第1移動位置に付勢支持することで、オイルポンプの始動時に、オイルの逆流を防止することができると共に、早期にオイルを吐出して油供給部84に供給することができ、また、スプール97のハウジング91を鉛直に配置することで、このスプール97に重力を作用させて容易に第1移動位置に付勢支持することができ、構成の簡素化を図ることができる。
また、実施例3では、オイルポンプ22の第1回転部材25にインプットシャフト14を連結し、第2回転部材36にアウトプットシャフト45を連結し、第1回転部材25の回転速度が第2回転部材36の回転速度より高速であるときに、高圧となる油路を第1油路32、低圧となる油路を第2油路33と設定している。
従って、エンジン11の始動時に、オイルポンプにおけるオイルの逆流を防止することができると共に、このオイルポンプにより早期にオイルを油供給部84に供給することができる。
図10は、本発明の実施例4に係る油圧装置を表すオイルポンプに適用された通路切換装置の概略構成図である。なお、本実施例の油圧装置における全体構成は、上述した実施例1とほぼ同様であり、図1及び図2を用いて説明すると共に、この実施例で説明したものと同様の機能を有する部材には同一の符号を付して重複する説明は省略する。
実施例4の油圧装置としてのオイルポンプには、図10に示すように、その作動を制御する通路切換装置141が設けられている。この通路切換装置141において、ハウジング91は中空形状をなし、第1油路32に連通する第1ポート92と、第2油路33に連通する第2ポート93が形成されると共に、第2油吸入通路89に連通する吸入ポート94と、第2油排出通路90に連通する2つの排出ポート95,96が形成されている。また、ハウジング91には、第1油路32から分岐した第1分岐通路98に連通する第1圧力ポート99と、第2油路33から分岐した第2分岐通路100に連通する第2圧力ポート101が形成されている。そして、このハウジング91内には、スプール97が移動自在に支持され、4つの弁部97a,97b,97c,97dが形成されている。
本実施例にて、スプール97は、第1油路32と第2油路33の圧力差に応じて、この第1油路32をオイルの排出方向として第2油路33をオイルの流入方向に切換える第1移動位置と、第1油路32をオイルの流入方向として第2油路33をオイルの排出方向に切換える第2移動位置とに移動自在であると共に、付勢手段としての圧縮コイルスプリング142により第1移動位置に付勢支持されている。この場合、ハウジング91における第1圧力ポート99側の端面とスプール97における弁部97cとの間に圧縮コイルスプリング142が介装されている。
従って、通路切換装置141にて、スプール97が圧縮コイルスプリング142の付勢力により第1移動位置に移動して停止しており、このとき、弁部97aにより第1ポート92と排出ポート95が連通し、弁部97bにより第2ポート93と吸入ポート94連通している。この状態で、第1油路32の油圧が第2流体通路としての第2油路33の油圧より高いと、第1油路32の油圧が第1分岐通路98を通して第1圧力ポート99から弁部97cに作用するため、スプール97は、第1移動位置に維持される。そのため、第2油吸入通路89の油圧が吸入ポート94及び第2ポート93を通って第2油路33に流れると共に、第1油路32の油圧が第1ポート92及び排出ポート95を通って第2油排出通路90に流れる。
一方、第2油路33の油圧が第1油路32の油圧より高くなると、第2油路33の油圧が第2分岐通路100を通して第2圧力ポート101から弁部97dに作用するため、スプール97は、圧縮コイルスプリング142の付勢力に抗して移動し、第2移動位置に停止する。そのため、弁部97aにより第1ポート92と排出ポート94が連通すると共に、弁部97bにより第2ポート93と排出ポート96が連通し、第2油吸入通路89の油圧が吸入ポート94及び第1ポート92を通って第1油路32に流れると共に、第2油路33の油圧が第2ポート93及び排出ポート96を通って第2油排出通路90に流れる。
このように実施例4の油圧装置にあっては、オイルポンプの作動を制御する通路切換装置141として、ハウジング91内に、第1油路32と第2油路33の圧力差に応じて移動することで、オイルの流入方向及び排出方向を切換えるスプール97を設け、このスプール97を、第1油路32をオイル排出方向として第2油路33をオイル流入方向に切換える第1移動位置と、第1油路32をオイル流入方向として第2油路33をオイル排出方向に切換える第2移動位置とに移動自在に支持すると共に、圧縮コイルスプリング142の付勢力により第1移動位置に付勢支持している。
従って、スプール97を圧縮コイルスプリング142の付勢力により第1移動位置に付勢支持することで、オイルポンプの始動時に、オイルの逆流を防止することができると共に、早期にオイルを吐出して油供給部84に供給することができ、また、ハウジング91とスプール97との間に圧縮コイルスプリング142を介装することで、このスプール97に常時スプリング力を作用させて第1移動位置に付勢支持しており、スプール97の作動性を図ることができる。
図11は、本発明の実施例5に係る油圧装置を表すオイルポンプの概略構成図である。なお、本実施例の油圧装置における全体構成は、上述した実施例2とほぼ同様であり、図11に加えて図5及び図6を用いて説明すると共に、この実施例で説明したものと同様の機能を有する部材には同一の符号を付して重複する説明は省略する。
実施例5において、図5及び図6、図11に示すように、油圧装置としてのオイルポンプ151は、第1回転部材25と第2回転部材36が相対回転自在に支持され、インプットシャフト14がロータリバルブ27を介して第1回転部材25に連結され、この第1回転部材25にカム26が設けられる一方、第2回転部材36にピストン38a〜38hを移動自在に支持し、圧縮コイルスプリング40a〜40hによりカム26に押し付けると共に、アウトプットシャフト45を連結して構成している。そして、第2回転部材36にピストン38a〜38hの移動に伴って容積が拡大縮小する油室41a〜41hを設け、この油室41a〜41hに対してオイルが流入または排出する第1流体通路(第1油路32)及び第2流体通路(第2油路33)を設けている。
また、第2回転部材36の内側に回転体115を回転自在に支持し、この回転体115に第2油吸入通路89が連通すると共に第1流体通路または第2流体通路が連通可能な排出室116と、第2油排出通路90が連通すると共に第1流体通路または第2流体通路が連通可能な吸入室117a,117bを設けると共に、第1流体通路の圧力が回転体115に作用して回転可能な第1圧力室123a,123bと、第2流体通路の圧力が回転体115に作用して回転可能な第2圧力室124a,124bを設け、回転体115の回転位置に応じて第1流体通路及び第2流体通路と吸入室116及び排出室117a,117bとの連通関係を切換可能としている。
この場合、回転体115は、第1流体通路と第2流体通路の圧力差に応じて第1移動位置(図6に表す位置)、第2移動位置(図8に表す位置)とに移動することで、オイルの流入方向とオイルの排出方向に切換可能であり、ロータリバルブ112と回転体115との間には、回転体115を第1移動位置に付勢する図示しない圧縮コイルスプリングが設けられている。
そして、本実施例では、ケーシング17を構成するリヤケース20と第1回転部材25と一体の回転板24との間には、拘束手段としてのブレーキ152が設けられている。このブレーキ152は、摩擦ブレーキ、噛み合いブレーキ、電磁ブレーキなどを適用することができ、摩擦ブレーキや噛み合いブレーキを適用するときには、油圧制御式アクチュエータを用い、電磁ブレーキを適用するときには、電磁制御式アクチュエータを用い、各アクチュエータは、車両の運転状態に応じて電子制御装置により制御可能となっている。また、流体供給手段としての油圧源153が油供給通路154を介して油排出通路85に連結されており、この油供給通路154に電磁開閉弁155が設けられている。
また、第2油排出通路90は、第1油排出通路85及び油循環通路88に分岐しており、オイルポンプ22から排出されたオイルの一部が第1油排出通路85を通って油供給部84に流れると共に、残りが油循環通路88に流れる。油循環通路88に流れたオイルは、第1油吸入通路83から流れるオイルと合流して第2油吸入通路89に戻される。油循環通路88には、制御弁87が設けられている。この制御弁87は、流量調整弁であって、その開度を調整することによりオイルポンプ22からの吐出量を調整することができる。
従って、エンジンが駆動し、第1回転部材25と第2回転部材36が同方向(図5にて反時計回り方向)に回転し、第1回転部材25の回転速度が第2回転部材36の回転速度より大きいとき、第1回転部材25に対して第2回転部材36が相対的に逆方向(図5にて時計回り方向)に回転する。そのため、ピストン38b,38c,38f,38gは、シリンダ37b,37c,37f,37gから外方に移動して油室41b,41c,41f,41gが拡大し、油室41b,41c,41f,41gは、連結孔42b,42c,42f,42g、連結溝113b,113d、連結孔114b,114dに連通する。一方、ピストン38h,38a,38d,38eは、シリンダ37h,37a,37d,37eの内方に移動して油室41h,41a,41d,41eが収縮し、油室41h,41a,41d,41eは、連結孔42h,42a,42d,42e、連結溝113a,113c、連結孔114a,114cに連通する。
この場合、油室41b,41c,41f,41gが拡大し、油室41h,41a,41d,41eが収縮することで、連結孔114a,114cの油圧が連結孔114b,114dの油圧より高くなり、連結孔114a,114cの油圧が第1圧力室123a,123bに作用して回転体115が第1位置に移動する。そして、油循環通路88からの油が第2油吸入通路89に流れると共に、油貯留部82の油も第1油吸入通路83を通って第2油吸入通路89に流れ、吸入油路120を通って油室41b,41c,41f,41gに吸入される。一方、油室41h,41a,41d,41eの油が排出油路119を通って第2油排出通路90に流れ、一部は第1油排出通路85を通って流体供給部84に吐出されると共に、残りが油循環通路88に流れる。
一方、第1回転部材25と第2回転部材36が同方向(図5にて反時計回り方向)に回転し、第1回転部材25の回転速度が第2回転部材36の回転速度より小さいとき、第2回転部材36に対して第1回転部材25が相対的に逆方向(図5にて反時計回り方向)に回転することとなる。そのため、ピストン38a,38b,38e,38fは、シリンダ37a,37b,37e,37fから外方に移動して油室41a,41b,41e,41fが拡大し、油室41a,41b,41e,41fは、連結孔42a,42b,42e,42f、連結溝113a,113c、連結孔114a,114cに連通する。一方、ピストン38c,38d,38g,38hは、シリンダ37c,37d,37g,37hの内方に移動して油室41c,41d,41g,41hが収縮し、油室41c,41d,41g,41hは、連結孔42c,42d,42g,42h、連結溝113b,113d、連結孔114b,114dに連通する。
この場合、油室41a,41b,41e,41fが拡大し、油室41c,41d,41g,41hが収縮することで、連結孔114b,114dの油圧が連結孔114a,114cの油圧より高くなり、連結孔114b,114cの油圧が第2圧力室124a,124bに作用して回転体115が第2位置に移動する。そして、油循環通路88からの油が第2油吸入通路89に流れると共に、油貯留部82の油も第1油吸入通路83を通って第2油吸入通路89に流れ、吸入油路120を通って油室41a,41b,41e,41hに吸入される。一方、油室41c,41d,41g,41hの油が排出油路119を通って第2油排出通路90に流れ、一部は第1油排出通路85を通って流体供給部84に吐出されると共に、残りが油循環通路88に流れる。
また、エンジンが停止しているとき、本実施例のオイルポンプ151をモータとして利用することができる。即ち、ブレーキ152を作動させることで、第1回転部材25を拘束した状態で、電磁開閉弁154を開放とし、制御弁87を全閉状態とし、油圧源153から油圧を吐出する。すると、油圧源153の油圧は、油供給通路154から第2油排出通路90を通って油供給部84に供給されると共に、オイルポンプ151に供給される。このとき、回転体115は、圧縮コイルスプリングの付勢力により第1移動位置に付勢支持されていることから、油室41b,41c,41f,41gが連結孔42b,42c,42f,42g、連結溝113b,113dを介して連結孔114b,114dに連通すると共に,油室41h,41a,41d,41eが連結孔42h,42a,42d,42e、連結溝113a,113cを介して連結孔114a,114cに連通している。
そのため、油圧源153の油圧は、油供給通路154及び第2油排出通路89から排出油路119及び排出室116を通り、連結孔121a,121b、連結孔114a,114c,連結溝113a,113c、連結孔42a,42eを通って油室41a,41eに供給される。すると、この油室41a,41eに油圧が供給されることで拡大し、ピストン38a,38eが外方に移動することで、カム26を介して第2回転部材25が図5にて反時計回り方向に回転する。このとき、油室41c,41g内のオイルが第2油吸入通路89を通って油貯留部82に戻される。即ち、停止している第1回転部材25に対して第2回転部材36が回転することで、第2回転部材36のトルクがアウトプットシャフト45に伝達されることとなる。従って、エンジンが停止しているにも拘らず、オイルポンプ151を駆動することで、アウトプットシャフト45を回転してトルクを確保することができ、このトルクにより車両を走行することができる。また、アウトプットシャフト45のトルクを取り出して補機などを駆動することもできる。
このように実施例5の油圧装置にあっては、第1回転部材25と第2回転部材36を相対回転自在に支持し、第1回転部材25にカム26を設ける一方、第2回転部材36にこのカム25に接触して移動自在なピストン38a〜38hを支持し、このピストン38a〜38hの移動に伴って容積が拡大縮小する油室41a〜41hに対して、オイルを流入または排出する第1流体通路及び第2流体通路を設け、この第1流体通路及び第2流体通路の圧力差により回動してオイルの流動方向が切換わる回転体151を設け、第1回転部材25を拘束するブレーキ152を設けると共に、第1流体通路に油圧を供給する油圧源153を設けている。
従って、エンジンが停止しているとき、油圧源153から第2油排出通路90を通して油室41a〜41hに供給することで、ピストン38a〜38hを移動して第2回転部材25を回転することで、第2回転部材36のトルクをアウトプットシャフト45に出力することができ、このオイルポンプ151をモータとして機能させることができる。
また、ロータリバルブ112と回転体115との間に圧縮コイルスプリングを介装することで、この回転体115を第1移動位置に付勢するようにしている。従って、回転体115を第1移動位置に付勢支持することで、エンジンが停止した状態で、オイルポンプ151を始動するとき、第2回転部材36を正回転方向に回転することができ、適正なトルクを確保することができる。
なお、上述した各実施例では、第1回転部材25と第2回転部材36を相対回転自在に支持し、インプットシャフト14をロータリバルブ27,112を介して第1回転部材25に連結し、アウトプットシャフト45を第2回転部材36に連結したが、アウトプットシャフト45をロータリバルブ27,112を介して第1回転部材25に連結し、インプットシャフト14を第2回転部材36に連結してもよい。
また、上述した各実施例では、付勢手段としてスプール97の縦配置による重力または圧縮コイルスプリング152の付勢力を用いたが、引張スプリングや板ばねなどの別のスプリングとしたり、ゴムや樹脂などを付勢部材として使用してもよい。また、実施例2の回転体に対して付勢手段を設けてもよい。
更に、上述した実施例5では、インプットシャフト14を第1回転部材25に連結し、アウトプットシャフト45を第2回転部材36に連結し、ブレーキ152により第1回転部材25を拘束可能としたが、インプットシャフト14を第2回転部材36に連結し、アウトプットシャフト45を第1回転部材25に連結した場合、ブレーキ152により第2回転部材36を拘束可能とすればよい。
以上のように、本発明に係る油圧装置は、回転部材の回転方向に拘らず流体を所定の油路に供給して更には機械効率の向上を図ると共に汎用性の向上を図るものであり、いずれの種類の油圧装置に用いても好適である。
11 エンジン
12 クランクシャフト
14 インプットシャフト(入力軸)
15 プライマリシャフト
17 ケーシング
22,111,151 オイルポンプ(油圧装置)
25 第1回転部材
26 カム
27,112 ロータリバルブ
29 第1連通孔
30a,30b 第2連通孔
32 第1油路
33 第2油路
34a〜34d,113a〜113d 連結溝
35a〜35d,114a〜114d 連結孔
36 第2回転部材
37a〜37h シリンダ
38a〜38h ピストン
39a〜39h ローラ
40a〜40h 圧縮コイルスプリング(押付部)
41a〜41h 油室
42a〜42h 連結孔
45 アウトプットシャフト(出力軸)
51 前後進切換装置
58 無段変速機
71 電子制御装置、ECU
81 油圧制御装置
82 油貯留部(流体貯留部)
83 第1油吸入通路(流体吸入通路)
84 油供給部(流体供給部)
85 第1油排出通路(流体排出通路)
86,131,141 通路切換装置
89 第2油吸入通路(流体吸入通路)
90 第2油排出通路(流体排出通路)
87 制御弁
91 ハウジング
97 スプール(移動体)
115 回転体(通路切換装置、移動体)
116 排出室
117a,117b 吸入室
121a〜121d,122a,122b 連結孔
123a,123b 第1圧力室
124a,124b 第2圧力室
142 圧縮コイルスプリング(付勢手段)
152 ブレーキ(拘束手段)
153 油圧源(流体供給手段)
12 クランクシャフト
14 インプットシャフト(入力軸)
15 プライマリシャフト
17 ケーシング
22,111,151 オイルポンプ(油圧装置)
25 第1回転部材
26 カム
27,112 ロータリバルブ
29 第1連通孔
30a,30b 第2連通孔
32 第1油路
33 第2油路
34a〜34d,113a〜113d 連結溝
35a〜35d,114a〜114d 連結孔
36 第2回転部材
37a〜37h シリンダ
38a〜38h ピストン
39a〜39h ローラ
40a〜40h 圧縮コイルスプリング(押付部)
41a〜41h 油室
42a〜42h 連結孔
45 アウトプットシャフト(出力軸)
51 前後進切換装置
58 無段変速機
71 電子制御装置、ECU
81 油圧制御装置
82 油貯留部(流体貯留部)
83 第1油吸入通路(流体吸入通路)
84 油供給部(流体供給部)
85 第1油排出通路(流体排出通路)
86,131,141 通路切換装置
89 第2油吸入通路(流体吸入通路)
90 第2油排出通路(流体排出通路)
87 制御弁
91 ハウジング
97 スプール(移動体)
115 回転体(通路切換装置、移動体)
116 排出室
117a,117b 吸入室
121a〜121d,122a,122b 連結孔
123a,123b 第1圧力室
124a,124b 第2圧力室
142 圧縮コイルスプリング(付勢手段)
152 ブレーキ(拘束手段)
153 油圧源(流体供給手段)
Claims (9)
- 中心軸心をもって相対回転自在に設けられた第1回転部材及び第2回転部材と、前記第1回転部材に設けられるカムと、前記第2回転部材に前記カムに対向して配置されて径方向に沿って移動自在に設けられるピストンと、前記ピストンを前記カムに接触するように押し付ける押付部と、前記第2回転部材に設けられて前記ピストンの移動に伴って容積が拡大縮小する流体室と、前記流体室に対して流体が流入または排出する第1流体通路及び第2流体通路と、前記第1流体通路及び前記第2流体通路の圧力差に応じて前記第1流体通路及び前記第2流体通路における流体の流入方向及び排出方向が切換わる通路切換装置を備えたことを特徴とする油圧装置。
- 前記通路切換装置は、前記第1流体通路及び前記第2流体通路の圧力差に応じて移動することで、前記第1流体通路及び前記第2流体通路における流体の流入方向及び排出方向を切換える移動体を有する、請求項1に記載の油圧装置。
- 前記移動体は、前記第1流体通路を流体の排出方向として前記第2流体通路を流体の流入方向に切換える第1移動位置と、前記第1流体通路を流体の流入方向として前記第2流体通路を流体の排出方向に切換える第2移動位置とに移動自在であると共に、付勢手段により前記第1移動位置に付勢支持される、請求項2に記載の油圧装置。
- 前記第1回転部材に入力軸が連結され、前記第2回転部材に入力軸が連結され、前記付勢手段は、前記第1回転部材の回転速度が前記第2回転部材の回転速度より高速であるときに流体供給部に連通する前記第1流体通路または前記第2流体通路の圧力が高くなるように前記移動体を付勢支持する、請求項3に記載の油圧装置。
- 前記通路切換装置は、ハウジングと、前記ハウジングに設けられて前記第1流体通路及び前記第2流体通路が連通する第1ポート及び第2ポートと、前記ハウジングに設けられて流体吸入通路及び流体排出通路が連通する吸入ポート及び排出ポートと、前記ハウジング内に移動自在に支持されて前記第1ポート及び前記第2ポートと前記吸入ポート及び前記排出ポートとの連通関係を切換えるスプールと、前記ハウジングに設けられて前記第1流体通路の圧力が前記スプールに作用する第1圧力ポートと、前記ハウジングに設けられて前記第2流体通路の圧力が前記スプールに作用する第2圧力ポートを有する、請求項1に記載の油圧装置。
- 前記通路切換装置は、前記第2回転部材の内側に同心上に回転自在に支持される回転体と、前記回転体に設けられて流体吸入通路が連通すると共に前記第1流体通路または前記第2流体通路が連通可能な吸入室と、前記回転体に設けられて流体排出通路が連通すると共に前記第1流体通路または前記第2流体通路が連通可能な排出室と、前記第1流体通路の圧力が前記回転体に作用して回転可能な第1圧力室と、前記第2流体通路の圧力が前記回転体に作用して回転可能な第2圧力室を有し、前記回転体の回転位置に応じて前記第1流体通路及び前記第2流体通路と前記吸入室及び前記排出室との連通関係を切換可能である、請求項1に記載の油圧装置。
- 前記通路切換装置は、流体貯留部に流体吸入通路を介して連結されると共に、流体供給部に流体排出通路を介して連結され、前記流体吸入通路または前記流体排出通路の少なくともいずれか一方に流体の流動量を制御する制御弁が設けられる、請求項1から6のいずれか一つに記載の油圧装置。
- 前記第1回転部材と前記第2回転部材の一方に入力軸が連結され、他方に出力軸が連結され、前記第1回転部材と前記第2回転部材との回転速度差により前記ピストンが往復移動し、前記流体室の圧力が変動することで、前記第1流体通路及び前記第2流体通路を通して流体の吸入及び吐出が行われる、請求項1から7のいずれか一つに記載の油圧装置。
- 前記第1回転部材または前記第2回転部材を拘束可能な拘束手段と、前記第1流体通路または前記第2流体通路に流体を供給可能な流体供給手段を設ける、請求項1から8のいずれか一つに記載の油圧装置。
Priority Applications (4)
| Application Number | Priority Date | Filing Date | Title |
|---|---|---|---|
| JP2007188213A JP4670844B2 (ja) | 2007-07-19 | 2007-07-19 | 油圧装置 |
| US12/669,126 US8051763B2 (en) | 2007-07-19 | 2008-07-18 | Hydraulic apparatus |
| PCT/JP2008/063054 WO2009011429A1 (ja) | 2007-07-19 | 2008-07-18 | 油圧装置 |
| CN2008800067004A CN101622452B (zh) | 2007-07-19 | 2008-07-18 | 液压装置 |
Applications Claiming Priority (1)
| Application Number | Priority Date | Filing Date | Title |
|---|---|---|---|
| JP2007188213A JP4670844B2 (ja) | 2007-07-19 | 2007-07-19 | 油圧装置 |
Publications (2)
| Publication Number | Publication Date |
|---|---|
| JP2009024585A JP2009024585A (ja) | 2009-02-05 |
| JP4670844B2 true JP4670844B2 (ja) | 2011-04-13 |
Family
ID=40259755
Family Applications (1)
| Application Number | Title | Priority Date | Filing Date |
|---|---|---|---|
| JP2007188213A Expired - Fee Related JP4670844B2 (ja) | 2007-07-19 | 2007-07-19 | 油圧装置 |
Country Status (4)
| Country | Link |
|---|---|
| US (1) | US8051763B2 (ja) |
| JP (1) | JP4670844B2 (ja) |
| CN (1) | CN101622452B (ja) |
| WO (1) | WO2009011429A1 (ja) |
Families Citing this family (7)
| Publication number | Priority date | Publication date | Assignee | Title |
|---|---|---|---|---|
| US8439083B2 (en) * | 2008-11-05 | 2013-05-14 | Allison Transmission, Inc. | Apparatus and method for axially transferring fluids to a plurality of components |
| JP5115514B2 (ja) * | 2009-04-17 | 2013-01-09 | トヨタ自動車株式会社 | 動力伝達装置 |
| US20130079160A1 (en) * | 2011-09-27 | 2013-03-28 | Caterpillar Inc. | Variable stiffness torsional coupling and machine using same |
| CN102425541B (zh) * | 2011-12-20 | 2013-12-04 | 无锡威孚精密机械制造有限责任公司 | 恒功率阀 |
| KR101547549B1 (ko) | 2014-04-21 | 2015-08-27 | 주식회사 제이오 | 고압력 환경에서 사용 가능한 멀티 포트 밸브 |
| CN105041908B (zh) * | 2015-08-23 | 2018-01-12 | 袁廷华 | 一种活齿型双离合器 |
| CN111207053A (zh) * | 2020-03-10 | 2020-05-29 | 士商(上海)机械有限公司 | 换向输油机构 |
Family Cites Families (16)
| Publication number | Priority date | Publication date | Assignee | Title |
|---|---|---|---|---|
| JP156527C2 (ja) * | 1943-05-31 | |||
| BE785869A (fr) * | 1971-07-07 | 1973-01-05 | Sulzer Ag | Machine a piston |
| CH571149A5 (ja) * | 1973-10-23 | 1975-12-31 | Sulzer Ag | |
| JPS51143034U (ja) * | 1975-05-12 | 1976-11-17 | ||
| JPS5812914B2 (ja) * | 1975-06-05 | 1983-03-10 | 日石三菱株式会社 | サンフカブタジエンジユウゴウタイガンユウジヨウオンコウカセイトリヨウソセイブツ |
| JPS6234183A (ja) | 1985-08-08 | 1987-02-14 | Canon Inc | 感光体ドラム及び画像形成装置 |
| JPS6234183U (ja) * | 1985-08-16 | 1987-02-28 | ||
| DE3816508A1 (de) * | 1988-05-14 | 1989-11-23 | Bosch Gmbh Robert | Kraftstoffeinspritzpumpe fuer brennkraftmaschine |
| JPH02108866A (ja) | 1988-10-14 | 1990-04-20 | Nippon Denso Co Ltd | ラジアルピストン回転ポンプ |
| JP3519544B2 (ja) * | 1996-05-17 | 2004-04-19 | 愛知機械工業株式会社 | 電気自動車用減速機のオイルポンプ周り液路 |
| ITBO20020021A1 (it) * | 2002-01-16 | 2003-07-16 | Ecotec Srl | Macchina volumetrica rotativa a pistoni radiali |
| JP4319397B2 (ja) | 2002-12-09 | 2009-08-26 | イートン機器株式会社 | 2速ラジアルピストンモータ |
| US7048516B2 (en) * | 2003-06-09 | 2006-05-23 | Delphi Technologies, Inc. | High pressure fuel pump with multiple radial plungers |
| JP2006112460A (ja) * | 2004-10-12 | 2006-04-27 | Toyota Motor Corp | 動力伝達装置およびラジアルピストンポンプ |
| JP2006349114A (ja) | 2005-06-17 | 2006-12-28 | Toyota Motor Corp | 動力伝達装置 |
| JP4375462B2 (ja) * | 2007-08-31 | 2009-12-02 | トヨタ自動車株式会社 | アキシャルピストンポンプ及びそれを備えた動力伝達装置 |
-
2007
- 2007-07-19 JP JP2007188213A patent/JP4670844B2/ja not_active Expired - Fee Related
-
2008
- 2008-07-18 CN CN2008800067004A patent/CN101622452B/zh not_active Expired - Fee Related
- 2008-07-18 US US12/669,126 patent/US8051763B2/en not_active Expired - Fee Related
- 2008-07-18 WO PCT/JP2008/063054 patent/WO2009011429A1/ja not_active Ceased
Also Published As
| Publication number | Publication date |
|---|---|
| WO2009011429A1 (ja) | 2009-01-22 |
| CN101622452B (zh) | 2011-12-14 |
| US20100202902A1 (en) | 2010-08-12 |
| JP2009024585A (ja) | 2009-02-05 |
| US8051763B2 (en) | 2011-11-08 |
| CN101622452A (zh) | 2010-01-06 |
Similar Documents
| Publication | Publication Date | Title |
|---|---|---|
| JP5012667B2 (ja) | 動力伝達装置 | |
| JP4670844B2 (ja) | 油圧装置 | |
| US8636483B2 (en) | Pump apparatus, power transmission apparatus, and vehicle | |
| JP4492989B2 (ja) | 変速操作機構 | |
| JP5109844B2 (ja) | ピストンポンプ及びそれを備えた動力伝達装置、並びにピストンモータ | |
| US5974799A (en) | Hydrostatic continuously variable transmission | |
| EP0295014B1 (en) | Hydrostatically operated continuously variable transmission | |
| JP4946818B2 (ja) | ラジアルピストンポンプおよびラジアルピストンモータ | |
| US7114332B2 (en) | Clutch apparatus for a hydrostatic continuously variable transmission and transmission incorporating same | |
| JP2005105898A (ja) | 斜板型液圧ポンプ・モータ | |
| JP4012839B2 (ja) | 油圧式無段変速機 | |
| JP3497322B2 (ja) | 無段変速機 | |
| JP2023151481A (ja) | 回転斜板式液圧ポンプ | |
| JP4107727B2 (ja) | 減速装置 | |
| JP2652422B2 (ja) | 静油圧式無段変速機 | |
| JPH0718479B2 (ja) | 静油圧式無段変速機 | |
| JP2017020415A (ja) | 可変容量型液圧回転機の傾転アクチュエータ | |
| JPH0743020B2 (ja) | 静油圧式無段変速機 | |
| JPH09196140A (ja) | 無段変速装置 | |
| JPH0826930B2 (ja) | 静油圧式無段変速機 | |
| JP2006118688A (ja) | ベルト式無段変速機 | |
| JP2009127483A (ja) | ピストンポンプ及びそれを用いた動力伝達装置 | |
| JP2005315301A (ja) | ベルト式無段変速機 | |
| JPH0155826B2 (ja) | ||
| JP2008163808A (ja) | ラジアル型ピストンモータ装置 |
Legal Events
| Date | Code | Title | Description |
|---|---|---|---|
| TRDD | Decision of grant or rejection written | ||
| A01 | Written decision to grant a patent or to grant a registration (utility model) |
Free format text: JAPANESE INTERMEDIATE CODE: A01 Effective date: 20101221 |
|
| A01 | Written decision to grant a patent or to grant a registration (utility model) |
Free format text: JAPANESE INTERMEDIATE CODE: A01 |
|
| A61 | First payment of annual fees (during grant procedure) |
Free format text: JAPANESE INTERMEDIATE CODE: A61 Effective date: 20110103 |
|
| FPAY | Renewal fee payment (event date is renewal date of database) |
Free format text: PAYMENT UNTIL: 20140128 Year of fee payment: 3 |
|
| LAPS | Cancellation because of no payment of annual fees |