JP4664459B2 - クリーンルームシステム - Google Patents
クリーンルームシステム Download PDFInfo
- Publication number
- JP4664459B2 JP4664459B2 JP21436899A JP21436899A JP4664459B2 JP 4664459 B2 JP4664459 B2 JP 4664459B2 JP 21436899 A JP21436899 A JP 21436899A JP 21436899 A JP21436899 A JP 21436899A JP 4664459 B2 JP4664459 B2 JP 4664459B2
- Authority
- JP
- Japan
- Prior art keywords
- clean
- space
- clean gas
- gas
- air
- Prior art date
- Legal status (The legal status is an assumption and is not a legal conclusion. Google has not performed a legal analysis and makes no representation as to the accuracy of the status listed.)
- Expired - Lifetime
Links
Images
Classifications
-
- F—MECHANICAL ENGINEERING; LIGHTING; HEATING; WEAPONS; BLASTING
- F24—HEATING; RANGES; VENTILATING
- F24F—AIR-CONDITIONING; AIR-HUMIDIFICATION; VENTILATION; USE OF AIR CURRENTS FOR SCREENING
- F24F3/00—Air-conditioning systems in which conditioned primary air is supplied from one or more central stations to distributing units in the rooms or spaces where it may receive secondary treatment; Apparatus specially designed for such systems
- F24F3/12—Air-conditioning systems in which conditioned primary air is supplied from one or more central stations to distributing units in the rooms or spaces where it may receive secondary treatment; Apparatus specially designed for such systems characterised by the treatment of the air otherwise than by heating and cooling
- F24F3/14—Air-conditioning systems in which conditioned primary air is supplied from one or more central stations to distributing units in the rooms or spaces where it may receive secondary treatment; Apparatus specially designed for such systems characterised by the treatment of the air otherwise than by heating and cooling by humidification; by dehumidification
- F24F3/1411—Air-conditioning systems in which conditioned primary air is supplied from one or more central stations to distributing units in the rooms or spaces where it may receive secondary treatment; Apparatus specially designed for such systems characterised by the treatment of the air otherwise than by heating and cooling by humidification; by dehumidification by absorbing or adsorbing water, e.g. using an hygroscopic desiccant
- F24F3/1423—Air-conditioning systems in which conditioned primary air is supplied from one or more central stations to distributing units in the rooms or spaces where it may receive secondary treatment; Apparatus specially designed for such systems characterised by the treatment of the air otherwise than by heating and cooling by humidification; by dehumidification by absorbing or adsorbing water, e.g. using an hygroscopic desiccant with a moving bed of solid desiccants, e.g. a rotary wheel supporting solid desiccants
-
- F—MECHANICAL ENGINEERING; LIGHTING; HEATING; WEAPONS; BLASTING
- F24—HEATING; RANGES; VENTILATING
- F24F—AIR-CONDITIONING; AIR-HUMIDIFICATION; VENTILATION; USE OF AIR CURRENTS FOR SCREENING
- F24F2203/00—Devices or apparatus used for air treatment
- F24F2203/10—Rotary wheel
- F24F2203/1032—Desiccant wheel
-
- F—MECHANICAL ENGINEERING; LIGHTING; HEATING; WEAPONS; BLASTING
- F24—HEATING; RANGES; VENTILATING
- F24F—AIR-CONDITIONING; AIR-HUMIDIFICATION; VENTILATION; USE OF AIR CURRENTS FOR SCREENING
- F24F2203/00—Devices or apparatus used for air treatment
- F24F2203/10—Rotary wheel
- F24F2203/1056—Rotary wheel comprising a reheater
-
- F—MECHANICAL ENGINEERING; LIGHTING; HEATING; WEAPONS; BLASTING
- F24—HEATING; RANGES; VENTILATING
- F24F—AIR-CONDITIONING; AIR-HUMIDIFICATION; VENTILATION; USE OF AIR CURRENTS FOR SCREENING
- F24F2203/00—Devices or apparatus used for air treatment
- F24F2203/10—Rotary wheel
- F24F2203/1076—Rotary wheel comprising three rotors
-
- F—MECHANICAL ENGINEERING; LIGHTING; HEATING; WEAPONS; BLASTING
- F24—HEATING; RANGES; VENTILATING
- F24F—AIR-CONDITIONING; AIR-HUMIDIFICATION; VENTILATION; USE OF AIR CURRENTS FOR SCREENING
- F24F2203/00—Devices or apparatus used for air treatment
- F24F2203/10—Rotary wheel
- F24F2203/1084—Rotary wheel comprising two flow rotor segments
-
- F—MECHANICAL ENGINEERING; LIGHTING; HEATING; WEAPONS; BLASTING
- F24—HEATING; RANGES; VENTILATING
- F24F—AIR-CONDITIONING; AIR-HUMIDIFICATION; VENTILATION; USE OF AIR CURRENTS FOR SCREENING
- F24F2203/00—Devices or apparatus used for air treatment
- F24F2203/10—Rotary wheel
- F24F2203/1088—Rotary wheel comprising three flow rotor segments
Landscapes
- Engineering & Computer Science (AREA)
- Chemical & Material Sciences (AREA)
- Combustion & Propulsion (AREA)
- Mechanical Engineering (AREA)
- General Engineering & Computer Science (AREA)
- Drying Of Gases (AREA)
- Filtering Of Dispersed Particles In Gases (AREA)
- Elimination Of Static Electricity (AREA)
Description
本発明は清浄度の高い清浄空間を構築するクリーンルームシステムに関し、特に半導体産業における製造空間や製造品搬送空間を構築するのに好適なクリーンルームシステムに関する。
【0002】
【従来の技術】
半導体や液晶の製造における近年のエレクトロニクス産業では、電子デバイス製品等の製造品の高性能化に伴って、ガス状汚染物質による製造品の汚染や静電気発生による静電気障害が、製造品の信頼性低下及び歩留り低下の大きな原因となっている。ガス状汚染物質による製造品の汚染は製造品の電気特性の変化や材質の変性等を引き起こす。静電気障害は製造品の絶縁破壊や回路断線、あるいは製造装置の誤作動等を引き起こす。
【0003】
ガス状汚染物質による製造品の汚染の防止手段としては、フィルタ装置や吸着材によって空気中よりガス状汚染物質を捕集する乾式除去手段や、水噴霧によりガス状汚染物質を除去する湿式除去手段(エアワッシャ装置)や、ガス状汚染物質が低減された清浄な窒素ガス(または不活性ガス)を清浄空間に導入するガス導入手段等が知られている。
【0004】
乾式除去手段におけるフィルタ装置としては特定のガス状汚染物質を捕集するケミカルフィルタが知られている。ケミカルフィルタを使用したクリーンルーム構造としては、例えば、チャンバボックス等によって周囲とは隔離されて形成される清浄空間と、空気中のガス状汚染物質等の汚染物質を捕集してクリーンエアにするフィルタ装置と、フィルタ装置から清浄空間へ送気するとともに清浄空間からフィルタ装置へ還気するクリーンエア循環通路とを備える局所密閉型清浄装置(特開平10−340874号公報)や精製空気供給システム(特開平11−44442号公報)等が知られている。なお特開平10−340874号公報には、前記ガス導入手段をさらに備える旨が記載されている。
【0005】
また、乾式除去手段における吸着材によるガス状汚染物質の捕集としては、シリカやアルミナ等の吸着材に室温で外気を通し、その後吸着材を高温で再生するTSA(Thermal Swing Absorption)方法や乾式減湿装置(特開平11−523号公報)等が知られている。これらの方法や装置は、空気中の水分を吸着、捕集することから低露点の空気を得る手段として使用されるが、水分の吸着に際して酸性ガスやアルカリ性ガス等、水溶性のガス状汚染物質や極性の高い有機化合物等も吸着、捕集するため、ガス状汚染物質の除去手段としても機能する。
【0006】
静電気障害の防止手段としては、例えば、気体分子(空気であれば窒素及び酸素)をイオン化し、このときに発生するイオンや電子、あるいはこれらと結合して一方の電荷を帯びる気体分子等によって清浄空間内の帯電物を電気的に中和するイオン発生装置が知られている。このイオン発生装置としては、交流高電圧の印加によるコロナ放電を利用するイオン発生装置(特許第2541857号公報)や、光電効果で発生した電子を利用する帯電物体の中和装置(特許第2838900号公報)や、1〜数百オングストロームの波長の軟X線を帯電物体周辺の雰囲気に直接照射する帯電物体の中和構造(特許第2749202号公報)等が知られている。
【0007】
【発明が解決しようとする課題】
ガス状汚染物質による汚染や静電気障害への対応策としては、従来では先に例示した手段等を利用して個別に対応する方法が採られている。しかし、個別対応では様々な問題点が生じてしまい、前記製造品の歩留り低下の防止や信頼性低下の防止には未だ改善の余地があった。従来における個別対応についての問題点を各場合に分けて以下に説明する。
【0008】
ガス状汚染物質対策が行われずに静電気対策を行う場合では、ガス状汚染物質によって製造品が汚染されるのに加えて、静電気対策で生じたイオンがガス状汚染物質と結合してガス状汚染物質イオンとなる。このガス状汚染物質イオンは自身が帯びる電荷によっては清浄空間内の帯電物(製造品)に電気的に引かれて容易に付着する。従って、ガス状汚染物質対策がなされずに静電気対策を行う場合では、ガス状汚染物質等による製造品の化学汚染を促進させてしまう。
【0009】
空気中の水分の除去が行われずにガス状汚染物質対策と静電気対策を行う場合では、空気中を浮遊する水分子が静電気対策で生じた正イオンと結合し、ハイドロニウムイオンとなる。このハイドロニウムイオンは正電荷を有し、帯電物へ電気的に引かれて容易に付着する。ハイドロニウムイオンとなった水分子の帯電物(製造品)への付着は、製造品表面における自然酸化膜の成長や腐食を速めたり、より厚い水皮膜を形成する。この水皮膜は、例えば酸性ガス及びアルカリ性ガスが清浄空間で発生した場合に塩を形成する媒体となるおそれがあり、形成される塩は塵埃と同様に粒子汚染を引き起こす。
【0010】
空気中の水分の除去と静電気対策を行う場合では、前述した水の付着(ハイドロニウムイオンの付着)に起因する問題は生じにくく、また酸性ガスやアルカリ性ガスの多くも低減されているので、粒子汚染の問題も生じにくい。しかし、非水溶性の有機化合物(例えば極性の低い炭化水素等)が多く残存しており、このような有機化合物の存在下で静電気対策を行うと、有機化合物が正電荷を帯びやすいことから帯電物(製造品)へ容易に付着し、製造品の有機物汚染を促進させてしまう。
【0011】
以上をまとめると従来の個別対応は、帯電物(製造品)へのガス状汚染物質の付着を促進させるという欠点を有している。すなわち静電気対策を行う場合と行わない場合とを比較したとき、帯電物へのガス状汚染物質等の付着は静電気対策を行う場合の方がより起こりやすいことを示唆しており、その理由としては空気(窒素分子及び酸素分子)に比べてガス状汚染物質の方がはるかにイオン化しやすいためである。従って、前記欠点を改善するためには、ガス状汚染物質が低減されかつ低露点の空気(クリーンエア)に前記静電気対策を行うことが必要であり、さらには空気中に含まれるガス状汚染物質や水分の前記清浄空間における許容レベルを従来の許容レベルよりも低くする必要がある。
【0012】
また、エレクトロニクス産業における集積回路の高集積化、高性能化等の加速度的進歩を考慮すると、ガス状汚染物質による製造品の汚染や静電気による製造品の電気特性の変化あるいは絶縁破壊等の問題が今後より顕在化すると懸念される。
【0013】
本発明は前記事項に鑑みなされたもので、電子デバイス製品等の製造における、製造品へのガス状汚染物質の付着、水分の付着による障害の防止と静電気障害の防止を同時に達成することができる清浄空間の提供を課題とする。
【0014】
【課題を解決するための手段】
本発明はクリーンルームシステムであり、前記課題を解決するための手段として以下のような構成とされている。
すなわち本発明のクリーンルームシステムは、塵埃及びガス状汚染物質を含む汚染物質が除去されかつ低露点のクリーンガスを清浄空間に供給するクリーンガス供給手段と、清浄空間内の帯電物を電気的に中和する除電手段とを備えることを特徴とする。
【0015】
前記構成によれば、清浄空間内における作業機器や製造品等に代表される帯電物に対して電気的に引き寄せられて付着するガス状汚染物質や水分子、またはこれらのイオンが清浄空間にほとんど存在せず、また、清浄空間内の帯電物が除電手段によって電気的に中和されることから、帯電物へのガス状汚染物質の付着、水分の付着による障害と静電気障害とが同時に防止される。
【0016】
また本発明のクリーンルームシステムにおけるクリーンガスは、クリーンガス中における前記汚染物質の濃度が1ppb以下であり、クリーンガスの露点が−20℃以下であると、除電に伴い帯電物へ付着するガス状汚染物質や水分子、またはこれらのイオンによる帯電物の汚染を防止するのに好ましい。なお、本発明におけるクリーンガスとしては、前記汚染物質が除去されかつ低露点のクリーンでドライな状態の気体であり、清浄空間内における作業内容等に悪影響を及ぼさないものであれば特に限定されず、空気の他にも、窒素やアルゴン等の不活性ガスを例示することができる。
【0017】
また本発明のクリーンルームシステムにおける除電手段は、前記帯電物を電気的に中和する手段であれば良いが、クリーンガスをイオン化する前記イオン発生装置であると帯電物に対して非接触で電気的中和が可能なことから好ましい。イオン発生装置によるクリーンガスのイオン化は清浄空間内で行われても良いし、清浄空間へ導入される前に行われても良い。さらにイオン発生装置は、波長領域が1〜100オングストロームの軟X線をクリーンガスに照射する軟X線照射装置であると、照射される電磁波のエネルギーが強いことから、酸化力の強いオゾンの発生を抑制することができるとともに、清浄空間内における電気的中和が速やかに行われるので好ましい。
【0018】
また本発明のクリーンルームシステムは、清浄空間を所定の温度に制御する温度制御手段を備えると、清浄空間内における作業による製造品(半導体ウエハ等)の変性等が防止されるので好ましい。温度制御手段としては、清浄空間内における作業に伴う発熱を相殺する冷却装置等を例示することができる。
【0019】
また本発明のクリーンルームシステムは、清浄空間内で発塵する塵埃を捕集するクリーンガス濾過手段を備えると、清浄空間における作業に伴い発生する塵埃が捕集され、清浄空間内の粒子汚染を防止するのに好ましい。塵埃の物体表面への付着は重力による沈降や浮力による浮遊や静電気力(電気的引力)等によって支配されるが、塵埃の粒径が小さくなる(例えば粒径0.1〜0.5μm程度)と、塵埃の物体表面への付着は静電気力によって支配されることが知られている。従ってクリーンガス濾過手段としては粒径の小さな塵埃を捕集することができるものが好ましく、例えばHEPAフィルタ(High Efficiency particulate Air-filter)やULPAフィルタ(Ultra Low Penetration Air-filter)等を例示することができる。
【0020】
また本発明のクリーンルームシステムは、清浄空間内から外部へ前記クリーンガスを排気するクリーンガス排気手段を備えると、清浄空間内に多量の汚染物質が発生した場合においても、清浄空間が速やかに清浄状態に復帰されるので好ましい。さらにこのクリーンガス排気手段は前記クリーンガス供給手段と連動すると、清浄空間における作業内容に適した清浄空間の換気回数が確保されるのでより好ましい。なお換気回数とは、換気のための1時間当たりにおけるクリーンガスの供給量または排気量を清浄空間の容積で割った値である。また清浄空間を外部に対して気密に構成すると、クリーンガス供給手段とクリーンガス排気手段との連動によって清浄空間内の圧力が自在に調整される。
【0021】
また本発明のクリーンルームシステムは、清浄空間内におけるクリーンガスの一部を前記クリーンガス供給手段へ還気するリターンダクトを備えると、クリーンガスの製造、供給コストがより低減されるので好ましい。
【0022】
前記汚染物質は清浄空間における作業内容に悪影響を及ぼす物質や物体を含む概念であり、粒子状汚染物質である塵埃や、酸性ガス、アルカリ性ガス、有機ガス、無機ガスやこれらのガス状イオン等を含むガス状汚染物質を指し示すものである。汚染物質の種類は清浄空間における作業内容によって決まるものであるので、除去対象となる汚染物質は、清浄空間における作業内容によって設定すると良い。
【0023】
前記露点とは、気体を冷却していったときに気体中に含まれる水分が物体表面に水滴として現れるときの温度であり、クリーンガス中の水分がどれだけ除去されているかを示す指標である。クリーンガスは、−20℃以下の露点を示す程度に水分が除去されていれば良いが、より低い露点、例えば−100℃以下の露点を示すまで水分が除去されているとより好ましい。
【0024】
前記クリーンガス供給手段は、ガス中に含まれる水分及び前記汚染物質をガス中から除去することができる手段であれば良く、ガスの除湿と汚染物質の除去とを同時に行うことができる手段であっても良く、またガスの除湿手段と汚染物質の除去手段との併用によって構成される手段であっても良い。
【0025】
ガスの除湿と汚染物質の除去とを同時に行うことができるクリーンガス供給手段としては、吸着材が収納され回転自在なロータ内にガスを通過させて前記ガスを減湿させる装置であって、前記ロータの端面に位置するガスの通過域は、減湿区域と再生区域とパージ区域とに仕切られて、ロータの回転によって再生区域から減湿区域に移行する前にパージ区域が位置するようにこれら各区域が配置された乾式減湿装置において、前記ロータの端面側に位置する減湿区域とその他の区域の面積の割合が3:1であることを特徴とする乾式減湿装置(特開平11−523号公報)を利用することができる。なお、吸着材としては二酸化珪素と金属酸化物とからなる金属珪酸塩が好ましく、金属酸化物の金属は除去しようとするガス状汚染物質の種類によって決められると良く、例えばアルミニウムや亜鉛等を例示することができる。
【0026】
【発明の実施の形態】
以下に本発明のクリーンルームシステムにおける実施の形態を添付した図面に基づき説明する。なお本発明の実施の形態はクリーンルーム内に設けられた半導体ウエハ製造現場に適用した形態であり、クリーンガスには汚染物質が除去されかつ低露点の空気であるクリーンエアを使用するものとする。
【0027】
<第1の実施の形態>
本実施の形態におけるクリーンルームシステムの概略構成について図1に基づき説明する。本実施の形態におけるクリーンルームシステムは既設のクリーンルーム100内に設置されている。既設のクリーンルーム100は循環式のクリーンルームであり、天井裏の空間が上部リターンプレナムチャンバ101とされており、床下の空間が下部リターンプレナムチャンバ102とされている。既設のクリーンルーム100の天井面はファンフィルタユニット(FFU)103によって形成されており、床面は通気性を有するグレイチング床104によって形成されている。すなわち、既設のクリーンルーム100と下部リターンプレナムチャンバ103と上部リターンプレナムチャンバ101は既設のクリーンルームにおける清浄雰囲気の循環経路を構成している。
【0028】
本実施形態のクリーンシステムは、既設のクリーンルーム100に配置される筺体であり内部が清浄空間1とされるハンドリングチャンバ4と、既設のクリーンルーム100の床下にあって塵埃及びガス状汚染物質を含む汚染物質が除去されかつ低露点のクリーンエアをハンドリングチャンバ4に供給するクリーンエア供給装置(クリーンガス供給手段)2と、ハンドリングチャンバ4の天面に配置されハンドリングチャンバ4内の帯電物を電気的に中和する除電手段である軟X線照射装置3とを備えている。クリーンエア供給装置2とハンドリングチャンバ4とはサプライダクト5によって接続されている。軟X線照射装置3は波長領域が1〜100オングストロームの軟X線を清浄空間1に照射する装置である。また軟X線照射装置3から離れた位置であるハンドリングチャンバ4の側面下部には排気手段である差圧排気口6が設けられている。この差圧排気口6には既設のクリーンルーム100に対して清浄空間1が正圧に保たれている場合にのみ開口する差圧ダンパ(図示せず)が設けられている。
【0029】
既設のクリーンルーム100にはウエハ製造装置7がハンドリングチャンバ4に隣接して配置されている。ハンドリングチャンバ4の側面には、ウエハ製造装置7側に第1開閉扉8が設けられており、第1開閉扉8に対向する側面に第2開閉扉9が設けられている。第2開閉扉9の外側には所定枚数のウエハを収納するウエハ搬送ボックス10がハンドリングチャンバ4に対して着脱自在に取り付けられている。ハンドリングチャンバ4内には第1開閉扉8と第2開閉扉9との間でウエハの受け渡し(ハンドリング)を行うハンドリングアーム11が配置されている。また既設のクリーンルーム100には、ウエハ搬送ボックス10を搬送する搬送車12が配置されている。なお前記軟X線照射装置3は第1開閉扉8と連動するように構成されており、第1開閉扉8の開放状態で軟X線を照射するとともに第1開閉扉8または第2開閉扉9が閉じると所定時間経過後に自動的に軟X線の照射を終了する仕組みになっている。また、ウエハ搬送ボックス10は搬送車12のアームによって把持されるとボックス内を気密に密閉するボックスである。
【0030】
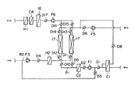
クリーンエア供給装置2は図2の系統図に示されるように、吸着材としての金属珪酸塩等が収納されている第1ロータ13、第2ロータ14、第3ロータ15とを有している。第1ロータ13、第2ロータ14、第3ロータ15は、除塵された外気が通る浄化用通気路R1を横断し、かつ前記吸着材の再生温度まで加熱されたエアが通る再生用通気路R2を横断するように配置されている。また同時に第2ロータ14及び第3ロータ15は、浄化用通気路R1を出たエアが通るパージ用通気路R3を横断するように配置されている。なお吸着材の再生温度とは、前記金属珪酸塩等が捕集したガス状汚染物質及び水分を脱離、放出する温度である。
【0031】
パージ用通気路R3は第3ロータ15の浄化用通気路R1の出口側から分岐し、第3ロータ15内を通過して再生用通気路R2と合流している。第2ロータ14についても同様に、第2ロータ14の浄化用通気路R1の出口側から分岐し、第2ロータ14内を通過して再生用通気路R2と合流している。再生用通気路R2は第3ロータ15の浄化用通気路R1の出口側から分岐している。
【0032】
クリーンエア供給装置2の前記各通気路には通気路中のエアを所定温度まで冷却するクーラC1〜C4や、通気路中のエアの通気量を調整するダンパD1〜D8及びファンF1〜F6や、通気路中のエアを所定温度まで加熱するヒータH1〜H4が適所に配置されている。なお浄化用通気路R1を通る外気は外調機(図示せず)によって予め除塵等の調整がされたものである。
【0033】
第2ロータ14及び第3ロータ15は図3に示されるように、金属珪酸塩等の吸着材が収納される回転自在な円筒状の除湿浄化処理部14aと、除湿浄化処理部の両端に固定されるとともに軸方向へ貫通する貫通孔である浄化入口14c(15c)、再生出口14d(15d)、パージ出口14e(15e)を所定の位置に有する一対の端面盤14b、14bとから構成されている。浄化入口14c(15c)は浄化用通気路R1と接続され、再生出口14d(15d)は再生用通気路R2と接続され、パージ出口14e(15e)はパージ用通気路R3と接続される。なお図示しないが第1ロータ13は、パージ出口が設けられていない以外は第2ロータ14及び第3ロータ15と同様の形態に構成されている。また前記吸着材には金属珪酸塩のほかにシリカゲルやアルミナを例示することができる。
【0034】
またクリーンエア供給装置2は図4の系統図に示されるように、エアの除湿手段とガス状汚染物質除去手段とを併用する形態としても良い。このクリーンエア供給装置は、浄化用通気路R1の一部と再生用通気路R2の一部とを同時に内包するように配置されゼオライトが充填された吸着塔17、17を有している。吸着塔17の下流側における浄化用通気路R1にはガス状汚染物質を捕集するケミカルフィルタ16が配置されている。再生用通気路R2からは、吸着塔17通過前の一部のエアを浄化用通気路R1へ送気する通気路と、吸着塔17通過後の一部のエアを浄化用通気路R1へ送気する通気路とが分岐している。またこのクリーンガス供給装置は、浄化用通気路R1と再生用通気路R2が吸着塔17、17の前後で分岐し、それぞれの吸着塔17に浄化用の外気あるいは再生用のエアを独立して供給できるように構成されている。なおクーラ、ヒータ、ダンパ、ファンについては図2に示したクリーンエア供給装置2と同様に、各通気路に適宜配置されている。
【0035】
次に本実施形態におけるクリーンルームシステムの作用について説明する。まずクリーンエア供給装置2によるクリーンエアの供給について説明する。
浄化用通気路R1に導入された外気はクーラC1により冷却、除湿される。同時にガス状汚染物質及び水分の吸着には一般に低温であることが好ましい条件であるため、前記外気はクーラC1によって吸着材によるガス状汚染物質及び水分の吸着に適した温度に調整された後に、所定の速度で回転する第1ロータ13を通過する。なお第1ロータ13は浄化入口、再生出口を通過する方向へ、第2ロータ14及び第3ロータ15はそれぞれ浄化入口、再生出口、パージ出口を通過する方向へ回転している。第1ロータを通過した外気は同様に、クーラC2、C3によって適温に調整された後に第2ロータ14、第3ロータ15を通過する。第3ロータ15を通過した外気はガス状汚染物質が1ppb以下となるまで除去され、かつ露点が−100℃以下を示すクリーンでドライなエア(クリーンエア)になっている。第3ロータ15を通過してなるクリーンエアは、クーラC4及びヒータH1によって適温に調整された後、サプライダクト5を通って清浄空間1に連続して供給される。
【0036】
再生用通気路R2には第3ロータ15を通過したクリーンエアが浄化用通気路R1から供給される。再生用通気路R2に供給されたクリーンエアは、ヒータH2によって前記吸着材の再生温度まで昇温された後に第3ロータ15を通過し、第3ロータ15のパージエアと合流する。第3ロータ15のパージエアと合流した再生用通気路R2内のエアは、ヒータH3によって再び再生温度まで昇温された後に第2ロータ14を通過し、第2ロータ14のパージエアと合流する。第2ロータ14のパージエアと合流した再生用通気路R2内のエアはヒータH4によって再び再生温度まで昇温された後に第1ロータ13を通過する。再生用通気路R2に供給され各ロータを通過したエアは外部に排気される。
【0037】
パージ用通気路R3には第2ロータ14及び第3ロータ15をそれぞれ通過したエアが浄化用通気路R1から供給される。第3ロータ15の浄化用通気路R1の出口側から分岐するパージ用通気路R3には第3ロータ15を通過したクリーンエアが供給され、このクリーンエアは第3ロータ15を通過した後に再生用通気路R2と合流する。同様に第2ロータ14の浄化用通気路R1の出口側から分岐するパージ用通気路R3には第2ロータ14を通過したエアが供給され、このエアは第2ロータ14を通過した後に再生用通気路R2と合流する。
【0038】
第1ロータ13、第2ロータ14、第3ロータ15は、前述した方向に所定速度で回転していることから、浄化用通気路R1の外気におけるガス状汚染物質及び水分を捕集したそれぞれの捕集面が再生用通気路R2を横断し、前記捕集面からガス状汚染物質及び水分が脱離、放出されて捕集面が再生される。また、第2ロータ14、第3ロータ15の捕集面は、再生用通気路R2を横断した後にパージ用通気路R3を横断することから、再生された捕集面が冷却される。すなわち第2ロータ14及び第3ロータ15の除湿浄化処理部14a、15aは、ごく短時間的視点において浄化区域、再生区域、パージ区域(図3中における破線で示す区分け)に分けられる。
【0039】
また図4に示したクリーンエア供給装置を使用する場合では、一方の吸着塔17に外気を通し、他方の吸着塔17に再生用のエアを通すようにダンパD9〜16を開閉すると、図2及び図3で示したクリーンエア供給装置2と同様に連続してクリーンエアが供給される。ゼオライトは前記例示の吸着材と同様、除湿作用のほかにガス状汚染物質の吸着作用も有するが、この吸着作用には選択性があるため一部のガス状汚染物質に対応することができない。そこでゼオライトで吸着できないガス状汚染物質を吸着するためにケミカルフィルタ16が用いられている。このようにケミカルフィルタ16はゼオライトによるガス状汚染物質の吸着を補完するものであって、このようなケミカルフィルタ16の具体例としては活性炭フィルタ等を例示することができる。
【0040】
前述したような経緯で製造されたクリーンエアによって、清浄空間1はガス状汚染物質及び水分がほぼ除去された清浄状態とされている。この清浄状態において第1開閉扉8が開くと、第1開閉扉8の開放に伴い軟X線照射装置3が連動して軟X線を照射する。またハンドリングアーム11がウエハ製造装置7から製造品である半導体ウエハを受け取る。
【0041】
半導体ウエハはハンドリングアーム11によってハンドリングされたときには帯電している。一方で軟X線照射装置3の軟X線照射を受けて、清浄空間1内のクリーンガスはイオン化する。このとき発生するイオンはN2 +、O2 +、O2 -であり、イオン化に伴って電子e-も発生する。従って軟X線照射によって発生したN2 +が半導体ウエハ表面に付着し、半導体ウエハを電気的に中和する。また軟X線のエネルギーが酸素をイオン化させるのに十分なエネルギーであることから、酸素のイオン化に伴う酸素ラジカルの発生が防止されるので、清浄空間1内のオゾンの発生が防止される。
【0042】
半導体ウエハがハンドリングアーム11上で電気的に中和されると、ハンドリングチャンバ4の第2開閉扉9が開く。そして半導体ウエハはハンドリングアーム11によってウエハ搬送ボックス10内に収納される。
【0043】
ウエハ製造装置7から所定枚数(例えば25枚)の半導体ウエハが取り出されると第1開閉扉8が閉じ、ウエハ搬送ボックス7内に所定枚数の半導体ウエハが収納されると第2開閉扉9が閉じる。また、第1開閉扉8または第2開閉扉9が閉じてから前述した所定時間が経過すると軟X線照射装置3からの照射が自動的に終了する。
【0044】
所定枚数の半導体ウエハを収納したウエハ搬送ボックス10は、搬送車12によって次工程へ搬送される。ウエハ搬送ボックス10は搬送車12のアームによって把持されて搬送されるので、ボックス内部は気密に密閉されている。
【0045】
清浄空間1を形成するハンドリングチャンバ4には差圧排気口6が設けられているので、清浄空間1が既設のクリーンルーム100に対して正圧であるときに清浄空間1内のクリーンエアが清浄空間1外へ放出される。従ってクリーンエア供給装置2によるクリーンエアの供給量を調整することで清浄空間1内における半導体ウエハのハンドリング作業に必要な換気回数が確保される。
【0046】
ここで本実施形態におけるクリーンルームシステムにおける除電効果及び表面汚染防止効果の実測値を表1に示す。なお表1におけるA〜Dは比較のための条件であり以下のような条件とされている。
条件A:一般空気(外気)中で除電を行わずに半導体ウエハをハンドリングした。
条件B:一般空気中で除電を行って半導体ウエハをハンドリングした。
条件C:汚染物質の除去を行わず従来の除湿装置を用いて用意した低露点の空気(ドライエア)中で除電を行わずに半導体ウエハをハンドリングした。
条件D:汚染物質の除去を行わない前記ドライエア中で除電を行って半導体ウエハをハンドリングした。
【0047】
【表1】
【0048】
前記ハンドリングは、希フッ化水素酸で表面を洗浄し自然酸化膜を除去する前処理が施された後に、25枚入りのウエハ搬送ボックスからの出し入れを一通り行う操作とした。25枚の半導体ウエハの出し入れには約30分間を要した。
【0049】
表1から半導体ウエハにおける除電効果とガス状汚染物質による汚染の防止効果について、以下のような事柄がわかる。
除電効果については、除電を行った場合(条件B、条件D)ではハンドリング作業の雰囲気に関係なく完全に除電されていることがわかる。一方で除電を行わない条件(条件A、条件C)では半導体ウエハの帯電量が−1000Vを超えており、特にドライエア中で行った条件Cでは帯電量が−2500Vと最も大きい帯電量を示している。
【0050】
次に有機物付着量については、本システムでのハンドリング作業が測定限界値以下であるのに対して、条件A〜Dのいずれの場合も測定限界値の50〜180倍もの有機物が付着していることがわかる。これらの中でもドライエア雰囲気である条件B、条件Dは汚染量が少ないことから、ドライエア製造中にある程度の有機物が除去されていることがわかる。また、注目すべき点としては、同じ雰囲気で比較したとき、すなわち条件Aと条件Bを比較したとき、あるいは条件Cと条件Dを比較したときでは、除電を行った場合の方が有機物付着量が大きいことである。これは除電時にガス状汚染物質が十分除去されていないと、イオン付着に伴ってガス状汚染物質による汚染が促進されることを証明している。
【0051】
以上の説明からわかるように、本実施の形態におけるクリーンルームシステムは、塵埃及びガス状汚染物質を含む汚染物質が除去されかつ低露点のクリーンエアを清浄空間1に供給するクリーンエア供給装置2と、清浄空間1に軟X線を照射する軟X線照射装置3とを備えることから、半導体ウエハへのガス状汚染物質の付着及び水分の付着による半導体ウエハ表面の汚染を防止することができるとともに、静電気障害を防止することができるので、製造される半導体ウエハの信頼性と歩留りを向上させることができる。
【0052】
また本実施の形態におけるクリーンルームシステムのクリーンエア供給装置2は、金属珪酸塩等の吸着材を収納し所定の速度で回転する三体のロータに外気を通して浄化及び除湿を行う構成としたことから、汚染物質の濃度が1ppb以下でかつ−100℃以下の露点を示すクリーンエアを連続して、かつ安価に製造することができる。
【0053】
また本実施の形態におけるクリーンルームシステムの軟X線照射装置3は、清浄空間1に軟X線を照射する構成としたことから、清浄空間1内のクリーンエアが速やかにイオン化され、このクリーンエアのイオンまたは電子によって半導体ウエハの帯電を電気的に中和するので、クリーンガスのイオンまたは電子が半導体ウエハに付着しても汚染物質とならず、また汚染物質となりにくい。そして、照射されるエネルギーが大きいことから、半導体ウエハの除電を速やかに行うことができるとともに、酸素ラジカルの生成を伴わない酸素のイオン化が可能であるので、酸化力の強いオゾンの発生を防止できる。
【0054】
また軟X線照射装置3は、ハンドリングチャンバ4の第1開閉扉8または第2開閉扉9と連動して軟X線の照射のオン、オフを行う構成としたことから、所定時間の経過後には軟X線の照射を自動的に終了するため、軟X線照射装置3の節電が可能となる。
【0055】
また本実施の形態におけるクリーンルームシステムは、清浄空間1が既設のクリーンルーム100に対して正圧である場合に開口する差圧排気口6をハンドリングチャンバ4に備えたことから、既設のクリーンルーム100から清浄空間1へのエアの流入を防ぐことができるとともに、清浄空間1の正圧時にクリーンエア供給装置2の供給に連動して清浄空間1内のクリーンエアが清浄空間1外へ排気されるので、清浄空間1に適した換気回数を確保することができる。
【0056】
<第2の実施の形態>
本実施の形態におけるクリーンルームシステムは、差圧排気口からのクリーンエアの排気を行う代わりに、清浄空間1からクリーンエア供給装置2へクリーンエアを還気する構成とし、クリーンエアを再生するとともに清浄空間1の換気回数を確保する点で前記第1の実施の形態と異なる。なお本実施の形態を説明するにあたり、前述した第1の実施の形態と同様の構成については同様の符号を用い、その詳細な説明は省略する。
【0057】
本実施の形態におけるクリーンルームシステムは、より具体的には図5に示されるように、差圧排気口6の代わりに清浄空間1のクリーンエアをクリーンエア供給装置2に還気するリターンダクト18を備えている。リターンダクト18はクリーンエア供給装置2のパージ用通気路R3(図4に示したクリーンエア供給装置であれば再生用通気路R2)と接続されている。
【0058】
本実施の形態におけるクリーンルームシステムは、第1の実施の形態とは差圧排気口6とリターンダクト18という構成に違いがあるものの、前記構成によればクリーンエア供給装置2のダンパの開度とファンの送風量とを調整して清浄空間1へのクリーンエアの供給量を適当な供給量とすることにより、清浄空間1に半導体ウエハの搬送作業に必要な換気回数を確保することができる。
【0059】
また、本実施の形態におけるクリーンルームシステムは、前述した第1の実施の形態における効果に加えて、クリーンエア供給装置2には清浄空間1のクリーンエアがパージ用通気路R3へ還気されることから、浄化用通気路R1からパージ用通気路R3へのクリーンエアの供給量が低減され、かつこの低減分のクリーンエアは清浄空間1に供給されることから、より安価にクリーンエアを製造することができる。
【0060】
<第3の実施の形態>
本実施の形態におけるクリーンルームシステムは、既設のクリーンルーム100内に複数設置されたウエハ製造装置7間で半導体ウエハのハンドリング作業を行う点で前記第1の実施の形態と異なる。なお本実施の形態を説明するにあたり、前述した第1の実施の形態と同様の構成については同様の符号を用い、その説明を省略する。
【0061】
本実施の形態におけるクリーンルームシステムは、より具体的には図6に示されるように、ハンドリングチャンバ4の代わりにハンドリングトンネル24が備えられている。ハンドリングトンネル24は、図6の紙面に対して垂直方向に延びるトンネルであり、ウエハ製造装置7はハンドリングトンネル24に沿って複数配置されているものとする。またハンドリングトンネル24内には、ハンドリングトンネル24の長手方向(図6の紙面対して垂直方向)に沿って移動するウエハ搬送装置22が配置されている。このウエハ搬送装置22は上部にハンドリングアーム11を備えている。その他の構成については、第2開閉扉9が設けられていない点を除き、前述した第1の実施の形態と同様である。
【0062】
前記構成によれば、ウエハ搬送装置22は第1開閉扉8から半導体ウエハを取り出し、ハンドリングトンネル24内をハンドリングトンネル24の長手方向に沿って移動し、他のウエハ製造装置へ搬送する。
【0063】
本実施の形態におけるクリーンルームシステムは、前記構成によって複数のウエハ製造装置7間で半導体ウエハのハンドリングを行うことができる。また、第1の実施の形態とはハンドリングチャンバ4とハンドリングトンネル24、ハンドリングアーム11を備えたウエハ製造装置22の配置という構成に違いがあるものの、ハンドリングトンネル24によって形成される清浄空間1における半導体ウエハへのガス状汚染物質の付着及び水分の付着による半導体ウエハ表面の汚染を防止することができるとともに、静電気障害を防止することができるので、製造される半導体ウエハの信頼性と歩留りを向上させられることで共通している。その他の効果については、前述した第1の効果と同様なのでその説明を省略する。
【0064】
<第4の実施の形態>
本実施の形態におけるクリーンルームシステムは、一部がイオン化されたクリーンエアを清浄空間1に供給する点で前記第3の実施の形態と異なる。なお本実施の形態を説明するにあたり、前述した第3の実施の形態と同様の構成については同様の符号を用い、その説明を省略する。
【0065】
本実施の形態におけるクリーンルームシステムは、より具体的には図7に示されるように、サプライダクト5内に配置される軟X線照射装置3を備えている。また差圧排気口6は、サプライダクト5の清浄空間1側の開口部から離れた位置、すなわちハンドリングトンネル24の側面上部に設けられている。
【0066】
本実施の形態におけるクリーンルームシステムは、前述した第3の実施の形態における効果に加えて、清浄空間1に供給されるクリーンエアの一部がサプライダクト5内でイオン化されることから、発生したイオンが清浄空間1内に広く分散され、より広い帯電表面を効率良く電気的に中和することができる。
【0067】
<第5の実施の形態>
本実施の形態におけるクリーンルームシステムは、ハンドリングチャンバ4の代わりに半導体ウエハの一時保管庫に適用する点で前記第1の実施の形態と異なる。なお本実施の形態を説明するにあたり、前述した第1の実施の形態と同様の構成については同様の符号を用い、その説明を省略する。
【0068】
本実施の形態におけるクリーンルームシステムは図8に示されるように、ハンドリングチャンバ4の代わりに、内部に清浄空間1を形成する一時保管庫25が既設のクリーンルーム100に配置されている。ウエハ製造装置7と一時保管庫25との半導体ウエハの搬送は、半導体ウエハが収納されるウエハ搬送ボックス10を搬送する搬送車12によって行われる。
【0069】
一時保管庫25は半導体ウエハがウエハ搬送ボックス10に収納されたままの状態で一時的に保管するものであって、側面上部でサプライダクト5と接続されている。一時保管庫25は、供給されるクリーンエアの除塵を行うクリーンガス濾過手段であるULPAフィルタ26と、ULPAフィルタ26を通過したクリーンエアをイオン化する軟X線照射装置3と、ウエハ搬送ボックス10の搬入、搬出口である第2開閉扉9と、差圧排気口6とを備えている。ULPAフィルタ26はクリーンエア供給装置2、サプライダクト5、及び一時保管庫25の少なくともいずれか一箇所に配置されていれば良い。
【0070】
前記構成によれば、ウエハ搬送ボックス10への半導体ウエハの出し入れや、一時保管庫25へのウエハ搬送ボックス10の出し入れに伴い発生する静電気を除電することができる。また一時保管庫25で半導体ウエハが保管されている時間は前述した実施形態におけるハンドリングに比べて長いので、半導体ウエハは保管状態の影響を受けやすい。従って、一時保管庫25の雰囲気をクリーンエアとし、かつ除電を行うことにより、半導体ウエハの良好な保管状態を維持することができる。なおその他の効果については前述した第1の実施の形態と同様であるので、その説明を省略する。
【0071】
<第6の実施の形態>
本実施の形態におけるクリーンルームシステムは、差圧排気口6からのクリーンエアの排気を行う代わりに清浄空間1からクリーンエア供給装置2へクリーンエアを還気する構成とし、クリーンエアを再生するとともに清浄空間1の換気回数を確保する点で前記第5の実施の形態と異なる。なお本実施の形態を説明するにあたり、前述した第5の実施の形態と同様の構成については同様の符号を用い、その説明を省略する。
【0072】
本実施の形態におけるクリーンルームシステムは、より具体的には図9に示されるように、差圧排気口6の代わりに清浄空間1のクリーンエアをクリーンエア供給装置に還気するリターンダクト18が一時保管庫25に備えられている。リターンダクト18はクリーンエア供給装置2のパージ用通気路R3(図4で示したクリーンエア供給装置であれば再生用通気路R2)と接続されている。
【0073】
本実施の形態におけるクリーンルームシステムは、前述した構成の違いがあるものの、クリーンエア供給装置2からのクリーンエアの供給量を適当に調整することにより、清浄空間1における半導体ウエハの一時保管に必要な換気回数を確保することができる。また前述した第2の実施の形態と同様の理由から、より安価にクリーンエアを製造することができる。
【0074】
<第7の実施の形態>
本実施の形態におけるクリーンルームシステムは、清浄空間1内のクリーンエアを循環させる構成とした点で前記第1の実施の形態と異なる。なお本実施の形態を説明するにあたり、前述した第1の実施の形態と同様の構成については同様の符号を用い、その説明を省略する。
【0075】
本実施の形態におけるクリーンルームシステムは、より具体的には図10に示されるように、ハンドリングチャンバ4の上部には、清浄空間1内の作業による発熱を相殺すべく清浄空間1を所定の温度に制御する温度制御手段である冷却コイル27と、清浄空間1で発生した塵埃を捕集するULPAフィルタ26と、冷却コイル27で調温されたクリーンエアがULPAフィルタ26を通過するように送風するファンF7とが備えられている。なお本実施の形態では温度制御手段として冷却コイル27を示したが、ヒータ等の加熱装置の使用あるいは併用としても良い。
【0076】
前記構成によれば、前述した第1の実施の形態における効果に加えて、ハンドリングアーム11の作動による発熱等が清浄空間1で生じても、冷却コイル27によって清浄空間1が適切な温度に制御される。従って、前記発熱等の清浄空間1における温度変化による半導体ウエハの変性等を防止することができる。
【0077】
また本実施の形態におけるクリーンルームシステムは、清浄空間1におけるクリーンエアの循環経路を形成するとともにこの循環経路中にULPAフィルタ26を配置する構成としたことから、ハンドリングアーム11の作動等によって清浄空間1に塵埃が生じてもULPAフィルタ26に捕集されるため、清浄空間1での発塵による半導体ウエハの粒子汚染を防止することができる。
前述したこれらの理由から本実施の形態におけるクリーンルームシステムは、半導体ウエハの信頼性や歩留りをより向上させることができる。
【0078】
<第8の実施の形態>
本実施の形態におけるクリーンルームシステムは、異なる作業を行う半導体ウエハ生産装置間におけるハンドリングを行う形態である点で前記第1の実施の形態と異なる。なお本実施の形態を説明するにあたり、前述した第1の実施の形態と同様の構成については同様の符号を用い、その詳細な説明を省略する。
【0079】
本実施の形態におけるクリーンルームシステムには、より具体的には図11に示されるように、サプライダクト5出口付近と差圧排気口6の清浄空間1側にそれぞれ開閉バルブ28、29が配置されるとともに、清浄空間1を減圧状態にする真空ポンプ30が配置されている。開閉バルブ28、29及び真空ポンプ30は、図示しない圧力センサの検出結果に基づき、かつクリーンエア供給装置2と連動して制御されている。前記構成により清浄空間1は所定の減圧状態を維持している。すなわち、クリーンエアの供給量を増やすと清浄空間1の減圧が緩和されるため、クリーンエアの供給量に応じて真空ポンプ30によるクリーンエアの吸気量を調整し、清浄空間1の減圧状態を所定の状態に保っている。
【0080】
ところで異なる作業を行う生産装置がハンドリングチャンバ4に複数隣接する場合では、個々の生産装置において要求される清浄度が異なったり、ある生産装置で行われる作業(工程)によって他の生産装置が汚染される事態が生じたりする。このような場合には、前記ハンドリングチャンバ4等、各生産装置間を結ぶ空間を減圧にして、生産装置間の相互汚染を防止する対策が必要となる。
【0081】
本実施の形態におけるクリーンルームシステムは、前述した第1の実施の形態における効果に加えて、清浄空間1が所定の減圧状態に維持される構成としたことから、ウエハ製造装置7等、異なる作業を行う生産装置間を結ぶ空間が減圧状態となり、各生産装置間(本実施の形態におけるウエハ製造装置7)での汚染の拡大あるいは伝染を防止することができる。
【0082】
また本実施の形態におけるクリーンルームシステムは、清浄空間1が所定の減圧状態に維持される構成としたことから、除電前の半導体ウエハの帯電電位が−200〜−500Vとなり、清浄空間1の汚染物質濃度も常圧の場合に比べて低くなる。従って、清浄空間1における半導体ウエハへの、ガス状汚染物質の付着及び水分の付着による障害と、静電気障害とをより低減させることができる。
【0083】
【発明の効果】
本発明のクリーンルームシステムは、塵埃及びガス状汚染物質からなる汚染物質が除去されかつ低露点のクリーンガスを清浄空間に供給するクリーンガス供給手段と、清浄空間内の帯電物を電気的に中和する除電手段とを備えることから、例えば本発明を電子デバイス製品の製造現場に適用すると、清浄空間内における電子デバイス製品へのガス状汚染物質の付着、及び水分の付着と静電気障害とが同時に防止され、電気デバイス製品の信頼性及び製造歩留りを向上させることができる。
【0084】
また本発明のクリーンルームシステムは、より具体的にはクリーンガス中における前記汚染物質の濃度が1ppb以下となるまで除去され、クリーンガスの露点が−20℃以下となるようにクリーンガス中の水分が除去されていると、前記電子デバイス製品の信頼性及び歩留りを向上させることができる。
【0085】
また本発明のクリーンルームシステムは、除電手段が波長領域で1〜100オングストロームの軟X線をクリーンガスに照射する軟X線照射装置であると、クリーンガスに照射される電磁波(X線)のエネルギーが十分大きいことから、クリーンガス中に酸素が含まれていてもオゾンが発生せず、電子デバイス製品の腐食等を防止することができるとともに、短い照射時間で清浄空間内の帯電を電気的に中和することができる。
【0086】
また本発明のクリーンルームシステムは、清浄空間を所定の温度に制御する温度制御手段を備えると、清浄空間内における作業内容に伴う発熱等の影響によって前記電子デバイス製品等が変性するのを防止することができるので、前記電子デバイス製品の信頼性及び歩留りをより向上させることができる。
【0087】
また本発明のクリーンルームシステムは、清浄空間内で発塵する塵埃を捕集するクリーンガス濾過手段を備えると、清浄空間内における作業内容に伴い発生する塵埃を捕集することができ、清浄空間内で発生する塵埃による前記電子デバイス製品の粒子汚染をより低減させることができるため、前記電子デバイス製品の信頼性及び歩留りをより向上させることができる。
【0088】
また本発明のクリーンルームシステムは、清浄空間内から外部へクリーンガスを排気するクリーンガス排気手段を備えると、清浄空間内で汚染物質が多量に発生した場合でも清浄空間を速やかに清浄状態へ復帰させることができる。そしてクリーンガス排気手段をクリーンガス供給手段と連動させると、清浄空間内における作業内容に応じた換気回数を確保することができるとともに、清浄空間内の条件(清浄度や圧力等)を、清浄空間内における作業内容に適した条件にすることができる。
【0089】
また本発明のクリーンルームシステムは、清浄空間内におけるクリーンガスの一部をクリーンガス供給手段へ還気するリターンダクトを備えると、クリーンガス供給手段におけるガスの清浄処理量を低減させることができ、クリーンガスをより安価に製造することができる。
【図面の簡単な説明】
【図1】本発明のクリーンルームシステムにおける一実施形態を示す概略図である。
【図2】本発明のクリーンルームシステムのクリーンガス供給手段の一形態として示されるクリーンエア供給装置の系統図である。
【図3】図2に示されるクリーンエア供給装置に使用されるロータを示す斜視図である。
【図4】本発明のクリーンルームシステムにおけるクリーンガス供給手段の他の形態として示されるクリーンエア供給装置の系統図である。
【図5】本発明のクリーンルームシステムにおける第2の実施の形態を示す概略図である。
【図6】本発明のクリーンルームシステムにおける第3の実施の形態を示す概略図である。
【図7】本発明のクリーンルームシステムにおける第4の実施の形態を示す概略図である。
【図8】本発明のクリーンルームシステムにおける第5の実施の形態を示す概略図である。
【図9】本発明のクリーンルームシステムにおける第6の実施の形態を示す概略図である。
【図10】本発明のクリーンルームシステムにおける第7の実施の形態を示す概略図である。
【図11】本発明のクリーンルームシステムにおける第8の実施の形態を示す概略図である。
【符号の説明】
1 清浄空間
2 クリーンエア供給装置(クリーンガス供給手段)
3 軟X線照射装置
4 ハンドリングチャンバ
5 サプライダクト
6 差圧排気口
7 ウエハ製造装置
8 第1開閉扉
9 第2開閉扉
10 ウエハ搬送ボックス
11 ハンドリングアーム
12 搬送車
13 第1ロータ
14 第2ロータ
14a、15a 除湿浄化処理部
14b、15b 端面盤
14c、15c 浄化入口
14d、15d 再生出口
14e、15e パージ出口
15 第3ロータ
16 ケミカルフィルタ
17 吸着塔
18 リターンダクト
22 ウエハ搬送装置
24 ハンドリングトンネル
25 一時保管庫
26 ULPAフィルタ
27 冷却コイル
28、29 開閉バルブ
30 真空ポンプ
100 既設のクリーンルーム
101 上部リターンプレナムチャンバ
102 下部リターンプレナムチャンバ
103 ファンフィルタユニット(FFU)
104 グレイチング床
C1〜C4 クーラ
D1〜D17 ダンパ
F1〜F7 ファン
H1〜H4 ヒータ
R1 浄化用通気路
R2 再生用通気路
R3 パージ用通気路
Claims (7)
- 塵埃を捕集するフィルタと、ガス状汚染物質及び水分を吸着する吸着材とによって、前記塵埃及びガス状汚染物質を含む汚染物質の除去と除湿が行われたクリーンガスを清浄空間に供給するクリーンガス供給手段と、
波長領域が1〜100オングストロームの軟X線を前記クリーンガスに照射して前記清浄空間内の帯電物を電気的に中和する軟X線照射装置と、
前記清浄空間内から外部へ前記クリーンガスを排気するクリーンガス排気手段と、
を備え、
前記クリーンガス排気手段は、前記清浄空間における作業内容に応じた換気回数が確保されるように前記クリーンガス供給手段による前記クリーンガスの供給と連動して前記清浄空間内から外部へ前記クリーンガスを排気することを特徴とするクリーンルームシステム。 - 前記清浄空間を外部と区画する筐体には、前記帯電物を外部から前記清浄空間内に搬入するための開閉扉が設けられており、
前記軟X線照射装置は、前記開閉扉の開放に連動して軟X線を照射することを特徴とする請求項1記載のクリーンルームシステム。 - 前記清浄空間を外部と区画する筐体には、前記帯電物を外部から前記清浄空間内に搬入するための開閉扉が設けられており、
前記軟X線照射装置は、前記開閉扉が閉じてから所定時間の経過後に軟X線の照射を自動的に終了することを特徴とする請求項1記載のクリーンルームシステム。 - 前記クリーンガス排気手段は、前記清浄空間を外部と区画する筐体に設けられると共に該清浄空間が外部に対して正圧であるときに該清浄空間内の前記クリーンガスを外部へ放出する差圧排気口を有し、
前記クリーンガス供給手段による前記クリーンガスの供給量が調節されることで、前記清浄空間における作業内容に応じた換気回数が確保されることを特徴とする請求項1記載のクリーンルームシステム。 - 前記清浄空間を所定の温度に制御する温度制御手段と、該清浄空間内で発塵する塵埃を捕集するクリーンガス濾過手段と、を更に備えることを特徴とする請求項1記載のクリーンルームシステム。
- 前記清浄空間内における前記クリーンガスの一部を前記クリーンガス供給手段へ還気するリターンダクトを備え、
前記クリーンガス排気手段は、前記清浄空間内から排気する前記クリーンガスを、前記リターンダクトを通じて前記クリーンガス供給手段へ還気することを特徴とする請求項1記載のクリーンルームシステム。 - 塵埃及びガス状汚染物質を含む汚染物質が除去されかつ低露点のクリーンガスを清浄空間に供給するクリーンガス供給手段と、波長領域が1〜100オングストロームの軟X線を前記クリーンガスに照射して前記清浄空間内の帯電物を電気的に中和する軟X線照射装置と、
前記清浄空間内から外部へ前記クリーンガスを排気するクリーンガス排気手段と、
を備え、
前記クリーンガス中における前記汚染物質の濃度が1ppb以下、かつ該クリーンガスの露点が−20℃以下であり、
前記クリーンガス排気手段は、前記清浄空間における作業内容に応じた換気回数が確保されるように前記クリーンガス供給手段による前記クリーンガスの供給と連動して前記清浄空間内から外部へ前記クリーンガスを排気することを特徴とするクリーンルームシステム。
Priority Applications (1)
| Application Number | Priority Date | Filing Date | Title |
|---|---|---|---|
| JP21436899A JP4664459B2 (ja) | 1999-07-28 | 1999-07-28 | クリーンルームシステム |
Applications Claiming Priority (1)
| Application Number | Priority Date | Filing Date | Title |
|---|---|---|---|
| JP21436899A JP4664459B2 (ja) | 1999-07-28 | 1999-07-28 | クリーンルームシステム |
Publications (2)
| Publication Number | Publication Date |
|---|---|
| JP2001044089A JP2001044089A (ja) | 2001-02-16 |
| JP4664459B2 true JP4664459B2 (ja) | 2011-04-06 |
Family
ID=16654641
Family Applications (1)
| Application Number | Title | Priority Date | Filing Date |
|---|---|---|---|
| JP21436899A Expired - Lifetime JP4664459B2 (ja) | 1999-07-28 | 1999-07-28 | クリーンルームシステム |
Country Status (1)
| Country | Link |
|---|---|
| JP (1) | JP4664459B2 (ja) |
Families Citing this family (10)
| Publication number | Priority date | Publication date | Assignee | Title |
|---|---|---|---|---|
| JP3955724B2 (ja) | 2000-10-12 | 2007-08-08 | 株式会社ルネサステクノロジ | 半導体集積回路装置の製造方法 |
| JP4385310B2 (ja) * | 2001-07-11 | 2009-12-16 | 株式会社日立プラントテクノロジー | 有機化合物の脱着方法およびその脱着機能付きクリーンルーム設備 |
| US7207123B2 (en) | 2002-09-20 | 2007-04-24 | Tokyo Electron Limited | Dry air-supplying apparatus and treating apparatus |
| JP2008246438A (ja) * | 2007-03-30 | 2008-10-16 | Nichias Corp | 除湿機及び除湿方法 |
| JP2010272455A (ja) * | 2009-05-25 | 2010-12-02 | Hitachi Plant Technologies Ltd | 除湿除電装置 |
| JP6268384B2 (ja) * | 2014-03-28 | 2018-01-31 | 東京エレクトロン株式会社 | 基板処理装置 |
| KR101680696B1 (ko) * | 2014-12-31 | 2016-12-12 | 주식회사 삼지에이 | 산업용 크린룸 설비(ICR, industrial clean room) 내의 헤파필터 교체 알림 시스템 |
| JP2018536984A (ja) * | 2015-10-05 | 2018-12-13 | ブルックス シーシーエス ゲーエムベーハーBrooks CCS GmbH | 半導体システムにおける湿度制御 |
| CN107042059A (zh) * | 2017-06-14 | 2017-08-15 | 威海职业学院 | 一种大型集成电子设备用除湿除尘装置 |
| TWI769463B (zh) * | 2020-06-05 | 2022-07-01 | 日月光半導體製造股份有限公司 | 除濕系統及降低空間濕度的方法 |
Family Cites Families (4)
| Publication number | Priority date | Publication date | Assignee | Title |
|---|---|---|---|---|
| EP0792090B1 (en) * | 1992-08-14 | 2004-07-21 | Takasago Netsugaku Kogyo Kabushiki Kaisha | Apparatus and method for producing gaseous ions by use of x-rays |
| JP3674895B2 (ja) * | 1996-12-20 | 2005-07-27 | ジャパン・エア・ガシズ株式会社 | ドライエアー供給システムおよび供給方法 |
| JP3839555B2 (ja) * | 1997-06-05 | 2006-11-01 | 高砂熱学工業株式会社 | 局所密閉型清浄装置 |
| WO2000003423A1 (en) * | 1998-07-08 | 2000-01-20 | Nippon Sanso Corporation | System and method for producing and supplying highly clean dry air |
-
1999
- 1999-07-28 JP JP21436899A patent/JP4664459B2/ja not_active Expired - Lifetime
Also Published As
| Publication number | Publication date |
|---|---|
| JP2001044089A (ja) | 2001-02-16 |
Similar Documents
| Publication | Publication Date | Title |
|---|---|---|
| CN103702690B (zh) | 利用电场再生的空气净化器 | |
| JP4664459B2 (ja) | クリーンルームシステム | |
| JP5266758B2 (ja) | 揮発性有機化合物処理装置 | |
| WO1999028968A1 (fr) | Preservation de la proprete des substrats et boite de rangement de substrats | |
| JP2910946B2 (ja) | 空気浄化調和装置 | |
| JP4334688B2 (ja) | 清浄空気製造方法及び供給システム | |
| JPH1066207A (ja) | 空冷用大気ガス浄化装置 | |
| TWI763906B (zh) | 氣體置換用乾燥房 | |
| KR20170037407A (ko) | 지하철 터널 공기정화시스템 | |
| CN1180321A (zh) | 液体喷雾空气净化装置 | |
| JP2004176978A (ja) | 半導体製造装置に供給する空気の浄化・空調方法および半導体製造装置の空気浄化・空調ユニット | |
| KR20190030598A (ko) | 가스 치환용 드라이룸 | |
| JPH0760044A (ja) | 空気中不純物の除去装置 | |
| JP2021133323A (ja) | ガス分離回収装置 | |
| JP2000296309A (ja) | 半導体製造システム | |
| JPH0889747A (ja) | クリーンルームシステム | |
| JP3718177B2 (ja) | 空気中ガス成分の除去方法 | |
| JP4056204B2 (ja) | 半導体の製造方法と装置 | |
| JP3078697B2 (ja) | クリーンルーム,クリーンルームの空気浄化方法および基板搬送システム | |
| JP2008253672A (ja) | Voc除去装置 | |
| JP3986905B2 (ja) | 清浄空気供給システム及びその運転方法 | |
| CN100531866C (zh) | 挥发性有机化合物处理装置 | |
| KR102878749B1 (ko) | 초저습도 유지를 위한 순환형 정화기 | |
| JPH10277355A (ja) | ガス状汚染物質の除去方法及び除去装置 | |
| JP2004141721A (ja) | 清浄空気生成装置及び清浄空気の生成方法 |
Legal Events
| Date | Code | Title | Description |
|---|---|---|---|
| A621 | Written request for application examination |
Free format text: JAPANESE INTERMEDIATE CODE: A621 Effective date: 20060712 |
|
| A977 | Report on retrieval |
Free format text: JAPANESE INTERMEDIATE CODE: A971007 Effective date: 20100428 |
|
| A131 | Notification of reasons for refusal |
Free format text: JAPANESE INTERMEDIATE CODE: A131 Effective date: 20100511 |
|
| A521 | Request for written amendment filed |
Free format text: JAPANESE INTERMEDIATE CODE: A523 Effective date: 20100709 |
|
| A131 | Notification of reasons for refusal |
Free format text: JAPANESE INTERMEDIATE CODE: A131 Effective date: 20101005 |
|
| A521 | Request for written amendment filed |
Free format text: JAPANESE INTERMEDIATE CODE: A523 Effective date: 20101130 |
|
| TRDD | Decision of grant or rejection written | ||
| A01 | Written decision to grant a patent or to grant a registration (utility model) |
Free format text: JAPANESE INTERMEDIATE CODE: A01 Effective date: 20101221 |
|
| A01 | Written decision to grant a patent or to grant a registration (utility model) |
Free format text: JAPANESE INTERMEDIATE CODE: A01 |
|
| A61 | First payment of annual fees (during grant procedure) |
Free format text: JAPANESE INTERMEDIATE CODE: A61 Effective date: 20110107 |
|
| R150 | Certificate of patent or registration of utility model |
Ref document number: 4664459 Country of ref document: JP Free format text: JAPANESE INTERMEDIATE CODE: R150 Free format text: JAPANESE INTERMEDIATE CODE: R150 |
|
| FPAY | Renewal fee payment (event date is renewal date of database) |
Free format text: PAYMENT UNTIL: 20140114 Year of fee payment: 3 |
|
| EXPY | Cancellation because of completion of term |
