JP4656397B2 - 粉体用容器 - Google Patents

粉体用容器 Download PDF

Info

Publication number
JP4656397B2
JP4656397B2 JP2005104758A JP2005104758A JP4656397B2 JP 4656397 B2 JP4656397 B2 JP 4656397B2 JP 2005104758 A JP2005104758 A JP 2005104758A JP 2005104758 A JP2005104758 A JP 2005104758A JP 4656397 B2 JP4656397 B2 JP 4656397B2
Authority
JP
Japan
Prior art keywords
plate
lid
powder
substrate
storage chamber
Prior art date
Legal status (The legal status is an assumption and is not a legal conclusion. Google has not performed a legal analysis and makes no representation as to the accuracy of the status listed.)
Expired - Fee Related
Application number
JP2005104758A
Other languages
English (en)
Other versions
JP2006280620A (ja
Inventor
茂雄 飯塚
Current Assignee (The listed assignees may be inaccurate. Google has not performed a legal analysis and makes no representation or warranty as to the accuracy of the list.)
Yoshino Kogyosho Co Ltd
Original Assignee
Yoshino Kogyosho Co Ltd
Priority date (The priority date is an assumption and is not a legal conclusion. Google has not performed a legal analysis and makes no representation as to the accuracy of the date listed.)
Filing date
Publication date
Application filed by Yoshino Kogyosho Co Ltd filed Critical Yoshino Kogyosho Co Ltd
Priority to JP2005104758A priority Critical patent/JP4656397B2/ja
Publication of JP2006280620A publication Critical patent/JP2006280620A/ja
Application granted granted Critical
Publication of JP4656397B2 publication Critical patent/JP4656397B2/ja
Anticipated expiration legal-status Critical
Expired - Fee Related legal-status Critical Current

Links

Images

Landscapes

  • Medical Preparation Storing Or Oral Administration Devices (AREA)

Description

本発明は粉体用容器に関する。
薬粉の投与方法として、カプセル内に充填された薬粉を吸引式の投与器具により吸入する方法(例えば、特許文献1参照)が提案されており、或いはブリスタパックに収納した薬粉を吸入式投薬器により吸入する方法(例えば、特許文献2参照)が提案されている。
前者は、粉末化された医薬の投与器具であって、粉末化医薬を含有するカプセルを穿孔するための手段を備えたハウジングと、カプセルを収容するのに適し、その内部でカプセルが自由に回転して、粉末化医薬を放出することが可能な、概ね円筒形の収納室と、それを通過して粉末化医薬が収納室から吸引されることができる口金とからなり、前記収納室には、円筒形の側壁の周囲に間隔を置いて、3個の空気インレットが取り付けられている。
また、後者には、膨出部が形成された底板と、該底板の表面側に設けられ前記膨出部を閉塞して薬粉収容部を画成する蓋板とからなり、前記膨出部を貫通して穿設される流入穴と流出穴との間に絞り通路を設けたブリスタパックが示されている。また、このブリスタパックを使用する吸引式投薬器として、投薬器本体のホルダ装着溝に着脱可能にして回転可能に円板状のホルダを装着し、該ホルダの表面に設けた嵌合凹部にブリスタパックを装着する如く構成し、投薬器本体には穴あけ具を押し込み可能に設けており、この穴あけ具により所定位置のブリスタパックを破断する如く構成し、更に、ブリスタパックを破断した破断部分と連通する流入側通気路及び流出側通気路を備え、流出側通気路先端に連通する吸入口から吸引する如く構成したものが示されている。
特表平3−505679号公報 特開2001−161788号公報
上記した従来のカプセル或いはブリスタパックを使用する投与器具或いは吸引式投薬器は、いずれもカプセル或いはブリスタパックを穿孔することにより開封して収納薬粉を吸引する如く構成されている。そのため部分的にしか収納部を開口することが出来ず、また、穿孔した部分の壁部が内部にバリ状に押し込まれてそれらが薬粉の吸引時の障害物となって収納薬粉の吸引効率を低下させる虞れがあり、また、吸引効率を高めるためには吸引時間を長くしなければならないという問題が生じる。
本発明は上記した点に鑑みてなされたもので、短時間で効率の良い粉体の吸引を行える粉体用容器を提案することを目的とするものであり、また、その構造も簡単であり、製造容易で安価に得られる粉体用容器を提案することを目的とするものである。
第1の手段として、頂板41をスライド可能に形成した本体21a と、該本体21a 上面を開閉可能に設けた蓋体21b とで内部に収納室Rを画成し、本体21a 上面を開閉可能な係止板21c を蓋体21b と併設し、収納室R内の粉体を吸口20から吸引する如く構成した吸引式の粉体投与器Bに使用する粉体用容器Aであって、粉体を収納する収納皿部2を凹設した基板3と、収納皿部2の開口部を閉塞して基板3上に剥離可能に固着した蓋板10と、蓋板10の先端部に延設した挟持部eとを備え、引き出した頂板41に凹設された嵌合凹部23に収納皿部2を挿入或いは嵌合させるとともに、蓋板10より起立させた挟持部eを蓋体21b と係止板21c との間に挟持した状態から、本体21a に対して頂板41を押し込むことで、蓋板10が剥離しつつ収納凹部2が収納室R内に移行することを特徴とする。
前記収納皿部2の形状としては種々採用できるが、球面状の凹部形態のものが好ましい。また、基板3及び蓋板10及び帯板部10a は、合成樹脂の単独フィルム又はシート或いは合成樹脂の積層フィルム又はシート或いは合成樹脂と金属との積層フィルム又はシート等により形成することができる。また、基板3に蓋板10を剥離可能に固着する手段としては、融着或いは接着剤,粘着剤による貼着等の適宜手段を採用することができる。
の手段として、前記第1の手段に於いて、前記基板3を積層構造で構成した。
の手段として、前記第1の手段又は第2の手段のいずれか一つの手段に於いて、前記挟持部eが、蓋板10先端部より延設した蓋板延長部10b と、該蓋板延長部10b 裏面に固着した保護板部7とで構成した。
前記基板3を積層構造で構成した場合には、その表面の層を形成する樹脂を適宜選択できるため、蓋板10との剥離性の良い樹脂の選択や、密閉性のよい蓋板10の固着ができる樹脂の選択を行える。
本発明の粉体容器は、頂板41をスライド可能に形成した本体21a と、該本体21a 上面を開閉可能に設けた蓋体21b とで内部に収納室Rを画成し、本体21a 上面を開閉可能な係止板21c を蓋体21b と併設し、収納室R内の粉体を吸口20から吸引する如く構成した吸引式の粉体投与器Bに使用する粉体用容器Aであって、粉体を収納する収納皿部2を凹設した基板3と、収納皿部2の開口部を閉塞して基板3上に剥離可能に固着した蓋板10と、蓋板10の先端部に延設した挟持部eとを備え、引き出した頂板41に凹設された嵌合凹部23に収納皿部2を挿入或いは嵌合させるとともに、蓋板10より起立させた挟持部eを蓋体21b と係止板21c との間に挟持した状態から、本体21a に対して頂板41を押し込むことで、蓋板10が剥離しつつ収納凹部2が収納室R内に移行することを特徴とするものであり、短時間で効率良く収納粉体を使用できる利点がある。また、その粉体投与器への取り付け及び開封も極めて容易であり、取り扱い上も極めて便利となる。また、蓋板10先端部より延設した蓋板延長部10b と、該蓋板延長部10b 裏面に固着した保護板部7とで前記挟持部eを形成すれば、挟持部分が充分な肉厚となり、その固定がより確実に行えて外れる等の不都合をより確実に防止できる。
以下、本発明の実施例の形態を図面を参照して説明する。
図1乃至図3は本発明の粉体用容器Aの一例を示すもので、図4及び図5に一例を示す如き収納室R内の粉体を吸口20から吸引する如く構成した吸引式の粉体投与器Bに使用する。
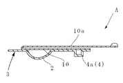
粉体用容器Aは、粉体を収納する収納皿部2を凹設した基板3と、前記収納皿部2の開口部を閉塞して基板3上に剥離可能に固着した蓋板10とを備えている。前記蓋板10の先端に蓋板10を剥離するための帯板部10a を延設している。この帯板部10a は、折り返し状態で、装着した粉体投与器Bの外方へ先端を突出する如く構成している。また、前記収納皿部2を前記収納室R内に収納した状態で粉体投与器に係合させる係合部4を設けている。
図示例では、基板3は縦長矩形状をなし、中央部に半球状の収納皿部2を凹設しており、その後方位置に陥没状態で平面視四角形状の係合部4としての係合凸部4aを突設している。また、蓋板10は、前記収納皿部2の開口部を閉塞して基板3上面に剥離可能に固着させており、その先端に蓋板10と同じ幅の帯板部10a を延設している。また、基板3の上面の先端部を除いた部分に蓋板10を剥離可能に固着させている。そして、図3に示す如く、蓋板10の先端縁より後方へ帯板部10a を折り返した際に基板3後端縁より後方へ所定の長さ突設する如く構成している。ここでいう所定の長さは、前記した粉体投与器Bに装着した際に先端部が引っ張り可能に突出する程度をいう。
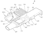
粉体投与器Bは、ケース21と、前記吸口20とを備えている。
ケース21は、本体21a と蓋体21b とで内部に収納室Rを画成するとともに、該収納室Rと外部とを連通する通気路pを備えている。本体21a は、仕切壁22の後面下部より後方へ延設した下端開放の箱型をなしており、頂面の中央部に球面状の嵌合凹部23を凹設し、その後方に四角形状の係止凹部24を凹設している。更に一側面には係止突起25を突設している。
蓋体21b は中空箱型をなすとともに、本体21a の側面上部にヒンジ26を介して側面下部を回動可能に連結して本体21a の上面を開閉可能に設けており、ヒンジ26の反対側には、内面に係合突起27を突設した係合板を突設し、前記係合突起27を前記係止突起25と係脱可能に係合させて閉蓋状態を維持する如く構成している。また、下面の前端縁中央部から後方へ平面視半楕円形状の凹部28を凹設し、該凹部28とその下方の嵌合凹部23を含むケース本体21a 上面とで収納室Rを形成している。また、嵌合凹部23の後部上方に一端を開口して通気路pを設けている。この開口部分は蓋体21b 底面に設けた複数の透孔29として構成しており、通気路pの他端開口部分は蓋体21b の後面に設けた透孔30として構成している。従って、通気路pは透孔30から蓋体21b 内を通り透孔29を介して外部と収納室Rとを連通させている。
吸口20は前記仕切壁22の前面より前方へ突設した筒状をなし、その基端部を収納室R内と連通させている。図示例では仕切壁22に複数の透孔31を設けて連通させている。また、吸口20内中央部に軸線に沿う拡散棒32を設けている。この拡散棒32は前後方向中央部の左右にそれぞれ山型の突部32a を突設して、粉体の流れを拡散する如く構成している。
本件発明の粉体用容器Aをこの吸引式の粉体投与器Bに使用する場合について説明すると、まず、粉体投与器Bの蓋体21b をあけて粉体用容器Aを装着する。粉体用容器Aは、帯板部10a を折り返した状態でその収納皿部2を本体21a の嵌合凹部23に挿入或いは嵌合させるとともに、係合凸部4aを係止凹部24に嵌合させて設置する。次いで蓋体21b を閉じ、その係合突起27を係止突起25に係合させる。この際帯板部10a の先端部はケース21外方に突設している。次に、ケース21から突出した部分の帯板部10a を引っ張ると、固着部分が剥離して蓋板10が基板3から剥がれ、取り除くことができ、その際収納皿部2の上端開口部が開放される。尚、蓋板10はフィルム或いはシート等で形成された薄肉のものであるため、本体21a と蓋体21b との間に隙間がなくても引き出すことは可能であるが、必要であれば、蓋板10を通す小間隙を本体21a 及び/又は蓋体21b を凹ますことにより形成しても良い。次いで、吸口20を口に含んで吸い込めば、外気が通気路pを通り収納室R内に導入されるとともに、収納室R内の粉体を各透孔31を介して吸口20内を通り、吸引することができる。使用後は蓋体21b を開いて残った基板3を取り除く。
図6は他の実施形態を示すもので、本例に於ける粉体用容器Aは、その係止部4の形態が相違するものであり、基板3の前方に係止部4としての一対の係合孔4bを穿設している。その他の構成は基本的に図1の例と同様である。具体的には、後述する粉体投与器の本体21a 頂面に当接載置される大きさの矩形状の基板3を備え、基板3の中央部には半球状の収納皿部2を凹設している。蓋板10は、基板3より横幅が短い縦長矩形状をなしており、収納皿部2の開口部を閉塞して基板3上面の左右方向中央部に、先端部を残して剥離可能に固着させている。また、蓋板10の先端部に折り返し可能に帯板部10a を延設している。
本例の粉体用容器Aを使用する粉体投与器Bの一例として、図7及び図8に示す如き粉体投与器Bが挙げられる。この場合は粉体用容器Aを、その蓋板10が下方を向く如く収納室R内に収納係止させている。本例に於けるケース21も本体21a と蓋体21b とからなり、本体21a は、仕切壁22の裏面下部より後方へ突設した中空箱型で、頂面の中央部には平面視四角形状の粉体溜まり用の凹部33を凹設し、その前部には粉体溜まり用の凹部33と連設して粉体溜まり用の凹部33より浅い平面視台形状の連結凹部34を設けており、この連結凹部34と粉体溜まり用の凹部33及び蓋体21b 内部とで収納室Rを構成している。また、収納室Rは仕切壁22に設けた多数の透孔31を介して吸口20内と連通させている。また、粉体溜まり用の凹部33の後壁部分には通気路pの一端を透孔29として開口しており、この通気路pは各凹部の下方を通り、本体下面先端部に透孔30として他端を開口している。この場合の本体21a は頂面を形成する部分を別部材で構成している。
蓋体21b はヒンジ26を介して開閉可能に本体21a に連結しており、前面及び下面を開放した箱型をなしており、頂壁の中央部には粉体用容器Aの底部が嵌合する上方へ突設する凹み35を設けており、その前部の頂壁裏面からは一対の係止筒36を垂設している。また、吸口20は図4の例と同様に仕切壁22の前面より前方へ突設している。
本例の粉体用容器Aを使用して吸引式の粉体投与器Bを利用する場合について説明すると、まず、粉体投与器Bの蓋体21b をあけて粉体用容器Aを装着する。粉体用容器Aは、例えば、帯板部10a を折り返した状態で、各係合孔4bを蓋体21b の係止筒36の先端部に嵌合し、その底部を前記凹み35に位置させて蓋体21b に装着した後蓋体21b を閉じることにより、蓋板10を下方を向けた状態で装着する。この際、収納皿部2の下方に粉体溜まり用の凹部33が位置する。次に、ケース21から突出した帯板部10a を引っ張ると、固着部分が剥離して蓋板10が基板3から剥がれ、取り除くことができ、その際収納皿部2内の粉体が粉体溜まり用の凹部33内に落下する。次いで、吸口20を口に含んで吸い込めば、外気が通気路pを通り収納室R内に導入されるとともに、収納室R内の粉体を各透孔31及び吸口20を介して吸引することができる。
図9は更に他の実施形態を示すもので、本例に於ける粉体用容器Aは、その係止部4の形態が相違するものであり、基板3の先端部両側に係止部4としての一対の係合突片4cを突設している。その他の構成は基本的に図1の例と同様である。この場合に対応する粉体投与器としては、例えば、図1の粉体投与器Bの本体21a 両側に各係合突部4aが摺動嵌合可能な一対の凹溝を設けて、その先端部分を堅嵌め状態となる如く小縦幅に形成して粉体用容器Aを係止固定する等が挙げられる。
図10は更に他の実施形態を示すもので、基板3を積層構造で形成した例を示す。図示例では、基板3を表面層3a及び下面層3bの二層で構成しており、表面層3aは縦方向の長さを下面層3bより短く形成して下面層3bの先端部が露出する如く積層されている。また、蓋板10を表面層3a上に固着する如く構成している。更に係合部4として係合凸部4aを採用している。この場合には表面層3aに表面円滑性の樹脂を採用したり、或いは蓋板10との剥離性の良い材質を選ぶ等の樹脂の選択を行える。尚、この積層構造は他の係合部4の形態にも採用できる。
図11及び図12は更に他の実施形態を示すもので、粉体投与器に装着する際に挟持させて蓋板10を剥離させるための挟持部eを、蓋板10の先端部に延設した例である。この場合の粉体用容器Aは、基板3に凹設した収納皿部2の開口部を閉塞して剥離可能に蓋板10を固着し、また、先端部には後述する粉体投与器の蓋体と係止板との間に起立状態で挟持させる挟持部eを設けている。図示例に於いて挟持部eは、蓋板10の先端部より延設した蓋板延長部10b と、該蓋板延長部10b 裏面に固着した保護板部7とで構成している。また、保護板部は基板40と薄肉の破断部8で連結している。破断部8の形態は薄肉に限らず細棒状の連結形態であっても、ミシン目形態であっても良く、また、破断部を設けずに独立した保護板部を設けても良い。基板3は縦長矩形状をなし、中央部に半球状の収納皿部2を凹設している。また、蓋板10は収納皿部2の開口部を閉塞して基板3上面に剥離可能に固着させており、蓋板10先端より延設した蓋板延長部10b の下面には略同形状の保護板部7を固着している。尚、挟持部eは、前記した保護板部を設けたものに限らず、単に蓋板延長部10b のみで構成しても良く、或いは、蓋板延長部部分を肉厚に形成したものであっても良い。

本例の粉体用容器Aを使用する粉体投与器Bの一例として、図13乃至図16に示す如き粉体投与器Bが挙げられる。
ケース21は、本体21a 及び該本体21a 上面を開閉可能に設けた蓋体21b とで内部に収納室Rを画成するとともに、該収納室と外部とを連通する通気路pを備えている。また、本体21a は蓋体21b の後方へ延設するとともに、その頂板をスライド可能に形成し、更に、本体21a 上面を開閉可能な係止板を蓋体21b と併設している。図示例に於いて本体21a は、仕切壁22の後面下部より後方へ突設するとともに、底壁の両側よりそれぞれ側壁を立設した形態の半管状の支持壁部40と、該支持壁部上端開口部を閉塞してスライド可能に嵌合させた頂板41とで構成している。頂板41はその周縁部から下方へ垂壁部42を垂設し、後縁の垂壁部は指掛け部43として下方へより長く垂設している。また、垂壁部42の両側先端部に摺動突起44を突設し、該摺動突起44を前記支持壁部40内面両側に凹設した案内溝45に摺動可能に嵌合させている。また、頂板41の前部には球面状の嵌合凹部23を凹設している。更に、一側面に所定間隔離れて形成した一対の凹部内にそれぞれ蓋体用の第1係止突起46及び係止板用の第2係止突起47を突設している。
蓋体21b は中空箱型をなし、本体21a の側面上部に第1ヒンジ48を介して側面下部を回動可能に連結して本体21a の上面を開閉可能に設けており、第1ヒンジ48の反対側には、内面に第1係合突起49を突設した係合板を垂設し、該第1係合突起49を前記第1係止突起46と係脱可能に係合させて閉蓋状態を維持する如く構成している。また、下面の前端縁中央部から後方へ平面視半楕円形状の凹部28を凹設し、該凹部28とその下方の前記嵌合凹部23を含む本体21a 上面とで収納室Rを形成している。また、嵌合凹部23の後部上方に一端を開口して通気路pを設けている。この開口部分は蓋体21b の前記凹部28の後壁面に設けた複数の透孔29として構成しており、通気路pの他端開口部分は蓋体21b の後面に設けた透孔30として構成している。従って通気路pは透孔30から蓋体21b 内を通り透孔29を介して、外部と収納室Rとを連通させている。尚、蓋体21b は下面を形成する部分を別部材で構成している。
係止板21c は蓋体21b の後方の本体21a の側面上部に第2ヒンジ50を介して側面下部を回動可能に連結して本体21a の上面を開閉可能に設けており、第2ヒンジ50の反対側には、内面に第2係合突起51を突設した係合板を垂設し、該第2係合突起51を前記第2係止突起47と係脱可能に係合させて係止状態を維持する如く構成している。係止板21c と蓋体21b との間は粉体用容器Aの端部を挟持できる程度の隙間を設けている。
吸口20は前記仕切壁22の前面より前方へ突設した筒状をなし、その基端部を収納室R内と連通させている。図示例では仕切壁22に複数の透孔31を設けて収納室R内と連通させている。
上記の如く構成した吸引式の粉体投与器Bを使用する場合について説明すると、まず、図14に示す如く、粉体投与器Bの蓋体21b を閉じ、係止板21c を開いた状態で頂板41を後方所定位置まで引き出し、嵌合凹部23に収納皿部2を挿入或いは嵌合させるとともに、挟持部eを起立させて蓋体21b 後面に当接させて粉体用容器Aを装着する。次いで図15に示す如く、係止板21c を閉じてその第2係合突起51を第2係止突起47に係合させるとともに、蓋体21b 後面と係止板21c 前面とで挟持部eを挟持固定する。次に、図16に示す如く、頂板41を押し込んで蓋板10と頂板41前部とで収納室Rを画成する。この際粉体用容器Aの蓋板10は挟持部eが固定されているため頂板41の押し込みに伴って破断部8が切断されるとともに、順次基板3から剥がれて最終的に収納皿部2の開口部を開放する。蓋板10の後端部は剥がれずにそのまま基板3上に固着状態にあり、また、剥がれた部分は固着部分の上に折り返した状態で残存する。次いで、吸口20を口に含んで吸い込めば、外気が通気路pを通り収納室R内に導入されるとともに、収納室R内の粉体を各透孔31及び吸口20内を介して吸引することができる。
本発明粉体用容器の縦断面図である。(実施例1) 本発明粉体用容器の斜視図である。(実施例1) 本発明粉体用容器の斜視図である。(実施例1) 本発明粉体用容器を粉体投与器に装着する際の斜視図である。(実施例1) 本発明粉体用容器を粉体投与器に装着した際の縦断面図である。(実施例1) 本発明粉体用容器の斜視図である。(実施例2) 本発明粉体用容器を粉体投与器に装着する際の平面図である。(実施例2) 本発明粉体用容器を粉体投与器に装着した際の縦断面図である。(実施例2) 本発明粉体用容器の斜視図である。(実施例3) 本発明粉体用容器の斜視図である。(実施例4) 本発明粉体用容器の斜視図である。(実施例5) 本発明粉体用容器の縦断面図である。(実施例5) 本発明粉体用容器を使用する粉体投与器の斜視図である。(実施例5) 本発明粉体用容器を粉体投与器に装着する際の斜視図である。(実施例5) 本発明粉体用容器を粉体投与器に装着する際の斜視図である。(実施例5) 本発明粉体用容器を粉体投与器に装着した際の斜視図である。(実施例5)
符号の説明
2…収納皿部,3…基板,4…係合部,4a…係合凸部,4b…係合孔,10…蓋板,
10a …帯板部,24…係止凹部,36…係止筒,A…粉体用容器,
B…吸引式の粉体投与器,R…収納室,p…挟持部

Claims (3)

  1. 頂板(41)をスライド可能に形成した本体(21a) と、該本体(21a) 上面を開閉可能に設けた蓋体(21b) とで内部に収納室(R) を画成し、本体(21a) 上面を開閉可能な係止板(21c) を蓋体(21b) と併設し、収納室(R) 内の粉体を吸口(20)から吸引する如く構成した吸引式の粉体投与器(B) に使用する粉体用容器(A) であって、粉体を収納する収納皿部(2) を凹設した基板(3) と、収納皿部(2) の開口部を閉塞して基板(3) 上に剥離可能に固着した蓋板(10)と、蓋板(10)の先端部に延設した挟持部(e) とを備え、引き出した頂板(41)に凹設された嵌合凹部(23)に収納皿部(2) を挿入或いは嵌合させるとともに、蓋板(10)より起立させた挟持部(e) を蓋体(21b) と係止板(21c) との間に挟持した状態から、本体(21a) に対して頂板(41)を押し込むことで、蓋板(10)が剥離しつつ収納凹部(2) が収納室(R) 内に移行することを特徴とする粉体用容器。
  2. 前記基板(3) を積層構造で構成してなる請求項1に記載の粉体用容器。
  3. 前記挟持部(e) が、蓋板(10)先端部より延設した蓋板延長部(10b) と、該蓋板延長部(10b) 裏面に固着した保護板部(7) とで構成してなる請求項1又は請求項2のいずれか一項に記載の粉体用容器。
JP2005104758A 2005-03-31 2005-03-31 粉体用容器 Expired - Fee Related JP4656397B2 (ja)

Priority Applications (1)

Application Number Priority Date Filing Date Title
JP2005104758A JP4656397B2 (ja) 2005-03-31 2005-03-31 粉体用容器

Applications Claiming Priority (1)

Application Number Priority Date Filing Date Title
JP2005104758A JP4656397B2 (ja) 2005-03-31 2005-03-31 粉体用容器

Publications (2)

Publication Number Publication Date
JP2006280620A JP2006280620A (ja) 2006-10-19
JP4656397B2 true JP4656397B2 (ja) 2011-03-23

Family

ID=37403135

Family Applications (1)

Application Number Title Priority Date Filing Date
JP2005104758A Expired - Fee Related JP4656397B2 (ja) 2005-03-31 2005-03-31 粉体用容器

Country Status (1)

Country Link
JP (1) JP4656397B2 (ja)

Families Citing this family (27)

* Cited by examiner, † Cited by third party
Publication number Priority date Publication date Assignee Title
US9006175B2 (en) 1999-06-29 2015-04-14 Mannkind Corporation Potentiation of glucose elimination
WO2003080149A2 (en) 2002-03-20 2003-10-02 Mannkind Corporation Inhalation apparatus
ATE486064T1 (de) 2004-08-20 2010-11-15 Mannkind Corp Katalyse der diketopiperazinsynthese
HUE025151T2 (en) 2004-08-23 2016-01-28 Mannkind Corp Diceto-piperazine salts for drug delivery
KR101486397B1 (ko) 2005-09-14 2015-01-28 맨카인드 코포레이션 활성제에 대한 결정질 미립자 표면의 친화력의 증가를 기반으로 하는 약물 제제화의 방법
KR20080096809A (ko) 2006-02-22 2008-11-03 맨카인드 코포레이션 디케토피페라진 및 활성제를 포함하는 마이크로입자의 약학특성의 개선 방법
ES2929343T3 (es) 2008-06-13 2022-11-28 Mannkind Corp Inhalador de polvo seco accionado por aspiración para la administración de fármacos
US8485180B2 (en) 2008-06-13 2013-07-16 Mannkind Corporation Dry powder drug delivery system
MX2010014240A (es) 2008-06-20 2011-03-25 Mankind Corp Un metodo y aparato interactivo para perfilar en tiempo real esfuerzos de inhalacion.
TWI494123B (zh) 2008-08-11 2015-08-01 Mannkind Corp 超快起作用胰島素之用途
US8314106B2 (en) 2008-12-29 2012-11-20 Mannkind Corporation Substituted diketopiperazine analogs for use as drug delivery agents
WO2010105094A1 (en) 2009-03-11 2010-09-16 Mannkind Corporation Apparatus, system and method for measuring resistance of an inhaler
MY157166A (en) 2009-06-12 2016-05-13 Mankind Corp Diketopiperazine microparticles with defined specific surface areas
WO2011056889A1 (en) 2009-11-03 2011-05-12 Mannkind Corporation An apparatus and method for simulating inhalation efforts
BR112012033060A2 (pt) 2010-06-21 2018-02-27 Mannkind Corp métodos de sistema de liberação de fármaco em pó seco
AU2012236150B2 (en) 2011-04-01 2016-03-31 Mannkind Corporation Blister package for pharmaceutical cartridges
WO2012174472A1 (en) 2011-06-17 2012-12-20 Mannkind Corporation High capacity diketopiperazine microparticles
BR112014009686A2 (pt) 2011-10-24 2018-08-07 Mannkind Corp composição analgésica inalável, pó seco e método para tratar dor
DK2790758T3 (da) * 2011-12-16 2017-11-20 Indosys Ltd Kassette til en lægemiddeldosis og tilførselsindretning
AU2013289957B2 (en) 2012-07-12 2017-02-23 Mannkind Corporation Dry powder drug delivery systems and methods
WO2014066856A1 (en) 2012-10-26 2014-05-01 Mannkind Corporation Inhalable influenza vaccine compositions and methods
KR102246914B1 (ko) 2013-03-15 2021-04-30 맨카인드 코포레이션 미세결정성 디케토피페라진 조성물 및 방법
CN114848614A (zh) 2013-07-18 2022-08-05 曼金德公司 热稳定性干粉药物组合物和方法
EP3030294B1 (en) 2013-08-05 2020-10-07 MannKind Corporation Insufflation apparatus
US10307464B2 (en) 2014-03-28 2019-06-04 Mannkind Corporation Use of ultrarapid acting insulin
US10561806B2 (en) 2014-10-02 2020-02-18 Mannkind Corporation Mouthpiece cover for an inhaler
ES2955977T3 (es) 2017-09-19 2023-12-11 Iconovo Ab Inhalador de polvo seco que comprende una carcasa con una primera parte de carcasa y una segunda parte de carcasa

Family Cites Families (4)

* Cited by examiner, † Cited by third party
Publication number Priority date Publication date Assignee Title
EP0662918A1 (en) * 1992-09-30 1995-07-19 R.P. Scherer Corporation Stepped-edge blister pack and use of steps
SE9502800D0 (sv) * 1995-08-10 1995-08-10 Astra Ab Disposable inhaler
JP2001046469A (ja) * 1999-08-11 2001-02-20 Takeda Chem Ind Ltd ブリスター包装体
GR1004350B (el) * 2002-03-29 2003-09-26 Συσκευη εισπνοων ξηρης σκονης

Also Published As

Publication number Publication date
JP2006280620A (ja) 2006-10-19

Similar Documents

Publication Publication Date Title
JP4656397B2 (ja) 粉体用容器
CN102905992B (zh) 钮扣电池分配封装件
SI9620082A (sl) Inhalator za uporabo v blisterje pakiranih zdravil
JP4875157B2 (ja) 鍼灸針の包装容器
EP2873627A1 (en) Pouch container
JP6765385B2 (ja) 補聴器用電池パッケージ
CN102026678A (zh) 用于包含在单独包装中的粉末状物质的分配器
BRPI0609319A2 (pt) embalagem de lentes oftálmicas com elemento de drenagem interno
JP2008535002A (ja) 眼科用レンズパッケージ
CN105050468A (zh) 分配系统
JP7319176B2 (ja) 薬剤揮発具
US20070062843A1 (en) Face mask packaging, dispensing system, and method
JP2012516725A (ja) 薬剤ウェハを格納して提供するデバイス及び使用法
KR20170017715A (ko) 샌드위치 포장용 봉지
US6640995B2 (en) Contact lens dispensing system
JP4475530B2 (ja) 吸引式の粉体投与器
JP4317612B2 (ja) 歯間ブラシ収容ケース
KR20070110131A (ko) 콘택트 렌즈 패키지
WO2008063037A1 (en) The opening of beverage vessel with stopper
JP3828698B2 (ja) ブリスタパック
JP4711286B2 (ja) 吸引式の粉体投与器
JP2006347550A (ja) 板状体振り出し容器
US6571956B2 (en) Ear piercing cartridge and clutch holder kit
JP3173266U (ja) 錠剤、カプセル剤取出し器
JP2009102039A (ja) ディスペンスケース

Legal Events

Date Code Title Description
A621 Written request for application examination

Free format text: JAPANESE INTERMEDIATE CODE: A621

Effective date: 20070927

A131 Notification of reasons for refusal

Free format text: JAPANESE INTERMEDIATE CODE: A131

Effective date: 20091224

A977 Report on retrieval

Free format text: JAPANESE INTERMEDIATE CODE: A971007

Effective date: 20091224

A521 Request for written amendment filed

Free format text: JAPANESE INTERMEDIATE CODE: A523

Effective date: 20100218

A131 Notification of reasons for refusal

Free format text: JAPANESE INTERMEDIATE CODE: A131

Effective date: 20100317

A521 Request for written amendment filed

Free format text: JAPANESE INTERMEDIATE CODE: A523

Effective date: 20100517

TRDD Decision of grant or rejection written
A01 Written decision to grant a patent or to grant a registration (utility model)

Free format text: JAPANESE INTERMEDIATE CODE: A01

Effective date: 20101215

A01 Written decision to grant a patent or to grant a registration (utility model)

Free format text: JAPANESE INTERMEDIATE CODE: A01

A61 First payment of annual fees (during grant procedure)

Free format text: JAPANESE INTERMEDIATE CODE: A61

Effective date: 20101215

FPAY Renewal fee payment (event date is renewal date of database)

Free format text: PAYMENT UNTIL: 20140107

Year of fee payment: 3

R150 Certificate of patent or registration of utility model

Free format text: JAPANESE INTERMEDIATE CODE: R150

Ref document number: 4656397

Country of ref document: JP

Free format text: JAPANESE INTERMEDIATE CODE: R150

LAPS Cancellation because of no payment of annual fees