JP4647385B2 - 画像形成装置 - Google Patents

画像形成装置 Download PDF

Info

Publication number
JP4647385B2
JP4647385B2 JP2005131430A JP2005131430A JP4647385B2 JP 4647385 B2 JP4647385 B2 JP 4647385B2 JP 2005131430 A JP2005131430 A JP 2005131430A JP 2005131430 A JP2005131430 A JP 2005131430A JP 4647385 B2 JP4647385 B2 JP 4647385B2
Authority
JP
Japan
Prior art keywords
toner
developing
control valve
communication port
developing unit
Prior art date
Legal status (The legal status is an assumption and is not a legal conclusion. Google has not performed a legal analysis and makes no representation as to the accuracy of the status listed.)
Expired - Fee Related
Application number
JP2005131430A
Other languages
English (en)
Other versions
JP2006308871A (ja
Inventor
修一 遠藤
Current Assignee (The listed assignees may be inaccurate. Google has not performed a legal analysis and makes no representation or warranty as to the accuracy of the list.)
Ricoh Co Ltd
Original Assignee
Ricoh Co Ltd
Priority date (The priority date is an assumption and is not a legal conclusion. Google has not performed a legal analysis and makes no representation as to the accuracy of the date listed.)
Filing date
Publication date
Application filed by Ricoh Co Ltd filed Critical Ricoh Co Ltd
Priority to JP2005131430A priority Critical patent/JP4647385B2/ja
Priority to US11/411,033 priority patent/US7483658B2/en
Priority to CNB2006100771372A priority patent/CN100445887C/zh
Publication of JP2006308871A publication Critical patent/JP2006308871A/ja
Application granted granted Critical
Publication of JP4647385B2 publication Critical patent/JP4647385B2/ja
Anticipated expiration legal-status Critical
Expired - Fee Related legal-status Critical Current

Links

Images

Classifications

    • GPHYSICS
    • G03PHOTOGRAPHY; CINEMATOGRAPHY; ANALOGOUS TECHNIQUES USING WAVES OTHER THAN OPTICAL WAVES; ELECTROGRAPHY; HOLOGRAPHY
    • G03GELECTROGRAPHY; ELECTROPHOTOGRAPHY; MAGNETOGRAPHY
    • G03G15/00Apparatus for electrographic processes using a charge pattern
    • G03G15/06Apparatus for electrographic processes using a charge pattern for developing
    • G03G15/08Apparatus for electrographic processes using a charge pattern for developing using a solid developer, e.g. powder developer
    • G03G15/0822Arrangements for preparing, mixing, supplying or dispensing developer
    • G03G15/0887Arrangements for conveying and conditioning developer in the developing unit, e.g. agitating, removing impurities or humidity
    • G03G15/0891Arrangements for conveying and conditioning developer in the developing unit, e.g. agitating, removing impurities or humidity for conveying or circulating developer, e.g. augers
    • GPHYSICS
    • G03PHOTOGRAPHY; CINEMATOGRAPHY; ANALOGOUS TECHNIQUES USING WAVES OTHER THAN OPTICAL WAVES; ELECTROGRAPHY; HOLOGRAPHY
    • G03GELECTROGRAPHY; ELECTROPHOTOGRAPHY; MAGNETOGRAPHY
    • G03G15/00Apparatus for electrographic processes using a charge pattern
    • G03G15/06Apparatus for electrographic processes using a charge pattern for developing
    • G03G15/08Apparatus for electrographic processes using a charge pattern for developing using a solid developer, e.g. powder developer
    • G03G15/0822Arrangements for preparing, mixing, supplying or dispensing developer
    • G03G15/0865Arrangements for supplying new developer
    • G03G15/0875Arrangements for supplying new developer cartridges having a box like shape
    • GPHYSICS
    • G03PHOTOGRAPHY; CINEMATOGRAPHY; ANALOGOUS TECHNIQUES USING WAVES OTHER THAN OPTICAL WAVES; ELECTROGRAPHY; HOLOGRAPHY
    • G03GELECTROGRAPHY; ELECTROPHOTOGRAPHY; MAGNETOGRAPHY
    • G03G15/00Apparatus for electrographic processes using a charge pattern
    • G03G15/06Apparatus for electrographic processes using a charge pattern for developing
    • G03G15/08Apparatus for electrographic processes using a charge pattern for developing using a solid developer, e.g. powder developer
    • G03G15/0822Arrangements for preparing, mixing, supplying or dispensing developer
    • G03G15/0877Arrangements for metering and dispensing developer from a developer cartridge into the development unit
    • GPHYSICS
    • G03PHOTOGRAPHY; CINEMATOGRAPHY; ANALOGOUS TECHNIQUES USING WAVES OTHER THAN OPTICAL WAVES; ELECTROGRAPHY; HOLOGRAPHY
    • G03GELECTROGRAPHY; ELECTROPHOTOGRAPHY; MAGNETOGRAPHY
    • G03G15/00Apparatus for electrographic processes using a charge pattern
    • G03G15/06Apparatus for electrographic processes using a charge pattern for developing
    • G03G15/08Apparatus for electrographic processes using a charge pattern for developing using a solid developer, e.g. powder developer
    • G03G15/0822Arrangements for preparing, mixing, supplying or dispensing developer
    • G03G15/0877Arrangements for metering and dispensing developer from a developer cartridge into the development unit
    • G03G15/0881Sealing of developer cartridges
    • G03G15/0886Sealing of developer cartridges by mechanical means, e.g. shutter, plug
    • GPHYSICS
    • G03PHOTOGRAPHY; CINEMATOGRAPHY; ANALOGOUS TECHNIQUES USING WAVES OTHER THAN OPTICAL WAVES; ELECTROGRAPHY; HOLOGRAPHY
    • G03GELECTROGRAPHY; ELECTROPHOTOGRAPHY; MAGNETOGRAPHY
    • G03G2215/00Apparatus for electrophotographic processes
    • G03G2215/08Details of powder developing device not concerning the development directly
    • G03G2215/0802Arrangements for agitating or circulating developer material
    • G03G2215/0816Agitator type
    • G03G2215/0819Agitator type two or more agitators
    • G03G2215/0822Agitator type two or more agitators with wall or blade between agitators

Landscapes

  • Physics & Mathematics (AREA)
  • General Physics & Mathematics (AREA)
  • Dry Development In Electrophotography (AREA)

Description

本発明は、複写機、ファクシミリ、プリンター等の静電複写プロセスによる画像形成に用いられる現像装置内のトナーの流動性を改善する画像形成装置に関するものである。
近年、オフィスにおけるOA化、カラー化が一段と進み、従来の文字のみからなる原稿の複写だけではなく、パーソナルコンピュータで作成したグラフ等を含む原稿をプリンターにて出力し、プレゼンテーション用の資料等として多数枚複写する機会が増している。プリンター出力画像は、ベタ画像、ライン画像、ハーフトーン画像が多く、それにともない画像品質に求められる市場の要求が変化しつつあり、また、高信頼性等の要求も更に高まっている。
電子写真、静電記録、静電印刷等の電子写真方式に使用される現像剤は、その現像工程において、例えば、静電潜像が形成されている像担持体(代表的には感光体)に一旦付着され、次に転写工程において感光体から転写紙等の転写媒体に転写された後、定着工程において紙面に定着される。その際、像担持体上に形成される静電潜像を現像するための現像剤としては、キャリアとトナーから成る二成分系現像剤及び、キャリアを必要としないでトナーのみからなる一成分系現像剤(磁性トナー、非磁性トナー)が知られている。二成分系現像剤は、トナー粒子がキャリア表面に付着することにより現像剤が劣化し、また、トナーのみが消費されるため現像剤中のトナー濃度が低下するので、キャリアとトナーとの混合比を一定割合に保持しなければならず、そのため現像装置が大型化するといった欠点がある。一方、一成分系現像剤は、装置の小型化が可能等の利点を有しており、あらゆる環境下(低温低湿、高温高湿)での使用が容易であるなどの理由から現像方式の主流になりつつある。
ところで、一成分系現像剤は、磁性トナーを用いる磁性一成分現像剤と、非磁性トナーを用いる非磁性一成分現像剤とに分類される。磁性一成分現像剤を用いる磁性一成分現像方式は、内部にマグネットなどの磁界発生手段を設けた現像スリーブを用いて、マグネタイトなどの磁性体を含有する磁性トナーを保持し、層厚規制部材により、薄層化し現像するもので、近年小型プリンターなどで多数実用化されている。これに対して、非磁性一成分剤を用いる非磁性一成分現像方式は、トナーが磁気力を持たないため、現像スリーブにトナー補給ローラなどを圧接して現像スリーブ上にトナーを供給し、静電気的に保持させ、層厚規制部材により、薄層化して現像するものであり、有色の磁性体を含有しないためカラー化に対応できるという利点があり、また現像スリーブにマグネットを用いないため、装置のより軽量化、低コスト化が可能となり、近年小型フルカラープリンター等で実用化されている。
しかしながら、一成分現像方式では、未だ改善すべき課題が多いのが現状である。二成分現像方式では、トナーの帯電、搬送手段としてキャリアを用い、トナーとキャリアは現像装置内部において十分撹拌、混合された後現像スリーブに搬送され現像に供されるため比較的長時間の使用においても安定した帯電、搬送を持続することが可能であり、また、高速の現像装置にも対応しやすい。これに比べ、一成分現像方式ではキャリアのような安定した帯電、搬送手段がないため、長時間使用や高速化による帯電、搬送不良が起こりやすい。
特に、非一成分現像方式は現像スリーブ上へトナーを搬送した後、層厚規制部材にてトナーを薄層化させて現像するが、トナーと現像スリーブ又は層厚規制部材などの摩擦帯電部材との接触・摩擦帯電時間が非常に短いため、キャリアを用いた二成分現像方式より低帯電、逆帯電トナーが多くなりやすい。また、少なくとも1つのトナー搬送部材によってトナーを搬送し、かつ、搬送されたトナーによって像担持体に形成された静電潜像を現像する手段が採られているが、その際、トナー搬送部材表面のトナーの層厚は極力薄くしなければならない。このために、層厚規制部材による押圧力を受けるために、トナー表面に外添された外添剤のトナー内部への埋没が激しく、トナーの帯電性、流動性が大きく低下するという不具合がある。
この不具合を解消するために、例えば、特許文献1では、トナ補給タンクとトナーホッパとの補給口近傍位置に補給ローラとしてのマグネットロラと、穂切り手段としてのスクレーパとを有したものにおいて、上記補給ロラを正転及び逆転させることができる補給ロラ駆動手段を有し、該補給ローラ駆動手段は、所定時間内の補給ロラの正転方向の回転角Aと、逆転方向の回転角Bとの関係が、A<Bとなるように補給ローラを駆動する画像形成装置が開示されている。これによって、ホッパー内のトナーの流動性の悪化を防止することができ、現像ローラに対するトナー供給量を常に一定することができ、小型で、かつ画像かすれのない画像装置にすることができる。
また、特許文献2では、現像スリーブは、表面に現像剤の帯電極性と同極性の帯電極性を有する導電性樹脂層が備えられ、導電性樹脂層は、少なくとも結着樹脂、導電性微粉末、及び荷電制御剤を含有し、撹拌部材の回転中心Xが、現像スリーブの回転中心を横切る水平面Hに対して下側に位置する現像装置が開示されている。
特開平08−122559号公報 特開2005−062215号公報
しかし、上述に開示された技術では、現像装置内にある非磁性一成分系現像剤のトナーの帯電性、流動性を長期にわたって安定化させることは困難であり、さらに画像形成装置が静置状態等にあるとき、トナー層から空気が抜けてトナー粒子同士の凝集力でトナーが動き辛くなるという問題点があった。
そこで、本発明は上記問題点に鑑みてなされたものであり、その課題は、画像形成装置が静置状態等にあることで悪くなったトナーの流動性を速やかに回復し、トナーカートリッジと現像ユニットとの往来をさらに効率よく行わせ、トナーの流動性の低下を抑える画像形成装置を提供することである。
上記課題を解決する手段である本発明の特徴を以下に挙げる。
1.本発明の画像形成装置は、潜像を担持する像担持体と、像担持体表面に形成された静電潜像を可視像化する現像ユニットと、現像ユニットにトナーを補給するするトナーカートリッジとを横方向に配列し、トナーカートリッジを自在に着脱できる現像装置と、を備える画像形成装置において、前記現像装置は、前記現像ユニットと前記トナーカートリッジとの間で現像剤を通過させる連通口を有し、該連通口を介して、トナーカートリッジから現像ユニットへ現像剤を供給するとともに、現像ユニットからトナーカートリッジへ現像剤を排出するものであって、前記現像装置を所定時間、前記連通口を介したトナーの供給・排出方向と同方向に1m/s上かつ10m/s 以下の加速度で移動させることを特徴とする。
2.また、本発明の画像形成装置は、さらに、前記現像装置の加速度運動を、少なくとも現像動作の事前に行わせることを特徴とする。
3.また、本発明の画像形成装置は、さらに、前記現像装置の加速度運動を、加速、減速を1組にして、少なくとも1回以上行わせることを特徴とする。
4.また、本発明の画像形成装置は、さらに、前記現像ユニットは、前記トナーカートリッジから補給された現像剤を前記現像剤担持体に供給する搬送パドルと、前記連通口に対応して設けられた制御弁とを備え、該制御弁は、支持部と弾性体の動作部とからなり、前記制御弁は前記連通口の現像ユニット側であって、回転する前記搬送パドルが前記制御弁の動作部に当たるように支持されており、前記搬送パドルが前記制御弁の動作部に当たっておらず、前記制御弁が開放された状態から、前記搬送パドルを回転させて前記制御弁の動作部に当て、前記制御弁の動作部を前記連通口に向けて押すことによって、前記連通口を介して、前記現像ユニットから前記トナーカートリッジへ現像剤を排出することを特徴とする。
上記解決するための手段によって、本発明の画像形成装置では、画像形成装置が静置状態にあることで悪くなったトナーの流動性を速やかに回復し、トナーカートリッジと現像ユニットとの往来をさらに効率よく行わせ、トナーの流動性の低下を抑えることができ、長期にわたって濃度の高い画像を安定して得ることができる。
以下に、本発明を実施するための最良の形態を図面に基づいて説明する。なお、いわゆる当業者は特許請求の範囲内における本発明を変更・修正をして他の実施形態をなすことは容易であり、これらの変更・修正はこの特許請求の範囲に含まれるものであり、以下の説明はこの発明における最良の形態の例であって、この特許請求の範囲を限定するものではない。
図1は、本発明の現像装置の構成を示す概略図である。
現像装置30は、像担持体である感光体11の潜像を現像剤であるトナーで現像する現像ユニット31と現像ユニット31にトナーを補給するトナーカートリッジ32とを備える。
現像装置30は、本体左側に上からK(黒)Y(黄)C(シアン)M(マゼンタ)の順で4色配置(作像順はK、M、C、Y)されており、現像装置30の脱着は左カバーを開いて行う。
トナーカートリッジ32は現像装置30の内部にセットされ,現像装置30を取り出すといっしょに取り出される。なお、通常のトナー交換は、本体前カバーを開いてさらにドアを開き、トナーカートリッジ32のみの交換を実施する。また、トナーカートリッジ32にはIDチップ39が取り付けられており、トナーカートリッジ32の情報が蓄えられており、トナー残量検知や新品検知に使用している。
現像ユニット31は、感光体11に対向していて、感光体11との間に形成される現像領域にトナーを搬送する現像剤担持体である現像スリーブ31aと、現像スリーブ31a上にトナーを供給する供給ローラ31bと、現像スリーブ31a上のトナー量を規制する層厚規制部材である規制ローラ31cと、現像ホッパー31h内のトナーを搬送する第1搬送パドル31dとを備える。
トナーカートリッジ32は、トナーを収納している第1及び第2収納室321、322と、現像ユニット31へトナーを搬送する第2及び第3搬送パドル32a、32bと、また、第2搬送パドル32aが回転している部分のトナーカートリッジ32の底部には突き出たリブ35を備えている。
ここで、現像剤としては、一成分現像剤を用いる。後述するように現像剤を入れ替えることに対して、二成分現像剤では一旦混合した後にキャリアからトナーを分離するのは非常に困難である。一成分現像剤であればトナーカートリッジ32と現像ユニット31内にある現像剤は基本的には同じで、入れ替えすることが可能であり、本発明の現像装置30に適用させることができる。特に、一成分現像剤でも非磁性一成分現像剤を用いることが好ましい。非磁性一成分現像剤では、トナー表面の外添剤が、トナーの帯電性、流動性に与える影響が大きい。磁性一成分現像剤では、磁性材料の量による磁化の強さで現像性を制御することができる。非磁性一成分現像剤では、外添剤による帯電量、流動性によって現像性が大きく影響されることから、本発明の現像装置30に用いることで、安定したトナー表面状態を得ることができる。
また、この現像装置30は、現像ユニット31とトナーカートリッジ32とを水平方向の横方向に並列させて配置している。さらに、トナーカートリッジ32と現像ユニット31とには、トナーカートリッジ32と現像ユニット31との間をトナーが通過する連通口33が設けられている。さらに、現像ユニット31側の連通口33に制御弁34が設けられている。
本発明の現像装置30は、この連通口33を介してトナーを通過させる。これによって、現像ユニット31で消費されたトナーをトナーカートリッジ32から現像ユニット31へ補給し、また、この連通口33を介して、現像ユニット31で劣化したトナーを現像ユニット31からトナーカートリッジ32へ排出する。また、このトナーカートリッジ32は、現像ユニット31とは別に単独で独立して交換することが可能である。
トナーは、現像ユニット31におけるトナー供給ローラ31b、規制ローラ31cで押圧力を受ける。この押圧力を受けることで、トナー表面の凸凹が欠けて表面が滑らかになり、感光体11との付着力が大きくなりクリーニングされにくくなる。そのために、環境が低湿になるとクリーニング不良が発生することがある。また、転写性は向上するが、従来転写されても目視上表れなかった白地背景部にカブリが表れるようになる。また、トナーが押圧を受けることで、トナー表面に存在する外添剤がトナー内部に埋没する。これは、後で外添剤に関しては詳説するが、外添剤はトナーより硬度が高いために、トナー内部に埋没する。トナー表面に存在する外添剤が少なくなることで、トナーの帯電性が変わる。特に、外添剤として用いるシリカは、比表面積が大きいので帯電量が高く埋没によるトナー表面の外添剤量によってトナーの帯電量は大きく変化する。また、もう一つの影響として、外添剤埋没によってトナーの流動性が低下する。この流動性は、トナーの付着力を示すもので、流動性が高ければ、トナーと例えば感光体等との間の付着力を小さくする。同様に、現像スリーブ31aとトナーとの間の付着力を小さくして現像性を高める。逆に、埋没でトナー表面に存在する外添剤量が少なくなると、即ち、トナーの流動性が低下し、現像性が低下する。
現像装置30では、現像ユニット31で消費されたトナーをトナーカートリッジ32から現像ユニット31へトナーを補給する連通口33を介して、現像ユニット31にあるトナーをいったんトナーカートリッジ32に排出して戻して、トナーカートリッジ32にある劣化していないトナーと混合して、劣化したトナー量の存在比率を低下させた上で再度現像ユニット31に連通口33を介して供給して補給する。
図2は、現像装置における現像ユニット31に配置される制御弁34の構造を示す概略図である。制御弁34は、現像ユニット31の連通口33に対応して設けられ、制御弁34を支持部34aに貼着されていて、筐体に配置されている。制御弁34の形態は、図2に示すように、各連通口33に対応して矩形状にして連通口33がない部分は制御弁34を設けず交互にする。支持部34aは、剛性を有する金属製でSUS、Cu、Alを用いる。制御弁34は、弾性のある樹脂フィルム34bで、ポリプロピレン、ポリエチレン、ポリエステル樹脂、フッ素樹脂を用いる。
現像ユニット31の第1搬送パドル31dは、パドル用フィルムを備える。このフィルムは、1枚であっても、複数枚設けてもよい。第1搬送パドル31dは、回転してトナーカートリッジ32側から供給されたトナーを現像スリーブ31aに供給する。また、このフィルムは、板状であってもよい。また、連通口33に対応して設けられた櫛歯状の矩形状の制御弁34に対して、同様に制御弁34に当たる部分をのみを矩形形状にしたものであってもよい。また、複数枚設けるときはこれらを組み合わせて用いてもよい。
図3は、トナーカートリッジ32側から現像ユニット31にトナーが供給される状態を模式的に説明するための図である。第1搬送パドル31dは、回転して制御弁34に当たり、制御弁34が押さえられる。その後、第1搬送パドル31dが通過して、弾性を有する制御弁34が素早く弾かれて戻り、そのときに同時に、トナーカートリッジ32側から押し込まれていたトナーが連通口33を介して現像ユニット31側に引きつけられて、トナーが供給される。
図4は、トナーカートリッジ32側のトナーが供給される状態を模式的に説明するための図である。このトナーカートリッジ32には、第2収納室322の第3搬送パドルで第1収納室321に搬送して、さらに、第2搬送パドルで現像ユニット31側に搬送する。第2搬送パドルは、単数のパドル用フィルムを備えていて、このフィルムを回転させることでトナーを現像ユニット31側に搬送する。さらに、第1収納室321にリブ35を設けておくことで、図4に示すように、先のパドル用フィルムがリブ35に当たると、リブ35の部分でトナーが堰き止められ、リブ35とパドル用フィルムとの間にトナーの無い空間が形成される。この空間は、流動性のよいトナーの侵入によって少しずつ埋められていくが、ある一定時間はトナー内部に空間が形成される。さらに、パドル用フィルムが回転すると上部からもトナーが空間に侵入するために、トナー内部に空間のない状態になる。
この状態で回転してゆくとパドル用フィルムは、トナーを現像ユニット31側に押し込む状態になっている時と、現像ユニット31の制御弁34が第1搬送パドル31dのパドル用フィルムに押さえられていなくて制御弁34が開放されている時(定位置にあるとき)と重なることでトナーは、連通口33を通してトナーカートリッジ32側から現像ユニット31側に移動して供給される。
次に、開放された制御弁34には現像ユニット31にあるトナーが入り込んでくる。その後、第1搬送パドル31dのパドル用フィルムが回転して制御弁34を押し込むトナーを現像ユニット31側からトナーカートリッジ32側に押し込んでいる時と第1収納室321で第2搬送パドルのパドル用フィルムによってトナー内部に空間ができ、その空間がちょうど連通口33にかかった時が重なることでトナーは、連通口33を通して現像ユニット31側からトナーカートリッジ32側に移動して排出される。
このときの現像装置30における現像ユニット31とトナーカートリッジ32との第1、第2及び第3搬送パドルの動きとトナーの移動についてさらに詳細に説明する。
図5は、現像ユニット31とトナーカートリッジ32との間におけるトナーの移動について模式的に示した図である。なお、ここでは、現像ユニット31内の現像スリーブ31a等は省略してある。
現像装置30では、図5(1)に示すように、現像ユニット31内にある制御弁34は、連通口33が設けられた壁面に対して所定の角度θを有している。第1搬送パドル31dは複数のパドル用フィルムを回転させている。また、トナーカートリッジ32内の第2及び第3搬送パドルは、単数のパドル用フィルムを回転させている。図5(2)に示すように、現像ユニット31内で、第1搬送パドル31dは複数のパドル用フィルムが制御弁34を押し込み、このときに、制御弁34と連通口33との間にあるトナーは、トナーカートリッジ32側もトナーで満たされていることで、連通口33を移動することができず、現像ユニット31内の制御弁34から横方向で、現像ユニット31内に戻る。次に、図5(3)に示すように、第1搬送パドル31dは複数のパドル用フィルムが制御弁34をさらに押し込み、制御弁34と連通口33との間にはほとんど隙間がない状態(作動位置)になる。次に、図5(4)及び図5(5)に示すように、第1搬送パドル31dは複数のパドル用フィルムが制御弁34からはずれることで、制御弁34が元の角度(定位置)まで戻り、このときに、大きな隙間ができ、空間を形成することでトナーカートリッジ32側から連通口33を通してトナーが移動して供給される。
さらに、図5(6)に示すように、複数枚有することで第1搬送パドル31dのパドル用フィルムが、再度制御弁34を押し込んでいく。このときに、トナーカートリッジ32内の第2収納室322で第2搬送パドルのパドル用フィルムがリブ35に当たっている。さらに回転すると、図5(7)に示すように、第1搬送パドル31dのパドル用フィルムが制御弁34をさらに押し込み、制御弁34と連通口33で隙間のない状態を形成してゆく。このときに、第2搬送パドルのパドル用フィルムがリブ35から先に回転したときにリブ35が障害になってトナーが搬送されないために、トナー内部に空間を形成する。さらに、図5(8)及び図5(9)に示すように、第1搬送パドル31dは複数のパドル用フィルムが制御弁34からはずれることで、制御弁34が元の角度まで戻り、このときに、大きな隙間ができ空間を形成することで、さらに、第2搬送パドルのパドル用フィルムによって持ち上げられたトナーが、トナーカートリッジ32側から連通口33を通してトナーが移動して供給される。
しかし、次に、図5(10)に示すように、複数枚有することで第1搬送パドル31dのパドル用フィルムが、再度制御弁34を押し込んでいく。これまでは、トナーカートリッジ32側の連通口33付近にはトナーがあったが、トナー内部に形成された空間が存在する場合は、現像ユニット31内の制御弁34から横方向で、現像ユニット31内に戻るのではなく、連通口33を通して現像ユニット31側からトナーカートリッジ32側に移動して排出される。図5(11)及び図5(12)に示すように、第1搬送パドル31dのパドル用フィルムが、再度制御弁34を押し込んでいくことで、さらに、現像ユニット31側からトナーカートリッジ32側に移動して排出される。
さらに、第1搬送パドル31dの回転スピードを第2搬送パドルより早くすることで、図5(13)から図5(16)に示すように、現像ユニット31側からトナーカートリッジ32側に移動して排出させることができる。
これを繰り返すことで、現像ユニット31とトナーカートリッジ32との間で連通口33を通してトナーを移動させることができる。
ここでは、現像ユニット31内の第1搬送パドル31dとトナーカートリッジ32内の第2搬送パドルの回転数を制御することでトナーの移動による供給・排出の量を調整することができる。特に、現像ユニット31内の第1搬送パドル31dの回転数をトナーカートリッジ32内の第2搬送パドルよりも早くすることで、トナー内部に形成される空間が連通口33に接する回数を少なくして、第1搬送パドル31dが制御弁34を押し込む回数を多くすることで、連通口33を通してトナーを供給させる回数を多くすることができる。
また、トナーの移動による供給・排出の量は、連通口33の数によって調整することができ、したがって、連通口33は、1以上設けることができる。この連通口33は、画像形成装置本体の画像形成する速度によって適宜数を決定する。
また、連通口33に対応して設けられる制御弁34は、櫛の歯状に設け、隣り合う制御弁34を交互に動作させることができる。これは、第1搬送パドル31dのパドル用フィルムを櫛の歯状の制御弁34に対応させて櫛の歯状に1つおきに設け、それを2数のパドル用フィルムですべての制御弁34に対応させて制御弁34を交互に動作させることができる。交互に動作させることで、現像ユニット31内のトナーのデッドスペースを形成することなく、均等に排出させることができる。
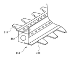
図6は、本発明に係る第1搬送パドルを示す図である。本発明に好適に用いる第1搬送パドルの斜視図である。
第1搬送パドル31dは、断面4角形の軸にフィルム311、312が取りつけられており、そのうち2枚は対向する面に、それぞれ逆方向に伸びている。この対向するフィルム311は凹凸形状(櫛歯状)であり、2枚の凸部をずらすような形状である。このようにすることで隣り合う制御弁34を交互に駆動させることが可能になる。この凹凸部は連通口33の位置に対応しており、連通口33に設けた制御弁34をフィルムの凸部が押し込める長さとし、また凹部においては制御弁34に接触しないような形状とする。
さらに、フィルムの凸部の根元部分は、先端部分よりも広くなるよう「ハの字型」にしてあり、第1搬送パドル31dが回転することによって、フィルムの凸部でトナーを横方向にも移動させる力を発生させ、現像ユニット31内の横方向の攪拌を生じさせている。
また、上述したように、第1搬送パドル31dの回転で、フィルムの凸部が上記制御弁34を押して、制御弁34下のトナーをトナーカートリッジ32側に戻す作用をする。
第1搬送パドル31dは、第2搬送パドル32aより速く回転するように設定しているので、カートリッジに空間ができている時間内に第1搬送パドル31dで何度か制御弁34を動作させることができ、効率良くトナーをトナーカートリッジ32に戻すができる。
フィルムの凸部が制御弁34を通過すると、制御弁34は押圧力から解放され、弾性によって元に戻り、制御弁34上のトナーを現像ユニット31側に送ると共に、制御弁34下側にトナーカートリッジ32のトナーを引き込む空間を形成する。
第1搬送パドル31dの2枚のフィルム311の凸部をずらすことで、制御弁34の押し込み・解放動作を交互に行う、即ち、隣り合う制御弁34を交互に駆動させることで現像ユニット31内のトナーの動きが良くなり、トナーカートリッジ32内のトナーとの循環性を向上させることができる。
ここで、上記のような櫛歯状のフィルム2枚構成のパドルを採用することにより、トナーの循環、横攪拌性が向上したが、この2枚のみの構成では、連通口33にトナーが多くなる傾向があり、現像ユニット31内のトナー面が上下方向に波打ち、山と谷ができる。連通口33に山ができるとトナーカートリッジ32からのトナーの供給が阻害されるので、現像ユニット31全体へのトナーの供給量が低下する。さらに、トナーの山の裾野付近にトナーカートリッジ32からのトナーの流れができるため、若干ではあるが、トナー攪拌の均一性が確保されないという現象が見られた。この点を改善する為に、検討した結果、櫛歯状の2枚のフィルムの間に、櫛歯状フィルム311と90度の角度で、櫛歯状フィルムの凸部より短い長さで凹凸の無いフィルム、即ち、矩形状のフィルム312を第1搬送パドル31dに追加することにより、連通口33のトナーの山を崩し、現像ユニット31内のトナー面をほぼ水平にすることができた。
このように、第1搬送パドルにおいて、櫛歯状の2枚のフィルム311の間に、矩形状のフィルム312を配置することにより、トナーカートリッジ312からのトナーの補給量及びトナーカートリッジ32へのトナーの戻し量ともに安定し、十分な循環作用を達成することができる。また、局所的なトナーの流れを形成しないので、現像ユニット31内で均一な攪拌性を維持することができる。
制御弁34の幅は、連通口33の幅より0mm〜20mm大きくする。制御弁34が連通口33より小さいとトナーが供給される連通口33を現像ユニット31側のトナーで塞がれるためにトナーが供給されにくくなる。また、トナーの排出においても、制御弁34と連通口33との間にトナーが入り込み、その入り込んだトナーを排出することで、連通口33を通して大量のトナーが現像ユニット31側からトナーカートリッジ32側に排出されるのを防止しているが、制御弁34の幅が小さくなることで大量のトナーが排出され、現像ユニット31内のトナーが少なくなる。
一方、トナーの排出は、制御弁34の脇から制御弁34と連通口33との間に入ったトナーが第1搬送パドル31dの押し込みで連通口33を通して排出される。このために、制御弁34の幅が連通口33より大きくなると、連通口33付近に回り込むトナー量が少なくなり排出されるトナー量が少なくなり、トナーの入れ替えが少なくなる。また、連通口33から供給されたトナーは、連通口33から下の方に移動して、制御弁34の下にあるトナーと混合される。したがって、制御弁34の幅が大きくなると供給されるトナーの箇所が少なくなり、トナーの混合による均質性が低下する。
これらのために、制御弁34の幅は、少なくとも連通口33の幅以上であって、20mm未満にする。この幅にすることで、トナーの供給・排出の制御を容易にし、さらに、供給後のトナーの混合による均質性を高めることができる。
また、制御弁34の間隔を、2mm〜20mmとする。制御弁34の間隔が、2mm未満では制御弁34と連通口33との間に入り込む量が少なくなるために、排出できるトナー量が少なくなる。また、20mmを越えると、設けることができる連通口33が少なくなり、トナーの供給・排出する量が少なくなる。
また、制御弁34の長さを、10mm〜25mmとする。制御弁34の長さによって、制御弁34と連通口33との間にできる空間の大きさが決定される。したがって、制御弁34が10mm未満では、排出されるトナー量が少なくなるために、トナーの入れ替えが不十分になる。25mmを越えると排出する量が多くなり、現像ホッパー31h内のトナー量が少なくなる。
また、制御弁34の定位置における弁角度を、20°〜45°とし、作動位置における弁角度を0°〜15°とする。なお、制御弁34は弾性があり撓むため、ここでの弁角度は、制御弁34が壁面と接触する部分と制御弁34の先端部とを結んだ直線が、壁面となす角度と定義した。制御弁34の角度によって、制御弁34と連通口33との間にできる空間の大きさが決定される。したがって、制御弁34の角度が20°未満では、排出されるトナー量が少なくなるために、トナーの入れ替えが不十分になる。45°を越えると排出する量が多くなり、現像ホッパー31h内のトナー量が少なくなる。
また、図7は、本発明の画像形成装置の構成を示す概略図である。
この画像形成装置1は、感光体ユニット10、書き込み光学ユニット20、現像ユニット30、中間転写ユニット40、2次転写ユニット50、定着ユニット60、両面印刷用紙反転ユニット70等で構成されている。そして、黒(以下、Bkという)、シアン(以下、Cという)、マゼンタ(以下、Mという)、イエロー(以下、Yという)のカラー画像を感光体ユニット10の感光体ベルト11上に順次顕像化し、これらを重ね合わせて最終的な4色フルカラー画像を形成する。感光体ベルト11の周りには、感光体クリーニング装置12、帯電ローラ13、複数の現像装置30、中間転写ユニット40の中間転写ベルト41などが配置されている。感光体ベルト11は、駆動ローラ14、1次転写対向ローラ15、張架ローラ16間に張架され、駆動モータによって回転する。また、上記書き込み光学ユニット20は、カラー画像データを光信号に変換して、各色画像に対応した光書き込みを行い、感光体ベルト11に静電潜像を形成する。この書き込み光学ユニット20は、光源としての半導体レーザ21、ポリゴンミラー22、3つの反射ミラー23などで構成されている。
また、上記現像装置30は、画像形成装置1本体の下側から順に、黒トナーを収容したBk現像装置30K、シアントナーを収容したC現像装置30C、マゼンタトナーを収容したM現像装置30M、イエロートナーを収容したY現像装置30Yとなっている。ここでは、さらに、各現像装置を図中左右方向に移動させ感光体ベルト11に対し、接離動作を行う接離機構を備える。
現像装置30内のトナーは所定の極性に帯電され、現像スリーブ31aには、現像バイアス電源によって現像バイアスが印加され、現像スリーブ31aが感光体ベルト11に対して所定電位にバイアスされている。また、接離機構は、モータから各現像装置30に駆動を伝達するための図示しない電磁クラッチがオンになるとその駆動力で現像装置30を感光体ベルト11側に移動させるようになっている。現像時には、現像装置30のうち選択されたいずれか一つが移動し、感光体ベルト11に当接する。一方、電磁クラッチをオフにして駆動伝達を解除すると感光体ベルト11に当接していた現像装置が感光体ベルト11から離間する方向に移動する。
画像形成装置1本体の待機状態では、現像装置30K、C、M、Yも感光体ベルト11と離間した位置にセットされており、画像形成動作が開始されると、カラー画像データに基づきレーザ光による光書き込み、静電潜像の形成が開始される(以下、Bk 画像データによる静電潜像をBk静電潜像という。C、M、Yについても同様)。このBk静電潜像の先端部から現像可能とすべくBk現像位置に静電潜像先端部が到達する前に、Bk現像スリーブ31aを回転開始して、Bk静電潜像をBkトナーで現像する。そして、以後、Bk静電潜像領域の現像動作が続行されるが、Bk静電潜像後端部がBk現像位置を通過した時点で、K現像装置30Kが感光体ベルト11から離間し、次の色の現像に備えて該当する色の現像装置が感光体ベルト11に当接する。これは少なくとも、次の画像データによる静電潜像先端部が現像位置に到達する前に完了される。
また、上記中間転写ユニット40は、中間転写ベルト41、ベルトクリーニング装置42、位置検出用センサ43などで構成されている。中間転写ベルト41は駆動ローラ44、1次転写ローラ45、2次転写対向ローラ46、クリーニング対向ローラ47及びテンションローラ48に張架されており、図示しない駆動モータによりに駆動制御される。中間転写ベルト41端部の非画像形成領域には複数の位置検出用マークが設けられており、これらの位置検出用マークのうちのいずれか一つを位置出用センサ43で検出し、この検出タイミングで画像形成を開始する。また、ベルトクリーニング装置42は、クリーニングブラシ42a、接離機構等で構成されており、1色目のBk画像を中間転写ベルト41に転写している間、及び、2、3、4色目の画像を中間転写ベルト41に転写している間は接離機構によって中間転写ベルト41面からクリーニングブラシ42aを離間させておく。
さらに、2次転写ユニット50は、2次転写ローラ51、2次転写ローラ51を中間転写ベルト41に対して接離するためのクラッチ等を備えた接離機構等で構成されている。転写紙が転写位置に到達するタイミングに合致させて2次転写ローラ51が接離機構の回転軸を中心に揺動する。この2次転写ローラ51と2次転写対向ローラ46とにより転写紙と中間転写ベルト41とを一定の圧力で接触させる。2次転写ローラ51は中間転写ユニット40に設けられた図示しない位置決め部材により2次転写対向ローラ46との平行度の位置精度が保たれている。また、2次転写ローラ51に設けた図示しない位置決めコロにより中間転写ベルト41に対する2 次転写ローラ51の接触圧を一定にしている。2次転写ローラ51を中間転写ベルト41に接触させると同時に、2次転写ローラ51はトナーと逆極性の転写バイアスが印加され、中間転写ベルト41上の重ねトナー像を転写紙に一括転写する。
一方、画像形成動作が開始される時期に、転写紙は上記転写紙カセット80又は手差しトレイ83のいずれかから給送され、レジストローラ82対のニップで待機している。そして、2次転写ローラ51に中間転写ベルト41上の4色重ねのトナー像先端がさしかかるときに、ちょうど転写紙の先端がこのトナー像の先端に一致するようにレジストローラ対82が駆動され、転写紙とトナー像との位置合わせが行われる。そして、転写紙が中間転写ベルト41上のトナー像と重ねられて2次転写位置を通過する。このとき2次転写ローラ51による転写バイアスで転写紙が荷電され、トナー画像のほとんどが転写紙上に転写される。そして、中間転写ベルト41から4色重ねトナー像を一括転写された転写紙は、定着ユニット60に搬送され、所定温度に制御された定着ベルト61と加圧ローラ62のニップ部でトナー像が溶融定着され、装置本体外に送り出され、排紙トレイ84 に裏向きにスタックされ、フルカラーコピーを得る。
更に、両面印刷を行う場合には、定着ユニット60を通過した転写紙は両面切替爪85により両面印刷用紙反転ユニット70に送られる。両面印刷用紙反転ユニット70においては、転写紙はまず反転切替爪71によって矢印D方向に案内され、転写紙後端が反転切替爪71を通過した後、反転ローラ対72が停止し、転写紙も停止する。そして、反転ローラ対72が一定のブランク時間ののち逆転を開始し、転写紙はスイッチバックを始める。このときに、反転切替爪71が切り替わり、転写紙はレジストローラ対82に送られる。レジストローラ対82に送られた転写紙は表裏反転した状態でレジストローラ対82のニップで待機する。そして、所定のタイミングでレジストローラ対82が駆動され、転写紙は2次転写位置に送られて中間転写ベルト41から4色重ねトナー像を一括転写された後、定着ユニット60でトナー像が溶融定着され、装置本体外に送り出される。
一方、1次転写後の感光体ベルト11の表面は、感光体クリーニング装置12でクリーニングされ、除電ランプ等で均一に除電して、クリーニングしやすくすることもできる。また、転写紙にトナー像を転写した後の中間転写ベルト41の表面は、ベルトクリーニング装置42のクリーニングブラシ42aを接離機構で押圧することによってクリーニングされる。中間転写ベルト41からクリーニングされたトナーは廃トナータンク49に蓄えられる。
ここで、現像装置についてさらに詳述する。現像装置30は、感光体ベルト11表面の静電潜像を現像するためにトナーを表面に担持して回転する現像スリーブ31aと、トナーを汲み上げて撹拌するために回転するトナー第1搬送パドル31dとを含む現像ユニット31と、トナーを収容するトナーカートリッジ32で構成されている。このように2つのユニットに分割されている理由は、現像ユニット31は、トナーカートリッジ32を数回交換して使用しても耐えうる耐久性を有しているからである。
図8は、本発明の現像装置における連通口33の構成を示した概略図であり、現像ユニット31側及びトナーカートリッジ側の各構成を示している。現像ユニット31の筐体の外側にはスライドシャッターを備え、そのスライドシャッターには弾性部材を貼付している。トナーカートリッジが現像装置に装着されたときに隙間が発生しないようにするためである。このスライドシャッターを開閉することで現像ユニット31の連通口33の開閉を行う。また、トナーカートリッジ32側は、筐体に設けられた連通口33に対応して開けた部分のある弾性部材、連通口33からトナーがこぼれるのを防止し、または、トナーを補給できるように開放するスライドシャッター、これらを筐体に固定する固定シールが設けられている。
トナーカートリッジ32を現像装置に配置して、現像ユニット31側のスライドシャッターを開け、また、トナーカートリッジ32側のスライドシャッターを開けて、トナーを通過させることができる連通口33ができる。
現像ユニット31側の連通口33は複数あり、現像ユニット31とトナーカートリッジ32との間には弾性部材を貼着したスライドシャッターを設けている。このスライドシャッターを移動させることで、現像ユニット31筐体に設けた連通口33の開閉を行う。トナーカートリッジ32がない場合又は画像形成装置本体に装着していない場合は、スライドシャッターで連通口33を閉じておくことで現像ユニット31からのトナーのこぼれるのを防止する。
また、トナーカートリッジ32も、現像ユニット31がない場合又は画像形成装置本体に装着していない場合は、トナーカートリッジ32からのトナーのこぼれるのを防止するために、連通口33を閉じておくためにスライドシャッターを設ける。トナーカートリッジ32に対して、弾性部材、スライドシャッター、固定シールを設ける。弾性部材は、ウレタン樹脂、シリコーン樹脂等の発泡材が好ましい。
図8に示すように、現像ユニット31とトナーカートリッジ32に設けられた連通口33に対応してスライドシャッターに開放した窓部を設ける。連通口33を閉じるときはスライドシャッターの窓部のないところで連通口33を塞ぎ、連通口33を開放するときはスライドシャッターを移動させて、窓部と連通口33を合わせて、連通口33全体を連通させる。
画像形成装置1において現像装置30は、現像ユニット31内にある第1搬送パドル31dで、トナーを攪拌しつつ現像剤供給ローラ31bに搬送し、供給ローラ31bが現像スリーブ31aに摺擦しながら、同時にトナーを摺擦させて摩擦帯電させて、トナーを帯電させる。帯電したトナーは、現像スリーブ31aに鏡像力で吸着されて搬送される。その後、規制ローラ31cで現像領域に搬送されるトナー量を規制する。現像スリーブ31a上に形成されるトナー薄層が現像領域における現像バイアスで感光体ベルトに現像される。
このときに、供給ローラ31bで現像スリーブ31aに摺擦されたトナーは大きな押圧力を受けて、トナー表面の凸凹が削られて球形化しトナーの付着力が大きくなる。また、この押圧力でトナー表面の外添剤が埋没して流動性が低下し、さらに、外添剤による帯電量調整ができなくなるために帯電量が変わってくる。これらの影響でトナーの現像性が低下し、さらに、転写性、クリーニング性が低下する。
このように、現像ホッパー31h内に劣化したトナーが多くなり、また、トナーが現像によって消費されるために現像ユニット31内のトナーが少なくなる。そこで、連通口33を通過してトナーカートリッジ32から、現像ユニット31へとトナーが補給される。トナーカートリッジ32内には、トナーカートリッジ本体32の内壁に先端が摺接する第2搬送パドル32a、第3搬送パドル32bがそれぞれ第1収納室321と第2収納室322に設けられており、第2又は第3搬送パドル32a、32bが回転することによりトナーを現像ユニット31側に押し込んで、現像ユニット31に連通口33からトナーが補給される。
さらに、この連通口33を通して現像ユニット31内のトナーがトナーカートリッジ32側に排出されて、このトナーがトナーカートリッジ32内のトナーと混合される。トナーカートリッジ32内には、未使用のトナーが多く収納されており、現像ユニット31内で劣化したトナーと混合される。この混合によって、未使用トナーの表面に多く存在する外添剤が劣化したトナーに再分配されることで、劣化したトナーの帯電量、流動性が元の未使用トナーの状態に近くなる。これは、現像ユニット31から第1収納室321に排出されたトナーは、さらに、第2搬送パドルで第2収納室322に搬送されて、次に、第3搬送パドルで第1収納室321に戻される。この間に、外添剤の再分配を受けることになる。
この元の未使用の状態に近づいたトナーを、トナーカートリッジ32の第1収納室321から現像ユニット31に、再度供給する。この元の状態に近づいたトナーと未使用のトナーで、現像スリーブ31aに薄層を形成してトナーを現像することで、長期にわたって高品位の画像を得ることができる。
ところが、現像装置30で用いられるトナーは、空気が間に入っていると流れやすいが、静置状態が続いて、空気がほとんど抜けてしまうと、トナー粒子どうしの凝集力で動き辛くなる。トナーは、静置されていた結果、動き辛い状態にあっても、トナー粒子どうしの結合を解くような力を加えると、トナー粒子の間に空隙が出来、流動性が回復する性質を有する。
そこで、本発明者等は、上述のような静置状態にあるトナーの流動性を回復させるために、現像装置30に加速度運動を与えることで解決した。以下に、現像装置30の加速度運動について詳細に説明する。
現像装置30の加速度運動させる為には、現像装置30全体をカムなどのアクチュエータで動かす、ラックとピニオンにより動かす、バネの復元力を使用して動かす、若しくは駆動力による引き込みの作用で動かす等の方法、又は、それぞれを組合せることで実現できる。ここでは、駆動による引き込み力で現像装置30を感光体ベルト11側に引き込み、途中のストッパで現像装置30を停止させるという加速度運動について説明を続ける。
図9は、本発明の黒色の現像装置の機構を示す概略図である。
現像モータ37から中継ギアを経て、現像クラッチ38、同クラッチ38に接続してクラッチ38がONすると回転する不図示の駆動軸(現像ローラの真下に駆動軸が配置されている)、同駆動軸の手前と奥に固定されている左右一対の不図示の現像駆動ギア、同現像駆動ギアとかみ合っていて現像ローラ31aの両側のジャーナルに固定されている現像ローラ駆動ギアに連結している。現像モータ37が回転して、所定のタイミングで現像クラッチ38がONすると、上記駆動軸が回転し、駆動軸に取り付けられた現像駆動ギアが回転する。現像ローラ31aのジャーナルは感光体ベルトと同方向と、その逆方向に移動することが可能で、同ジャーナルに取り付けられた現像ローラ駆動ギアが駆動軸の現像駆動ギアとかみ合って回転する際に、現像ローラ31a及び現像装置30全体が、感光体ベルト11の方向に引きこまれる。
現像装置30がある一定の距離を移動した後、それ以上感光体に食い込まないように、ストッパに突き当たることにより、現像装置30は現像ローラ31aが回転しつつ、現像装置30本体は同位置で停止する。この一連の動きが、現像装置30に与えた加速度運動である。この加速度運動は、現像装置30をトナーの供給、排出方向と同方向に、タイミングや回転起動トルク、現像装置30を最初後方にセットするためのばね力、ストッパの材質等を、調整して、引き込み時の加速運動、ストッパに突き当たるときの減速運動を行わせる。
図10は、レーザードップラー測定機で本発明の現像装置の速度を測定した結果を示す図である。現像装置30が感光体に近づく方向を正の方向としている。
図10(a)に示すように、現像装置30の運動は、概略で始めに正方向に加速度運動を行ない、次にほぼ同速度で同じく正の方向に移動を続ける。最後に、負の方向の加速度が作用し、現像装置30は減速し、速度がほぼ0(同じ位置に留まる:感光体にトナーを現像させる位置)の状態になる。このときの加速度は、図10(b)に示すように、始めは正の加速度、続いて加速度がほぼ0、最後に負の加速度となる。
この加速度の作用や加速度を与えることにより作用する振動によって、現像ユニット31やトナーカートリッジ32内で動きづらくなっているトナー粒子どうしの凝集力を開放し、粒子間に間隙をつくって、トナー全体を動きやすくしている。
この加速度が小さい場合は十分にトナーをほぐすことができず、また、大きすぎても、機械全体に与える衝撃や振動で、振動音及び駆動系のバンディング等の別の問題が発生する。加速度の上限は、機械の構造、振動吸収性及び防音の処置により決まるものであるが、本構成の場合には10m/sが上限値となる。また、加速度の下限については、本発明の課題であるトナーの動きを改善するためには、本構成の場合には1m/s以上の加速度が必要であった。このようにすることで、長期間画像形成装置が使用されず放置されていた場合や、経時でトナーの外添剤(シリカ等)が減少して、流動性が低下したトナーでも、上記制御弁等の動きに応じて、トナーの流れが形成でき、トナーの攪拌性不足や帯電性劣化による画質上の問題を抑えることができた。
また、現像装置30に上記加速度運動を与えるタイミングは、現像装置30が使用されていないときに、定期的に上記加速度運動を行わせることも有効である。
また、現像装置30の上記加速度運動を、少なくとも現像動作の事前(直前)に行うことにすれば、それ以降に続く、現像装置30内の各搬送パドルの回転及び制御弁34の動作で、トナーの流れを効果的につくることができ、より好ましくなる。
本発明の現像装置の構成を示す概略図である。 本発明の現像装置における現像ユニットに配置される制御弁の構造を示す概略図である。 トナーカートリッジ側から現像ユニットにトナーが供給される状態を模式的に説明するための図である。 トナーカートリッジ側のトナーが供給される状態を模式的に説明するための図である。 現像ユニットとトナーカートリッジとの間におけるトナーの移動について模式的に示した図である。 現像ユニットとトナーカートリッジとの間におけるトナーの移動について模式的に示した図である。 現像ユニットとトナーカートリッジとの間におけるトナーの移動について模式的に示した図である。 本発明に係る第1搬送パドルを示す図である。 本発明の画像形成装置の構成を示す概略図である。 本発明の現像装置における連通口の構成を示した概略図であり、(A)は現像ユニット側の構成を示し、(B)はトナーカートリッジ側の構成を示している。 本発明の黒色の現像装置の機構を示す概略図である。 レーザードップラー測定機で本発明の現像装置の速度を測定した結果を示す図である。
符号の説明
1 画像形成装置
11 感光体
12 感光体クリーニングユニット
13 第1の帯電手段
14 駆動ローラ(感光体)
15、16 従動ローラ(感光体)
20 露光手段
21 レジストローラ
25 給紙ローラ
26 接離機構
30 現像装置
31 現像ユニット
31a 現像スリーブ
31b 供給ローラ
31c 規制ローラ
31d 第1搬送パドル
31e スライドシャッター
31f 弾性部材
31g 窓部
31h 現像ホッパー
311 櫛歯状フィルム
312 矩形状フィルム
32 トナーカートリッジ
321 第1収納室
322 第2収納室
32a 第2搬送パドル
32b 第3搬送パドル
32c スライドシャッター
32d 弾性部材
32e 固定シール
33 連通口
34 制御弁
34a 支持部
34b フィルム
35 リブ
36 カム
37 現像モータ
38 現像クラッチ
39 チップ
40 中間転写ベルトユニット
41 中間転写ベルト
42 ベルトクリーニングユニット
43 マークセンサ
44 駆動ローラ(中間転写ベルト)
45 一次転写バイアスローラ
46、47 従動ローラ
49 ベルト位置検出マーク
50 二次転写ユニット
51 二次転写バイアスローラ
60 定着手段
70 両面搬送装置
80 給紙装置
81 給紙ローラ
83 手差しトレイ
90 転写材

Claims (4)

  1. 潜像を担持する像担持体と、
    像担持体表面に形成された静電潜像を可視像化する現像ユニットと、現像ユニットにトナーを補給するするトナーカートリッジとを横方向に配列し、トナーカートリッジを自在に着脱できる現像装置と、を備える画像形成装置において、
    前記現像装置は、
    前記現像ユニットと前記トナーカートリッジとの間で現像剤を通過させる連通口を有し、該連通口を介して、トナーカートリッジから現像ユニットへ現像剤を供給するとともに、現像ユニットからトナーカートリッジへ現像剤を排出するものであって、
    前記現像装置を所定時間、前記連通口を介したトナーの供給・排出方向と同方向に1m/s以上かつ10m/s以下の加速度で移動させる
    ことを特徴とする画像形成装置。
  2. 請求項1に記載の画像形成装置において、
    前記現像装置の加速度運動は、少なくとも現像動作の事前に行なう
    ことを特徴とする画像形成装置。
  3. 請求項1又は2に記載の画像形成装置において、
    前記現像装置の加速度運動は、加速、減速を1組にして、少なくとも1回以上行なう
    ことを特徴とする画像形成装置。
  4. 請求項1ないし3のいずれかに記載の画像形成装置において、
    前記現像ユニットは、前記トナーカートリッジから補給された現像剤を前記現像剤担持体に供給する搬送パドルと、前記連通口に対応して設けられた制御弁とを備え、
    該制御弁は、支持部と弾性体の動作部とからなり、
    前記制御弁は前記連通口の現像ユニット側であって、回転する前記搬送パドルが前記制御弁の動作部に当たるように支持されており、
    前記搬送パドルが前記制御弁の動作部に当たっておらず、前記制御弁が開放された状態から、前記搬送パドルを回転させて前記制御弁の動作部に当て、前記制御弁の動作部を前記連通口に向けて押すことによって、
    前記連通口を介して、前記現像ユニットから前記トナーカートリッジへ現像剤を排出する
    ことを特徴とする画像形成装置。
JP2005131430A 2005-04-28 2005-04-28 画像形成装置 Expired - Fee Related JP4647385B2 (ja)

Priority Applications (3)

Application Number Priority Date Filing Date Title
JP2005131430A JP4647385B2 (ja) 2005-04-28 2005-04-28 画像形成装置
US11/411,033 US7483658B2 (en) 2005-04-28 2006-04-26 Image forming method and apparatus capable of enhancing toner mobility
CNB2006100771372A CN100445887C (zh) 2005-04-28 2006-04-27 图像形成装置

Applications Claiming Priority (1)

Application Number Priority Date Filing Date Title
JP2005131430A JP4647385B2 (ja) 2005-04-28 2005-04-28 画像形成装置

Publications (2)

Publication Number Publication Date
JP2006308871A JP2006308871A (ja) 2006-11-09
JP4647385B2 true JP4647385B2 (ja) 2011-03-09

Family

ID=37195155

Family Applications (1)

Application Number Title Priority Date Filing Date
JP2005131430A Expired - Fee Related JP4647385B2 (ja) 2005-04-28 2005-04-28 画像形成装置

Country Status (3)

Country Link
US (1) US7483658B2 (ja)
JP (1) JP4647385B2 (ja)
CN (1) CN100445887C (ja)

Families Citing this family (3)

* Cited by examiner, † Cited by third party
Publication number Priority date Publication date Assignee Title
JP2007298908A (ja) * 2006-05-08 2007-11-15 Fuji Xerox Co Ltd プロセスカートリッジ、画像形成装置及びプロセスカートリッジの組立て方法
KR20140135347A (ko) * 2013-05-16 2014-11-26 삼성전자주식회사 현상장치 및 이를 갖는 화상형성장치
CN109036104A (zh) * 2018-08-20 2018-12-18 链学堂教育科技(广州)有限公司 一种随机工艺生产的独特性防伪标贴

Family Cites Families (28)

* Cited by examiner, † Cited by third party
Publication number Priority date Publication date Assignee Title
DE3563981D1 (de) * 1984-04-19 1988-09-01 Tongaat Hulett Group Ltd Massecuite supersaturation monitor
US4788570A (en) * 1985-04-15 1988-11-29 Ricoh Company, Ltd. Thin film developing device
US4873940A (en) 1985-10-23 1989-10-17 Ricoh Company, Ltd. Image developing device
JPH07128975A (ja) * 1993-10-29 1995-05-19 Ricoh Co Ltd 画像形成装置
DE4446997B4 (de) * 1993-12-28 2005-11-24 Ricoh Co., Ltd. Entwicklungsvorrichtung für eine Bilderzeugungseinrichtung
JPH07271187A (ja) * 1994-04-01 1995-10-20 Ricoh Co Ltd 画像形成装置
JP3392256B2 (ja) * 1994-04-22 2003-03-31 株式会社リコー 画像形成装置
JPH0815990A (ja) * 1994-04-28 1996-01-19 Ricoh Co Ltd 現像装置
US5625438A (en) * 1994-05-12 1997-04-29 Ricoh Company, Ltd. Toner, and devices for electrostatically depositing a uniform application thereof
JPH0830041A (ja) * 1994-05-13 1996-02-02 Ricoh Co Ltd 現像装置
US5689782A (en) * 1994-06-08 1997-11-18 Ricoh Company, Ltd. Developing apparatus for electronic photographic recording equipment, having two developer transfer rollers
FR2725528B1 (fr) 1994-10-11 1996-11-22 Alcatel Nv Ligne a retard optique selectif en longueur d'onde
JPH08146747A (ja) * 1994-11-23 1996-06-07 Ricoh Co Ltd 現像装置
JPH0915976A (ja) * 1995-04-28 1997-01-17 Ricoh Co Ltd 現像装置
JPH09171300A (ja) * 1995-12-20 1997-06-30 Seiko Epson Corp 画像形成装置
JPH09211974A (ja) * 1996-02-06 1997-08-15 Ricoh Co Ltd 現像装置
JP3552499B2 (ja) * 1997-10-20 2004-08-11 株式会社リコー 画像形成装置
JP2001034086A (ja) * 1999-07-19 2001-02-09 Ricoh Co Ltd 画像形成装置およびその制御方法
JP2001147586A (ja) * 1999-11-19 2001-05-29 Ricoh Co Ltd 現像装置
CN1237411C (zh) * 2000-06-07 2006-01-18 株式会社理光 显影剂限制部件、显影装置、处理卡盒及图像形成装置
JP2002091154A (ja) * 2000-09-20 2002-03-27 Seiko Epson Corp 現像器および現像装置
JP2002096882A (ja) * 2000-09-21 2002-04-02 Ricoh Co Ltd 粉体補給装置及び画像形成装置
JP2002162817A (ja) * 2000-11-29 2002-06-07 Ricoh Co Ltd 現像装置
JP2004109998A (ja) * 2002-08-30 2004-04-08 Canon Inc 画像形成装置及びその制御方法、画像形成装置の現像剤補給容器、現像剤補給容器に搭載されるメモリユニット、プログラム及び記憶媒体
US7116928B2 (en) * 2002-12-18 2006-10-03 Ricoh Company, Ltd. Powder discharging device and image forming apparatus using the same
JP2005062215A (ja) 2003-08-08 2005-03-10 Canon Inc 現像装置、プロセスカートリッジ及び画像形成装置
JP2005070583A (ja) * 2003-08-27 2005-03-17 Seiko Epson Corp 画像形成装置
JP2005070276A (ja) * 2003-08-22 2005-03-17 Ricoh Co Ltd 画像形成装置、プロセスカートリッジ及びこれらに用いるトナー

Also Published As

Publication number Publication date
CN1854925A (zh) 2006-11-01
CN100445887C (zh) 2008-12-24
US7483658B2 (en) 2009-01-27
US20060257173A1 (en) 2006-11-16
JP2006308871A (ja) 2006-11-09

Similar Documents

Publication Publication Date Title
EP1717643B1 (en) Developing device, and image forming apparatus and process cartridge using the developing device
KR20070072589A (ko) 현상 장치, 화상 형성 장치 및 프로세스 카트리지
US8503915B2 (en) Toner cartridge comprising internal valve with flexible sheet member and image forming apparatus including the same
JP2007219061A (ja) 現像装置、プロセスユニット、画像形成装置、現像方法及び画像形成方法
JP2010113030A (ja) 画像形成装置
JP4647385B2 (ja) 画像形成装置
JP4708079B2 (ja) 現像装置、画像形成装置及びプロセスカートリッジ
JP2007322936A (ja) 現像装置及び画像形成装置
JP4244217B2 (ja) 現像装置、トナーカートリッジ、画像形成装置及びプロセスカートリッジ
JP4081367B2 (ja) 現像装置
JP4545633B2 (ja) 画像形成装置
JP2009063855A (ja) 現像装置及び画像形成装置
JP4822901B2 (ja) 現像装置、画像形成装置及びプロセスカートリッジ
JP4647382B2 (ja) 現像装置、画像形成装置及びプロセスカートリッジ
JP4344774B2 (ja) 現像装置、画像形成装置及びプロセスカートリッジ
JP4541224B2 (ja) 現像装置、画像形成装置及びプロセスカートリッジ
JP4230472B2 (ja) 現像装置、画像形成装置及びプロセスカートリッジ
JP4472561B2 (ja) 画像形成装置
JP4864168B2 (ja) 現像装置、画像形成装置及びプロセスカートリッジ
JP2002006622A (ja) 現像装置及び画像形成装置
JP2007178698A (ja) 現像装置、画像形成装置、及びプロセスカートリッジ
JP2008107502A (ja) 現像装置、及び画像形成装置
JP2009192700A (ja) 画像形成装置
JP2008107442A (ja) 一成分現像装置、プロセスカートリッジ及び画像形成装置
JP4807993B2 (ja) 現像装置、プロセスカートリッジ及び画像形成装置

Legal Events

Date Code Title Description
A621 Written request for application examination

Free format text: JAPANESE INTERMEDIATE CODE: A621

Effective date: 20070824

A977 Report on retrieval

Free format text: JAPANESE INTERMEDIATE CODE: A971007

Effective date: 20100528

A131 Notification of reasons for refusal

Free format text: JAPANESE INTERMEDIATE CODE: A131

Effective date: 20100713

A521 Request for written amendment filed

Free format text: JAPANESE INTERMEDIATE CODE: A523

Effective date: 20100909

A131 Notification of reasons for refusal

Free format text: JAPANESE INTERMEDIATE CODE: A131

Effective date: 20100928

A521 Request for written amendment filed

Free format text: JAPANESE INTERMEDIATE CODE: A523

Effective date: 20101105

TRDD Decision of grant or rejection written
A01 Written decision to grant a patent or to grant a registration (utility model)

Free format text: JAPANESE INTERMEDIATE CODE: A01

Effective date: 20101207

A01 Written decision to grant a patent or to grant a registration (utility model)

Free format text: JAPANESE INTERMEDIATE CODE: A01

A61 First payment of annual fees (during grant procedure)

Free format text: JAPANESE INTERMEDIATE CODE: A61

Effective date: 20101208

FPAY Renewal fee payment (event date is renewal date of database)

Free format text: PAYMENT UNTIL: 20131217

Year of fee payment: 3

R150 Certificate of patent or registration of utility model

Free format text: JAPANESE INTERMEDIATE CODE: R150

LAPS Cancellation because of no payment of annual fees