JP4635954B2 - Cr含有鋼の鋳造方法 - Google Patents
Cr含有鋼の鋳造方法 Download PDFInfo
- Publication number
- JP4635954B2 JP4635954B2 JP2006132813A JP2006132813A JP4635954B2 JP 4635954 B2 JP4635954 B2 JP 4635954B2 JP 2006132813 A JP2006132813 A JP 2006132813A JP 2006132813 A JP2006132813 A JP 2006132813A JP 4635954 B2 JP4635954 B2 JP 4635954B2
- Authority
- JP
- Japan
- Prior art keywords
- mass
- steel
- content
- casting
- less
- Prior art date
- Legal status (The legal status is an assumption and is not a legal conclusion. Google has not performed a legal analysis and makes no representation as to the accuracy of the status listed.)
- Active
Links
Images
Classifications
-
- Y—GENERAL TAGGING OF NEW TECHNOLOGICAL DEVELOPMENTS; GENERAL TAGGING OF CROSS-SECTIONAL TECHNOLOGIES SPANNING OVER SEVERAL SECTIONS OF THE IPC; TECHNICAL SUBJECTS COVERED BY FORMER USPC CROSS-REFERENCE ART COLLECTIONS [XRACs] AND DIGESTS
- Y02—TECHNOLOGIES OR APPLICATIONS FOR MITIGATION OR ADAPTATION AGAINST CLIMATE CHANGE
- Y02P—CLIMATE CHANGE MITIGATION TECHNOLOGIES IN THE PRODUCTION OR PROCESSING OF GOODS
- Y02P10/00—Technologies related to metal processing
- Y02P10/20—Recycling
Landscapes
- Treatment Of Steel In Its Molten State (AREA)
Description
すなわち、連続鋳造あるいはインゴット鋳造等により製造された鋼片には、鋳造時に発生する窒素ガスによるブローホールが存在する。このブローホールが、製管加工以降も残存し、製品の外面疵となる。
質量%で、
C:0.04%以下、Si:0.10〜1.00%、Mn:0.1〜1.5%、Cr:20.0〜30.0%、Ni:5.0〜11.0%、Mo:0.5〜6.0%、Al:0.001〜0.05%、N:0.2〜0.5%を含有し、
残部がFeおよび不純物からなり、
不純物中のSが0.010%以下、Pが0.030%以下である鋼を鋳造する方法において、
鋼中の拡散性水素の含有量(質量%)、窒素の含有量(質量%)、Crの含有量(質量%)を、[%H]、[%N]および[%Cr]と、鋳造に使用する鋳型の鋳型内面の横断面積(m2)をAとした場合、
窒素の含有量と、Crの含有量と、前記横断面積Aとの関係に前記拡散性水素の含有量を加味した、
0.16log[%H]+log[%N]≦0.05[%Cr]−0.34A−2.208
を満たすよう前記拡散性水素を低減する条件で鋳造し、グラインダーにより鋳片表面を研削した後の1m 2 当りのピンホールが9個以下となるようにすることを最も主要な特徴としている。
さらに、質量%で、
Cu:0.1〜2.0%、W:0.1〜3.0%、Nb:0.005〜0.2%、V:0.08〜0.3%、Ti:0.005〜0.030%、およびB:0.0005〜0.0050%のうちの1種以上を含有させた場合には、クリープ強度の向上に効果がある。
さらに、Ca:0.0001〜0.0060質量%を含有させた場合には、靭性と熱間加工性の向上に効果がある。
質量%で、
C:0.04%以下、Si:0.10〜1.00%、Mn:0.1〜1.5%、Cr:20.0〜30.0%、Ni:5.0〜11.0%、Mo:0.5〜6.0%、Al:0.001〜0.05%、N:0.2〜0.5%を含有し、
残部がFeおよび不純物からなり、
不純物中のSが0.010%以下、Pが0.030%以下である鋼を鋳造する方法において、
鋼中の拡散性水素の含有量(質量%)、窒素の含有量(質量%)、Crの含有量(質量%)を、[%H]、[%N]および[%Cr]と、鋳造に使用する鋳型の鋳型内面の横断面積(m2)をAとした場合、
窒素の含有量と、Crの含有量と、前記横断面積Aとの関係に前記拡散性水素の含有量を加味した、
0.16log[%H]+log[%N]≦0.05[%Cr]−0.34A−2.208
を満たすよう前記拡散性水素を低減する条件で鋳造し、グラインダーにより鋳片表面を研削した後の1m 2 当りのピンホールが9個以下となるようにするものである。
さらに、
質量%で、
Cu:0.1〜2.0%、W:0.1〜3.0%、Nb:0.005〜0.2%、V:0.08〜0.3%、Ti:0.005〜0.030%、およびB:0.0005〜0.0050%のうちの1種以上と、Ca:0.0001〜0.0060%を含有させたり、
あるいは、Ca:0.0001〜0.0060%を含有させたものである。
(1) 鋼の組成について
以下、本発明において、鋼の組成を限定した理由を各成分の作用効果とともに述べる。
Cは、オーステナイト相を安定化するのに有効であるが、その含有量が0.04質量%を超えると炭化物が析出しやすくなって耐食性が劣化するため、本発明では0.04質量%以下とした。
Siは、鋼の精錬過程で脱酸剤として働き、また、鋼の耐水蒸気酸化性の改善に有効である。しかしながら、その含有量が1.00質量%を超えると加工性を害し、金属間化合物の生成を促進し易くなり、熱間加工性を低下させるため1.00質量%以下とした。
ところで、Siには鋼の強度を上げる作用もある。従って、前記の耐水蒸気酸化性改善および強度向上の効果を得るためには、0.10質量%以上含有させることが必要である。望ましい範囲は0.15〜0.50質量%である。
Mnは、鋼の熱間加工性を改善するが、0.1質量%未満ではその効果は小さい。一方、1.5質量%を超えると鋼を硬化させ、加工性、溶接性、耐食性の劣化を招く。従って、本発明では、Mnの適正含有量を0.1〜1.5質量%とした。望ましい範囲は0.1〜1.0質量%である。
Crは、耐食性を維持するために有効な元素であるが、その含有量が20.0質量%未満では必要な耐食性を確保できない。一方、その含有量が30.0質量%を超えると金属間化合物の析出が顕著になり、耐食性のみならず熱間加工性および溶接性が劣化する。このため、本発明ではその含有量を20.0〜30.0質量%とした。好ましい範囲は22.0〜27.0質量%である。
Niは、オーステナイト相を生成する元素であり、かつδ−フェライト相の析出抑制に寄与する。しかしながら、その含有量が5.0質量%未満ではフェライト量が多くなりすぎて二相ステンレス鋼の特徴が消失する。フェライト相が多くなると窒化物が析出しやすくなって耐食性が劣化する。一方、その含有量が11.0質量%を超えるとフェライト相が少なくなり二相ステンレス鋼としての特徴が少なくなる。また金属間化合物が析出し、靭性、加工性を損なう。このため、本発明では、その含有量を5.0〜11.0質量%とした。好ましい範囲は5.0〜10.0質量%である。
Moは、鋼中に固溶して強度を上げる固溶強化元素である。また耐食性、特に耐孔食性および耐隙間腐食性を向上させるのにも有効である。しかしながら、含有量が0.5質量%未満であるとその効果は得られない。一方、含有量が6.0質量%を超えると金属間化合物が析出し、靭性、加工性の劣化を招く。このため、本発明では、その含有量を0.5〜6.0質量%とした。好ましい範囲は1.0〜4.0質量%である。
Alは、鋼の脱酸剤として添加されるが、その効果を得るためには、0.001質量%以上含有することが必要である。しかしながら、含有量が0.05質量%を超えるとAlNとして析出し、靱性および耐食性の劣化を招くので、本発明では0.05質量%以下とした。好ましい範囲は0.001〜0.04質量%である。
Nは、Cr、Mo、Wなどのフェライト相生成元素を比較的多く含有する鋼の熱的安定と耐食性を向上させるのに有効な元素であるが、その含有量が0.2質量%未満ではこれらの効果は得られない。一方、その含有量が0.5質量%を超えると熱間加工性が低下するのみならず、窒化物が生成し、溶接の靱性および耐食性が低下する。このため、本発明では、その含有量を0.2〜0.5質量%とした。好ましい範囲は0.25〜0.45質量%である。
Sは、鋼の耐食性、靭性および熱間加工性に有害な不純物元素であり、鋼中に不可避的に混入するが、その含有量が0.010質量%を超えると圧延時に疵が発生しやすくなる。従って、本発明では、その含有量を0.010質量%以下としたが、できる限り少ないほうがよい。
Pも、鋼の耐食性、靭性および熱間加工性に有害な不純物元素であり、鋼中に不可避的に混入するが、その含有量が0.030質量%を超えると圧延時に疵が発生しやすくなる。従って、本発明では、その含有量を0.030質量%以下としたが、できる限り少ない方がよい。
Cuは、オーステナイト安定化元素として組織を安定にし、また鋼の耐酸化性、耐食性の改善に有効な元素であり、これらの効果を得るためには0.1質量%以上の含有量が必要である。しかしながら、2.0質量%を超える添加は、クリープ強度の低下、熱間加工性の劣化を招く。したがって、本発明ではCuを含有させる場合には、その含有量を0.1〜2.0質量%とした。好ましい範囲は0.1〜1.8質量%である。
Wは、クリープ強度を上げる成分であり、耐食性、特に耐孔食性、耐隙間腐食性を向上させるのにも有効である。しかしながら、含有量が0.1質量%未満ではその効果が小さく、また3.0質量%を超えると、靭性、加工性が損なわれる。このため、本発明では、Wを含有させる場合には、その含有量を0.1〜3.0質量%とした。好ましい範囲は0.1〜2.5質量%である。
Nbは、CおよびNと結合して炭窒化物を形成し、強度、クリープ強度の向上に有効であるが、含有量が0.005質量%未満ではその効果が得られず、一方、0.2質量%を超えると靭性、溶接性、クリープ強度を損なう。このため、本発明では、Nbを含有させる場合には、その含有量を0.005〜0.2質量%とした。好ましい範囲は0.005〜0.15質量%である。
Vは、CおよびNと結合して炭窒化物を形成し、強度、クリープ強度の向上に有効である。また、耐食性を向上させる作用を有する。しかしながら、0.08質量%未満では十分な効果が得られない。一方、0.3質量%を超えると逆にクリープ強度の低下や耐食性の低下をもたらす。このため、本発明では、Vを含有させる場合には、その含有量を0.08〜0.3質量%とした。好ましい範囲は0.10〜0.25質量%である。
Tiは、炭窒化物を形成し、鋼の強度、クリープ強度の向上に有効であるが、0.005質量%未満では十分な効果が得られない。一方、0.03質量%を超えると靭性が損なわれる。このため、本発明では、Tiを含有させる場合には、その含有量を0.005〜0.03質量%とした。好ましい範囲は0.005〜0.02質量%である。
Bは強度、クリープ強度の向上に有効であり、またSが結晶粒界に偏析するのを抑制して熱間加工性を向上させる。しかしながら、0.0005質量%未満では十分な効果が得られず、一方、0.0050質量%を超えると溶接性、加工性、耐食性の劣化を招く。このため、本発明では、Bを含有させる場合には、その含有量を0.0005〜0.0050質量%とした。好ましい範囲は0.0005〜0.0040質量%である。
Caは、鋼中で酸化物を形成し、介在物を安定化かつ無害化することにより靭性を向上させ、また熱間加工性も向上させる。しかしながら、0.0001質量%未満では十分な効果が得られず、一方、0.0060質量%を超えると靭性を損なう。このため、本発明では、Caを含有させる場合には、その含有量を0.0001〜0.0060質量%とした。好ましい範囲は0.0001〜0.0035質量%である。
先に説明した特許文献1では、Cr含有鋼において、ブローホールによる外面疵の発生が少なく、不合格率が10%未満となるのは、溶鋼中の窒素[N]と[Cr]との関係について、下記式が満たされる領域であることが示されている。
log[%N]≦0.05[%Cr]−0.34A−1.353
なお、Aは鋳造に使用する鋳型における内面の横断面積(m2)で、一般的には0.02〜1.00m2の範囲である。
log[%N]≦0.05[%Cr]−0.34A−1.357…(1)
になる。
すなわち、窒素と水素は共に侵入型固溶元素であるので、前記水素の含有量が低いと、固相が析出した時に窒素が固溶するサイトに余裕があり、溶鋼から排出される窒素量が低減し、ガス化しにくくなる。これに対し、前記水素の含有量が高いと、反対に固相が析出した時に窒素が固溶するサイトに余裕がなく、溶鋼から排出される窒素量が増加してガス化しやすくなる。
図1は、縦軸を前記水素の含有量、横軸を0.05[%Cr]−log[%N]−0.34Aとして後述の実施例の結果をプロットしたものである。図1中の○と×は、鋳片表面のピンホール数によって評価したもので、1m2当り10個以上のピンホールがある場合を×、9個以下の場合を○とした。
log[%H]
=6.25(0.05[%Cr]−log[%N]−0.34A)−13.8…(2)
従って、(2)式より、外面疵の発生が少なく、鋳片表面成績が良好となる領域は、下記の(3)式が満たされる領域になる。
0.16log[%H]+log[%N]≦0.05[%Cr]−0.34A−2.208
…(3)
溶鋼中に含有される水素を精錬段階で極力低減し、その後の鋳造時までの間に上昇することを抑制することが望ましい。精錬段階で前記水素を低減する手段としては、処理前・処理後の前記水素の濃度、AOD炉及びVOD炉のフラックスの投入量とタイミング、VOD炉の真空度、処理時間等の関係を予め求めておき、製造するCr濃度、鋳型内面の横断面積を考慮し、製造コストが最小となるべく操業条件を決定すればよい。
但し、本発明の実施は上記の方法にとらわれるものではなく、他の方法を採用してもかまわない。
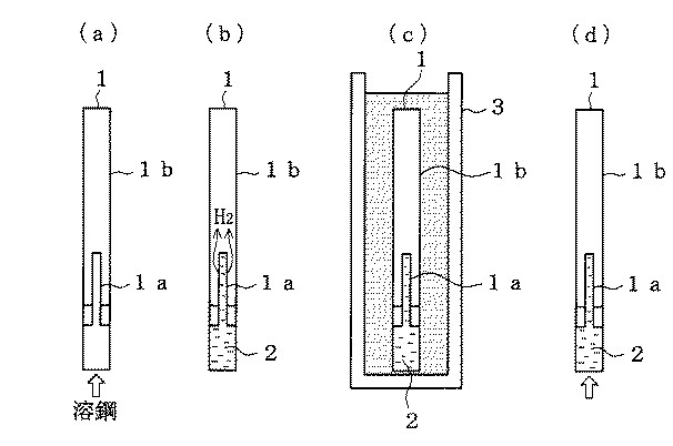
但し、水素濃度分析については、図2(a)に示した真空二重鉄管1の内側に鋳型内より溶鋼2を吸引して採取する。真空二重鉄管1の内管1aと外管1bの間は真空となされているため、内管1a内に吸引された溶鋼2中の水素は拡散して外管1bと内管1aの間の真空空間内に放出される(図2(b))。
Claims (3)
- 質量%で、
C:0.04%以下、Si:0.10〜1.00%、Mn:0.1〜1.5%、Cr:20.0〜30.0%、Ni:5.0〜11.0%、Mo:0.5〜6.0%、Al:0.001〜0.05%、N:0.2〜0.5%を含有し、
残部がFeおよび不純物からなり、
不純物中のSが0.010%以下、Pが0.030%以下である鋼を鋳造する方法において、
鋼中の拡散性水素の含有量(質量%)、窒素の含有量(質量%)、Crの含有量(質量%)を、[%H]、[%N]および[%Cr]と、鋳造に使用する鋳型の鋳型内面の横断面積(m2)をAとした場合、
窒素の含有量と、Crの含有量と、前記横断面積Aとの関係に前記拡散性水素の含有量を加味した、
0.16log[%H]+log[%N]≦0.05[%Cr]−0.34A−2.208
を満たすよう前記拡散性水素を低減する条件で鋳造し、グラインダーにより鋳片表面を研削した後の1m 2 当りのピンホールが9個以下となるようにすることを特徴とするCr含有鋼の鋳造方法。 - さらに、質量%で、
Cu:0.1〜2.0%、W:0.1〜3.0%、Nb:0.005〜0.2%、V:0.08〜0.3%、Ti:0.005〜0.030%、およびB:0.0005〜0.0050%のうちの1種以上を含有する鋼を鋳造することを特徴とする請求項1に記載のCr含有鋼の鋳造方法。 - さらに、Ca:0.0001〜0.0060質量%を含有する鋼を鋳造することを特徴とする請求項1または2に記載のCr含有鋼の鋳造方法。
Priority Applications (1)
| Application Number | Priority Date | Filing Date | Title |
|---|---|---|---|
| JP2006132813A JP4635954B2 (ja) | 2006-05-11 | 2006-05-11 | Cr含有鋼の鋳造方法 |
Applications Claiming Priority (1)
| Application Number | Priority Date | Filing Date | Title |
|---|---|---|---|
| JP2006132813A JP4635954B2 (ja) | 2006-05-11 | 2006-05-11 | Cr含有鋼の鋳造方法 |
Publications (2)
| Publication Number | Publication Date |
|---|---|
| JP2007301601A JP2007301601A (ja) | 2007-11-22 |
| JP4635954B2 true JP4635954B2 (ja) | 2011-02-23 |
Family
ID=38835992
Family Applications (1)
| Application Number | Title | Priority Date | Filing Date |
|---|---|---|---|
| JP2006132813A Active JP4635954B2 (ja) | 2006-05-11 | 2006-05-11 | Cr含有鋼の鋳造方法 |
Country Status (1)
| Country | Link |
|---|---|
| JP (1) | JP4635954B2 (ja) |
Families Citing this family (4)
| Publication number | Priority date | Publication date | Assignee | Title |
|---|---|---|---|---|
| FI125854B (fi) * | 2011-11-04 | 2016-03-15 | Outokumpu Oy | Dupleksi ruostumaton teräs |
| JP6405078B2 (ja) * | 2012-05-07 | 2018-10-17 | 株式会社神戸製鋼所 | 二相ステンレス鋼材および二相ステンレス鋼管 |
| JP6222806B2 (ja) * | 2013-03-27 | 2017-11-01 | 日本冶金工業株式会社 | 耐脆化性に優れる高耐食二相ステンレス鋼 |
| KR101889176B1 (ko) * | 2016-12-15 | 2018-08-16 | 주식회사 포스코 | 크랙발생이 저감된 고강도 듀플렉스 스테인리스 강 및 그 제조방법 |
Family Cites Families (3)
| Publication number | Priority date | Publication date | Assignee | Title |
|---|---|---|---|---|
| US5098652A (en) * | 1989-06-13 | 1992-03-24 | Kabushiki Kaisha Toshiba | Precision parts of non-magnetic stainless steels |
| JPH04165019A (ja) * | 1990-10-26 | 1992-06-10 | Sumitomo Metal Ind Ltd | 高耐食性継目無二相ステンレス鋼管の製造法 |
| JP2003041351A (ja) * | 2001-08-01 | 2003-02-13 | Sumitomo Metal Ind Ltd | 高クロム鋼およびその製造方法 |
-
2006
- 2006-05-11 JP JP2006132813A patent/JP4635954B2/ja active Active
Also Published As
| Publication number | Publication date |
|---|---|
| JP2007301601A (ja) | 2007-11-22 |
Similar Documents
| Publication | Publication Date | Title |
|---|---|---|
| JP4031992B2 (ja) | 優れた熱間加工性を持つ高マンガン二相ステンレス鋼及びその製造方法 | |
| CN101346486B (zh) | 双相不锈钢 | |
| JP4258679B1 (ja) | オーステナイト系ステンレス鋼 | |
| KR101586590B1 (ko) | 오스테나이트강 용접 조인트 | |
| JP5299579B2 (ja) | 耐破壊特性および耐hic特性に優れる高強度鋼板 | |
| WO2014024983A1 (ja) | 内部品質に優れたNi含有高合金丸ビレットの製造方法 | |
| CN104411850B (zh) | 双相不锈钢 | |
| JP2010023049A (ja) | 鋼の連続鋳造鋳片およびその製造方法 | |
| CN112410656B (zh) | 焊接性和表面性状优异的高耐腐蚀Ni-Cr-Mo钢及其制造方法 | |
| KR20140064941A (ko) | 2상 스테인리스강, 2상 스테인리스강 주조편 및 2상 스테인리스강 강재 | |
| JP4867088B2 (ja) | 高Cr系継目無鋼管の製造方法 | |
| JP6222806B2 (ja) | 耐脆化性に優れる高耐食二相ステンレス鋼 | |
| JP5329632B2 (ja) | 二相ステンレス鋼、二相ステンレス鋼鋳片、および、二相ステンレス鋼鋼材 | |
| JP3633515B2 (ja) | 耐水素誘起割れ性に優れた熱延鋼板およびその製造方法 | |
| JP5082509B2 (ja) | 継目無鋼管用ビレットおよび継目無鋼管 | |
| JP4337712B2 (ja) | マルテンサイト系ステンレス鋼 | |
| JP2018031028A (ja) | Fe−Ni−Cr−Mo合金とその製造方法 | |
| JP5206239B2 (ja) | 高n含有二相ステンレス鋼の連続鋳造方法 | |
| JP4635954B2 (ja) | Cr含有鋼の鋳造方法 | |
| JP5299169B2 (ja) | 耐食性厚板用低合金鋼の連続鋳造方法及び連続鋳造鋳片 | |
| JP2707839B2 (ja) | マルテンサイト系継目無鋼管とその製造方法 | |
| JP5223720B2 (ja) | B含有高強度厚鋼板用鋼の連続鋳造鋳片、およびその製造方法 | |
| JP4635955B2 (ja) | Cr含有鋼の鋳造方法 | |
| JP2025126458A (ja) | オーステナイト系ステンレス鋼帯または鋼板およびそれらの製造方法、ならびに、高圧水素ガス用機器または液体水素用機器 | |
| JP6402581B2 (ja) | 溶接継手及び溶接継手の製造方法 |
Legal Events
| Date | Code | Title | Description |
|---|---|---|---|
| A621 | Written request for application examination |
Free format text: JAPANESE INTERMEDIATE CODE: A621 Effective date: 20080624 |
|
| A131 | Notification of reasons for refusal |
Free format text: JAPANESE INTERMEDIATE CODE: A131 Effective date: 20100817 |
|
| A521 | Request for written amendment filed |
Free format text: JAPANESE INTERMEDIATE CODE: A523 Effective date: 20100924 |
|
| TRDD | Decision of grant or rejection written | ||
| A01 | Written decision to grant a patent or to grant a registration (utility model) |
Free format text: JAPANESE INTERMEDIATE CODE: A01 Effective date: 20101026 |
|
| A01 | Written decision to grant a patent or to grant a registration (utility model) |
Free format text: JAPANESE INTERMEDIATE CODE: A01 |
|
| A61 | First payment of annual fees (during grant procedure) |
Free format text: JAPANESE INTERMEDIATE CODE: A61 Effective date: 20101108 |
|
| FPAY | Renewal fee payment (event date is renewal date of database) |
Free format text: PAYMENT UNTIL: 20131203 Year of fee payment: 3 |
|
| R150 | Certificate of patent or registration of utility model |
Ref document number: 4635954 Country of ref document: JP Free format text: JAPANESE INTERMEDIATE CODE: R150 Free format text: JAPANESE INTERMEDIATE CODE: R150 |
|
| FPAY | Renewal fee payment (event date is renewal date of database) |
Free format text: PAYMENT UNTIL: 20131203 Year of fee payment: 3 |
|
| S111 | Request for change of ownership or part of ownership |
Free format text: JAPANESE INTERMEDIATE CODE: R313111 |
|
| FPAY | Renewal fee payment (event date is renewal date of database) |
Free format text: PAYMENT UNTIL: 20131203 Year of fee payment: 3 |
|
| R350 | Written notification of registration of transfer |
Free format text: JAPANESE INTERMEDIATE CODE: R350 |
|
| S533 | Written request for registration of change of name |
Free format text: JAPANESE INTERMEDIATE CODE: R313533 |
|
| R350 | Written notification of registration of transfer |
Free format text: JAPANESE INTERMEDIATE CODE: R350 |
