JP4635557B2 - 画像形成装置および画像形成方法 - Google Patents

画像形成装置および画像形成方法 Download PDF

Info

Publication number
JP4635557B2
JP4635557B2 JP2004310697A JP2004310697A JP4635557B2 JP 4635557 B2 JP4635557 B2 JP 4635557B2 JP 2004310697 A JP2004310697 A JP 2004310697A JP 2004310697 A JP2004310697 A JP 2004310697A JP 4635557 B2 JP4635557 B2 JP 4635557B2
Authority
JP
Japan
Prior art keywords
roller
developing
developer
application roller
developing roller
Prior art date
Legal status (The legal status is an assumption and is not a legal conclusion. Google has not performed a legal analysis and makes no representation as to the accuracy of the status listed.)
Expired - Fee Related
Application number
JP2004310697A
Other languages
English (en)
Other versions
JP2006126258A5 (ja
JP2006126258A (ja
Inventor
秀裕 ▲高▼野
浩一 上條
健 井熊
Current Assignee (The listed assignees may be inaccurate. Google has not performed a legal analysis and makes no representation or warranty as to the accuracy of the list.)
Seiko Epson Corp
Original Assignee
Seiko Epson Corp
Priority date (The priority date is an assumption and is not a legal conclusion. Google has not performed a legal analysis and makes no representation as to the accuracy of the date listed.)
Filing date
Publication date
Application filed by Seiko Epson Corp filed Critical Seiko Epson Corp
Priority to JP2004310697A priority Critical patent/JP4635557B2/ja
Publication of JP2006126258A publication Critical patent/JP2006126258A/ja
Publication of JP2006126258A5 publication Critical patent/JP2006126258A5/ja
Application granted granted Critical
Publication of JP4635557B2 publication Critical patent/JP4635557B2/ja
Anticipated expiration legal-status Critical
Expired - Fee Related legal-status Critical Current

Links

Images

Landscapes

  • Wet Developing In Electrophotography (AREA)
  • Color Electrophotography (AREA)

Description

この発明は、プリンタ、複写機やファクシミリ装置などの電子写真方式の画像形成技術、特に現像方式として湿式現像方式を採用した画像形成技術に関するものである。
従来より、湿式現像方式を採用した画像形成装置としては、現像ローラ(現像剤担持体)の表面に均一な厚さに塗布された液体現像剤で、潜像担持体に形成された静電潜像を現像することによって、濃度ムラのない画像を形成する構成が知られている。このように、現像ローラの表面に液体現像剤を均一に塗布する技術としては、次のような技術が従来より提案されている。すなわち、現像ローラの表面に液体現像剤を塗布する前に、一旦、アニロクスローラ(塗布ローラ)の表面に、該アニロクスローラの回転方向に対して規則正しく斜めに形成された彫刻(溝)部に液体現像剤を担持することによって、液体現像剤の液量を正確に計量する。そして、該アニロクスローラで正確に計量した液体現像剤を現像ローラに塗布することによって、正確に計量された液体現像剤を現像ローラに転移させて、該現像ローラに均一な厚さの現像液薄層を形成することができる(例えば特許文献1参照)。
特開2002−72692号公報([0057]〜[0059]、図3)
ところで、上記した従来装置における構成は、4色(イエロー、マゼンダ、シアンおよびブラック)のトナー像を中間転写ベルトなどの転写媒体上で重ね合わせてカラー画像を形成する画像形成装置にも適用することができる。すなわち、上記した現像剤担持体と塗布ローラとで構成される現像手段を各色ごとに4つ設けることができる。そして、各現像手段ごとに形成した4色のトナー像を転写媒体上で重ね合わせることによってカラー画像を形成することができる。ところが、上記した現像手段では、現像処理(工程)を実行するために塗布ローラおよび現像剤担持体の回転動作を開始した際、塗布ローラおよび現像剤担持体にスラスト力が発生する。そのため、塗布ローラおよび現像剤担持体がスラスト方向に相対的に移動してしまい、スラスト方向における塗布ローラおよび現像剤担持体の位置が一時的に不安定となってしまうことがあった。その結果、スラスト方向における塗布ローラおよび現像剤担持体の位置が不安定な状態のまま現像動作が実行されてしまい、次のような問題が生じることがあった。
例えば、スラスト方向における潜像担持体および塗布ローラに対する現像剤担持体の位置が安定しないために、スラスト方向における潜像担持体に対する現像剤担持体の当接位置が不安定となることがある。この場合、潜像担持体上の静電潜像を現像して形成するトナー像が劣化してしまうことがあった。また、スラスト方向における塗布ローラに対する現像剤担持体の当接位置も不安定となることにより、現像剤担持体に塗布する液体現像剤の塗布パターンが乱れてしまうことがあった。このような塗布パターンの乱れは現像精度の劣化を招き、形成されるトナー像を劣化させてしまう。また、スラスト方向における現像剤担持体に対する塗布ローラの位置が安定しないために、現像剤担持体に塗布される液体現像剤の塗布パターンに乱れが生じて、現像精度が劣化してしまい、形成されるトナー像に劣化が生じることがあった。これらのように劣化したトナー像を転写媒体上で重ね合わせることによって形成したカラー画像には、色味の違いや色ずれが発生しやくなり、カラー画像の品質劣化の原因に一つとなっていた。
この発明は上記課題に鑑みなされたものであり、斜め溝を有する塗布ローラにより現像剤担持体に液体現像剤を塗布する構成において、現像処理時における現像剤担持体の移動を防止して現像精度の向上を図り、形成するカラー画像の品質の向上を図ることを目的とする。
この発明は、上記目的を達成するため、液体現像剤を担持する現像剤担持体と、第1方向に回転するとともに、前記第1方向に対して斜めに設けられた溝を有しており、前記液体現像剤を前記現像剤担持体に塗布する塗布ローラと、前記第1方向に直交もしくはほぼ直交するスラスト方向に前記現像剤担持体を係止する現像剤担持体用位置決め部と、前記現像剤担持体および前記塗布ローラを回転駆動して、前記現像剤担持体が前記現像剤担持体用位置決め部により係止された後に前記現像処理を実行する制御手段と、を有することを特徴とする。
また、この発明にかかる画像形成方法は、液体現像剤を担持する現像剤担持体と、第1方向に回転するとともに、前記第1方向に対して斜めに設けられた溝を有しており、前記液体現像剤を前記現像剤担持体に塗布する塗布ローラと、前記現像剤担持体を前記第1方向に直交もしくはほぼ直交するスラスト方向に係止する現像剤担持体用位置決め部と、を有し、前記現像剤担持体および前記塗布ローラを回転駆動して前記現像剤担持体を前記現像剤担持体用位置決め部に向けてスラスト方向に移動させる工程と、前記現像剤担持体を前記現像剤担持体用位置決め部で係止させる工程と、前記現像剤担持体が前記現像剤担持体用位置決め部で係止された後に前記現像動作を実行する工程とを備えたことを特徴としている。
このように構成された発明では、塗布ローラが第1方向に回転し、現像剤担持体とともに回転駆動されると、第1方向に直交もしくはほぼ直交するスラスト方向にスラスト力が発生する。そして、このスラスト力によって現像剤担持体がスラスト方向に移動する。そこで、この発明では、現像剤担持体用位置決め部が設けられている。このため、スラスト力によって移動してくる現像剤担持体はスラスト方向に現像剤担持体用位置決め部により係止され、現像剤担持体がさらに該係止された位置から移動するのを防止することができる。つまり、現像剤担持体が現像剤担持体用位置決め部により位置決めされる。このようにして現像剤担持体が現像剤担持体用位置決め部により係止されて該係止された位置に位置決めされた後に、現像処理が実行される。したがって、現像処理時における現像剤担持体の移動を防止することができるので、現像精度の向上を図り、精度の高いトナー像を形成することができる。また、このように精度の高いトナー像を例えば転写手段によって例えば転写媒体に転写することにより、転写媒体上に転写したトナー像の精度が向上する。そのため、例えば、互いに異なる色のトナー像を転写媒体上で重ね合わせてカラー画像を形成する際、該転写媒体上に転写される各々のトナー像の精度を向上させることができる。したがって、該精度が向上したトナー像を転写媒体上で重ね合わせてカラー画像を形成するので、該カラー画像の品質の向上を図ることができる。
<第1実施形態>
図1は本発明にかかる画像形成装置の第1実施形態であるプリンタの内部構成を示す図、図2は図1の要部拡大図、図3は同プリンタの電気的構成を示すブロック図である。この画像形成装置は、いわゆるタンデム方式のカラープリンタであり、イエロー(Y)、マゼンタ(M)、シアン(C)、ブラック(K)の4色の感光体11Y、11M、11C、11Kを装置本体2内に並設している。このプリンタは、湿式現像方式を採用して、各感光体11Y、11M、11C、11K上のトナー像を重ね合わせてフルカラー画像を形成したり、ブラック(K)のトナー像のみを用いてモノクロ画像を形成するものである。このプリンタでは、ホストコンピュータなどの外部装置から画像信号を含む印刷命令が主制御部100に与えられると、この主制御部100からの制御信号に応じてエンジン制御部110がエンジン部1の各部を制御して、装置本体2の下部に配設された給紙カセット3から搬送した転写紙、複写紙およびOHP用紙などの記録媒体4に上記画像信号に対応する画像を印字出力する。
上記エンジン部1では、転写ユニット40の一構成要素である中間転写ベルト41(本発明の「転写媒体」に相当)の周回方向47に沿って並設された4つの感光体11Y、11M、11C、11Kのそれぞれに対応して、帯電部12、露光部20、現像部30(30Y、30M、30C、30K)および感光体クリーニング部14が設けられている。また、各現像部30Y、30M、30C、30Kは、各色トナーを分散した現像液32を貯留するタンク33(33Y、33M、33C、33K)をそれぞれ備えている。なお、これら帯電部12、露光部20、現像部30および感光体クリーニング部14の構成はいずれのトナー色についても同一である。したがって、ここでは、イエローに関する構成について説明し、その他のトナー色については同一または相当符号を付して説明を省略する。
図2に示すように、感光体11Yは矢印の方向(図中、時計回り方向)に回転自在に設けられており、その直径は約40mmである。そして、この感光体11Yの周りには、その回転方向に沿って、帯電部12、現像ローラ31、除電部(図示省略)および感光体クリーニング部14が配設されている。また、帯電部12と現像位置16との間の表面領域が露光部20からの光ビーム21の照射領域となっている。帯電部12は、帯電バイアス発生部111から帯電バイアスが印加されて、感光体11Yの外周面を所定の表面電位Vd(例えばVd=DC+600V)に均一に帯電するもので、帯電手段としての機能を有する。
この帯電部12によって均一に帯電された感光体11Yの外周面に向けて露光部20から例えばレーザで形成される光ビーム21が照射される。この露光部20は、露光制御部112から与えられる制御指令に応じて光ビーム21により感光体11Yを露光して、感光体11Y上に画像信号に対応するイエロー用静電潜像を形成するもので、露光手段としての機能を有する。例えば、ホストコンピュータなどの外部装置よりインターフェース102を介して主制御部100のCPU101に画像信号を含む印刷命令が与えられると、主制御部100のCPU101からの指令に応じてCPU113(本発明の「制御手段」に相当)が露光制御部112に対し所定のタイミングで画像信号に対応した制御信号を出力する。そして、この露光制御部112からの制御指令に応じて露光部20から光ビーム21が感光体11Yに照射されて、画像信号に対応するイエロー用静電潜像が感光体11Y上に形成される(潜像形成処理)。また、必要に応じてパッチ画像を形成する場合には、予め設定された所定パターン(例えば、べた画像、細線画像、白抜き細線画像、レジストマークなど)の画像信号に対応した制御信号がCPU113から露光制御部112に与えられ、該パターンに対応するイエロー用静電潜像が感光体11Y上に形成される。
こうして形成されたイエロー用静電潜像は現像部30Yの現像ローラ31から供給されるイエロートナーによって顕像化される(現像処理)。そして、感光体11Y上に形成されたイエロートナー像は、感光体11Yの回転に伴って1次転写ローラ53Yと対向する1次転写位置42Yに搬送される。この1次転写ローラ53Yは感光体11Yとで中間転写ベルト41を挟み込むように配置されている。また、この中間転写ベルト41は複数のローラ43a〜43e,44,45に掛け渡されており、図示を省略する駆動モータにより感光体11Yに従動する方向(図1中、反時計回り)47に感光体11Yと等しい周速で周回走行する。そして、転写バイアス発生部115から1次転写バイアス(例えばDC−400V)が印加されると、感光体11Y上のイエロートナー像が1次転写位置42Yで中間転写ベルト41に1次転写される(転写処理)。このように本実施形態では、1次転写ローラ53Y,53M,53C,53Kおよび転写バイアス発生部115が本発明の「転写手段」として機能している。
一方、1次転写後における感光体11Y上の残留電荷はLEDなどからなる除電部により除去され、残留現像液は感光体クリーニング部14により除去される。この感光体クリーニング部14は、感光体11Yの表面に当接されたゴム製の感光体クリーニングブレード141を有し、中間転写ベルト41にトナー像が1次転写された後に、感光体11Y上に残存する現像液32を感光体クリーニングブレード141により掻き落として除去することができる。なお、この現像部30Yの構成および動作については後で詳述する。
また、他のトナー色についても、イエロー(Y)と同様に構成されており、画像信号に対応したトナー像が形成される。そして、感光体11Y、11M、11C、11K上に形成されたイエロー(Y)、マゼンタ(M)、シアン(C)、ブラック(K)の各色トナー像は、1次転写ローラ53Y、53M、53C、53Kと対向する1次転写位置42Y、42M、42C、42Kでそれぞれ1次転写されることにより、中間転写ベルト41の表面上で重ね合わされてフルカラーのトナー像が形成される。なお、本明細書中における「画像形成動作」とは、上記した「潜像形成処理」、「現像処理」、「転写処理」を実行することによって、中間転写ベルト41上にフルカラーもしくはモノクロのトナー像を形成する動作を表すものとする。
中間転写ベルト41に形成されたトナー像は中間転写ベルト41の回転に伴ってローラ45、48で挟まれた2次転写位置49に搬送される。一方、給紙カセット3(図1)に収容されている記録媒体4は、1次転写トナー像の搬送に同期して後述する搬送ユニット70により2次転写位置49に搬送される。そして、ローラ48は中間転写ベルト41に従動する方向(図1中、時計回り)に中間転写ベルト41と等しい周速で回転しており、転写バイアス発生部115から2次転写バイアスが印加されると、中間転写ベルト41上のトナー像が記録媒体4に2次転写される。このローラ48としては、例えば、ゴム硬度がJIS−Aで約50度のウレタンゴムで構成されており、その直径が約25mmのものを用いることができる。なお、この実施形態ではローラ転写を採用しているため、定電圧制御により転写条件を設定したり、定電流制御により転写条件を設定することができる。また、ローラ転写の代わりに、コロナ放電により転写を行うようにしてもよいが、この場合にはコロナ放電の出力を制御することで転写条件を設定することができる。2次転写後における中間転写ベルト41上の残留現像液はクリーニングブレード51により除去される。
上記のようにしてトナー像が2次転写された記録媒体4は、所定の搬送経路5(図1中、一点鎖線)に沿って搬送され、定着ユニット60によってトナー像が記録媒体4に定着され、装置本体2の上部に設けられた排出トレイに排出される。この定着ユニット60は加熱ヒータ61hを内蔵する加熱ローラ61と、加熱ローラ61に接触する加圧ローラ62とを備えている。そして、ヒータ制御部116により加熱ヒータ61hの作動を制御することで定着ユニット60での定着温度が任意の温度に調整可能となっている。
また、この実施形態にかかる画像形成装置では、記録媒体4を所定の搬送経路5に沿って搬送するための搬送ユニット70が設けられている。この搬送ユニット70では、図1に示すように、給紙カセット3に対応して給紙ローラ71が設けられており、この給紙ローラ71により給紙カセット3に収容されている記録媒体4を1枚ずつ取出し、フィードローラ72に搬送する。そして、このフィードローラ72が記録媒体4をゲートローラ73に搬送し、このゲートローラ位置で一時的に待機させる。そして、上記のように2次転写動作に対応したタイミングでゲートローラ73が駆動して記録媒体4を2次転写位置49に送り込む。また、排出トレイ側では、排出前ローラ74、排出ローラ75および反転コロ76が設けられており、2次転写された記録媒体4は定着ユニット60、排出前ローラ74および排出ローラ75を経由して排出トレイ側に搬送される。
ここで、両面印刷するためには記録媒体4を反転させて再度ゲートローラ73に搬送する必要があるため、排出ローラ75は正逆回転可能となっている。すなわち、記録媒体4をそのまま排出トレイに排出する際には、正回転し続けて記録媒体4を排出トレイに完全に搬送する。一方、反転再給送する際には、記録媒体4の後端部が排出前ローラ74と排出ローラ75との間の所定位置に達すると、排出ローラ75が逆回転して記録媒体4を反転コロ76に送り込む。これによって記録媒体4は反転経路5aに沿って再給送中間ローラ77に搬送される。そして、再給送中間ローラ77および再給送ゲート前ローラ78がゲートローラ73に記録媒体4を搬送し、このゲートローラ位置で一時的に待機させる。こうして、記録媒体4の反転再給送が行われる。このとき、2次転写位置49において中間転写ベルト41と当接し画像を転写される記録媒体4の面は、先に画像が転写された面とは反対の面である。このようにして、記録媒体4の両面に画像を形成することができる。また、該反対の面に2次転写が実行される際、先に画像が転写された面がローラ48に接触するが、この際、完全に記録媒体4に定着されていないトナーがローラ48に付着することがある。このようにしてローラ48に付着したトナーは、クリーニングブレード52により除去される。
なお、図3において、主制御部100は、インターフェース102を介して外部装置から与えられた画像信号を記憶するための画像メモリ103を備えており、CPU101は、外部装置から画像信号を含む印刷命令をインターフェース102を介して受信すると、エンジン部1の動作指示に適した形式のジョブデータに変換し、エンジン制御部110に送出する。
また、エンジン制御部110のメモリ117は、予め設定された固定データを含むCPU113の制御プログラムを記憶するROMや、エンジン部1の制御データやCPU113による演算結果などを一時的に記憶するRAMなどからなる。CPU113はCPU101を介して外部装置から送られた画像信号に関するデータをメモリ117に格納する。
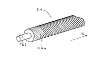
続いて、現像部30Y(本発明の「現像手段」に相当)の構成および動作について図2、図4ないし図6を参照しつつ詳述する。図4は表面に溝が形成されたアニロクスローラの斜視概念図、図5は図2の矢印Aの方向から見た現像部の模式図、図6は第1画像形成処理を示すフローチャートである。なお、現像部30M,30C,30Kの構成は現像部30Yの構成と同様であり、同一構成には同一符号または相当符号を付して説明を省略する。
この現像部30Yは、現像ローラ31(本発明の「現像剤担持体」に相当)に加えて、イエロートナーを分散した現像液32を貯留するタンク33Yと、該タンク33Yに貯留された現像液32を撹拌する撹拌ローラ37と、該現像液32を汲み出して現像ローラ31に塗布する塗布ローラ34と、該塗布ローラ34上の現像液層の厚さを均一に規制する規制ブレード35と、感光体11Yへのトナー供給後に現像ローラ31上に残留した現像液を除去する現像ローラクリーニング部36とを備えている。現像ローラ31は感光体11Yに従動する方向D1(図2中、反時計回り)に感光体11Yとほぼ等しい周速で回転する。また、塗布ローラ34は現像ローラ31に従動する方向D2(図2中、時計回り、本発明の「第1方向」に相当)に現像ローラ31とほぼ等しい周速で回転する。
現像液32(本発明の「液体現像剤」に相当)は、本実施形態では、平均粒径0.1〜5μm程度の着色顔料、この着色顔料を接着するエポキシ樹脂などの接着剤、トナーに所定の電荷を与える荷電制御剤、着色顔料を均一に分散させる分散剤等からなるトナーが、液体キャリア中に分散されてなる。本実施形態では、液体キャリアとして、例えばポリジメチルシロキサンオイルなどのシリコーンオイルを用いており、トナー濃度を5〜40重量%として、湿式現像方式で多く用いられる低濃度現像液(トナー濃度が1〜2重量%)に比べて高濃度にしている。なお、液体キャリアの種類はシリコーンオイルに限定されるものではなく、また、現像液32の粘度は、使用する液体キャリアやトナーを構成する各材料、トナー濃度などによって決まるが、本実施形態では、例えば粘度を100〜10000mPa・sとしている。
感光体11Yと現像ローラ31との間隔(現像ギャップ=現像液層の厚さ)は、本実施形態では例えば5〜40μmに設定し、現像ニップ距離(現像液層が感光体11Yおよび現像ローラ31の双方に接触している周方向の距離)は、本実施形態では例えば5mmに設定している。上述した低濃度現像液の場合にはトナー量を稼ぐべく100〜200μmの現像ギャップを必要とするのに比べて、高濃度現像液を用いる本実施形態では現像ギャップを短縮することができる。従って、現像液中を電気泳動によって移動するトナーの移動距離が短縮するとともに、同一の現像バイアスを印加してもより高い電界が発生するので、現像効率を向上することができ、現像を高速に行えることとなる。
撹拌ローラ37は、タンク33Yに収容されている現像液32を汲み上げて塗布ローラ34へ搬送する。この撹拌ローラ37は、その下部がタンク33Yに貯留された現像液32に浸されており、また、塗布ローラ34から、約1mmの幅を持って離間している。さらに、撹拌ローラ37は、その中心軸を中心として回転可能であり、該中心軸は、塗布ローラ34の回転中心軸よりも下方にある。また、撹拌ローラ37は、塗布ローラ34の回転方向(図2中、時計回り)と同じ方向に回転する。なお、撹拌ローラ37は、タンク33Yに収容された現像液32を汲み上げて塗布ローラ34へ搬送する機能を有するとともに、現像液32を適正な状態に維持するためにを撹拌する機能をも有している。このような撹拌ローラとしては、例えば、鉄等金属性のローラであり、その直径が約20mmのものを用いることができる。
塗布ローラ34は、タンク33Yから撹拌ローラ37により搬送された現像液32を塗布位置17において現像ローラ31へ供給する。この塗布ローラ34は、鉄等金属性のローラの表面に図4に示すように溝34aが均一かつ螺旋状に形成されニッケルメッキが施された、いわゆるアニロクスローラを呼称されるものであり、その直径は約25mmである。本実施形態では、図4に示すように、塗布ローラ34の回転方向D2に対して斜めに複数の溝34aが形成されている。塗布ローラ34にはローラ駆動部118(図3)と電気的に接続されたローラ駆動モータ340が設けられており、ローラ駆動部118からの制御信号に従ってローラ駆動モータ340が回転する。そして、このローラ駆動モータ340が回転することによって、塗布ローラ34は矢印D2の方向へ回転する。このように、塗布ローラ34は時計回りに回転しながら現像液32に接触することによって、溝34aに現像液32を担持して、該担持した現像液32を現像ローラ31へ搬送する。したがって、塗布ローラ34は溝34aが形成されているX方向の幅で現像ローラ31に現像液32を塗布することができる。なお、溝ピッチ(スラスト方向において、溝34aを形成する山と山の周期)は、必要な現像液32の膜厚に応じておよそ55〜250μmとするのが好ましい。本実施形態では、溝ピッチが約170μm、山の幅が約45μm、溝34aの幅30μm、溝34aの深さが約50μmとなるように構成されている。
また、塗布ローラ34は、該塗布ローラ34上の現像液32を現像ローラ31に適切に塗布するために、その表面が、該現像ローラ31の後述する弾性体の層に圧接している。また、塗布ローラ34は、その中心軸を中心として回転可能であり、当該中心軸は、現像ローラ31の回転中心軸よりも下方にある。また、塗布ローラ34は、現像ローラ31の回転方向(図2中、反時計回り)と逆の方向(図2中、時計回り)に回転する。
規制ブレード35は、塗布ローラ34の回転方向D2における塗布位置17の上流側において、塗布ローラ34のスラスト方向に沿って、該塗布ローラ34の表面に接触して、塗布ローラ34上の現像液32の量を規制する。すなわち、規制ブレード35は、塗布ローラ34上の余剰な現像液32を掻き取って、現像ローラ31に供給する塗布ローラ34上の現像液32の量を計量する役割を果たしている。この規制ブレード35は、弾性体としてのウレタンゴムからなり、鉄等金属製の規制ブレード支持部材351によって支持されている。なお、本実施形態において、規制ブレード35のゴム硬度は、JIS−Aで約77度であり、規制ブレード35は、その先端が塗布ローラ34の回転方向の下流側に向くように配置されており、いわゆるトレール規制を行っている。
現像ローラ31は、感光体11Yに担持された静電潜像を現像液32により現像するために、現像液32を担持して感光体11Yと対向する現像位置16に搬送する。この現像ローラ31は、鉄等金属製の内芯の外周部に、導電性を有する弾性部の一例としての弾性体の層を備えたものであり、その直径は約20mmである。また、弾性体の層は、二層構造になっており、その内層として、ゴム硬度がJIS−A約30度で、厚み約5mmのウレタンゴムが、その表層(外層)として、ゴム硬度がJIS−A約85度で、厚み約30μmのウレタンゴムが備えられている。そして、現像ローラ31は、その表層が圧接部となって、弾性変形された状態で塗布ローラ34及び感光体11Yのそれぞれに圧接して
いる。
また、現像ローラ31は、その中心軸を中心として回転可能であり、該中心軸は、感光体11Yの回転中心軸よりも下方にある。現像ローラ31にはローラ駆動部118と電気的に接続されたローラ駆動モータ310が設けられており、ローラ駆動部118からの制御信号に従ってローラ駆動モータ310が回転する。そして、このローラ駆動モータ310が回転することによって、現像ローラ31は、感光体11Yの回転方向と逆の方向D1(図2中、反時計回り)に回転する。なお、感光体11Y上に形成された静電潜像を現像する際には、現像ローラ31と感光体11Yとの間に電界が形成される。
現像ローラクリーニング部36は、現像ローラ31の回転方向D1における現像位置16の下流側において、現像ローラ31のスラスト方向に沿って、該現像ローラ31の表面に当接されたゴム製の現像ローラクリーニングブレード361を有する。そして、前記現像位置16で現像が行われた後に、現像ローラ31上に残存する現像液32を現像ローラクリーニングブレード361により掻き落として除去するための装置である。
このように構成された現像部30Yにおいて、撹拌ローラ37が、その中心軸回りに回転することによって、タンク33Yに収容されている現像液32を汲み上げて塗布ローラ34へ搬送する。塗布ローラ34に搬送された現像液32は、塗布ローラ34の回転によって、規制ブレード35の当接位置に至る。そして、該当接位置を通過する際に、現像液32の余剰分が規制ブレード35によって掻き取られ、現像ローラ31に供給される現像液32の量が計量される。すなわち、塗布ローラ34には、前述したとおり、溝34aが設けられているから、塗布ローラ34に当接する規制ブレード35は、溝34aに担持された現像液32を残して、塗布ローラ34から現像液32を掻き取ることとなる。また、現像ローラ31に供給される現像液32の量が適正な量になるように溝34aの寸法が決められているので、規制ブレード35が塗布ローラ34上の現像液32を掻き取った際には、溝34aによって適正な量に計量された現像液32が溝34aに残存することとなる。
このようにして、タンク33Yに貯留された現像液32が塗布ローラ34により汲み出され、規制ブレード35により塗布ローラ34上の現像液32の量が均一に規制され、この均一な現像液32が塗布位置17において現像ローラ31の表面に塗布され、現像ローラ31の回転に伴って感光体11Yに対向する現像位置16に搬送される。現像液32中のトナーは、荷電制御剤などの作用によって例えば正に帯電している。そして、現像位置16において現像ローラ31に担持されている現像液32が、現像ローラ31から供給されて感光体11Yに付着し、現像バイアス発生部114から現像ローラ31に印加される現像バイアスVb(例えばVb=DC+400V)によってイエロートナーが現像ローラ31から感光体11Yに移動して、イエロー用静電潜像が顕像化される。また、感光体11Yに付着せずに現像ローラ31上に残った現像液は、現像ローラクリーニングブレード361により掻き落とされる。
このようにして、感光体11Y上に形成されたイエロートナー像は、上述したように、1次転写位置42Yにおいて中間転写ベルト41に1次転写され、1次転写が終了後に感光体11Yに残留している現像液32は感光体クリーニング部14によって除去される。
続いて、現像ローラ31および塗布ローラ34の構成および動作について、図5および図6を参照しつつ、さらに詳しく説明する。塗布ローラ34の表面には、上記したように、該塗布ローラ34の回転方向D2に対して斜めに設けられた複数の溝34aが形成されている。したがって、塗布ローラ34と現像ローラ31とが当接しながら回転することによって、塗布ローラ34および現像ローラ31にはそれぞれ、スラスト力THar,THdrが発生する。この実施形態では、現像ローラ31および塗布ローラ34は、それぞれの回転軸が、タンク33Yに設けられた孔に挿通されることによって、回転自在にタンク33Yに配設されている。そして、(+X)側のタンク33Yの側壁の外側の現像ローラ31の回転軸の所定の位置にはEリング382bが取り付けられている。そして、Eリング382bがタンク33Yの側壁に当接することによって、現像ローラ31を所定の位置(本発明の「現像剤担持体係止位置」に相当)に係止することができる。このように、Eリング382bが本発明の「現像剤担持体用位置決め部」として機能している。一方、(−X)側のタンク33Yの側壁の外側の塗布ローラ34の回転軸の所定の位置にはEリング382aが取り付けられている。そして、Eリング382aがタンク33Yの側壁に当接することによって、塗布ローラ34を所定の位置(本発明の「塗布ローラ係止位置」に相当)に係止することができる。このように、Eリング382aが本発明の「塗布ローラ用位置決め部」として機能している。
ところで、塗布ローラ34および現像ローラ31は、製造誤差や組立性などを考慮してスラスト方向に遊びが生じるように設計されており、該スラスト方向に移動自在となっている。そのため、塗布ローラ34および現像ローラ31に対してスラスト方向の外力が印加されると、移動することとなる。なお、スラスト方向の遊びは、およそ0.7mm〜1.0mmとするのが好ましい。本実施形態では、上記した遊びが約0.8mmとなるように構成されている。なお、本実施形態においては、図6に示す第1画像形成処理が実行されている。以下、第1画像形成処理について詳述する。
a)画像形成動作前
この実施形態では、現像ローラ31は所定の係止位置でEリング382bにより係止されておらず、スラスト方向における遊び内のうち、所定の係止位置よりも(+X)側に寄った位置で停止している。また、塗布ローラ34も、所定の係止位置でEリング382aにより係止されておらず、スラスト方向における遊び内のうち、所定の係止位置よりも(−X)側に寄った位置で停止している(図5(a)参照)。この実施形態では、図6に示す第1画像形成処理が実行されているが、ホストコンピュータなどの外部装置よりインターフェース102を介して、画像形成動作の実行を要求する印刷命令が入力されるまで、CPU113(本発明の「制御手段」に相当)は待機状態となる(ステップS1)。
b)回転駆動動作中
ホストコンピュータなどの外部装置よりインターフェース102を介して印刷命令が入力されると、CPU113は制御指令をローラ駆動部118に与え、塗布ローラ34および現像ローラ31を回転駆動させる(ステップS2)。この際、塗布ローラ34および現像ローラ31が当接しながら回転することによって、塗布ローラ34および現像ローラ31のそれぞれにスラスト力THar,THdrが発生する。そのため、塗布ローラ34はスラスト力THarが向う側へ、Eリング382aにより所定の係止位置で係止されるまで移動する。また、現像ローラ31はスラスト力THdrが向う側へ、Eリング382bにより所定の係止位置で係止されるまで移動する。
CPU113は、塗布ローラ34および現像ローラ31を所定の回数、回転駆動させる(ステップS3)。塗布ローラ34および現像ローラ31を回転駆動させる所定の回数は、上記したスラスト方向における遊びの大きさと、塗布ローラ34に形成された溝34aの溝ピッチによって決定される回数であり、
(スラスト方向の遊び)/(溝ピッチ)
以上の回数である。本実施形態では、
(800μm)/(170μm)≒4.7
から、最低5回以上回転させるように構成されている。したがって、所定の回数、塗布ローラ34および現像ローラ31の回転駆動動作を実行することで、確実に、塗布ローラ34および現像ローラ31をそれぞれの係止位置で、Eリング382a,382bにより係止させることができる(図5(b)参照)。
c)画像形成動作
CPU113は、塗布ローラ34および現像ローラ31を所定の回数、回転駆動させると画像形成動作が実行される(ステップS4)。この際、塗布ローラ34および現像ローラ31に発生したスラスト力THar,THdrによって、塗布ローラ34および現像ローラ31は確実に所定の係止位置で、Eリング382a,382bにより係止されている(図5(c)参照)。
以上のように、この実施形態では、塗布ローラ34が矢印D2の方向に回転自在に設けられており、現像ローラ31とともに回転駆動されると、塗布ローラ34の回転方向D2にほぼ直交するX方向(スラスト方向)にスラスト力THar,THdrが発生する。そして、このスラスト力THar,THdrによって塗布ローラ34および現像ローラ31がX方向に移動する。そこで、この実施形態では、各現像部において、Eリング382a,382b(塗布ローラ用位置決め部、現像剤担持体用位置決め部)が設けられている。このため、スラスト力THdrによって移動してくる現像ローラ31はX方向における所定の現像剤担持体係止位置で係止され、現像ローラ31がさらに該係止位置から移動するのを防止することができる。つまり、現像ローラ31が現像剤担持体係止位置に位置決めされる。また、スラスト力THarによって移動してくる塗布ローラ34はX方向における所定の塗布ローラ係止位置で係止され、塗布ローラ34がさらに該係止位置から移動するのを防止することができる。つまり、塗布ローラ34が塗布ローラ係止位置に位置決めされる。このようにして全ての現像ローラ31および塗布ローラ34がそれぞれ所定の係止位置で係止されて該係止位置に位置決めされた後に、各現像部によって現像処理(画像形成動作)が実行される。
したがって、現像処理時における現像ローラ31の移動を防止することができるので、現像精度の向上を図り、精度の高いトナー像を形成することができる。また、現像処理時における現像ローラ31に対する塗布ローラ34の移動を防止して、現像ローラ31に塗布する現像液32の塗布パターンが乱れるのを防止することができる。このように、該塗布パターンが乱れた現像ローラ31上の現像液32で、現像処理を実行するのを防止することができるので、現像精度が劣化するのを防止して、現像精度の向上を図ることができる。また、このように現像精度の向上を図ることにより精度が向上したトナー像を中間転写ベルト41に転写することにより、中間転写ベルト41上に転写したトナー像の精度が向上する。そのため、各現像部30Y,30M,30C,30Kによって形成した互いに異なる色のトナー像を中間転写ベルト41上で重ね合わせてカラー画像を形成する際、該中間転写ベルト41上に転写される各々のトナー像の精度を向上させることができる。したがって、該精度が向上したトナー像を中間転写ベルト41上で重ね合わせてカラー画像を形成しているので、該カラー画像の品質の向上を図ることができる。
また、塗布ローラ34は、その表面に溝が形成されたアニロクスローラであって、溝34aに現像液32を担持することによって現像液32を搬送する構成としている。したがって、塗布ローラ34(アニロクスローラ)の溝34aで現像液32を担持することによって、一定量に計量した現像液32を現像ローラ31に塗布することができる。よって、現像ローラ31に精度よく均一に現像液32を塗布することができる。このように、現像液32が均一に塗布された現像ローラ31が感光体に当接して、該感光体上の静電潜像を現像することによって、該静電潜像の現像精度を向上させることができる。
<第2実施形態>
図7は本発明にかかる画像形成装置の第2実施形態において図2の矢印Aの方向から見た現像部の模式図、図8は第2画像形成処理を示すフローチャートである。この第2実施形態が第1実施形態と大きく相違する点は、現像ローラ31および塗布ローラ34の回転軸の(+X)側に、突起部312,342をそれぞれ突設するとともに、突起部312,342に対応して位置センサ313,343が設けられている点である。また、第2実施形態では、第1画像形成処理の代わりに第2画像形成処理が実行される。その他の構成は第1実施形態と同様であり、以下、第1実施形態との相違点を中心に第2実施形態について詳細に述べる。なお、第1実施形態と同一な構成および動作については、その構成および動作の説明を省略する。
位置センサ313,343(本発明の「位置検出手段」に相当)は、例えば互いに対向配置された発光部(例えばLED)および受光部(例えばフォトダイオード)を有するフォトインタラプタからなり、突起部312,342が突設された(+X)側に配設されて、突起部312,342の有無を検出して検出信号を出力するものである。この実施形態では、現像ローラ31が所定の係止位置にEリング382bにより係止されている状態のとき、突起部312は位置センサ313で検出できない状態となる。また、塗布ローラ34が所定の係止位置にEリング382aにより係止されている状態のとき、突起部342は位置センサ343で検出できる状態となる。このように、位置センサ313,343は、突起部312,342を検出できるか否かで、現像ローラ31および塗布ローラ34の位置決め状態を検出することができる。
この第2実施形態では、第1実施形態と同様に、塗布ローラ34および現像ローラ31は、製造誤差や組立性などを考慮してスラスト方向に遊びが生じるように設計されており、該スラスト方向に移動自在となっている。そこで、本実施形態においては、図8に示す第2予備駆動処理が実行されている。以下、第2予備駆動処理について詳述する。
a)画像形成動作前
この実施形態では、現像ローラ31は所定の係止位置でEリング382bにより係止されておらず、スラスト方向における遊び内のうち、所定の係止位置よりも(+X)側に寄った位置で停止している。また、塗布ローラ34も、所定の係止位置でEリング382aにより係止されておらず、スラスト方向における遊び内のうち、所定の係止位置よりも(−X)側に寄った位置で停止している(図7(a)参照)。この状態のとき、位置センサ313により突起部312は検出できる状態であり、位置センサ343により突起部342は検出できない状態である。そのため、これらの位置センサ313,343からの検出信号(位置情報)に基づいて、CPU113は、現像ローラ31および塗布ローラ34が所定の係止位置に位置決めされていない状態であることを判断することができる。なお、この実施形態では、図8に示す第2画像形成処理が実行されているが、ホストコンピュータなどの外部装置よりインターフェース102を介して、現像動作の実行を要求する印刷命令が入力されるまで、CPU113は待機状態となる(ステップS10)。
b)回転駆動動作中
ホストコンピュータなどの外部装置よりインターフェース102を介して印刷命令が入力されると、CPU113は制御指令をローラ駆動部118に与え、塗布ローラ34および現像ローラ31を回転駆動させる(ステップS20)。この際、塗布ローラ34および現像ローラ31が当接しながら回転することによって、塗布ローラ34および現像ローラ31のそれぞれにスラスト力THar,THdrが発生する。そのため、塗布ローラ34はスラスト力THarが向う側へ、Eリング382aにより所定の係止位置で係止されるまで移動する。また、現像ローラ31はスラスト力THdrが向う側へ、Eリング382bにより所定の係止位置で係止されるまで移動する。
この際、現像ローラ31が所定の位置で位置決めされれば、位置センサ313により突起部312が検出できなくなり、現像ローラ31が所定の位置で位置決めされたことを判断することができる。また、塗布ローラ34が所定の位置で位置決めされれば、位置センサ343により突起部342を検出できるようになり、塗布ローラ34が所定の位置で位置決めされたことを判断することができる。CPU113は、上記のようにして、塗布ローラ34および現像ローラ31が所定の位置で位置決めされたと判断するまで回転駆動動作を実行する(ステップS30)。このように、位置センサ313,343で、現像ローラ31および塗布ローラ34の位置決め状態を検出することによって、確実に、塗布ローラ34および現像ローラ31をそれぞれの係止位置で、Eリング382a,382bにより係止させることができる(図7(b)参照)。
c)画像形成動作
全ての塗布ローラ34および現像ローラ31が所定の位置で位置決めされたと判断された後、画像形成動作が実行される(ステップS40)。この際、塗布ローラ34および現像ローラ31に発生したスラスト力THar,THdrによって、塗布ローラ34および現像ローラ31は確実に所定の係止位置で、Eリング382a,382bにより係止されている(図7(c)参照)。
この第2実施形態では、上記した第1実施形態における作用効果とともに以下の作用効果を奏することができる。すなわち、現像ローラ31および塗布ローラ34を回転方向D2にほぼ直交するスラスト方向における位置決め状態を検出する位置センサ313,343をさらに備え、CPU113およびローラ駆動部118は、位置センサ313,343の検出信号(位置情報)に基づいて画像形成動作を制御している。そのため、現像ローラ31および塗布ローラ34のスラスト方向における位置決め状態をリアルタイムで検出して、該検出した位置情報に基づいて画像形成動作(現像処理)を実行するタイミングを制御することができる。すなわち、現像ローラ31および塗布ローラ34が所定の係止位置へ位置決めされたかどうかをリアルタイムで検出して、現像ローラ31および塗布ローラ34が所定の係止位置へ位置決めされた直後に画像形成動作(現像処理)を実行することができる。したがって、画像形成動作(現像処理)を実行するまでに無駄に回転駆動動作を継続するのを防止することができるため、効率がよい。
<第3実施形態>
図9は本発明にかかる画像形成装置の第3実施形態において図2の矢印Aの方向から見た現像部の模式図である。この第3実施形態が第1実施形態と大きく相違する点は、塗布ローラ341と現像ローラ31とが当接しながら回転することによって発生するスラスト力の向う側が、上記第1実施形態の方向と反対の方向になるように、塗布ローラ341に溝34aを形成している点である。また、本発明の「付勢部材」としてバイアス付与接点38bを現像ローラ31に設けるとともに、バイアス付与接点38aを塗布ローラ341に設けている。そして、ローラ駆動モータ310を現像ローラ31の(+X)側に、ローラ駆動モータ340を塗布ローラ341の(−X)側に設けている。また、本発明の「現像剤担持体用位置決め部」としてのEリング383b、本発明の「塗布ローラ用位置決め部」としてのEリング383aを、それぞれタンク33Yの内側に設けている。また、本実施形態においては、第1画像形成処理が実行されている。また、その他の構成は、第1実施形態と同様である。以下、第1実施形態との相違点を中心に第3実施形態について詳細に述べる。なお、第1実施形態と同一な構成および動作については、その構成および動作の説明を省略する。
塗布ローラ341の表面には、第1実施形態と同様に、該塗布ローラ341の回転方向D2に対して斜めに設けられた複数の溝34aが形成されている。したがって、塗布ローラ341と現像ローラ31とが当接しながら回転することによって、塗布ローラ341および現像ローラ31にはそれぞれ、スラスト力THar2,THdr2が発生する。そして、この実施形態では、塗布ローラ341に発生するスラスト力THar2が向う側と同じ方向に塗布ローラ341を付勢するバイアス付与接点38aが、接点支持部材381に支持されて配設されている。また、現像ローラ31に発生するスラスト力THdr2が向う側と同じ方向に現像ローラ31を付勢するバイアス付与接点38bが、接点支持部材381に支持されて配設されている(図9参照)。
なお、このバイアス付与接点38a,38bは、塗布バイアス発生部(図示省略)および現像バイアス発生部114と電気的に接続されている。したがって、塗布バイアス発生部はバイアス付与接点38aを介して塗布ローラ341に塗布バイアスを印加することができ、現像バイアス発生部114はバイアス付与接点38bを介して現像ローラ31に現像バイアスを印加することができる。また、図9に示すように、本実施形態におけるバイアス付与接点38a,38bは板ばねで構成されている。また、本実施形態におけるバイアス付与接点38aが有する付勢力BFar3は、現像ローラ31と塗布ローラ341との間に作用する静止摩擦力よりも大きくなるように構成している。一方、本実施形態におけるバイアス付与接点38bが有する付勢力BFdr3は、現像ローラ31と感光体11Yとの間に作用する静止摩擦力と、現像ローラ31と塗布ローラ341との間に作用する静止摩擦力との和よりも大きくなるように構成している。また、塗布ローラ341に塗布バイアスを印加することによって、塗布ローラ341に担持された現像液32に含まれるトナー粒子を、該現像液32の表層側に移動させて、塗布ローラ341から現像ローラ31への現像液32の塗布効率を向上させたりすることができる。
また、現像ローラ31および塗布ローラ341は、それぞれの回転軸が、タンク33Yに設けられた孔に挿通されることによって、回転自在にタンク33Yに配設されている。そして、(+X)側のタンク33Yの側壁の内側の現像ローラ31の回転軸の所定の位置にはEリング383bが取り付けられている。そして、Eリング383bがタンク33Yの内壁に当接することによって、現像ローラ31を所定の位置(本発明の「現像剤担持体係止位置」に相当)に係止することができる。このように、Eリング383bが本発明の「現像剤担持体用位置決め部」として機能している。一方、(−X)側のタンク33Yの側壁の内側の塗布ローラ34の回転軸の所定の位置にはEリング383aが取り付けられている。そして、Eリング383aがタンク33Yの内壁に当接することによって、塗布ローラ341を所定の位置(本発明の「塗布ローラ係止位置」に相当)に係止することができる。このように、Eリング383aが本発明の「塗布ローラ用位置決め部」として機能している。
ところで、本実施形態では、塗布ローラ341および現像ローラ31は、製造誤差や組立性などを考慮してスラスト方向に遊びが生じるように設計されており、該スラスト方向に移動自在となっている。そのため、塗布ローラ341および現像ローラ31に対してスラスト方向の外力が印加されると、移動することとなる。本実施形態では、図6に示す第1画像形成処理が実行されるが、その様子について以下に詳述する。
a)画像形成動作前
バイアス付与接点38aによって塗布ローラ341に与えられる付勢力BFar3は、現像ローラ31と塗布ローラ341との間に作用する静止摩擦力よりも大きい。そのため、塗布ローラ341はバイアス付与接点38aからの付勢力BFar3によって、Eリング383aがタンク33Yに当接するまで(−X)側へ移動することができる。そして、塗布ローラ341はEリング383aにより所定の位置で係止される。また、バイアス付与接点38bによって現像ローラ31に与えられる付勢力BFdr3は、現像ローラ31と感光体11Yとの間に作用する静止摩擦力と、現像ローラ31と塗布ローラ341との間に作用する静止摩擦力との和よりも大きい。そのため、現像ローラ31はバイアス付与接点38bからの付勢力BFdr3によって、Eリング383bがタンク33Yに当接するまで(+X)側へ移動することができる。そして、現像ローラ31はEリング383bにより所定の位置で係止される(図9(a)参照)。
b)回転駆動動作、画像形成動作中
印刷命令に応じて、塗布ローラ341および現像ローラ31が当接しながら回転して(回転駆動動作)、塗布ローラ341および現像ローラ31のそれぞれにスラスト力THar2,THdr2が発生する。塗布ローラ341に発生したスラスト力THar2が向う側は付勢力BFar3の方向と同じである。そのため、これらスラスト力THar2と付勢力BFar3の2つの力が塗布ローラ34に作用することによって、塗布ローラ341はEリング383aにより、より強固に係止される。また、現像ローラ31に発生したスラスト力THdr2が向う側は付勢力BFdr3の方向と同じである。そのため、これらスラスト力THdr2と付勢力BFdr3の2つの力が現像ローラ31に作用することによって、現像ローラ31はEリング383bにより、より強固に係止される(図9(b)参照)。そして、塗布ローラ341および現像ローラ31を所定の回数回転させた後に画像形成動作が実行される。
c)画像形成動作終了直後
塗布ローラ341および現像ローラ31が回転停止するのに伴い、それぞれのローラに発生していたスラスト力THar2,THdr2は消失する(図9(c))。しかしながら、塗布ローラ341にはバイアス付与接点38aによる(−X)方向へ付勢力BFar3が作用しており、塗布ローラ341はEリング383aにより係止され、移動しない。また、現像ローラ31にはバイアス付与接点38bによる(+X)方向へ付勢力BFdr3が作用しており、現像ローラ31はEリング383bにより係止され、移動しない。
この第3実施形態では、塗布ローラ341と現像ローラ31とが当接しながら回転することによって発生するスラスト力THar2,THdr2により、塗布ローラ341と現像ローラ31とが相対的に移動する方向と同じ方向に、塗布ローラ341および現像ローラ31とを相対的に移動させる向きの付勢力BFar3,BFdr3を有するバイアス付与接点38a,38b(付勢部材)を備えている。そのため、回転駆動動作時に、現像ローラ31および塗布ローラ341をスラスト力THdr2,THar2とバイアス付与接点の付勢力BFdr3,BFar3の2つの力によって、短時間でスラスト方向における所定の係止位置に移動させて、Eリング383b,383a(位置決め部)により係止することができる。このように、現像ローラ31および塗布ローラ341を、短時間で所定の係止位置での係止状態とすることができるため、画像形成動作を実行するまでの時間を短縮することができる。また、特に、この実施形態では、付勢力BFar3は、現像ローラ31と塗布ローラ341との間に作用する静止摩擦力よりも大きくなるように構成し、付勢力BFdr3は、現像ローラ31と感光体11Yとの間に作用する静止摩擦力と、現像ローラ31と塗布ローラ341との間に作用する静止摩擦力との和よりも大きくなるように構成している。そのため、回転駆動動作を実行する前から、所定の係止位置に両ローラ31,341を位置決めすることができる。また、その上で、画像形成動作を実行する前に回転駆動動作を実行することで、より確実に、両ローラを所定の係止位置への位置決め状態とすることができる。
<第4実施形態>
図10は本発明にかかる第4実施形態における第3画像形成処理を示すフローチャートである。この第4実施形態が第2実施形態と大きく相違する点は、塗布ローラ34および現像ローラ31の回転駆動速度を、画像形成動作前と画像形成動作中とで変化させている点である。その他の構成は、第2実施形態と同様である。以下、第2実施形態との相違点を中心に第4実施形態について詳細に述べる。なお、第2実施形態と同一な構成および動作については、その構成および動作の説明を省略する。
この実施形態における第3画像形成処理を図10を参照しつつ詳述する。この第3画像形成処理では、印刷命令が入力されるまで待機する(ステップS100)。そして、印刷命令が入力された後、第1速度V1で塗布ローラ34および現像ローラ31の回転駆動動作を開始する(ステップS200)。そして、センサ313,343からの検出信号により全てのローラ31,34の位置決めが確認される(ステップS300)と、塗布ローラ34および現像ローラ31の回転駆動速度を第2速度V2(<V1)へと変速する。そして、両ローラ34,31の回転駆動速度を変更した後、画像形成動作(現像処理)を開始する(ステップS500)。
一般的に、現像ローラ31および塗布ローラ34の回転駆動速度が速いほど、現像ローラ31および塗布ローラ34に発生するスラスト力は大きくなる。この第4実施形態では、現像ローラ31および塗布ローラ34が所定の係止位置へ位置決めされるまでは、現像処理時の最適速度である第2速度V2よりも速い第1速度V1で両ローラ31,34を回転駆動している。このような構成とすれば、現像ローラ31もしくは塗布ローラ34が所定の係止位置へ位置決めされるまでの時間を短縮することができるため、画像形成動作(現像処理)を実行するまでの時間を短縮することができる。
<第5実施形態>
図11は本発明にかかる第5実施形態における第4画像形成処理を示すフローチャート、図12は位置ズレ補正処理の1例を示す図である。この第4実施形態が第2実施形態と大きく相違する点は、画像形成動作の替わりに位置ズレ補正処理を実行する点である。その他の構成は、第2実施形態と同様である。以下、第2実施形態との相違点を中心に第4実施形態について詳細に述べる。なお、第2実施形態と同一な構成および動作については、その構成および動作の説明を省略する。
本実施形態における位置ズレ補正処理としては、公知の種々の位置ズレ補正処理を適用することができるが、位置ズレ補正処理の1例について図12を参照しつつ詳述する。まず、図12に示すように、例えば、装置の電源投入直後に中間転写ベルト41上に、イエロー、マゼンダ、シアン、ブラックの順にレジストマークYRM,MRM,CRM,KRMを通常の画像形成動作を実行することでトナー像として形成する。このとき、画像形成のタイミングとして、基準位置S0上にレジストマークYRM,MRM,CRM,KRMが形成されるように制御を行う。しかしながら、装置の組み付け誤差等に起因して、、図12に示すように、光ビームの走査方向Xにおいて、基準位置S0から誤差Sm,Sc,Skを生じて各レジストマークMRM,CRM,KRMが形成されることがある。この誤差Sm,Sc,Skを、CCDカメラ等のセンサによって計測して、該誤差Sm,Sc,Sk分だけ画像位置がずれるように画像形成タイミング(光ビーム21の走査タイミング)を変更してやることによって、該誤差を補正、解消することができる。
続いて、図11を参照しつつ、第4画像形成処理について詳述する。この第4画像形成処理は装置の電源ON時に実行される(ステップS1000)。装置の電源がONされた後、塗布ローラ34および現像ローラ31の回転駆動動作を開始する(ステップS2000)。そして、センサ313,343からの検出信号により全ローラ31,34の位置決めが確認される(ステップS3000)と、例えば、上記したような位置ズレ補正処理が実行される(ステップS4000)。
この第5実施形態では、X方向における現像ローラ31もしくは塗布ローラ34の位置が不安定な状態から、安定した状態(所定の係止位置へ位置決めされた状態)へ移行させた後に、レジストマークYRM,MRM,CRM,KRMを中間転写ベルト41上に形成している。このように、X方向における現像ローラ31および塗布ローラ34の位置が安定した状態で、位置ズレを補正する処理を実行することができるので、該補正処理の補正精度を向上させることが出来る。
<第6実施形態>
図13は本発明にかかる画像形成装置の第6実施形態におけるプリンタの内部構成を示す図、図14は図13のプリンタの電気的構成を示すブロック図、図15は第5画像形成処理を示すフローチャート、図16は画像形成動作の開始タイミングを示すタイムチャートである。この第6実施形態が上記実施形態と大きく相違する点は、いわゆる4サイクル方式の画像形成装置に本発明を適用している点である。また、本実施形態では、第5画像形成処理を実行している。以下、上記実施形態との相違点を中心に第6実施形態について詳細に述べる。なお、上記実施形態と同一な構成および動作については、その構成および動作の説明を省略する。このプリンタでは、ホストコンピュータなどの外部装置から画像信号を含む印刷命令が主制御部100に与えられると、この主制御部100からの制御信号に応じてエンジン制御部110がエンジン部1の各部を制御して、装置本体の下部に配設された給紙カセットから搬送した転写紙、複写紙およびOHP用紙などの記録媒体に上記画像信号に対応する画像を印字出力する。また、このエンジン部1では、4つのカートリッジ:(a)イエロー用現像カートリッジ300Y;(b)マゼンタ用現像カートリッジ300M;(c)シアン用現像カートリッジ300C;(d)ブラック用現像カートリッジ300Kが装置本体に対して着脱自在となっている。
感光体1100は回転自在に取り付けられており、図13の矢印方向に回転する(図13中、時計回り)。また、その感光体1100の周りにその回転方向に沿って、帯電ローラ(図示省略)、現像部300(現像カートリッジ300Y、300M,300C,300K)および感光体クリーニング部(図示省略)がそれぞれ配置される。この帯電ローラは回転自在に支持されながら感光体1100に当接して感光体1100の表面を帯電させる。また、感光体1100の回転方向における帯電ローラの上流側にクリーニングブレード(図示省略)が設けられており、一次転写後に感光体1100の外周面に残留付着している現像液32を掻き落とす。こうして、感光体1100の表面クリーニングを行っている。
この画像形成装置では、図13に示すように、帯電ローラによって帯電された感光体1100の外周面に対して、露光部20からレーザ光21が照射される。この露光部20はエンジン制御部110からの画像信号に応じてレーザ光21を感光体1100上に走査露光して感光体1100上に画像信号に対応する静電潜像を形成する(潜像形成処理)。
こうして形成された静電潜像は4つの現像カートリッジのうちの一の現像カートリッジが有する現像ローラ31に担持された液体現像剤32によって現像されて感光体1100上の静電潜像が顕在化される(現像処理)。各現像ローラ31および塗布ローラ34は各色毎に対応する現像カートリッジに組み込まれている。例えば、イエロー用現像カートリッジ300Yはイエロー用現像ローラ31とイエロー用塗布ローラ34とイエロー用現像液容器331とで構成されており、イエロー用現像カートリッジ300Yを装置本体の所定位置に装着すると、エンジン制御部110によってイエロー用現像ローラ31を感光体1100に対して離当接制御することができるように構成されている。
また、図14に示すように、各現像カートリッジ300M〜300Kには該現像カートリッジの製造ロットや使用履歴、内蔵トナーの残量などに関するデータを記憶するメモリ91〜94がそれぞれ設けられている。さらに、各現像カートリッジ300M〜300Kには無線通信器309Y,309M,309C,309Kがそれぞれ設けられている。そして、必要に応じて、これらが選択的に本体側に設けられた無線通信器109と非接触にてデータ通信を行い、インターフェース105を介してCPU113と各メモリ91〜94との間でデータの送受を行って該現像カートリッジに関する消耗品管理等の各種情報の管理を行っている。なお、この実施形態では、無線通信等の電磁的手段を用いて非接触にてデータ送受を行っているが、本体側および各現像カートリッジ側にコネクタ等を設け、コネクタ等を機械的に嵌合させることで相互にデータ送受を行うようにしてもよい。
現像部300で現像されたトナー像は、ブラック用現像ローラ31とクリーニングブレードとの間に位置する一次転写領域R1で転写ユニット40の中間転写ベルト41上に一次転写され(転写処理)、また適当なタイミングで中間転写ベルト41に転写された中間トナー像はシートに二次転写される。例えば、カラー画像をシートに転写する場合には、感光体1100上に形成される各色のトナー像を中間転写ベルト41上に重ね合わせてカラー像を形成するとともに、カセット等からシートを取出して二次転写領域R2に搬送する。そして、このシートに、カラー像を二次転写してフルーカラー画像を得る。また、モノクロ画像をシートに転写する場合には、感光体1100上のブラックトナー像のみを中間転写ベルト41上に形成し、カラー画像の場合と同様にして二次転写領域R2に搬送されてきたシートに転写してモノクロ画像を得る。
そして、転写ユニット40によってトナー像が転写されたシートは、所定の給紙経路(1点鎖線5)に沿って二次転写領域R2の下流側で装置本体に装着された定着ユニット60に搬送され、搬送されてくるシート上のトナー像をシートに定着する。そして、当該シートはさらに給紙経路に沿って排出トレイ(図示省略)やマルチビンユニットなどの後処理装置(図示省略)に搬送される。
続いて図15および図16を参照しつつ、第5画像形成処理について詳述する。上記したような現像部300では、製造精度や組立誤差等の問題より、現像ローラ31おおよび塗布ローラ34が回転駆動することによって発生するスラスト力の大きさの値や、現像ローラ31および塗布ローラ34を装置に取り付けた際の遊びの大きさの値は、通常、各現像カートリッジ300Y,300M,300C,300Kごとにばらついている。そのため、現像ローラ31および塗布ローラ34を回転駆動することによって、現像ローラ31もしくは塗布ローラ34が所定の係止位置で位置決めされるまでに必要な現像ローラ31および塗布ローラ34を回転駆動する回転駆動時間は、各々の現像カートリッジ300Y〜300Kによって異なっている場合が多い。そこで、本実施形態では、各現像カートリッジ300Y〜300Kが有するメモリ91〜94(本発明の「記憶手段」に相当)に各現像カートリッジごとに必要な回転駆動時間、X方向における遊びの大きさ等を予め記憶させている。そして、例えば、装置の電源ON時の初期化動作の際に、その回転駆動時間情報を読み取って、本体メモリ117に記憶しておくことによって、第5画像形成処理が実行される際に利用することが出来る。
この第5画像形成処理は装置が印刷待機状態であるときに実行されており、印刷命令が入力されるまで待機する(ステップS10000)。装置に印刷命令が入力された後、全ての塗布ローラ34および現像ローラ31の回転駆動動作を開始する(ステップS20000、図16参照)。この際、全ての塗布ローラ34を回転駆動することにより、各現像液容器331に収容されている現像液32を撹拌して適正な状態とする効果がある。そして、必要な時間だけ回転駆動動作が実行されると(ステップS30000)、画像形成動作が実行される(ステップS40000、図16参照)。なお、ステップS30000における所定時間は、メモリ91〜94に記憶されている各現像カートリッジ300Y〜300Kに必要な回転駆動時間TY,TM,TC,TKのうち一番長い時間としている。本実施形態では、回転駆動時間TCを所定時間として利用している。また、図16において、説明を簡便にするために形成されるべき画像のイエロー(Y)成分に対応した潜像の形成動作のみを示してあるが、実際には、画像の種類によってマゼンダ、シアン、ブラック成分に対応した潜像が形成される。
この第6実施形態では、メモリ91〜94に記憶された、各々の現像カートリッジ300Y〜300Kについての必要な回転駆動時間に基づいて画像形成動作(現像処理)を実行するタイミングを調整している。すなわち、全ての現像カートリッジ300Y〜300Kについて、現像ローラ31もしくは塗布ローラ34が、X方向(スラスト方向)における位置が不安定な状態から所定の係止位置へ位置決めされた状態へ移動させるのに必要な、現像ローラ31および塗布ローラ34を最低限回転駆動しなければならない時間を知ることができる。そして、該必要な時間分、現像ローラ31および塗布ローラ34を回転駆動させた後に、画像形成動作(現像処理)を実行している。したがって、必要以上に現像ローラ31および塗布ローラ34を回転駆動させることがないので効率がよい。
<その他>
なお、本発明は上記実施形態に限定されるものではなく、その趣旨を逸脱しない限りにおいて上述したものに対して種々の変更を加えることが可能である。例えば、4色の液体現像剤を用いたカラー画像形成装置に本発明を適用しているが、本発明の適用対象はこれに限定されるものではない。すなわち、本発明は複数色のトナー像を転写ベルト、転写シートや転写ドラムなどの転写媒体上に重ね合わせてカラー画像を形成する画像形成装置全般に対して適用可能である。
また、上記第1ないし第6実施形態では、塗布ローラ34,341および現像ローラ31の両方にスラスト方向における遊びが生じるように構成しており、塗布ローラ34,341および現像ローラ31の両方に位置決め部を設けている。しかしながら、塗布ローラ34,341または現像ローラ31の一方にスラスト方向における遊びが生じるように構成して、該一方のローラにのみ位置決め部を設ける構成としても構わない。例えば、塗布ローラにのみ遊びが生じるように構成した場合、各現像部において、塗布ローラ用位置決め部が設ければよい。このような構成とすれば、スラスト力によって移動してくる塗布ローラはスラスト方向における所定の塗布ローラ係止位置で係止され、塗布ローラがさらに該係止位置から移動するのを防止することができる。つまり、塗布ローラが塗布ローラ係止位置に位置決めされる。このようにして全ての塗布ローラが塗布ローラ係止位置で係止されて該係止位置に位置決めされた後に、各現像手段によって現像処理が実行される。したがって、現像処理時における現像剤担持体に対する塗布ローラの移動を防止して、現像剤担持体に塗布する液体現像剤の塗布パターンが乱れるのを防止することができるので、現像精度が劣化するのを防止して現像精度を向上を図ることができる。また、このように現像精度が向上することによって、精度が向上した複数色のトナー像を転写媒体上で重ね合わせてカラー画像を形成することにより、形成されるカラー画像の品質の向上を図ることができる。
また、付勢部材としては、上記した構成以外にも種々の部材で構成することができる。要は、塗布ローラまたは現像剤担持体を確実に付勢することのできる構成であればよい。例えば、コイルばね、ゴムプッシュ、板ばね等で構成することができる。また、第3実施形態では、ローラ駆動モータが配設されている一方端部と反対側の他方端部から塗布ローラおよび現像ローラを付勢部材によって付勢しているが、ローラ駆動モータが配設されている一方端部から、塗布ローラおよび現像ローラを付勢する構成でももちろん構わない。また、第3実施形態において、塗布ローラおよび現像ローラの位置決めを確認するのにセンサを利用しても構わないし、第4および第5実施形態において、塗布ローラおよび現像ローラの位置決めを行うのに、第1実施形態における構成を利用しても構わない。すなわち、確実に塗布ローラおよび現像ローラを位置決めした後に現像処理を実行することができる構成であれば、種々の手法を組合わせて利用することができる。
また、上記実施形態では、塗布ローラおよび現像ローラにそれぞれローラ駆動モータを配設しているが、1つのローラ駆動モータの回転力を、ギアを用いて2つのローラに伝達して、塗布ローラおよび現像ローラを回転駆動する構成としてももちろん構わない。
また、上記実施形態における位置決め部は、確実に現像剤担持体または塗布ローラを係止することのできる構成であれば、どのような構成としても構わない。例えば、ローラの回転軸にフランジ部を形成したり、ピンを突設したり、円盤を設けたりして構成することができる。
また、上記第1ないし第5実施形態では、露光部20を各感光体11Y,11M,11C,11Kに1対1に対応して設け、各感光体11Y,11M,11C,11Kのそれぞれに、対応した静電潜像を形成するように構成したが、例えば、1つの露光部を配設し、レーザービームの照射方向をミラー等を用いて切り替えることによって、各感光体11Y,11M,11C,11Kのそれぞれに対応した静電潜像を形成する構成としてもよい。その他、LEDアレイを用いた露光手段を使用したり、いわゆる書込帯電を行う潜像書込み手段を用いても構わない。要は、各感光体11Y,11M,11C,11Kのそれぞれに、1対1に対応した静電潜像を形成できる構成であれば、どのような構成としてもよい。
また、上記第1ないし第5実施形態では、規制ブレード35はトレール規制を行っているが、規制ブレードの35の先端が塗布ローラ34の回転方向の上流側に向くように配置して、いわゆるカウンタ規制を行っても構わない。
また、上記第6実施形態における構成を、第1ないし第5実施形態で採用しても構わない。また、記憶部に記憶する情報としては、上記したものの他に、必要な回転駆動速度等がある。また、位置決めに必要な回転駆動時間は、装置が経時的に劣化していくのに応じて変化してしまう場合がある。そこで、この変化した回転駆動時間を装置の電源OFF時に記憶手段に送信して、記憶手段が記憶する回転駆動時間に関する情報を更新する構成としても構わない。このような構成とすれば、装置の状況に応じた最新の回転駆動時間に基づいて装置の制御を行うことができるため、さらに効率良く現像処理を実行することが出来る。
また、上記実施形態では、現像剤担持体および塗布ローラの位置決め完了後に画像形成動作(「潜像形成処理」、「現像処理」、「転写処理」)を実行したが、本発明における「位置決めさせる工程」を実行中に「潜像形成処理」開始し、本発明における「係止させる工程」が完了した後に、本発明における「現像処理」を実行してももちろん構わない。このような構成としても、上記実施形態と同様の作用効果を奏することができる。
また、上記実施形態では、ホストコンピュータなどの外部装置より与えられた画像を転写紙に印刷するプリンタを用いて説明しているが、本発明はこれに限られず、複写機やファクシミリ装置などを含む一般の電子写真方式の画像形成装置に適用することができる。要は、液体キャリアにトナーを分散した液体現像剤を、一旦、塗布ローラで担持したあと、該担持した液体現像剤を現像剤担持体に塗布し、現像剤担持体に塗布された液体現像剤によって、潜像担持体上の静電潜像を現像する画像形成装置全般に本発明を適用することができる。
本発明の第1実施形態であるプリンタの内部構成を示す図。 図1の要部拡大図。 同プリンタの電気的構成を示すブロック図。 アニロクスローラを示す斜視概念図。 図2の矢印Aの方向から見た現像部の模式図。 第1画像形成処理を示すフローチャート。 第2実施形態において図2の矢印Aの方向から見た現像部の模式図。 第2画像形成処理を示すフローチャート。 第3実施形態において図2の矢印Aの方向から見た現像部の模式図。 第4実施形態における第3画像形成処理を示すフローチャート。 第5実施形態における第4画像形成処理を示すフローチャート。 位置ズレ補正処理の1例を示す図。 第6実施形態であるプリンタの内部構成を示す図。 図13のプリンタの電気的構成を示すブロック図。 第6実施形態における第5画像形成処理を示すフローチャート。 画像形成動作の開始タイミングを示すタイムチャート。
符号の説明
11,1100…感光体(潜像担持体)、 115…転写バイアス発生部(転写手段)、 31…現像ローラ(現像剤担持体)、 32…現像液(液体現像剤)、 34,341…塗布ローラ(アニロクスローラ)、 313,343…位置センサ(位置検出手段)、 38a,38b…バイアス付与接点(付勢部材)、 382a,382b,383a,383b…Eリング(位置決め部)、 53Y,53M,53C,53K…1次転写ローラ(転写手段)、 D2…第1方向、 BFar3,BFdr3…付勢力、 THdr,THdr2,THar,THar2…スラスト力、 X…スラスト方向

Claims (3)

  1. 液体現像剤を担持する現像剤担持体と、
    第1方向に回転するとともに、前記第1方向に対して斜めに設けられた溝を有しており、前記液体現像剤を前記現像剤担持体に塗布する塗布ローラと、
    前記第1方向に直交もしくはほぼ直交するスラスト方向に前記現像剤担持体を係止する現像剤担持体用位置決め部と、
    前記現像剤担持体および前記塗布ローラを回転駆動して、前記現像剤担持体が前記現像剤担持体用位置決め部により係止された後に前記現像処理を実行する制御手段と、を有することを特徴とする画像形成装置。
  2. 前記塗布ローラを係止する塗布ローラ用位置決め部を備え、
    前記制御手段は、前記現像剤担持体および前記塗布ローラを回転駆動して、前記塗布ローラが前記塗布ローラ用位置決め部により係止され後に現像を実行することを特徴とする請求項1記載の画像形成装置。
  3. 液体現像剤を担持する現像剤担持体と、第1方向に回転するとともに、前記第1方向に対して斜めに設けられた溝を有しており、前記液体現像剤を前記現像剤担持体に塗布する塗布ローラと、前記現像剤担持体を前記第1方向に直交もしくはほぼ直交するスラスト方向に係止する現像剤担持体用位置決め部と、を有し、
    前記現像剤担持体および前記塗布ローラを回転駆動して前記現像剤担持体を前記現像剤担持体用位置決め部に向けてスラスト方向に移動させる工程と、
    前記現像剤担持体を前記現像剤担持体用位置決め部で係止させる工程と、
    前記現像剤担持体が前記現像剤担持体用位置決め部で係止された後に前記現像動作を実行する工程と
    を備えたことを特徴とする画像形成方法。
JP2004310697A 2004-10-26 2004-10-26 画像形成装置および画像形成方法 Expired - Fee Related JP4635557B2 (ja)

Priority Applications (1)

Application Number Priority Date Filing Date Title
JP2004310697A JP4635557B2 (ja) 2004-10-26 2004-10-26 画像形成装置および画像形成方法

Applications Claiming Priority (1)

Application Number Priority Date Filing Date Title
JP2004310697A JP4635557B2 (ja) 2004-10-26 2004-10-26 画像形成装置および画像形成方法

Related Child Applications (1)

Application Number Title Priority Date Filing Date
JP2010221307A Division JP4858643B2 (ja) 2010-09-30 2010-09-30 画像形成装置および画像形成方法

Publications (3)

Publication Number Publication Date
JP2006126258A JP2006126258A (ja) 2006-05-18
JP2006126258A5 JP2006126258A5 (ja) 2007-11-15
JP4635557B2 true JP4635557B2 (ja) 2011-02-23

Family

ID=36721096

Family Applications (1)

Application Number Title Priority Date Filing Date
JP2004310697A Expired - Fee Related JP4635557B2 (ja) 2004-10-26 2004-10-26 画像形成装置および画像形成方法

Country Status (1)

Country Link
JP (1) JP4635557B2 (ja)

Families Citing this family (3)

* Cited by examiner, † Cited by third party
Publication number Priority date Publication date Assignee Title
US8059978B2 (en) 2007-12-26 2011-11-15 Seiko Epson Corporation Image forming apparatus and method of controlling image forming apparatus
US8099004B2 (en) 2007-12-28 2012-01-17 Seiko Epson Corporation Image forming apparatus and image forming apparatus control method
JP4623131B2 (ja) * 2008-04-23 2011-02-02 ブラザー工業株式会社 画像形成装置

Family Cites Families (7)

* Cited by examiner, † Cited by third party
Publication number Priority date Publication date Assignee Title
JPS5898653U (ja) * 1981-12-25 1983-07-05 株式会社リコー 粉粒体の搬送装置
JPH02168291A (ja) * 1988-12-22 1990-06-28 Konica Corp 記録装置
JPH05100575A (ja) * 1991-10-08 1993-04-23 Olympus Optical Co Ltd 液体現像装置の制御方法
JPH0667508A (ja) * 1991-11-22 1994-03-11 Canon Inc 画像形成装置及びプロセスカートリッジ
JPH0619227A (ja) * 1992-06-30 1994-01-28 Canon Inc プロセスカートリッジ
JPH0926704A (ja) * 1995-07-11 1997-01-28 Ricoh Co Ltd 湿式画像形成装置
JP2003021974A (ja) * 2001-07-06 2003-01-24 Ricoh Co Ltd 液体現像剤の塗布装置および画像形成装置

Also Published As

Publication number Publication date
JP2006126258A (ja) 2006-05-18

Similar Documents

Publication Publication Date Title
JP4917265B2 (ja) 画像形成装置
JP5366477B2 (ja) 画像形成装置
CN101866127B (zh) 图像形成装置
JP4866583B2 (ja) 画像形成装置
JP4375918B2 (ja) 画像形成装置
JP4635557B2 (ja) 画像形成装置および画像形成方法
JP5233876B2 (ja) 画像形成装置
JP4885526B2 (ja) 画像形成装置
JP4858643B2 (ja) 画像形成装置および画像形成方法
JP4852391B2 (ja) 現像装置、プロセスカートリッジ及び画像形成装置
JP4858642B2 (ja) 液体現像装置及び画像形成装置
JP7067251B2 (ja) 現像装置および画像形成装置
JP2009086401A (ja) 画像形成装置
JP4635537B2 (ja) 液体現像装置及び画像形成装置
JP2006091219A (ja) 画像形成装置および画像形成方法
JP7635534B2 (ja) 画像形成装置
US11640124B2 (en) Developing device and image forming apparatus incorporating same
JP4610995B2 (ja) 一成分現像剤を用いる現像装置、画像形成装置及びプロセスカートリッジ
JP4581592B2 (ja) 液体現像装置及び画像形成装置
JP4238550B2 (ja) 画像形成装置および方法
JP4846240B2 (ja) 2つの画像形成装置、現像ユニットと画像形成装置との組み合わせを判定する方法
JP4701692B2 (ja) 現像装置、画像形成装置
JP4529584B2 (ja) 画像形成装置
JP2025042852A (ja) 粉体搬送装置、現像装置及び画像形成装置
JP2006184373A (ja) 画像形成装置

Legal Events

Date Code Title Description
A521 Request for written amendment filed

Free format text: JAPANESE INTERMEDIATE CODE: A523

Effective date: 20071001

A621 Written request for application examination

Free format text: JAPANESE INTERMEDIATE CODE: A621

Effective date: 20071001

A977 Report on retrieval

Free format text: JAPANESE INTERMEDIATE CODE: A971007

Effective date: 20100524

A131 Notification of reasons for refusal

Free format text: JAPANESE INTERMEDIATE CODE: A131

Effective date: 20100803

A521 Request for written amendment filed

Free format text: JAPANESE INTERMEDIATE CODE: A523

Effective date: 20100930

TRDD Decision of grant or rejection written
A01 Written decision to grant a patent or to grant a registration (utility model)

Free format text: JAPANESE INTERMEDIATE CODE: A01

Effective date: 20101026

A01 Written decision to grant a patent or to grant a registration (utility model)

Free format text: JAPANESE INTERMEDIATE CODE: A01

A61 First payment of annual fees (during grant procedure)

Free format text: JAPANESE INTERMEDIATE CODE: A61

Effective date: 20101108

FPAY Renewal fee payment (event date is renewal date of database)

Free format text: PAYMENT UNTIL: 20131203

Year of fee payment: 3

R150 Certificate of patent or registration of utility model

Free format text: JAPANESE INTERMEDIATE CODE: R150

LAPS Cancellation because of no payment of annual fees