JP4635197B2 - 排ガス浄化用酸化触媒及びその製造方法 - Google Patents
排ガス浄化用酸化触媒及びその製造方法 Download PDFInfo
- Publication number
- JP4635197B2 JP4635197B2 JP2005080679A JP2005080679A JP4635197B2 JP 4635197 B2 JP4635197 B2 JP 4635197B2 JP 2005080679 A JP2005080679 A JP 2005080679A JP 2005080679 A JP2005080679 A JP 2005080679A JP 4635197 B2 JP4635197 B2 JP 4635197B2
- Authority
- JP
- Japan
- Prior art keywords
- oxidation catalyst
- powder
- catalyst
- composition formula
- exhaust gas
- Prior art date
- Legal status (The legal status is an assumption and is not a legal conclusion. Google has not performed a legal analysis and makes no representation as to the accuracy of the status listed.)
- Expired - Lifetime
Links
Images
Landscapes
- Exhaust Gas After Treatment (AREA)
- Exhaust Gas Treatment By Means Of Catalyst (AREA)
- Catalysts (AREA)
Description
カルシア源としてCaO粉末と、フェライト源としてのFe2 O3 粉末とを準備し、表1に示す所定の混合モル比で混合し、混合原料を得た。なお、CaO粉末及びFe2 O3 粉末は、微粉砕器で予め平均10ミクロンに粒度を揃えておいた。
次に、上記混合原料を電気炉に入れ、酸素雰囲気下で室温から1000℃まで約1時間で昇温し、その温度で3時間保持した後、自然放冷してNo.1〜6の触媒試料を得た。
触媒試料No.1〜6について、触媒試料中に含まれる結晶相を同定するため、粉末X線回折装置(製品名「RINT−2600TTR」、理学電機社製)を用いて、以下に示す手順により回折パターンを測定した。
試料No.1〜6について、以下に示す手順の窒素吸着法による一点法で、U字管型のガラス製セルを使用して、BET比表面積を測定した。
試料No.3、5の触媒試料について、構造中に含まれる活性酸素の有無及び種類を確認するため、以下に示す手順でラマンスペクトルを測定した。
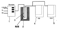
試料No.1〜6について、触媒性能を評価するために、図3に模式構成図を示すガス流通式触媒反応装置を用いて、以下に示す手順で、プロピレン酸化に対する触媒活性を調べた。
(COX 選択率)[%]=[(反応管出口のCOX 濃度)/{(反応管入り口のC3 H6 濃度−反応管出口のC3 H6 濃度)×3}]×100
試料No.1〜6について、プロピレン分解率と反応温度との関係を図4に示す。なお、図4中、丸数字の1〜6がそれぞれ試料No.1〜6に対応する。また、比較のため、触媒試料を入れなかった場合のデータと、触媒試料としてCaO、Fe2 O3 を用いた場合のデータも併せて図4に示す。
試料No.3、5について、水蒸気存在下におけるプロピレン酸化に対する触媒活性を調べた。なお、水蒸気の同伴はバブリング装置を用いて室温でガスを飽和し、水蒸気濃度が2.5%となるようにした。
試料No.3、5について、自動二輪車用の排ガス浄化用触媒としての実用化を想定し、長時間(9時間)の触媒耐久性評価を行った。
なお、カルシア源とフェライト源とを所定の混合モル比Ca/Feで含む混合原料を酸素雰囲気で焼成することにより、酸化触媒として有用なカルシウムフェライトを得ることができるのと同様に、A元素(アルカリ又はアルカリ土類)とB元素(遷移元素)とを所定の混合モル比A/Bで含む混合原料を酸素雰囲気で焼成することによっても、酸化触媒として有用なAX BY OZ 化合物を得ることができるものと考えられる。
3…反応管 4…FIDガスクロマトグラフ
5…TCDガスクロマトグラフ
Claims (5)
- 少なくとも、活性酸素を構造中に内包した活性酸素発現物質であるCaFe2O4の組成式を有するカルシウムフェライトを含むことを特徴とする排ガス浄化用酸化触媒。
- 活性酸素を構造中に内包した活性酸素発現物質であるCa2Fe2O5の組成式を有するカルシウムフェライトをさらに含むことを特徴とする請求項1記載の排ガス浄化用酸化触媒。
- Fe2O 3 をさらに含むことを特徴とする請求項1記載の排ガス浄化用酸化触媒。
- カルシア源とフェライト源とを所定の混合モル比Ca/Feで含む混合原料を得る混合原料準備工程と、該混合原料を酸素雰囲気で600℃以上に加熱する焼成工程とを備え、
前記焼成工程では、前記混合モル比Ca/Feが、1.0≦Ca/Feであるときは1438℃以下の加熱温度で、0.5≦Ca/Fe<1であるときは1216℃以下の加熱温度で、0.25≦Ca/Fe<0.5であるときは1205℃以下の加熱温度で、0<Ca/Fe<0.25であるときは1226℃以下の加熱温度で、それぞれ加熱することにより、活性酸素を構造中に内包したCa2Fe2O5の組成式を有するカルシウムフェライト及び活性酸素を構造中に内包したCaFe2O4の組成式を有するカルシウムフェライトのうちの少なくとも一種を含む酸化触媒を製造することを特徴とする排ガス浄化用酸化触媒の製造方法。 - 前記混合原料準備工程では、前記混合モル比を、0.33≦Ca/Fe≦3.0とすることを特徴とする請求項4記載の排ガス浄化用酸化触媒の製造方法。
Priority Applications (1)
| Application Number | Priority Date | Filing Date | Title |
|---|---|---|---|
| JP2005080679A JP4635197B2 (ja) | 2005-03-18 | 2005-03-18 | 排ガス浄化用酸化触媒及びその製造方法 |
Applications Claiming Priority (1)
| Application Number | Priority Date | Filing Date | Title |
|---|---|---|---|
| JP2005080679A JP4635197B2 (ja) | 2005-03-18 | 2005-03-18 | 排ガス浄化用酸化触媒及びその製造方法 |
Publications (2)
| Publication Number | Publication Date |
|---|---|
| JP2006255677A JP2006255677A (ja) | 2006-09-28 |
| JP4635197B2 true JP4635197B2 (ja) | 2011-02-16 |
Family
ID=37095459
Family Applications (1)
| Application Number | Title | Priority Date | Filing Date |
|---|---|---|---|
| JP2005080679A Expired - Lifetime JP4635197B2 (ja) | 2005-03-18 | 2005-03-18 | 排ガス浄化用酸化触媒及びその製造方法 |
Country Status (1)
| Country | Link |
|---|---|
| JP (1) | JP4635197B2 (ja) |
Cited By (1)
| Publication number | Priority date | Publication date | Assignee | Title |
|---|---|---|---|---|
| CN111841296A (zh) * | 2020-07-27 | 2020-10-30 | 北京北科环境工程有限公司 | 一种高炉煤气用脱硫剂及其制备方法 |
Families Citing this family (14)
| Publication number | Priority date | Publication date | Assignee | Title |
|---|---|---|---|---|
| JP2009012156A (ja) * | 2007-07-09 | 2009-01-22 | Yamanashi Prefecture | ピーニング方法 |
| JP2009142789A (ja) * | 2007-12-17 | 2009-07-02 | Nippon Steel Materials Co Ltd | 排ガス浄化用触媒担体及びその製造方法、排ガス浄化用触媒、並びに排ガス浄化用ハニカム触媒構造体 |
| JP5009777B2 (ja) * | 2007-12-28 | 2012-08-22 | ラボテック株式会社 | ハイブリッド燃焼触媒の製造方法 |
| JPWO2010010714A1 (ja) * | 2008-07-23 | 2012-01-05 | 新日鉄マテリアルズ株式会社 | 酸素貯蔵材料、排ガス浄化用触媒、及び排ガス浄化用ハニカム触媒構造体 |
| WO2010103669A1 (ja) * | 2009-03-12 | 2010-09-16 | 新日鉄マテリアルズ株式会社 | 排ガス浄化用触媒担体及びその製造方法、排ガス浄化用触媒、並びに排ガス浄化用ハニカム触媒構造体 |
| JP2010284597A (ja) * | 2009-06-12 | 2010-12-24 | Nippon Steel Materials Co Ltd | ディーゼル排ガス酸化触媒及びディーゼル排ガス酸化触媒ハニカム構造体 |
| JP5704047B2 (ja) * | 2011-10-12 | 2015-04-22 | トヨタ自動車株式会社 | 排ガス浄化用触媒 |
| JP5760981B2 (ja) * | 2011-11-25 | 2015-08-12 | トヨタ自動車株式会社 | 排ガス浄化用触媒及びその製造方法 |
| JP5720558B2 (ja) * | 2011-12-15 | 2015-05-20 | トヨタ自動車株式会社 | 排ガス浄化用触媒 |
| JP2013194572A (ja) * | 2012-03-16 | 2013-09-30 | Osaka Gas Co Ltd | エンジンの排ガス浄化装置 |
| JP2018059480A (ja) * | 2016-10-07 | 2018-04-12 | 國立高雄應用科技大學 | フェライトを自動車エンジン排気ガス処理の三元触媒として用いる用途 |
| CN107601430B (zh) * | 2017-09-25 | 2020-09-15 | 东南大学 | 基于CaFe2O4/Ca2Fe2O5的催化循环制氢协同捕集二氧化碳的方法和装置 |
| RU2729783C1 (ru) * | 2020-02-18 | 2020-08-12 | Федеральное государственное бюджетное научное учреждение "Федеральный исследовательский центр "Красноярский научный центр Сибирского отделения Российской академии наук" (ФИЦ КНЦ СО РАН, КНЦ СО РАН) | Способ получения материала, проявляющего газочувствительные и каталитические свойства, на основе CaFe2O4 |
| CN114229910A (zh) * | 2021-11-08 | 2022-03-25 | 宁夏大学 | 一种钙铁双功能复合载氧体及其规模化制备方法 |
Family Cites Families (4)
| Publication number | Priority date | Publication date | Assignee | Title |
|---|---|---|---|---|
| JPS513128B2 (ja) * | 1971-08-25 | 1976-01-31 | ||
| JPS5021988A (ja) * | 1973-06-29 | 1975-03-08 | ||
| JPS5230275B2 (ja) * | 1974-03-06 | 1977-08-06 | ||
| JP4281061B2 (ja) * | 2004-04-15 | 2009-06-17 | 独立行政法人産業技術総合研究所 | 活性酸素吸蔵物質及びその製造方法 |
-
2005
- 2005-03-18 JP JP2005080679A patent/JP4635197B2/ja not_active Expired - Lifetime
Cited By (1)
| Publication number | Priority date | Publication date | Assignee | Title |
|---|---|---|---|---|
| CN111841296A (zh) * | 2020-07-27 | 2020-10-30 | 北京北科环境工程有限公司 | 一种高炉煤气用脱硫剂及其制备方法 |
Also Published As
| Publication number | Publication date |
|---|---|
| JP2006255677A (ja) | 2006-09-28 |
Similar Documents
| Publication | Publication Date | Title |
|---|---|---|
| JP4635197B2 (ja) | 排ガス浄化用酸化触媒及びその製造方法 | |
| Zhang et al. | The catalytic oxidation performance of toluene over the Ce-Mn-Ox catalysts: Effect of synthetic routes | |
| Ma et al. | Highly efficient catalytic oxidation of benzene over Ag assisted Co3O4 catalysts | |
| Wang et al. | High-temperature adsorption of carbon dioxide on mixed oxides derived from hydrotalcite-like compounds | |
| JP6143761B2 (ja) | 水素生成触媒及び水素の製造法 | |
| Dasireddy et al. | Selective catalytic reduction of NOx by CO over bimetallic transition metals supported by multi-walled carbon nanotubes (MWCNT) | |
| Li et al. | Influence of zirconia crystal phase on the catalytic performance of Au/ZrO2 catalysts for low-temperature water gas shift reaction | |
| TW442328B (en) | An adsorbent for the removal of trace quantities from a hydrocarbon stream and process for its use | |
| Saeidi et al. | Co-doping a metal (Cr, Mn, Fe, Co, Ni, Cu, and Zn) on Mn/ZSM-5 catalyst and its effect on the catalytic reduction of nitrogen oxides with ammonia | |
| Ji et al. | A comparative study of bulk and 3DOM-structured Co3O4, Eu0. 6Sr0. 4FeO3, and Co3O4/Eu0. 6Sr0. 4FeO3: Preparation, characterization, and catalytic activities for toluene combustion | |
| Song et al. | Influence of the precursor on the porous structure and CO 2 adsorption characteristics of MgO | |
| Intiso et al. | The fascinating world of mayenite (Ca12Al14O33) and its derivatives | |
| Yuan et al. | Liquid‐phase hydrogenation of cinnamaldehyde over Cu‐Au/SiO2 catalysts | |
| Yang et al. | Combined effect of oxygen vacancies and mesopore sizes in ZnO/SiO2 adsorbents on boosting the H2S removal efficiency in moist conditions | |
| Zhang et al. | Enhancement of catalytic performance over different transition metals modified CeO2 for toluene abatement | |
| Richards et al. | Effect of the preparation method of LaSrCoFeOx perovskites on the activity of N2O decomposition | |
| Li et al. | Effect of La-modified supporter on H2S removal performance of Mn/La/Al2O3 sorbent in a reducing atmosphere | |
| Li et al. | Temperature-dependent reaction pathways of CO oxidation and the application as monolithic catalysts for Co3O4 nanorods | |
| Sun et al. | Fabrication of Pd 3@ Beta for catalytic combustion of VOCs by efficient Pd 3 cluster and seed-directed hydrothermal syntheses | |
| Cheng et al. | Effect of ceria loading on Zr-pillared clay catalysts for selective catalytic reduction of NO with NH 3 | |
| Qi et al. | Catalytic oxidation of toluene over B‐site doped La‐based perovskite LaNi x B1− x O3 (B= Co, Cu) catalysts | |
| Zhao et al. | Mn 3 O 4 doped with highly dispersed Zr species: A new non-noble metal oxide with enhanced activity for three-way catalysis | |
| Dorado et al. | Copper ion-exchanged and impregnated Fe-pillared clays: Study of the influence of the synthesis conditions on the activity for the selective catalytic reduction of NO with C3H6 | |
| Zhu et al. | Insights into the active sites of copper species in CuO/SiO2 catalysts for NH3-SCR: Quantitative analysis and mechanism study | |
| Huang et al. | Effect of calcination temperature on the catalytic oxidation of formaldehyde over Co3O4–CeO2 catalysts |
Legal Events
| Date | Code | Title | Description |
|---|---|---|---|
| A621 | Written request for application examination |
Free format text: JAPANESE INTERMEDIATE CODE: A621 Effective date: 20080303 |
|
| A977 | Report on retrieval |
Free format text: JAPANESE INTERMEDIATE CODE: A971007 Effective date: 20100707 |
|
| A131 | Notification of reasons for refusal |
Free format text: JAPANESE INTERMEDIATE CODE: A131 Effective date: 20100713 |
|
| A521 | Request for written amendment filed |
Free format text: JAPANESE INTERMEDIATE CODE: A523 Effective date: 20100908 |
|
| A131 | Notification of reasons for refusal |
Free format text: JAPANESE INTERMEDIATE CODE: A131 Effective date: 20100930 |
|
| A521 | Request for written amendment filed |
Free format text: JAPANESE INTERMEDIATE CODE: A523 Effective date: 20101006 |
|
| TRDD | Decision of grant or rejection written | ||
| A01 | Written decision to grant a patent or to grant a registration (utility model) |
Free format text: JAPANESE INTERMEDIATE CODE: A01 Effective date: 20101026 |
|
| A01 | Written decision to grant a patent or to grant a registration (utility model) |
Free format text: JAPANESE INTERMEDIATE CODE: A01 |
|
| R150 | Certificate of patent or registration of utility model |
Ref document number: 4635197 Country of ref document: JP Free format text: JAPANESE INTERMEDIATE CODE: R150 Free format text: JAPANESE INTERMEDIATE CODE: R150 |
|
| S533 | Written request for registration of change of name |
Free format text: JAPANESE INTERMEDIATE CODE: R313533 |
|
| R350 | Written notification of registration of transfer |
Free format text: JAPANESE INTERMEDIATE CODE: R350 |
|
| EXPY | Cancellation because of completion of term |
