JP4635170B2 - 画像形成体 - Google Patents

画像形成体 Download PDF

Info

Publication number
JP4635170B2
JP4635170B2 JP2005180131A JP2005180131A JP4635170B2 JP 4635170 B2 JP4635170 B2 JP 4635170B2 JP 2005180131 A JP2005180131 A JP 2005180131A JP 2005180131 A JP2005180131 A JP 2005180131A JP 4635170 B2 JP4635170 B2 JP 4635170B2
Authority
JP
Japan
Prior art keywords
image
light
ultraviolet
wavelength
area ratio
Prior art date
Legal status (The legal status is an assumption and is not a legal conclusion. Google has not performed a legal analysis and makes no representation as to the accuracy of the status listed.)
Expired - Fee Related
Application number
JP2005180131A
Other languages
English (en)
Other versions
JP2007001018A (ja
Inventor
匡 森永
英司 河村
Original Assignee
独立行政法人 国立印刷局
Priority date (The priority date is an assumption and is not a legal conclusion. Google has not performed a legal analysis and makes no representation as to the accuracy of the date listed.)
Filing date
Publication date
Application filed by 独立行政法人 国立印刷局 filed Critical 独立行政法人 国立印刷局
Priority to JP2005180131A priority Critical patent/JP4635170B2/ja
Publication of JP2007001018A publication Critical patent/JP2007001018A/ja
Application granted granted Critical
Publication of JP4635170B2 publication Critical patent/JP4635170B2/ja
Anticipated expiration legal-status Critical
Expired - Fee Related legal-status Critical Current

Links

Images

Landscapes

  • Credit Cards Or The Like (AREA)

Description

本発明は、紫外線領域の異なった波長域において発光強度が著しく異なる励起特性を有する発光体を使用し、特定の波長域の第1の紫外線を照射した際に発現する発光画像と、第1の紫外線と異なる波長域の第2の紫外線を照射した際に発現する発光画像との間で画像をスイッチさせる画像形成体に関する。
蛍光体、燐光体、蓄光体等に代表されるいわゆる、紫外線励起発光体は、紫外線を照射することで励起して発光する特性を有している。この発光という現象は容易に目視確認可能であり、かつ、コピー機による複写物や家庭用プリンターによる出力物では再現が困難である。このことから、銀行券や諸証券、郵券等のセキュリティが必要な印刷物に対して、発光体で画線を構成した発光画線や発光体を繊維や紙料に定着させた発光体形成物を付与する技術は、真性品と偽造品を区別するための真偽判別要素の一つとして、従来から広く用いられてきた。
また、発光体の赤、緑、青といった色(色相)と、照射する紫外線の波長や照射光量に応じた光のスペクトル及び強さ(発光強度)はそれぞれの発光体に固有の特性であることから、たとえ偽造品に発光画線や発光形成体が用いられた場合でも、真性品と異なる発光体である場合には、色相と発光強度によって真性発光体と偽造発光体を差別化することが可能である。一例として、暗闇の中でブラックライトや紫外線LEDを用いて日本銀行券に紫外線を照射した場合、印章部分や一部の画線が緑色又は黄色に強く発光して浮かび上がることを確認することができる。鑑別者は、発光している部位、色相及び発光強度を判定基準として簡易的な官能検査で鑑別対象物の真偽を判別することが可能である。
このように発光体印刷や発光体形成物をセキュリティが要求される貴重製品に施すことは、特殊印刷を業とした印刷関係者にとって単純な方法で貴重印刷物の真偽判別性を容易に維持することが可能であることから、偽造防止の観点から考えると極めて効果的な手段の一つであった。
しかし、前述の発光体印刷や発光体形成物の真偽判別技術としての優位性は、実際には限られた専門業者や特殊印刷に従事する者しか発光体を入手できないという材料自体の入手難易度に大きく依存している面があった。昨今、発光体は雑貨量販店において比較的安価で販売されており、特殊印刷に従事することのない一般人であっても様々な種類の発光体を容易に入手することができる状況になっている。
本来、発光体印刷物における真偽判別要素としては、発光部位、発光の色相、発光強度の主たる3要素が存在しており、特に色相と発光強度を一致させるためには、真性品と化学的な構造が同一の発光体を使用する必要がある。実際には真性品と同一の発光体を一般人が入手することは今日においても極めて困難である。
しかし、偽造券が持ち込まれる可能性があるチケット取扱店に代表される貴重印刷物の換金においては、持ち込まれた貴重印刷物に対してブラックライトを使用して真偽判別を行う場合はあるものの、その観察環境は太陽光が差し込んでいたり、蛍光灯の光で照らし出されたり等、外乱光が存在する状況下での判別を余儀なくされてしまう。このような観察環境においては、外乱光の影響を特に大きく受ける発光強度に関しては、判別要素として機能させることは実際には極めて難しい。
また、像や文字、記号として表現可能な発光部位や、赤・橙・黄・緑・青・藍・紫との言語表現が可能な色相と異なり、官能検査においては「強い」、「弱い」以外での言語表現が困難であり、「強い」、「弱い」の表現を用いる場合でも、その基準を明確にすることが困難である。厳密に言えば官能検査による場合、真性品を基準サンプルとして判定対象物の隣に置き、同じ環境下で比較しない限り、発光強度を用いた正当な官能評価は困難であると言える。
当然のことながら、光電変換センサを用いることで発光強度を数値として表現することは可能であるが、装置の普及に当たっては製造者や確認者に金銭的負担を強いるものとなるとともに、装置による数値確認を行う場合、確認手順が煩雑になることは明らかであることに加え、対面販売・交換を行う場合において正当な顧客の前で重々しい機械を用いて頻繁に確認を行うことは今日の日本の風土においては双方の心情的に望ましくない場合が多々存在すると思われ、現時点では望ましい確認手段ではない。
以上のように、発光体印刷物や発光体形成体の真偽判別要素であるべき発光強度は実際には有効に機能させることは困難であり、真性品と異なった発光体を用いた偽造品であってもその発光部位と色相が一致していれば、真性品と判断される可能性が少なからず存在すると思われる。現在の発光体の販売状況を踏まえると、一般人が入手可能な発光体は多種多様の色相に及ぶことから、発光体印刷における偽造抵抗力は低下していると考えられる。
このことを鑑みて現在、発光体印刷物の真偽判別性を向上させた技術が望まれている。以下に参考として発光体印刷物の真偽判別性を向上させた技術の例を挙げる。
例えば、発光体印刷物の真偽判別性を向上させる一つの手段として、発光体の発光自体を特殊化する技術がある。これは一つのインキに2種類の発光体を用い、紫外線照射波長に応じて色相を2種類に変化させる二色性発光インキが使用される場合がある(例えば、特許文献1参照)。これは長波の紫外線域(波長400nm〜300nm、中心波長365nm)を照射した場合には長波の紫外線励起タイプの発光体1がある一定の色相1で発光し、短波の紫外線域(波長300nm〜200nm、中心波長254nm)を照射した場合には長波の紫外線励起タイプの発光体1と短波励起タイプの発光体2が同時に発光することで長波の紫外線照射時の発光色とは異なった色相2を発するものであり、例えば、長波の紫外線で赤発光していた画線が短波の紫外線の照射では緑色の発光に変化するものである。公知の例としてはフランスの500フランに同一部位で2色の発光を示す印刷部位がある。この機能を兼ね備えた発光体は、現在のところ一般的な雑貨量販店では販売されていないことから、2色発光を示す発光体を用いた発光体印刷物は、従来の単色発光の発光体印刷物と比較して偽造抵抗力は向上すると考えられる。
また一方、画線構成によって発光体印刷物の真偽判別性を高めた技術も存在する。これは着色顔料と発光体を混合した有色発光インキを使用して特殊な画線構成を用いることで、1種類のインキのみで可視光観察時と紫外線照射時とで発光像を変化させる技術である。これは多くの場合、着色発光画線に可視光観察下では目視で差別化できない程度に画線部を微細に分断させた領域を設けて、発光時の光の広がりによる画線の拡大作用を用いたものである。この技術によって、単純な画線構成では成しえない画像変化を得ることが可能となり、一般的な発光体印刷物と比較して2色の発光を示す発光体を使用した例と同様に真偽判別性は向上すると思われる(例えば、特許文献2参照)。
さらに、紫外線領域のある一定の波長域とそれ以外の波長域で発光部位を変化させる技術が存在する。これは、印刷のインキに用いられる樹脂や印刷基材となるプラスティックが短波の紫外線を特に強く吸収したり、反射したり作用を有するいわゆる紫外線吸収特性又は反射特性を有する紫外線遮断剤を用いたもので、発光体と紫外線遮断剤を重ね合わせて構成することで長波の紫外線照射時に発光していた像が短波の紫外線を照射した場合には発光しない効果を得るものが一般的である(例えば、特許文献3)。
特開平10−251570号公報 特開2003−276298号公報 特開2001−18515号公報
しかし、2色の発光を示す発光体に使用する発光体は2種類の発光体でニつの色相変化を見せるために、主として短波の紫外線(254nmを中心とする。)で発光ピークが略最大になる発光体と、主として長波の紫外線(365nmを中心とする。)で発光ピークが略最大になる色相の異なる発光体の二つの発光体を組み合わせで設計されているのが一般的である。この2色の発光を示す発光体に用いられるこれら長波の紫外線励起タイプの発光体及び短波の紫外線励起タイプの発光体は、発光印刷を行う印刷分野において既に公知であることに加え、青、赤、緑といった、おおまかな色相ごとに数種類の発光体が発光体製造メーカからそれぞれ販売されていることから、ある程度の発光体の知見を有する者であれば一般的な二色性発光体の色相の再現は可能であると思われる。
また、特殊な画線構成を用いて可視光観察時の像と紫外線照射時の像を変化させる技術については、偽造者が着色画線と発光画線を別々のインキによって2色印刷を行う場合において、真性品のような特殊な画線構成を用いなくとも一般人を欺ける程度に真性品に近づけることが可能である。また、昨今のDTPに代表されるデジタル製版技術の裾野の広がりによって、高精細な網点・画線構成に関する印刷会社の技術的優位性は失われつつあり、真性品と同一の画線構成をほぼ完全に近い状態で再現することは将来的には可能になると考えられる。
さらに、紫外線の波長に応じて発光部位を変化させる技術に関しては、紫外線吸収特性又は反射特性を有する紫外線遮断剤を用いる単純な構成であることから、付与した発光体を発光させない技術がベースであることに問題がある。紫外線遮断剤は、ある一定の紫外線を吸収又は反射する物質であるため、例えば、短波の吸収特性又は反射特性を有する紫外線遮断剤を使用した場合には長波の紫外線で発光していた部分を短波の紫外線で発光させないことは可能であっても、紫外線の長波で発光していなかった部位を紫外線の短波で発光させることは不可能であり、長波の紫外線吸収特性又は反射特性を有する紫外線遮断剤を使用した場合には、その逆が不可能である。このように、当該技術の発光変化は発光部位の部分的又は全面的な削除であることから、波長の違いに応じてユーザの望む像を自在に結ばせることは実際には不可能である。加えて、紫外線吸収・反射特性を有する物質は発光体と比較しても極めて容易に入手可能であることから、その他の技術と複合して使用するのであればともかく、その構成が単純な場合に限ってはその偽造は難しくないと考えられる。
以上のように、現時点の発光体印刷において用いられている進歩的な技術であっても、昨今の発光体の入手の容易性やデジタル製版技術の裾野の拡大といった周辺動向を鑑みた場合には、近い将来には十分ではない可能性があるという問題があった。
本発明は、上記課題の解決を目的とするものであり、具体的には、紫外線領域の異なった波長域で発光強度が著しく異なる励起特性を有する発光体を使用し、ある一定の波長域の第1の紫外線を照射した際に発現する発光画像と、第1の紫外線と異なる波長域の第2の紫外線を照射した際に発現する発光画像とを、それぞれ所定の網点面積率や画線ピッチ等に差異を設けた異なる構成で印刷し、その上に紫外線吸収剤を刷り合わせて、第1の波長の紫外線と第2の波長の紫外線とで発光画像をスイッチさせる画像形成体を提供することを目的とする。
本発明の画像形成体は、基材上に、第1の印刷画像と第2の印刷画像を形成し、第1の印刷画像を紫外線遮断剤によって隠蔽する隠蔽層を形成した画像形成体であって、第1の印刷画像は第2の印刷画像よりも画像面積率が高く、第1の印刷画像と第2の印刷画像は、紫外線領域で発光強度が異なる特性を有する同一の発光インキで印刷し、発光インキは、第1の波長の紫外線照射により可視光領域で発光する発光強度が、第2の波長の紫外線照射により可視光領域で発光する発光強度の少なくとも20倍を有し、紫外線遮断剤は、紫外線照射により第1の波長の紫外線を遮断する遮断率が、第2の波長の紫外線を遮断する遮断率よりも高い特性を有することを特徴とする。
本発明の画像形成体は、基材上に、第1の印刷画像と第2の印刷画像を形成し、第1の印刷画像を紫外線遮断剤によって隠蔽する隠蔽層を形成した画像形成体であって、第1の印刷画像は第2の印刷画像よりも画像面積率が高く、第1の印刷画像と第2の印刷画像は、紫外線領域で発光強度が異なる特性を有する同一の発光インキで印刷し、発光インキは、第2の波長の紫外線照射により可視光領域で発光する発光強度が、第1の波長の紫外線照射により可視光領域で発光する発光強度の少なくとも20倍を有し、紫外線遮断剤は、紫外線照射により第1の波長の紫外線を遮断する遮断率が、第2の波長の紫外線を遮断する遮断率よりも高い特性を有することを特徴とする。
本発明の画像形成体は、第1の印刷画像領域及び第2の印刷画像領域を構成してなる画像面積率が、網点で構成されてなる網点面積率及び/又は複数の画線で構成されてなる画線面積率であることを特徴とする。
可視光で観察した時の画像と、照射する紫外線の波長ごとに発現する複数の発光画像とで、それぞれすべて、全く形状に相関のない画像を出現させることが可能である。また、紫外線吸収特性又は反射特性を有する紫外線遮断剤に着色顔料を混合して有色化することで、可視光観察下でも全く別の画像を生じさせることが可能であり、真偽判別性が向上する。
また、ユーザの希望によって第2の紫外線波長を照射した場合に画像領域1の画像と画像領域2の画像を同時に発光させる場合には、本発明の構成の一部である紫外線吸収特性又は反射特性を有する紫外線遮断剤を使用せず、発光体の1色刷りのみで効果を得ることができ、極めて容易に実施することができる。また、可視光観察下で全くの無像とする場合には、紫外線吸収特性又は反射特性を有する紫外線遮断剤に着色顔料を混合しなければ容易に効果を得ることができる。
さらに、本来なら真偽判別要素の一つとなるべき発光体の発光強度が、人が認識することが困難な理由として、比較対象とすべき基準があいまいであることが挙げられ、強弱の表現に関しては何に対して強いのか、何に対して弱いのかの基準となるサンプルが必要となった。本発明を利用した画像形成体の場合、波長ごとに異なった画像を見せるとともに、一方の画像の発光強度が他方の発光強度の基準となり各画像間の発光強度の相対評価が可能となる。第1画像と比較して第2画像の発光が強い、第2画像と比較して第1画像の発光が強い、又は第1画像と第2画像の発光強度が同じである、といった評価が可能となる。また、使用する発光体や画線構成によっては、発光強度を任意に調節することも可能である。
さらに、本発明で得られた画像形成体の偽造を試みる場合、発光体について精通している必要があり、少なくとも発光体の励起特性についての知見がなければ発光体の選定自体が困難である。また、発光体をインキ化する際には、発光画線とワニスやメジューム、ビヒクルといった印刷媒体との接着剤となる樹脂の吸収特性についての知識がなければ、同一の発光体を用いたとしても、樹脂成分に紫外線を吸収されて発光画線の発光強度が変化してしまうため、鮮やかな画像の変化を発現することは困難である。また、真性品の画線を観察して同一の画線構成で印刷したとしても、使用した発光体や樹脂が異なれば、その効果は全く発揮されず偽造は困難である。
また、上で述べた発光体の選定及び選定する発光体の励起特性の知識に加え、その発光体の画像面積率の条件設定、刷り合わせに技術を必要とするため、更に偽造困難性が向上する。
さらに、異なった波長の紫外線を照射した場合に、それぞれの画像の発光強度の比較が可能であるため、その強度の再現を行う必要があることは従来の技術と比較して本発明の偽造抵抗力を向上させている要素の一つである。また、本発明に使用する発光体については、2色の発光を示す発光体などの色相変化を有するといった、材料自体の真偽判別性が高い発光体と複合して使用することで、そのセキュリティレベルをより一層引き上げることが可能である。
次に、本発明の実施形態について説明する。
紫外線の照射波長によって発光体の発光強度が変化する励起特性はそれぞれの発光体に固有のものであり、化学的構造の異なる発光体においては、この励起特性はそれぞれ異なっている。通常、発光体印刷の分野において発光体の細やかな励起特性を細分化して扱うことは多くない。
しかし、同じ長波励起タイプに大別される発光体であっても、短波の紫外線照射において長波の紫外線の照射と比較して発光強度が強くなるものもあれば、発光強度が弱くなるものや、ほとんど変化しないもの等、照射する紫外線波長に対する変化はそれぞれの発光体固有のものとなる。本発明においては、様々な発光体の中でも、ある一定の波長では発光強度が強いが、異なった波長において著しく発光強度が低下する励起特性を有した発光体を選択的に用いる。
このような特定の発光体に限っては、限定された画像面積率や画線の形状、印刷膜厚等の印刷条件によって紫外線のある波長である第1の紫外線波長では発光が目視で確認できないが、第1の紫外線波長と異なった第2の紫外線波長では発光が目視で確認できる現象が発生する。
この現象を利用し、例えば、第1の紫外線波長では目視で発光を確認できないが、第1の紫外線波長と異なる第2の紫外線波長では目視で発光を確認できる発光体の画像面積率を20%とし、画像面積率100%で構成した画像領域1と画像面積率20%で構成した画像領域2に対して、第1の紫外線波長を照射した場合には、画像領域1のみが目視で発光していることを確認できる領域となる。また、第2の紫外線波長を照射した場合には、画像領域1に加えて画像領域2が同時に発光することとなり、第1の紫外線波長と第2の紫外線波長における像変化が可能となる。
ただし、第2の紫外線波長を照射時に画像領域1は必ず発光し続けてしまうことから、第2の紫外線波長を照射した場合に発光する像を画像領域1と全く異なった像とすることは不可能であり、かつ、第2の紫外線波長照射時には画像面積率の違いから、画像領域1が画像領域2に比較して極めて強く発光することとなり、スイッチ画像としては強弱の混ざり合ったアンバランスなものとなる。
そこで、この問題を解決するために、第1の紫外線波長は透過し、第2の紫外線波長を強く吸収又は反射する特性を有した吸収特性又は反射特性を有する紫外線遮断剤で画像領域1の上に重ね合わせて被覆することで第2の紫外線波長を照射時に画像領域1の発光を選択的に阻害した状態とし、画像領域2の像のみを観察させる。
また、ここでいう画像面積率とは、印刷画像領域を網点で構成してなる網点面積率又は印刷画像領域を画線で構成してなる画線面積率であり、印刷画像領域の濃度を表している。
本発明で用いる紫外線吸収特性又は反射特性を有する紫外線遮断剤については、グラビア印刷、オフセット印刷、スクリーン印刷といった印刷方式で使用されるインキビヒクルが有する紫外線を吸収又は反射する特性を主として用いる。
さらに、ハロゲン、カルボニル基、ベンゼン環、不飽和基等を含む有機化合物はいずれも少なからず紫外線を吸収する特性を有しているが、サリチル酸系吸収剤やベンゾフェノン系紫外線吸収剤、ベンゾトリアゾール系紫外線吸収剤、シアノアクリレート系紫外線吸収剤等が代表的であり、特にベンゾトリアゾール系紫外線吸収剤は長波の紫外線領域にも顕著な吸収特性を有していることで知られている。また、ポリウレタン樹脂やポリウレア樹脂、ポリアミド樹脂、ポリエステル樹脂、ポリカーボネイト樹脂、アミノアルデヒド樹脂、メラミン樹脂、ポリスチレン樹脂、アクリル樹脂、スチレンアクリル共重合体、ゼラチン、ポリビニルアルコール等は紫外線領域の中でも特に短い波長の光を吸収する特性を持っていることで知られている。これらの紫外線吸収剤を利用するほかに、無機系の紫外線反射剤を混合することで特定波長の紫外線のみを通過させ、その他の波長の紫外線の透過を防ぐことが可能となる。
また、紫外線吸収特性又は反射特性を有する紫外線遮断剤が成す画線の網点面積率やインキ皮膜厚さ等をコントロールすることで、各波長の紫外線の透過量を任意に調節することができるため、発光画線の網点面積率や画線幅、皮膜厚さをコントロールするのみならず、紫外線吸収特性又は反射特性を有する紫外線遮断剤によっても発光体の発光強度を調節することが可能である。
ここまで、それぞれの画像を所望の異なった網点面積率で印刷する場合を説明してきたが、それぞれの画像を所望の画線面積率で印刷する場合も同様である。この場合、それぞれの画像の画線幅を異ならせ、上述した紫外線遮断剤によって一方の画線を被覆することで同様の効果を得ることができる。
次に、実施例を用いて本発明を詳細に説明する。図1は、発光体D1111の励起スペクトルを示す。図2は、発光体D1111の発光スペクトルを示す。図3は、発光体D1111を使用して作製したインキの配合割合を示す。図4は、紫外線吸収特性又は反射特性を有する紫外線遮断剤の紫外線吸収特性を示す。図5は、本発明の一実施例における第1画像の画像Aと画像Bの配置を示す。図6は、本発明の一実施例における第2画像を示す。図7は、本発明の一実施例における第1画像と第2画像の印刷時の刷り合わせを示す。図8(a)は、本発明の一実施例における印刷物に対する可視光照射時の視認画像を示し、(b)は、長波の紫外線照射時の視認画像を示し、(c)は、短波の紫外線照射時の視認画像をそれぞれ示す。図9は、本発明の一実施例における第1画像の画像Aと画像Bの配置を示す。図10は、本発明の一実施例における第2画像を示す。図11は、本発明の一実施例における第1画像と第2画像の印刷時の刷り合わせを示す。図12は、図11に示す刷り合わせの側面図を示す。図13(a)は、本発明の一実施例における印刷物に対する可視光照射時の視認画像を、(b)は、長波の紫外線照射時の視認画像を、(c)は、短波の紫外線照射時の視認画像をそれぞれ示す。
この実施例において、本発明にかかわる画像形成体の組み込まれた印刷物ユーザは長波の紫外線を照射するUVランプ1及び短波の紫外線を照射するUVランプ2を照射してそれぞれの発光像を判定すると仮定している。長波の紫外線及び短波の紫外線を照射するランプは容易に入手可能であることがその選定理由の一つである。
まず、長波の紫外線で発光強度が弱く、短波の紫外線で発光強度が強い励起特性を有する発光体の中から、その発光強度が50倍以上の差異があるD1111(根本特殊化学製造)を選定した。D1111の励起特性を図1に、その発光分布を図2に示す。
発光画線を成す第1画像はスクリーン印刷方式を用い、被印刷媒体は無蛍光コート紙を用いた。このD1111を図3に示す配合割合でスクリーンインキを作製した。顔料コンテントは15%とし、発光体D1111を水性メジューム(PAW−000メジューム 帝国インキ製造)に投入した後、補助剤としてシリコン系消泡剤を2%外割りで添加し、これを高速分散機(販売メーカ:特殊機械工業株式会社、製品名:ホモディスパ)を使用して回転数3000rpmで3分間攪拌を行いスクリーンインキ化した。
画線構成を決める前に200線/インチでグラデーションスケールを印刷し、事前に発光確認を行った。このグラデーションスケールに対してUVランプ1を照射したところ、網点面積率60%以下の場合には画線の発光が目視で観察不能であることを確認した。また、このグラデーションスケールに対してUVランプ2を照射したところ、網点面積率20%以上の場合には目視で発光が確認可能であることを確認した。また、UVランプ1を照射したときの網点面積率80%の領域と、UVランプ2を照射したときの網点面積率50%の領域の発光強度がほぼ同じ強度となることを確認した。
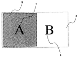
以上のことから、長波の紫外線で発光させる第1の画像の画像A(1)は網点面積率80%で構成し、短波の紫外線で発光させる第1の画像の画像B(2)は網点面積率50%で構成することとした。
第2画像(3)を構成する紫外線吸収特性又は反射特性を有する紫外線遮断剤はマットニス(DIC製OPニス new championマット)を用いた。図4に紫外線吸収特性又は反射特性を有する紫外線遮断剤の紫外線吸収特性を示す。発明の効果を明確にするため、第2画像(3)の網点面積率は100%のベタ構成とした。
刷り順としては、図5、図6及び図7に示すように、第1画像の画像A(1)と第1の画像の画像B(2)をスクリーン印刷方式で無蛍光コート紙(10)の異なった領域に印刷した後、第2画像(3)であるマットニスをオフセット印刷方式で第1画像の画像A(1)全体を被覆するように刷り重ね、印刷物(4)を作製する。
図8(a)に、可視光照射時の視認画像を、(b)に長波の紫外線照射時の視認画像を示し、(c)に短波の紫外線照射時の視認画像をそれぞれ示す。印刷物(4)に対してUVランプ1を用いて長波の紫外線を照射すると画像Aのみが赤色に発光し、画像Bの発光は目視で確認できず、UVランプ2を用いて短波の紫外線を照射すると画像Bのみが赤色に発光し、画像Aの発光は目視で確認できなかった。また、UVランプ1を用いて長波の紫外線を照射した場合の画像Aの発光と、UVランプ2を用いて短波の紫外線を照射した場合の画像Bの発光は目視確認においてほぼ同じ強度となっていることが確認できた。
本実施例は、画像の配置を特殊化することで画像Aと画像Bの画像のスイッチが、あたかも同一位置で発生しているかのごとく観察者に見せるものであり、同時に可視光下においても同一位置に有意の画像を施した例である。この例においても、ユーザは長波の紫外線を照射するUVランプ1及び短波の紫外線を照射するUVランプ2を照射してそれぞれの発光像を判定すると仮定している。
実施例1同様に長波の紫外線及び短波の紫外線を照射するランプは容易に入手可能であることがその選定理由の一つである。発光体は実施例1同様にD1111(根本特殊化学製造)を選定した。
発光画線を成す第1画像はスクリーン印刷方式を用い、被印刷媒体は無蛍光コート紙を用いた。このD1111を実施例1と同様な配合割合でスクリーンインキを作製した。実施例1と同様に長波の紫外線で発光させる第1画像の画像A(5)は網点面積率80%で構成し、短波の紫外線で発光させる第1画像の画像B(6)は網点面積率50%で構成した。
第2画像(7)を構成する紫外線吸収特性又は反射特性を有する紫外線遮断剤はマットニス(DIC製OPニス new championマット)にアサヒ化成工業(株)製のTrans. Blue DR4を4%混合し、有色画線化した。また、第2画像を有意化するために、画線幅に大小を設けて万線模様(8)の中に「C」という記号を組み込んだ。発明の効果を明確にするため、第2画像(7)の網点面積率は100%のベタ構成とした。
刷り順としては、図9、図10、図11及び図12に示すように、第1画像の画像A(5)と第1画像の画像B(6)をスクリーン印刷方式で無蛍光コート紙(10)の同一領域内に印刷した後、第2画像(7)であるマットニスをオフセット印刷方式で第1画像の画像A(5)の画線上に刷り重ね、印刷物(9)を作製する。ここでいう同一領域内とは、目視では確認が困難な程度に極めて隣接している異なった領域のことを示している。
図13(a)に可視光照射時の視認画像を示し、(b)に長波の紫外線照射時の視認画像を示し、(c)に短波の紫外線照射時の視認画像を示す。印刷物に対してUVランプ1を用いて長波の紫外線を照射すると画像Aのみが赤色に発光し、画像Bの発光は目視で確認できず、UVランプ2を用いて短波の紫外線を照射すると画像Bのみが赤色に発光し、画像Aの発光は目視で確認できなかった。また、UVランプ1を用いて長波の紫外線を照射した場合の画像Aの発光と、UVランプ2を用いて短波の紫外線を照射した場合の画像Bの発光は目視確認においてほぼ同じ強度となっていることが確認できた。
本実施例1及び2では、第1の波長(短波)の紫外線照射により可視光領域で発光する発光強度が、第2の波長(長波)の紫外線照射により可視光領域で発光する発光強度の50倍以上ある発光体、D1111を選定した。その発光体によって網点面積率80%と50%の画像を印刷し、紫外線短波遮断剤を網点面積率80%の画像の上に被覆し、長波の紫外線と短波の紫外線で画像を変化させた。この場合、長波の紫外線照射と中波の紫外線照射、又は中波の紫外線照射と短波の紫外線照射で画像変化させることは、紫外線吸収特性又は反射特性を有する紫外線遮断剤の被覆厚さを厚くし、その波長を吸収又は反射する特性を有する紫外線遮断剤を選択することで容易に可能である。
さらに、第1の波長の紫外線照射により可視光領域で発光する発光強度と、第2の波長の紫外線照射により可視光領域で発光する発光強度との差が20倍以上であれば良く、本実施例では第1の波長が短波で第2の波長が長波だが、他に、第1の波長が中波で第2の波長が長波、第1の波長が長波で第2の波長が短波である、といった発光体を選定することも可能である。
選定した発光体によって二つ以上の印刷画像の画像面積率に差を持たせ、それによって印刷画像を被覆する紫外線吸収剤の選定も重要となってくる。つまり、最初に選定する発光体によって、印刷する画像の画線面積率、更には被覆する紫外線吸収剤の選定が決定されることとなり、これらのバランスを調整しなければ本発明の効果はあり得ない。
さらに、本実施例では一種類の発光体のみを使用したが、ニつの紫外線波長において強度が大きく異なる発光体であれば、網点面積や画線幅、ピッチ等の画線構成を変更することで同様な効果を得ることが可能である。
また、励起特性の異なる複数の発光体の配合割合をユーザが調整することも同様に、本発明に適合する励起特性の発光体を任意に作り出すことも可能である。同時に、使用する発光体に二色の発光を示す発光体を使用することで、画像変化のみならず発光色の変化を付与可能であり、これらは本発明の範疇であることは言うまでもない。
もともと、二色の発光を示す発光体は色相と励起特性の異なる発光体の発光強度の変化を利用した発光体であることから、本発明の発光体が要求する特性を有している場合が多い。
二つの実施例においては、それぞれの波長域で発光をスイッチさせる画像は網点面積率の異なる発光画線によってそれぞれ構成したが、本発明は網点面積率の違いに限定されるものではなく、発光像の画線幅や画線ピッチ、分断ピッチ、分岐ピッチ等の違いによっても当然実施することが可能であり、これらの画線技術を用いた画像形成物も本発明の範疇であることは言うまでもない。
発光体D1111の励起特性を示す。 発光体D1111の発光分布を示す。 発光体D1111を使用して作製したインキの配合割合を示す。 紫外線遮断剤の紫外線吸収特性を示す。 本発明の一実施例における第1画像の画像Aと画像Bの配置を示す。 本発明の一実施例における第2画像を示す。 本発明の一実施例における第1画像と第2画像の印刷時の刷り合わせを示す。 (a)は、本発明の一実施例における印刷物に対する可視光照射時の視認画像を、(b)は、長波の紫外線照射時の視認画像を、(c)は、短波の紫外線照射時の視認画像をそれぞれ示す。 本発明の一実施例における第1画像の画像Aと画像Bの配置を示す。 本発明の一実施例における第2画像を示す。 本発明に一実施例における第1画像と第2画像の印刷時の刷り合わせを示す。 図11に示す刷り合わせの側面図を示す。 (a)は、本発明の一実施例における印刷物に対する可視光照射時の視認画像を、(b)は、長波の紫外線照射時の視認画像を、(c)は、短波の紫外線照射時の視認画像をそれぞれ示す。
符号の説明
1 第1の画像の画像A(網点面積率80%)
2 第1の画像の画像B(網点面積率50%)
3 第2の画像(網点面積率100%)
4 印刷物
5 第1の画像の画像A(網点面積率80%)
6 第1の画像の画像B(網点面積率50%)
7 第2の画像(網点面積率100%)
8 部分的に幅を太らせた箇所
9 印刷物
10 基材(無蛍光コート紙)

Claims (3)

  1. 基材上に、第1の印刷画像と第2の印刷画像を形成し、前記第1の印刷画像を紫外線遮断剤によって隠蔽する隠蔽層を形成した画像形成体であって、
    前記第1の印刷画像は前記第2の印刷画像よりも画像面積率が高く、前記第1の印刷画像と前記第2の印刷画像は、紫外線領域で発光強度が異なる特性を有する同一の発光インキで印刷し、
    第1の波長の紫外線が、第2の波長の紫外線より短い波長であって、
    前記発光インキは、前記第1の波長の紫外線照射により可視光領域で発光する発光強度が、前記第2の波長の紫外線照射により可視光領域で発光する発光強度の少なくとも20倍を有し、
    前記紫外線遮断剤は、紫外線照射により前記第1の波長の紫外線を遮断する遮断率が、前記第2の波長の紫外線を遮断する遮断率よりも高い特性を有することを特徴とする画像形成体。
  2. 基材上に、第1の印刷画像と第2の印刷画像を形成し、前記第1の印刷画像を紫外線遮断剤によって隠蔽する隠蔽層を形成した画像形成体であって、
    前記第1の印刷画像は前記第2の印刷画像よりも画像面積率が高く、前記第1の印刷画像と前記第2の印刷画像は、紫外線領域で発光強度が異なる特性を有する同一の発光インキで印刷し、
    第1の波長の紫外線が、第2の波長の紫外線より長い波長であって、
    前記発光インキは、第2の波長の紫外線照射により可視光領域で発光する発光強度が、第1の波長の紫外線照射により可視光領域で発光する発光強度の少なくとも20倍を有し、
    前記紫外線遮断剤は、紫外線照射により前記第2の波長の紫外線を遮断する遮断率が、前記第1の波長の紫外線を遮断する遮断率よりも高い特性を有することを特徴とする画像形成体。
  3. 前記第1の印刷画像領域及び前記第2の印刷画像領域を構成してなる前記画像面積率が、網点で構成されてなる網点面積率及び/又は複数の画線で構成されてなる画線面積率であることを特徴とする請求項1又は2記載の画像形成体。
JP2005180131A 2005-06-21 2005-06-21 画像形成体 Expired - Fee Related JP4635170B2 (ja)

Priority Applications (1)

Application Number Priority Date Filing Date Title
JP2005180131A JP4635170B2 (ja) 2005-06-21 2005-06-21 画像形成体

Applications Claiming Priority (1)

Application Number Priority Date Filing Date Title
JP2005180131A JP4635170B2 (ja) 2005-06-21 2005-06-21 画像形成体

Publications (2)

Publication Number Publication Date
JP2007001018A JP2007001018A (ja) 2007-01-11
JP4635170B2 true JP4635170B2 (ja) 2011-02-16

Family

ID=37687061

Family Applications (1)

Application Number Title Priority Date Filing Date
JP2005180131A Expired - Fee Related JP4635170B2 (ja) 2005-06-21 2005-06-21 画像形成体

Country Status (1)

Country Link
JP (1) JP4635170B2 (ja)

Cited By (1)

* Cited by examiner, † Cited by third party
Publication number Priority date Publication date Assignee Title
JP2015009521A (ja) * 2013-07-01 2015-01-19 独立行政法人 国立印刷局 発光印刷物

Family Cites Families (3)

* Cited by examiner, † Cited by third party
Publication number Priority date Publication date Assignee Title
JPH10129107A (ja) * 1996-11-01 1998-05-19 Toppan Printing Co Ltd 画像表示体
JP3828632B2 (ja) * 1997-03-11 2006-10-04 大日本印刷株式会社 蛍光画像形成物
JPH10250211A (ja) * 1997-03-13 1998-09-22 Dainippon Printing Co Ltd 蛍光画像形成物

Cited By (1)

* Cited by examiner, † Cited by third party
Publication number Priority date Publication date Assignee Title
JP2015009521A (ja) * 2013-07-01 2015-01-19 独立行政法人 国立印刷局 発光印刷物

Also Published As

Publication number Publication date
JP2007001018A (ja) 2007-01-11

Similar Documents

Publication Publication Date Title
CA2507900C (en) Security device and its production method
RU2264296C2 (ru) Полутоновое изображение, полученное методом печати
MX2007005456A (es) Mascara de fluorescencia de sustrato para incluir informacion en documentos impresos.
JP3430755B2 (ja) 偽造防止印刷物
JP2005262681A (ja) 偽造防止印刷物
JP4487090B2 (ja) 真偽判別可能な発光印刷物
JP2003276299A (ja) ダブルトーン印刷による潜像作成方法及びその印刷物
JP6075230B2 (ja) 発光印刷物
RU2376148C2 (ru) Защитный элемент для защищенных документов
JP4635170B2 (ja) 画像形成体
JP4552052B2 (ja) 多色発光混合物及び多色発光インキ組成物、並びに画像形成物
JP4089114B2 (ja) 偽造防止用インキおよび偽造防止印刷物及びこの印刷物の偽造防止方法
JPH1076745A (ja) 偽造防止印刷物
JP5597875B2 (ja) 潜像印刷物
JP2005138399A (ja) 偽造防止帳票
JP3931548B2 (ja) 隠蔽情報形成体
JP6124254B2 (ja) 発光印刷物
JP4649613B2 (ja) 真偽判別印刷物
JP3271474B2 (ja) 偽造防止印刷物
JP5533484B2 (ja) 潜像画像を有する印刷物
JP5888697B2 (ja) 発光印刷物
JP7537179B2 (ja) 蛍光印刷物
JP2002226753A (ja) 偽造防止用インキ及び印刷物
HK1076776B (en) Security device and its production method
JPH09254572A (ja) カード

Legal Events

Date Code Title Description
A621 Written request for application examination

Free format text: JAPANESE INTERMEDIATE CODE: A621

Effective date: 20071018

A977 Report on retrieval

Free format text: JAPANESE INTERMEDIATE CODE: A971007

Effective date: 20100408

TRDD Decision of grant or rejection written
A01 Written decision to grant a patent or to grant a registration (utility model)

Free format text: JAPANESE INTERMEDIATE CODE: A01

Effective date: 20101026

A01 Written decision to grant a patent or to grant a registration (utility model)

Free format text: JAPANESE INTERMEDIATE CODE: A01

A61 First payment of annual fees (during grant procedure)

Free format text: JAPANESE INTERMEDIATE CODE: A61

Effective date: 20101026

FPAY Renewal fee payment (event date is renewal date of database)

Free format text: PAYMENT UNTIL: 20131203

Year of fee payment: 3

R150 Certificate of patent or registration of utility model

Free format text: JAPANESE INTERMEDIATE CODE: R150

LAPS Cancellation because of no payment of annual fees
S531 Written request for registration of change of domicile

Free format text: JAPANESE INTERMEDIATE CODE: R313531