JP4635101B1 - 冷却装置、および電子機器 - Google Patents

冷却装置、および電子機器 Download PDF

Info

Publication number
JP4635101B1
JP4635101B1 JP2009296328A JP2009296328A JP4635101B1 JP 4635101 B1 JP4635101 B1 JP 4635101B1 JP 2009296328 A JP2009296328 A JP 2009296328A JP 2009296328 A JP2009296328 A JP 2009296328A JP 4635101 B1 JP4635101 B1 JP 4635101B1
Authority
JP
Japan
Prior art keywords
heat sink
holding
portions
cooling fan
cooling device
Prior art date
Legal status (The legal status is an assumption and is not a legal conclusion. Google has not performed a legal analysis and makes no representation as to the accuracy of the status listed.)
Active
Application number
JP2009296328A
Other languages
English (en)
Other versions
JP2011138827A (ja
Inventor
由喜彦 畑
信二 平堤
Current Assignee (The listed assignees may be inaccurate. Google has not performed a legal analysis and makes no representation or warranty as to the accuracy of the list.)
Toshiba Corp
Original Assignee
Toshiba Corp
Priority date (The priority date is an assumption and is not a legal conclusion. Google has not performed a legal analysis and makes no representation as to the accuracy of the date listed.)
Filing date
Publication date
Application filed by Toshiba Corp filed Critical Toshiba Corp
Priority to JP2009296328A priority Critical patent/JP4635101B1/ja
Priority to US12/873,894 priority patent/US7952872B1/en
Application granted granted Critical
Publication of JP4635101B1 publication Critical patent/JP4635101B1/ja
Publication of JP2011138827A publication Critical patent/JP2011138827A/ja
Active legal-status Critical Current
Anticipated expiration legal-status Critical

Links

Images

Classifications

    • GPHYSICS
    • G06COMPUTING OR CALCULATING; COUNTING
    • G06FELECTRIC DIGITAL DATA PROCESSING
    • G06F1/00Details not covered by groups G06F3/00 - G06F13/00 and G06F21/00
    • G06F1/16Constructional details or arrangements
    • G06F1/20Cooling means
    • G06F1/203Cooling means for portable computers, e.g. for laptops
    • H10W40/73
    • H10W40/43

Landscapes

  • Engineering & Computer Science (AREA)
  • Theoretical Computer Science (AREA)
  • Computer Hardware Design (AREA)
  • Human Computer Interaction (AREA)
  • Physics & Mathematics (AREA)
  • General Engineering & Computer Science (AREA)
  • General Physics & Mathematics (AREA)
  • Cooling Or The Like Of Electrical Apparatus (AREA)

Abstract

【課題】部品点数の削減が可能な冷却装置および電子機器を得る。
【解決手段】冷却装置17は、冷却ファン21と、ヒートシンク22と、冷却ファン21およびヒートシンク22のいずれか一方に設けられた挿入部31と、挿入部31に設けられ、挿入部31の挿入方向とは交差する方向に突出した突出部37と、冷却ファン21およびヒートシンク22のいずれか他方に設けられ、挿入部31が挿入される保持部51とを具備した。保持部51は、突出部37が係合する開口部64と、挿入部31の挿入方向および突出部37の突出方向とは交差する方向から挿入部31に対向した第1の支持部56と、第1の支持部56とは異なる方向から挿入部31に対向した第2の支持部57とを有した。
【選択図】 図3

Description

本発明は、冷却ファンとヒートシンクとを有した冷却装置および電子機器に関する。
ノートPCのような電子機器は、冷却ファンとヒートシンクとを有した冷却装置を備える。特許文献1は、一対の放熱フィンセットの間に冷却ファンを収容した構造を開示している。発熱体の上面には、ベース台が密着されている。ベース台には、導熱管が嵌合固定されている。導熱管は、放熱フィンセットを貫く柱部を有する。冷却ファンは、上記柱部に嵌合する貫通孔を有する。
登録実用新案第3116438号公報
ところで近年、電子機器の部品点数の削減がさらに要望されている。特許文献1に記載の構造では、放熱フィンセットの他に、導熱管や接続固定部材、ばね等が必要であり、部品点数が多い。
本発明の目的は、部品点数の削減が可能な冷却装置および電子機器を得ることにある。
本発明の一つの形態に係る冷却装置は、冷却ファンと、ヒートシンクと、前記冷却ファンおよび前記ヒートシンクのいずれか一方に設けられた挿入部と、前記挿入部に設けられ、前記挿入部の挿入方向とは交差する方向に突出した突出部と、前記冷却ファンおよび前記ヒートシンクのいずれか他方に設けられ、前記挿入部が挿入される保持部とを具備した。保持部は、前記突出部が係合する開口部と、前記挿入部の挿入方向および前記突出部の突出方向とは交差する方向から前記挿入部に対向した第1の支持部と、前記第1の支持部とは異なる方向から前記挿入部に対向した第2の支持部とを有した。
本発明の一つの形態に係る電子機器は、筐体と、前記筐体に収容された発熱体と、冷却ファンと、前記発熱体に熱接続されたヒートシンクと、前記冷却ファンおよび前記ヒートシンクのいずれか一方に設けられた挿入部と、前記挿入部に設けられ、前記挿入部の挿入方向とは交差する方向に突出した突出部と、前記冷却ファンおよび前記ヒートシンクのいずれか他方に設けられ、前記挿入部が挿入される保持部とを具備した。保持部は、前記突出部が係合する開口部と、前記挿入部の挿入方向および前記突出部の突出方向とは交差する方向から前記挿入部に対向した第1の支持部と、前記第1の支持部とは異なる方向から前記挿入部に対向した第2の支持部とを有した。
本発明によれば、部品点数の削減が可能になる。
本発明の第1の実施形態に係る電子機器の斜視図。 本発明の第1の実施形態に係る冷却装置の斜視図。 図2中の冷却装置を分解して示す斜視図。 図3中に示された冷却装置の側面図。 図3中に示されたヒートシンクのF5−F5線に沿う断面図。 図5中のヒートシンクに冷却ファンを組み合わせた状態を示す断面図。 図6中に示された冷却ファンの挿入部を撓ませた状態を示す断面図。 本発明の第2の実施形態に係る冷却装置の斜視図。 本発明の第3の実施形態に係る冷却装置の側面図。 図9中に示された冷却装置のF10−F10線に沿う断面図。 本発明の第4の実施形態に係る冷却装置の側面図。 図11中に示された冷却装置のF12−F12線に沿う断面図。
以下に本発明の実施の形態を、ノートブック型パーソナルコンピュータ(以下、ノートPC)に適用した図面に基づいて説明する。
(第1の実施形態)
図1乃至図7は、本発明の第1の実施形態に係る電子機器1を開示している。電子機器1は、例えばノートPCである。なお本発明が適用可能な電子機器は、上記に限定されるものではない。本発明は、例えばテレビのような表示装置やPDA(Personal digital Assistant)、ゲーム機などを含む種々の電子機器に広く適用可能である。
図1に示すように、電子機器1は、本体部2と、表示部3と、ヒンジ部4とを備えている。本体部2は、メインボードを搭載した電子機器本体である。本体部2は、筐体5を有する。筐体5は、上壁6、下壁7、および周壁8を有し、扁平な箱状に形成されている。
下壁7は、電子機器1を机上に置いた時に、その机上面に向かい合う。下壁7は、机上面に対して略平行になる。上壁6は、下壁7との間に空間を空けて、下壁7と略平行(すなわち略水平)に広がる。上壁6には、キーボード9が設けられている。なおキーボード9は、一部のキーのみを図示している。周壁8は、下壁7に対して起立し、下壁7の周縁部と上壁6の周縁部との間を繋いでいる。
図1に示すように、本体部2の後端部には、例えばヒンジ部4により、表示部3が回動可能(開閉可能)に連結されている。表示部3は、表示筐体11と、この表示筐体11に収容された表示装置12とを備えている。表示筐体11は、表示装置12の表示画面12aを外部に露出させる比較的大きな開口部11aを有する。表示部3は、本体部2を上方から覆うように倒される閉じ位置と、本体部2に対して立て起こされる開き位置との間で回動可能である。
図1に示すように、筐体5内には、回路基板15、発熱体16、および冷却装置17が収容されている。冷却装置17は、冷却ファン21、ヒートシンク22,およびヒートパイプ23を有する。回路基板15は、筐体5内に略水平に配置されている。回路基板15は、例えばメインボードである。
発熱体16は、回路基板15に実装されている。発熱体16は、使用時に熱を発する電子部品であり、例えばCPUである。なお発熱体16は、上記例に限らず、例えばグラフィックチップやノース・ブリッジ(登録商標)、またはメモリなど放熱が望まれる種々の部品が広く該当する。
冷却ファン21およびヒートシンク22は、筐体5内において周壁8の近くに配置されている。冷却ファン21は、例えば遠心式の冷却ファンである。図2および図3に示すように、冷却ファン21は、ファンケース25と、インペラ26とを備える。
ファンケース25は、扁平な箱状に形成されている。ファンケース25は、上面25a、下面25b、および側面25cを有する。ファンケース25は、上面25aおよび下面25bに設けられた吸気口27と、側面25cに設けられた吐出口28とを有する。ファンケース25は、例えば合成樹脂製である。インペラ26は、ファンケース25内に設けられ、回転駆動可能になっている。冷却ファン21は、インペラ26を回転駆動させることで、吸気口27を通じて筐体5内の空気を吸い込み、その吸い込んだ空気を吐出口28からヒートシンク22に向けて吐出する。これにより冷却ファン21は、ヒートシンク22を冷却する。
冷却ファン21には、一対の挿入部31,32(第1および第2の挿入部31,32)が設けられている。挿入部31,32は、後述する保持部51,52に差し込まれ、保持部51,52に嵌合する嵌込部である。第1および第2の挿入部31,32は、冷却ファン21の空気の吐出方向(図3中、X方向)、すなわち冷却ファン21からヒートシンク22に向かう方向に、ファンケース25から突出している。
第1および第2の挿入部31,32は、吐出口28の両側に分かれて、一対として設けられている。第1および第2の挿入部31,32は、それぞれ例えば起立した板状に形成されている。第1および第2の挿入部31,32は、例えばファンケース25と一体に形成され、合成樹脂製である。第1および第2の挿入部31,32は、互いに向かう合う方向、すなわち上記X方向に対して直交するY1,Y2方向に弾性変形して撓むことが可能である。
第1および第2の挿入部31,32の先端部の下端部には、ヒートパイプ23を避ける切欠き34が形成されている。これにより挿入部31,32は、第1の部分35と、第2の部分36とを有する。第1の部分35は、ファンケース25に繋がった基端部であり、比較的大きな高さを有する。第2の部分36は、切欠き34が形成されて第1の部分35よりも高さが小さくなっている。
第1および第2の挿入部31,32には、それぞれ突出部37(突起部)が設けられている。突出部37は、挿入部31,32の挿入方向(図3中のX方向)とは交差する方向(例えば直交する方向、図3中のY1,Y2方向)に突出している。第1および第2の挿入部31,32は、それぞれ、第1の面38aと、第2の面38bとを有する。第1の面38aは、吐出口28側に位置する面である。第2の面38bは、第1の面38aとは反対側に位置する。
突出部37は、第1および第2の挿入部31,32の第2の面38bに設けられ、吐出口28とは反対側に突出している。すなわち、一対の挿入部31,32の突出部37は、それぞれ冷却ファン21の外側に向いて、互いに反対方向に突出している。図3に示すように、突出部37は、ファンケース25に近付くに従い突出量が増える傾斜状をしている。
図5に示すように、ヒートシンク22は、複数のフィン41を有する。複数のフィン41は、所定の間隔で並んでいる。フィン41は、熱伝導性が比較的良好な金属材料(板金部材)で形成されている。各フィン41の上端部41aと下端部41bは、隣のフィン41に向けて折れ曲がり、隣のフィン41に当接している。この折れ曲った上端部41aおよび下端部41bがそれぞれ複数のフィン41で連続することで、ヒートシンク22の上方と下方を塞ぐカバーが形成されている。
各フィン41は、冷却ファン21とは反対側となる端部の下端部に、ヒートパイプ23を避ける切欠き41cを有する。この切欠き41cが複数のフィン41で連続することで、ヒートパイプ23が通される窪み部42が形成されている。
図4および図5に示すように、窪み部42は、ヒートパイプ23の外形と同一またはこれよりも大きく形成されている。これにより、窪み部42に配置されたヒートパイプ23は、ヒートシンク22の厚さ(図3中のZ1方向の幅)内に収まる。本実施形態に係るヒートパイプ23は、フィン41を貫通していない。ヒートパイプ23は、ヒートシンク22の表面(例えばフィン41の下端部41b)に取り付けられている。ヒートパイプ23は、ヒートシンク22の表面に例えば半田付けなどで固定されている。
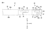
図5に示すように、ヒートシンク22には、第1および第2の挿入部31,32を保持する保持構造50が設けられている。保持構造50は、一対の保持部51,52(第1および第2の保持部51,52)と、この2つの保持部51,52を互いに連結する連結部53とを有する。第1および第2の保持部51,52並びに連結部53は、例えばひとつの板金部材で一体に形成されている。
第1および第2の保持部51,52は、ヒートシンク22の長手方向の両側(すなわち、吐出口28の両側)に分かれて、一対として設けられている。すなわち第1および第2の保持部51,52の間に、複数のフィン41が配置されている。複数のフィン41は、フィンユニットであるヒートシンク本体22aを形成している。第1および第2の挿入部31,32は、第1および第2の保持部51,52に挿入され、第1および第2の保持部51,52によって保持される。
第1および第2の保持部51,52は、それぞれ、保持部本体55、および一対の支持部56,57(第1および第2の支持部56,57)を有する。保持部本体55は、板状に形成され、ヒートシンク22の側方に起立している。保持部本体55は、例えば各フィン41と略同じ形状をしている。
図4に示すように、保持部本体55は、冷却ファン21とは反対側となる端部の下端部に、ヒートパイプ23を避ける切欠き60を有する。これにより保持部本体55は、比較的大きな高さを有した第1の部分61と、切欠き60が形成されて第1の部分61よりも高さが小さくなった第2の部分62とを有する。
図5に示すように、保持部本体55とこの保持部本体55に最も近いフィン41との間(すなわち保持部本体55とヒートシンク本体22aとの間)には、所定の隙間Sが空けられている。第1および第2の挿入部31,32は、上記隙間Sに挿入され、当該冷却装置17の外側に向いて第1および第2の保持部51,52に当接する。
保持部本体55は、開口部64を有する。開口部64は、突出部37の突出方向(図3、図5中のY1,Y2方向)に保持部本体55を貫通している。挿入部31,32が保持部51,52に挿入されたとき、突出部37が開口部64に係合する。図4および図5に示すように、開口部64は、突出部37と略同じ外形を有し、突出部37が嵌合する。
第1および第2の保持部51,52は、Y1,Y2方向において第1および第2の挿入部31,32に対して僅かにヒートシンク22の中心側に位置する。このため、第1および第2の保持部51,52に挿入された第1および第2の挿入部31,32は、ヒートシンク22の中心側(すなわちY1,Y2方向)に僅かに弾性変形して撓む。第1および第2の挿入部31,32は、弾性変形した反力として、突出部37の突出方向(すなわちY1,Y2方向)に保持部本体55に押圧力を加える。これにより、ヒートシンク22に対する冷却ファン21のY1,Y2方向における位置が定まる。
図6および図7に示すように、挿入部31,32を保持部51,52から取り出す際に、挿入部31,32は、保持部本体55とヒートシンク本体22aとの間の隙間S内で撓むことができる。すなわち、保持部本体55とヒートシンク本体22aとの間の隙間Sは、突出部37が開口部64から抜けるまで挿入部31,32がY1,Y2方向に撓むことができるように比較的大きく確保されている。
図6に示すように、第1および第2の支持部56,57は、保持部本体55と一体であり、保持部本体55の端部からそれぞれ折り曲げることで形成されている。第1の支持部56は、例えば保持部本体55の上端部から折り曲げられ、挿入部31,32に上方から対向している。第2の支持部57は、例えば保持部本体55の下端部から折り曲げられ、挿入部31,32に下方から対向している。
すなわち、第1および第2の支持部56,57は、挿入部31,32の挿入方向および突出部37の突出方向とは交差した方向(例えば直交した方向、図3のZ1、Z2方向)から挿入部31,32に対向している。第1および第2の支持部56,57は、互いに反対から挿入部31,32に対向している。第1および第2の支持部56,57は、それぞれ挿入部31,32に当接している。つまり、第1および第2の支持部56,57は、挿入部31,32を挟んでいる。これにより、ヒートシンク22に対する冷却ファン21の上下方向の位置が定まる。
なお、第1および第2の支持部56,57は、挿入部31,32の挿入方向および突出部37の突出方向に対して例えば斜めに交差した方向から挿入部31,32に対向してもよい。第2の支持部57は、必ずしも第1の支持部56の反対方向から挿入部31,32に対向していなくてもよく、第1の支持部56とは異なる方向から対向していればよい。
図4に示すように、第1および第2の支持部56,57は、挿入部31,32の挿入方向において保持部本体55の全幅に亘って設けられている。すなわち第2の支持部57は、保持部本体55の第1および第2の部分61,62それぞれに設けられている。
図5に示すように、第1の支持部56は、フィン41の端部(例えば上端部41a)と同じ高さで折り曲げられている。すなわち、第1の支持部56の上端およびフィン41の上端の高さが揃っている。つまり、保持構造50は、ヒートシンク22よりも上方に突出していない。
図5に示すように、連結部53は、板状に形成されるとともに、ヒートシンク22に重ねられている。連結部53は、ヒートシンク22の長手方向の全長に亘って、ヒートシンク22に一方(例えば下方)から対向している。連結部53は、ヒートシンク22の両側に分かれて設けられた第1および第2の保持部51,52を互いに連結している。連結部53は、第1および第2の保持部51,52の端部(例えば下端部)同士を繋いでいる。連結部53は、ヒートシンク22(すなわち複数のフィン41)に例えば半田付けなどで固定されている。
なお、上記構成に代えて、ヒートシンク22に上方から対向し、第1および第2の保持部51,52の上端部同士を連結する連結部53を設けてもよい。その場合、第2の支持部57は、フィン41の端部(例えば下端部41b)と同じ高さで折り曲げてもよい。すなわち、第2の支持部57の下端およびフィン41の下端の高さを揃えてもよい。
ヒートパイプ23は、受熱端部となる第1の端部23aと、放熱端部となる第2の端部23bとを有する。第1の端部23aは、発熱体16に熱接続されている。第2の端部23bは、図2に示すように、ヒートシンク22の窪み部42に通されている。ヒートパイプ23は、ヒートシンク22に固定され、ヒートシンク22に熱接続されている。これにより、ヒートシンク22は、発熱体16に熱接続されている。
次に、冷却装置17の作用について説明する。
本実施形態に係る冷却装置17では、冷却ファン21とヒートシンク22の固定にねじを用いない。冷却ファン21とヒートシンク22の固定は、冷却ファン21に設けられた挿入部31,32を、ヒートシンク22に設けられた保持部51,52に挿入することで行なわれる。
すなわち、挿入部31,32を保持部51,52に挿入することで、突出部37が開口部64に係合するとともに、挿入時に弾性変形した一対の挿入部31,32が保持部本体55に向けて押圧される。これにより、突出部37の突出方向(Y1,Y2方向)におけるヒートシンク22に対する冷却ファン21の位置が定まる。
さらに、第1および第2の支持部56,57によって挿入部31,32が上下から支持され、ヒートシンク22に対する冷却ファン21の上下方向の位置が定まるとともに、ヒートシンク22に対する冷却ファン21のガタつきが抑制される。
図7に示すように、ヒートシンク22に対する冷却ファン21の取り外しは、挿入部31,32の突出部37を冷却装置17の内側に向けて押すことで、挿入部31,32を弾性変形させて突出部37を開口部64から抜くとともに、挿入部31,32を保持部51,52から引き出す。これにより、冷却ファン21がヒートシンク22から取り外される。
このような構成によれば、部品点数の削減が可能になる。すなわち、一般的な冷却ファンは、ヒートシンクに設けられたブラケットにねじで固定される。このような構造では、ねじが必要になり、ねじ留め作業が負担になるとともに、部品点数が増えるため、コストが大きくなる。
一方で、本実施形態の構成によれば、挿入部31,32が保持部51,52に挿入されるとともに、開口部64に突出部37が係合することで、ねじを用いることなく冷却ファン21とヒートシンク22とを固定することができる。これにより、ねじ留め作業を削減することができるとともに、必要なねじ本数を削減することができる。これにより、部品点数の削減を実現することができる。
さらに上記構成によれば、挿入部31,32を保持部51,52に差し込むだけといった単純な作業で冷却ファン21とヒートシンク22とを固定することができるので、組立性が大きく向上する。
ここで、開口部64の大きさは突出部37の大きさと略同じである。しかしながら、開口部64の大きさを突出部37の大きさと完全に一致させて設計すると、製造上の寸法公差があるため、突出部37が開口部64に嵌らないことがある。このため、開口部64は、寸法公差を吸収するために、突出部37よりも大きく形成する必要がある。そのため、開口部64と突出部37との間には、わずかな隙間(遊び)がある。この隙間があるため、突出部37を開口部64に嵌合させた場合であっても、ヒートシンク22に対して冷却ファン21ガタつくことがある。
一方で、本実施形態に係る構成によれば、挿入部31,32の挿入方向および突出部37の突出方向とは直交する方向から挿入部31,32に対向した第1および第2の支持部56,57が設けられている。この第1および第2の支持部56,57で挿入部31,32を挟むことで、ヒートシンク22に対する冷却ファン21のガタつきを抑えることができる。
挿入部31,32および保持部51,52が吐出口28の両側に分かれて一対設けられると、ヒートシンク22の長手方向の両端部においてヒートシンク22と冷却ファン21とを連結する連結構造が実現されるので、冷却ファン21を保持する安定性が向上する。
第1および第2の支持部56,57が保持部本体55と一体であるとともに、保持部本体55の端部から折り曲げられていると、保持部本体55と第1および第2の支持部56,57とをひとつの板金部材で形成することが可能になり、さらに部品点数を少なくすることができる。
第1および第2の保持部51,52は、互いに別体に形成されて、それぞれ独立してヒートシンク22に固定されてもよい。ただし、挿入時に弾性変形した挿入部31,32の弾性力が保持部本体55を冷却装置17の外側に押すように作用するので、第1および第2の保持部51,52がヒートシンク22から外れてしまう場合がある。しかしながら、本実施形態のように、第1および第2の保持部51,52の端部同士を連結する連結部53を有すると、第1および第2の保持部51,52がヒートシンク22から外れてしまうことが抑制される。
そしてこのような連結部53がヒートシンク22の上下の両方に設けられているのではなく、上方または下方のような一方に設けられることで、ヒートシンク22の厚さの増加を抑制することができる。第1の支持部56(または第2の支持部57)が、フィン41の端部と同じ高さで折り曲げられていると、さらにヒートシンク22の厚さの増加を抑制することができる。
保持部51,52とフィン41との間に、突出部37が開口部64から抜けるように挿入部31,32が撓むことが可能な隙間Sが空けられていると、挿入部31,32を撓ませることで、冷却ファン21とヒートシンク22とをスムーズに分解することができる。これは、冷却装置17の保守性を向上させる。
ヒートパイプ23がヒートシンク22の表面に取り付けられると、ヒートパイプ23がフィン41を貫通する場合に比べて、保持部本体55や第1および第2の支持部56,57の形状の自由度が高まる。これにより、より単純な形状で保持構造50を実現することができる。
(第2の実施形態)
次に、本発明の第2の実施形態に係る電子機器1および冷却装置17について、図8を参照して説明する。なお上記第1の実施形態の構成と同一または類似の機能を有する構成は、同一の符号を付してその説明を省略する。また、下記に説明する以外の構成は、上記第1の実施形態と同じである。
図8に示すように、本実施形態に係る挿入部31,32は、ヒートシンク22に設けられている。第1および第2の挿入部31,32は、ヒートシンク22の両側に分かれて、一対として設けられている。一方、保持部51,52は、冷却ファン21に設けられている。第1および第2の保持部51,52は、吐出口28の両側に分かれて、一対として設けられている。保持部51,52は、例えばファンケース25と一体に形成され、合成樹脂製である。
このような構成によっても、上記第1の実施形態と同様に、部品点数を削減することができる。
(第3の実施形態)
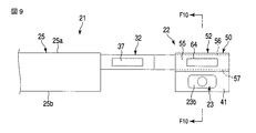
次に、本発明の第3の実施形態に係る電子機器1および冷却装置17について、図9および図10を参照して説明する。なお上記第1の実施形態の構成と同一または類似の機能を有する構成は、同一の符号を付してその説明を省略する。また、下記に説明する以外の構成は、上記第1の実施形態と同じである。
図9および図10に示すように、本実施形態に係るヒートパイプ23は、ヒートシンク22を貫通している。ヒートパイプ23は、フィン41の中央に対して上下方向に偏っている。本実施形態では、ヒートパイプ23は、フィン41の中央に対して下側に偏っている。なお、ヒートパイプ23は、フィン41の中央に対して上側に偏ってもよい。
保持部51,52は、ヒートパイプ23を避けるように、フィン41の高さに対して一部の領域だけに設けられている。保持部51,52は、フィン41の中央に対してヒートパイプ23が偏った側とは反対側に設けられている。
このような構成によっても、上記第1の実施形態と同様に、部品点数を削減することができる。
(第4の実施形態)
次に、本発明の第4の実施形態に係る電子機器1および冷却装置17について、図11および図12を参照して説明する。なお上記第1の実施形態の構成と同一または類似の機能を有する構成は、同一の符号を付してその説明を省略する。また、下記に説明する以外の構成は、上記第1の実施形態と同じである。
図11および図12に示すように、本実施形態に係るヒートパイプ23は、ヒートシンク22を貫通している。ヒートパイプ23は、例えばフィン41の略中央部を貫通している。第1よび第2の保持部51,52は、ヒートパイプ23を避けるように、ヒートパイプ23の上下に分かれて、それぞれ2つずつ設けられている。
このような構成によっても、上記第1の実施形態と同様に、部品点数を削減することができる。
以上、本発明の第1乃至第4の実施形態に係る電子機器1および冷却装置17について説明したが、本発明はこれらに限定されるものではない。第1乃至第4の実施形態に係る各構成要素は、適宜組み合わせて用いることができる。また、この発明は上記実施形態そのままに限定されるものではなく、実施段階ではその要旨を逸脱しない範囲で構成要素を変形して具体化できる。
例えば、上記説明した冷却装置の構成は、全て上下を逆にして実施可能である。
S…隙間、1…電子機器、5…筐体、16…発熱体、17…冷却装置、21…冷却ファン、22…ヒートシンク、25…ファンケース、28…吐出口、31,32…挿入部、37…突出部、41…フィン、51,52…保持部、53…連結部、55…保持部本体、64…開口部。

Claims (10)

  1. 冷却ファンと、
    ヒートシンクと、
    前記冷却ファンおよび前記ヒートシンクのいずれか一方に設けられた挿入部と、
    前記挿入部に設けられ、前記挿入部の挿入方向とは交差する方向に突出した突出部と、
    前記冷却ファンおよび前記ヒートシンクのいずれか他方に設けられ、前記挿入部が挿入される保持部であって、前記突出部が係合する開口部と、前記挿入部の挿入方向および前記突出部の突出方向とは交差する方向から前記挿入部に対向した第1の支持部と、前記第1の支持部とは異なる方向から前記挿入部に対向した第2の支持部とを有した保持部と、
    を具備したことを特徴とする冷却装置。
  2. 請求項1の記載において、
    前記冷却ファンは、吐出口を有し、前記挿入部および前記保持部は、前記吐出口の両側に分かれて一対設けられたことを特徴とする冷却装置。
  3. 請求項2の記載において、
    前記一対の挿入部の突出部は、それぞれ前記吐出口とは反対側に突出したことを特徴とする冷却装置。
  4. 請求項3の記載において、
    前記保持部は、前記開口部を有した保持部本体を備え、前記第1の支持部および前記第2の支持部は、前記保持部本体と一体であるとともに、前記保持部本体の端部からそれぞれ折り曲げられたことを特徴とする冷却装置。
  5. 請求項4の記載において、
    前記挿入部は、前記冷却ファンに設けられ、前記保持部は、前記ヒートシンクに設けられたことを特徴とする冷却装置。
  6. 請求項5の記載において、
    前記ヒートシンクは、前記一対の保持部の間に配置された複数のフィンを有し、前記一対の保持部の端部同士は、前記複数のフィンに一方から対向する連結部によって連結されたことを特徴とする冷却装置。
  7. 請求項6の記載において、
    前記フィンは、その端部が隣のフィンに向けて折り曲げられ、前記第1の支持部は、前記フィンの端部と同じ高さで折り曲げられたことを特徴とする冷却装置。
  8. 請求項7の記載において、
    前記保持部と前記フィンとの間には、前記突出部が前記開口部から抜けるように前記挿入部が撓むことが可能な隙間が空けられたことを特徴とする冷却装置。
  9. 請求項8の記載において、
    前記ヒートパイプは、前記ヒートシンクの表面に取り付けられたことを特徴とする冷却装置。
  10. 筐体と、
    前記筐体に収容された発熱体と、
    冷却ファンと、
    前記発熱体に熱接続されたヒートシンクと、
    前記冷却ファンおよび前記ヒートシンクのいずれか一方に設けられた挿入部と、
    前記挿入部に設けられ、前記挿入部の挿入方向とは交差する方向に突出した突出部と、
    前記冷却ファンおよび前記ヒートシンクのいずれか他方に設けられ、前記挿入部が挿入される保持部であって、前記突出部が係合する開口部と、前記挿入部の挿入方向および前記突出部の突出方向とは交差する方向から前記挿入部に対向した第1の支持部と、前記第1の支持部とは異なる方向から前記挿入部に対向した第2の支持部とを有した保持部と、
    を具備したことを特徴とする電子機器。
JP2009296328A 2009-12-25 2009-12-25 冷却装置、および電子機器 Active JP4635101B1 (ja)

Priority Applications (2)

Application Number Priority Date Filing Date Title
JP2009296328A JP4635101B1 (ja) 2009-12-25 2009-12-25 冷却装置、および電子機器
US12/873,894 US7952872B1 (en) 2009-12-25 2010-09-01 Cooling device and electronic apparatus

Applications Claiming Priority (1)

Application Number Priority Date Filing Date Title
JP2009296328A JP4635101B1 (ja) 2009-12-25 2009-12-25 冷却装置、および電子機器

Related Child Applications (1)

Application Number Title Priority Date Filing Date
JP2010249841A Division JP4799686B2 (ja) 2010-11-08 2010-11-08 電子機器

Publications (2)

Publication Number Publication Date
JP4635101B1 true JP4635101B1 (ja) 2011-02-16
JP2011138827A JP2011138827A (ja) 2011-07-14

Family

ID=43768660

Family Applications (1)

Application Number Title Priority Date Filing Date
JP2009296328A Active JP4635101B1 (ja) 2009-12-25 2009-12-25 冷却装置、および電子機器

Country Status (2)

Country Link
US (1) US7952872B1 (ja)
JP (1) JP4635101B1 (ja)

Families Citing this family (10)

* Cited by examiner, † Cited by third party
Publication number Priority date Publication date Assignee Title
US8132615B2 (en) * 2008-03-20 2012-03-13 Cpumate Inc. Heat sink and heat dissipation device having the same
US8699226B2 (en) * 2012-04-03 2014-04-15 Google Inc. Active cooling debris bypass fin pack
USD708591S1 (en) * 2012-09-22 2014-07-08 Apple Inc. Fan component
US9538632B2 (en) * 2012-10-18 2017-01-03 Apple Inc. Printed circuit board features of a portable computer
US9223364B2 (en) * 2012-10-25 2015-12-29 Inhon International Co., Ltd. Heat dissipation control system for portable electrical device and control method thereof
TWI534594B (zh) * 2012-11-23 2016-05-21 鴻準精密工業股份有限公司 散熱模組
USD694199S1 (en) * 2012-11-30 2013-11-26 Foxconn Technology Co., Ltd. Heat dissipating device
US9301422B1 (en) * 2015-04-01 2016-03-29 John O. Tate Heat sink with internal fan
US11711905B2 (en) * 2020-02-18 2023-07-25 Nvidia Corporation Heat sink with adjustable fin pitch
WO2022249878A1 (ja) * 2021-05-26 2022-12-01 パナソニックIpマネジメント株式会社 放熱構造および電子機器

Family Cites Families (38)

* Cited by examiner, † Cited by third party
Publication number Priority date Publication date Assignee Title
JPH0399291A (ja) * 1989-09-13 1991-04-24 Mitsubishi Electric Corp 測距装置
US5452181A (en) 1994-02-07 1995-09-19 Nidec Corporation Detachable apparatus for cooling integrated circuits
US5353863A (en) * 1994-03-07 1994-10-11 Yu Chi T Pentium CPU cooling device
US5630469A (en) * 1995-07-11 1997-05-20 International Business Machines Corporation Cooling apparatus for electronic chips
US5860281A (en) * 1997-02-14 1999-01-19 Igloo Products Corporation Thermoelectric cooler and warmer for food with table top tray
US6883592B2 (en) * 1998-11-04 2005-04-26 Zalman Tech Co., Ltd. Heatsink for electronic component
US6311767B1 (en) 1999-05-26 2001-11-06 Intel Corporation Computer fan assembly
US6304445B1 (en) * 2000-04-27 2001-10-16 Sun Microsystems, Inc. Fan heat sink and method
JP2002280499A (ja) * 2001-03-22 2002-09-27 Matsushita Electric Ind Co Ltd 冷却モジュール
US6496368B2 (en) * 2001-05-14 2002-12-17 Delta Electronics, Inc. Heat-dissipating assembly having heat sink and dual hot-swapped fans
TW543828U (en) * 2001-07-12 2003-07-21 Foxconn Prec Components Co Ltd Assembly of heating-tube heat sink
TW572246U (en) * 2001-07-26 2004-01-11 Jiun-Fu Liou Heat dissipating module with a self rapid heat conduction
TWI220704B (en) * 2002-04-30 2004-09-01 Asustek Comp Inc Heat sink module
US6711016B2 (en) * 2002-05-07 2004-03-23 Asustek Computer Inc. Side exhaust heat dissipation module
US6950306B2 (en) * 2002-05-10 2005-09-27 Delta Electronics, Inc. Connection frame for fan
US6768641B2 (en) * 2002-06-28 2004-07-27 Hon Hai Precision Ind. Co., Ltd. Heat dissipation assembly
TW539391U (en) * 2002-09-17 2003-06-21 Hon Hai Prec Ind Co Ltd Fixing apparatus
US20040174675A1 (en) * 2003-03-06 2004-09-09 Ming-Tson Liu Book-style computer attachable to LCD monitor
JP3099291U (ja) 2003-07-17 2004-04-02 大▲しゅう▼電腦股▲ふん▼有限公司 情報製品の香気生成装置
US6779595B1 (en) * 2003-09-16 2004-08-24 Cpumate Inc. Integrated heat dissipation apparatus
TWM242770U (en) * 2003-10-03 2004-09-01 Molex Inc Heat sink module having dual fans
US6958915B2 (en) * 2003-10-07 2005-10-25 Hon Hai Precision Ind. Co., Ltd. Heat dissipating device for electronic component
CN2657082Y (zh) * 2003-10-18 2004-11-17 鸿富锦精密工业(深圳)有限公司 热管散热装置
US6967845B2 (en) * 2003-11-05 2005-11-22 Cpumate Inc. Integrated heat dissipating device with curved fins
TWM249411U (en) * 2003-12-26 2004-11-01 Hon Hai Prec Ind Co Ltd Heat dissipation assembly
JP2005197303A (ja) * 2003-12-26 2005-07-21 Nippon Densan Corp ヒートシンクファン
US7040384B2 (en) * 2004-01-27 2006-05-09 Molex Incorporated Heat dissipation device
US7130192B2 (en) * 2004-04-27 2006-10-31 Fu Zhun Precision Industry (Shenzhen) Co., Ltd. Heat dissipating device
US7133288B2 (en) * 2004-05-19 2006-11-07 Tyco Electronics Corporation Processor heat sink retention module and assembly
US7333332B2 (en) * 2005-02-14 2008-02-19 Inventec Corporation Heatsink thermal module with noise improvement
CN100456913C (zh) * 2005-08-12 2009-01-28 富准精密工业(深圳)有限公司 散热装置
JP3116438U (ja) 2005-08-29 2005-12-08 奇▲こう▼科技股▲ふん▼有限公司 放熱器モジュールの組合せ構造
US20070121291A1 (en) * 2005-11-30 2007-05-31 Inventec Corporation Heat sink module of a notebook computer
US20070251675A1 (en) * 2006-04-26 2007-11-01 Foxconn Technology Co., Ltd. Thermal module
CN100530037C (zh) * 2006-06-02 2009-08-19 富准精密工业(深圳)有限公司 散热模组
CN101106888B (zh) * 2006-07-14 2012-06-13 富准精密工业(深圳)有限公司 散热模组
JP5231732B2 (ja) * 2006-10-26 2013-07-10 株式会社東芝 冷却装置、およびこれを備えた電子機器
JP2008250616A (ja) * 2007-03-30 2008-10-16 Toshiba Corp 電子機器

Also Published As

Publication number Publication date
JP2011138827A (ja) 2011-07-14
US7952872B1 (en) 2011-05-31

Similar Documents

Publication Publication Date Title
JP4635101B1 (ja) 冷却装置、および電子機器
JP4783326B2 (ja) 電子機器
JP4978567B2 (ja) 電子機器
JP4660627B2 (ja) 電子機器および冷却装置
JP4327320B2 (ja) 電子機器
JP3634825B2 (ja) 電子機器
US6765794B1 (en) Heat sink, manufacturing method thereof, and electronic apparatus having the heat sink
JP4846610B2 (ja) 電子機器
US20050007738A1 (en) Radiator mechanism and electronic apparatus having same
JP2009104241A (ja) 電子機器
JP4676008B2 (ja) 電子機器
JP2011081437A (ja) 電子機器
JP2011034309A (ja) 電子機器
JP2006216678A (ja) 半導体用の放熱器
JP4818452B2 (ja) 電子機器
JP5221252B2 (ja) 放熱装置
JP2009181215A (ja) 電子機器
JP4799686B2 (ja) 電子機器
TWI267348B (en) Heat dissipation assembly
JP2007207952A (ja) 電子機器
JP4897107B2 (ja) 電子機器
JP2009301143A (ja) 放熱ユニット、基板ユニット、および電子機器
JP2009009316A (ja) 電子機器
JP2011128708A (ja) 電子機器
JP2012022700A (ja) 電子機器

Legal Events

Date Code Title Description
TRDD Decision of grant or rejection written
A01 Written decision to grant a patent or to grant a registration (utility model)

Free format text: JAPANESE INTERMEDIATE CODE: A01

Effective date: 20101026

A01 Written decision to grant a patent or to grant a registration (utility model)

Free format text: JAPANESE INTERMEDIATE CODE: A01

A61 First payment of annual fees (during grant procedure)

Free format text: JAPANESE INTERMEDIATE CODE: A61

Effective date: 20101119

R151 Written notification of patent or utility model registration

Ref document number: 4635101

Country of ref document: JP

Free format text: JAPANESE INTERMEDIATE CODE: R151

FPAY Renewal fee payment (event date is renewal date of database)

Free format text: PAYMENT UNTIL: 20131126

Year of fee payment: 3

S111 Request for change of ownership or part of ownership

Free format text: JAPANESE INTERMEDIATE CODE: R313121

Free format text: JAPANESE INTERMEDIATE CODE: R313117

R350 Written notification of registration of transfer

Free format text: JAPANESE INTERMEDIATE CODE: R350