JP4609215B2 - 工作機械におけるパレット交換装置 - Google Patents

工作機械におけるパレット交換装置 Download PDF

Info

Publication number
JP4609215B2
JP4609215B2 JP2005205437A JP2005205437A JP4609215B2 JP 4609215 B2 JP4609215 B2 JP 4609215B2 JP 2005205437 A JP2005205437 A JP 2005205437A JP 2005205437 A JP2005205437 A JP 2005205437A JP 4609215 B2 JP4609215 B2 JP 4609215B2
Authority
JP
Japan
Prior art keywords
pallet
positioning pin
operating position
engagement piece
standby station
Prior art date
Legal status (The legal status is an assumption and is not a legal conclusion. Google has not performed a legal analysis and makes no representation as to the accuracy of the status listed.)
Expired - Fee Related
Application number
JP2005205437A
Other languages
English (en)
Other versions
JP2007021628A (ja
Inventor
秀夫 社本
Current Assignee (The listed assignees may be inaccurate. Google has not performed a legal analysis and makes no representation or warranty as to the accuracy of the list.)
Okuma Corp
Original Assignee
Okuma Corp
Priority date (The priority date is an assumption and is not a legal conclusion. Google has not performed a legal analysis and makes no representation as to the accuracy of the date listed.)
Filing date
Publication date
Application filed by Okuma Corp filed Critical Okuma Corp
Priority to JP2005205437A priority Critical patent/JP4609215B2/ja
Publication of JP2007021628A publication Critical patent/JP2007021628A/ja
Application granted granted Critical
Publication of JP4609215B2 publication Critical patent/JP4609215B2/ja
Anticipated expiration legal-status Critical
Expired - Fee Related legal-status Critical Current

Links

Images

Landscapes

  • Feeding Of Workpieces (AREA)

Description

この発明は、例えば、マシニングセンタ等の工作機械におけるパレット交換装置に関する。
この種の装置としては、工作機械に対しパレットを般出入する際に一時的に待機させる待機ステーションを有する工作機械において、待機ステーションから、これより水平方向に所定距離を隔てたところまでのびている水平パレット搬送レールと、待機ステーションにおけるパレット搬送レール上のパレットと係合離脱自在に係合させられかつパレット搬送レールの長さ方向に水平移動させられる駆動体とを備えており、パレットと駆動体を係合させる際に、双方の干渉をさけるために、アクチュエータによって、いずれか一方を移動させるようにしたものが知られている(例えば、特許文献1参照。)。
上記従来装置では、パレットまたは駆動体を移動させるためには、それ専用のアクチュエータを必要とするところから、構造が複雑となるし、設備費が高価になるという問題点がある。
実開平2−35648号公報
この発明の目的は、構造が簡単で、設備費が安価である工作機械におけるパレット交換装置を提供することにある。
この発明によるパレット交換装置は、工作機械に対しパレットを般出入する際に一時的に待機させる待機ステーションを有する工作機械において、下向きピン孔を有しているパレットと、待機ステーションから、これより水平方向に所定距離を隔てたところまでのびている水平パレット搬送レールと、待機ステーションにおけるパレット搬送レール上のパレットのピン孔に出入しうるように昇降自在に配置されている垂直状位置決めピンと、パレットから上方に突出させられる作動位置およびパレット内に退入させられる非作動位置の間で昇降しうるようにパレットに保持されている係合片と、待機ステーションにおいて、位置決めピンの上昇によって係合片が作動位置に位置させられ、位置決めピンの下降によって係合片が非作動位置に位置させられるように位置決めピンの動作を係合片に伝達する伝達機構と、作動位置の係合片と係合させられるとともに、非作動位置の係合片と係合解除させられるように配置されかつパレット搬送レールの長さ方向に水平往復動させられる駆動体とを備えているものである。
この発明によるパレット交換装置では、位置決めピンの昇降動作にしたがって係合片が作動位置および非作動位置に位置させられ、作動位置の係合片と駆動体とは係合されるが、係合片を非作動位置に位置させておけば、駆動体の移動に際し、係合片および駆動体は相互に干渉し合うことがない。したがって、パレットと駆動体を係合させるためにアクチュエータは不要である。
さらに、伝達機構が、一端が係合片に連結されかつ位置決めピンの上昇時に位置決めピンによって他端が押上げられるとともに、位置決めピンの下降時に位置決めピンによる押上から開放されように配置されている両端を上下揺動自在とする伝達ロッドと、係合片が作動位置に位置させられる方向に伝達ロッドを付勢しているばねとよりなると、極めて簡単な構造でもって、位置決めピンの動作を係合片に伝達することができる。したがって、係合動作のための専用のアクチュエータが不要であることと相俟って、設備費を安価にすることができる。
この発明によれば、構造が簡単で、設備費が安価である工作機械におけるパレット交換装置が提供される。
この発明の実施の形態を図面を参照しながらつぎに説明する。
以下の説明において、前後とは、図1に矢印Aで示す側を前、これと反対側を後といい、左右とは、前方から見て、その左右の側を左右というものとする。
図1を参照すると、工作機械は、ベッド11に前後動自在に支持されているテーブル12と、テーブル移動経路の後方に左右動自在に設けられているコラム13と、コラム13の前面に上下動自在に設けられている主軸頭14と、主軸頭14に支持されている主軸15と、コラム移動経路の左方に配置されている工具交換ユニット16とを備えている。
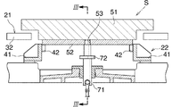
テーブル移動経路の前方にはパレット交換アーム21が配置されている。パレット交換アーム21の後方には、工作機械に対しパレットを般出入する際に一時的に待機させておくための待機ステーションSが設けられている。待機ステーションSから前方に向かってパレット搬送レール22がのびている。パレット搬送レール22には搬送板52を介してパレット51が載せられている。パレット51の前縁部中央から、前後方向にのびた帯板状駆動体24が前に向かってのびている。
パレット交換アーム21は、垂直中心軸31と、中心軸31から互いに反対方向に突出させられている一対の二股状アーム部材32とを有している。中心軸31は、回転および昇降自在である。
図示しないが、工作機械全体はカバーで被覆されている。さらに、カバー内は、中心軸31の軸線を通って左右方向に拡がる垂直仕切壁によって前後に仕切られており、仕切壁の後側に加工室が、その前側に段取室が形成されている。
パレット搬送レール22は、互いに平行に水平にのびた一対のレール部材41と、各レール部材41の長さ方向に並んで取り付けられている複数の搬送ローラ42とよりなる。
図2〜図4を参照すると、パレット51は、両レール部材41のローラ42にまたがって載せられる水平板状搬送板52上に固定されている。搬送板52の下面中央には下向きの垂直ピン孔53が形成されている。
例えば、図3に示すように、搬送板52の前縁部には取付ブラケット61を介して係合片62が取付けられている。取付ブラケット61には保持孔63が上下貫通状に形成されている。保持孔63を下方から被覆するように有底筒状ばねハウジング64が設けられている。係合片62は、図5に詳細に示すように、保持孔63に摺動自在にはめ入れられている大径部62aと、大径部62aの下端に連なって垂下させられかつばねハウジング64の底壁に摺動自在に貫通させられた小径部62bとよりなる。小径部62bを取り囲むようにばねハウジング64に圧縮コイルばね65が収容されている。
駆動体24は、図示しない駆動源によって前後往復動させられるようになっている。駆動体24の後端部には係合凹所66が下向きに形成されている(図5参照)。係合凹所66は、保持孔63とほぼ同じ大きさの丸孔である。
待機ステーションSにおける両レール部材41の前端部間中央に垂直状位置決めピン71が配置されている。位置決めピン71は、適宜支持部材に昇降自在に支持されかつ図示しない流体圧シリンダによって昇降させられるようになっている。位置決めピン71の高さの中程には押上フランジ72が設けられている。
係合片62の小径部62bの下方突出端部には、概ね前後方向にのびた伝達ロッド73の後端部が連結されている。伝達ロッド73は、その長さの中間位置で前後両端を上下揺動自在とするように前後動体74に支持されている。伝達ロッド73の後端部は、押上フランジ72に上方から臨ませられている。前後動体74は、図示しない適宜支持手段によって前後動自在に支持されている。伝達ロッド73の後端部近くと前後動体74の間には引張コイルばね75が張り渡されている。
図3を参照すると、待機ステーションSにおいてパレット搬送レール22に搬送板52を介してパレット51が載せられているものとする。位置決めピン71は、昇降ストロークの上限に位置させられている。位置決めピン71の上端部は、搬送板52のピン孔53に差し入れられている。圧縮コイルばね65および引張コイルばね75のばね力に抗して、伝達ロッド73の前端部は、押上フランジ72によって押上げられている。係合片62の上端は、ブラケット61の上面レベル以下のところにある。すなわち、係合片62は、その全体が搬送板52内に退入させられた状態であり、これを、係合片62が非作動位置に位置させられているものと称する。このときに、駆動体24は、係合片62と干渉することなく、前後動自在である。駆動体24は、係合凹所66を保持孔63と合致させたところに位置させられている。
図4に示すように、位置決めピン71を上限から下降させる。位置決めピン71はピン孔53から抜け出るとともに、位置決めピン71の下降時に、伝達ロッド73は押上フランジ72による押上から開放されて、自由となる。そうすると、圧縮コイルばね65および引張コイルばね75のばね力によって、伝達ロッド73の前端部は下降させられ、その後端部は上昇させられる。伝達ロッド73の後端部が上昇させられると、これにともなって、係合片62が上昇させられ、その大径部62aは保持孔63から上方に突出させられて、そこに待機させられていた係合凹所66にはめ入れられる。この状態を、係合片62が作動位置に位置させられているものと称する。
加工済みパレット51を後向きのアーム部材32に載せ、未加工のパレット51を前向きのアーム部材32に載せて、パレット交換アーム部材21を上昇させて、180度旋回させた後に、下降させる。そうすると、2つのパレット51が入れ替わる。
待機ステーションSにおいて、パレット搬送レール22には搬送板52を介して加工済みパレット51が載せられている。位置決めピン71を上昇させてピン孔53に差し入れると、係合片62が非作動位置に位置させられる。この状態で、駆動体24を前進させてきて、係合凹所66が保持孔63と合致させられると、位置決めピン71を下降させてピン孔53から抜け出させる。そうすると、係合片62は作動位置に位置させられて、係合片62は係合凹所66にはめ入れられて係合される。この状態で、駆動体24を前進させると、駆動体24とともに加工済みパレット51および搬送板52が搬送レール22上を運ばれていく。
駆動体24によって未加工のパレット51を待機ステーションSに搬入した場合、下限で待機させておいて位置決めピン71を上昇させると、係合片62が非作動位置に位置させられる。これにより、搬送板52と駆動体24の係合が解除される。
尚、本実施形態においては、搬送板52にパレット51を図示しない手段で固定し、搬送板52とパレット51を一体化させて取り扱っている。この場合、搬送板52とパレット51との間の固定には、搬送板52の上面にピンを突出させ、パレット51下面のピン対応部分に孔を設けることにより、交換アーム21の上下動を利用して着脱させるようにすればよい。
また、ピン孔53はパレット51に設けるようにしても良く、その場合、搬送板52には貫通孔を形成すればよい。
さらに、本実施形態では搬送板52を設けているが、搬送板を用いることなく、パレットに直接ピン孔53を設けかつ係合片を設けるようにしても良い。
その他、本発明の主旨を逸脱しない範囲での設計変更は本発明に含まれるのは勿論である。
この発明によるパレット交換装置を装備した工作機械全体の斜視図である。 図1のII−II線にそう垂直横断面図である。 図2のIII−III線にそう垂直縦断面図である。 図3とは別の状態を示す図3相当の断面図である。 図3および図4の一部拡大断面図である。
符号の説明
22 レール
24 駆動体
53 ピン孔
62 係合片
71 位置決めピン
S 待機ステーション

Claims (2)

  1. 工作機械に対しパレットを般出入する際に一時的に待機させる待機ステーションを有する工作機械において、
    下向きピン孔を有しているパレットと、
    待機ステーションから、これより水平方向に所定距離を隔てたところまでのびている水平パレット搬送レールと、
    待機ステーションにおけるパレット搬送レール上のパレットのピン孔に出入しうるように昇降自在に配置されている垂直状位置決めピンと、
    パレットから上方に突出させられる作動位置およびパレット内に退入させられる非作動位置の間で昇降しうるようにパレットに保持されている係合片と、
    待機ステーションにおいて、位置決めピンの上昇によって係合片が作動位置に位置させられ、位置決めピンの下降によって係合片が非作動位置に位置させられるように位置決めピンの動作を係合片に伝達する伝達機構と、
    作動位置の係合片と係合させられるとともに、非作動位置の係合片と係合解除させられるように配置されかつパレット搬送レールの長さ方向に水平往復動させられる駆動体と、
    を備えているパレット交換装置。
  2. 伝達機構が、
    一端が係合片に連結されかつ位置決めピンの上昇時に位置決めピンによって他端が押上げられるとともに、位置決めピンの下降時に位置決めピンによる押上から開放されように配置されている両端を上下揺動自在とする伝達ロッドと、
    係合片が作動位置に位置させられる方向に伝達ロッドを付勢しているばねと、
    よりなる請求項1に記載のパレット交換装置。
JP2005205437A 2005-07-14 2005-07-14 工作機械におけるパレット交換装置 Expired - Fee Related JP4609215B2 (ja)

Priority Applications (1)

Application Number Priority Date Filing Date Title
JP2005205437A JP4609215B2 (ja) 2005-07-14 2005-07-14 工作機械におけるパレット交換装置

Applications Claiming Priority (1)

Application Number Priority Date Filing Date Title
JP2005205437A JP4609215B2 (ja) 2005-07-14 2005-07-14 工作機械におけるパレット交換装置

Publications (2)

Publication Number Publication Date
JP2007021628A JP2007021628A (ja) 2007-02-01
JP4609215B2 true JP4609215B2 (ja) 2011-01-12

Family

ID=37783044

Family Applications (1)

Application Number Title Priority Date Filing Date
JP2005205437A Expired - Fee Related JP4609215B2 (ja) 2005-07-14 2005-07-14 工作機械におけるパレット交換装置

Country Status (1)

Country Link
JP (1) JP4609215B2 (ja)

Cited By (1)

* Cited by examiner, † Cited by third party
Publication number Priority date Publication date Assignee Title
KR102874816B1 (ko) * 2025-03-12 2025-10-27 이제현 Mct가공장치용 피가공물 이송시스템

Families Citing this family (3)

* Cited by examiner, † Cited by third party
Publication number Priority date Publication date Assignee Title
JP5080123B2 (ja) * 2007-04-26 2012-11-21 オークマ株式会社 パレット受け渡しシステム
JP5006726B2 (ja) * 2007-07-24 2012-08-22 コマツNtc株式会社 加工装置
CN107537784B (zh) * 2017-10-11 2024-01-19 惠州市兴源自动化设备有限公司 一种电池阻抗测试机

Family Cites Families (4)

* Cited by examiner, † Cited by third party
Publication number Priority date Publication date Assignee Title
JPS6125745A (ja) * 1984-07-13 1986-02-04 Hitachi Seiki Co Ltd 工作機械の被搬送物交換装置
JPS6139336U (ja) * 1984-08-08 1986-03-12 豊田工機株式会社 パレツト位置決め装置
JP3102526B2 (ja) * 1992-10-12 2000-10-23 津田駒工業株式会社 対象部材の固定装置
JPH0825166A (ja) * 1994-07-21 1996-01-30 Toshiba Mach Co Ltd パレット交換装置

Cited By (1)

* Cited by examiner, † Cited by third party
Publication number Priority date Publication date Assignee Title
KR102874816B1 (ko) * 2025-03-12 2025-10-27 이제현 Mct가공장치용 피가공물 이송시스템

Also Published As

Publication number Publication date
JP2007021628A (ja) 2007-02-01

Similar Documents

Publication Publication Date Title
US20120020755A1 (en) Horizontal machine tool
JP5882343B2 (ja) ワーク、特に金属薄板を加工する機械装置及びこの種の機械装置においてワークをアンロードする方法
CN112423908B (zh) 上模储料器
JP4609215B2 (ja) 工作機械におけるパレット交換装置
EP1329284A3 (en) Workpiece transfer device for machine tools
JPWO2010082313A1 (ja) 搬送装置
JP2005125421A (ja) 横形マシニングセンタ
CN102294697B (zh) 工件搬送装置的手装卸机构
JP4769285B2 (ja) 工具折損検出装置
JP2010194707A (ja) 工作機械の開閉扉装置
JP4659795B2 (ja) 穴明けプレスユニットの段替装置
JP4977521B2 (ja) 工作機械
JP5091179B2 (ja) 移動式金型クランプ装置、これを備えるプレス機及びこれを用いた金型のクランプ方法
JP6230684B1 (ja) 加工装置
KR100897691B1 (ko) 공작기계
KR101397197B1 (ko) 슬라이딩 지지대를 이용한 공구 메거진 이송대강성보강장치
JP2008302412A (ja) 突き上げカム装置
JP4760004B2 (ja) プレス機械の昇降装置
JP5407531B2 (ja) 板材搬送システム
WO2020017540A1 (ja) 上型ストッカ
KR101532955B1 (ko) 라디에이터 그릴 자동 조립 장치
JP6947775B2 (ja) ハンド装置
JP4824977B2 (ja) プレスブレーキ
JP2005027893A (ja) パチンコ球回収装置
JP2006086406A (ja) 部品供給装置

Legal Events

Date Code Title Description
A621 Written request for application examination

Free format text: JAPANESE INTERMEDIATE CODE: A621

Effective date: 20080528

TRDD Decision of grant or rejection written
A977 Report on retrieval

Free format text: JAPANESE INTERMEDIATE CODE: A971007

Effective date: 20100831

A01 Written decision to grant a patent or to grant a registration (utility model)

Free format text: JAPANESE INTERMEDIATE CODE: A01

Effective date: 20100914

A01 Written decision to grant a patent or to grant a registration (utility model)

Free format text: JAPANESE INTERMEDIATE CODE: A01

A61 First payment of annual fees (during grant procedure)

Free format text: JAPANESE INTERMEDIATE CODE: A61

Effective date: 20100927

FPAY Renewal fee payment (event date is renewal date of database)

Free format text: PAYMENT UNTIL: 20131022

Year of fee payment: 3

R150 Certificate of patent or registration of utility model

Ref document number: 4609215

Country of ref document: JP

Free format text: JAPANESE INTERMEDIATE CODE: R150

LAPS Cancellation because of no payment of annual fees