JP4608279B2 - 液状あるいはスラリー状食品の乾燥方法 - Google Patents
液状あるいはスラリー状食品の乾燥方法 Download PDFInfo
- Publication number
- JP4608279B2 JP4608279B2 JP2004295909A JP2004295909A JP4608279B2 JP 4608279 B2 JP4608279 B2 JP 4608279B2 JP 2004295909 A JP2004295909 A JP 2004295909A JP 2004295909 A JP2004295909 A JP 2004295909A JP 4608279 B2 JP4608279 B2 JP 4608279B2
- Authority
- JP
- Japan
- Prior art keywords
- dried
- fatty acid
- food
- acid ester
- liquid
- Prior art date
- Legal status (The legal status is an assumption and is not a legal conclusion. Google has not performed a legal analysis and makes no representation as to the accuracy of the status listed.)
- Expired - Lifetime
Links
Images
Landscapes
- Freezing, Cooling And Drying Of Foods (AREA)
- Seasonings (AREA)
Description
しかし、これらの方法では被乾燥物として動植物エキス等を乾燥機のドラム表面に落下させた際に、乾燥機のドラムが減圧下にあるがゆえに被乾燥物の突沸現象が起こり、しばしば意図した形状を有する乾燥物が得られず、それによる生産性の低下あるいは歩留りの低下という問題があった。また、得られる乾燥物もポーラスな粉末で水への溶解性も悪く、かつ吸湿性の強い乾燥物しか得られていなかった。
(1) 液状あるいはスラリー状食品を界面活性剤の存在下にて真空ドラムドライヤーにより乾燥することを特徴とする乾燥食品の製造方法、
(2) 液状あるいはスラリー状食品を、澱粉加水分解物及び界面活性剤の存在下にて真空ドラムドライヤーにより乾燥することを特徴とする乾燥食品の製造方法、
(3) 界面活性剤が、グリセリン脂肪酸エステル、ショ糖脂肪酸エステル、ソルビタン脂肪酸エステル、ポリオキシエチレンソルビタン脂肪酸エステル、プロピレングリコール脂肪酸エステル及びレシチンから選択される1又は2種以上であることを特徴とする前記(1)又は(2)に記載の製造方法、
(4) 界面活性剤が、ジグリセリンモノオレートであることを特徴とする前記(1)又は(2)に記載の製造方法、
(5) 澱粉加水分解物が、デキストリンであることを特徴とする前記(2)〜(4)のいずれかに記載の製造方法、
(6) 液状あるいはスラリー状食品が、動植物エキス又は調味料である前記(1)又は(2)に記載の製造方法、
(7) 液状あるいはスラリー状動植物エキスを、前記動植物エキスの固形分100部に対し、デキストリン80〜150部及びジグリセリンモノオレート0.02〜0.1部の存在下にて真空ドラムドライヤーにより乾燥することを特徴とする乾燥動植物エキスの製造方法、
(8) 液状あるいはスラリー状調味料を、前記調味料の固形分100部に対し、デキストリン80〜150部及びジグリセリンモノオレート0.02〜0.1部の存在下にて真空ドラムドライヤーにより乾燥することを特徴とする乾燥調味料の製造方法、
(9) 前記(1)〜(8)のいずれかに記載の方法により得られる含量水分が15質量%以下の乾燥食品、
に関する。
本発明の方法によれば、水に対する溶解性の優れた、かつ、耐吸湿性の向上された乾燥食品を得ることができる。
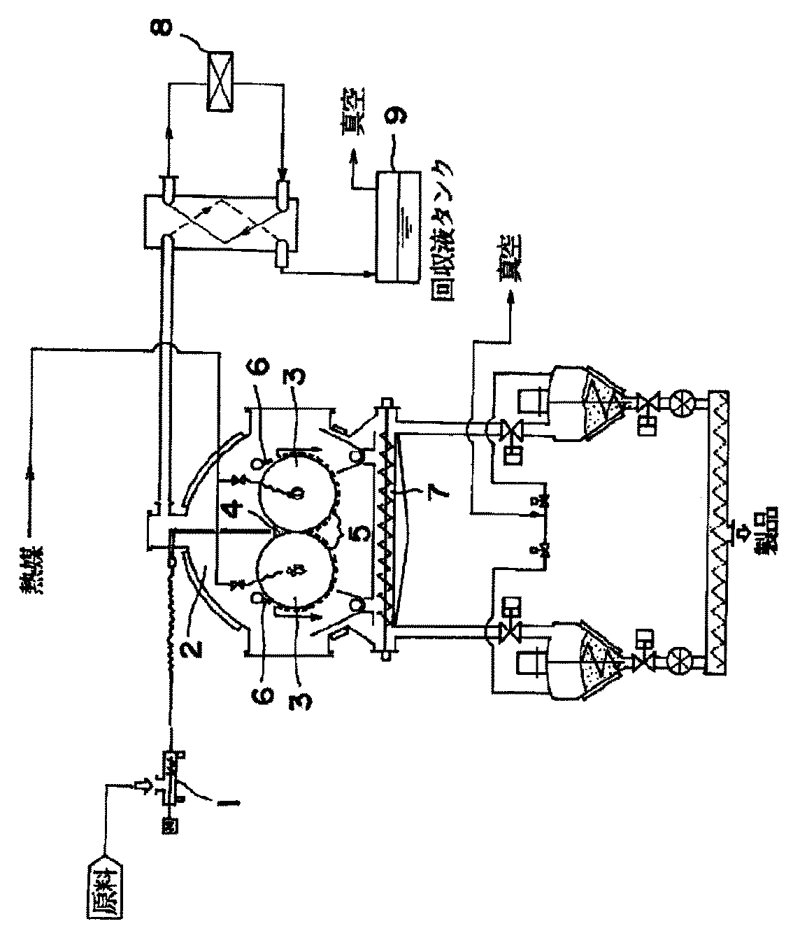
本発明における真空ドラムドライヤーとしては、減圧(真空状態も含む)かつ低温下にて液状又はスラリー状食品を短時間に乾燥することができる装置、即ち減圧が可能なチャンバーの中に設置されたドラム上で被乾燥物を乾燥できる装置であれば好ましく用いることができる。このような装置としては、例えば特開平7−8258号公報記載の図1で示される真空ダブルドラムドライヤーが挙げられる。
液状又はスラリー状食品の真空ドラムドライヤーへの供給は、通常連続的に供給されるのがよい。
上記真空ドラムドライヤーで乾燥された乾燥食品のかき取りは、例えばスクレーパー、クレーバー、チョッパー等がドラム表面に対してフラットに接することにより行われ得る。
また動植物エキスには、例えば、鳥獣の肉もしくは豚骨又は両者の混合物、あるいは魚介類に玉葱、にんにく、にんじん、セロリ、パセリ又は分葱等の野菜を加え、必要に応じて醤油、味噌、食塩、コショウ、ローレル、クローブ又はタイム等の調味料・香辛料を適宜加えたものを水に浸し、加熱調理することにより、各々の原料の水溶性成分を水中に溶出させた水溶液、例えばブイヨン等も含まれる。
豚骨から定法に従い抽出された固形分60%のポークエキス400gにデキストリン(三和澱粉工業(株)製、サンデック♯70)260g及び界面活性剤(理研ビタミン(株)製ポエムDO−100V(ジグリセリンモノオレート))0.2gに水100gを加え、混合攪拌し、真空ドラムドライヤー(カツラギ工業(株)製、実験機VD−0303)で乾燥させた。乾燥条件及び評価結果を表1に示した。
濃口醤油(市販品 固形分30%)1000gに、デキストリン(三和澱粉工業(株)製、サンデック♯70)420gおよび界面活性剤(理研ビタミン(株)製ポエムDO−100V(ジグリセリンモノオレート))0.165gを加え混合攪拌し、真空ドラムドライヤー(カツラギ工業(株)製、実験機VD−0303)で乾燥させた。乾燥条件及び評価結果を表1に示した。
界面活性剤を加えなかった以外は、実施例1と全く同様に行った。乾燥条件及び評価結果を表1に示した。
評価基準:
(1)乾燥状況
◎ 良好
○ 乾燥可能
△ やや難あり
× 乾燥不可
(2)突沸・発泡状況
◎ 全くなし
○ ほとんどなし
△ ややあり
× 多い
(3)フィルム付着状況
◎ 均一
○ やや均一
△ やや不均一
× 不均一
(4)溶解性
乾燥物各0.1gを50℃、100mlの水に入れ10秒間軽く攪拌して溶解性をみた。
◎ 均一に溶解
× ままこ状になる
(5)吸湿性
乾燥物各5gをシャーレーの上におき、実験室に6時間放置したあとの外観をみた。
◎ 吸湿なくサラサラしている
× 表面が湿り気を帯びている
(6)溶解性及び吸湿性を評価したサンプルは、乾燥物を真空ドラムドライヤーで乾燥後、超遠心粉砕機で粉砕し、目開き850μmの篩を通過したものを用いた。
2 真空容器
3 ダブルドラムドライヤー
4 被乾燥物
5 薄膜フィルム状被乾燥物
6 スクレーパー
7 スクリュウフィーダー
8 冷凍機
9 回収液タンク
Claims (7)
- 液状あるいはスラリー状食品をグリセリン脂肪酸エステル、ショ糖脂肪酸エステル、ソルビタン脂肪酸エステル、ポリオキシエチレンソルビタン脂肪酸エステル、プロピレングリコール脂肪酸エステル及びレシチンから選択される1又は2種以上の界面活性剤の存在下にて真空ドラムドライヤーにより突沸現象を抑えながら50〜100℃で乾燥し、該界面活性剤の添加量が液状あるいはスラリー状食品の固形分100部に対し0.01〜1部であることを特徴とする乾燥食品の製造方法。
- 液状あるいはスラリー状食品を、澱粉加水分解物及びグリセリン脂肪酸エステル、ショ糖脂肪酸エステル、ソルビタン脂肪酸エステル、ポリオキシエチレンソルビタン脂肪酸エステル、プロピレングリコール脂肪酸エステル及びレシチンから選択される1又は2種以上の界面活性剤の存在下にて真空ドラムドライヤーにより突沸現象を抑えながら乾燥し、該界面活性剤の添加量が液状あるいはスラリー状食品の固形分100部に対し0.01〜1部であることを特徴とする乾燥食品の製造方法。
- 界面活性剤が、ジグリセリンモノオレートであることを特徴とする請求項1又は2に記載の製造方法。
- 澱粉加水分解物が、デキストリンであることを特徴とする請求項2又は3に記載の製造方法。
- 液状あるいはスラリー状食品が、動植物エキス又は調味料である請求項1又は2に記載の製造方法。
- 液状あるいはスラリー状動植物エキスを、前記動植物エキスの固形分100部に対し、デキストリン80〜150部及びジグリセリンモノオレート0.02〜0.1部の存在下にて真空ドラムドライヤーにより突沸現象を抑えながら乾燥することを特徴とする乾燥動植物エキスの製造方法。
- 液状あるいはスラリー状調味料を、前記調味料の固形分100部に対し、デキストリン80〜150部及びジグリセリンモノオレート0.02〜0.1部の存在下にて真空ドラムドライヤーにより突沸現象を抑えながら乾燥することを特徴とする乾燥調味料の製造方法。
Priority Applications (1)
| Application Number | Priority Date | Filing Date | Title |
|---|---|---|---|
| JP2004295909A JP4608279B2 (ja) | 2004-10-08 | 2004-10-08 | 液状あるいはスラリー状食品の乾燥方法 |
Applications Claiming Priority (1)
| Application Number | Priority Date | Filing Date | Title |
|---|---|---|---|
| JP2004295909A JP4608279B2 (ja) | 2004-10-08 | 2004-10-08 | 液状あるいはスラリー状食品の乾燥方法 |
Publications (2)
| Publication Number | Publication Date |
|---|---|
| JP2006101823A JP2006101823A (ja) | 2006-04-20 |
| JP4608279B2 true JP4608279B2 (ja) | 2011-01-12 |
Family
ID=36372229
Family Applications (1)
| Application Number | Title | Priority Date | Filing Date |
|---|---|---|---|
| JP2004295909A Expired - Lifetime JP4608279B2 (ja) | 2004-10-08 | 2004-10-08 | 液状あるいはスラリー状食品の乾燥方法 |
Country Status (1)
| Country | Link |
|---|---|
| JP (1) | JP4608279B2 (ja) |
Families Citing this family (3)
| Publication number | Priority date | Publication date | Assignee | Title |
|---|---|---|---|---|
| JP5909885B2 (ja) * | 2010-06-16 | 2016-04-27 | 味の素株式会社 | 食品原料の乾燥品の製造方法 |
| JP6674832B2 (ja) * | 2016-04-18 | 2020-04-01 | キッコーマン株式会社 | 粉末醤油、調味料組成物、及び粉末醤油の製造方法 |
| JP7677589B2 (ja) * | 2021-02-26 | 2025-05-15 | 三菱商事ライフサイエンス株式会社 | ドラムドライヤの給液システム |
Family Cites Families (4)
| Publication number | Priority date | Publication date | Assignee | Title |
|---|---|---|---|---|
| JPS5976538A (ja) * | 1982-10-25 | 1984-05-01 | Nichiden Kagaku Kk | 液状物質粉末化用基材 |
| JPH08154628A (ja) * | 1994-12-08 | 1996-06-18 | Kunoole Shokuhin Kk | チキンエキス又はチキンブイヨンの乾燥品の製造方法 |
| JP3843674B2 (ja) * | 1999-11-22 | 2006-11-08 | 味の素株式会社 | 乾燥エキスの製造法、エキス乾燥品及びその利用 |
| JP2004024183A (ja) * | 2002-06-28 | 2004-01-29 | House Foods Corp | 乾燥味噌の製造方法 |
-
2004
- 2004-10-08 JP JP2004295909A patent/JP4608279B2/ja not_active Expired - Lifetime
Also Published As
| Publication number | Publication date |
|---|---|
| JP2006101823A (ja) | 2006-04-20 |
Similar Documents
| Publication | Publication Date | Title |
|---|---|---|
| CN103260436A (zh) | 浓缩调味底料产品 | |
| JP4828675B2 (ja) | 即溶性を有するフリーズドライ食品 | |
| EP3416499B1 (en) | A process for preparing a dehydrated food composition | |
| PT722671E (pt) | Po de materia alimentar | |
| JP5100499B2 (ja) | 凍結真空乾燥カレー | |
| JP4608279B2 (ja) | 液状あるいはスラリー状食品の乾燥方法 | |
| FI96088B (fi) | Jäähdytysapuaine jauhelihaan perustuviin ruoka-aineisiin | |
| EP2723192B1 (en) | Method of preparing dehydrated sauteed vegetable pieces | |
| JP2011036172A (ja) | ふりかけの製造方法 | |
| JPH07213250A (ja) | 顆粒状調味料の製造法 | |
| EP0411178B1 (fr) | Procédé de préparation d'un produit cuit à conservation prolongée à base de protéine animale | |
| JP3843674B2 (ja) | 乾燥エキスの製造法、エキス乾燥品及びその利用 | |
| JP2002171934A (ja) | タマネギの薄皮(表皮)を原材料とする健康補助食品の製造方法。 | |
| JP7037684B1 (ja) | 粉末醤油及びその製造方法 | |
| JP2015123001A (ja) | 粉末食品の固結防止方法および粉末食品 | |
| US11849744B2 (en) | Manufacturing method for powdered fermented paste | |
| JP7138000B2 (ja) | 野菜類の軟化抑制剤 | |
| JP3663909B2 (ja) | 乾燥エキスの製造方法、乾燥製品及びその利用 | |
| JPH08154628A (ja) | チキンエキス又はチキンブイヨンの乾燥品の製造方法 | |
| JP2006141287A (ja) | 分散性に優れ、かつ、風味が良好なコーンパウダー及びその製造方法 | |
| JP6899027B1 (ja) | 可溶化物の製造方法 | |
| CN113163826A (zh) | 洋葱风味组合物及其制备方法 | |
| JP4571896B2 (ja) | 乾燥食品の製造方法 | |
| JPH0420265A (ja) | 成形乾燥かき卵製品の製造方法 | |
| JP5829825B2 (ja) | ポテト風味強化剤の製造方法 |
Legal Events
| Date | Code | Title | Description |
|---|---|---|---|
| A621 | Written request for application examination |
Free format text: JAPANESE INTERMEDIATE CODE: A621 Effective date: 20060705 |
|
| A977 | Report on retrieval |
Free format text: JAPANESE INTERMEDIATE CODE: A971007 Effective date: 20080630 |
|
| A131 | Notification of reasons for refusal |
Free format text: JAPANESE INTERMEDIATE CODE: A131 Effective date: 20090414 |
|
| A521 | Request for written amendment filed |
Free format text: JAPANESE INTERMEDIATE CODE: A523 Effective date: 20090609 |
|
| A131 | Notification of reasons for refusal |
Free format text: JAPANESE INTERMEDIATE CODE: A131 Effective date: 20100706 |
|
| A521 | Request for written amendment filed |
Free format text: JAPANESE INTERMEDIATE CODE: A523 Effective date: 20100820 |
|
| A131 | Notification of reasons for refusal |
Free format text: JAPANESE INTERMEDIATE CODE: A131 Effective date: 20100907 |
|
| A521 | Request for written amendment filed |
Free format text: JAPANESE INTERMEDIATE CODE: A523 Effective date: 20100908 |
|
| TRDD | Decision of grant or rejection written | ||
| A01 | Written decision to grant a patent or to grant a registration (utility model) |
Free format text: JAPANESE INTERMEDIATE CODE: A01 Effective date: 20101005 |
|
| A01 | Written decision to grant a patent or to grant a registration (utility model) |
Free format text: JAPANESE INTERMEDIATE CODE: A01 |
|
| A61 | First payment of annual fees (during grant procedure) |
Free format text: JAPANESE INTERMEDIATE CODE: A61 Effective date: 20101008 |
|
| R150 | Certificate of patent or registration of utility model |
Ref document number: 4608279 Country of ref document: JP Free format text: JAPANESE INTERMEDIATE CODE: R150 Free format text: JAPANESE INTERMEDIATE CODE: R150 |
|
| FPAY | Renewal fee payment (event date is renewal date of database) |
Free format text: PAYMENT UNTIL: 20131015 Year of fee payment: 3 |
|
| R250 | Receipt of annual fees |
Free format text: JAPANESE INTERMEDIATE CODE: R250 |
|
| R250 | Receipt of annual fees |
Free format text: JAPANESE INTERMEDIATE CODE: R250 |
|
| R250 | Receipt of annual fees |
Free format text: JAPANESE INTERMEDIATE CODE: R250 |
|
| R250 | Receipt of annual fees |
Free format text: JAPANESE INTERMEDIATE CODE: R250 |
|
| R250 | Receipt of annual fees |
Free format text: JAPANESE INTERMEDIATE CODE: R250 |
|
| S531 | Written request for registration of change of domicile |
Free format text: JAPANESE INTERMEDIATE CODE: R313532 |
|
| R350 | Written notification of registration of transfer |
Free format text: JAPANESE INTERMEDIATE CODE: R350 |
|
| R250 | Receipt of annual fees |
Free format text: JAPANESE INTERMEDIATE CODE: R250 |
|
| R250 | Receipt of annual fees |
Free format text: JAPANESE INTERMEDIATE CODE: R250 |
|
| R250 | Receipt of annual fees |
Free format text: JAPANESE INTERMEDIATE CODE: R250 |
|
| R250 | Receipt of annual fees |
Free format text: JAPANESE INTERMEDIATE CODE: R250 |
|
| R250 | Receipt of annual fees |
Free format text: JAPANESE INTERMEDIATE CODE: R250 |
|
| R250 | Receipt of annual fees |
Free format text: JAPANESE INTERMEDIATE CODE: R250 |
|
| EXPY | Cancellation because of completion of term |
