JP4591925B2 - 人工股関節の製造方法 - Google Patents
人工股関節の製造方法 Download PDFInfo
- Publication number
- JP4591925B2 JP4591925B2 JP2005073496A JP2005073496A JP4591925B2 JP 4591925 B2 JP4591925 B2 JP 4591925B2 JP 2005073496 A JP2005073496 A JP 2005073496A JP 2005073496 A JP2005073496 A JP 2005073496A JP 4591925 B2 JP4591925 B2 JP 4591925B2
- Authority
- JP
- Japan
- Prior art keywords
- hip joint
- stem portion
- artificial hip
- titanium
- manufacturing
- Prior art date
- Legal status (The legal status is an assumption and is not a legal conclusion. Google has not performed a legal analysis and makes no representation as to the accuracy of the status listed.)
- Expired - Fee Related
Links
Images
Classifications
-
- A—HUMAN NECESSITIES
- A61—MEDICAL OR VETERINARY SCIENCE; HYGIENE
- A61F—FILTERS IMPLANTABLE INTO BLOOD VESSELS; PROSTHESES; DEVICES PROVIDING PATENCY TO, OR PREVENTING COLLAPSING OF, TUBULAR STRUCTURES OF THE BODY, e.g. STENTS; ORTHOPAEDIC, NURSING OR CONTRACEPTIVE DEVICES; FOMENTATION; TREATMENT OR PROTECTION OF EYES OR EARS; BANDAGES, DRESSINGS OR ABSORBENT PADS; FIRST-AID KITS
- A61F2/00—Filters implantable into blood vessels; Prostheses, i.e. artificial substitutes or replacements for parts of the body; Appliances for connecting them with the body; Devices providing patency to, or preventing collapsing of, tubular structures of the body, e.g. stents
- A61F2/02—Prostheses implantable into the body
- A61F2/30—Joints
- A61F2/32—Joints for the hip
- A61F2/36—Femoral heads ; Femoral endoprostheses
-
- A—HUMAN NECESSITIES
- A61—MEDICAL OR VETERINARY SCIENCE; HYGIENE
- A61F—FILTERS IMPLANTABLE INTO BLOOD VESSELS; PROSTHESES; DEVICES PROVIDING PATENCY TO, OR PREVENTING COLLAPSING OF, TUBULAR STRUCTURES OF THE BODY, e.g. STENTS; ORTHOPAEDIC, NURSING OR CONTRACEPTIVE DEVICES; FOMENTATION; TREATMENT OR PROTECTION OF EYES OR EARS; BANDAGES, DRESSINGS OR ABSORBENT PADS; FIRST-AID KITS
- A61F2/00—Filters implantable into blood vessels; Prostheses, i.e. artificial substitutes or replacements for parts of the body; Appliances for connecting them with the body; Devices providing patency to, or preventing collapsing of, tubular structures of the body, e.g. stents
- A61F2/02—Prostheses implantable into the body
- A61F2/30—Joints
- A61F2002/30001—Additional features of subject-matter classified in A61F2/28, A61F2/30 and subgroups thereof
Landscapes
- Health & Medical Sciences (AREA)
- Orthopedic Medicine & Surgery (AREA)
- Cardiology (AREA)
- Oral & Maxillofacial Surgery (AREA)
- Transplantation (AREA)
- Engineering & Computer Science (AREA)
- Biomedical Technology (AREA)
- Heart & Thoracic Surgery (AREA)
- Vascular Medicine (AREA)
- Life Sciences & Earth Sciences (AREA)
- Animal Behavior & Ethology (AREA)
- General Health & Medical Sciences (AREA)
- Public Health (AREA)
- Veterinary Medicine (AREA)
- Prostheses (AREA)
- Pressure Welding/Diffusion-Bonding (AREA)
Description
上記人工関節は、人工関節本体をチタンまたはチタン合金により成形し、多孔質金属パッドをCo−Cr合金またはステンレススチール合金により成形し、人工関節本体と多孔質金属パッドをレーザー光線による接合手段により接合することで構成される(例えば、特許文献1)。
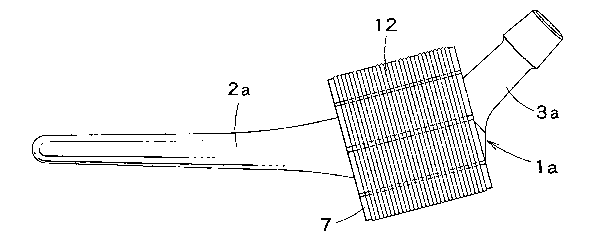
図1は、本発明による人工股関節の製造方法により作られた人工股関節の斜視図である。
準備段階として、人工股関節本体1aをチタン材料またはチタン合金材料により成形する。加圧治具7をSUS304ステンレス鋼、鉄又はニッケルにより成形する。線材12をモリブデンまたはタングステンで形成する。
2a ステム部
6 メッシュ層
7 加圧治具
12 線材
Claims (4)
- チタン材料またはチタン合金材料から成形されたネック部と卵形断面形状を有するステム部とを有する人工股関節本体を設け、
チタン材料またはチタン合金材料より熱膨張係数が大きい金属材料から成形された複数のセグメントを有し、前記ステム部の前記卵形断面形状に対応する形状の内部空間を内部に形成する円筒体の形状を有する加圧治具を設け、
人工股関節本体のステム部の前記ネック部に近い部位の表面に前記ステム部の長手方向に略直交する方向に環状溝を形成し、この環状溝にチタン材料またはチタン合金材料のメッシュ層を積層し、
加圧治具をステム部の前記環状溝に積層されたメッシュ層を囲むように配置し、
チタン材料またはチタン合金材料より熱膨張係数が小さい金属材料で形成した線材を加圧治具の外面に前記円筒体の軸線方向に略直交する方向である周方向に巻き付け、
これら全体を真空中あるいは不活性ガスの雰囲気中で加熱処理し、
加圧治具の前記周方向に略直交する方向である半径方向内方を向く加圧力によりメッシュ層をステム部の前記環状溝に拡散接合し、
前記加圧治具は、前記周方向に渡って均等的に前記加圧力が加えられるようにするために前記内部空間を前記ステム部の外面形状に対応した前記円筒体を前記軸線方向に沿って分割された複数のセグメントに分割し、各セグメントに連結部を有するスリットを前記半径方向に延びるように設けたものである
ことを特徴とする人工股関節の製造方法。 - メッシュ層は、ステム部の外面に設けた前記環状溝にステム部の外面と同一面になるように積層されることを特徴とする請求項1に記載の人工股関節の製造方法。
- 加圧治具は、SUS304ステンレス鋼材により成形され、線材は、モリブデン材で形成されることを特徴とする請求項1ないし2のいずれか1項に記載の人工股関節の製造方法。
- 加熱処理条件は、処理温度が800℃で処理時間が15分であることを特徴とする請求項1ないし3のいずれか1項に記載の人工股関節の製造方法。
Priority Applications (1)
| Application Number | Priority Date | Filing Date | Title |
|---|---|---|---|
| JP2005073496A JP4591925B2 (ja) | 2005-03-15 | 2005-03-15 | 人工股関節の製造方法 |
Applications Claiming Priority (1)
| Application Number | Priority Date | Filing Date | Title |
|---|---|---|---|
| JP2005073496A JP4591925B2 (ja) | 2005-03-15 | 2005-03-15 | 人工股関節の製造方法 |
Publications (2)
| Publication Number | Publication Date |
|---|---|
| JP2006254994A JP2006254994A (ja) | 2006-09-28 |
| JP4591925B2 true JP4591925B2 (ja) | 2010-12-01 |
Family
ID=37094838
Family Applications (1)
| Application Number | Title | Priority Date | Filing Date |
|---|---|---|---|
| JP2005073496A Expired - Fee Related JP4591925B2 (ja) | 2005-03-15 | 2005-03-15 | 人工股関節の製造方法 |
Country Status (1)
| Country | Link |
|---|---|
| JP (1) | JP4591925B2 (ja) |
Families Citing this family (2)
| Publication number | Priority date | Publication date | Assignee | Title |
|---|---|---|---|---|
| JP5138295B2 (ja) * | 2007-07-10 | 2013-02-06 | 瑞穂医科工業株式会社 | 人工膝関節および人工股関節 |
| CN115645119B (zh) * | 2022-12-12 | 2023-03-28 | 兰州西脉记忆合金股份有限公司 | 一种髋关节假体记忆合金股骨柄组件系统 |
Family Cites Families (6)
| Publication number | Priority date | Publication date | Assignee | Title |
|---|---|---|---|---|
| JPS61165285A (ja) * | 1985-01-17 | 1986-07-25 | Tanaka Kikinzoku Kogyo Kk | Ti系クラツド材の製造方法 |
| US4636219A (en) * | 1985-12-05 | 1987-01-13 | Techmedica, Inc. | Prosthesis device fabrication |
| US5108432A (en) * | 1990-06-24 | 1992-04-28 | Pfizer Hospital Products Group, Inc. | Porous fixation surface |
| JPH06142947A (ja) * | 1992-11-05 | 1994-05-24 | Seiko Instr Inc | 接合方法 |
| JP2004181518A (ja) * | 2002-12-06 | 2004-07-02 | Calsonic Kansei Corp | 拡散接合用治具及びこれを用いた拡散接合方法 |
| JP2005040250A (ja) * | 2003-07-25 | 2005-02-17 | Mizuho Co Ltd | 整形外科用インプラント |
-
2005
- 2005-03-15 JP JP2005073496A patent/JP4591925B2/ja not_active Expired - Fee Related
Also Published As
| Publication number | Publication date |
|---|---|
| JP2006254994A (ja) | 2006-09-28 |
Similar Documents
| Publication | Publication Date | Title |
|---|---|---|
| JP4271960B2 (ja) | 多孔性金属パッドにポリマを含浸させるための方法及び成形外科インプラントを形成する方法 | |
| JP4827965B2 (ja) | 屈曲可能なチューブ状プロテーゼ | |
| US5480449A (en) | Composite prosthesis and method of manufacture | |
| CN110785147A (zh) | 瓣环成形术植入物 | |
| CN101677861B (zh) | 具有钴支承面的多孔金属杯 | |
| JP2010504118A5 (ja) | ||
| JP2002536057A (ja) | ステントの部分的封入 | |
| CN108509750B (zh) | 一种环形结构件扩散连接夹具的设计方法 | |
| JP6444974B2 (ja) | チューブ状医療用インプラント、およびその製造方法 | |
| CN101336115B (zh) | 医疗器械以及医疗器械的表面改性方法 | |
| EP2087951B1 (en) | Segmented mandrel for high temperature bonding of metallic axisymmetric shells having complex curvatures | |
| JP4591925B2 (ja) | 人工股関節の製造方法 | |
| JP5138295B2 (ja) | 人工膝関節および人工股関節 | |
| JP2013099771A (ja) | 複合部材の製造方法、複合部材及び複合部材の製造装置 | |
| JP7430081B2 (ja) | 筒部材の製造方法 | |
| JP4393936B2 (ja) | 人工関節 | |
| JP2004243380A (ja) | 超硬合金製圧延用複合ロール | |
| JP7641382B2 (ja) | ステントグラフトおよびステントグラフトの製造方法 | |
| JP6875805B2 (ja) | シャフト付き基板支持部材及びその製造方法 | |
| JP6689473B2 (ja) | 人工関節の製造方法 | |
| JP6209012B2 (ja) | フランジ付骨埋入部材およびその組立方法 | |
| US11446150B1 (en) | Methods and apparatuses for attachment of porous coatings to implants and products thereof | |
| JP4288633B2 (ja) | 超硬合金製複合ロール | |
| JPH0628939B2 (ja) | セラミックス・金属結合体 | |
| EP4364698B1 (en) | Pelvic implantation device |
Legal Events
| Date | Code | Title | Description |
|---|---|---|---|
| A621 | Written request for application examination |
Free format text: JAPANESE INTERMEDIATE CODE: A621 Effective date: 20071109 |
|
| A977 | Report on retrieval |
Free format text: JAPANESE INTERMEDIATE CODE: A971007 Effective date: 20100514 |
|
| A131 | Notification of reasons for refusal |
Free format text: JAPANESE INTERMEDIATE CODE: A131 Effective date: 20100518 |
|
| A521 | Request for written amendment filed |
Free format text: JAPANESE INTERMEDIATE CODE: A523 Effective date: 20100716 |
|
| TRDD | Decision of grant or rejection written | ||
| A01 | Written decision to grant a patent or to grant a registration (utility model) |
Free format text: JAPANESE INTERMEDIATE CODE: A01 Effective date: 20100813 |
|
| A01 | Written decision to grant a patent or to grant a registration (utility model) |
Free format text: JAPANESE INTERMEDIATE CODE: A01 |
|
| A61 | First payment of annual fees (during grant procedure) |
Free format text: JAPANESE INTERMEDIATE CODE: A61 Effective date: 20100908 |
|
| FPAY | Renewal fee payment (event date is renewal date of database) |
Free format text: PAYMENT UNTIL: 20130924 Year of fee payment: 3 |
|
| R150 | Certificate of patent or registration of utility model |
Ref document number: 4591925 Country of ref document: JP Free format text: JAPANESE INTERMEDIATE CODE: R150 Free format text: JAPANESE INTERMEDIATE CODE: R150 |
|
| R250 | Receipt of annual fees |
Free format text: JAPANESE INTERMEDIATE CODE: R250 |
|
| R250 | Receipt of annual fees |
Free format text: JAPANESE INTERMEDIATE CODE: R250 |
|
| R250 | Receipt of annual fees |
Free format text: JAPANESE INTERMEDIATE CODE: R250 |
|
| R250 | Receipt of annual fees |
Free format text: JAPANESE INTERMEDIATE CODE: R250 |
|
| R250 | Receipt of annual fees |
Free format text: JAPANESE INTERMEDIATE CODE: R250 |
|
| R250 | Receipt of annual fees |
Free format text: JAPANESE INTERMEDIATE CODE: R250 |
|
| LAPS | Cancellation because of no payment of annual fees |
