JP4587724B2 - Fpc用コネクタ - Google Patents

Fpc用コネクタ Download PDF

Info

Publication number
JP4587724B2
JP4587724B2 JP2004214529A JP2004214529A JP4587724B2 JP 4587724 B2 JP4587724 B2 JP 4587724B2 JP 2004214529 A JP2004214529 A JP 2004214529A JP 2004214529 A JP2004214529 A JP 2004214529A JP 4587724 B2 JP4587724 B2 JP 4587724B2
Authority
JP
Japan
Prior art keywords
pin
fpc
actuator
contact beam
terminal
Prior art date
Legal status (The legal status is an assumption and is not a legal conclusion. Google has not performed a legal analysis and makes no representation as to the accuracy of the status listed.)
Expired - Fee Related
Application number
JP2004214529A
Other languages
English (en)
Other versions
JP2005142144A (ja
Inventor
秀樹 飯島
義輝 野川
Current Assignee (The listed assignees may be inaccurate. Google has not performed a legal analysis and makes no representation or warranty as to the accuracy of the list.)
Molex LLC
Original Assignee
Molex LLC
Priority date (The priority date is an assumption and is not a legal conclusion. Google has not performed a legal analysis and makes no representation as to the accuracy of the date listed.)
Filing date
Publication date
Application filed by Molex LLC filed Critical Molex LLC
Priority to JP2004214529A priority Critical patent/JP4587724B2/ja
Publication of JP2005142144A publication Critical patent/JP2005142144A/ja
Application granted granted Critical
Publication of JP4587724B2 publication Critical patent/JP4587724B2/ja
Anticipated expiration legal-status Critical
Expired - Fee Related legal-status Critical Current

Links

Images

Landscapes

  • Details Of Connecting Devices For Male And Female Coupling (AREA)
  • Coupling Device And Connection With Printed Circuit (AREA)

Description

この発明は、FPC(Flexible Printed Circuit)、FFC(Flexible Flat Cable)などと一般に呼ばれている平型柔軟ケーブル(これらを代表してこの明細書では単に「FPC」と言う)を接続するためのFPC用コネクタに関する。
従来、このFPC用コネクタには幾多の提案が成されているが、それらは、一般に、絶縁ハウジングと、複数の端子と、アクチュエータとで構成されている。
より詳しく述べると、FPC受入空洞が形成されている絶縁ハウジングと、FPC受入空洞に接触ビームが配置されるようにして絶縁ハウジングに並列して装着されている複数の端子と、FPC受入空洞に挿入されたFPCと端子の接触ビームの間で所定の接触圧が形成されるように操作するアクチュエータとを備えている。
アクチュエータには、通常、端子の接触ビームに作用するカムが設けられていたが、FPCの引き回しによってアクチュエータが意に反して動いたり、コネクタとしての製品高さが高くなりがちであった。
そこで、図31に示すような端子300を用いて、アクチュエータ400がFPCの引き回しによって影響を受けないようにしたもの等が提案されるに至っている(特許文献1〜3参照)。
図31に示されているように、端子300は、固定片部301から連結片部302が立ち上がり、連結片部302の上端一側から絶縁ハウジング500のFPC受入空洞501に配置される接触ビーム303が延びている。そして、連結片部302の上端他側からは操作ビーム304が延び、この操作ビーム304をアクチュエータ400で操作することで連結片部302を弾性変形させ、結果として接触ビーム303がFPC受入空洞501に挿入されるFPC(図示されていない)に対して所定の接触圧で当接、係合するようにしている。
特開2002−190360号公報 (段落0021、0022、0025、0026、図4、6) 特開2003−45581号公報 (図3) 実開平3−103578号公報 (図3、4)
この発明も、薄型化が可能で、しかも、アクチュエータがFPCの引き回しによって動くことのない、新規なFPC用コネクタを提供することを目的としている。
この発明のFPC用コネクタは、FPC受入空洞が形成されている絶縁ハウジングと、
FPC受入空洞に接触ビームが配置されるようにして絶縁ハウジングに並列して装着されている複数の端子と、
FPC受入空洞に挿入されたFPCと端子の接触ビームの間で所定の接触圧が形成されるように操作するアクチュエータとを備えているFPC用コネクタにおいて、
前記複数の端子、アクチュエータで操作される操作片部の一側に半田テールが延び、他側に前記FPC受入空洞に配置される接触ビームが延びている第1の端子と、
FPC受入空洞に配置される接触ビームの一側に半田テールが延び、他側に絶縁ハウジングと係合して固定される固定片部が延びている第2の端子を含んでおり、
第1の端子の接触ビームと第2の端子の接触ビームがFPC受入空洞で所定の間隔で対向していると共に、第1の端子の操作片部と第2の端子の固定片部が端子の並列方向で交互に並んで、アクチュエータのカム受入空洞を形成し、
アクチュエータのカムがカム受入空洞に配置され、アクチュエータの操作により、前記カムの姿勢が変化し、第1の端子の操作片部、第2の端子の固定片部に対して移動できる自由状態と、第2の端子の固定片部に対して移動できない固定状態とに変化することを特徴とするFPC用コネクタである。
また、FPC受入空洞が形成されている絶縁ハウジングと、
FPC受入空洞に接触ビームが配置されるようにして絶縁ハウジングに並列して装着されている複数の端子と、
FPC受入空洞に挿入されたFPCと端子の接触ビームの間で所定の接触圧が形成されるように操作するアクチュエータとを備えているFPC用コネクタにおいて、
前記複数の端子は、前記アクチュエータで操作される操作片部の一側に半田テールが延び、他側に前記FPC受入空洞に配置される接触ビームが延びている第1の端子を含んでおり、
前記第1の端子の中間部を構成している操作片部が、アクチュエータの操作で固定状態と自由状態の間で状態変化ができるようにしてあることを特徴とするFPC用コネクタである。
また、FPC受入空洞が形成されている絶縁ハウジングと、
FPC受入空洞に接触ビームが配置されるようにして絶縁ハウジングに並列して装着されている複数の端子と、
FPC受入空洞に挿入されたFPCと端子の接触ビームの間で所定の接触圧が形成されるように操作するアクチュエータとを備えているFPC用コネクタにおいて、
前記複数の端子が、アクチュエータで操作される横U字状の操作片部の下部一側に半田テールが延び、下部他側にFPC受入空洞に配置される接触ビームが延びている第1の端子と、
横U字状の固定片部の上部一側に接触ビームが延びていると共に、固定片部の下部に、前記接触ビームの延びる方向に半田テールが延び、反対方向にカム受片部が延びている第2の端子とを含んでおり、
第1の端子の接触ビームと第2の端子の接触ビームがFPC受入空洞で所定の間隔で対向していると共に、第1の端子の操作片部と第2の端子のカム受片部が端子の並列方向で交互に並んでアクチュエータのカムを受け入れるカム受入空洞を形成し、
アクチュエータのカムがカム受入空洞に配置され、アクチュエータの操作により、前記カムの姿勢が変化し、第1の端子の操作片部、第2の端子の固定片部に対して移動できる自由状態と、第2の端子の固定片部に対して移動できない固定状態とに変化することを特徴とするFPC用コネクタである。
この発明によれば、アクチュエータは、端子の接触ビームに直接作用しないのでコネクタとしての製品高さを低くし、薄型化を図ることができる。そして、アクチュエータをFPCの引き回しで影響を受けない場所に配置できるので、アクチュエータの意に反する動きをなくし、接続の信頼性を高めることができる。またFPCは上面及び下面の両面に接点パッドを設けることができるので省スペース化を図ることができる。
以下、この発明の実施の形態を添付の図を参照して説明する。
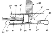
第1の実施形態のFPC用コネクタ10は、図3〜5に示すような外観をしている。図3、4の状態における断面図が図1に示され、図5の状態における断面図が図2に示されている。
このFPC用コネクタ10は、絶縁ハウジング20と、2種類の端子、即ち、第1の端子40及び第2の端子60と、アクチュエータ80とで構成されている。図1、2が、それぞれ2つの図を含んでいるのは、第1の端子40と第2の端子60のそれぞれに沿って示すためである。
絶縁ハウジング20は、絶縁性のプラスチックを成形したもので、扁平で細長い箱状をしており、前端21側にFPC受入空洞22が形成されて、前端21で開口している。頂壁23が前端21から中間部まで延びて、後端24側には頂壁23が存在していない。後端24側は、底壁25と互いに対向する両側壁26で囲まれて、外部に開いているアクチュエータ組み付け空間27を形成している。また、頂壁23の下面と底壁25の上面には、それぞれ、複数の端子装着溝28、29及び30、31が並列して形成されており、前端21側及び後端24側から、以下で説明する第1の端子40及び第2の端子60を装着できるようにされている。
第1の端子40及び第2の端子60は、それぞれ、薄金属板を打ち抜いて成形したもので、図6、7には第1の端子40が、そして、図8、9には第2の端子60が示されている。図示のような形状の第1の端子40と第2の端子60が、絶縁ハウジング20に交互に装着されている。
第1の端子40は、細長い操作片部41を中間に有し、この操作片部41の一側から半田テール42が操作片部41と同一面内で下方に向かって延び、操作片部41の他側からは横L字状の接触ビーム43が同じく操作片部41と同一面内で上方に向かって延びた形状をしている。操作片部41の中間部上縁には突片44が設けられて、接触ビーム43の基部と協働してU字状の凹部45を形成している。また、接触ビーム43の先端下縁にはコンタクト46が突出している。
この第1の端子40は、絶縁ハウジング20の後端24側から装着されている。操作片部41が底壁25に形成した端子装着溝28に収容されると共に、接触ビーム43が頂壁23に形成した端子装着溝29に収容されている。操作片部41の半田テール42に近い位置に、湾曲部47(図6)が形成されており、端子装着溝28の内壁と接するようになっており、装着された第1の端子40は、端子装着溝28の内壁との摩擦係合によって保持されている。かくして、半田テール42は、絶縁ハウジング20の後端24から外側に突出して、その下縁が底壁25の下面とほぼ面一となっている。また、接触ビーム43は、絶縁ハウジング20のFPC受入空洞22において、頂壁23の下面に沿って片持ち梁状となって配置されている。
一方、第2の端子60は、細長い接触ビーム61を中間に有しており、この接触ビーム61の一側に半田テール62が接触ビーム61と同一面内で延びている。また、接触ビーム61の他側には、オフセット部63を介して幅広の固定片部64が接触ビーム61と平行な面内で延びている。固定片部64は、オフセット部63とで横H字状となっており、U字状切欠部65が固定片部64の延びる方向に開いている。また、接触ビーム61の上縁中間部には、コンタクト66が突出している。
第2の端子60は、絶縁ハウジング20の前端21側から装着されている。接触ビーム61が底壁25に形成した端子装着溝30に収容されるとともに、固定片部64が、頂壁23に形成した端子装着溝31と底壁25に形成した端子装着溝32に収容され、固定片部64の上縁及び下縁がそれぞれの溝底に係合して固定状態となっている。接触ビーム61を収容した端子装着溝30は、前記第1の端子40の操作片部41を収容した端子装着溝28と同一の面内に形成されている。
第2の端子60の接触ビーム61にオフセット部63を介在させた結果、第1の端子40の接触ビーム43に設けたコンタクト46と、第2の端子60の接触ビーム61に設けたコンタクト66は、FPC受入空洞22において、所定の間隔を保って、同一の面内で上下に対向している。
また、第1の端子40の操作片部41と第2の端子60の固定片部64は、FPC受入空洞22の奥で絶縁ハウジング20の長手方向で交互に並んでいる。そして、第1の端子40の操作片部41の凹部45と、第2の端子60の固定片部64のU字状切欠部65が協働して、以下で説明するアクチュエータ80のカム83を受け入れるカム受入空洞70を形成している。カム受入空洞70は、絶縁ハウジング20の後端24に向かって開いており、そこに、第1の端子40の操作片部41に設けた突片44が突出している。
アクチュエータ80は、絶縁ハウジング20と同様の絶縁性のプラスチックを図10、11のように成形したもので、細長い板状となっている。前縁81の内側に、前縁81に沿って複数の窓孔82が板厚方向で貫通して設けられ、前縁81から窓孔82までの部分をカム83としている。窓孔82は、第2の端子60の固定片部64にU字状切欠部を形成した結果として上部に残り、アクチュエータ組み付け空間27に突出している係合突片67の位置に対応するように設けてある。また、更に、アクチュエータ組み付け空間27に突出している第1の端子40の操作片部41に設けた突片44の位置に対応するように、カム83に隣接させて逃げ凹部84も設けてある。
図12と13は、アクチュエータ80を組み付ける様子を示している。即ち、この実施形態のFPC用コネクタ10は、絶縁ハウジング20に、先ず、第1の端子40を装着した後、第2の端子60を図12のように途中の位置まで仮装着し、この段階で、アクチュエータ80を第1の端子40の操作片部41に形成されている凹部45にカム83が収容されるようにして組み付けるようにしている。アクチュエータ80を組み付けた後に、第2の端子60を図13のように完全に装着して固定すると、第2の端子60の係合突片67がアクチュエータ80の窓孔82に突入すると共に、第1の端子40の操作片部41と第2の端子60の固定片部64とで協働して形成されるカム受入空洞70の中にカム83が収容される。そして、収容されたカム83は、カム受入空洞70の開口部分に突出している突片44で脱出が阻止され、結局、組み付けられたアクチュエータ80が脱落するのを常時阻止できるようにしてある。第1の端子40の操作片部41に設けた突片44は、カム83の脱出を阻止する脱出阻止突片を構成している。
組み付けられたアクチュエータ80は、図1、3、4の起立している状態(第1状態)と、図2、5の伏せた状態(第2状態)の間で姿勢変化することができる。カム受入空洞70に収容されているカム83の断面形状は、この実施形態においては、各図に表れているように長円の形状をしている。アクチュエータ80が図1、3、4の第1状態になると、カム83は横長状態となって、カム受入空洞70で遊合状態となる(図1参照)。これに対して、アクチュエータ80が図2、5の第2状態となると、カム83は縦長状態となって、カム受入空洞70において、第2の端子60の係合突片67の下縁に係合すると共に、第1の端子40の操作片部41を絶縁ハウジング20の底壁25側に押し下げて、端子装着溝28の溝底に押し付けて操作片部41を固定するようになっている(図2参照)。
アクチュエータ80の姿勢に従って変化する第1の端子40の状態に着目する。即ち、アクチュエータ80が第1状態では、操作片部41は第2の端子60の固定片部64に対して上下方向で移動できる自由状態になる。このことは、半田テール42が取付基板(図示せず)に半田付けされて固定された状態においては、接触ビーム43が、固定された半田テール42を固定点として、接触ビーム43の長さに操作片部41の長さを加えた長さをばね長として弾性動作することが可能であることを意味する。
上記に対して、アクチュエータ80が第2状態では、操作片部41は固定片部64に対して移動できない固定状態に変化する。この固定状態になると、接触ビーム43の固定点は、操作片部41との連続部分に移動し、接触ビーム43のみの長さをばね長として接触ビーム43が弾性動作するようになる。
以上のように構成されているFPC用コネクタ10にFPC12を接続する様子を、図14〜18を参照して次に説明する。
接続は、図14、16に示されているように、アクチュエータ80を起立した第1状態とし、絶縁ハウジング20の前端21で開口しているFPC受入空洞22にFPC12を挿入するようにして行う。この時、第1の端子40の操作片部41は、半田テール42の部分を固定点とした自由状態にある。この自由状態における第1の端子40のコンタクト46と第2の端子60のコンタクト66の対向間隔は、第1の端子40と第2の端子60の設計によって決まるものであるが、この実施形態では、FPC12の厚さより若干狭い対向間隔としてある。したがって、FPC12をFPC受入空洞22に挿入して行くと、第1の端子40の接触ビーム43と操作片部41は弾性変形して持ち上げられる。FPC12を図16のように完全に挿入すると、接触ビーム43と操作片部41の弾性変形の反力によって、FPC12を挿入状態で仮保持することができる。
第1の端子40の接触ビーム43と操作片部41の弾性変形による持ち上がり量と反力も、第1の端子40の設計によって決まる。したがって、FPC12の挿入力及び仮保持力を、FPC12の厚さを考慮して適度に設定することができる。また、第1の端子40のコンタクト46と第2の端子60のコンタクト66の対向間隔をFPC12の厚さよりも広く設定して、挿入力を必要としないゼロ挿入力(ZIF)コネクタとすることもできる。
FPC12を挿入した後、アクチュエータ80を、図17のような中間姿勢を経て、図15、18に示されている、伏せた第2状態とすることで接続を完了することができる。このアクチュエータ80の第2状態では、第1の端子40の操作片部41は固定状態となることから、接触ビーム43はその基部が固定点に変化し、ばね長が短くなる。したがって、コンタクト46はFPC12に、より強く押し付けられるようになり、コンタクト46とFPC12の上面に設けられた接点パッド、並びに、第2の端子60のコンタクト66とFPC12の下面に設けられた接点パッドを、電気的接続に適切な接触圧で当接、係合させることができる。
FPC12は、上面及び下面の両面に接点パッドを設けることができるので、省スペース化を図ることができる。もっとも、FPC12の上面のみに接点パッドを設けた場合、あるいは下面のみに接点パッドを設けた場合でも接続が可能である。
以上のように、このFPC用コネクタ10では、第1の端子40の接触ビーム43をFPC12の接点パッドに加圧係合させるためには、アクチュエータ80の操作でばね長を変化(短縮)させるようにして、アクチュエータ80及びカム83が接触ビーム43に直接作用しない構成としたので、FPC用コネクタ10の高さ方向の寸法の増大を避けることができ、コネクタの低背化に寄与することができる。
また、アクチュエータ80は、FPC12が挿入される前端21と反対の、FPC12が配置されない後端24側に組み付けられる構成であるので、接続されたFPC12の引き回しによる外力をアクチュエータ80が受けないようにできる。したがって、接続の信頼性を向上することができる。
図19、20は、アクチュエータ80のカムを変形した第2の実施形態である。この第2の実施形態では、断面がほぼ半円状のカム85となっている。他の部分は第1の実施形態と同様であるので、同一部材には同一の符号を付して、説明は省略する。このように、カム83、85の形状は、第1の端子40の操作片部41及び第2の端子60の固定片部64の形状と共に決まる設計的事項である。アクチュエータ80の姿勢変化によって、第1の端子40の操作片部41が自由状態と固定状態に変化し、接触ビーム43のばね長が長短の間で変化するようにすればよいものである。
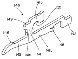
次に第3の実施形態を図21〜図30を参照して説明する。この第3の実施形態のFPC用コネクタ110は、第1の端子140と第2の端子160の形状が、図24、25に示したように、第1、第2の実施形態のものとは異なっている。また、端子140、160の形状の変化に従ってアクチュエータ180のカム183の部分が変更されている。
第3の実施形態のFPC用コネクタ110も、アクチュエータ180は、図21、25、26の第1状態と、図22、23、27、30の第2状態の間で、図29の中間姿勢を挟んで姿勢変化できるようになっている。
絶縁ハウジング120は、第1、第2の実施形態のものとほぼ同様で、頂壁123、底壁125、側壁126を有し、前端121で開口するFPC受入空洞122が設けられている。第1の端子140を後端124側から、そして第2の端子160を前端121側から、交互に装着できるように端子装着溝も設けられている。
第1の端子140は、アクチュエータ180で操作される操作片部141が横U字状にされている。操作片部141は、上側横辺141a、下側横辺141bと、これらの横辺を連結する縦辺141cからなる。操作片部141の下側横辺141bと縦辺141cが連結している部分から接触ビーム143が延びている。接触ビーム143の先端部上縁にはコンタクト146が突出させてある。また、操作片部141の下側横辺141bは上側横辺141aに比べて長くされており、そしてその先端部に打ち出し突部148が形成されて、絶縁ハウジング120側の端子装着溝の溝壁に摩擦係合できるようにされている。更に、下側横辺141bの先端から半田テール142が延びている。
第1の端子140は、更に、操作片部141の上側横辺141aと縦辺141cの連結している部分に、前記接触ビーム143の延びる方向に短い突片149が設けられている。また、上側横辺141aの下縁(内側縁)に、半円状凹部150が設けられている。
第2の端子160は、絶縁ハウジング120に装着、固定される固定片部164が横U字状にされている。上下で対向している上側横辺164a、下側横辺164bと、これらの横辺を連結する縦辺164cからなる。そして、上側横辺164aの先端からオフセット部163を介して接触ビーム161が延びている。接触ビーム161の先端部下縁にコンタクト166が突出させてある。また、下側横辺164bは、接触ビーム161より前方に突出するように延長されて、先端部に半田テール162が形成されている。
第2の端子160は、更に、固定片部164の下側横辺164bと縦辺164cの連結部分から、カム受片部168を構成する幅広の突片が延びている。
図26、27に表れているように、第1の端子140が絶縁ハウジング120の後端124側から、そして第2の端子160が前端121側から、交互に装着されている。一対の接触ビーム143、161毎に、FPC受入空洞122で、同一面内で上下方向に対向している。第1の端子140の横U字状の操作片部141と第2の端子160のカム受片部168が端子の並列方向で交互に並んでカム受入空洞170を形成している。また、第1の端子140の操作片部141から突出させた突片149の上縁が、絶縁ハウジング120の頂壁123に形成した肩部133の内面(下面)と対向している。そして、第2の端子160に設けたカム受片部168の下縁が絶縁ハウジング120の底壁125の上面と対向している。
アクチュエータ180は、前縁181の厚さを、カム受入空洞170を形成した操作片部141の上側横辺141aとカム受片部168の対向部に嵌入できる厚さとしてカム183を構成している。そして、操作片部141の上側横辺141aに対応する窓孔182が溝186と、溝186に渡された円柱ピン187によって形成されている。この円柱ピン187が操作片部141の上側横辺141aに形成した半円状凹部150に常時係合するようにしてある。
以上のような第3の実施形態では、アクチュエータ180を図22、23、26、28の第1状態にすると、カム183はカム受片部168から離れる。このため、第1の端子140の操作片部141は、第2の端子160の固定片部164に対して図の上下方向で移動できる自由状態となる。第1の端子140の接触ビーム143は、それ自体の長さに操作片部141の下側横辺141bの長さを加えた長さがばね長となる。これに対して、アクチュエータ180を図21、27、30の第2状態にすると、カム193がカム受け片部168の上側に移動して、円柱ピン187が操作片部141の上側横辺141aを押し上げる。この結果、突片149が絶縁ハウジング120の頂壁123に形成した肩部133に押し付けられて、操作片部141を第2の端子160の固定片部164に対して移動できない固定状態にする。そして、この固定状態では、第1の端子140の接触ビーム143は、それ自体の長さのみがばね長となる。
したがって、この第3の実施形態のFPC用コネクタ110も、アクチュエータ180を第1状態として、図28のようにFPC112を低挿入力又はゼロ挿入力でFPC受入空洞122に挿入することができる。そして、アクチュエータ180を操作して図29の中間姿勢を経て第2状態に姿勢変化させて、FPC112と端子140、160を安定、確実な接続状態にすることができる。
第1の実施形態のFPC用コネクタの、アクチュエータが第1状態にあるときの断面図であり、(a)は第1の端子に沿って示した断面図、(b)は第2の端子に沿って示した断面図である。 第1の実施形態のFPC用コネクタの、アクチュエータが第2状態にあるときの断面図であり、(a)は第1の端子に沿って示した断面図、(b)は第2の端子に沿って示した断面図である。 アクチュエータが第1状態にあるときの、第1の実施形態のFPC用コネクタの、後方から見た斜視図である。 アクチュエータが第1状態にあるときの、第1の実施形態のFPC用コネクタの、前方から見た斜視図である。 アクチュエータが第2状態にあるときの、第1の実施形態のFPC用コネクタの、前方から見た斜視図である。 第1の実施形態における、第1の端子の斜視図である。 同じく、第1の端子の正面図である。 第1の実施形態における、第2の端子の斜視図である。 同じく、第2の端子の正面図である。 第1の実施形態における、アクチュエータの上方から見た斜視図である。 同じく、アクチュエータの下方から見た斜視図である。 アクチュエータを組み付ける様子を説明する図で、第2の端子が途中の位置まで仮装着された状態の断面図である。 第2の端子が完全に装着された状態の断面図である。 第1の実施形態のFPC用コネクタにFPCが挿入された状態の斜視図である。 同じく、挿入されたFPCの接続を完了した状態の斜視図である。 図14の断面図であり、(a)は第1の端子に沿って示した断面図、(b)は第2の端子に沿って示した断面図である。 アクチュエータが図14から図15の状態に姿勢変化する途中の断面図であり、(a)は第1の端子に沿って示した断面図、(b)は第2の端子に沿って示した断面図である。 図15の断面図であり、(a)は第1の端子に沿って示した断面図、(b)は第2の端子に沿って示した断面図である。 この発明の第2の実施形態のFPC用コネクタの、アクチュエータが第1状態のときの断面図である。 同じく、第2の実施形態アクチュエータが第2状態のときの断面図である。 この発明の第3の実施形態のFPC用コネクタの、アクチュエータが第2状態にあるときの後方から見た斜視図である。 同じく、第3の実施形態のFPC用コネクタの、アクチュエータが第1状態にあるときの後方から見た斜視図である。 同じく、第3の実施形態のFPC用コネクタの、アクチュエータが第1状態にあるときの前方から見た斜視図である。 第3の実施形態における、第1の端子の斜視図である。 第3の実施形態における、第2の端子の斜視図である。 第3の実施形態のFPC用コネクタの、アクチュエータが第1状態にあるときの断面図であり、(a)は第1の端子に沿って示した断面図、(b)は第2の端子に沿って示した断面図である。 第3の実施形態のFPC用コネクタの、アクチュエータが第2状態にあるときの断面図であり、(a)は第1の端子に沿って示した断面図、(b)は第2の端子に沿って示した断面図である。 アクチュエータが第1状態にある第3の実施形態のFPC用コネクタにFPCが挿入された状態の断面図であり、(a)は第1の端子に沿って示した断面図、(b)は第2の端子に沿って示した断面図である。 アクチュエータを第2状態に姿勢変化する途中の中間姿勢の断面図であり、(a)は第1の端子に沿って示した断面図、(b)は第2の端子に沿って示した断面図である。 アクチュエータを第2状態とした第3の実施形態のFPC用コネクタの断面図であり、(a)は第1の端子に沿って示した断面図、(b)は第2の端子に沿って示した断面図である。 従来公知のFPC用コネクタの断面図である。
符号の説明
10、110 FPC用コネクタ
12、112 FPC
20、120 絶縁ハウジング
21、121 前端
22、122 FPC受入空洞
23、123 頂壁
24、124 後端
25、125 底壁
26、126 側壁
27 アクチュエータ組み付け空間
28 端子装着溝
29 端子装着溝
30 端子装着溝
31 端子装着溝
32 端子装着溝
133 肩部
40、140 第1の端子
41、141 操作片部
141a 上側横辺
141b 下側横辺
141c 縦辺
42、142 半田テール
43、143 接触ビーム
44 突片
45 凹部
46、146 コンタクト
47 湾曲部
148 打ち出し突部
149 突片
150 半円状凹部
60、160 第2の端子
61、161 接触ビーム
62、162 半田テール
63、163 オフセット部
64、164 固定片部
164a 上側横辺
164b 下側横辺
164c 縦辺
65 U字状切欠部
66、166 コンタクト
67 係合突片
168 カム受片部
70、170 カム受入空洞
80、180 アクチュエータ
81、181 前縁
82、182 窓孔
83、183 カム
84 逃げ凹部
85 カム
186 溝
187 円柱ピン

Claims (16)

  1. FPC受入空洞が形成されている絶縁ハウジングと
    FPC受入空洞に接触ビームが配置されるようにして絶縁ハウジングに並列して装着されている複数の端子と
    FPC受入空洞に挿入されたFPCと子の接触ビームの間で所定の接触圧が形成されるように操作するアクチュエータとを備えているFPC用コネクタにおいて、
    前記複数の端子、アクチュエータで操作される操作片部の一側に半田テールが延び、他側に前記FPC受入空洞に配置される接触ビームが延びている第1の端子と
    FPC受入空洞に配置される接触ビームの一側に半田テールが延び、他側に絶縁ハウジングと係合して固定される固定片部が延びている第2の端子を含んでおり、
    第1の端子の接触ビームと第2の端子の接触ビームがFPC受入空洞で所定の間隔で対向していると共に、第1の端子の操作片部と第2の端子の固定片部が端子の並列方向で交互に並んで、アクチュエータのカム受入空洞を形成し、
    アクチュエータのムがカム受入空洞に配置され、アクチュエータの操作により、前記カムの姿勢が変化し、第1の端子の操作片部、第2の端子の固定片部に対して移動できる自由状態と、第2の端子の固定片部に対して移動できない固定状態とに変化することを特徴とするFPC用コネクタ。
  2. 第1の端子の接触ビームに、FPCの一側面の接点パッドに係合するコンタクトが突出して設けられている請求項1に記載のFPC用コネクタ。
  3. 第2の端子の接触ビームに、FPCの他側面の接点パッドに係合するコンタクトが突出して設けられている請求項1又は2に記載のFPC用コネクタ。
  4. 第2の端子の固定片部は、この固定片部が延びる方向に開いているU字状切欠部を有し、このU字状切欠部と、第1の端子の操作片部が交互に並んでカム受入空洞を形成している請求項1に記載のFPC用コネクタ。
  5. 第1の端子の操作片部に、カム受入空洞の入り口に突出して、カムの脱出を阻止する脱出阻止突片が設けられている請求項1又は4に記載のFPC用コネクタ。
  6. FPC受入空洞が形成されている絶縁ハウジングと
    FPC受入空洞に接触ビームが配置されるようにして絶縁ハウジングに並列して装着されている複数の端子と
    FPC受入空洞に挿入されたFPCと子の接触ビームの間で所定の接触圧が形成されるように操作するアクチュエータとを備えているFPC用コネクタにおいて、
    前記複数の端子は、前記アクチュエータで操作される操作片部の一側に半田テールが延び、他側に前記FPC受入空洞に配置される接触ビームが延びている第1の端子を含んでおり、
    前記第1の端子の中間部を構成している操作片部が、アクチュエータの操作で固定状態と自由状態の間で状態変化ができるようにしてあることを特徴とするFPC用コネクタ。
  7. 前記複数の端子は、FPC受入空洞に配置される接触ビームの一側に半田テールが延び、他側に絶縁ハウジングと係合して固定される固定片部が延びている第2の端子を更に含んでいる請求項に記載のFPC用コネクタ。
  8. 第1の端子の接触ビームに、FPCの一側面の接点パッドに係合するコンタクトが突出して設けられている請求項に記載のFPC用コネクタ。
  9. 第2の端子の接触ビームに、FPCの他側面の接点パッドに係合するコンタクトが突出して設けられている請求項に記載のFPC用コネクタ。
  10. 第2の端子の固定片部は、この固定片部が延びる方向に開いているU字状切欠部を有し、このU字状切欠部と、第1の端子の操作片部が交互に並んでカム受入空洞を形成している請求項に記載のFPC用コネクタ。
  11. 第1の端子の操作片部に、カム受入空洞の入り口に突出して、カムの脱出を阻止する脱出阻止突片が設けられている請求項10に記載のFPC用コネクタ。
  12. FPC受入空洞が形成されている絶縁ハウジングと
    FPC受入空洞に接触ビームが配置されるようにして絶縁ハウジングに並列して装着されている複数の端子と
    FPC受入空洞に挿入されたFPCと子の接触ビームの間で所定の接触圧が形成されるように操作するアクチュエータとを備えているFPC用コネクタにおいて、
    前記複数の端子が、アクチュエータで操作される横U字状の操作片部の下部一側に半田テールが延び、下部他側にFPC受入空洞に配置される接触ビームが延びている第1の端子と
    横U字状の固定片部の上部一側に接触ビームが延びていると共に、固定片部の下部に、前記接触ビームの延びる方向に半田テールが延び、反対方向にカム受片部が延びている第2の端子とを含んでおり、
    第1の端子の接触ビームと第2の端子の接触ビームがFPC受入空洞で所定の間隔で対向していると共に、第1の端子の操作片部と第2の端子のカム受片部が端子の並列方向で交互に並んでアクチュエータのムを受け入れるカム受入空洞を形成し、
    アクチュエータのムがカム受入空洞に配置され、アクチュエータの操作により、前記カムの姿勢が変化し、第1の端子の操作片部、第2の端子の固定片部に対して移動できる自由状態と、第2の端子の固定片部に対して移動できない固定状態とに変化することを特徴とするFPC用コネクタ。
  13. 第1の端子の横U字状の操作片部は、半円状凹部が設けられ、アクチュエータの設けた円柱ピンが係合している請求項12に記載のFPC用コネクタ。
  14. 第2の端子の接触ビームは、固定片部からオフセット部を介して延びて、第1の端子の接触ビームと同一面内で対向している請求項12又は13に記載のFPC用コネクタ。
  15. 第1の端子の接触ビームに、第2の端子の接触ビームに向かってコンタクトが突出している請求項14に記載のFPC用コネクタ。
  16. 第2の端子の接触ビームに、第1の端子の接触ビームに向かってコンタクトが突出している請求項15に記載のFPC用コネクタ。
JP2004214529A 2003-10-16 2004-07-22 Fpc用コネクタ Expired - Fee Related JP4587724B2 (ja)

Priority Applications (1)

Application Number Priority Date Filing Date Title
JP2004214529A JP4587724B2 (ja) 2003-10-16 2004-07-22 Fpc用コネクタ

Applications Claiming Priority (2)

Application Number Priority Date Filing Date Title
JP2003356043 2003-10-16
JP2004214529A JP4587724B2 (ja) 2003-10-16 2004-07-22 Fpc用コネクタ

Publications (2)

Publication Number Publication Date
JP2005142144A JP2005142144A (ja) 2005-06-02
JP4587724B2 true JP4587724B2 (ja) 2010-11-24

Family

ID=34702900

Family Applications (1)

Application Number Title Priority Date Filing Date
JP2004214529A Expired - Fee Related JP4587724B2 (ja) 2003-10-16 2004-07-22 Fpc用コネクタ

Country Status (1)

Country Link
JP (1) JP4587724B2 (ja)

Families Citing this family (9)

* Cited by examiner, † Cited by third party
Publication number Priority date Publication date Assignee Title
JP4672485B2 (ja) * 2005-08-25 2011-04-20 株式会社アイペックス コネクタ装置
KR20070057301A (ko) * 2005-12-01 2007-06-07 삼성전자주식회사 연성 인쇄 회로용 커넥터와, 그에 삽입되는 연성 인쇄 회로및 이를 갖는 표시 장치
JP4938303B2 (ja) 2005-12-16 2012-05-23 日本圧着端子製造株式会社 コネクタ
JP5223332B2 (ja) * 2007-12-28 2013-06-26 オムロン株式会社 コネクタ用接続端子
JP2011108419A (ja) * 2009-11-13 2011-06-02 Panasonic Electric Works Co Ltd コネクタ
JP4989740B2 (ja) 2010-02-26 2012-08-01 ヒロセ電機株式会社 回路基板用電気コネクタ
JP6049198B2 (ja) * 2013-04-30 2016-12-21 イリソ電子工業株式会社 コネクタ
JP6293490B2 (ja) * 2014-01-10 2018-03-14 日本航空電子工業株式会社 端子及びコネクタ
JP6253740B2 (ja) * 2016-09-16 2017-12-27 イリソ電子工業株式会社 コネクタ

Family Cites Families (3)

* Cited by examiner, † Cited by third party
Publication number Priority date Publication date Assignee Title
JP3356265B2 (ja) * 1997-07-29 2002-12-16 ヒロセ電機株式会社 フレキシブル基板用電気コネクタ
JP4205259B2 (ja) * 1999-06-21 2009-01-07 日本圧着端子製造株式会社 フレキシブル基板用コネクタ
JP2002093504A (ja) * 2000-09-18 2002-03-29 Japan Aviation Electronics Industry Ltd Fpc用コネクタ

Also Published As

Publication number Publication date
JP2005142144A (ja) 2005-06-02

Similar Documents

Publication Publication Date Title
EP1265317B1 (en) Contact and electric connector onto which the contact is mounted
KR101213371B1 (ko) 커넥터
US9509069B2 (en) Electrical connector and female terminal
KR101246058B1 (ko) 전기커넥터
EP2846409A2 (en) Connector
EP1895626B1 (en) Connecting device
JP2009206059A (ja) 電気コネクタ
JP2019071184A (ja) コネクタ
JP4587724B2 (ja) Fpc用コネクタ
EP2846414A1 (en) Connector
JPS5933942B2 (ja) 電気コネクタ
JP4365949B2 (ja) 基板接続用コネクタ
JP2007220327A (ja) フローティング型コネクタ
JP2005063948A (ja) コネクタ
JP2002289298A (ja) 可動型コネクタ組立体
JP4268074B2 (ja) コネクタ
CN114514657B (zh) 连接器及连接器组件
JP5432531B2 (ja) 電気コネクタ
CN110364893B (zh) 具有端子按压构造的连接器装置
US6390842B1 (en) Card edge connector with deflective latch members
KR101611781B1 (ko) 접속단자 및 이것을 이용한 커넥터
US7247055B2 (en) Card connector
CN101361232B (zh) 电连接器
JP2000150071A (ja) 基板用コネクタ
JP5003984B2 (ja) モジュラジャック

Legal Events

Date Code Title Description
A621 Written request for application examination

Free format text: JAPANESE INTERMEDIATE CODE: A621

Effective date: 20070705

A977 Report on retrieval

Free format text: JAPANESE INTERMEDIATE CODE: A971007

Effective date: 20091008

A131 Notification of reasons for refusal

Free format text: JAPANESE INTERMEDIATE CODE: A131

Effective date: 20091020

A02 Decision of refusal

Free format text: JAPANESE INTERMEDIATE CODE: A02

Effective date: 20100406

A521 Request for written amendment filed

Free format text: JAPANESE INTERMEDIATE CODE: A523

Effective date: 20100618

RD03 Notification of appointment of power of attorney

Free format text: JAPANESE INTERMEDIATE CODE: A7423

Effective date: 20100618

A911 Transfer to examiner for re-examination before appeal (zenchi)

Free format text: JAPANESE INTERMEDIATE CODE: A911

Effective date: 20100813

TRDD Decision of grant or rejection written
A01 Written decision to grant a patent or to grant a registration (utility model)

Free format text: JAPANESE INTERMEDIATE CODE: A01

Effective date: 20100907

A01 Written decision to grant a patent or to grant a registration (utility model)

Free format text: JAPANESE INTERMEDIATE CODE: A01

A61 First payment of annual fees (during grant procedure)

Free format text: JAPANESE INTERMEDIATE CODE: A61

Effective date: 20100907

R150 Certificate of patent or registration of utility model

Free format text: JAPANESE INTERMEDIATE CODE: R150

FPAY Renewal fee payment (event date is renewal date of database)

Free format text: PAYMENT UNTIL: 20130917

Year of fee payment: 3

LAPS Cancellation because of no payment of annual fees