JP4575673B2 - ガソリンベーパーの回収方法及び回収装置 - Google Patents
ガソリンベーパーの回収方法及び回収装置 Download PDFInfo
- Publication number
- JP4575673B2 JP4575673B2 JP2004010384A JP2004010384A JP4575673B2 JP 4575673 B2 JP4575673 B2 JP 4575673B2 JP 2004010384 A JP2004010384 A JP 2004010384A JP 2004010384 A JP2004010384 A JP 2004010384A JP 4575673 B2 JP4575673 B2 JP 4575673B2
- Authority
- JP
- Japan
- Prior art keywords
- gasoline vapor
- underground tank
- valve
- adsorption device
- swing adsorption
- Prior art date
- Legal status (The legal status is an assumption and is not a legal conclusion. Google has not performed a legal analysis and makes no representation as to the accuracy of the status listed.)
- Expired - Fee Related
Links
Images
Landscapes
- Loading And Unloading Of Fuel Tanks Or Ships (AREA)
- Treating Waste Gases (AREA)
Description
SS向けガソリンベーパー回収システム「パーミエーターAT-150」製品カタログ(デナロ社発行)(平成16年1月8日検索)、インターネット<URL:1074486260500_0>
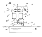
本実施の形態例におけるPSA法において、吸着工程は次ぎのとおりである。例えばタンクローリーからガソリンを地下タンクに受け入れる際に押し出されたガソリンベーパーは通気管を流通する。この際、通気管の大気放出弁の1次側の圧力が所定の圧力(p1Pa)以上となると、ガソリンベーパー含有排ガスは吸着ステップにある吸着塔1aの吸着剤層入り口端部へ導入される。排ガス中のガソリンベーパーは吸着剤層の入口側から徐々に吸着され、吸着塔1aの頂部の清浄ガス排出管82からガソリンベーパーを除去された清浄ガスが排出される。一方ガソリンベーパーの吸着量が限界に達した吸着塔1aは次ぎの再生工程へ進む。再生工程の吸着塔1aの吸着剤に吸着したガソリンベーパーを真空ポンプ7で吸引して該吸着剤から離脱したガソリンベーパーをそのまま該地下タンク2に回収する。再生工程においては、真空ポンプ7の吸引に加えてパージガスを併用すれば吸着剤の再生の程度が向上する。
・ガソリンベーパー含有排ガス;タンクローリーから実容量20klの地下タンクにガソリンを30分で送油する際、通気管より発生する排ガス
・ 2塔式圧力スイング吸着装置の処理能力;40m3/時間
・ 通気管設置の大気放出弁;372Paで排気/−125Paで吸気
・ 装置の起動/停止;350Paで起動/100Paで停止
・ 吸着剤;原ガス側より細孔径6nmのシリカゲルと細孔径5nmの活性炭の2層充填
・ 吸着工程/再生工程;5分間隔で交互の切り替え運転
・ 再生工程;パージガス導入と真空ポンプの併用による
・ 真空ポンプ;オイル型(吸引圧力;50torr、出口温度80℃)
2、36 地下タンク
3、33 通気管
4 大気放出弁
5 圧力検知器
6 制御弁
7 真空ポンプ
9 2塔式圧力スイング吸着装置
10 ガソリンベーパー回収装置
21 非防爆式電磁弁
22 シーケンサー
23 電気信号
24 空気信号
25 地下タンクの気相部
26 地下タンクの液状ガソリン部
30 タンクローリー
31 第1配管
34 タンクローリーのタンク
35 接続配管
40 回収装置
71 第2配管
81 パージガス供給管
82 清浄ガス排出管
a〜h 開閉弁
Claims (5)
- ガソリンスタンドの地下タンクから放出されるガソリンベーパー含有排ガスを2塔式圧力スイング吸着装置で回収する方法であって、吸着工程の吸着装置にガソリンベーパー含有排ガスを導入して、細孔径3〜20nmの活性炭及び細孔径6〜10nmのシリカゲルが混層充填又は2層充填されている吸着剤にガソリンベーパーを吸着させ、清浄化した廃棄ガスを大気に放出し、再生工程の吸着装置の吸着剤に吸着したガソリンベーパーを真空ポンプで吸引して該吸着剤から離脱したガソリンベーパーを冷却凝縮器を通さずに該地下タンクに回収することを特徴とするガソリンベーパーの回収方法。
- 前記回収するガソリンベーパーは、前記地下タンクの通気管から放出されるガソリンベーパーであることを特徴とする請求項1記載のガソリンベーパーの回収方法。
- 前記通気管の大気放出弁の地下タンク側の圧力が所定の圧力(p1Pa)以上で2塔式圧力スイング吸着装置の運転を開始し、前記圧力(p1Pa)より低い所定の圧力(p2Pa)以下で運転を停止することを特徴とする請求項2記載のガソリンベーパーの回収方法。
- 大気放出弁の地下タンク側に圧力検知器を付設した地下タンクの通気管と、ガソリンスタンドの敷地内に設置される2塔式圧力スイング吸着装置と、該2塔式圧力スイング吸着装置の再生工程にある吸着装置の細孔径3〜20nmの活性炭及び細孔径6〜10nmのシリカゲルが混層充填又は2層充填されている吸着剤に吸着したガソリンベーパーを吸引する真空ポンプと、該通気管の大気放出弁の地下タンク側の配管部と該2塔式圧力スイング吸着装置を接続する第1配管と、該真空ポンプと該地下タンクを接続する第2配管を備えるものであって、該第2配管には冷却凝縮器を設置しないことを特徴とするガソリンベーパーの回収装置。
- 前記2塔式圧力スイング吸着装置の開閉弁が、ガソリンスタンド事務所内に設置された制御盤の非防爆式電磁弁で制御される空気信号で制御される空気式開閉弁であることを特徴とする請求項4記載のガソリンベーパーの回収装置。
Priority Applications (1)
| Application Number | Priority Date | Filing Date | Title |
|---|---|---|---|
| JP2004010384A JP4575673B2 (ja) | 2004-01-19 | 2004-01-19 | ガソリンベーパーの回収方法及び回収装置 |
Applications Claiming Priority (1)
| Application Number | Priority Date | Filing Date | Title |
|---|---|---|---|
| JP2004010384A JP4575673B2 (ja) | 2004-01-19 | 2004-01-19 | ガソリンベーパーの回収方法及び回収装置 |
Publications (2)
| Publication Number | Publication Date |
|---|---|
| JP2005199223A JP2005199223A (ja) | 2005-07-28 |
| JP4575673B2 true JP4575673B2 (ja) | 2010-11-04 |
Family
ID=34823121
Family Applications (1)
| Application Number | Title | Priority Date | Filing Date |
|---|---|---|---|
| JP2004010384A Expired - Fee Related JP4575673B2 (ja) | 2004-01-19 | 2004-01-19 | ガソリンベーパーの回収方法及び回収装置 |
Country Status (1)
| Country | Link |
|---|---|
| JP (1) | JP4575673B2 (ja) |
Families Citing this family (11)
| Publication number | Priority date | Publication date | Assignee | Title |
|---|---|---|---|---|
| JP4658888B2 (ja) * | 2006-09-25 | 2011-03-23 | Jfeエンジニアリング株式会社 | ベーパー回収装置及びベーパー回収方法 |
| JP5123541B2 (ja) * | 2007-03-23 | 2013-01-23 | トキコテクノ株式会社 | ベーパ回収装置 |
| JP5060159B2 (ja) * | 2007-04-24 | 2012-10-31 | トキコテクノ株式会社 | ベーパ回収装置 |
| JP2011021505A (ja) | 2009-07-14 | 2011-02-03 | Aisan Industry Co Ltd | 蒸発燃料処理装置 |
| JP5582810B2 (ja) * | 2010-02-12 | 2014-09-03 | トキコテクノ株式会社 | ベーパ回収システム |
| CN109772088A (zh) * | 2019-03-05 | 2019-05-21 | 江苏鼎程新能源科技有限公司 | 一种加油站三次油气回收装置 |
| CN110585851A (zh) * | 2019-10-25 | 2019-12-20 | 青岛诺诚化学品安全科技有限公司 | 一种加油站三次油气回收装置 |
| CN113307217A (zh) * | 2021-04-15 | 2021-08-27 | 北京北控工业环保科技有限公司 | 加油站三次油气回收系统及工艺 |
| CN114100307A (zh) * | 2021-06-10 | 2022-03-01 | 武汉三江航天远方科技有限公司 | 一种加油站三次油气回收系统 |
| CN114354235B (zh) * | 2022-01-13 | 2024-05-07 | 日照惠明机械设备有限公司 | 三次油气回收测试台及测试方法 |
| CN120045817B (zh) * | 2025-04-23 | 2025-07-18 | 生态环境部华南环境科学研究所(生态环境部生态环境应急研究所) | 一种基于油气回收真空泵类型的加油站呼吸过程VOCs排放量修正方法 |
Family Cites Families (4)
| Publication number | Priority date | Publication date | Assignee | Title |
|---|---|---|---|---|
| JPS5048515A (ja) * | 1973-09-03 | 1975-04-30 | ||
| DE4410597C2 (de) * | 1994-03-26 | 1999-07-22 | Geesthacht Gkss Forschung | Verfahren und Vorrichtung zur Emissionsminderung an Atmungsleitungen von Lagertanks |
| JP2766793B2 (ja) * | 1995-08-29 | 1998-06-18 | システム エンジ サービス株式会社 | 廃棄ガスに含まれるガス状炭化水素の処理・回収方法 |
| JPH1199314A (ja) * | 1997-09-26 | 1999-04-13 | Cosmo Engineering Co Ltd | 炭化水素蒸気回収の運転方法 |
-
2004
- 2004-01-19 JP JP2004010384A patent/JP4575673B2/ja not_active Expired - Fee Related
Also Published As
| Publication number | Publication date |
|---|---|
| JP2005199223A (ja) | 2005-07-28 |
Similar Documents
| Publication | Publication Date | Title |
|---|---|---|
| JP4575673B2 (ja) | ガソリンベーパーの回収方法及び回収装置 | |
| WO1997020618A1 (fr) | Procede pour traiter ou recuperer des hydrocarbures gazeux contenus dans des gaz de rejet | |
| CN103754814A (zh) | 具有比例分流的燃料蒸气管理系统 | |
| CN201350385Y (zh) | 一种挥发性有机物蒸汽的吸附回收处理装置 | |
| CN102921269A (zh) | 油气回收装置 | |
| JP5109028B2 (ja) | 希薄な揮発性炭化水素を含む大量の排ガス浄化方法 | |
| CN110585851A (zh) | 一种加油站三次油气回收装置 | |
| CN215782595U (zh) | 具洗涤吸收塔的中空纤维管式膜油气处理系统 | |
| CN111437622A (zh) | 油气处理系统及方法 | |
| CN213668552U (zh) | 压缩冷凝膜吸附组合式油气回收装置 | |
| CN211936242U (zh) | 加油站三次油气回收装置 | |
| JP2000117048A (ja) | 揮発性石油化合物の吸着式補集装置及び吸着回収装置 | |
| CN101015760A (zh) | 利用吸收与吸附集成技术的油气回收方法及装置 | |
| CN105833657A (zh) | 一种醇类混合物尾气处理装置及其处理方法 | |
| CN204865444U (zh) | 一种油气回收后端精细处理系统 | |
| CN112354324A (zh) | 油气回收系统 | |
| CN110711460A (zh) | 油气回收系统及回收方法 | |
| KR20210026077A (ko) | 유증기 회수 시스템 | |
| WO1996004978A1 (en) | Pressure swing adsorption apparatus and process for recovery of organic vapors | |
| CN216909746U (zh) | 具有冷凝器的中空纤维管式膜油气处理系统 | |
| CA2021702A1 (en) | Improved process for recovering hydrocarbons from air-hydrocarbon vapor mixtures | |
| CN211159155U (zh) | 一种加油站三次油气回收装置 | |
| CN211585903U (zh) | 油气回收系统 | |
| JP2005205392A (ja) | 揮発性炭化水素を含む排ガスの処理方法 | |
| CN205760432U (zh) | 一种醇类混合物尾气处理装置 |
Legal Events
| Date | Code | Title | Description |
|---|---|---|---|
| A621 | Written request for application examination |
Free format text: JAPANESE INTERMEDIATE CODE: A621 Effective date: 20061227 |
|
| A977 | Report on retrieval |
Free format text: JAPANESE INTERMEDIATE CODE: A971007 Effective date: 20091130 |
|
| A131 | Notification of reasons for refusal |
Free format text: JAPANESE INTERMEDIATE CODE: A131 Effective date: 20091210 |
|
| A521 | Request for written amendment filed |
Free format text: JAPANESE INTERMEDIATE CODE: A523 Effective date: 20100107 |
|
| A131 | Notification of reasons for refusal |
Free format text: JAPANESE INTERMEDIATE CODE: A131 Effective date: 20100512 |
|
| A521 | Request for written amendment filed |
Free format text: JAPANESE INTERMEDIATE CODE: A523 Effective date: 20100628 |
|
| TRDD | Decision of grant or rejection written | ||
| A01 | Written decision to grant a patent or to grant a registration (utility model) |
Free format text: JAPANESE INTERMEDIATE CODE: A01 Effective date: 20100810 |
|
| A01 | Written decision to grant a patent or to grant a registration (utility model) |
Free format text: JAPANESE INTERMEDIATE CODE: A01 |
|
| A61 | First payment of annual fees (during grant procedure) |
Free format text: JAPANESE INTERMEDIATE CODE: A61 Effective date: 20100820 |
|
| R150 | Certificate of patent or registration of utility model |
Ref document number: 4575673 Country of ref document: JP Free format text: JAPANESE INTERMEDIATE CODE: R150 |
|
| FPAY | Renewal fee payment (event date is renewal date of database) |
Free format text: PAYMENT UNTIL: 20130827 Year of fee payment: 3 |
|
| R250 | Receipt of annual fees |
Free format text: JAPANESE INTERMEDIATE CODE: R250 |
|
| R250 | Receipt of annual fees |
Free format text: JAPANESE INTERMEDIATE CODE: R250 |
|
| R250 | Receipt of annual fees |
Free format text: JAPANESE INTERMEDIATE CODE: R250 |
|
| R250 | Receipt of annual fees |
Free format text: JAPANESE INTERMEDIATE CODE: R250 |
|
| R250 | Receipt of annual fees |
Free format text: JAPANESE INTERMEDIATE CODE: R250 |
|
| R250 | Receipt of annual fees |
Free format text: JAPANESE INTERMEDIATE CODE: R250 |
|
| R250 | Receipt of annual fees |
Free format text: JAPANESE INTERMEDIATE CODE: R250 |
|
| R250 | Receipt of annual fees |
Free format text: JAPANESE INTERMEDIATE CODE: R250 |
|
| R250 | Receipt of annual fees |
Free format text: JAPANESE INTERMEDIATE CODE: R250 |
|
| R250 | Receipt of annual fees |
Free format text: JAPANESE INTERMEDIATE CODE: R250 |
|
| LAPS | Cancellation because of no payment of annual fees |
