JP4558233B2 - ハロゲン含有排ガス処理装置 - Google Patents

ハロゲン含有排ガス処理装置 Download PDF

Info

Publication number
JP4558233B2
JP4558233B2 JP2001092109A JP2001092109A JP4558233B2 JP 4558233 B2 JP4558233 B2 JP 4558233B2 JP 2001092109 A JP2001092109 A JP 2001092109A JP 2001092109 A JP2001092109 A JP 2001092109A JP 4558233 B2 JP4558233 B2 JP 4558233B2
Authority
JP
Japan
Prior art keywords
gas
halogen
exhaust gas
supply path
containing exhaust
Prior art date
Legal status (The legal status is an assumption and is not a legal conclusion. Google has not performed a legal analysis and makes no representation as to the accuracy of the status listed.)
Expired - Fee Related
Application number
JP2001092109A
Other languages
English (en)
Other versions
JP2002282651A5 (ja
JP2002282651A (ja
Inventor
雅史 土井
昇 和田
昌樹 葛本
豊一 後藤
Current Assignee (The listed assignees may be inaccurate. Google has not performed a legal analysis and makes no representation or warranty as to the accuracy of the list.)
Mitsubishi Electric Corp
Original Assignee
Mitsubishi Electric Corp
Priority date (The priority date is an assumption and is not a legal conclusion. Google has not performed a legal analysis and makes no representation as to the accuracy of the date listed.)
Filing date
Publication date
Application filed by Mitsubishi Electric Corp filed Critical Mitsubishi Electric Corp
Priority to JP2001092109A priority Critical patent/JP4558233B2/ja
Publication of JP2002282651A publication Critical patent/JP2002282651A/ja
Publication of JP2002282651A5 publication Critical patent/JP2002282651A5/ja
Application granted granted Critical
Publication of JP4558233B2 publication Critical patent/JP4558233B2/ja
Anticipated expiration legal-status Critical
Expired - Fee Related legal-status Critical Current

Links

Images

Landscapes

  • Organic Low-Molecular-Weight Compounds And Preparation Thereof (AREA)
  • Treating Waste Gases (AREA)
  • Physical Or Chemical Processes And Apparatus (AREA)

Description

【0001】
【発明の属する技術分野】
この発明は、ハロゲン含有排ガス処理方法及び装置に関するもので、特に、半導体製造装置等から排出される排ガス中に含まれるハロゲン化合物を放電により分解処理するための排ガス処理装置に関するものである。
【0002】
【従来の技術】
半導体装置の製造工程において、ドライエッチングやCVD装置のクリーニングにCF、C、CHF、SF、NF等のフッ素化合物ガスが用いられている。これらフッ素化合物ガスは半導体製造装置に導入され、エッチング工程等に使用された後に半導体製造装置から排出されるが、通常、これらフッ素化合物ガスはエッチング工程等にては完全に分解されることなく、排出ガス中に一部未分解のまま残留している。
【0003】
これらフッ素化合物ガスは大気中では活性が低いため、従来はNFを除いては無処理で大気中に放出されていた。しかしながら、近年になってこれらフッ素化合物ガスはオゾン層の破壊に関連しているものと考えられるようになり、地球温暖化防止の観点よりこれらガスの排出量の削減が求められるようになってきている。
【0004】
そのため、これらフッ素化合物ガスを何等かの方法で分解もしくは除去し、環境負荷を軽減したガスに変えることが必要となるが、水素や天然ガス等の燃焼を利用した熱的な分解処理方法においては高濃度のNOxが生成するという欠点がある。また、吸着を利用した除去方法においては吸着剤の交換の問題や再生の問題があり、これらの方法に代わるフッ素化合物ガスの非熱的な処理方法として放電を利用した分解処理方法が提案されてきている。
【0005】
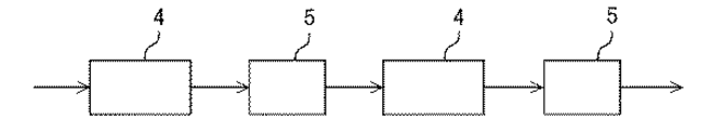
図6は、特開平10−235138号公報に開示された、従来の放電を用いたフッ素化合物ガスを含んだ排ガスの処理方法であり、4は放電分解装置、5は分解生成物除去装置を表わしている。かかる排ガスの処理方法は、上記のように構成され、放電分解装置4においてコロナ放電または無声放電によりCF、C、NF又はSFなどの難分解性フッ素化合物を分解した後、分解生成物除去装置5を用いてこれら分解生成物を除去する工程を複数回繰り返す事により、放電による難分解性フッ素化合物の分解効率を低下させずに分解処理するものである。
【0006】
【発明が解決しようとする課題】
このような従来の排ガス処理方法においては、空気をキャリアガスとして用いており、この空気中に含まれる水素がフッ素化合物の分解促進剤として作用しているものと考えられるが、放電部と分解生成物除去装置を複数組み合わせ、放電により生成する分解生成物を除去した上で再度放電分解しないと、最終的に十分な分解効率が得られないという問題があった。また、この問題はフッ素化合物以外のハロゲン化合物においても同様の問題となっていた。
本発明者の知見によれば、かかる原因は、空気中に含まれる窒素のような2原子分子が振動準位を持ち、この振動準位の存在により放電のエネルギーが吸収され、ハロゲン化合物ガスの分解に有効に利用されないためであると考えられる。
【0007】
かかる状況下、本発明者らは、鋭意検討を行った結果、上記空気や窒素に変えてHe、Ne、Ar、Xe等の希ガスをキャリアガスとして用いると、フッ素化合物ガスを高効率で処理することができることを見出し、簡易かつランニングコストを抑制した高効率なハロゲン含有ガス処理方法及び装置を実現する本願発明に到達したものである。
【0008】
【課題を解決するための手段】
【0013】
この発明に係るハロゲン含有排ガス処理装置は、ハロゲン含有ガス排気設備に接続可能な排ガス導入部と、排ガス導入部に導入されたハロゲン含有排ガスを、ハロゲン化合物の分解処理を行う放電部へ供給するガス供給経路と、ガス供給経路に接続され、ガス供給経路に真空ポンプを保護するための希ガスを、ハロゲン含有排ガスを希釈するキャリアガスとして導入するキャリアガス供給手段並びに水素供与物質を導入する水素供給手段と、ガス供給経路に接続され、ガス供給経路に導入されたハロゲン含有排ガス中のハロゲン化水素を除去するハロゲン化水素前処理部とを備えたものである。
【0020】
【発明の実施の形態】
実施の形態1
本発明にかかるハロゲン含有排ガス処理装置の構成説明図の一例を図1に示す。かかるハロゲン含有排ガス処理装置は、ターボ分子ポンプ2とドライポンプ3と放電部4とハロゲン化水素除去手段5とポンプ保護ガスの発生源6と水素供給源9とガス排出口11にて構成されている。
【0021】
本発明にかかるハロゲン含有排ガス処理方法を図1に基づいて説明する。図1において、CVD装置1より排出されたフッ素化合物ガスはターボ分子ポンプ2にて排気されドライポンプ3を経由して放電部4へと導入される。また、CVD装置1から排出されるガス中にはフッ素化合物ガス以外にハロゲン化水素も存在するが、このハロゲン化水素は腐食性が強いため、CVD装置1から排出されるフッ素化合物ガスに対してポンプ保護ガスの発生源6からキャリアガスとして例えばHe、Ne、Ar、Xeなどの希ガスが供給される。これらキャリアガスはフッ素化合物ガスを希釈することにより、ハロゲン化水素等に起因するポンプ摺動部や配管内面の腐食を防止する効果を有する。また、CVD装置1から排出される固体有機物やSiO等によるポンプのつまりを防止する効果も有する。本実施の形態においては、キャリアガスはCVD装置1への逆流防止を考慮してドライポンプ3に導入されているが、ポンプ保護の観点からは、キャリアガスのCVD装置1への逆流防止を考慮し適度なガス流量とすることで、これらキャリアガスをターボ分子ポンプに導入する事も可能である。次に、水素供給源9より水素もしくは水素化合物を含むガス、例えばHOガスが放電部4に供給される。すなわち、放電部4にはCVD装置1から排出されたフッ素化合物ガスとキャリアガスである希ガスとHOガスが導入されることになる。これらガスが導入されると、放電部4で放電によりフッ素化合物ガスが分解されると同時にHOガスと反応してハロゲン化水素を生成する。この時、例えば、フッ素化合物ガスがCFの場合には次のような反応を生ずる。
CF+2HO→CO+4HF
放電部4にて分解処理されたフッ素化合物ガスはキャリアガスやHOガスと一緒にハロゲン化水素除去手段5に導かれ、ハロゲン化水素(例えばHF)の除去後、一部のガスはガス排出口11より大気中に放出される。このハロゲン化水素除去手段5としては、水スクラバーや、バブリングタンクを通した後ドライヤで水分を除去するものや、ハロゲン化水素を除去するフィルター等が挙げられる。
【0022】
ハロゲン化水素除去後のガスには、キャリアガスである希ガスの他二酸化炭素等の不純物が含まれているが、ポンプの腐食対策やポンプが詰まらないために流すキャリアガスとして使用することには問題がないため、ハロゲン化水素除去手段5から大気中に放出されなかったガスはドライポンプ3に導入され、排気ガスのキャリアガスとして利用されることになる。このような構成にすることにより、ポンプの保護ガスの消費量が低減されるという効果がある。
【0023】
また、キャリアガスとして用いるHe、Ne、Ar、Xe等の希ガスは高価であるため、従来のように無毒化したガスとともに大気中に放出する装置においてはランニングコストが大幅に上昇するため、半導体製造装置の排ガスのキャリアガスとして実際の製造ラインに用いられることはなかった。しかしながら、これら希ガスを用いると、キャリアガスによる放電のエネルギー損失がなく、放電部と分解生成物の除去装置を複数組み合わせたような複雑な装置構成を用いる事なく、フッ素化合物ガスを高効率で処理することができるという効果があることが判明した。
【0024】
図4はキャリアガスとしてNガスを用いた場合とArガスを用いた場合において、放電部4における電力投入量を変化させ、フッ素化合物ガスの一種であるCFの分解率の変化を調べたものである。縦軸にCFの分解率(%)、横軸に投入電力量(W)を示している。図4よりArガスをキャリアガスとして用いた場合には500W以下の比較的少ない電力投入量においてもCFが効率的に分解されることが分かる。なお、Arガスをキャリアガスに用いた場合の方がNガスをキャリアガスに用いた場合よりもCFの分解効率が高い理由は、上述した振動準位の違いによるものと考えられている。
【0025】
また、本発明にかかるハロゲン含有排ガス処理装置においては、窒素ガスを使用しないため放電部4におけるフッ素化合物ガスの分解に伴う副生成物として毒性が高くかつ地球温暖化に対しても悪影響を及ぼす窒素酸化物が発生しないという利点も併せもつ。
【0026】
実施の形態2
本発明にかかるハロゲン含有排ガス処理装置の構成説明図の他の例を図2に示す。かかるハロゲン含有排ガス処理装置においては、CVD装置1から排気されたハロゲン化合物とキャリアガスを含む混合ガスを放電部4の前段で2つに分け一部のみを放電部4に導入し、残りはハロゲン化水素除去手段5にてハロゲン化水素を除去した後、ポンプもしくはガス配管等の保護ガスとして利用する。また、ターボ分子ポンプ2もしくはドライポンプ3の前段にハロゲン化水素除去手段5を設けておいてもよい。
【0027】
図2のような構成とし、放電部4に流入する処理ガス量を抑制することにより、放電部4における単位時間あたりのガス流量が減少するのでキャリアガスによる放電部における投入電力の吸収が抑制されるため、結果としてフッ素化合物ガスの処理効率が向上する効果が認められた。
【0028】
図5は放電部4において、ガス流量を変化させた場合のCFの分解率を示したものである。横軸はガス流量(単位はSLM:standard liter per min.)、縦軸はCFの分解率(%)を表している。キャリアガスとしてAr、Nを用いた場合を比較したが、処理ガスのガス流量が10SLM以下の場合はどちらのガスを用いても高いCFの分解効率が得られていることが分かる。なお、Arガスを用いた場合にガス流量が大きくなってもCFの分解効率が比較的高く保たれているのは、上述した振動準位の違いによるものと考えられている。
【0029】
実施の形態3
本発明にかかるハロゲン含有排ガス処理装置の構成説明図の他の例を図3に示す。かかるハロゲン含有排ガス処理装置においては、放電部4の前段にハロゲン化合物ガスとポンプの保護ガスとを分離するガス分離装置8を設置する。ガス分離装置8により分離されたハロゲン化合物ガスを放電部4に導入することにより、放電部5におけるハロゲン化合物ガスの濃度が高くなるとともに放電部4におけるガス量が減少するので処理効率が向上する。
【0030】
ガス分離装置8としては、分子の大きさの差を利用するフィルターや、質量の差を利用する遠心分離法、ノズル法、沸点の差を利用する蒸留等を利用した装置を用いることが可能である。
【0031】
【発明の効果】
【0033】
本発明にかかるハロゲン含有排ガス処理装置によれば、ハロゲン含有ガス排気設備に接続可能な排ガス導入部と、排ガス導入部に導入されたハロゲン含有排ガスを、ハロゲン化合物の分解処理を行う放電部へ供給するガス供給経路と、ガス供給経路に接続され、ガス供給経路に真空ポンプを保護するための希ガスを、ハロゲン含有排ガスを希釈するキャリアガスとして導入するキャリアガス供給手段並びに水素供与物質を導入する水素供給手段と、前記ガス供給経路に接続され、前記ガス供給経路に導入された前記ハロゲン含有排ガス中のハロゲン化水素を除去するハロゲン化水素前処理部とを備えており、特に、CVD装置やエッチング装置などの半導体製造装置から排出されるハロゲン化合物に対して、キャリアガスとしてHe、Ne、Ar、Xeなどの希ガスを用いて放電処理を行うことにより、効率的にハロゲン化合物を放電分解することができ、またハロゲン化水素が除去されたガスをキャリアガスとして利用することで、低ランニングコストでのシステムの運転が可能となるという効果がある。
【図面の簡単な説明】
【図1】 本発明にかかるハロゲン排含有ガス処理装置の構成の一例を示す図である。
【図2】 本発明にかかるハロゲン排含有ガス処理装置の構成の一例を示す図である。
【図3】 本発明にかかるハロゲン排含有ガス処理装置の構成の一例を示す図である。
【図4】 放電部における投入電力量を変化させた場合のCFの分解率の変化を示す図である。
【図5】 処理ガスの流量を変化させた場合のCFの分解率の変化を示す図である。
【図6】 従来のハロゲン含有排ガス処理装置の構成の一例を示す図である。
【符号の説明】
1 CVD装置、2 ターボ分子ポンプ、3 ドライポンプ、4 放電部、
5 ハロゲン化水素除去設備、6 ポンプ保護ガスの発生源、
8 ガス分離装置、9 水素供給源、11 ガス排出口。

Claims (4)

  1. ハロゲン含有ガスを排気するハロゲン含有ガス排気設備に接続可能な排ガス導入部と、当該排ガス導入部に導入されたハロゲン含有排ガスをハロゲン化合物の分解処理を行う放電部へ供給するガス供給経路と、当該ガス供給経路に接続され、前記ガス供給経路に、真空ポンプを保護するための希ガスを、ハロゲン含有排ガスを希釈するキャリアガスとして導入するキャリアガス供給手段並びに水素供与物質を導入する水素供給手段と、前記ガス供給経路に接続され、前記ガス供給経路に導入された前記ハロゲン含有排ガス中のハロゲン化水素を除去するハロゲン化水素前処理部とを備えてなるハロゲン含有排ガス処理装置。
  2. 前記ハロゲン化水素前処理部が、前記ハロゲン化水素前処理部にて処理されたガスが前記ガス供給経路を循環するように前記ガス供給経路もしくは前記ハロゲン含有ガス排気設備に接続されてなる請求項1に記載のハロゲン含有排ガス処理装置。
  3. 前記放電部の後段に接続され、前記ハロゲン化合物の分解処理による分解生成物を除去する除去部を備えてなる請求項1に記載のハロゲン含有排ガス処理装置。
  4. 前記除去部が前記ガス供給経路もしくは前記ハロゲン含有ガス排気設備に接続されてなる請求項3に記載のハロゲン含有排ガス処理装置。
JP2001092109A 2001-03-28 2001-03-28 ハロゲン含有排ガス処理装置 Expired - Fee Related JP4558233B2 (ja)

Priority Applications (1)

Application Number Priority Date Filing Date Title
JP2001092109A JP4558233B2 (ja) 2001-03-28 2001-03-28 ハロゲン含有排ガス処理装置

Applications Claiming Priority (1)

Application Number Priority Date Filing Date Title
JP2001092109A JP4558233B2 (ja) 2001-03-28 2001-03-28 ハロゲン含有排ガス処理装置

Publications (3)

Publication Number Publication Date
JP2002282651A JP2002282651A (ja) 2002-10-02
JP2002282651A5 JP2002282651A5 (ja) 2007-01-11
JP4558233B2 true JP4558233B2 (ja) 2010-10-06

Family

ID=18946626

Family Applications (1)

Application Number Title Priority Date Filing Date
JP2001092109A Expired - Fee Related JP4558233B2 (ja) 2001-03-28 2001-03-28 ハロゲン含有排ガス処理装置

Country Status (1)

Country Link
JP (1) JP4558233B2 (ja)

Families Citing this family (1)

* Cited by examiner, † Cited by third party
Publication number Priority date Publication date Assignee Title
KR102457227B1 (ko) * 2022-08-26 2022-10-20 주식회사 에코에이블 반도체 생산설비에서 배출되는 오염물질 처리장치

Family Cites Families (3)

* Cited by examiner, † Cited by third party
Publication number Priority date Publication date Assignee Title
JP2854240B2 (ja) * 1994-05-09 1999-02-03 株式会社新潟鉄工所 ガス回収循環装置
JPH11156156A (ja) * 1997-11-27 1999-06-15 Seiko Epson Corp ハロゲン系ガスの処理方法、処理装置および反応処理装置並びに半導体装置
JP2000009037A (ja) * 1998-06-18 2000-01-11 Fujitsu Ltd 排気装置及び排気方法

Also Published As

Publication number Publication date
JP2002282651A (ja) 2002-10-02

Similar Documents

Publication Publication Date Title
US6949225B1 (en) Method and apparatus for treating a waste gas containing fluorine-containing compounds
KR100309963B1 (ko) 배기장치및배기방법
EP1450936B1 (en) Method and apparatus for treating exhaust gas comprising a fluorine compound and carbon monoxide
CN1678517A (zh) 废气流的利用
JP2001185539A (ja) ガス回収システムおよびガス回収方法
JP7284530B2 (ja) 水素回収再生システム
TWI400354B (zh) 處理氣流的方法
JP2003507155A (ja) プラズマ処理からの排出物中に含まれるペルフルオロ化合物ガスの量を低減する方法
KR19990072340A (ko) 배기가스처리설비및그처리방법
JP4558233B2 (ja) ハロゲン含有排ガス処理装置
JPWO2018221021A1 (ja) 排ガスの減圧除害方法及びその装置
TW571366B (en) Cleaning gas for semiconductor production equipment and cleaning method using the gas
KR101960536B1 (ko) 반도체 드라이 스크러버 시스템
JP2000005561A (ja) フッ化物の処理方法
JP2010058009A (ja) 三フッ化窒素分解処理方法および三フッ化窒素分解処理装置
KR200267601Y1 (ko) 플라즈마 폐가스 세정장치
JP3188830B2 (ja) Nf3排ガスの除害方法及び除害装置
JP2007216229A (ja) フッ素含有化合物を含む排ガスの処理装置
JP2001246221A (ja) 排ガス処理装置
JPH1147550A (ja) 排ガス処理方法
JP5358899B2 (ja) 揮発性有機化合物の処理装置および揮発性有機化合物の処理方法
JP2002012565A (ja) パーフルオロコンパウンドのリサイクル利用方法
JP2001332498A (ja) ガス除害システム及び方法
JPH07328663A (ja) アンモニア性窒素含有排水処理装置
JP2004241472A (ja) ガス処理装置、ガス処理方法および半導体装置の製造方法

Legal Events

Date Code Title Description
RD01 Notification of change of attorney

Free format text: JAPANESE INTERMEDIATE CODE: A7421

Effective date: 20040708

A521 Request for written amendment filed

Free format text: JAPANESE INTERMEDIATE CODE: A523

Effective date: 20061121

A621 Written request for application examination

Free format text: JAPANESE INTERMEDIATE CODE: A621

Effective date: 20061121

A977 Report on retrieval

Free format text: JAPANESE INTERMEDIATE CODE: A971007

Effective date: 20090907

A131 Notification of reasons for refusal

Free format text: JAPANESE INTERMEDIATE CODE: A131

Effective date: 20091013

RD01 Notification of change of attorney

Free format text: JAPANESE INTERMEDIATE CODE: A7421

Effective date: 20091118

A521 Request for written amendment filed

Free format text: JAPANESE INTERMEDIATE CODE: A523

Effective date: 20091208

A131 Notification of reasons for refusal

Free format text: JAPANESE INTERMEDIATE CODE: A131

Effective date: 20100323

A521 Request for written amendment filed

Free format text: JAPANESE INTERMEDIATE CODE: A523

Effective date: 20100514

TRDD Decision of grant or rejection written
A01 Written decision to grant a patent or to grant a registration (utility model)

Free format text: JAPANESE INTERMEDIATE CODE: A01

Effective date: 20100713

A01 Written decision to grant a patent or to grant a registration (utility model)

Free format text: JAPANESE INTERMEDIATE CODE: A01

A61 First payment of annual fees (during grant procedure)

Free format text: JAPANESE INTERMEDIATE CODE: A61

Effective date: 20100721

FPAY Renewal fee payment (event date is renewal date of database)

Free format text: PAYMENT UNTIL: 20130730

Year of fee payment: 3

LAPS Cancellation because of no payment of annual fees