JP4537367B2 - 全反射蛍光x線分析用試料点滴基板および全反射蛍光x線分析装置ならびに全反射蛍光x線分析方法 - Google Patents

全反射蛍光x線分析用試料点滴基板および全反射蛍光x線分析装置ならびに全反射蛍光x線分析方法 Download PDF

Info

Publication number
JP4537367B2
JP4537367B2 JP2006304082A JP2006304082A JP4537367B2 JP 4537367 B2 JP4537367 B2 JP 4537367B2 JP 2006304082 A JP2006304082 A JP 2006304082A JP 2006304082 A JP2006304082 A JP 2006304082A JP 4537367 B2 JP4537367 B2 JP 4537367B2
Authority
JP
Japan
Prior art keywords
sample
drip
total reflection
substrate
drying
Prior art date
Legal status (The legal status is an assumption and is not a legal conclusion. Google has not performed a legal analysis and makes no representation as to the accuracy of the status listed.)
Expired - Fee Related
Application number
JP2006304082A
Other languages
English (en)
Other versions
JP2008122144A (ja
Inventor
雄一郎 清水
直樹 河原
隆 山田
光一 青柳
恒夫 神鳥
Current Assignee (The listed assignees may be inaccurate. Google has not performed a legal analysis and makes no representation or warranty as to the accuracy of the list.)
Rigaku Corp
Original Assignee
Rigaku Corp
Priority date (The priority date is an assumption and is not a legal conclusion. Google has not performed a legal analysis and makes no representation as to the accuracy of the date listed.)
Filing date
Publication date
Application filed by Rigaku Corp filed Critical Rigaku Corp
Priority to JP2006304082A priority Critical patent/JP4537367B2/ja
Publication of JP2008122144A publication Critical patent/JP2008122144A/ja
Application granted granted Critical
Publication of JP4537367B2 publication Critical patent/JP4537367B2/ja
Expired - Fee Related legal-status Critical Current
Anticipated expiration legal-status Critical

Links

Images

Landscapes

  • Analysing Materials By The Use Of Radiation (AREA)
  • Sampling And Sample Adjustment (AREA)

Description

本発明は、蛍光X線分析用試料点滴基板に関する。さらに詳しくは、液体試料を試料基板に点滴乾燥して、その試料基板上に形成された点滴乾燥痕にX線源から1次X線を照射して、点滴乾燥痕から発生する蛍光X線を測定するための試料点滴基板およびその基板を有する全反射蛍光X線分析装置ならびにその基板を用いる全反射蛍光X線分析方法に関する。
従来、液体試料を基板やフィルム上に濃縮する技術として、疎水性の厚さ30〜40μmテフロン(登録商標)膜が形成された基板上にフォトリソグラフィックマスクを用いて30nmの金を蒸着した基板を作成し、その基板の金蒸着部位に液体試料を滴下する方法が知られている。この方法では、テフロン(登録商標)とこのテフロン(登録商標)上に蒸着されている金との疎水性と親水性の違いにより、滴下された液体試料の液滴は蒸着された金を中心にして集結し、液滴を乾燥させると蒸着された金を中心に濃縮される。
従来から蛍光X線分析においても前記と同様な方法として、金属板や金属箔上に液体試料を点滴し、点滴した液滴を乾燥させた金属基板や金属箔を蛍光X線分析装置で測定する技術がある。この方法では、液体試料の成分に液体試料を点滴乾燥させる金属基板や金属箔と同じ成分が含まれていると分析ができない場合や正確な分析を行うことができない場合などの問題が生じる。また、例えば厚さが0.5μmの薄膜フィルム上に液体試料を点滴乾燥させて、この点滴乾燥痕に1次X線を照射して点滴乾燥痕から発生する蛍光X線を測定する蛍光X線分析方法がある。この方法では、測定成分と金属基板成分の問題は生じないが、点滴した液滴が薄膜フィルム上で広がったり、所望の部位に留まらず所望の極小な領域に点滴することが困難である。
そこで、これらの問題を解決するために、厚さが0.5〜0.6μmのポリマーフィルム上の領域に、カーボン蒸着膜を形成し、カーボン蒸着膜が形成された点滴フィルム上のカーボン蒸着膜部位に液体試料を点滴した後、乾燥させてから蛍光X線分析する蛍光X線分析方法がある(特許文献1)。この点滴フィルム91は実際の蛍光X線分析に適用されるためには、図9に示すように環状の支持枠94に張架され、点滴フィルム体91Sとして完成され、この点滴フィルム体91Sのカーボン蒸着膜部位93に液体試料を点滴乾燥して測定される。
しかし、試料によって支持枠94に張架され点滴フィルム91が均一な平面状態でなく、凹凸や面だれが生じていると、試料間で蛍光X線強度が変動し精度のよい分析をすることができない。特に、全反射蛍光X線分析においては、試料の高さが変動すると全反射条件を満たすことができなくなり測定ができなくなったり、バックグラウンドが異常に高くなり測定が困難になったりする。このため、この点滴フィルム91を全反射蛍光X線分析に使用することはできい。
特開2003−90810号公報
本発明は前記従来の問題に鑑みてなされたもので、微量の液体試料を所定の部位に精度よく試料点滴基板上に点滴乾燥させている全反射蛍光X線分析用試料点滴基板および全反射蛍光X線分析装置ならびに全反射蛍光X線分析方法を提供し、液体試料の全反射蛍光X線分析の感度と精度を向上させることを目的とする。
前記目的を達成するために、本発明の第1構成にかかる全反射蛍光X線分析用試料点滴基板は液体試料を点滴乾燥させるための試料点滴基板であって、表面が疎水性であり、鏡面研磨の平面度を有する平面基板と、前記平面基板の表面の所定の部位に、合成樹脂を溶剤にて所定の濃度に溶解された合成樹脂溶液の所定量を点滴乾燥された合成樹脂点滴乾燥痕とを有する。
本発明の第1構成においては、平面基板は、例えば幅10〜30mm、長さ40〜80mm、厚み0.5〜5mmの矩形状のものや直径20〜50mmの円板状などのガラス板、シリコンウエハ、石英板の表面が鏡面研磨され、その上に厚さ5nmのシリコンコートやテフロン(登録商標)コートを施し、ガラス板や石英板の表面を疎水性にされている。
合成樹脂点滴乾燥痕は、合成樹脂を有機溶剤にて溶解して、例えば所定の濃度である0.01〜5%重量の合成樹脂溶液を作成し、この合成樹脂溶液をマイクロピペットで所定量である1〜3μl採取して、前記平面基板の所定の部位に点滴し、乾燥させて形成される。合成樹脂溶液の濃度は0.02〜1.0%重量が好ましい。平面基板に点滴される合成樹脂溶液量は0.5〜3μlが好ましく、形成される合成樹脂点滴痕の大きさは1φ以下の大きさが好ましい。合成樹脂溶液の濃度も高くなると形成される合成樹脂点滴乾燥痕からのバックグラウンドが高くなる。また、平面基板に点滴される合成樹脂溶液量が多くなると形成される合成樹脂点滴乾燥痕の厚さが厚くなり、全反射蛍光X線分析を行った場合、バックグラウンドが高くなり、分析の正確さや精度が低下する。合成樹脂溶液を点滴する平面基板の所定の部位は基板の表面の中心位置が好ましい。
合成樹脂点滴乾燥痕の形成には、全反射蛍光X線分析に影響を及ぼす不純物を含有していない合成樹脂や溶剤が使用され、また形成された合成樹脂点滴乾燥痕が親水性を有する合成樹脂や溶剤が使用される。例えば、合成樹脂としてはアクリル樹脂が好ましく、有機溶剤としては、1−メトキシ−2−プロパノール(プロピレングリコールモノメチルエーテルやエーテル)とトルエンの混合溶剤が好ましい。
本発明の第1構成の全反射蛍光X線分析用試料点滴基板によれば、全反射蛍光X線分析に影響を及ぼす不純物を含有していない合成樹脂や溶剤が使用され、また形成された合成樹脂点滴乾燥痕が親水性を有する合成樹脂や溶剤が使用されているので、微量の液体試料を形成された合成樹脂点滴乾燥痕の上に微量の液体試料を点滴すると合成樹脂点滴乾燥痕の親水性により、液体試料が合成樹脂点滴乾燥痕を中心とする位置に集結させることができ、試料位置の変動が少なく検出する蛍光X線強度の変動が少なくなる。また、不純物を含有しておらず、合成樹脂点滴乾燥痕の厚みが例えば1μmと極薄く全反射蛍光X線分析のバックグラウンドの発生がほとんどなく、前記の蛍光X線強度の変動が少なくなることと相まって、正確な精度のよい全反射蛍光X線分析を行うことができる。また、液体試料が集結するので、絞り込んだ1次X線を照射することによって励起効率を上げることができ、分析感度を向上させることができる。
本発明の第2構成にかかる全反射蛍光X線分析装置は、第1構成に係る全反射蛍光X線分析用試料点滴基板と、前記全反射蛍光X線分析用試料点滴基板の合成樹脂点滴乾燥痕上に点滴された液体試料を乾燥させる乾燥手段と、前記乾燥手段によって乾燥された試料乾燥痕に1次X線を照射するX線源と、前記1次X線が照射される前記試料乾燥痕から発生する蛍光X線を検出する検出器とを有する。
本発明の第2構成においては、全反射蛍光X線分析用試料点滴基板は第1構成にかかる試料点滴基板と同一である。全反射蛍光X線分析用試料点滴基板の合成樹脂点滴乾燥痕上に点滴された液体試料を乾燥させる乾燥手段は、全反射蛍光X線分析用試料点滴基板の合成樹脂点滴乾燥痕上に所定量の液体試料を点滴し、点滴された液体試料をマイルドに乾燥させる機構であり、全反射蛍光X線分析用試料点滴基板を所定の位置に載置する基板載置台、液体試料を点滴するためのマイクロピペット、マイクロピペット保持部、全反射蛍光X線分析用試料点滴基板上に点滴された液体試料を乾燥させる乾燥部、乾燥部の乾燥温度を制御する乾燥制御部およびこれらを収納するケースとで構成されている。マイクロピペットはマイクロシリンジなどの他の微量液体試料採取器具でもよい。乾燥部は、例えば電球やニクロム線などのヒータおよびこれらと電動ファンや空気吸引ポンプなどと組み合わせてもよい。
前記乾燥手段によって乾燥された試料乾燥痕に1次X線を照射するX線源は、蛍光X線分析で一般的に使用されるW、Cu、CrなどのX線管である。前記1次X線が照射される前記試料乾燥痕から発生する蛍光X線を検出する検出器は、全反射X線分析で使用されるSSDやSDDなどの半導体検出器である。
本発明の第2構成によれば、前記の第1構成にかかる全反射蛍光X線分析用試料点滴基板と、前記全反射蛍光X線分析用試料点滴基板の合成樹脂点滴乾燥痕上に点滴された液体試料を乾燥させる乾燥手段とを有する全反射蛍光X線分析装置であるので、形成された合成樹脂点滴乾燥痕の上に微量の液体試料を点滴すると合成樹脂点滴乾燥痕の親水性により、合成樹脂点滴乾燥痕を中心とする位置に集結させることができる。この点滴液体試料を乾燥手段によってマイルドに乾燥することにより、合成樹脂点滴乾燥痕の位置を中心に集結して試料乾燥痕を形成することができ、測定試料位置の変動が少なく検出する蛍光X線強度の変動が少なくなる。また、合成樹脂点滴乾燥痕は不純物を含有しておらず、厚みが1μmと極薄く全反射蛍光X線分析のバックグラウンドの発生がほとんどなく、蛍光X線強度の変動が少なくなることと相まって、正確な精度のよい全反射蛍光X線分析を行うことができる。
本発明の第3構成にかかる全反射蛍光X線分析方法は、第1構成にかかる全反射蛍光X線分析用試料点滴基板の合成樹脂点滴乾燥痕上に液体試料の所定量を点滴し、点滴された前記液体試料を乾燥させ試料乾燥痕を生成し、前記試料乾燥痕が生成された前記蛍光X線分析用試料点滴基板を全反射蛍光X線分析装置の基板載置台にセットし、測定を開始して前記試料乾燥痕から発生する蛍光X線の強度を測定し、前記液体試料中に含有される成分を分析する。
本発明の第3構成によれば、前記の第1構成にかかる全反射蛍光X線分析用試料点滴基板を用いて全反射蛍光X線分析を行う方法であるので、本発明の第1構成と同様の作用、効果を得ることができる。
以下、本発明の第1実施形態である全反射蛍光X線分析用試料点滴基板について説明する。図1に示す平面基板15Kは、厚みが1.3mm、26×76mmの矩形の表面が鏡面研磨された透明なガラス板であり、その表面に厚さ5nmのシリコンコートが施されている。このシリコンコートにより平面基板15Kは疎水性を有している。この平面基板15Kの表面の所定の部位に、図3に示す合成樹脂点滴乾燥痕形成具50のマイクロピペット61を用いて、図1に示すように合成樹脂溶液40を点滴し、図2に示すように乾燥させて合成樹脂点滴乾燥痕41を形成する。
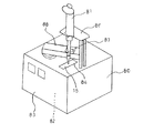
図3に示すように、合成樹脂点滴乾燥痕形成具50は平面基板台51、マイクロピペット保持具60およびマイクロピペット61で構成されている。平面基板台51は、平面基板15Kの所定の部位に合成樹脂溶液40を点滴するためのセット溝である平面基板セット溝52、平面基板セット溝52内で平面基板15Kの位置決めをするための位置合わせエッジ55、平面基板15Kの所定の部位に合成樹脂溶液40を点滴するための点滴位置マーク53、マイクロピペット保持具60の支持柱66、67、68の脚と嵌合する嵌合孔57、58、59を4組有している。点滴位置マーク53は、例えば、0.5mmドリル刃でマーキングされている。
マイクロピペット保持具60は、上部保持板62、下部保持板64および支持柱66、67、68で構成され、上部保持板62および下部保持板64は、それぞれマイクロピペット61を保持するための上部保持孔63および下部保持孔65を有している。マイクロピペット61は市販されている0.5〜10μlに容量が可変できるピペットである。1、2、3μlと採取容量が固定型のピペットでもよい。合成樹脂点滴乾燥痕形成具50の材料はマイクロピペット61を除き、ステンレスである。
平面基板15Kと合成樹脂点滴乾燥痕形成具50を用いて、全反射蛍光X線分析用試料点滴基板15を形成する行程について説明する。合成樹脂であるアクリル樹脂の粉末100mg(ミリグラム)をスパチュラで採取し、電子天秤で秤量後、ガラスビーカに採取し、溶剤であるトルエン5mlをホールピペットで秤量して、このガラスビーカに加え、アクリル樹脂粉末を溶解する。アクリル樹脂が溶解しているこの溶液に1−メトキシ−2−プロパノール(プロピレングリコールモノメチルエーテル、PGMME)を20ml(ミリリットル)を加え、全量25mlの溶液とする。この溶液をビーカに1ml秤量し、1−メトキシ−2−プロパノールを9ml加えて10倍に希釈して、0.04%重量の合成樹脂溶液であるアクリル樹脂溶液40を作成する。合成樹脂点滴乾燥痕形成具50の4つの平面基板セット溝52に4枚の平面基板15Kをそれぞれセットして、80℃に加熱されたホットプレート(図示なし)に載せる。上方にマイクロピペット保持具60がセットされている平面基板セット溝52の位置合わせエッジ55と、近接している平面基板15Kの1つの角とを、平面基板15Kを平面基板セット溝52の底に沿ってスライドさせて合わせる。
前工程で作成した0.04%重量のアクリル樹脂溶液40をマイクロピペット61で、例えば2μl採取し、図3に示すように、マイクロピペット61の下部を下部保持孔65に合わせ、次にマイクロピペット61の上部を上部保持孔63に合わせ、マイクロピペット61の当接部611と上部保持板62の上面とを当接させ、マイクロピペット61のチップの先端と点滴位置マーク53とがXY平面で合致する位置に合わせ、マイクロピペット61の押出ボタン612を押して、アクリル樹脂溶液40を平面基板15K上に点滴する。平面基板台51がホットプレートによって80℃に加熱されているので、点滴されたアクリル樹脂溶液は直ぐに乾燥し、合成樹脂点滴乾燥痕となり、全反射蛍光X線分析用試料点滴基板15が形成される。
残りの3箇所の平面基板セット溝52にセットされている3枚の平面基板15Kも前記と同様の行程により全反射蛍光X線分析用試料点滴基板15に形成される。このように点滴位置マーク53に合わせてアクリル樹脂溶液40が点滴されるので、平面基板15Kの所定の位置である中心位置に合成樹脂点滴乾燥痕41が形成される。本実施形態では、平面基板15Kの中心位置に合成樹脂点滴乾燥痕41を形成したが、合成樹脂点滴乾燥痕形成具50を変形することによりその他の所定の部位に形成することができる。また、本実施形態では、平面基板セット溝52が4個であったが、1個でも10個、30個などであってもよい。
本実施形態では、合成樹脂としてアクリル樹脂、溶剤としてトルエンおよび1−メトキシ−2−プロパノールを用いたが、全反射蛍光X線分析用試料点滴基板に生成される合成樹脂点滴乾燥痕が親水性を示し、液体試料が合成樹脂点滴乾燥痕を中心とする位置に集結させることができる合成樹脂と溶剤の組み合わせであれば、アクリル樹脂やトルエンおよび1−メトキシ−2−プロパノールでなくてもよい。
以下、本発明の第2実施形態の全反射蛍光X線分析装置について図4にしたがって説明する。この全反射蛍光X線分析装置は特願2006−207420号に記載されている全反射蛍光X線分析装置に、本発明の第1実施形態にかかる全反射蛍光X線分析用試料点滴基板15、および前記全反射蛍光X線分析用試料点滴基板の合成樹脂点滴乾燥痕41上に点滴された液体試料を乾燥させる乾燥手段8を備えた装置である。本明細書では、特願2006−207420号に記載されている全反射蛍光X線分析装置部分を分析部1という。また、特願2006−207420号の明細書に記載されている全事項は本明細書に引用されたものとして取り扱う。
乾燥手段8は、全反射蛍光X線分析用試料点滴基板15を載置する基板乾燥載置台84、液体試料を点滴するためのマイクロピペット81、マイクロピペット81を所定の位置に保持するマイクロピペット保持上部86、マイクロピペット保持下部87、全反射蛍光X線分析用試料点滴基板15上に点滴された液体試料を乾燥させる乾燥部82、乾燥部82の乾燥温度を制御する乾燥制御部83、これらを収納するケース80および乾燥部82の放射熱の発散を防ぐためのカバー88で構成されている。マイクロピペット81は10〜100μlに容量が可変できる。乾燥部82は、例えば100W(ワット)電球82である。乾燥制御部83は、液体試料の乾燥温度を制御するために電球82に流す電力と通電時間を制御する。
分析部1は、X線源2であるX線管11と、例えば累積多層膜で構成される分光素子13と、測定部3とで構成されており、X線管11からのX線12を、分光素子13で単色化し、一次X線14として、液体試料が乾燥手段8によって全反射蛍光X線分析用試料点滴基板15の合成樹脂点滴乾燥痕41上に点滴され、乾燥された試料乾燥痕72に照射し、試料乾燥痕72から発生する蛍光X線16を、例えば半導体検出器(SSDまたはSDD)である検出器17で検出し、液体試料である試料乾燥痕72に含有されている成分を定量・定性分析する。このとき、基板載置台30に載せられた全反射蛍光X線分析用試料点滴基板15の分析面15aの裏面15bが押圧手段20によって押圧され、分析面15aが、当接手段25の保持部26に保持されている当接部であるアルミナ製のセラミックスボール27に当接し、全反射蛍光X線分析用試料点滴基板15が所定の位置に設定される。
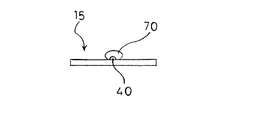
次に、本実施形態の装置の動作について説明する。図5に示すように、全反射蛍光X線分析用試料点滴基板15を乾燥手段8の基板乾燥載置台84に載置する。液体試料を、例えば20μl採取したマイクロピペット81がマイクロピペット保持下部87とマイクロピペット保持上部86の所定の位置に合わせてセットされ、全反射蛍光X線分析用試料点滴基板15の合成樹脂乾燥痕41上に液体試料70が点滴される。次に、乾燥制御部83でケース内に収納されている電球82に通電する電力と通電時間が
60W・4分間に設定され、電球82の放射熱により液体試料が加熱される。液体試料70は加熱乾燥されると、試料乾燥痕の形成の第1行程を示す図6、第2行程を示す図7および第3行程を示す図8に示すように液滴70が徐々に小さくなり凝縮され液滴71となり、乾燥が終了すると約2φの試料乾燥痕72が形成される。電球82に通電する電力と通電時間を30W・4分間以上に設定して加熱乾燥する場合もある。
液体試料70が点滴された全反射蛍光X線分析用試料点滴基板15を乾燥する加熱温度や加熱時間は、採取する液体試料量や液性などの条件により適宜設定すればよい。なお、図2、6、7および8に示した合成樹脂乾燥痕、液体試料の液滴および試料乾燥痕の大きさは図面上で明確に示すために、実際の大きさより大きく表されている。
図4に示すように、試料乾燥痕72が形成された全反射蛍光X線分析用試料点滴基板15を、基板載置台30の基板載置溝31にセットして、その後、測定を開始すると、駆動制御部によって駆動された押圧手段20が基板載置台30の押圧手段通過孔32を通過し、基板載置溝31にセットされた全反射蛍光X線分析用試料点滴基板15の裏面15bを押圧しながらガラス基板の分析面15aをセラミックスボール27に当接させると押圧手段20を駆動しているステッピングモータが停止し、全反射蛍光X線分析用試料点滴基板15が所定の位置に設定され、その位置で保持される。
全反射蛍光X線分析用試料点滴基板15が所定の位置に保持されると、全反射蛍光X線分析用試料点滴基板15にX線管11からのX線12を分光素子13で単色化した1次X線14が照射され、全反射蛍光X線分析用試料点滴基板15の試料点滴乾燥痕72から発生した蛍光X線を検出器17で検出し、試料中に含有する成分を分析する。測定が終了すると押圧手段20を駆動しているステッピングモータが回転を始め、押圧手段20が下降し、全反射蛍光X線分析用試料点滴基板15が基板載置溝31に収容される。順次、同様の操作で分析目的個数の試料の分析を行う。
本実施形態の全反射蛍光X線分析装置で分析すると、合成樹脂点滴乾燥痕の親水性により、液体試料が試料乾燥痕72として合成樹脂点滴乾燥痕を中心とする位置に集結しているので、測定試料位置の変動が少なく検出する蛍光X線強度の変動が少なくなる。また、合成樹脂点滴乾燥痕は不純物を含有しておらず、厚みが1μmと極薄く全反射蛍光X線分析のバックグラウンドの発生がほとんどなくなる。従来の全反射蛍光X線分析装置を用いて、合成樹脂点滴乾燥痕が形成されていないシリコンコートガラス基板に液体試料を点滴して測定した場合の10回の繰り返し変動係数は15%であったが、本実施形態の全反射蛍光X線分析装置を用いて、全反射蛍光X線分析用試料点滴基板に液体試料を点滴して測定した場合の10回の繰り返し変動係数は8%であり、分析精度が大きく向上した。
次に、本発明の第3実施形態の全反射蛍光X線分析方法について説明する。マイクロピペットで液体試料を、例えば20μl採取し、本発明の第1実施形態の全反射蛍光X線分析用試料点滴基板15の合成樹脂点滴乾燥痕41上に点滴する。点滴された液体試料70は図6に示すように、合成樹脂点滴乾燥痕41の上に盛り上がった形状になる。次に、この全反射蛍光X線分析用試料点滴基板15を乾燥させる。乾燥はこの全反射蛍光X線分析用試料点滴基板15を取り囲んだヒータなどで加熱して乾燥させると、前記した図6、7および8に示すように、盛り上がった液体試料の液滴70が徐々に小さく凝縮し液滴71となり、乾燥が終了すると約2φの試料乾燥痕72が生成される。
試料乾燥痕72が生成された全反射蛍光X線分析用試料点滴基板15を全反射蛍光X線分析装置の基板載置台にセットし、測定を開始して試料乾燥痕72から発生する蛍光X線の強度を測定し、試料乾燥痕72中に含有される成分を分析する。
本発明の第1実施形態である全反射蛍光X線分析用試料点滴基板を形成する説明図である。 同形成された全反射蛍光X線分析用試料点滴基板の斜視図である。 同全反射蛍光X線分析用試料点滴基板を形成するための合成樹脂点滴乾燥痕形成具の概略斜視図である。 本発明の第2実施形態である全反射蛍光X線分析装置の概略図である。 同全反射蛍光X線分析装置の乾燥手段の概略斜視図である。 同全反射蛍光X線分析装置での試料乾燥痕の形成の第1行程を示す図である。 同第2行程を示す図である。 同第3行程を示す図である。 従来技術の点滴フイルム体の断面図である。
符号の説明
2 X線源
8 乾燥手段
14 1次X線
15 全反射蛍光X線分析用試料点滴基板
15K 平面基板
16 蛍光X線
17 検出器
30 基板載置台
41 合成樹脂点滴乾燥痕
70 液体試料
72 試料乾燥痕

Claims (4)

  1. 液体試料を点滴乾燥させるための試料点滴基板であって、
    表面が鏡面研磨され、その上に疎水性のシリコンコートまたはテフロン(登録商標)コートを施された平面基板と、
    前記平面基板の表面の所定の部位に、合成樹脂を有機溶剤にて所定の濃度に溶解された合成樹脂溶液の所定量を点滴乾燥された直径1mm以下の大きさで親水性の合成樹脂点滴乾燥痕と、
    を有する全反射蛍光X線分析用試料点滴基板。
  2. 請求項1において、
    前記合成樹脂がアクリル樹脂である全反射蛍光X線分析用試料点滴基板。
  3. 請求項1または2に記載の全反射蛍光X線分析用試料点滴基板と、
    前記全反射蛍光X線分析用試料点滴基板の合成樹脂点滴乾燥痕上に点滴された液体試料を乾燥させる乾燥手段と、
    前記乾燥手段によって乾燥された試料乾燥痕に1次X線を照射するX線源と、
    前記1次X線が照射される前記試料乾燥痕から発生する蛍光X線を検出する検出器と、
    を有する全反射蛍光X線分析装置。
  4. 請求項1または2に記載の全反射蛍光X線分析用試料点滴基板の合成樹脂点滴乾燥痕上に液体試料の所定量を点滴し、
    点滴された前記液体試料を乾燥させ試料乾燥痕を生成し、
    前記試料乾燥痕が生成された前記蛍光X線分析用試料点滴基板を全反射蛍光X線分析装置の基板載置台にセットし、
    測定を開始して前記試料乾燥痕から発生する蛍光X線の強度を測定し、
    前記液体試料中に含有される成分を分析する全反射蛍光X線分析方法。
JP2006304082A 2006-11-09 2006-11-09 全反射蛍光x線分析用試料点滴基板および全反射蛍光x線分析装置ならびに全反射蛍光x線分析方法 Expired - Fee Related JP4537367B2 (ja)

Priority Applications (1)

Application Number Priority Date Filing Date Title
JP2006304082A JP4537367B2 (ja) 2006-11-09 2006-11-09 全反射蛍光x線分析用試料点滴基板および全反射蛍光x線分析装置ならびに全反射蛍光x線分析方法

Applications Claiming Priority (1)

Application Number Priority Date Filing Date Title
JP2006304082A JP4537367B2 (ja) 2006-11-09 2006-11-09 全反射蛍光x線分析用試料点滴基板および全反射蛍光x線分析装置ならびに全反射蛍光x線分析方法

Publications (2)

Publication Number Publication Date
JP2008122144A JP2008122144A (ja) 2008-05-29
JP4537367B2 true JP4537367B2 (ja) 2010-09-01

Family

ID=39507061

Family Applications (1)

Application Number Title Priority Date Filing Date
JP2006304082A Expired - Fee Related JP4537367B2 (ja) 2006-11-09 2006-11-09 全反射蛍光x線分析用試料点滴基板および全反射蛍光x線分析装置ならびに全反射蛍光x線分析方法

Country Status (1)

Country Link
JP (1) JP4537367B2 (ja)

Families Citing this family (1)

* Cited by examiner, † Cited by third party
Publication number Priority date Publication date Assignee Title
JP5846469B2 (ja) * 2008-09-02 2016-01-20 国立大学法人京都大学 全反射蛍光x線分析装置及び全反射蛍光x線分析方法

Family Cites Families (14)

* Cited by examiner, † Cited by third party
Publication number Priority date Publication date Assignee Title
JPH0285350U (ja) * 1988-12-20 1990-07-04
JPH0599813A (ja) * 1991-10-05 1993-04-23 Horiba Ltd マイクロ分光分析方法およびその方法に用いるサンプル台
JPH06174615A (ja) * 1992-12-01 1994-06-24 Pure Retsukusu:Kk 分析用試料板
JPH0755733A (ja) * 1993-08-18 1995-03-03 Rigaku Ind Co 蛍光x線分析用の試料保持坦体および蛍光x線分析方法
JP3273098B2 (ja) * 1994-05-17 2002-04-08 理学電機工業株式会社 X線分析法における試料調整法
JP2000155080A (ja) * 1998-11-20 2000-06-06 Natl Res Inst For Metals 蛍光x線分析用点滴ろ紙具
JP2002022684A (ja) * 2000-07-11 2002-01-23 Toshiba Corp 蛍光x線分析用基板および蛍光x線分析用標準試料
JP2002277359A (ja) * 2001-03-19 2002-09-25 Rigaku Industrial Co 蛍光x線分析用の油試料の調製法
JP4143399B2 (ja) * 2002-12-25 2008-09-03 株式会社堀場製作所 全反射蛍光x線分析装置および全反射蛍光x線を用いた分析方法
JP2004333364A (ja) * 2003-05-09 2004-11-25 Matsushita Electric Ind Co Ltd 全反射蛍光x線分析方法および分析装置
EP1650559B1 (en) * 2003-08-01 2007-09-19 Rigaku Industrial Corporation Sample holder for X-ray fluorescence comprising a thin liquid absorbent element
JP2005062134A (ja) * 2003-08-20 2005-03-10 Horiba Ltd 試料の前処理方法および試料保持部材
JP3823156B2 (ja) * 2003-10-31 2006-09-20 理学電機工業株式会社 蛍光x線分析用液体試料の調整方法
JP4522739B2 (ja) * 2004-03-31 2010-08-11 株式会社堀場製作所 液体試料の濃縮方法及び濃縮用保持台とそれを用いた微量元素分析方法

Also Published As

Publication number Publication date
JP2008122144A (ja) 2008-05-29

Similar Documents

Publication Publication Date Title
US6472671B1 (en) Quantified fluorescence microscopy
CN103008038B (zh) 双极电极-纸基微流控的芯片及其制备方法
JPH04506999A (ja) 表面改良型ラマン分光システム用装置及び微小基体とそのための製作方法
JP3179175B2 (ja) 分析前処理方法
US11781989B2 (en) Apparatuses for analyzing the optical properties of a sample
CN103968946B (zh) 一种表面增强拉曼二维相关光谱的采集方法
CN110887710A (zh) 基于激光诱导击穿光谱技术的水体中元素分析的制样方法
CN110646405A (zh) 一种用于拉曼光谱快速分析的高通量检测装置及其检测方法
JP4537367B2 (ja) 全反射蛍光x線分析用試料点滴基板および全反射蛍光x線分析装置ならびに全反射蛍光x線分析方法
JP2004028787A (ja) 全反射蛍光x線分析方法、全反射蛍光x線分析前処理装置及び全反射蛍光x線分析装置
JP2008058296A (ja) 全反射蛍光x線分析装置
Miller et al. Automated printing technology as a new tool for liquid sample preparation for micro x‐ray fluorescence (MXRF)
JP4967830B2 (ja) 試料分析法および装置
WO2007026750A1 (ja) マイクロチップ並びにそれを用いた分析方法及び装置
JP6727459B1 (ja) 分析方法および試料作製装置
JPH10253556A (ja) 分析用試料作製方法
JP2001091504A (ja) 半導体基板表面の不純物の分析方法
US6864675B2 (en) Mark forming method, mark forming apparatus and analyzing apparatus
Choi et al. Array-type microchip sampling to determine trace metal in photoresist used in semiconductor manufacturing process
JP4339997B2 (ja) 分析用標準試料のデータ取得方法、並びにこの標準試料を用いたx線分析方法および装置
CN119534500A (zh) 单晶x射线结构解析装置和单晶x射线结构解析方法
JP2003090810A (ja) 蛍光x線分析用点滴フイルムおよび蛍光x線分析方法
US20240395521A1 (en) Method and Apparatus for Rapid Mass Spectrometric Calibration
Cieśla et al. Thin layer chromatography
JP2523246Y2 (ja) 全反射蛍光x線分析装置

Legal Events

Date Code Title Description
A711 Notification of change in applicant

Free format text: JAPANESE INTERMEDIATE CODE: A712

Effective date: 20090113

A131 Notification of reasons for refusal

Free format text: JAPANESE INTERMEDIATE CODE: A131

Effective date: 20100202

A521 Request for written amendment filed

Free format text: JAPANESE INTERMEDIATE CODE: A523

Effective date: 20100326

A131 Notification of reasons for refusal

Free format text: JAPANESE INTERMEDIATE CODE: A131

Effective date: 20100427

A521 Request for written amendment filed

Free format text: JAPANESE INTERMEDIATE CODE: A523

Effective date: 20100526

TRDD Decision of grant or rejection written
A01 Written decision to grant a patent or to grant a registration (utility model)

Free format text: JAPANESE INTERMEDIATE CODE: A01

Effective date: 20100615

A01 Written decision to grant a patent or to grant a registration (utility model)

Free format text: JAPANESE INTERMEDIATE CODE: A01

A61 First payment of annual fees (during grant procedure)

Free format text: JAPANESE INTERMEDIATE CODE: A61

Effective date: 20100617

FPAY Renewal fee payment (event date is renewal date of database)

Free format text: PAYMENT UNTIL: 20130625

Year of fee payment: 3

R150 Certificate of patent or registration of utility model

Free format text: JAPANESE INTERMEDIATE CODE: R150

FPAY Renewal fee payment (event date is renewal date of database)

Free format text: PAYMENT UNTIL: 20140625

Year of fee payment: 4

R250 Receipt of annual fees

Free format text: JAPANESE INTERMEDIATE CODE: R250

R250 Receipt of annual fees

Free format text: JAPANESE INTERMEDIATE CODE: R250

R250 Receipt of annual fees

Free format text: JAPANESE INTERMEDIATE CODE: R250

R250 Receipt of annual fees

Free format text: JAPANESE INTERMEDIATE CODE: R250

LAPS Cancellation because of no payment of annual fees