JP4530487B2 - 多チャンネル光通信システムおよびそのための光送信装置 - Google Patents

多チャンネル光通信システムおよびそのための光送信装置 Download PDF

Info

Publication number
JP4530487B2
JP4530487B2 JP2000170514A JP2000170514A JP4530487B2 JP 4530487 B2 JP4530487 B2 JP 4530487B2 JP 2000170514 A JP2000170514 A JP 2000170514A JP 2000170514 A JP2000170514 A JP 2000170514A JP 4530487 B2 JP4530487 B2 JP 4530487B2
Authority
JP
Japan
Prior art keywords
light
condition control
channel
total reflection
transmission signal
Prior art date
Legal status (The legal status is an assumption and is not a legal conclusion. Google has not performed a legal analysis and makes no representation as to the accuracy of the status listed.)
Expired - Fee Related
Application number
JP2000170514A
Other languages
English (en)
Other versions
JP2001298420A (ja
Inventor
俊弘 津村
Current Assignee (The listed assignees may be inaccurate. Google has not performed a legal analysis and makes no representation or warranty as to the accuracy of the list.)
Individual
Original Assignee
Individual
Priority date (The priority date is an assumption and is not a legal conclusion. Google has not performed a legal analysis and makes no representation as to the accuracy of the date listed.)
Filing date
Publication date
Application filed by Individual filed Critical Individual
Priority to JP2000170514A priority Critical patent/JP4530487B2/ja
Priority to US09/775,514 priority patent/US7054563B2/en
Publication of JP2001298420A publication Critical patent/JP2001298420A/ja
Application granted granted Critical
Publication of JP4530487B2 publication Critical patent/JP4530487B2/ja
Anticipated expiration legal-status Critical
Expired - Fee Related legal-status Critical Current

Links

Images

Classifications

    • HELECTRICITY
    • H04ELECTRIC COMMUNICATION TECHNIQUE
    • H04BTRANSMISSION
    • H04B10/00Transmission systems employing electromagnetic waves other than radio-waves, e.g. infrared, visible or ultraviolet light, or employing corpuscular radiation, e.g. quantum communication
    • H04B10/40Transceivers

Landscapes

  • Physics & Mathematics (AREA)
  • Electromagnetism (AREA)
  • Engineering & Computer Science (AREA)
  • Computer Networks & Wireless Communication (AREA)
  • Signal Processing (AREA)
  • Mechanical Light Control Or Optical Switches (AREA)
  • Optical Communication System (AREA)

Description

【0001】
【発明の属する技術分野】
この発明は光を媒体として用いる光通信システムに関し、特に、コーナキューブに代表される再帰的反射装置を用いた多チャンネル光通信システムおよびそのための光送信装置に関する。
【0002】
【従来の技術】
さまざまな法律の制約を受ける電波を用いた通信に代えることによって、電波通信のような法律上の制約を受けない光を用いた通信システムに関する研究が行なわれている。この様な光通信システムの一例が「コーナキューブにおける減衰全反射を用いた光強度変調の高速化について」(津村俊弘他、信学技報SANE94−91、SAT94−91、pp.111−114)に開示されている。
【0003】
ここに開示されている通信システムは、レーザを利用した双方向空間光通信システムであって、一方にはレーザ発振器を、他方にはコーナキューブを設ける。レーザ発振器から出射されるレーザ光を外部信号により変調することによって受光側では受光したレーザ光から信号を復調することができる。
【0004】
この入射した光をコーナキューブはレーザ発振器側に反射する。この際コーナキューブの特性として、ある方向から入射した光は同一方向に反射する。したがって反射光は必ずレーザ発振器のごく近傍に達する。コーナキューブの1面に、このコーナキューブ面の反射を全反射とするか、無反射とするかによって反射光を変調するための変調器を設ける。この変調器を外部信号で駆動することにより反射光上に情報を載せることができる。レーザ発振器側ではこの反射光を受光する受光センサを設け、この受光センサの出力から、コーナキューブ側から送信されてくる信号を復調することができる。
【0005】
【発明が解決しようとする課題】
しかしながら、上記した通信システムでは、双方向の光通信が行なえるものの、送受信に対してそれぞれ1チャンネルの割当てしかできないという問題がある。特に画像情報などを光通信により伝送しようとする場合、情報量が非常に多くなるので、1チャンネルのみを用いて行なうと1シンボル当りの信号区間が短くなり、特に光電変換素子を用いる光通信の場合にはその復調が困難となるという問題がある。
【0006】
また光を用いた多チャンネル通信システムのための媒体として、光ファイバを用いたものがある。光ファイバを用いると効率よく光通信が行なえるが、光ファイバを広い地域にわたって張り巡らさなければならず、インフラストラクチャを構築するために莫大な資金が必要となるという問題がある。また、移動体との相互通信、および移動体と移動体との間の相互空間通信においては、光ファイバは有効ではない。
【0007】
それゆえにこの発明の目的は、安価に大容量の光通信を行なうことができる多チャンネル光通信システムおよびそのための光送信装置を提供することである。
【0008】
【課題を解決するための手段】
発明の第1の局面にかかる多チャンネル光通信システムは、入射する光を、入射方向と同一方向に反射する再帰反射手段と、再帰反射手段によって反射される光を、多チャンネルの伝送信号に基づいて変調するための変調手段とを含む光送信装置と、光を出射する光出射手段と、光出射手段から出射され再帰反射手段によって反射された光から、変調手段によって変調された多チャンネルの伝送信号を復調するための復調手段とを含む光受信装置とを含む多チャンネル光通信システムである。変調手段は、再帰反射手段の反射面上に、多チャンネルの伝送信号に対応して配列され、各々独立に光の反射を制御することが可能な複数個の全反射条件制御素子と、全反射条件制御素子の各々を、多チャンネルの伝送信号の内、各反射条件制御素子に対応するチャンネルの伝送信号に基づいて独立に制御するための駆動手段とを含み、復調手段は、反射された光を受光するための、複数個の全反射条件制御素子の配列に対応して配列された複数個の受光素子を有する受光手段と、複数個の受光素子の出力から、多チャンネルの伝送信号の内で各受光素子に対応する全反射条件制御素子に対応するチャンネルの伝送信号をそれぞれ再構築するための手段とを含む。
【0009】
複数個の全反射条件制御素子がそれぞれ独立に光の反射を制御することができる。したがって、これら複数個の全反射条件制御素子の反射をそれぞれ別々の情報により制御することで、光送信装置から光受信装置に向けて、それぞれ別の情報により変調された光ビームの束として、信号を多チャンネルで送信することができる。多チャンネルで光通信を行なうので、シンボル期間を長くすることができ、光受信装置の受光手段では安定した光電変換を行なうことが可能になる。
【0014】
請求項に記載の発明にかかる多チャンネル光通信システムでは、全反射条件制御素子は、反射面上に配置され、透明カプセル中に封入された不透明な磁性体と、透明カプセル中の磁性体を磁力により移動させることにより全反射条件制御素子における光の反射率の分布を変化させるための磁力発生手段とを含む。
【0015】
不透明な磁性体の分布を磁力で変えることにより、反射面における全反射と無反射とを制御できる。反射時には全反射が行なわれるので、光の損失が少なく、伝送誤りのおこるおそれが比較的少ない安定した通信が行える。
【0016】
請求項に記載の発明にかかる多チャンネル光通信システムでは、全反射条件制御素子は、再帰反射手段の全反射面に光が入射する方向とは逆の方向から再帰反射手段の全反射面に臨むように配置され、特定の波長の光が照射されたことに応答して、全反射面に密着した第1の形状と、全反射面との間に空隙が形成された第2の形状との間で形状を変化させる光駆動素子を含み、光駆動素子に対して特定の波長の光を照射することにより、全反射面の反射が制御される。
【0017】
光によって全反射条件制御素子が駆動されるので、全反射条件制御素子に対して信号を送るための配線が不要となる。装置の構成が単純となり、全反射条件制御素子を小型化し、密度を高めることができる。そのため、利用できるチャンネル数が多くなる。
【0018】
本発明の他の局面にかかる多チャンネル光通信システムのための光送信装置は、入射する光を、入射方向と同一方向に反射する再帰反射手段と、再帰反射手段によって反射される光を、多チャンネルの伝送信号に基づいて変調するための変調手段とを含む光送信装置であって、変調手段は、再帰反射手段の反射面上に、多チャンネルの伝送信号に対応して配列され、各々独立に光の反射を制御することが可能な複数個の反射条件制御素子と、反射条件制御素子の各々を、多チャンネルの伝送信号の内で各反射条件制御素子に対応するチャンネルの伝送信号に基づいて独立に制御するための駆動手段とを含む。
【0019】
複数個の反射条件制御素子がそれぞれ独立に光の反射を制御することができる。したがって、これら複数個の反射条件制御素子の反射をそれぞれ別々の情報により制御することで、光送信装置から光受信装置に向けて、それぞれ別の情報により変調された光ビームの束として、信号を多チャンネルで送信することができる。多チャンネルで光通信を行なうので、シンボル期間を長くすることができ、光受信装置の受光手段では安定した光電変換を行なうことが可能になる。
【0028】
請求項に記載の発明にかかる多チャンネル光通信システムのための光送信装置では、反射条件制御素子は光反射面上に配置され、透明カプセル中に封入された不透明な磁性体と、透明カプセル中の磁性体を磁力により移動させることにより反射条件制御素子における光の反射率の分布を変化させるための磁力発生手段とを含む。
【0029】
不透明な磁性体の分布を磁力で変えることにより、反射面における全反射と無反射とを制御できる。反射時には全反射が行なわれるので、光の損失が少なく、伝送誤りのおこるおそれが比較的少ない安定した通信が行える。
【0030】
請求項に記載の発明にかかる多チャンネル光通信システムのための光送信装置では、反射条件制御素子は、再帰反射手段の反射面を構成する透明板の裏面に配置され、特定の波長の光が照射されたことに応答して、裏面に密着した第1の形状と、裏面との間に空隙が形成された第2の形状との間で形状を変化させる光駆動素子を含み、光駆動素子に対して特定の波長の光を照射することにより、透明板の裏面の反射が制御される。
【0031】
光によって反射条件制御素子が駆動されるので、反射条件制御素子に対して信号を送るための配線が不要となる。装置の構成が単純となり、反射条件制御素子を小型化し、密度を高めることができる。そのため、利用できるチャンネル数が多くなる。
【0036】
【発明の実施の形態】
第1の実施の形態
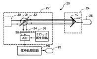
図1を参照して、この発明の第1の実施の形態に係る多チャンネル光学通信システム20は、光送信装置24および光受信装置22を含む。光送信装置24にはたとえばビデオカメラ25が接続される。光送信装置24はこのビデオカメラ25から受けた信号を光を用いて光受信装置22に伝送する。光受信装置22はこの光信号からビデオカメラ25の出力した映像信号を再生し信号処理回路26およびモニタ28に与えて表示する。
【0037】
光受信装置22は、やや広がりを持つ光束を光送信装置24に向けて出射するための光源30と、光源30の光路上に置かれ、光送信装置24側から反射してくる光を分岐するためのビームスプリッタ32と、ビームスプリッタ32によって分岐された光を受ける位置に配置されたCCD(固体撮像素子)34と、ビームスプリッタ32を中心軸周りに回転させることにより、ビームスプリッタ32で反射される光をCCD34の受光面上に導くためのステッピングモータ31と、CCD34の出力に基づいて、光送信装置24から送信されてくる信号中のクロック成分を再生するためのクロック再生回路36と、クロック再生回路36が再生するクロックに従ってCCD34が出力する信号を、クロック再生回路36の出力するクロック信号を逓倍した信号に従ってアナログ/デジタル変換するためのA/D(アナログ/デジタル)変換回路38とを含む。A/D変換回路38の出力は信号処理回路26に与えられ、モニタ28に表示される。
【0038】
光送信装置24は、1面が多数の画素に分割されたコーナキューブ40と、コーナキューブ40の上記した1面の各画素の反射/無反射をビデオカメラ25から与えられる映像信号に従って制御するための変調装置42とを含む。
【0039】
図2を参照して、コーナキューブ40は互いに垂直に組合された3つの反射面52、54および56を有する。これら反射面52、54および56のうちたとえば反射面52上が複数個の画素58に分割されている。各画素58は、変調装置42によって各画素ごとにその全反射/無反射が制御される。
【0040】
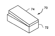
図4を参照して、図1に示す変調装置42は、図2に示される多数の画素58の配列と一致して配列された多数のデジタルマイクロミラーデバイス70を含む。各デジタルマイクロミラーデバイス70は、マイクロミラー74と、印加される電圧によってマイクロミラー74の方向を変化させるマイクロアクチュエータ72とを含む。たとえばデジタルマイクロミラーデバイス70に何ら電圧が印加されていない場合にはマイクロミラー74は図4に示されるようにマイクロアクチュエータ72と少し角度を持った方向を向き、デジタルマイクロミラーデバイス70に対して所定の電圧が印加されると図5に示されるようにマイクロミラー74はマイクロアクチュエータ72の上面に密着する。
【0041】
こうしたデジタルマイクロミラーデバイスについては「液晶より上?次世代ディスプレイの本命」(日経ビジネス、1999年11月15日号pp.60−64)に記載されている。
【0042】
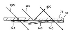
図6を参照して、反射面52は透明なガラス板76と、ガラス板76の裏面に配置された多数のデジタルマイクロミラーデバイス70(図4参照)とを含む。これらデジタルマイクロミラーデバイス70はいずれも、電圧が印加されているときにはマイクロミラーの反射面がガラス板76の裏面に密着し、電圧が印加されていないときにはマイクロミラー74がガラス板76の裏面から離れるような位置に配置されているものとする。マイクロミラー74の屈折率がガラス板76のそれと異なっていると、図6に示すように、電圧が印加されていないデジタルマイクロミラーデバイス70に対応する位置(マイクロミラー74Aおよび74C)では、光80Aおよび80Cは反射せず、電圧が印加されるデジタルマイクロミラーデバイスに対応する反射面74Bの位置では光80Bは反射される。
【0043】
したがって図2に示されるコーナキューブ40では、複数の画素58の各々について、対応するデジタルマイクロミラーデバイスに対する印加電圧を図1に示すビデオカメラ25からの映像信号に従って変化させることにより、各画素ごとに全反射/無反射を制御することができる。本実施の形態の装置では、こうして各画素ごとにコーナキューブ40における光の反射/無反射を制御し、それを光受信装置22側で各画素ごとに受光し復調することによって各画素ごとの信号を復調することができる。
【0044】
なおこの実施の形態のシステムではデジタルマイクロミラーデバイスを用いているが、この例のように光反射面を構成する透明板の背面に反射面74を配置する場合には、反射面74は必ずしも光を反射する性質のものである必要はない。透明板と反射面74との屈折率が相違してさえいれば、透明板の裏面に反射面74を密着させることにより光が全反射し、ある間隔を設ければ光が反射しなくなるからである。
【0045】
この第1の実施の形態に係る光通信システム20は以下のように動作する。なお光源30とコーナキューブ40とは、その相対的位置がほぼ一定となるように予め調整されているものとするが、後述するように光受信装置22および光送信装置24の一方またはその双方が移動体上にある場合のようにその相対的位置がずれたとしても、ビームスプリッタ32の回転角度を調整することにより、安定してCCD34が光送信装置24からの反射光を受光するようにできる。
【0046】
まず光源30がコーナキューブ40に向けて光束を出射する。この光はコーナキューブ40に入射し反射され、光源30に向けて戻る。このとき、コーナキューブ40上の1つの反射面52上の各画素58における反射/無反射をビデオカメラ25からの映像信号に従って制御することにより、ある画素に対応する位置では光が反射され、他の画素に対応する位置では光が反射されないことになる。
【0047】
ビームスプリッタ32はコーナキューブ40から反射されてくる光の光路を90°横方向に分岐させ、CCD34の受光面上に導く。CCD34は、予め定められた周期で受光と受光信号の出力とを繰返しているが、クロック再生回路36の制御によってその受光期間が、光送信装置24から送られてくる送信信号の1周期とできるだけ一致するように制御される。クロック再生回路36はCCD34の出力に基づいて上記したようにクロック信号を再生しCCD34の動作を制御するとともに、このクロック信号を所定数で逓倍した信号をA/D変換回路38に与える。A/D変換回路38は、CCD34から出力されるシリアルなアナログ信号を、クロック再生回路36から与えられる逓倍されたクロック信号に従ってデジタル変換し信号処理回路26に与える。信号処理回路26に与えられる信号は、結果としてビデオカメラ25から出力されるデジタルのシリアル信号と同様のものとなる。信号処理回路26によってこの信号を処理しモニタ28上に表示することにより、ビデオカメラ25で撮影した映像がモニタ28上に再生される。
【0048】
このとき、光送信装置24から光受信装置22に向けて送信される光信号は、各画素ごとに並列となった多チャンネルの光信号である。したがって1チャンネルで映像信号をシリアルに伝送する場合と比較して、各チャンネルごとの信号周期ははるかに長くなる。そのためCCD34による受光期間も長くすることができ、安定した復調を行なうことが可能となる。
【0049】
なお本実施の形態では図6に示すようにガラス板76上にマイクロミラー74が密着するように配置し、それによってガラス板76とマイクロミラー74の界面(全反射面)における全反射を制御した。しかし本発明はこうした構成には限定されず、たとえばマイクロミラー74を図2に示す反射面52自体を形成するようにマトリックス状に配置してもよい。この場合通常位置ではマイクロミラーが光を正しく反射し、所定の電圧が印加されるとマイクロミラーが位置を変え光を所定方向とは別の方向に反射するようにしてもよいし、その逆の構成にしてもよい。この例については図15、図16を参照して後述する。
【0050】
また、図6に示すようにマイクロミラー74をガラス板76と密着するように配置する場合、マイクロミラー74の密度がガラス板76の密度よりも高ければ前述のような全反射の制御が可能となる。マイクロミラー74の上面自体が反射能を有する必要はない。
【0051】
図3を参照して、光送信装置24の、光受信装置22に対する相対位置が図1に示す状態から変化した場合を想定する。前述したとおり光源30から出射される光ビームは広がりを持っている。そのため、光送信装置24の位置がずれたとしても一部の光ビームはコーナキューブ40によって反射されて戻ってくる。この反射光はコーナキューブ40への入射光と同じ向きであるから、図1の場合と比較してビームスプリッタ32への入射角度が変化している。そのため、ビームスプリッタ32の向きをそのままにしておくと、CCD34の受光面にこの反射光を導くことができない。
【0052】
この場合には、ステッピングモータ31によって、ビームスプリッタ32の角度を調整することにより、入射ビームの反射方向を調整すれば、コーナキューブ40からの反射光をCCD34の受光面に導くことができる。
【0053】
第2の実施の形態
上記した第1の実施の形態の光学通信システムでは、光通信自体はマルチチャンネルであるが、そのための入力信号および送信された後の復調信号はいずれもシリアル信号となっている。そのため結果として1チャンネル分の信号の送信が行なわれている。しかし本発明はそうした実施の形態のみに限定されるわけではない。たとえば複数チャンネルの信号を多数のチャンネルの光通信で送信し、受信側でそれぞれ別々の信号として復調することもできる。第2の実施の形態の光通信システム120はそのようなシステムである。
【0054】
図7を参照して、この光通信システム120は、光受信装置122および光送信装置124を含む。
【0055】
光送信装置124は、第1の実施の形態の光送信装置24と同様に1つの面が複数の画素に分割されたコーナキューブ140と、この各画素を別々に駆動するための変調装置142とを含む。
【0056】
図8を参照して、変調装置142はこの実施の形態では4つの部分変調回路152A〜152Dを含む。そして図7に示されるように各部分変調回路152A〜152Dは別々の信号源125A〜125Dからの信号によって駆動される。この例の場合、各信号源125A〜125Dからシリアルに入力された信号を一旦図8に示すような形に配列された記憶素子に保持させた後、保持された信号を一斉に変調装置142の各素子部分に与える。こうすることによりシリアルに入力された信号をパラレルに、かつその信号周期を長くして転送することができる。
【0057】
光受信装置122は、第1の実施の形態の場合と同様に配置された光源30およびビームスプリッタ32と、ビームスプリッタ32により分岐された光束を受光するためのCCD134と、CCD134の出力に基づいてクロック信号を再生しCCD134による受光期間を制御するとともに、このクロック信号を逓倍した信号を出力するためのクロック再生回路138と、CCD134のそれぞれ4つの領域から出力されるシリアル信号をパラレルに受け、クロック再生回路138から与えられる逓倍されたクロック信号に従ってアナログ/デジタル変換するためのA/D変換回路136A〜136Dとを含む。これらA/D変換回路136A〜136Dの出力はそれぞれ信号源125A〜125Dに対応する送信先126A〜126Dに与えられる。
【0058】
この第2の実施の形態の光通信システム120は以下のように動作する。各信号源125A〜125Dはそれぞれ独立に変調装置142に対して信号を与える。変調装置142の部分変調回路152A〜152Dはこれらシリアルに与えられた信号を順次各画素ごとに格納し、あるタイミングで対応するデジタルマイクロミラーデバイスに与える。その結果光源30から出射される光がコーナキューブ140で反射される際に、各画素ごとにその反射/無反射が制御される。こうして元の信号により変調された光がビームスプリッタ32に入射し、さらにCCD134の受光面上に入射する。クロック再生回路138はCCD134の出力に基づいてクロック信号を再生しCCD134の出力周期を制御する。同時にクロック再生回路138はこのクロック信号を所定数で逓倍した信号を作り、A/D変換回路136A〜136Dに与える。各A/D変換回路136A〜136Dは、CCD134の対応する1/4面からシリアルに出力される信号をデジタル信号に変換し対応する送信先126A〜126Dに与える。こうして、複数の信号源125A〜125Dから与えられた信号が、1つの多チャンネル光通信路を介して同時に光受信装置122に送信され、それぞれ対応の送信先126A〜126Dに独立に送信される。
【0059】
この第2の実施の形態では、画像信号ではないシリアル信号をまとめた形で光通信することができる。この場合にも光通信自体は多チャンネルで行なわれるため、各信号をシリアルで通信する場合と比較してシンボル期間を長くすることができ、安定した光通信を行なうことができる。
【0060】
第3の実施の形態
第1の実施の形態の装置では、一旦ビデオカメラ25(図1参照)から出力されたシリアルな映像信号を変調装置42に与え、多チャンネルの信号として光通信により送信した。しかし本発明は、画像の伝送に使用した場合に限っても第1の実施の形態の形に限定されるものではない。たとえばこの第3の実施の形態の光通信システム220のように、画像信号の入力をパラレルに行なうこともできる。
【0061】
図9を参照して、この光通信システム220は光送信装置224と光受信装置222とを含む。
【0062】
光送信装置224はコーナキューブ240と、コーナキューブ240の1面の裏に配置され、固体撮像素子と上記したデジタルマイクロミラーデバイスとが一体に成形された受光・変調装置242と、受光・変調装置242のCCDの撮像面(受光面)上に被写体の光学像を結像させるための光学系246と、受光・変調装置242による受光期間と、デジタルマイクロミラーデバイスへの電荷の転送とを制御するためのドライバ装置248とを含む。
【0063】
ドライバ装置248は、ある期間に受光/変調装置242の受光面に生成された電荷を、一斉にデジタルマイクロミラーデバイスに与えることによりデジタルマイクロミラーデバイスの各反射面の向きを制御する。同時にドライバ装置248は受光面上の電荷を消去し、次の期間の受光を行なうという作業を繰返す。
【0064】
光受信装置222は、既に述べた光源30およびビームスプリッタ32と、ビームスプリッタ32によって分岐された光を受光する位置に配置されたCCD234と、CCD234の各受光素子からの電荷を並列に受け保持し、シリアルに出力するための固体撮像素子と同様の構成を有する電荷転送素子236と、CCD234の出力に基づいて送信信号に含まれるクロック成分を再生し、CCD234と電荷転送素子236の動作を制御するためのクロック信号を生成し出力するとともに、このクロック信号を逓倍した信号を出力するためのクロック再生回路238と、クロック再生回路238から与えられる逓倍されたクロック信号に従って、電荷転送素子236から出力されるシリアルの信号をデジタル信号に変換するためのA/D変換回路238とを含む。A/D変換回路238の出力は第1の実施の形態の場合と同様に信号処理回路26に与えられ、さらにモニタ28により表示される。
【0065】
この第3の実施の形態の光通信システム220は以下のように動作する。ドライバ装置248は受光/変調装置242の受光面の電荷を消去し受光を開始する。光学系246により受光面上に被写体の光学像が形成され、受光面上の光電変換素子はそれぞれ入射光量に応じた電荷を蓄積する。ドライバ装置248は所定のタイミングでこの電荷を対応するデジタルマイクロミラーデバイスに転送するとともに、CCDの受光素子上の電荷を消去する。このドライバ装置248の制御により、受光/変調装置242を構成する各マイクロミラーデバイスの反射面はそれぞれ全反射位置または無反射位置に変化する。
【0066】
光受信装置222の光源30から出射された光はコーナキューブ240により反射されビームスプリッタ32に入射する。このとき、コーナキューブ240の1面において、受光・変調装置242によりある画素に対応する位置では光の反射はなく、他の画素に対応する位置では光の反射が行なわれる。その結果コーナキューブ240からビームスプリッタ32に向けて反射される光は、これら各素子の状態に応じて各反射光が変調された多チャンネルの光束となっている。ビームスプリッタ32で反射されたこの光束がCCD234上に入射することにより、被写体の光学像により形成されるのと同様の電荷の分布がCCD234上に形成される。クロック再生回路238は、1シンボル区間に対応する期間だけCCD234で電荷を蓄積した後各電荷をパラレルに電荷転送素子236に転送する。同時にクロック再生回路238はCCD234上の各光電変換素子の電荷を消去する。
【0067】
電荷転送素子236はクロック再生回路238から与えられるクロック信号に応じて、蓄積された電荷をシリアルに出力しA/D変換回路238に与える。A/D変換回路238はクロック再生回路238から出力される逓倍されたクロック信号に従ってこの信号をデジタル信号に変換し信号処理回路26に与える。
【0068】
こうしてこの第3の実施の形態の光通信システムでは、光送信装置側で受光面上に形成された被写体の光学像を直接パラレルの信号に変換し、それをさらにパラレルの光信号として光受信装置側に転送することができる。この場合にも、受信側では1チャンネルを用いてパラレルにこの映像信号を送信する場合と比較してシンボル区間が長くなるため、安定して光通信を行なうことができる。
【0069】
なお図9に示す例では光学系246の位置が受光面上に被写体の像を結像するような位置に固定されている。しかし本発明はこれには限定されない。受光面上に被写体の光学像が結ばれることを条件として、光学系の配置はさまざまに変えることができる。
【0070】
第4の実施の形態
第1〜第3の実施の形態からも明らかなように、この光通信システムは複数の信号源からの信号をパラレルに送信することができる。そのためのチャンネル数の最大数は、コーナキューブ上に形成された各画素(以下に述べるように、反射面での全反射条件を制御する機能を持つもので、以下「全反射条件制御素子」と呼ぶ。)の数と同じである。もちろん反射面の周辺位置に存在する全反射条件制御素子については利用可能でない場合もあるが、コーナキューブの中央付近に設けられている全反射条件制御素子のみを用いてもかなり多数のチャンネルを用いた光通信が行なえる。この第4の実施の形態の光通信システムはそのように各チャンネルごとに独立した通信を行なうことができるものである。
【0071】
図10を参照してこの第4の実施の形態に係る光通信システム320は、光送信装置324および光受信装置322を含む。
【0072】
光送信装置324は、多数の信号源からの信号を集めるための集積装置344と、多数のデジタルマイクロミラーデバイスを含む変調装置342と、集積装置344により集積された各信号をそれぞれ独立に変調装置342の各デジタルマイクロミラーデバイスと接続するための接続線346と、変調装置342を駆動するためのドライバ装置348と、変調装置342がその反射面の1つの裏面に配置されたコーナキューブ340とを含む。
【0073】
光受信装置322は、光源30およびビームスプリッタ32と、ビームスプリッタ32により分岐された光束を受光する位置に配置されたCCD334と、CCD334の出力に基づいてCCD334を駆動するためのクロック信号を再生するためのクロック再生回路338と、CCD334の各光電変換素子の出力をパラレルに受けて増幅し、デジタル信号に変換して分岐して出力するための分岐回路336とを含む。
【0074】
クロック再生回路338は、1シンボル期間の間CCD334で光電変換を行なわせ、1期間が終了すると各光電変換素子の信号をパラレルに分岐回路336に出力させる。同時にクロック再生回路338はCCD334の各光電変換素子の電荷を消去し、次の期間の光電変換に備える処理を行なう。
【0075】
この第4の実施の形態の光通信システム320は次のように動作する。それぞれ別個の多数の信号源から集められた信号は集積装置344により集積され接続線346によって変調回路342に与えられる。変調回路342はドライバ装置348の制御に従って、所定区間ごとに接続線346から与えられる信号を取込み、対応するデジタルマイクロミラーデバイスに与える。各デジタルマイクロミラーデバイスはこれら信号の値に従ってその反射面の位置を変化させる。
【0076】
光源30から出射された光はコーナキューブ340に入射し反射する。このときコーナキューブ340の1つの反射面上において、デジタルマイクロミラーデバイスの反射面の位置に応じて、各素子ごとに反射/無反射が制御される。したがってコーナキューブ340からビームスプリッタ32に向けて反射される光は、各チャンネルごとに変調装置342によって変調された信号を搬送する多チャンネルの光信号となっている。
【0077】
ビームスプリッタ32によって反射されたこの光束はCCD334上に入射し、各素子に対応した電荷をCCD334の各素子ごとに生成する。クロック再生回路338の制御により各光電変換素子の出力は分岐回路336に与えられ、デジタル信号に変換されて各対応する送信先に向けて送信される。
【0078】
この第4の実施の形態の光通信システムでは、多数の信号源とコーナキューブ上の全反射条件制御素子とを1対1の関係とすることにより、全反射条件制御素子の数と同じ数だけの光通信チャンネルを設けることができる。その結果、非常にコンパクトに数多くのチャンネル信号を安定に送信することができるという効果を奏する。たとえば全反射条件制御素子の配列が1000×1000であれば提供されるチャンネル数は1000×1000=1,000,000となり、光通信を用いた広帯域の通信を行なうことができる。
【0079】
全反射条件制御素子の他の例
以上の説明では、光反射面の表面にデジタルマイクロミラーデバイスを、または光反射面を構成する透明板の裏面にデジタルマイクロアクチュエータを配置することにより全反射条件制御素子を形成したコーナキューブを用いている。しかし全反射条件制御素子の構成はこうしたものには限定されない。その一例を図11に示す。
【0080】
図11を参照して、このコーナキューブ400のひとつの反射面上には、複数個の、プリズムの全反射条件を制御する全反射条件制御素子402が配列されている。図12に示されるように、各全反射条件制御素子402は、透明カプセル404と、この透明カプセル404の中に封入された不透明な磁性流体410と、透明カプセル404のそれぞれ半分の領域に別々に形成され、電流が加えられると磁場を発生する二つの電磁石420および422とを含む。
【0081】
たとえば図12における電磁石420に電流を通ずると磁場が生じ、磁性流体410は電磁石420の方向に集まる。その結果、磁性流体410のない、透明な部分412が形成される。逆に電磁石422に電流を通ずると磁性流体410は電磁石422の方向に集まる。その結果図12とは逆に参照符号410で示した領域が透明になり、その結果プリズム面に磁性流体が接する領域がなくなり、この領域ではプリズムは全反射状態となる。また、参照符号412で示した領域が不透明になるので、磁性流体がプリズム面に接する部分となり、全反射が阻害その結果、この全反射条件制御素子402においては、電磁石420および422のいずれに電流を通ずるかにしたがって異なる反射率の分布ができ、これによって入射光を変調して反射することが可能になる。
【0082】
なお、図12に示した例では磁性流体を用いたが、たとえばその方向が同一方向固定された多数のごく小さな棒磁石を細長い管に封入し、その管を多数束ねたものを用いたものを磁性流体に代えて用いてもよい。この場合、透明カプセル404の一端にたとえばS極の磁場を置くことにより、これらすべての棒磁石がそれら自身の磁極とこのS極との間の磁力によって同一方向に移動し、このS極に代えてN極をおけばこんどはこれらすべての棒磁石が反対方向に移動する。その結果、磁性流体を用いた場合と同様に全反射制御素子群における全反射部分の分布を変化させることができる。
【0083】
なお、このようにごく小さな棒磁石を用いる場合、透明カプセル404の両端に同じ磁性の磁極を置くと、棒磁石に対して一方の磁極からは引力が、他方の磁極からは斥力が働く。この結果、この磁極の磁性を変化させたときの棒磁石の移動が早くなる。そのためそうした構成では磁極を一つしか使用しない場合と比較してレスポンスが向上するという効果がある。
【0084】
全反射条件制御素子のさらに他の例
全反射条件制御素子の他の例として、電流により制御されるのではなく、光により制御されるマイクロアクチュエータを用いることもできる。特にポリジアセチレンと呼ばれる高分子化合物のように、光があたると変形するような性質を持つ物質を用いると、応答速度の高いアクチュエータを実現できる。
【0085】
図13に、そうした光により制御されるマイクロアクチュエータを備えた全反射条件制御素子440の断面図を示す。図13を参照して、このマイクロアクチュエータは、コーナキューブのプリズム450の全反射面に配置されており、通常時にプリズム450の全反射面に密着するように配置される、薄くやや弾力のある、プリズム450の密度よりも高い密度を持つ物質からなる全反射制御体452と、全反射制御体452の、プリズム450と密着している面と反対側の面に接着された、前述のポリジアセチレンの薄膜454とを含む。全反射制御体452は、その周縁部分においてガラス面450の裏面に接着されている。全反射制御体452としては、プリズム450の全反射面に密着できることができ、かつ後述するように変形したときに、全反射面との間に生じる空隙が全反射を阻害する程度の大きさとなる弾力性を有するものが用いられる。
【0086】
図13に示されるように、第1の状態では全反射制御体452はプリズム450の全反射面に密着している。そのため、ガラス板450に入射する光はプリズム450の全反射面で全反射されず、全反射制御体452側に透過する。すなわち光は全反射面では反射されない。
【0087】
ポリジアセチレンは、波長が450〜550ナノメートルの光を当てると体積が3%ほど増え、350〜400ナノメートルの波長を持つ光を当てると元に戻る性質があることが知られている。
【0088】
そこで、図13の状態において、全反射をさせる部分に対応する全反射条件制御素子には、裏面から450〜550ナノメートルの波長を持つ光をあてる。この部分では、ポリジアセチレンの薄膜454は体積が増加し、図14の中央に示すようにプリズム450の全反射面との間に空隙が生じる。したがって当該全反射条件制御素子に入射する光は全反射される。
【0089】
一方、全反射をさせない部分に対応する全反射条件制御素子には、裏面から350〜400ナノメートルの波長を持つ光を当てる。すると、図14の左右に示されるように、ポリジアセチレンの薄膜454は体積が減少し、したがって全反射制御体452とともに全反射条件制御素子の全体が、その中央部がガラス面450に密着する様に変形する。その結果プリズム450の全反射面に入射する光は全反射されない。
【0090】
このように光により変形する性質を持つ物質によって反射条件制御素子を駆動するようにすると、応答速度が高く、構造も比較的単純である。また、反射条件制御素子を光により駆動するため、反射条件制御素子を信号で駆動するための配船が不要となる。したがって装置を一層小型化することができ、高密度で多チャンネル光通信を実現することが可能となる。
【0091】
反射条件制御素子の例
図2に示すコーナキューブ40の変形例を図15および図16に示す。図15に示す例では、コーナキューブ500は、図2に示すコーナキューブ40と比較して、図2における反射面52に替えて、光を反射しない物質からなる、反射面54および56と直交するように設けられた基板510と、基板510の、反射面54および56に面する面上にマトリクス状に配列された複数個のマイクロミラーデバイス512とを含む点が異なる。基板510は透明な物質でも、不透明な物質でもよい。また光を反射する物質からなっていてもよい。
【0092】
複数個のマイクロミラーデバイス512の各々は、いずれもその方向が第1の方向と第2の方向とに制御可能な反射面を有する。第1の方向とは、デジタルミラーマイクロデバイスの反射面が、反射面54および56と直交する面に含まれるような方向である。第2の方向は、第1の方向と異なる方向、すなわちマイクロミラーデバイスの反射面が反射面54および56と直交するような方向以外であればどのような方向でもよい。
【0093】
このコーナキューブ500を用いると、デジタルマイクロデバイスの反射面が第1の方向を向いているときにはそのデジタルマイクロデバイスの反射面に入射する光は、入射方向と平行に反射される。そしてデジタルマイクロデバイスの反射面が第2の方向を向いているときには、入射方向と異なる方向に反射される。したがって第1の実施の形態の場合と同様に、このコーナキューブ500を多チャンネル光通信に用いることができる。
【0094】
また、図16に示されるコーナキューブ520は、図15に示されるものと比較して、基板510を取り除いている点に特徴があり、マトリクス状に配列された複数個のデジタルマイクロデバイス522によって反射面を構成している。この場合にも、デジタルマイクロデバイス522の各々の反射面の方向を図15の場合と同様の第1の方向と第2の方向とに制御できれば、多チャンネル光通信に用いることができる。
【0095】
今回開示された実施の形態はすべての点で例示であって制限的なものではないと考えられるべきである。本発明の範囲は上記した説明ではなくて特許請求の範囲によって示され、特許請求の範囲と均等の意味および範囲内でのすべての変更が含まれることが意図される。
【図面の簡単な説明】
【図1】 この発明の第1の実施の形態に係る光通信システムのブロック図である。
【図2】 コーナキューブの外観を示す図である。
【図3】 第1の実施の形態に係る光通信システムにおいてビームスプリッタの角度を変えたときのブロック図である。
【図4】 デジタルマイクロミラーデバイスの動作を説明するための図である。
【図5】 デジタルマイクロミラーデバイスの動作を説明するための図である。
【図6】 デジタルマイクロミラーデバイスを用いた反射/無反射の制御を説明するための図である。
【図7】 この発明の第2の実施の形態に係る光通信システムのブロック図である。
【図8】 第2の実施の形態で用いられる部分変調回路の配置を示す図である。
【図9】 この発明の第3の実施の形態に係る光通信システムのブロック図である。
【図10】 この発明の第4の実施の形態に係る光通信システムのブロック図である。
【図11】 全反射条件制御素子を有する他のコーナキューブ面の他の例を示す図である。
【図12】 図11の例で用いられる全反射条件制御素子群の概略図である。
【図13】 全反射条件制御素子のさらに他の例を示す断面図である。
【図14】 図13に示す全反射条件制御素子の動作原理を示す断面図である。
【図15】 デジタルマイクロミラーデバイスを用いたコーナキューブの変形例を示す斜視図である。
【図16】 デジタルマイクロミラーデバイスを用いコーナキューブのさらに他の変形例を示す斜視図である。
【符号の説明】
20,120,220,320 光通信システム、22,122,222,322 光受信装置、24,124,224,324 光送信装置、30 光源、32 ビームスプリッタ、34,134,234,334 CCD、40,140,240,340 コーナキューブ、42,142,342 変調装置、70デジタルマイクロミラーデバイス、242 受光・変調装置。

Claims (4)

  1. 入射する光を、入射方向と同一方向に反射する再帰反射手段と、
    前記再帰反射手段によって反射される光を、多チャンネルの伝送信号に基づいて変調するための変調手段とを含む光送信装置と、
    光を出射する光出射手段と、
    前記光出射手段から出射され前記再帰反射手段によって反射された光から、前記変調手段によって変調された前記多チャンネルの伝送信号を復調するための復調手段とを含む光受信装置とを含む多チャンネル光通信システムであって、
    前記変調手段は、
    前記再帰反射手段の反射面上に、前記多チャンネルの伝送信号に対応して配列され、各々独立に光の反射を制御することが可能な複数個の全反射条件制御素子と、
    前記全反射条件制御素子の各々を、前記多チャンネルの伝送信号の内、各前記反射条件制御素子に対応するチャンネルの伝送信号に基づいて独立に制御するための駆動手段とを含み、
    前記復調手段は、
    前記反射された光を受光するための、前記複数個の全反射条件制御素子の配列に対応して配列された複数個の受光素子を有する受光手段と、
    前記複数個の受光素子の出力から、前記多チャンネルの伝送信号の内で各受光素子に対応する前記全反射条件制御素子に対応するチャンネルの伝送信号をそれぞれ再構築するための手段とを含み、
    前記全反射条件制御素子は、前記反射面上に配置され、透明カプセル中に封入された不透明な磁性体と、前記透明カプセル中の前記磁性体を磁力により移動させることにより前記全反射条件制御素子における光の反射率の分布を変化させるための磁力発生手段とを含む、多チャンネル光通信システム。
  2. 入射する光を、入射方向と同一方向に反射する再帰反射手段と、
    前記再帰反射手段によって反射される光を、多チャンネルの伝送信号に基づいて変調するための変調手段とを含む光送信装置と、
    光を出射する光出射手段と、
    前記光出射手段から出射され前記再帰反射手段によって反射された光から、前記変調手段によって変調された前記多チャンネルの伝送信号を復調するための復調手段とを含む光受信装置とを含む多チャンネル光通信システムであって、
    前記変調手段は、
    前記再帰反射手段の反射面上に、前記多チャンネルの伝送信号に対応して配列され、各々独立に光の反射を制御することが可能な複数個の全反射条件制御素子と、
    前記全反射条件制御素子の各々を、前記多チャンネルの伝送信号の内、各前記反射条件制御素子に対応するチャンネルの伝送信号に基づいて独立に制御するための駆動手段とを含み、
    前記復調手段は、
    前記反射された光を受光するための、前記複数個の全反射条件制御素子の配列に対応して配列された複数個の受光素子を有する受光手段と、
    前記複数個の受光素子の出力から、前記多チャンネルの伝送信号の内で各受光素子に対応する前記全反射条件制御素子に対応するチャンネルの伝送信号をそれぞれ再構築するための手段とを含み、
    前記全反射条件制御素子は、前記再帰反射手段の全反射面に光が入射する方向とは逆の方向から前記再帰反射手段の前記全反射面に臨むように配置され、特定の波長の光が照射されたことに応答して、前記全反射面に密着した第1の形状と、前記全反射面との間に空隙が形成された第2の形状との間で形状を変化させる光駆動素子を含み、前記光駆動素子に対して前記特定の波長の光を照射することにより、前記全反射面の反射が制御される、多チャンネル光通信システム。
  3. 入射する光を、入射方向と同一方向に反射する再帰反射手段と、
    前記再帰反射手段によって反射される光を、多チャンネルの伝送信号に基づいて変調するための変調手段とを含む光送信装置であって、
    前記変調手段は、
    前記再帰反射手段の反射面上に、前記多チャンネルの伝送信号に対応して配列され、各々独立に光の反射を制御することが可能な複数個の反射条件制御素子と、
    前記反射条件制御素子の各々を、前記多チャンネルの伝送信号の内で各前記反射条件制御素子に対応するチャンネルの伝送信号に基づいて独立に制御するための駆動手段とを含み、
    前記反射条件制御素子は、前記反射面上に配置され、透明カプセル中に封入された不透明な磁性体と、前記透明カプセル中の前記磁性体を磁力により移動させることにより前記反射条件制御素子における光の反射率の分布を変化させるための磁力発生手段とを含む、多チャンネル光通信システムのための光送信装置。
  4. 入射する光を、入射方向と同一方向に反射する再帰反射手段と、
    前記再帰反射手段によって反射される光を、多チャンネルの伝送信号に基づいて変調するための変調手段とを含む光送信装置であって、
    前記変調手段は、
    前記再帰反射手段の反射面上に、前記多チャンネルの伝送信号に対応して配列され、各々独立に光の反射を制御することが可能な複数個の反射条件制御素子と、
    前記反射条件制御素子の各々を、前記多チャンネルの伝送信号の内で各前記反射条件制御素子に対応するチャンネルの伝送信号に基づいて独立に制御するための駆動手段とを含み、
    前記反射条件制御素子は、前記再帰反射手段の前記反射面を構成する透明板の裏面に配置され、特定の波長の光が照射されたことに応答して、前記裏面に密着した第1の形状と、前記裏面との間に空隙が形成された第2の形状との間で形状を変化させる光駆動素子を含み、前記光駆動素子に対して前記特定の波長の光を照射することにより、前記透明板の裏面の反射が制御される、多チャンネル光通信システムのための光送信装置。
JP2000170514A 2000-02-10 2000-06-07 多チャンネル光通信システムおよびそのための光送信装置 Expired - Fee Related JP4530487B2 (ja)

Priority Applications (2)

Application Number Priority Date Filing Date Title
JP2000170514A JP4530487B2 (ja) 2000-02-10 2000-06-07 多チャンネル光通信システムおよびそのための光送信装置
US09/775,514 US7054563B2 (en) 2000-02-10 2001-02-05 Multi-channel optical communication system that controls optical reflection for each channel and optical transmitting and receiving apparatus therefor

Applications Claiming Priority (3)

Application Number Priority Date Filing Date Title
JP2000033858 2000-02-10
JP2000-33858 2000-02-10
JP2000170514A JP4530487B2 (ja) 2000-02-10 2000-06-07 多チャンネル光通信システムおよびそのための光送信装置

Publications (2)

Publication Number Publication Date
JP2001298420A JP2001298420A (ja) 2001-10-26
JP4530487B2 true JP4530487B2 (ja) 2010-08-25

Family

ID=26585227

Family Applications (1)

Application Number Title Priority Date Filing Date
JP2000170514A Expired - Fee Related JP4530487B2 (ja) 2000-02-10 2000-06-07 多チャンネル光通信システムおよびそのための光送信装置

Country Status (2)

Country Link
US (1) US7054563B2 (ja)
JP (1) JP4530487B2 (ja)

Families Citing this family (24)

* Cited by examiner, † Cited by third party
Publication number Priority date Publication date Assignee Title
GB2384635A (en) * 2002-01-28 2003-07-30 Phillip Andrew Haley Infrared CCD video camera optical communication system
US7308202B2 (en) * 2002-02-01 2007-12-11 Cubic Corporation Secure covert combat identification friend-or-foe (IFF) system for the dismounted soldier
US7693426B2 (en) 2003-12-18 2010-04-06 Hewlett-Packard Development Company, L.P. Laser-based communications with a remote information source
GB0515523D0 (en) * 2005-07-28 2005-12-07 Bae Systems Plc Transponder
US7715727B2 (en) * 2005-08-01 2010-05-11 The United States Of America As Represented By The Secretary Of The Navy System and method for transmitting analog signals with a modulating retroreflector and hybrid amplitude and frequency modulation
US8411194B2 (en) 2005-08-22 2013-04-02 Texas Instruments Incorporated Methods for combining camera and projector functions in a single device
GB0521256D0 (en) * 2005-10-19 2005-11-30 Qinetiq Ltd Optical modulation
US7173426B1 (en) * 2005-11-29 2007-02-06 General Electric Company Optical link for transmitting data through air from a plurality of receiver coils in a magnetic resonance imaging system
US7950812B2 (en) * 2006-01-11 2011-05-31 Cubic Corporation Shutters for infra red communication at moderate bandwidths
JP2007225910A (ja) * 2006-02-23 2007-09-06 Tsumura Sogo Kenkyusho:Kk 画像投影装置
US7345804B1 (en) * 2006-06-19 2008-03-18 Hrl Laboratories, Llc Dynamic optical tag communicator and system using corner cube modulating retroreflector
US8224189B1 (en) 2007-02-02 2012-07-17 Sunlight Photonics Inc. Retro-directive target for free-space optical communication and method of producing the same
US8027591B2 (en) * 2007-10-29 2011-09-27 Cubic Corporation Resonant quantum well modulator driver
US7859675B2 (en) * 2007-11-06 2010-12-28 Cubic Corporation Field test of a retro-reflector and detector assembly
JP2009239800A (ja) * 2008-03-28 2009-10-15 Nec Corp 通信装置及び通信システム
JP5181999B2 (ja) * 2008-10-10 2013-04-10 ソニー株式会社 固体撮像素子、光学装置、信号処理装置及び信号処理システム
US8204384B2 (en) * 2008-11-21 2012-06-19 Cubic Corporation Phase-modulating communication device
US8425059B2 (en) * 2009-12-01 2013-04-23 The Boeing Company Low power retro-reflective communications system and method
US8655189B2 (en) 2010-06-18 2014-02-18 Exelis, Inc. Optical modulation utilizing structures including metamaterials
WO2019209901A1 (en) * 2018-04-25 2019-10-31 Cubic Corporation Long-range optical tag
CN110854657B (zh) * 2019-10-15 2020-10-02 同济大学 一种基于光倍频的无腔内干扰的共振光通信装置
CN113746558B (zh) 2020-05-29 2023-07-11 华为技术有限公司 集群光源和产生集群光源的方法
EP4318975A1 (en) * 2022-08-03 2024-02-07 HENSOLDT Sensors GmbH Network node for a non-detectable laser communication system
CN116661130B (zh) * 2023-07-26 2023-10-20 西安知象光电科技有限公司 一种单芯片集成的微镜反馈元件

Family Cites Families (16)

* Cited by examiner, † Cited by third party
Publication number Priority date Publication date Assignee Title
FR2602346B1 (fr) * 1986-08-01 1988-09-16 Thomson Csf Systeme de reperage utilisant un ensemble retroreflecteur et modulateur d'un faisceau laser
JP2899013B2 (ja) * 1989-07-03 1999-06-02 俊弘 津村 移動体に対する位置情報伝達システム
US5245404A (en) * 1990-10-18 1993-09-14 Physical Optics Corportion Raman sensor
JP3092989B2 (ja) * 1991-08-20 2000-09-25 俊弘 津村 光変調装置
US5355241A (en) * 1991-12-09 1994-10-11 Kelley Clifford W Identification friend or foe discriminator
JPH05191361A (ja) * 1992-01-13 1993-07-30 Ricoh Co Ltd 光空間伝送方式
US5371623A (en) * 1992-07-01 1994-12-06 Motorola, Inc. High bit rate infrared communication system for overcoming multipath
JPH08237204A (ja) * 1995-02-24 1996-09-13 Nippon Telegr & Teleph Corp <Ntt> 光空間結線装置
US5819164A (en) * 1996-01-29 1998-10-06 The United States Of America As Represented By The Secretary Of The Army Modulated retroreflection system for secure communication and identification
JPH10200478A (ja) * 1997-01-14 1998-07-31 Toshihiro Tsumura 送信装置および通信装置
US6624916B1 (en) * 1997-02-11 2003-09-23 Quantumbeam Limited Signalling system
JP3661912B2 (ja) * 1997-09-12 2005-06-22 株式会社リコー 光アクセスステーション及び端末装置
JPH11202227A (ja) * 1998-01-09 1999-07-30 Asahi Optical Co Ltd データ送信装置、データ受信装置およびデータ通信システム
US6154299A (en) * 1998-06-15 2000-11-28 The United States Of America As Represented By The Secretary Of The Navy Modulating retroreflector using multiple quantum well technology
US6449406B1 (en) * 1999-05-28 2002-09-10 Omm, Inc. Micromachined optomechanical switching devices
US6501877B1 (en) * 1999-11-16 2002-12-31 Network Photonics, Inc. Wavelength router

Also Published As

Publication number Publication date
US20010013967A1 (en) 2001-08-16
US7054563B2 (en) 2006-05-30
JP2001298420A (ja) 2001-10-26

Similar Documents

Publication Publication Date Title
JP4530487B2 (ja) 多チャンネル光通信システムおよびそのための光送信装置
Khare Fiber optics and optoelectronics
US3831035A (en) Switching network for information channels, preferably in the optical frequency range
KR101368027B1 (ko) 리소그라피 장치
US6624916B1 (en) Signalling system
US8223195B2 (en) Three-dimensional image pickup apparatus, three-dimensional display apparatus, three-dimensional image pickup and display apparatus and information recording method
JPH11231232A (ja) 自由空間光信号切り替え装置
US20090237761A1 (en) Direction of Optical Signals by a Movable Diffractive Optical Element
JP7740993B2 (ja) 導波路デバイス
JP2010093754A (ja) 固体撮像素子及び信号処理システム
Uchida et al. Design and performance of 1× 8 core selective switch supporting 15 cores per port using bundle of three 5-core fibers
KR20220158740A (ko) 홀로그래픽 저장장치
JP3754023B2 (ja) 光ファイバスイッチ及び関連する方法
US4469941A (en) Parallel-in, serial-out fiber optic image scanner
US6335782B1 (en) Method and device for switching wavelength division multiplexed optical signals using modulated emitter arrays
CN212933046U (zh) 一种多通道波分复用光传输器件、接收器件和收发设备
JP2007011104A (ja) 光線制御装置及びそれを用いた立体像表示装置
EP2874334A1 (fr) Réseau optique et système de traitement de données comportant un tel réseau optique
JPH04213896A (ja) ラックに挿入可能な装置用の光信号接続装置
JPS6155658B2 (ja)
CN220962024U (zh) 一种光学模组、光学系统、光收发模块、激光雷达和光放大系统
JP2827501B2 (ja) 光セルフ・ルーテイング回路
KR100447212B1 (ko) 전자력 구동 광 스위치
Jinno Enabling technologies for flexible and scalable spatial cross-connects
US20040240014A1 (en) Method and system for optical coupling using holographic recording media

Legal Events

Date Code Title Description
A621 Written request for application examination

Free format text: JAPANESE INTERMEDIATE CODE: A621

Effective date: 20070413

A977 Report on retrieval

Free format text: JAPANESE INTERMEDIATE CODE: A971007

Effective date: 20090615

A131 Notification of reasons for refusal

Free format text: JAPANESE INTERMEDIATE CODE: A131

Effective date: 20090630

A521 Request for written amendment filed

Free format text: JAPANESE INTERMEDIATE CODE: A523

Effective date: 20090813

A131 Notification of reasons for refusal

Free format text: JAPANESE INTERMEDIATE CODE: A131

Effective date: 20100223

A521 Request for written amendment filed

Free format text: JAPANESE INTERMEDIATE CODE: A523

Effective date: 20100423

TRDD Decision of grant or rejection written
A01 Written decision to grant a patent or to grant a registration (utility model)

Free format text: JAPANESE INTERMEDIATE CODE: A01

Effective date: 20100601

A01 Written decision to grant a patent or to grant a registration (utility model)

Free format text: JAPANESE INTERMEDIATE CODE: A01

A61 First payment of annual fees (during grant procedure)

Free format text: JAPANESE INTERMEDIATE CODE: A61

Effective date: 20100608

R150 Certificate of patent or registration of utility model

Free format text: JAPANESE INTERMEDIATE CODE: R150

FPAY Renewal fee payment (event date is renewal date of database)

Free format text: PAYMENT UNTIL: 20130618

Year of fee payment: 3

R250 Receipt of annual fees

Free format text: JAPANESE INTERMEDIATE CODE: R250

R250 Receipt of annual fees

Free format text: JAPANESE INTERMEDIATE CODE: R250

R250 Receipt of annual fees

Free format text: JAPANESE INTERMEDIATE CODE: R250

LAPS Cancellation because of no payment of annual fees