JP4472913B2 - 電子スチルカメラ - Google Patents

電子スチルカメラ Download PDF

Info

Publication number
JP4472913B2
JP4472913B2 JP2002157268A JP2002157268A JP4472913B2 JP 4472913 B2 JP4472913 B2 JP 4472913B2 JP 2002157268 A JP2002157268 A JP 2002157268A JP 2002157268 A JP2002157268 A JP 2002157268A JP 4472913 B2 JP4472913 B2 JP 4472913B2
Authority
JP
Japan
Prior art keywords
card
electronic still
camera
optical axis
still camera
Prior art date
Legal status (The legal status is an assumption and is not a legal conclusion. Google has not performed a legal analysis and makes no representation as to the accuracy of the status listed.)
Expired - Fee Related
Application number
JP2002157268A
Other languages
English (en)
Other versions
JP2003134445A (ja
Inventor
匠 若山
利明 倉橋
正人 越智
茂夫 松島
Current Assignee (The listed assignees may be inaccurate. Google has not performed a legal analysis and makes no representation or warranty as to the accuracy of the list.)
Nikon Corp
Original Assignee
Nikon Corp
Priority date (The priority date is an assumption and is not a legal conclusion. Google has not performed a legal analysis and makes no representation as to the accuracy of the date listed.)
Filing date
Publication date
Application filed by Nikon Corp filed Critical Nikon Corp
Priority to JP2002157268A priority Critical patent/JP4472913B2/ja
Publication of JP2003134445A publication Critical patent/JP2003134445A/ja
Application granted granted Critical
Publication of JP4472913B2 publication Critical patent/JP4472913B2/ja
Anticipated expiration legal-status Critical
Expired - Fee Related legal-status Critical Current

Links

Images

Landscapes

  • Cameras In General (AREA)
  • Camera Bodies And Camera Details Or Accessories (AREA)
  • Studio Devices (AREA)

Description

【0001】
【発明の属する技術分野】
本発明は、装填されたメモリカードに画像を記録する電子スチルカメラに関する。
【0002】
【従来の技術とその問題点】
従来の電子スチルカメラは、例えば特開平11−187294号公報に開示されているように、メモリカードを撮影レンズの光軸と平行あるいは垂直な状態で収容する構成が一般的である。しかし、この収容方式ではメモリカードの大きさでカメラの外径が決まってしまうためカメラの大型化を招く。
【0003】
本発明の目的は、メモリカードの収容方向を工夫することで小型化を図った電子スチルカメラを提供することにある。
【0004】
【課題を解決するための手段】
一実施の形態を示す図1に対応づけて説明すると、本発明は、撮像ユニット2により撮像された画像情報を挿抜可能なメモリカードMCに記録する電子スチルカメラに適用され、撮像ユニット2を内蔵するカメラボディ1と、カメラボディ1の背面に開閉可能に設けられた蓋部材12と、カメラボディ1に形成され、閉状態にある蓋部材12によって覆われ、蓋部材12が開状態になると露出する開口部5と、カメラボディ1に設けられ、開口部5を通してメモリカードMCが被写体光入射光軸と非平行かつ非垂直な方向に挿抜されるカード収容部3とを有し、カード収容部3は、カメラボディ1に固定され、光軸に対して非平行かつ非垂直に延在することを特徴とする。
請求項2の発明では、カード収容部は、カメラを上下方向から見たときにメモリカードが光軸に対して非平行かつ非垂直な状態で挿抜可能に構成されている。
請求項3の発明では、カメラボディは更に、光軸に略垂直でかつ背面よりも被写体側に位置する前面と、前面より被写体側に突出し、被写体側に向かうほどその光軸と垂直な断面積が小さくなる突出部を備えたグリップ部とを有し、グリップ部の前側空間および後側空間に、電源電池が装填される電池室およびグリップ内部材がそれぞれ配置され、カード収容部は、電池室とグリップ内部材との間に位置している。
請求項4の発明では、電池室は、カード収容部の挿抜方向と略平行な壁面を有する。
請求項5の発明は、カメラを側方から見たときにメモリカードが光軸に対して非平行かつ非垂直な状態でカード収容部に挿抜されるよう構成したものである。
請求項6の発明は、カード収容部を撮像ユニットのカメラ下方に配置したものである。
請求項7の発明は、カメラを側方から見たときに、メモリカードの装填方向が斜め下方となるよう構成したものである。
請求項8の発明は、カード収容部をカメラを上下方向から見たときに光軸に対して非平行かつ非垂直に延在させ、そのカード収容部と、カメラボディ内において光軸方向に延在する部材との間に回路基板を設けたものである。
請求項9の発明は、回路基板を閃光発光用の回路基板としたものである。
請求項10の発明は、回路基板およびカード収容部を予め一体化したものである。
請求項11の発明は、回路基板およびカード収容部を一体に保持するとともに、カメラボディへの取付部を有するホルダを有し、ホルダをシールド性を有する部材で構成し、回路基板がホルダに囲まれるようにしたものである。
請求項12の発明は、カード収容部に厚さの異なる2種類のメモリカードを装填可能とし、薄い方のメモリカードが本来の装填位置よりも厚さ方向にずれた位置に装填されるのを阻止する当接部材をカード装填口に設けたものである。
請求項13の発明は、カード収容部にメモリカードが装填されるのに伴って突出し、メモリカードの取り出しにあたってカード装填方向に押圧操作されるイジェクトボタンと、光軸と略直交する方向の面を有し、その面にイジェクトボタンを押圧/突出可能に露出させる露出部を設けたカバー部材とを更に備える。イジェクトボタンは、イジェクトボタンと露出部端面との隙間を外部から覆う被覆部を有し、カバー部材をカード取り出し方向に取り外すときに、突出状態にあるイジェクトボタンが露出部を通過するように露出部の端面の角度を設定する。
【0005】
なお、本発明の構成を説明する上記課題を解決するための手段の項では、本発明を分かり易くするために実施の形態の図を用いたが、これにより本発明が実施の形態に限定されるものではない。
【0006】
【発明の実施の形態】
−第1の実施形態−
図1〜図3により本発明を一眼レフタイプの電子スチルカメラに適用した場合の第1の実施形態を説明する。
図1は本実施形態におけるカメラの概略斜視図、図2はカメラの横方向一端側を示す平面断面図である。カメラボディ1の横方向中央部には、シャッタや撮像素子(CCD)、液晶モニタなどから構成される撮像ユニット2が配置され、その図示右側には、カメラ前面に突出する膨出部を備えたグリップ6が設けられている。グリップ6の前部には、電源電池7を収容する電池室11が設けられるとともに、その背面側に閃光発光用のメインコンデンサ8が配置される。またグリップ6の背面側左寄りの位置には、閃光発光用の電気部品が実装された回路基板9が固定されている。
【0007】
電池室11およびコンデンサ8と回路基板9との間には、メモリカード(ここではコンパクトフラッシュカード<コンパクトフラッシュは米国サンディスク社の登録商標>)MCを収容するカード収容部3が設けられている。カード収容部3は不図示の枠体によって画成されるカード収容空間を有し、枠体にはカード収容空間へのメモリカードMCの挿抜を案内するガイドレールが設けられている。本実施形態では、カード収容部3がカメラ上面から見たときに撮影レンズ4の光軸OXに対して斜めの方向(図示D1方向)に延在するよう配置される。ここで、「光軸に対して斜め」とは、光軸OXと非平行かつ非垂直のという意味である。図の例では光軸OXとD1方向とのなす角度が約35度とされるが、これは35度に限定されるものではない。
【0008】
グリップ6のカメラ背面には、カード挿抜口5を覆い隠す蓋部材12が設けられ、この蓋部材12に隣接して操作部材(例えば、十字キー)10が設けられている。蓋部材12は、挿抜口5を覆う位置と露出させる位置との間でヒンジ部12aを中心に回動可能であり、蓋部材12を開放することでメモリカードMCの挿抜が可能となる。操作部材10は、カメラ背面の右寄りの位置、つまりグリップ6を保持する右手の親指で操作し易い位置に設けられている。
【0009】
挿抜口5から挿通されたメモリカードMCは、不図示のガイドレールによりD1方向に案内されそのままの姿勢でカード収容部3内に収容される。収容状態においては、メモリカードMCの先端に設けられたコネクタ部にボディ側のコネクタピンが挿通され、メモリカードMCへの情報記録が可能となる。またこのとき、メモリカードMCの後端部は若干挿抜口5から突出した状態となる。カード収容部3の上方にはイジェクトボタン13が設けられ、このイジェクトボタン13を押し込むことで、不図示のイジェクト機構によりメモリカードMCが手で取り出し易い位置までD1方向に突出する。
【0010】
ここで、図2において仮にメモリカードMCを光軸OXと垂直(D2方向)に収容しようとすると、グリップ6の横方向の寸法を増やさなければならない。またメモリカードMCを光軸OXと平行(D3方向)に収容しようとした場合も、グリップ6の横方向の寸法を増やさないと電源電池7,コンデンサ8および回路基板9の3部材を収納するのは難しい。カード収容部3と回路基板9の位置を逆にすれば、メモリカードMCを光軸と平行に配置する空間を確保できるかもしれないが、この場合は操作部材10の位置を左方にずらさないとメモリカードMCの挿脱が不可能となる。一方、操作部材10の位置をずらすとその操作性が悪化する。
【0011】
本実施形態では、カード収容部3を光軸OXに対して斜めに配置したので、グリップ6を大型化することなくカード収容部3と上記3部材を配置することが可能となり、また操作部材10の位置をずらすことなくメモリカードMCの挿抜を支障なく行える。特にカード収容部3を図示の如く配置することで、グリップ6の右前側および左後側に比較的大きな空間を作り出すことができ、これらの空間に電池7および回路基板9をそれぞれ配置することで、グリップ内空間を有効に利用できる。
【0012】
図3はカード挿抜口付近を拡大して示す図である。本実施形態では、図示実線で示すようにカード挿抜口5の周囲の面Pはカメラボディ1の背面とほぼ平行とされ、カード挿抜方向(D1方向)とは垂直ではない。一方、従来は図示破線で示すように挿抜口5の周囲の面PがD1方向と垂直になっている。両者を比較した場合、本実施形態のようにカード挿抜方向と面Pとが垂直でない方がメモリカードMCの挿抜口5からの突出量が大きくなる。ここで、メモリカードMCはカード後端部を指で押し込むことによりカード収容部3に装填されるが、装填時のカード突出量が少ない設計では、例えば指の腹で押し込んだような場合に完全に装填し切れないおそれがある。本実施形態では挿抜口5からの突出量が従来よりも大きいため、指の腹で押し込んだような場合でも押圧力が吸収されず、確実に装填することができる。
【0013】
さらに、カメラを胸の前で保持しているときにメモリカードMCをカメラから引き抜く状況を考える。メモリカードMCを図2のD3方向に挿抜する構成の場合、人間の動作としてメモリカードMCをそのまま手前に引き抜くのではなく、カメラをR方向にいくらか回転させ、斜め手前に引き抜くのが自然である。本実施形態では、メモリカードMCの挿抜方向が元々斜めであるから、メモリカードMCを引き抜く際にカメラを回転させる必要がなく、回転させるとしてもごく僅かな回転量のみで済む。
【0014】
図4および図5は他の実施形態におけるカメラと従来型カメラのボディサイズを比較する図である。本実施形態のカメラは、撮像ユニット2’のカメラ厚さ方向の寸法がカード装填部3の長さよりも短くなっている。なお、図2と同様の構成要素には同一の符号を付す。
【0015】
まず図4において、(a)は本実施形態のカメラ、すなわちメモリカードMCが光軸OXに対して斜めに収容されるカメラを示し、(b)はメモリカードMCが光軸OXと平行に収容されるカメラを示す。図から明らかなように、(b)の従来カメラは本実施形態のものと比べてカメラの厚さがAだけ大きくなる。
【0016】
一方、図5において、(a)は本実施形態のカメラを、(b),(c)はメモリカードMCを光軸OXと垂直方向に収容する従来例を示している。(b)のものは、カード装填部3を撮像ユニット2’の背面側に設けているため、カード装填部3の配置スペースの分、つまりCで示す分だけ本実施形態のもの比べてカメラの厚みが増す。また(c)のものは、カード装填部を撮像ユニット2’の側方に配置する構成のためカメラの厚みが増すことはないが、カード収容部3がメモリカードMCの長さ分だけ必要となり、図示Bで示す分だけ本実施形態のものと比べてカメラ横方向の寸法が増す。
【0017】
ここで、上述したようにグリップ部には電池やメインコンデンサ等の部品が配置されるため、図4(b)のようにカード装填部3を光軸と平行に配置したからといってグリップ6の横幅をさほど縮めることはできない。またカメラの厚さは撮像ユニット2の厚さ方向の寸法よりも薄くすることはできないから、図5(c)のようにカード装填部3を光軸OXと直交するよう配置したところでカメラの厚みを薄くすることはできない。したがって、本実施形態のようにカード装填部3を光軸OXに対して斜めに配置することで、カメラの横方向および厚さ方向の寸法を最小限に短くできる。
【0018】
図6はカード収容部3をグリップ6とは反対側のカメラ端部に設けた例を示し、(a)は本例のカメラ、すなわちメモリカードMCが光軸OXに対して斜めに収容されるカメラを、(b)はメモリカードMCが光軸OXと平行に収容されるカメラを、(c)はメモリカードMCが光軸OXと垂直に収容されるカメラをそれぞれ示す。この場合も、メモリカードMCを斜めに収容することにより上述と同様の作用効果が得られる。
【0019】
−第2の実施形態−
図7により本発明の第2の実施形態を説明する。
図7(a)は本実施形態における電子スチルカメラ(一眼レフカメラ)を光軸を含む垂直面で切った断面図である。図から分かるように、本実施形態のカメラはカード収容部3が撮像ユニット2の下方に設けられている。なお、撮像ユニット2の下方には、カード収容部3の他に電源電池を収容する電池室(不図示)が設けられる。
【0020】
カード収容部3はカメラ側方から見たときに光軸OXに対して斜めの方向、すなわち光軸OXと非平行かつ非垂直の方向(D1’方向)に延在する。メモリカードMCは、挿抜口5からD1’方向に挿抜され、そのままの姿勢でカード収容部3に収容される。カード収容部3の長さは撮像ユニット2のカメラ厚さ方向の長さよりも長いが、カード収容部を斜めに配置することでカメラの前面側あるいは背面側にカード収容部3を突出させる必要がない。
【0021】
因みに、図7(b),(c)は撮像ユニット2の下方にメモリカードMCを光軸と平行に配置した比較例を示している。カード収容部3の長さが撮像ユニット2のカメラ厚さ方向の長さよりも長いため、いずれのケースでもカード収容部3をカメラ前方あるいは後方に突出させるしかない。(b)のようにカード収容部3を前方に突出させた場合にはレンズ操作等の邪魔になり、(c)のように後方(背面側)に突出させた場合にはファインダを覗く際の邪魔となる。
【0022】
また図7(a)のように挿抜口5がカメラ背面に設けられ、かつメモリカードMCの装填方向が斜め下方となるよう構成すれば、カメラを胸の前で保持しているときに、上方からメモリーカードMCの装填の有無を容易に確認できるという利点もある。
【0023】
なお以上では、カメラを上下方向から見たときにメモリカードが光軸に対して斜めに収容される例と、側方から見たときに斜めに収容される例とを示したが、上下方向および側方のいずれの方向から見た場合でも斜めに収容される構成でもよい。またメモリーカードはコンパクトフラッシュカード(コンパクトフラッシュは米国サンディスク社の登録商標)に限定されず、スマートメディアやその他のメモリーカードでもよい。さらにカメラも一眼レフカメラに限定されず、コンパクトタイプのカメラでもよい。
【0024】
−第3の実施形態−
図8〜図15により本発明の第3の実施形態を説明する。図2と同様の構成要素には、同一の符号を付す。
図8において、グリップ6内の電池室11およびコンデンサ8と、閃光発光用の回路基板(以下、発光基板)9との間にカード収容部3が設けられる点は第1の実施形態と同様である。カメラのボディ本体50は、シャッタ51や絞り制御ユニット52とグリップ6とを仕切る仕切50aと、電池室11やコンデンサ8とカード収容部3とを仕切る仕切50bとを有する。仕切50aは、従来のフィルムカメラの場合と同様に光軸方向に延在し、一方、仕切50bはカード収容部3に併せて斜めに延在する。そして、これらの仕切50a,50bで両側を仕切られた空間にカード収容部3と発光基板9とが配置される。また発光基板9は、光軸に対して斜めに延在すカード収容部3と、光軸方向に延在する仕切50aとの間に配置されることになる。このような配置によってグリップ6内の空間を有効利用でき、カメラの大型化を抑制できる。したがって、従来からあるフィルムカメラのボディを流用することも可能となり、コストダウンが図れる。
【0025】
さらに本実施形態は、カード収容部3を含むカード基板30と発光基板9とを予め一体化して部組100とした点に特徴がある。部組100は、図9〜図14に示すように、カード基板30と発光基板9とをホルダ41に保持して成る。上述したようにメモリカードMCが斜めに挿抜されるため、カード基板30と発光基板9はそれに応じた角度をもって一体化される。ホルダ41は、シールドメッキを施すなどしてシールド性を持たせ、図示の如く発光基板9がホルダ41で囲まれるようにする。これにより閃光発光時および充電時のノイズをシールドすることが可能となる。
【0026】
部組100は、上記仕切50a,50bで仕切られた空間に挿通され、ホルダ41に設けた取付部41aをボディ本体50に螺着することで固定される(図15)。その後、背面カバー71をボディ本体50に取り付ける。カード基板30と発光基板9とを部組化しておくことにより、ボディへの組み込みが容易となる。
【0027】
なお、発光基板9とカード基板30は別々に組み込んでもよい。上記の位置に配置される基板は発光基板に限定されず、他の基板でもよい。
【0028】
−第4の実施形態−
図16〜図22により本発明の第4の実施形態を説明する。
本実施形態の電子スチルカメラは、図16(a),(b)に示すタイプIおよびIIのメモリカードMC1,MC2が使用可能であり、これらは同一のカード収容部3に装填される。図において、カード挿抜方向は紙面と直交する方向である。タイプIIのメモリカードMC2はタイプIのメモリカードMC1と比べて厚く、この厚みのあるカードMC2を収容可能にカード収容部3の幅を定める必要がある。そうすると、薄い方のカードMC1を装填する際にその厚さ方向の位置が定まらず、挿入位置を誤る可能性がある。
【0029】
上記の問題を解決するための構成を以下に示す。
上記2タイプのメモリカードMC1,MC2は、その形状がそれぞれ規格により決まっており、双方のカードMC1,MC2の上下寸法H1および奥行きは同一である。またカードMC1,MC2の上下部にはそれぞれ一対の凸部61a,61bが設けられるが、それらの凸部の幅,高さおよび間隔も両カードMC1,MC2で同一である。つまり両カードMC1,MC2は上下の凸部61a,61bを除いた部分の厚さが異なるのみで、その他の寸法は変わらない。図では上側凸部61aの幅をW1で、また凸部を除いた部分の上下寸法をH2で示している。
なお上側の凸部61aと下側の凸部61bとを比較した場合は、その形状や間隔は異なっており、これによりカードが上下逆に装填されるのが防止される。
【0030】
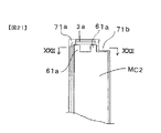
図17はカメラの背面カバー71に開けられたカード装填口(開口)71aをカメラ背面側から見た図である。装填口71aの幅は厚い方のメモリカードMC2が装填可能な寸法とされる。3aは上述したカード収容部3を構成するカードスロットを、30はカード基板を示している。図19から分かるように、カードスロット3aは、メモリカードMC1,MC2が斜めに収容されるよう背面カバー71に対して角度をもって配置される。このスロット3aの幅も厚い方のメモリカードMC2が挿入可能な寸法とされる。薄い方のメモリカードMC1は、装填口71aおよびカードスロット3aの左側に寄せて挿入することで正規の装填がなされるようになっている。なお、カードスロット3aの開口部3bは背面カバー71の装填口71aに位置し、この部分はカードMC1,MC2を装填し易いように外側に向かって開いている。
【0031】
カード装填口71aは完全な矩形ではなく、右側の上下部分に段部(当接部材)71bが設けられている。この段部71bにより、装填口71aの右側部分の上下寸法Hは左側部分より短くなる。今、図16で規定したカード寸法を用いて表すと、
H2<H<H1・・・(1)
となるように寸法Hが設定される。これによれば、使用者が薄い方のメモリカードMC1を装填する際、図18,図19に示すように装填口71aの右側端面に沿って挿入しようとしても、メモリカードMC1の凸部61a,61bの端面が段部71bに当たり、装填口71aを通過させることはできない。したがって、操作者はこの時点で装填位置が不適切であることに気づくことになる。これに気づいた使用者は、自然の動作としてカードMC1を左側にずらしながら押し込もうとするため、カードMC1は自ずと正規の装填位置に導かれ、凸部61a,61bが段部71bから離れた時点でカードMC1は装填口71aを通過し、スロット3aに至る。したがって、操作者はカード装填にあたって装填口71aのおよその位置を確認すればよく、特に装填口71aを注視しながら装填する必要はない。
【0032】
因みに段部71bが設けられていない場合には、右側に寄った位置(正規の位置ではない)でも装填口71aを通過させることができてしまうため、カードMC1を半ば装填するまで装填位置の相違に気づかず、カードMC1をいったん引き抜いて再度装填し直さなければならい。そして、再度装填の際には再び位置を誤らぬよう装填口71aを注視しながら装填するのが普通である。
【0033】
装填動作の続きであるが、上述のように正規の位置でカードMC1が装填口71aを通過すると、図20に示すように今度は段部71bが装填のガイドの役割を果たす。つまりカードMC1の側面を段部71bにあてがった状態で挿入することで、カードMC1の先端面がカードスロット3aの開口端部に引っかかることがなく、またカードMC1の挿入角度が本来の挿入角度と大きくずれることもなく、スムーズにスロット3aに挿入できる。いったんカードMC1がスロット3aに入ってしまえば、カードMC1の位置が右側にずれることはなく、そのまま押し込むことで装填が完了する。
【0034】
図21,図22は厚い方のメモリカードMC2を装填する様子を示している。カードMC2は厚みがあるため、装填口71aの左右側のいずれに沿わせても装填位置を誤る心配はない。また、上下段部間の寸法Hが上記(1)式の関係を満たすので、段部71bが装填の妨げになることはない。さらに段部71bをガイドとすることで、上述と同様にカードMC2の先端面がカードスロット3aの開口端部に引っかかることがなく、スムーズに装填できる。
【0035】
なお、当接部材としての段部71bを背面カバー71と一体に形成したが、別体で形成して取り付けてもよい。
【0036】
−第5の実施形態−
図23〜図31により本発明の第5の実施形態を説明する。なお、図8と同様の構成要素には同一の符号を付す。
本実施形態は、メモリカードMCを取り出すためのイジェクトボタンの構造に特徴を持たせたものである。イジェクトボタン(例えば図2の符号13)は、メモリカード未装填の状態では押し込まれた状態になっており、カード装填に伴って突出する。この突出したイジェクトボタンを押圧することでカードMCが装填口から突出し、カードMCを取り出すことができる。一般にイジェクトボタンはプラスチックの成型品であり、上述したようなカードスロット3aに圧入されて取り付けられる。イジェクトボタンがカードスロット3aと一体のものもある。押圧する部分の面積は、操作性を考えると大きい方が望ましい。
【0037】
図23〜図26はイジェクトボタンの一例を示し、図23,図24はカード未装填状態を、図25,図26は装填状態をそれぞれ示す。イジェクトボタン113の押圧/突出方向は、構造上メモリカードMCの挿抜方向と一致させる必要がある。背面カバー71のうち、カード装填口71aやイジェクトボタン113の露出窓71cが設けられる箇所は光軸と直交する面であり、一方、メモリカードMCの挿抜方向は光軸に対して斜めであるから、イジェクトボタン113の押圧/突出方向は背面カバー71に対して斜めとなる。
【0038】
ところで、例えばカメラの修理の際に、背面カバー71をボディ本体50から取り外すことがある。イジェクトボタン113と露出窓71cの壁面との間には必要最小限のクリアランスが設けられているため、イジェクトボタン113が押圧された状態(図23の状態)で背面カバー71を光軸後方に難なく取り外すことができる。
【0039】
しかし、上記の構成では、メモリカードMCが装填されてイジェクトボタン113が突出したとき、図25,図26に示すようにボタン左側と露出窓71cの壁面との間に大きな隙間が形成されてしまい、その隙間からカメラ内部が見えてしまうという問題がある。これは、イジェクトボタン113が背面カバー71に対して斜めに押圧/突出するためである。
【0040】
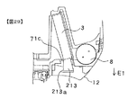
これを解決した例を図27〜図30に示す。
イジェクトボタン213は、その押圧面を構成する部分が図示左方向に張り出すように形成される。この張り出し部(被覆部)213aは、イジェクトボタン213が押圧されている状態で露出窓71cとの隙間を背面側から覆い、その先端は背面カバー71と若干重なる(図27,図28)。一方、イジェクトボタン213が突出されると、張り出し部213aは右後方に移動するが、その先端は露出窓71cの左側壁面とほぼ同位置に止まる(図29,図30)。したがって、いずれの状態でもイジェクトボタン213と露出窓71cの壁面との隙間が張り出し部213aで隠蔽され、隙間からカメラ内部が見えてしまうことはなく、見栄えの向上が図れる。また、張り出し部213aによってイジェクトボタン213の押圧部分の面積が増すので、操作性も向上する。
【0041】
しかし、上記のような張り出し部213aを設けると、修理等にあたって背面カバー71を取り外す際に、露出窓71cの縁部が張り出し部213aに引っ掛かり、取り外し不能となるおそれがある。そこで本実施形態では、図示の如く露出窓71cの左壁面を斜め(カード挿抜方向とほぼ平行)にカットした。またイジェクトボタン213の右側の面、およびその面と対向する露出窓71cの右壁面も同様の方向の斜面としてある。
【0042】
図31は背面カバー71の取り外し手順を示している。
図27のように、イジェクトボタン213が押し込まれた状態では背面カバー71の取り外しは不可能である。そこで、まずイジェクトボタン213を図29のように突出させ、この状態で背面カバー71とボディ本体50とを固定するねじを外し、背面カバー71を光軸後方(E1方向)に引く。図31(a)に示すように、露出窓71cの右側壁面がイジェクトボタン213の右側面に当接した時点でE1方向への移動は阻止される。このとき、張り出し部213aの先端は露出窓71cを通過し得る位置にある。この状態で背面カバー71をD1方向(イジェクトボタン突出方向)に引けば、背面カバー71を取り外せる(図31(b))。カバー71の取り付けは上記と逆の動作を行えばよい。
【0043】
なお、背面カバーの取り外しに際して、先にイジェクトボタンをカードスロットから取り外してカバーを取り外し、また取り付けの際には背面カバーを取り付けてからイジェクトボタンをカードスロットに圧入するという方法もある。これによれば、露出窓を極力小さくでき、その壁面の形状に気を配る必要はない。しかし、この場合は背面カバーの取り付け/取り外しに手間がかかり、作業性の低下を招く。特に、イジェクトボタンは簡単に外れないようカードスロットに圧入されているため、これを取り外すには手間がかかる。また、圧入/取り外しを繰り返すうちにイジェクトボタンが変形あるいは破損し、その場合は新品と交換しなければならない。上記図27〜図30の例では、この種の問題は発生しない。
【0044】
【発明の効果】
本発明によれば、メモリカードを撮影レンズの光軸と非平行かつ非垂直な状態で収容するカード収容部をカメラボディに設けたので、カメラの小型化が図れる。特に一眼レフタイプの電子スチルカメラでは、銀塩カメラ用のボディを流用することが多く、予めカメラ内スペースの大きさ・形状が決められているので、電子スチルカメラの構成部品を効率よく収容するのが困難であるが、メモリカードを撮影レンズの光軸と非平行かつ非垂直な状態で収容することでスペース効率が向上し、他の部品とともに収容可能となる。
【図面の簡単な説明】
【図1】第1の実施形態に係る電子スチルカメラの概略構成図。
【図2】電子スチルカメラのグリップ側端部の内部構造を示す図。
【図3】カード挿抜口近傍の構造を示す図。
【図4】第1の実施形態に係る電子スチルカメラと従来カメラとのボディサイズを比較する図。
【図5】図4と同様の図。
【図6】図4と同様の図で、グリップと反対側の端部にカード収容部を配置した場合を示す。
【図7】第2の実施形態に係る電子スチルカメラと従来カメラとのボディサイズを比較する図。
【図8】本発明の第3の実施形態に係る電子スチルカメラの平面断面図。
【図9】図8のカメラに組み込まれる部組100を示す図で、図10のIX−IX線から見た図。
【図10】部組の正面図。
【図11】部組を示す図12のXI−XI線断面図。
【図12】図10のXII−XII線から見た図。
【図13】図10のXIII−XIII線から見た図。
【図14】部組の正面図であり、取付部を取り外した状態を示す。
【図15】部組をカメラに取り付けた状態を示す背面図。
【図16】2種類のメモリカードを示す図。
【図17】本発明の第4の実施形態におけるカード装填口を示す図。
【図18】薄いメモリカードを誤った位置に装填しようとしている状態を示す図。
【図19】図18のXIX−XIX線断面図。
【図20】薄いメモリカードの装填途中を示す図。
【図21】厚いメモリカードの装填途中を示す図。
【図22】図21のXXII−XXII線断面図。
【図23】本発明の第5の実施形態に係るカメラの一部を示す平面断面図で、イジェクトボタンが押圧されている状態を示す。
【図24】図23のカメラを背面から見た図。
【図25】図23と同様の図で、イジェクトボタンが突出している状態を示す。
【図26】図25のカメラを背面から見た図。
【図27】イジェクトボタンの形状を変えた例を示す図で、イジェクトボタンが押圧されている状態を示す。
【図28】図27のカメラを背面から見た図。
【図29】図27と同様の図で、イジェクトボタンが突出している状態を示す。
【図30】図29のカメラを背面から見た図。
【図31】図23のカメラにおける背面カバー取り外し手順を示す図。
【符号の説明】
1 カメラボディ
2 撮像ユニット
3 カード収容室
3a カードスロット
3b カードスロット開口部
4 撮影レンズ
5 カード挿抜口
6 グリップ
7 電源電池
8 メインコンデンサ
9 発光用回路基板(発光基板)
10 操作部材
11 電池室
12 蓋部材
13,113,213 イジェクトボタン
30 カード基板
41 ホルダ
41a 取付部
50 ボディ本体
51 シャッタ
52 絞り制御ユニット
61a,61b 凸部
71 背面カバー
71a カード装填口
71b 段部
71c 露出窓
100 部組
213a 張り出し部
MC,MC1,MC2 メモリカード
OX 光軸

Claims (13)

  1. 撮像ユニットにより撮像された画像情報を挿抜可能なメモリカードに記録する電子スチルカメラにおいて、
    前記撮像ユニットを内蔵するカメラボディと、
    前記カメラボディの背面に開閉可能に設けられた蓋部材と、
    前記カメラボディに形成され、前記閉状態にある蓋部材によって覆われ、前記蓋部材が開状態になると露出する開口部と、
    前記カメラボディに設けられ、前記開口部を通して前記メモリカードが被写体光入射光軸と非平行かつ非垂直な方向に挿抜されるカード収容部と、
    有し、
    前記カード収容部は、前記カメラボディに固定され、前記光軸に対して非平行かつ非垂直に延在することを特徴とする電子スチルカメラ。
  2. 前記カード収容部は、カメラを上下方向から見たときに前記メモリカードが前記光軸に対して非平行かつ非垂直な状態で挿抜可能に構成されていることを特徴とする請求項1に記載の電子スチルカメラ。
  3. 前記カメラボディは更に、前記光軸に略垂直でかつ前記背面よりも被写体側に位置する前面と、前記前面より被写体側に突出し、前記被写体側に向かうほどその光軸と垂直な断面積が小さくなる突出部を備えたグリップ部とを有し、
    前記グリップ部の前側空間および後側空間に、電源電池が装填される電池室およびグリップ内部材がそれぞれ配置され、前記カード収容部は、前記電池室と前記グリップ内部材との間に位置していることを特徴とする請求項2に記載の電子スチルカメラ。
  4. 前記電池室は、前記カード収容部の前記挿抜方向と略平行な壁面を有することを特徴とする請求項3に記載の電子スチルカメラ。
  5. 前記メモリカードは、カメラを側方から見たときに前記光軸に対して非平行かつ非垂直な方向に前記カード収容部に挿抜されることを特徴とする請求項1に記載の電子スチルカメラ。
  6. 前記カード収容部は前記撮像ユニットのカメラ下方に位置していることを特徴とする請求項5に記載の電子スチルカメラ。
  7. カメラを側方から見たときに、前記メモリカードの装填方向が斜め下方となるよう構成したことを特徴とする請求項5または6に記載の電子スチルカメラ。
  8. 前記カード収容部は、カメラを上下方向から見たときに前記光軸に対して非平行かつ非垂直に延在し、そのカード収容部と、カメラボディ内において光軸方向に延在する部材との間に回路基板を設けたことを特徴とする請求項1に記載の電子スチルカメラ。
  9. 前記回路基板は、閃光発光用の回路基板であることを特徴とする請求項8に記載の電子スチルカメラ。
  10. 前記回路基板および前記カード収容部は予め一体化されていることを特徴とする請求項8に記載の電子スチルカメラ。
  11. 前記回路基板および前記カード収容部を一体に保持するとともに、前記カメラボディへの取付部を有するホルダを有し、該ホルダはシールド性を有する部材で構成され、前記回路基板は該ホルダに囲まれるよう保持されていることを特徴とする請求項10に記載の電子スチルカメラ。
  12. 前記カード収容部には、厚さの異なる2種類のメモリカードが装填可能とされ、薄い方のメモリカードが本来の装填位置よりも厚さ方向にずれた位置に装填されるのを阻止する当接部材をカード装填口に設けたことを特徴とする請求項1に記載の電子スチルカメラ。
  13. 前記カード収容部に前記メモリカードが装填されるのに伴って突出し、前記メモリカードの取り出しにあたってカード装填方向に押圧操作されるイジェクトボタンと、
    光軸と略直交する方向の面を有し、その面に前記イジェクトボタンを押圧/突出可能に露出させる露出部を設けたカバー部材とを更に備え、
    前記イジェクトボタンは、該イジェクトボタンと前記露出部端面との隙間を外部から覆う被覆部を有し、前記カバー部材をカード取り出し方向に取り外すときに、突出状態にあるイジェクトボタンが前記露出部を通過するように該露出部の端面の角度を設定したことを特徴とする請求項1に記載の電子スチルカメラ。
JP2002157268A 2001-08-10 2002-05-30 電子スチルカメラ Expired - Fee Related JP4472913B2 (ja)

Priority Applications (1)

Application Number Priority Date Filing Date Title
JP2002157268A JP4472913B2 (ja) 2001-08-10 2002-05-30 電子スチルカメラ

Applications Claiming Priority (3)

Application Number Priority Date Filing Date Title
JP2001244381 2001-08-10
JP2001-244381 2001-08-10
JP2002157268A JP4472913B2 (ja) 2001-08-10 2002-05-30 電子スチルカメラ

Publications (2)

Publication Number Publication Date
JP2003134445A JP2003134445A (ja) 2003-05-09
JP4472913B2 true JP4472913B2 (ja) 2010-06-02

Family

ID=26620413

Family Applications (1)

Application Number Title Priority Date Filing Date
JP2002157268A Expired - Fee Related JP4472913B2 (ja) 2001-08-10 2002-05-30 電子スチルカメラ

Country Status (1)

Country Link
JP (1) JP4472913B2 (ja)

Families Citing this family (3)

* Cited by examiner, † Cited by third party
Publication number Priority date Publication date Assignee Title
JP5486546B2 (ja) * 2011-04-08 2014-05-07 株式会社デジタル 電子機器
JP6198390B2 (ja) * 2012-12-21 2017-09-20 キヤノン株式会社 撮像装置
JP6223031B2 (ja) * 2013-07-17 2017-11-01 キヤノン株式会社 撮像装置

Also Published As

Publication number Publication date
JP2003134445A (ja) 2003-05-09

Similar Documents

Publication Publication Date Title
JP2006186491A (ja) 撮像装置
EP1024396B1 (en) Lens-carrying film unit having protective cover
JP2004247218A (ja) 電子機器
JP4472913B2 (ja) 電子スチルカメラ
CN1154991C (zh) 电子仪器
TWI311229B (en) Push button group installing device, waterproof case and camera with waterproof case
JP4389816B2 (ja) 電子機器
JP2002279950A (ja) 電池収納装置およびカメラ
JP4651077B2 (ja) 電子機器
JP4566432B2 (ja) 電子機器
JP3623264B2 (ja) 電子デバイス構体収納機構
JPH10206954A (ja) カメラ
JP4332727B2 (ja) 撮像装置
JP3300899B2 (ja) スチルビデオカメラ
US7564500B2 (en) Electronic apparatus having memory medium attachment part
JP2006179393A (ja) 電子機器
JP2561099Y2 (ja) フィルムカートリッジ式カメラ
JP2005099145A (ja) 撮像装置
JPH05284400A (ja) 電子機器のメモリーカード着脱装置
JP2592469B2 (ja) 電子カメラ
JP2002328418A (ja) カメラ
JPH10206944A (ja) ストロボ内蔵カメラ
JP2002287225A (ja) デジタルカメラ
JPH1146315A (ja) 電子スチルカメラ
JPH11311820A (ja) カメラ

Legal Events

Date Code Title Description
A621 Written request for application examination

Free format text: JAPANESE INTERMEDIATE CODE: A621

Effective date: 20050526

A977 Report on retrieval

Free format text: JAPANESE INTERMEDIATE CODE: A971007

Effective date: 20070413

A131 Notification of reasons for refusal

Free format text: JAPANESE INTERMEDIATE CODE: A131

Effective date: 20070424

A521 Request for written amendment filed

Free format text: JAPANESE INTERMEDIATE CODE: A523

Effective date: 20070625

A02 Decision of refusal

Free format text: JAPANESE INTERMEDIATE CODE: A02

Effective date: 20070717

A521 Request for written amendment filed

Free format text: JAPANESE INTERMEDIATE CODE: A523

Effective date: 20071001

A521 Request for written amendment filed

Free format text: JAPANESE INTERMEDIATE CODE: A523

Effective date: 20100119

RD02 Notification of acceptance of power of attorney

Free format text: JAPANESE INTERMEDIATE CODE: A7422

Effective date: 20100119

A01 Written decision to grant a patent or to grant a registration (utility model)

Free format text: JAPANESE INTERMEDIATE CODE: A01

A61 First payment of annual fees (during grant procedure)

Free format text: JAPANESE INTERMEDIATE CODE: A61

Effective date: 20100304

FPAY Renewal fee payment (event date is renewal date of database)

Free format text: PAYMENT UNTIL: 20130312

Year of fee payment: 3

R150 Certificate of patent or registration of utility model

Ref document number: 4472913

Country of ref document: JP

Free format text: JAPANESE INTERMEDIATE CODE: R150

Free format text: JAPANESE INTERMEDIATE CODE: R150

FPAY Renewal fee payment (event date is renewal date of database)

Free format text: PAYMENT UNTIL: 20130312

Year of fee payment: 3

S531 Written request for registration of change of domicile

Free format text: JAPANESE INTERMEDIATE CODE: R313531

FPAY Renewal fee payment (event date is renewal date of database)

Free format text: PAYMENT UNTIL: 20130312

Year of fee payment: 3

R350 Written notification of registration of transfer

Free format text: JAPANESE INTERMEDIATE CODE: R350

FPAY Renewal fee payment (event date is renewal date of database)

Free format text: PAYMENT UNTIL: 20130312

Year of fee payment: 3

FPAY Renewal fee payment (event date is renewal date of database)

Free format text: PAYMENT UNTIL: 20130312

Year of fee payment: 3

FPAY Renewal fee payment (event date is renewal date of database)

Free format text: PAYMENT UNTIL: 20140312

Year of fee payment: 4

R250 Receipt of annual fees

Free format text: JAPANESE INTERMEDIATE CODE: R250

R250 Receipt of annual fees

Free format text: JAPANESE INTERMEDIATE CODE: R250

R250 Receipt of annual fees

Free format text: JAPANESE INTERMEDIATE CODE: R250

R250 Receipt of annual fees

Free format text: JAPANESE INTERMEDIATE CODE: R250

R250 Receipt of annual fees

Free format text: JAPANESE INTERMEDIATE CODE: R250

R250 Receipt of annual fees

Free format text: JAPANESE INTERMEDIATE CODE: R250

R250 Receipt of annual fees

Free format text: JAPANESE INTERMEDIATE CODE: R250

LAPS Cancellation because of no payment of annual fees