JP4462845B2 - 画像読取装置 - Google Patents
画像読取装置 Download PDFInfo
- Publication number
- JP4462845B2 JP4462845B2 JP2003134176A JP2003134176A JP4462845B2 JP 4462845 B2 JP4462845 B2 JP 4462845B2 JP 2003134176 A JP2003134176 A JP 2003134176A JP 2003134176 A JP2003134176 A JP 2003134176A JP 4462845 B2 JP4462845 B2 JP 4462845B2
- Authority
- JP
- Japan
- Prior art keywords
- mirror
- image reading
- reading apparatus
- traveling body
- leaf spring
- Prior art date
- Legal status (The legal status is an assumption and is not a legal conclusion. Google has not performed a legal analysis and makes no representation as to the accuracy of the status listed.)
- Expired - Fee Related
Links
- 230000003287 optical effect Effects 0.000 description 15
- 238000004519 manufacturing process Methods 0.000 description 5
- 239000000463 material Substances 0.000 description 5
- 238000010586 diagram Methods 0.000 description 3
- 230000003405 preventing effect Effects 0.000 description 3
- 239000011521 glass Substances 0.000 description 2
- 230000000694 effects Effects 0.000 description 1
- 239000011347 resin Substances 0.000 description 1
- 229920005989 resin Polymers 0.000 description 1
Images
Landscapes
- Optical Systems Of Projection Type Copiers (AREA)
- Image Input (AREA)
- Facsimile Scanning Arrangements (AREA)
Description
【発明の属する技術分野】
本発明は、画像読取装置、特に、複写機、ファクシミリ装置、複合機等に使用される画像読取装置に関する。
【0002】
【従来の技術】
従来の複写機等では、図4及び図5に示すように、上方が開かれた筐体6にガラス板7を載置し、筐体6の内部に画像読取走査のための光学ユニット3、4を有する。これらの光学ユニット3、4は、ワイヤー5に連結され、ワイヤー5をドラム1に巻き付けることによって、光学ユニット3、4をけん引し、原稿8と平行に移動させて画像読取走査を行なう。
【0003】
光学ユニット3には、ランプ9とミラー11とが搭載され、光学ユニット4には、ミラー11が2枚搭載され、光学ユニット3に搭載されたランプ9の光22を原稿8に照射し、反射した光22を、光学ユニット3、4に搭載されているミラー11に反射させ、最終的に、図示しない画像読取部において原稿8上の画像が読み取られる。
【0004】
画像読取走査をする際には、図示しないモータの振動や、ガイド部材6aの上を光学ユニット3、4の滑り材が移動することによって発生した振動が光学ユニット3、4に伝達され、光学ユニット3、4に搭載されているミラー11が振動する。これにより、ミラー11上で光22が反射する際に、光22の反射する方向が変化し、図6に示すように、例えば、原稿8に書かれた直線20が、読取走査後の読取画19にはジャザー状のジッタ21として現れる場合がある。
【0005】
このジッタ21を防止するため、第1の従来例として、従来の画像読取装置の光学ユニット4には、例えば、図7及び図8に示すように、ブラケット12にスポンジ13を貼着し、ブラケット12を走行体15にねじ14で固定し、スポンジ13側をミラー11の中央付近の反射面の裏面に押圧している。
【0006】
また、同様の目的で、第2の従来例として、特許文献1には、図10及び図11に示すように、ミラー11の中央付近にブラケット12を走行体15にねじ14で固定し、ブラケット12からミラー11の反射面の裏面方向へねじ14または突起物を突出させてミラー11の反射面の裏面に当接させ、反射面から板ばね16をブラケット12にねじ14で固定し、ミラー11を押圧する構成が提案されている。
【0007】
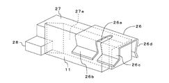
さらに、同様の目的で、第3の従来例として、特許文献2には、図12に示すように、概略コの字断面状に成形された板ばね26の一片側から当該断面方向にスリット26aを形成して該板ばね26を部分的に分割し、板ばね26の他片側26dをミラー支持部27の平坦面27aと反対の側に固定して、板ばね26の分割部分の一方26bによりミラー11を平坦面27aに押圧するとともに、分割部分の他方26cによりミラー11を突起28に当接させる構成も提案されている。
【0008】
【特許文献1】
特許第3077768号公報
【0009】
【特許文献2】
実公平6−41209号公報
【0010】
【発明が解決しようとする課題】
しかし、上記第1及び第2の従来例においては、光学ユニット3、4のミラー11の中央部付近において、ミラー11の反射面または裏面を数個の部品で押さえていたため、部品点数が多くなり、これに伴って材料コストが高くなり、製造コストが上昇するという問題があった。また、第3の従来例においても、ミラー11を当接させる突起28を形成したり、スリット26aを有する板ばね26を形成する必要があるため、材料コスト、ひいては製造コストが上昇するという問題があった。
【0011】
さらに、第1の従来例においては、ミラー11を押圧するにあたってスポンジ13を使用しているため、押圧力のばらつきが大きくなり、振動防止効果が安定せず、画品質安定性が低下するという問題があった。
【0012】
また、第1及び第2の従来例においては、ミラー11の長手方向の中央部付近において、ミラー11の反射面または裏側を押圧するため、図9に示すように、ミラー11が撓み、焦点を合わせるための作業に長時間を要し、画像読取装置の組立が容易ではないという問題があった。
【0013】
そこで、本発明は、上記従来の画像読取装置等における問題点に鑑みてなされたものであって、製造コストが低く、画品質を安定させることができ、組立が容易な画像読取装置を提供することを目的とする。
【0014】
【課題を解決するための手段】
上記目的を達成するため、請求項1記載の発明は、画像読取装置であって、互いに平行な一対のガイド部材と、該ガイド部材に沿って走行可能に取り付けられた走行体と、各々の両端部が前記走行体に固定され、各々の反射面が互いに傾斜した状態で相対向する一対のミラーとを備えた画像読取装置において、前記一対のミラーの、前記走行体の走行方向に対して垂直な方向の略々中央部において、各々のミラーの反射面に対して垂直な面であって、相対向する2つの面を同時に押圧する板ばねを前記走行体に設け、前記各々のミラーの反射面に対して垂直な面であって、前記板ばねで押圧しない他方の面を固定しないことを特徴とする。
【0015】
そして、請求項1記載の発明によれば、ミラーの、前記走行体の走行方向に対して垂直な方向の略々中央部において、板ばねによって、該ミラーの反射面または裏面方向を押圧するのではなく、該ミラーの反射面に対して垂直な面であって、相対向する2つの面を押圧するため、ミラーが撓むことがなく、焦点を合わせるための作業が容易で、画像読取装置の組立を容易に行うことができる。また、板ばねのみによってミラーを押さえることができるため、部品点数を削減することができ、材料コスト、ひいては製造コストを低減することができる。さらに、板ばねによってミラーを一定力で押圧することができるため、安定した振動防止効果が得られ、画品質が安定する。
【0018】
【発明の実施の形態】
次に、本発明にかかる画像読取装置の実施の形態について、図1乃至図5を参照しながら説明する。尚、以下の説明においては、上記従来の画像読取装置と同一の構成要素については、同一の参照番号を付して詳細説明を省略する。
【0019】
本発明にかかる画像読取装置は、互いに平行な一対のガイド部材6aと、ガイド部材6aに沿って走行可能に取り付けられた走行体15と、両端部が走行体15に固定されたミラー11とを備え、ミラー11の長手方向の略々中央部において、ミラー11の反射面11aに対して垂直な面11bを押圧する押圧手段としての板ばね17を、前記走行体15にねじ14を介して設けたことを特徴とする。尚、各々のミラー11の反射面11aに対して垂直な面であって、板ばね17で押圧しない面11cは固定しない。
【0020】
次に、上記構成を有する画像読取装置の動作について、図1乃至図5を参照しながら説明する。
【0021】
モータ24による回転駆動を、タイミングベルト23によって、ベルトプーリ25に伝達すると、ドラムシャフト2とドラム1が回転し、ドラム1にワイヤー5が巻き取られる。これによって、ワイヤー5に連結された光学ユニット3、4がけん引され、滑り材18を介してガイド部材6a上を移動して原稿8を読取走査する。ここで、板ばね17は、ミラー11の反射面11aに対して垂直な面11bの方向へ常に一定の押圧力でミラー11を押圧し続けるため、ミラー11が撓むことがなく、焦点を合わせるための作業が容易となるとともに、安定した振動防止効果が得られ、画品質が安定する。
【0022】
尚、上記実施例においては、ミラー11の長手方向の略々中央部において、ミラー11の反射面11aに対して垂直な面11bを押圧する押圧手段として、板ばね17を採用した場合について説明したが、板ばね17に代えて、弾性のある樹脂材等を用いることも可能である。
【0023】
【発明の効果】
以上説明したように、本発明によれば、製造コストが低く、画品質を安定させることができ、組立が容易な画像読取装置を提供することができる。
【図面の簡単な説明】
【図1】本発明にかかる画像読取装置の一実施の形態を示す斜視図である。
【図2】図1の画像読取装置のミラーの長手方向中央部を示す断面図である。
【図3】図1の矢視A図である。
【図4】従来及び本発明にかかる画像読取装置を示す上面図である。
【図5】図4のB−B線断面図である。
【図6】従来の画像読取装置におけるジッタの一例を示す図であって、(a)は原稿を、(b)は読取画を示す概略図である。
【図7】従来の画像読取装置(第1従来例)を示す斜視図である。
【図8】図7の画像読取装置のミラーの長手方向中央部を示す断面図である。
【図9】図7の矢視C図であって、ミラーが撓む状態を示す概略図である。
【図10】従来の画像読取装置(第2従来例)を示す斜視図である。
【図11】図10の画像読取装置のミラーの長手方向中央部を示す断面図である。
【図12】従来の画像読取装置ミラー支持構造(第3従来例)を示す斜視図である。
【符号の説明】
1 ドラム
2 シャフト
3 光学ユニット
4 光学ユニット
5 ワイヤー
6 筐体
6a ガイド部材
7 ガラス板
8 原稿
9 ランプ
10 プーリ
11 ミラー
11a 反射面
11b (反射面11aに対して垂直な面であって、板ばね17で押圧する)面
11c (反射面11aに対して垂直な面であって、板ばね17で押圧しない)面
12 ブラケット
13 スポンジ
14 ねじ
15 走行体
16 板ばね
17 板ばね
18 滑り材
19 読取画
20 原稿の直線
21 ジッタ
22 (読取反射)光
23 タイミングベルト
24 モータ
25 ベルトプーリ
26 板ばね
26a スリット
26b 分割部分の一方
26c 分割部分の他方
26d 他片側
27 ミラー支持部
27a 平坦面
28 突起
Claims (1)
- 互いに平行な一対のガイド部材と、該ガイド部材に沿って走行可能に取り付けられた走行体と、各々の両端部が前記走行体に固定され、各々の反射面が互いに傾斜した状態で相対向する一対のミラーとを備えた画像読取装置において、
前記一対のミラーの、前記走行体の走行方向に対して垂直な方向の略々中央部において、各々のミラーの反射面に対して垂直な面であって、相対向する2つの面を同時に押圧する板ばねを前記走行体に設け、前記各々のミラーの反射面に対して垂直な面であって、前記板ばねで押圧しない他方の面を固定しないことを特徴とする画像読取装置。
Priority Applications (1)
| Application Number | Priority Date | Filing Date | Title |
|---|---|---|---|
| JP2003134176A JP4462845B2 (ja) | 2003-05-13 | 2003-05-13 | 画像読取装置 |
Applications Claiming Priority (1)
| Application Number | Priority Date | Filing Date | Title |
|---|---|---|---|
| JP2003134176A JP4462845B2 (ja) | 2003-05-13 | 2003-05-13 | 画像読取装置 |
Publications (2)
| Publication Number | Publication Date |
|---|---|
| JP2004341010A JP2004341010A (ja) | 2004-12-02 |
| JP4462845B2 true JP4462845B2 (ja) | 2010-05-12 |
Family
ID=33524813
Family Applications (1)
| Application Number | Title | Priority Date | Filing Date |
|---|---|---|---|
| JP2003134176A Expired - Fee Related JP4462845B2 (ja) | 2003-05-13 | 2003-05-13 | 画像読取装置 |
Country Status (1)
| Country | Link |
|---|---|
| JP (1) | JP4462845B2 (ja) |
-
2003
- 2003-05-13 JP JP2003134176A patent/JP4462845B2/ja not_active Expired - Fee Related
Also Published As
| Publication number | Publication date |
|---|---|
| JP2004341010A (ja) | 2004-12-02 |
Similar Documents
| Publication | Publication Date | Title |
|---|---|---|
| US8223409B2 (en) | Optical device, image reading apparatus and adjusting method for optical device | |
| JP4159499B2 (ja) | 原稿読取装置 | |
| JP4462845B2 (ja) | 画像読取装置 | |
| JPH10257253A (ja) | 画像処理装置のキャリアの摺動案内機構 | |
| JP3570840B2 (ja) | 画像読取装置 | |
| JP4527312B2 (ja) | スキャナ装置および複写機 | |
| JP3747894B2 (ja) | 画像読取装置 | |
| JP3365361B2 (ja) | 走査装置 | |
| JP3543702B2 (ja) | 画像読取装置 | |
| JP3466333B2 (ja) | 画像読取装置 | |
| JP3569561B2 (ja) | 原稿走査装置 | |
| JP2003295353A (ja) | 画像読み取り装置 | |
| JP3612476B2 (ja) | Ccdの取付構造およびその構造が採用された画像読取装置 | |
| JP4527313B2 (ja) | スキャナ装置及び複写機 | |
| JP4368192B2 (ja) | 画像読取装置 | |
| JP2000214546A (ja) | 滑動体 | |
| JPS6029932B2 (ja) | 光学系の駆動装置 | |
| JP3570597B2 (ja) | 複写機の制振装置 | |
| JP3359759B2 (ja) | レンズ移動機構 | |
| JP2001083633A (ja) | 画像読取装置 | |
| JP2003295346A (ja) | 画像読み取り装置 | |
| JP2005189592A (ja) | 画像読取装置 | |
| JPH04336855A (ja) | 走査装置 | |
| JPH05346623A (ja) | 走査装置 | |
| JP2000261623A (ja) | 画像読み取り装置 |
Legal Events
| Date | Code | Title | Description |
|---|---|---|---|
| A621 | Written request for application examination |
Free format text: JAPANESE INTERMEDIATE CODE: A621 Effective date: 20060405 |
|
| A977 | Report on retrieval |
Free format text: JAPANESE INTERMEDIATE CODE: A971007 Effective date: 20090409 |
|
| A131 | Notification of reasons for refusal |
Free format text: JAPANESE INTERMEDIATE CODE: A131 Effective date: 20090413 |
|
| A521 | Request for written amendment filed |
Free format text: JAPANESE INTERMEDIATE CODE: A523 Effective date: 20090612 |
|
| A131 | Notification of reasons for refusal |
Free format text: JAPANESE INTERMEDIATE CODE: A131 Effective date: 20091102 |
|
| A521 | Request for written amendment filed |
Free format text: JAPANESE INTERMEDIATE CODE: A523 Effective date: 20091225 |
|
| TRDD | Decision of grant or rejection written | ||
| A01 | Written decision to grant a patent or to grant a registration (utility model) |
Free format text: JAPANESE INTERMEDIATE CODE: A01 Effective date: 20100201 |
|
| A01 | Written decision to grant a patent or to grant a registration (utility model) |
Free format text: JAPANESE INTERMEDIATE CODE: A01 |
|
| A61 | First payment of annual fees (during grant procedure) |
Free format text: JAPANESE INTERMEDIATE CODE: A61 Effective date: 20100216 |
|
| FPAY | Renewal fee payment (event date is renewal date of database) |
Free format text: PAYMENT UNTIL: 20130226 Year of fee payment: 3 |
|
| R150 | Certificate of patent or registration of utility model |
Free format text: JAPANESE INTERMEDIATE CODE: R150 Ref document number: 4462845 Country of ref document: JP Free format text: JAPANESE INTERMEDIATE CODE: R150 |
|
| FPAY | Renewal fee payment (event date is renewal date of database) |
Free format text: PAYMENT UNTIL: 20130226 Year of fee payment: 3 |
|
| FPAY | Renewal fee payment (event date is renewal date of database) |
Free format text: PAYMENT UNTIL: 20140226 Year of fee payment: 4 |
|
| S111 | Request for change of ownership or part of ownership |
Free format text: JAPANESE INTERMEDIATE CODE: R313111 |
|
| R350 | Written notification of registration of transfer |
Free format text: JAPANESE INTERMEDIATE CODE: R350 |
|
| LAPS | Cancellation because of no payment of annual fees |