JP4449941B2 - 亜鉛メッキスチールコードとゴムとの接着方法およびその接着方法を使用したコンベヤベルト - Google Patents
亜鉛メッキスチールコードとゴムとの接着方法およびその接着方法を使用したコンベヤベルト Download PDFInfo
- Publication number
- JP4449941B2 JP4449941B2 JP2006145366A JP2006145366A JP4449941B2 JP 4449941 B2 JP4449941 B2 JP 4449941B2 JP 2006145366 A JP2006145366 A JP 2006145366A JP 2006145366 A JP2006145366 A JP 2006145366A JP 4449941 B2 JP4449941 B2 JP 4449941B2
- Authority
- JP
- Japan
- Prior art keywords
- rubber
- steel cord
- galvanized steel
- present
- weight
- Prior art date
- Legal status (The legal status is an assumption and is not a legal conclusion. Google has not performed a legal analysis and makes no representation as to the accuracy of the status listed.)
- Expired - Fee Related
Links
- 229920001971 elastomer Polymers 0.000 title claims description 88
- 239000005060 rubber Substances 0.000 title claims description 88
- 229910001335 Galvanized steel Inorganic materials 0.000 title claims description 39
- 239000008397 galvanized steel Substances 0.000 title claims description 39
- 238000000034 method Methods 0.000 title claims description 37
- 239000000203 mixture Substances 0.000 claims description 46
- RSWGJHLUYNHPMX-UHFFFAOYSA-N Abietic-Saeure Natural products C12CCC(C(C)C)=CC2=CCC2C1(C)CCCC2(C)C(O)=O RSWGJHLUYNHPMX-UHFFFAOYSA-N 0.000 claims description 30
- KHPCPRHQVVSZAH-HUOMCSJISA-N Rosin Natural products O(C/C=C/c1ccccc1)[C@H]1[C@H](O)[C@@H](O)[C@@H](O)[C@@H](CO)O1 KHPCPRHQVVSZAH-HUOMCSJISA-N 0.000 claims description 30
- KHPCPRHQVVSZAH-UHFFFAOYSA-N trans-cinnamyl beta-D-glucopyranoside Natural products OC1C(O)C(O)C(CO)OC1OCC=CC1=CC=CC=C1 KHPCPRHQVVSZAH-UHFFFAOYSA-N 0.000 claims description 30
- NINIDFKCEFEMDL-UHFFFAOYSA-N Sulfur Chemical compound [S] NINIDFKCEFEMDL-UHFFFAOYSA-N 0.000 claims description 16
- 239000011593 sulfur Substances 0.000 claims description 16
- 229910052717 sulfur Inorganic materials 0.000 claims description 16
- 150000004045 organic chlorine compounds Chemical class 0.000 claims description 13
- 150000001868 cobalt Chemical class 0.000 claims description 10
- 229910017052 cobalt Inorganic materials 0.000 claims description 7
- 239000010941 cobalt Substances 0.000 claims description 7
- GUTLYIVDDKVIGB-UHFFFAOYSA-N cobalt atom Chemical compound [Co] GUTLYIVDDKVIGB-UHFFFAOYSA-N 0.000 claims description 7
- 229910000831 Steel Inorganic materials 0.000 description 29
- 239000010959 steel Substances 0.000 description 29
- 239000010410 layer Substances 0.000 description 15
- 238000004073 vulcanization Methods 0.000 description 10
- XLYOFNOQVPJJNP-UHFFFAOYSA-N water Substances O XLYOFNOQVPJJNP-UHFFFAOYSA-N 0.000 description 8
- ZAMOUSCENKQFHK-UHFFFAOYSA-N Chlorine atom Chemical compound [Cl] ZAMOUSCENKQFHK-UHFFFAOYSA-N 0.000 description 5
- 244000043261 Hevea brasiliensis Species 0.000 description 5
- 239000003795 chemical substances by application Substances 0.000 description 5
- 239000000460 chlorine Substances 0.000 description 5
- 229910052801 chlorine Inorganic materials 0.000 description 5
- 150000001875 compounds Chemical class 0.000 description 5
- 239000000463 material Substances 0.000 description 5
- 229920003052 natural elastomer Polymers 0.000 description 5
- 229920001194 natural rubber Polymers 0.000 description 5
- 230000000052 comparative effect Effects 0.000 description 4
- 239000002131 composite material Substances 0.000 description 4
- 238000012423 maintenance Methods 0.000 description 4
- 238000004519 manufacturing process Methods 0.000 description 4
- 230000003712 anti-aging effect Effects 0.000 description 3
- 239000000945 filler Substances 0.000 description 3
- 229920003049 isoprene rubber Polymers 0.000 description 3
- GEMHFKXPOCTAIP-UHFFFAOYSA-N n,n-dimethyl-n'-phenylcarbamimidoyl chloride Chemical compound CN(C)C(Cl)=NC1=CC=CC=C1 GEMHFKXPOCTAIP-UHFFFAOYSA-N 0.000 description 3
- -1 organic acid cobalt salt Chemical class 0.000 description 3
- 150000007524 organic acids Chemical class 0.000 description 3
- 239000012779 reinforcing material Substances 0.000 description 3
- 239000011347 resin Substances 0.000 description 3
- 229920005989 resin Polymers 0.000 description 3
- 229920003048 styrene butadiene rubber Polymers 0.000 description 3
- 239000002023 wood Substances 0.000 description 3
- RNFJDJUURJAICM-UHFFFAOYSA-N 2,2,4,4,6,6-hexaphenoxy-1,3,5-triaza-2$l^{5},4$l^{5},6$l^{5}-triphosphacyclohexa-1,3,5-triene Chemical compound N=1P(OC=2C=CC=CC=2)(OC=2C=CC=CC=2)=NP(OC=2C=CC=CC=2)(OC=2C=CC=CC=2)=NP=1(OC=1C=CC=CC=1)OC1=CC=CC=C1 RNFJDJUURJAICM-UHFFFAOYSA-N 0.000 description 2
- RRHGJUQNOFWUDK-UHFFFAOYSA-N Isoprene Chemical compound CC(=C)C=C RRHGJUQNOFWUDK-UHFFFAOYSA-N 0.000 description 2
- 235000008331 Pinus X rigitaeda Nutrition 0.000 description 2
- 235000011613 Pinus brutia Nutrition 0.000 description 2
- 241000018646 Pinus brutia Species 0.000 description 2
- 239000005062 Polybutadiene Substances 0.000 description 2
- 235000021355 Stearic acid Nutrition 0.000 description 2
- 239000002174 Styrene-butadiene Substances 0.000 description 2
- HZEIHKAVLOJHDG-UHFFFAOYSA-N boranylidynecobalt Chemical compound [Co]#B HZEIHKAVLOJHDG-UHFFFAOYSA-N 0.000 description 2
- 239000006229 carbon black Substances 0.000 description 2
- 125000003178 carboxy group Chemical group [H]OC(*)=O 0.000 description 2
- KDMCQAXHWIEEDE-UHFFFAOYSA-L cobalt(2+);7,7-dimethyloctanoate Chemical compound [Co+2].CC(C)(C)CCCCCC([O-])=O.CC(C)(C)CCCCCC([O-])=O KDMCQAXHWIEEDE-UHFFFAOYSA-L 0.000 description 2
- AFZSMODLJJCVPP-UHFFFAOYSA-N dibenzothiazol-2-yl disulfide Chemical compound C1=CC=C2SC(SSC=3SC4=CC=CC=C4N=3)=NC2=C1 AFZSMODLJJCVPP-UHFFFAOYSA-N 0.000 description 2
- 230000000694 effects Effects 0.000 description 2
- 239000003063 flame retardant Substances 0.000 description 2
- 238000007689 inspection Methods 0.000 description 2
- JEIPFZHSYJVQDO-UHFFFAOYSA-N iron(III) oxide Inorganic materials O=[Fe]O[Fe]=O JEIPFZHSYJVQDO-UHFFFAOYSA-N 0.000 description 2
- 230000007774 longterm Effects 0.000 description 2
- 239000007769 metal material Substances 0.000 description 2
- QIQXTHQIDYTFRH-UHFFFAOYSA-N octadecanoic acid Chemical compound CCCCCCCCCCCCCCCCCC(O)=O QIQXTHQIDYTFRH-UHFFFAOYSA-N 0.000 description 2
- OQCDKBAXFALNLD-UHFFFAOYSA-N octadecanoic acid Natural products CCCCCCCC(C)CCCCCCCCC(O)=O OQCDKBAXFALNLD-UHFFFAOYSA-N 0.000 description 2
- 239000012188 paraffin wax Substances 0.000 description 2
- 229920002857 polybutadiene Polymers 0.000 description 2
- 230000002265 prevention Effects 0.000 description 2
- 238000007586 pull-out test Methods 0.000 description 2
- 239000000243 solution Substances 0.000 description 2
- 239000008117 stearic acid Substances 0.000 description 2
- 229920003051 synthetic elastomer Polymers 0.000 description 2
- 239000005061 synthetic rubber Substances 0.000 description 2
- 239000003784 tall oil Substances 0.000 description 2
- DGXAGETVRDOQFP-UHFFFAOYSA-N 2,6-dihydroxybenzaldehyde Chemical compound OC1=CC=CC(O)=C1C=O DGXAGETVRDOQFP-UHFFFAOYSA-N 0.000 description 1
- UHOVQNZJYSORNB-UHFFFAOYSA-N Benzene Chemical compound C1=CC=CC=C1 UHOVQNZJYSORNB-UHFFFAOYSA-N 0.000 description 1
- 239000004709 Chlorinated polyethylene Substances 0.000 description 1
- 229920000459 Nitrile rubber Polymers 0.000 description 1
- 239000004902 Softening Agent Substances 0.000 description 1
- HCHKCACWOHOZIP-UHFFFAOYSA-N Zinc Chemical compound [Zn] HCHKCACWOHOZIP-UHFFFAOYSA-N 0.000 description 1
- XLOMVQKBTHCTTD-UHFFFAOYSA-N Zinc monoxide Chemical compound [Zn]=O XLOMVQKBTHCTTD-UHFFFAOYSA-N 0.000 description 1
- RSWGJHLUYNHPMX-ONCXSQPRSA-N abietic acid Chemical class C([C@@H]12)CC(C(C)C)=CC1=CC[C@@H]1[C@]2(C)CCC[C@@]1(C)C(O)=O RSWGJHLUYNHPMX-ONCXSQPRSA-N 0.000 description 1
- 230000001133 acceleration Effects 0.000 description 1
- 239000012790 adhesive layer Substances 0.000 description 1
- 230000032683 aging Effects 0.000 description 1
- 239000003513 alkali Substances 0.000 description 1
- 150000001412 amines Chemical class 0.000 description 1
- 239000007864 aqueous solution Substances 0.000 description 1
- 239000002585 base Substances 0.000 description 1
- 235000013871 bee wax Nutrition 0.000 description 1
- 239000012166 beeswax Substances 0.000 description 1
- 239000003054 catalyst Substances 0.000 description 1
- 150000001805 chlorine compounds Chemical class 0.000 description 1
- 229940011182 cobalt acetate Drugs 0.000 description 1
- UFMZWBIQTDUYBN-UHFFFAOYSA-N cobalt dinitrate Chemical compound [Co+2].[O-][N+]([O-])=O.[O-][N+]([O-])=O UFMZWBIQTDUYBN-UHFFFAOYSA-N 0.000 description 1
- 229910001981 cobalt nitrate Inorganic materials 0.000 description 1
- 229940044175 cobalt sulfate Drugs 0.000 description 1
- 229910000361 cobalt sulfate Inorganic materials 0.000 description 1
- KTVIXTQDYHMGHF-UHFFFAOYSA-L cobalt(2+) sulfate Chemical compound [Co+2].[O-]S([O-])(=O)=O KTVIXTQDYHMGHF-UHFFFAOYSA-L 0.000 description 1
- AMFIJXSMYBKJQV-UHFFFAOYSA-L cobalt(2+);octadecanoate Chemical compound [Co+2].CCCCCCCCCCCCCCCCCC([O-])=O.CCCCCCCCCCCCCCCCCC([O-])=O AMFIJXSMYBKJQV-UHFFFAOYSA-L 0.000 description 1
- IUYLTEAJCNAMJK-UHFFFAOYSA-N cobalt(2+);oxygen(2-) Chemical compound [O-2].[Co+2] IUYLTEAJCNAMJK-UHFFFAOYSA-N 0.000 description 1
- WEZJBAOYGIDDLB-UHFFFAOYSA-N cobalt(3+);borate Chemical compound [Co+3].[O-]B([O-])[O-] WEZJBAOYGIDDLB-UHFFFAOYSA-N 0.000 description 1
- QAHREYKOYSIQPH-UHFFFAOYSA-L cobalt(II) acetate Chemical compound [Co+2].CC([O-])=O.CC([O-])=O QAHREYKOYSIQPH-UHFFFAOYSA-L 0.000 description 1
- IVMYJDGYRUAWML-UHFFFAOYSA-N cobalt(II) oxide Inorganic materials [Co]=O IVMYJDGYRUAWML-UHFFFAOYSA-N 0.000 description 1
- 238000013329 compounding Methods 0.000 description 1
- 238000007598 dipping method Methods 0.000 description 1
- 238000009713 electroplating Methods 0.000 description 1
- 150000002148 esters Chemical class 0.000 description 1
- 238000010528 free radical solution polymerization reaction Methods 0.000 description 1
- 230000001771 impaired effect Effects 0.000 description 1
- 238000005304 joining Methods 0.000 description 1
- 238000004898 kneading Methods 0.000 description 1
- 239000007788 liquid Substances 0.000 description 1
- 239000007791 liquid phase Substances 0.000 description 1
- 238000005649 metathesis reaction Methods 0.000 description 1
- 239000002480 mineral oil Substances 0.000 description 1
- 235000010446 mineral oil Nutrition 0.000 description 1
- 238000002156 mixing Methods 0.000 description 1
- 238000000465 moulding Methods 0.000 description 1
- 239000000025 natural resin Substances 0.000 description 1
- WWZKQHOCKIZLMA-UHFFFAOYSA-N octanoic acid Chemical compound CCCCCCCC(O)=O WWZKQHOCKIZLMA-UHFFFAOYSA-N 0.000 description 1
- 239000003921 oil Substances 0.000 description 1
- 235000019198 oils Nutrition 0.000 description 1
- 230000003647 oxidation Effects 0.000 description 1
- 238000007254 oxidation reaction Methods 0.000 description 1
- 150000002978 peroxides Chemical class 0.000 description 1
- 239000005011 phenolic resin Substances 0.000 description 1
- 150000002989 phenols Chemical class 0.000 description 1
- 238000007747 plating Methods 0.000 description 1
- 229920000642 polymer Polymers 0.000 description 1
- 238000001556 precipitation Methods 0.000 description 1
- 238000002360 preparation method Methods 0.000 description 1
- 239000008149 soap solution Substances 0.000 description 1
- 239000002904 solvent Substances 0.000 description 1
- 239000000126 substance Substances 0.000 description 1
- 239000002344 surface layer Substances 0.000 description 1
- 235000015112 vegetable and seed oil Nutrition 0.000 description 1
- 239000008158 vegetable oil Substances 0.000 description 1
- 239000001993 wax Substances 0.000 description 1
- 229910052725 zinc Inorganic materials 0.000 description 1
- 239000011701 zinc Substances 0.000 description 1
- 239000011787 zinc oxide Substances 0.000 description 1
- 235000014692 zinc oxide Nutrition 0.000 description 1
Images
Landscapes
- Ropes Or Cables (AREA)
- Compositions Of Macromolecular Compounds (AREA)
- Adhesives Or Adhesive Processes (AREA)
Description
両者を接着する方法としては、例えば、特許文献1には、ゴム組成物にレゾルシノール−ホルムアルデヒド樹脂、硫黄、有機酸コバルト塩などを配合して、亜鉛メッキスチールコードとの接着性を向上させる方法が記載されている。しかし、この方法では、亜鉛メッキスチールコードに対するゴム組成物の耐水接着性が十分ではないという問題があり、接着性の信頼性確保のための点検、補修等のメンテナンスのコストや手間がかかるという問題があった。
しかし、この方法では、亜鉛メッキスチールコードとゴム組成物を加硫接合した直後の接着性(以下、初期接着性と記す)が十分ではないという問題があった。
硫黄加硫可能なゴム100重量部に対して、
ロジンまたはロジン誘導体を3〜15重量部と、
有機コバルト塩をコバルト量として0.2〜1.0重量部と、
有機塩素化合物を3〜50重量部と
を含有するゴム組成物であるコンベヤベルトを提供する。
また、このような接着方法を用いて得られる本発明のスチールコードコンベヤベルトは、耐久性、耐水性に優れる。
本発明の亜鉛メッキスチールコードとゴムの接着方法(以下、本発明の接着方法と記す)は、亜鉛メッキスチールコードとの接着性に優れるゴム組成物として、硫黄加硫可能なゴムに、ロジンまたはロジン誘導体と、有機コバルト塩と、有機塩素化合物とを含有するゴム組成物(以下、本発明のゴム組成物とも記す)を用いることを特徴とする。
本発明で使用する硫黄加硫可能なゴムは、硫黄を用いて加硫できるゴムであれば特に限定されず、天然ゴムであっても、合成ゴムであってもよい。また、これらの混合物であってもよい。
具体的には、天然ゴム(NR)、イソプレンゴム(IR)、ブタジエンゴム(BR)、スチレン−ブタジエン共重合ゴム(SBR)などを、単独あるいは混合して使用することができる。
本発明のゴム組成物中のロジンまたはロジン誘導体の含有量は、前記硫黄加硫可能なゴム100重量部に対し、3〜15重量部とする。3重量部未満では、ゴム組成物と亜鉛メッキスチールコードとの耐湿接着性が十分ではなく、15重量部超では、ゴム組成物の加硫が遅くなり、実用的な加硫速度が得られないからである。特に、耐湿接着性、実用的な加硫速度を両立させる観点から、ロジンまたはロジン誘導体の含有量は、5〜10重量部であるのが好ましい。
本発明のゴム組成物は、ロジンまたはロジン誘導体を含有するため、亜鉛メッキスチールコードとの耐湿接着性に優れるという特性を有する。また、ロジンやロジン誘導体は、一般的に、粘着付与剤として使用されており、ロジンまたはロジン誘導体を含有することにより、本発明のゴム組成物は、未加硫時のゴム組成物の生地の粘着性、加工性が良好である。
本発明に用いる有機コバルト塩としては、具体的には、ナフテン酸コバルト、ステアリン酸コバルト、ネオデカン酸コバルト、オルトホウ酸コバルト、オクチル酸コバルト、あるいはコバルトボロン錯体などを挙げることができる。これらの中でも、ナフテン酸コバルト、ネオデカン酸コバルト、コバルトボロン錯体などを使用することが高接着性が得られることから好ましい。
有機コバルト塩の含有量は、前記硫黄加硫可能なゴム100重量部に対してコバルト量として0.2〜1.0重量部とする。添加量が0.2重量部未満では、亜鉛メッキスチールコードとの耐湿接着性および初期接着性が悪化し、1.0重量部超では、ゴム組成物の耐老化性が悪化するためである。
特に、耐湿接着性および初期接着性とゴム物性を両立させる観点から、有機コバルト塩の含有量は0.3〜0.7重量部であることが好ましい。
有機塩素化合物の含有量は、前記硫黄加硫可能なゴム100重量部に対して、3〜50重量部とする。3重量部未満では、接着が安定せず、50重量部超では、ゴム組成物の粘着性が過多となり加工が困難となる。
特に、接着性、加工性を両立させる観点から、有機塩素化合物の含有量は、3〜30重量部であることが好ましい。
本発明のゴム組成物は、有機塩素化合物を含有することにより、接着性、特に初期接着性が良好となる。さらに、有機塩素化合物は難燃性を付与するため、上記範囲の量で有機塩素化合物を含有する本発明のゴム組成物は難燃性に優れる。このため、後述する、本発明の接着方法を用いて製造されるスチールコードコンベヤベルトは、坑内等で用いられるスチールコードコンベヤベルトに要求される難燃性を十分に満足している。
難燃化効果を重視する場合、塩素含有量の多いものを用いるのが好ましく、加工性を重視する場合には、塩素含有量の少ないものを用いるのが好ましい。
また、この他に、カーボンブラックなどの充填剤;亜鉛華、ステアリン酸等の加硫促進助剤;ジベンゾチアジル・ジスルフィドなどの加硫促進剤;アミン系、フェノール系あるいはワックス系などの老化防止剤;硫黄;植物油系あるいは鉱物油系などの軟化剤;などの通常用いられる配合剤を含むことができる。
上述した硫黄加硫可能なゴム100重量部に、ロジンまたはロジン誘導体を3〜15重量部、有機酸コバルト塩をコバルト量として0.2〜1.0重量部、有機塩素化合物を3〜50重量部、硫黄を所定量配合し、さらに上記の充填剤、加硫促進剤、老化防止剤、軟化剤などを適宜選択して所定量添加し、ロールミルあるいはバンバリミキサーなどを用いて、所定の温度で所定の時間混練し、ゴム組成物を得る。
スチールコードにはブラスメッキされたものもあるが、使用環境の管理が困難で耐久性を要求されるコンベヤベルトなどに用いられるスチールコードとして、防錆性、耐久性の観点から、亜鉛メッキされたものを用いる。
亜鉛メッキスチールコードの素線径やコード径などは、本発明のゴム組成物と接着して複合体とした際のそれらの用途に応じて適宜選択する。
本発明の接着方法は、亜鉛メッキスチールコードとの接着であり、亜鉛メッキスチールコードを補強材として用いるものに利用可能であり、また、スチールコードに限らず、亜鉛メッキされた金属材料に利用可能である。
このため、スチールコードコンベヤベルトのように多湿環境下で使用されるものに本発明の接着方法を利用すると、極めて長期の信頼性が得られ、点検、補修等のメンテナンスコスト、手間が削減できるという効果をもたらす。
このような本発明の接着方法は、スチールコードコンベヤベルトの製造に好適に用いられるが、この他にも、ホース、クローラベルト、マリンホース、タイヤ等の製造に好適に用いることができる。
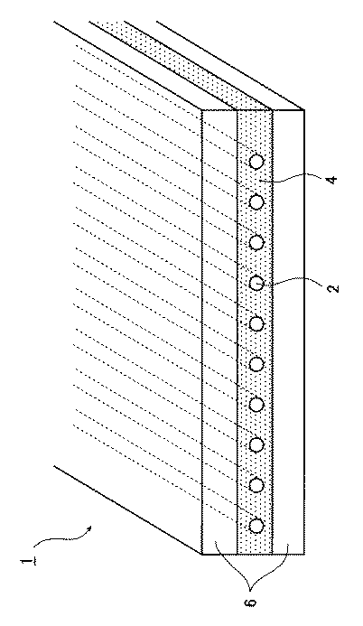
第1図は本発明のスチールコードコンベヤベルト(以下、本発明のコンベヤベルトと記す)の一部断面斜視図である。
コンベヤベルト1の表面層はカバーゴム層6、2層により構成され、カバーゴム層6の2層間に芯体として亜鉛メッキスチールコード2を配設したコートゴム層4がある。
本発明のコンベヤベルト1は、コートゴム層4に配設されるスチールコード2とコートゴム層4をなす本発明のゴム組成物とを本発明の接着方法を用いて接着したことに特徴がある。
コートゴム層4には、本発明のゴム組成物を所望の形状に成形した後、亜鉛めっきスチールコード2を芯体として配設し、加硫する。ゴム組成物と亜鉛めっきスチールコード2表面が強固に接合し、コートゴム層4となる。コートゴム層4は亜鉛めっきスチールコード2とカバーゴム6との接着層となり、また、亜鉛めっきスチールコード2に対する緩衝材ともなる。
カバーゴム層6には、コンベヤベルト1の用途に応じて、耐熱性、耐油性、耐磨耗性、あるいは、耐候性に優れる成分を含有するゴム組成物を用いればよい。
本発明のスチールコードコンベヤベルトは、以上の構成をとるので、耐水性、亜鉛メッキスチールコードとの接着性、耐久性に優れ、長期の信頼性を有する。
(実施例1〜4、比較例1〜7)
下記表1に示す化合物を表に示す量で配合し、バンバリミキサーを用いて混練し、ゴム組成物を得た。
(1)試験片の作製
実施例、比較例で得られたゴム組成物と、接着するスチールコードとして、デシケータ中に保管して防塵防湿処理を施してある直径4.1mmの亜鉛メッキスチールコードを使用した。
このスチールコード上に、上記の実施例、および、比較例の各ゴム組成物を15mmの厚さに密着させて、上記各ゴム組成物とスチールコードとの複合体とし、150℃で30分間、加圧加硫を行い、試験片を作製した。
初期接着性は、(1)で作製した各試験片からスチールコードを引き抜き、引き抜き力(kN/m)およびゴム被覆率(%)で評価した。引き抜き試験はDIN22131に準拠した。
ゴム被覆率(%)は、スチールコードの表面積に対する引き抜き後のスチールコード表面に残存するゴムの被覆面積の割合(%)として算出した。
結果を表1に示す。
(1)の製造方法で密着させて加硫した各試験片のゴム表面のスチールコードが突出している箇所を蜜ロウでシールし、温度50℃、相対湿度95%の恒温恒湿槽内で28日間放置した。
その後、各試験片からスチールコードを引き抜き、引き抜き力(kN/m)およびゴム被覆率(%)で耐水接着性を評価した。引き抜き試験は、DIN22131に準拠して行った。
結果を表1に示す。
天然ゴム(NR) :TSR 20
合成ゴム(SBR):NIPOL 1502(日本ゼオン社製)
充填剤 :HAFカーボンブラック
加硫促進助剤 :亜鉛華3号
ステアリン酸
加硫促進剤(ジベンゾチアジル・ジスルフィド):
ノクセラーDM−PO(大内新興化学社製)
老化防止剤 :ノンフレックスOD−3(精工化学社製)
加硫剤 :硫黄
ロジン誘導体 :ウッドロジン(荒川化学工業社製)
トール油ロジン(播磨化成工業社製)
水素添加ロジン(Hercules社製)
有機コバルト塩 :ナフテン酸コバルト(コバルト含有量10%、
大日本インキ社製)
有機塩素化合物 :塩素化パラフィン(塩素含有量70%、味の素社製)
2 亜鉛メッキスチールコード
4 コートゴム層
6 カバーゴム層
Claims (1)
- 硫黄加硫可能なゴム100重量部に対して、
ロジンまたはロジン誘導体を3〜15重量部と、
有機コバルト塩をコバルト量として0.2〜1.0重量部と、
有機塩素化合物を3〜50重量部と
を含有するゴム組成物と、亜鉛メッキスチールコードとを接着することを特徴とする亜鉛メッキスチールコードとゴムとの接着方法。
Priority Applications (1)
| Application Number | Priority Date | Filing Date | Title |
|---|---|---|---|
| JP2006145366A JP4449941B2 (ja) | 2006-05-25 | 2006-05-25 | 亜鉛メッキスチールコードとゴムとの接着方法およびその接着方法を使用したコンベヤベルト |
Applications Claiming Priority (1)
| Application Number | Priority Date | Filing Date | Title |
|---|---|---|---|
| JP2006145366A JP4449941B2 (ja) | 2006-05-25 | 2006-05-25 | 亜鉛メッキスチールコードとゴムとの接着方法およびその接着方法を使用したコンベヤベルト |
Related Parent Applications (1)
| Application Number | Title | Priority Date | Filing Date |
|---|---|---|---|
| JP17725897A Division JP3891643B2 (ja) | 1997-07-02 | 1997-07-02 | 亜鉛メッキスチールコードとゴムとの接着方法およびその接着方法を使用したコンベヤベルト |
Publications (2)
| Publication Number | Publication Date |
|---|---|
| JP2006312744A JP2006312744A (ja) | 2006-11-16 |
| JP4449941B2 true JP4449941B2 (ja) | 2010-04-14 |
Family
ID=37534349
Family Applications (1)
| Application Number | Title | Priority Date | Filing Date |
|---|---|---|---|
| JP2006145366A Expired - Fee Related JP4449941B2 (ja) | 2006-05-25 | 2006-05-25 | 亜鉛メッキスチールコードとゴムとの接着方法およびその接着方法を使用したコンベヤベルト |
Country Status (1)
| Country | Link |
|---|---|
| JP (1) | JP4449941B2 (ja) |
Families Citing this family (7)
| Publication number | Priority date | Publication date | Assignee | Title |
|---|---|---|---|---|
| JP5401873B2 (ja) * | 2008-09-01 | 2014-01-29 | 横浜ゴム株式会社 | スチールコード被覆用ゴム組成物 |
| JP5446418B2 (ja) | 2009-04-20 | 2014-03-19 | 株式会社ブリヂストン | コンベアベルト用ゴム組成物及びコンベアベルト |
| JP5499585B2 (ja) * | 2009-09-10 | 2014-05-21 | 株式会社ブリヂストン | コンベアベルト |
| EP4015704A4 (en) * | 2019-08-14 | 2023-08-16 | Bridgestone Corporation | STEEL CORD/RUBBER COMPOSITE, TYRE, CONVEYOR BELT, HOSE AND RUBBER BELT |
| JP7364879B2 (ja) * | 2019-10-03 | 2023-10-19 | 横浜ゴム株式会社 | スチールコード接着用ゴム組成物及びコンベヤベルト |
| JP7453501B2 (ja) * | 2019-10-03 | 2024-03-21 | 横浜ゴム株式会社 | スチールコード接着用ゴム組成物及びコンベヤベルト |
| CN110924201A (zh) * | 2019-11-28 | 2020-03-27 | 镇江耐丝新型材料有限公司 | 一种表面含钴的钢帘线的制备方法 |
-
2006
- 2006-05-25 JP JP2006145366A patent/JP4449941B2/ja not_active Expired - Fee Related
Also Published As
| Publication number | Publication date |
|---|---|
| JP2006312744A (ja) | 2006-11-16 |
Similar Documents
| Publication | Publication Date | Title |
|---|---|---|
| JP5892055B2 (ja) | ゴム組成物及びコンベヤベルト | |
| JP3891643B2 (ja) | 亜鉛メッキスチールコードとゴムとの接着方法およびその接着方法を使用したコンベヤベルト | |
| JP4729298B2 (ja) | 接着用ゴム組成物 | |
| JP4449941B2 (ja) | 亜鉛メッキスチールコードとゴムとの接着方法およびその接着方法を使用したコンベヤベルト | |
| JP2008038059A (ja) | ゴム組成物、その複合体、およびそれを用いた空気入りタイヤ | |
| JP2000007839A (ja) | スチールコードコーティング用ゴム組成物及びそれを用いたスチールコード−ゴム複合体 | |
| JP4230859B2 (ja) | スチールコーティング用ゴム組成物 | |
| JP2011068754A (ja) | スチール線材被覆用ゴム組成物 | |
| JP2000007838A (ja) | スチールコードコーティング用ゴム組成物及びそれを用いたスチールコード−ゴム複合体 | |
| JP7293720B2 (ja) | スチールコード接着用ゴム組成物及びコンベヤベルト | |
| JP7215258B2 (ja) | スチールコード接着用ゴム組成物及びコンベヤベルト | |
| JP7356008B2 (ja) | スチールコード接着用ゴム組成物及びコンベヤベルト | |
| JP6135259B2 (ja) | ゴム組成物およびそれを用いた空気入りタイヤ | |
| JP2021059626A (ja) | スチールコード接着用ゴム組成物及びコンベヤベルト | |
| JP5559021B2 (ja) | 加硫ゴム積層体の製造方法および加硫ゴム積層体 | |
| JP2021059632A (ja) | スチールコード接着用ゴム組成物及びコンベヤベルト | |
| JP4236679B2 (ja) | ゴム組成物 | |
| CN112608521B (zh) | 钢丝帘线粘接用橡胶组合物及输送带 | |
| JP7287232B2 (ja) | スチールコード接着用ゴム組成物及びコンベヤベルト | |
| JP2021059627A (ja) | スチールコード接着用ゴム組成物及びコンベヤベルト | |
| JP7364879B2 (ja) | スチールコード接着用ゴム組成物及びコンベヤベルト | |
| JP2011032325A (ja) | スチールコード被覆用ゴム組成物、スチールコード/ゴム複合体及び空気入りタイヤ | |
| JP7381853B2 (ja) | スチールコード接着用ゴム組成物及びコンベヤベルト | |
| JP2021059625A (ja) | スチールコード接着用ゴム組成物及びコンベヤベルト | |
| JP2008069199A (ja) | 所定のコード被覆用ゴム組成物ならびにそれを用いたカーカスおよび/またはベルトを有するタイヤ |
Legal Events
| Date | Code | Title | Description |
|---|---|---|---|
| TRDD | Decision of grant or rejection written | ||
| A01 | Written decision to grant a patent or to grant a registration (utility model) |
Free format text: JAPANESE INTERMEDIATE CODE: A01 Effective date: 20100105 |
|
| A01 | Written decision to grant a patent or to grant a registration (utility model) |
Free format text: JAPANESE INTERMEDIATE CODE: A01 |
|
| A61 | First payment of annual fees (during grant procedure) |
Free format text: JAPANESE INTERMEDIATE CODE: A61 Effective date: 20100118 |
|
| R150 | Certificate of patent or registration of utility model |
Free format text: JAPANESE INTERMEDIATE CODE: R150 |
|
| FPAY | Renewal fee payment (event date is renewal date of database) |
Free format text: PAYMENT UNTIL: 20130205 Year of fee payment: 3 |
|
| FPAY | Renewal fee payment (event date is renewal date of database) |
Free format text: PAYMENT UNTIL: 20130205 Year of fee payment: 3 |
|
| FPAY | Renewal fee payment (event date is renewal date of database) |
Free format text: PAYMENT UNTIL: 20130205 Year of fee payment: 3 |
|
| FPAY | Renewal fee payment (event date is renewal date of database) |
Free format text: PAYMENT UNTIL: 20130205 Year of fee payment: 3 |
|
| R250 | Receipt of annual fees |
Free format text: JAPANESE INTERMEDIATE CODE: R250 |
|
| R250 | Receipt of annual fees |
Free format text: JAPANESE INTERMEDIATE CODE: R250 |
|
| LAPS | Cancellation because of no payment of annual fees |
