JP4420558B2 - 付着物検出装置およびそれを用いた制御装置 - Google Patents
付着物検出装置およびそれを用いた制御装置 Download PDFInfo
- Publication number
- JP4420558B2 JP4420558B2 JP2000387734A JP2000387734A JP4420558B2 JP 4420558 B2 JP4420558 B2 JP 4420558B2 JP 2000387734 A JP2000387734 A JP 2000387734A JP 2000387734 A JP2000387734 A JP 2000387734A JP 4420558 B2 JP4420558 B2 JP 4420558B2
- Authority
- JP
- Japan
- Prior art keywords
- light
- deposit
- scattering
- detection
- detected
- Prior art date
- Legal status (The legal status is an assumption and is not a legal conclusion. Google has not performed a legal analysis and makes no representation as to the accuracy of the status listed.)
- Expired - Fee Related
Links
Images
Landscapes
- Investigating Or Analysing Materials By Optical Means (AREA)
Description
【発明の属する技術分野】
本発明は、検知面上に付着した付着物の存在、付着物の性質、付着物の状態を検出する付着物検出装置と、該付着物検出装置により付着物の存在が検出されたことを契機として制御内容を変更する付着物検出装置を用いた制御装置に関する。
【0002】
【従来の技術】
付着物の有無を検出し、付着物の存在が検出されたことを契機として制御内容を変更するシステムには様々なものがある。付着物の一例として雨滴を考えると、車のウィンドシールドのウィンドウワイパー制御装置は、天候の変化があり降雨が始まったことを契機として制御内容を臨機応変に変更する必要が生じる。このウィンドウワイパー制御装置の利便性を高めるための重要な課題の一つとして、降雨中であるのか否かを検知するレインセンサの開発が挙げられる。以下に、従来の付着物検出装置として、車のウィンドシールドにおける雨滴を付着物として検出する従来のレインセンサを説明する。
【0003】
一般に普及している手動操作によるウィンドウワイパーの場合、運転者自身が降雨が始まったことを認識し、自動車の走行状態、ウィンドシールドに付着する雨滴の量の変化を勘案し、自動車運転時に必要とするウィンドシールド越しの視界を確保すべく、ウィンドウワイパーのスイッチをオフからオンに手動で切り替える必要がある。この手動によるウィンドウワイパーのスイッチ切替操作の煩わしさを緩和するため、レインセンサを設けて自動車のウィンドシールドの検知面上の雨滴など付着物の存在を検知し、ウィンドウの払拭が必要か否かを判定している。
【0004】
従来のレインセンサには、雨滴の検知方法に応じて、反射光検知型レインセンサなどが知られている。図18は、従来技術の反射光検知型レインセンサによる雨滴検出原理を簡単に説明した図である。図18において、1000は自動車のウィンドシールドである。説明の便宜上、ウィンドシールド1000の上側空間を自動車内部側、つまり運転者側の空間、下側空間を外界とした。1010は光源、1020はプリズム、1030は反射光をウィンドシールド内から導き出すためのプリズム、1040はレンズ、1050は受光素子としてのCCD(電荷結合素子)、1110が検知面である。1120が検知面上に付着した雨滴である。光源1010からは検知面全体をカバーしうる広がりを持つ光束が照射され、そのうち1130が雨滴が付着した部分に対して入射した光の軌跡、1130以外の光1140が雨滴が付着していない検知面に対して入射した光の軌跡を表している。
【0005】
反射光検知型レインセンサでは、各要素の取り付け角度と材質(特に材質が持つ屈折率)の調整が重要である。雨滴検出原理を簡単に言えば、検知面に雨滴が付着している場合は、入射した光はウィンドシールド1000の外界面において全反射条件が満足されずに外界に逃げ、一方、検知面に雨滴が付着していない場合は、入射した光はウィンドシールド1000の外界面において全反射条件が満足されて全反射する。これら二つの場合の反射光の強度差を検出するわけである。
【0006】
そのため、光源1010とプリズム1020は、照射光がウィンドシールド1000内部に入射する入射条件を満たす角度、材質が選ばれ、また、ウィンドシールド1000の外界面上の検知面において全反射する角度が選ばれる。さらに、雨滴付着による屈折率の変化により検知面1110における全反射条件の満足・不満足が切り換わるように検知面に対する光入射角度が選ばれる。
【0007】
プリズム1030も反射光がウィンドシールド1000外部に出射できるように出射条件を満たす、つまり全反射条件が満足されないように材質、角度が選ばれている。レンズ1040と受光素子1050は、レンズ1040に入射した光が受光素子1050のセンサ部分に集光するように角度と距離が調整されている。
【0008】
なお、これら1010〜1050の要素は、ウィンドシールド1000以外の場所、例えばボンネットの上や屋根の上などにも取り付け可能であるが、検知対象はウィンドシールド1000の状態であるのでウィンドシールド1000の一部に取り付けることが好ましい。また、運転者の視界を狭めないように取り付けられることが好ましい。例えば、もともとバックミラーが取り付けられて視界が遮られているウィンドシールド部分などに取り付けることが好ましい。
【0009】
以上の従来の反射光検知型レインセンサの動作を簡単に説明すると、光源1010から照射された光束は、プリズム1020によりウィンドシールド1000内部に導入され、検知面1110全面にわたり入射する。いま、検知面1110上には雨滴1120が付着していたものとする。検知面1110に入射した光のうち雨滴1120が付着した部分に対して入射した光1130は、ウィンドシールド1000の外界面において、屈折率nが約1.3である雨滴の存在により全反射条件が満足されず、外界に逃げ、当該光が受光素子1050において検知されることはない。一方、検知面1110に入射した光のうち雨滴が付着していない部分に対して入射した光1140は、ウィンドシールド1000の外界面には屈折率nが1である空気の存在により全反射条件が満足されて全反射する。全反射した光はウィンドシールド1000の自動車内側の面のプリズム1030の存在により全反射せずに自動車内に出射する。出射した光はレンズ1040において受光素子1050上の光センサ部分に集光される。
【0010】
このように、受光素子1050が検知する光量は、雨滴1120が存在すると減少し、雨滴1120が検知面1110上を覆う面積が大きくなるほど受光する光量は減少することとなる。この光量の変化を検出して検知面1110上の雨滴の存在を検知する。以上が従来の反射光検知型レインセンサによる雨滴検出原理である。
【0011】
なお、それぞれのタイプのレインセンサは、上記したような信号変化を検知すれば雨滴検出信号を出力するように構成されている。レインセンサからの雨滴検出信号は、ウィンドウワイパーの制御部に入力され、当該雨滴検出信号の入力を契機として所定のウィンドウワイパーの制御などが行われる。
【0012】
【発明が解決しようとする課題】
しかし、上記従来のレインセンサには以下に示すような問題点があった。
【0013】
第1の問題として、従来のレインセンサでは付着物の存在を検知することができたとしても、付着物の種類とその状態を推定することができないという問題がある。レインセンサの主な目的はウィンドシールド1000上を必要に応じて払拭するワイパーの駆動を制御することにあるが、ワイパーの駆動はウィンドシールド1000上に付着した付着物の種類とその状態によって切り替えなければならない場合がある。従来のレインセンサでは付着物の種類とその状態を推定することができないため、一律に同じ制御を行わざるを得ない。
【0014】
ウィンドシールド1000に付着するものは降雨による水滴とは限らない。走行中に跳ね上がった泥水、ハトなどの鳥類が落とした糞など様々な種類の付着物が想定される。また付着物の状態も多様であり、水分が付着している場合でもウィンドシールド上に発生した曇りの状態として存在している場合や、冬季などの冷え込みにより氷結状態として存在している場合など様々な状態が想定される。また、泥水の場合も水分が多い状態と水分が少なく乾いた状態などが想定される。鳥類の糞の場合も柔らかい状態と乾いた状態などが想定される。
【0015】
ワイパーの駆動はウィンドシールド1000上に付着した付着物の種類とその状態によって切り替えることが好ましい。例えば、水分が氷結している場合や、泥水が乾いた状態、鳥類の糞が乾いた状態などは、ワイパーのみの払拭はあまり効果がなく、かえって装置やウィンドシールドを傷つける可能性がある。このような場合であれば、例えば、洗浄液の噴射とともにワイパー駆動することが好ましいと言える。
【0016】
第2の問題は、付着物検出精度の問題である。従来のレインセンサであれば、受光素子における検出光量の信号レベルの絶対値を解析したり、一定時間間隔などで検出した信号レベルを保持しておき、信号レベルの経時変化を解析するなどにより検知面上の付着物の存在などを検出していた。付着物の種類や付着状態などに応じて検出される信号レベルの経時変化は微妙に異なるが、その微妙な変化を的確に捉え、付着物の種類や付着状態を推定することは容易ではない。
【0017】
本発明は、上記問題点に鑑み、検知面上における付着物の存在の有無の検出のみならず、付着物の種類を推定し、さらにその状態をも推定することができる付着物検出装置と、当該付着物検出装置を用いて推定した付着物の種類と状態に応じた制御を行う制御装置を提供することを目的とする。
【0018】
【課題を解決するための手段】
上記課題を解決するために、本発明の付着物検出装置は、全反射用と散乱用の2種類の光源を備え、前記全反射用光源から発射され透明性基板内に導入された入射光が反射され、また、前記散乱用光源から発射され前記透明性基板内に導入された入射光が照射される前記透明性基板の外表面の一部を検知面とし、前記検知面から入射する前記全反射用光源による反射光と前記散乱用光源による散乱光をそれぞれ結像させる結像系レンズと、受光素子アレイを備え、前記結像系レンズからの光を受光し、各光源ごとに、各微小受光素子からの光検出信号をそれら微小受光素子の配列に応じて並べた信号パターンを生成し、検知面上の付着物の付着状態に対応した信号パターンを出力することを特徴とする。
【0019】
上記構成により、付着物検出手段による反射条件の変化に基づいた付着物の有無の存在のみならず、光散乱性付着物検出手段による散乱条件の変化に基づいた付着物の散乱性の有無を検出することができ、付着物の散乱性を基に付着物の種類の推定をも行うことができる。上記構成では検知面上に対応した微小受光素子から検出される光検出信号を受光素子の配列に応じて並べた一種の信号パターン(信号波形)を得る。この信号パターンは検知面から得られる信号レベルをつなぎ合わせてパターン化したものであり、検知面上の付着物の状態の相違は、信号パターンの微小区間の相対的変化として表れることとなる。本発明は、信号パターン中の相対的変化を解析することにより、検知面上の付着物の種類、状態などを推定することができる。さらに、信号パターンの微小区間同士の相対的な変化を解析するので、細かい付着物の有無も精度良く検出することができ、また、温度特性などによる環境の変化の影響も受けにくい。なおこの信号パターンの解像度は、検知面に対応する受光素子に依存することとなる。
【0020】
なお、上記構成において、前記全反射用光源の照射と、前記散乱用光源の照射とを切り替える光源切り替え手段を備えることが好ましい。
【0021】
上記構成により、全反射用光源を用いた場合の信号パターンと、光散乱用光源を用いた場合の信号パターンを区別して得ることができる。特に、全反射用光源と光散乱用光源として同じ波長の光源を用いる場合などには両者が混在しないように切り替えることが好ましい。
【0022】
次に、本発明の付着物検出装置は、前記信号パターンにおいて、周囲の信号レベルから相対的に信号レベルが低下しているパターン部分の存在を検出すれば、該パターン部分に対応する検知面上に付着物が存在すると検出する付着物検出手段と、前記信号パターンにおいて、周囲の信号レベルから相対的に信号レベルが増加しているパターン部分の存在を検出すれば、該パターン部分に対応する検知面上に光散乱性付着物が存在すると検出する光散乱性付着物検出手段を備え、前記付着物検出手段により付着物の存在が検出され、前記光散乱性付着物検出手段により光散乱性付着物の存在が検出された場合、前記付着物が光散乱性を持つ物質であると推定し、前記付着物検出手段により付着物の存在が検出され、前記光散乱性付着物検出手段により散乱性付着物の存在が検出されない場合、前記付着物が光透過性を持つ物質であると推定することが好ましい。
【0023】
上記構成により、検出された付着物が、光透過性が少なく散乱性を持つものであるのか、光透過性を持つものであるかを推定することができる。
【0024】
また、上記付着物検出装置において、前記光散乱性付着物検出手段により検出された、前記散乱用光源の散乱光の信号パターンにおける周囲の信号レベルから相対的増加を示すパターン部分の相対的大きさから当該付着物の光散乱性の大きさを推定することが好ましい。
【0025】
上記構成により、付着物の光散乱性の大きさを信号パターンの相対的変化を考慮して推定することができる。
【0026】
また、上記付着物検出装置において、前記光散乱性付着物検出手段により検出された、前記散乱用光源の散乱光の信号パターンにおける周囲の信号レベルから相対的増加を示すパターン部分の相対的変化から当該付着物の付着物の種類と状態を推定することが好ましい。
【0027】
上記構成により、信号パターンの相対的変化を考慮して付着物の種類と状態について正確な推定をすることができる。
【0028】
また、上記付着物検出装置において、前記付着物検出手段により付着物の存在が検出され、かつ、前記光散乱性付着物検出手段により散乱性付着物の存在が検出された場合、前記付着物が泥水であると推定し、前記付着物検出手段により付着物の存在が検出され、かつ、前記光散乱性付着物検出手段により散乱性付着物の存在が検出されない場合、前記付着物が水滴であると推定することができる。
【0029】
なぜなら、泥水は光散乱性を有しているので、検知面上で光散乱を起こし、一方、雨滴は透明で光散乱性を有していないので、検知面上で光散乱を起こさないからである。
【0030】
また、上記付着物検出装置において、前記付着物検出手段により付着物の存在が検出され、かつ、前記光散乱性付着物検出手段により散乱性付着物の存在が検出された場合、前記付着物が泥水であると推定し、前記光散乱性付着物検出手段により検出された、前記散乱用光源の散乱光の信号パターンにおける周囲の信号レベルから相対的に信号レベルの増加を示すパターン部分の相対的大きさが所定割合よりも小さい場合には、前記泥水が乾いている状態であると推定することができる。
【0031】
なぜなら、乾いた泥は、ミクロにみれば検知面と接点においてのみ接しているので、光散乱を生じる領域が泥水に比べて相対的に小さいので、信号パターンにおける信号低下部分の相対的大きさの割合が小さくなるからである。
【0032】
また、上記付着物検出装置において、前記付着物検出手段により検出された、前記全反射用光源の反射光の信号パターンにおいて、信号パターン全体にわたる信号レベルの低下を検出し、かつ、前記光散乱性付着物検出手段により検出された、前記散乱用光源の散乱光の信号パターンにおいて、信号パターン全体にわたる信号レベルの増加を検出した場合は、前記付着物が結露による微小水滴であると推定することができる。
【0033】
なぜなら、結露は検知面全体を覆う形で付着し、信号レベル全体が変化し、かつ、検知面において差異があまりないので信号パターンは滑らかなものとなるからである。
【0034】
また、上記付着物検出装置において、前記付着物検出手段により検出された前記全反射用光源の反射光の信号パターンにおいて、信号パターン全体にわたり信号レベルが低下し、かつ、信号パターンの変化が滑らかでなく、前記光散乱性付着物検出手段により検出された前記散乱用光源の散乱光の信号パターンにおいて、信号パターン全体にわたり信号レベルが増加し、かつ、信号パターンの変化が滑らかでない場合は、前記付着物が氷結による氷であると推定することができる。
【0035】
なぜなら、氷結がある場合は、検知面を覆う形で氷結が見られ、信号レベル全体が変化し、かつ、氷結表面形状の複雑な変化より検知面において状態の差異が不規則に生じ、信号パターンに不規則性が見出されるからである。
【0036】
次に、上記した本発明の付着物検出装置は、前記検知面を自動車のウィンドシールド上に設けることにより、前記ウィンドシールドに付着した付着物の存在を検知するレインセンサとして利用することが可能となる。当該付着物検出装置をレインセンサとして用い、さらに、ウィンドウワイパー駆動手段と、ウィンドウワイパー制御手段を備え、前記ウィンドウワイパー制御手段が、前記付着物推定部からの付着物の種類と状態についての推定結果に基づいて前記ウィンドウワイパー駆動手段の制御内容を変更するウィンドウワイパー装置として構成することができる。
【0037】
上記構成により、ウィンドシールド上の付着物の存在、種類、状態に応じて、ワイパーの払拭制御内容が適切なものとなるように制御したウィンドウワイパー装置を提供することができる。例えば、雨滴が検知されれば、ワイパーによる払拭動作とし、水分を含んだ泥水であれば、同様にワイパーによる払拭動作とし、乾いた状態の泥であれば、ワイパーによる払拭動作はせず、ウォッシャー液の散布を行う動作とし、検知面上の結露(いわゆる曇り)を検知した場合は、ワイパーによる払拭動作とし、検知面上の氷結を検知した場合は、ワイパーによる払拭動作およびウォッシャー液の散布を行わず、氷結防止用のヒータの始動など、検知面の状態に合わせた対応処理を行うことができる。
【0038】
【発明の実施の形態】
本発明の付着物検出装置およびそれを用いた制御装置の実施形態について図を参照しつつ説明する。
【0039】
(実施形態1)
本実施形態1の付着物検出装置は、検知面に対応する受光素子アレイを備え、結像系レンズにより検知面を介して得られる光を受光素子アレイに結像させて受光し、光検出信号を各微小受光素子の並びに対応した信号パターンとし、当該信号パターンの変化部分を解析することにより検知面上の付着物の有無、種類などを検出するものである。まず、実施形態1として、検知面上における付着物の有無と当該付着物が光散乱性を持つ物体であるか否かを推定できる付着物検出装置を説明する。特に一例として、付着物が雨滴である場合と泥水である場合を挙げて両者の区別ができることを示す。
【0040】
本発明の付着物検出装置は、透明性基板の検知面上における付着物の有無、種類、状態を推定するため、下記の全反射用光源を用いた付着物検出モードと散乱用光源を用いた光散乱性付着物検出モードを備えた構成例となっている。もちろん他の実施形態として、付着物検出モードを持たず、光散乱性付着物検出モードのみとする構成や、光散乱性付着物検出モードを持たず、付着物検出モードのみとする構成なども可能である。本発明の付着物検出装置は、検知面に照射された全反射用光源による反射光と散乱用光源の散乱光を受光手段によりそれぞれ受光し、その光検出信号を信号パターンとして解析することにより、検知面上の付着物の存在、種類、状態に起因する検知面上での全反射条件と散乱条件の変化を検出し、付着物の存在、種類、状態を推定することを基本原理とする。
【0041】
付着物検出モードとは、透明性基板の検知面上における付着物の有無を検出するためのモードである。光散乱性付着物検出モードとは、検知面上における付着物が光散乱性を有するものであるか否か、例えば、付着物が泥水や鳥類の糞など光散乱性を有するものであるか否かを検知するモードである。本発明の付着物検出装置は、付着物検出モードにおいて検知面上における付着物の存在が検出され、光散乱性付着物検出モードにおいて光散乱性が検出されない場合、当該付着物が雨滴など光透過性を持つものであることが推定できる。また、付着物検出モードにおいて検知面上における付着物の存在が検出され、光散乱性付着物検出モードにおいて光散乱性が検出された場合、当該付着物が泥水など光散乱性を持つものであることが推定できる。
【0042】
本発明の付着物検出装置の装置構成例を示す。図1は実施形態1の本発明の付着物検出装置の装置構成例を簡単に示した模式図である。なお、装置構成の断面を示したものとなっており、後述するように当該断面の各構成要素が紙面垂直方向にアレイ状に複数構成されている。図1において、100が透明性基板の一例としてのウィンドシールド100である。ウィンドシールド100の下層は外界である。検知面110はウィンドシールド100と外界との境界面の一定領域にある。10が全反射用光源、20が散乱用光源である。30a,30cがプリズムである。40が結像レンズ、50が受光手段としての受光素子部(電荷結合素子)である。60が付着物推定部である。なお、この例では、全反射用光源10、プリズム30a、プリズム30c、結像レンズ40、受光素子部50により付着物検出手段が構成されている。また、散乱用光源20、プリズム30c、結像レンズ40、受光素子部50により光散乱性付着物検出手段が構成されている。
【0043】
全反射用光源10は、複数のLEDなどの光源を一端または両端など端部に持ち、線状に設けられている開口部から光を取り出すものであり、線状の開口部から光線が取り出される。全反射用光源10は、光線が検知面110に対して所定角度で入射するような位置および角度で配置されている。全反射用光源10から発射されプリズム30aを介してウィンドシールド100に導入された光が検知面110に入射し、図1(c)のように検知面110に付着物がない場合、つまり、空気が接している場合、検知面上での全反射条件が満足されるように調整されている。なお、プリズム30c、結像レンズ40、受光素子部50は、検知面110においてウィンドシールド100内に全反射した反射光がウィンドシールド100表面に取り付けられたプリズム30cを介してウィンドシールド100外に出射し、結像レンズ40により受光素子部50の受光面上に結像するように調整されている。さらに、全反射用光源10や上記要素の配置および取り付け角度は、図1(b)のように雨滴(水分)が接している場合には検知面110上での全反射条件が満足されないように調整される。
【0044】
いま、外界の媒質の屈折率をn1、ウィンドシールド100の屈折率をn2とし、照射光の検知面への入射角度をθ1とすると、全反射条件は(数1)で表される。
【0045】
【数1】
ここで、図1(c)のように雨滴がない場合の外界の媒質、つまり、空気の屈折率としてn1が1となり、ウィンドシールド100の屈折率n2の例として約1.51とすると(数1)より、41.47°<θ1となる。さらに、図1(b)のように雨滴付着の場合は、水の屈折率が約1.33であるので、θ1<61.74°であれば良いこととなる。つまり、検知面110において(数1)で示した全反射条件の満足・不満足が切り換わる光入射角度θ1は、41.47°<θ1<61.74°の範囲で選ばれる。これら条件を満たす要素の配置および取り付け角度の例としてこの例では、全反射用光源10からの照射光の検知面110への入射角度および反射角度が47°となるように調整する。
【0046】
次に、散乱用光源20を説明する。散乱用光源20も、全反射用光源10と同様、複数のLEDなどの光源を一端または両端など端部に持ち、線状の開口部から光線が取り出される。散乱用光源20も、その照射光が検知面110に対して所定角度で入射するような位置および角度で配置されている。ここでは、受光手段である受光素子部50において付着物によって散乱された光の有無を感度良く確認する必要があり、付着物が検知面上にない状態において散乱用光源20の照射光が直接受光素子部50に入射しないように構成する。つまり、全反射用光源10で設定する角度から少しずらし、全反射光が直接受光素子部50に入射しないように配置する。また、例えば、散乱用光源20の照射光の入射角度を、検知面110に対して全反射条件である上記(数1)が成立しない角度、つまり、外界の媒質の屈折率をn1、ウィンドシールド100の屈折率をn2とし、照射光の検知面への入射角度をθ1’とすると、41.47°<θ1’としても良い。この例ではθ1’を0°としている。
【0047】
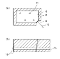
図2(a)が全反射用光源10の端面を表し、図2(b)が開口部14が見える面を正面から様子を示している。全反射用光源10は例えば複数の光源を端部に設け、線状に設けられている開口部14から取り出すものであり、線状の開口部14から光線として各々出射され、並列平行の直進光15として複数取り出される。図2(a)において、11が光源としてのLED、12が透光性材料よりなる導光体、13が光を遮蔽するカバー、14がLED光を取り出す開口部、15がLED11から出射された光線である。なお、LED11は図2(b)の左右の一端または両端部設け、カバー13の内面における反射を繰り返して開口部14の各部分に導く構成である。また、LEDは導光体の開口部14に対向する面に等間隔で配置しても良い。
【0048】
図2(b)の開口部14から取り出された光はプリズム30aに入射される。
【0049】
以下に、ウィンドシールド100上に付着する雨滴の大きさを検討した。もっとも、降雨した雨滴の大きさやウィンドシールド100上での付着の状態により付着した雨滴の大きさは多様に変化するが、目安として具体的数値を挙げて検討した。一般的に、霧雨と言われる雨滴の空気中での直径は0.1〜0.2mm程度、小粒の雨と言われる雨滴の空気中での直径は0.2〜1mm程度、大粒の雨と言われる雨滴の空気中での直径は2〜4mm程度、夕立など特に激しい雨の雨滴の空気中での直径は4〜6mm程度である。これら雨滴がウィンドシールド100に付着したときの大きさは、ガラス表面が親水性か撥水性かにより変化するが、撥水性であると想定すると、雨滴はほぼ空気中の大きさと同じ大きさで表面に付着する。ここで、検出すべき最小の雨滴として、小粒の雨の平均的サイズ、例えば、0.5mm直径の雨滴を選択すれば、当該雨滴一粒に相当する微小領域の面積は、約0.2mm2である。さらに感度を上げるため、検出すべき最小の雨滴として小粒の雨の最小サイズ、0.2mm直径の雨滴を選択すれば、当該雨滴一粒に相当する微小領域の面積は、約0.03mm2である。
【0050】
次に、各プリズムを説明する。
【0051】
プリズム30aは、全反射用光源10とウィンドシールド100の両者を光学的にコンタクトさせる媒体となるプリズムであり、全反射用光源10から照射された光をウィンドシールド100内に導く働きをする。
【0052】
プリズム30cは、検知面110における全反射用光源10からの反射光および散乱用光源20からの散乱光をウィンドシールド100内から導き出す働きをする。
【0053】
次に、結像レンズ40を説明する。結像レンズ40は、全反射用光源10および光散乱用光源20の照射光により照らされた検知面の像を受光素子部50の微小受光素子上に結像させるように構成されている。結像レンズ40と受光素子部50の受光素子は、結像レンズ40に入射した光が受光素子部50の受光素子上で結像するように角度と距離が調整されている。
【0054】
図3は、結像レンズ40の一例を模式的に示した図である。本実施形態では、結像レンズ40として屈折率分布型レンズアレイを用いる例を説明する。図3は、等倍結像系の屈折率分布型レンズアレイの一種である、SLA(R)(Selfoc Lense Array)の簡単な構成を示した図である。41が微小レンズとしてのロッドレンズ、42が黒色樹脂、43がFRP板である。ロッドレンズ41は棒状のものであり、図3ではそのレンズ面が見えている。また、図1の構成図ではこのロッドレンズ41一つのみの側断面を示している。このSLAを用いれば、入射された光線を屈曲させて、所定位置に正立・等倍の像を結像させることができる。つまり、検知面110上から得られた反射光をそのまま受光素子アレイ上に結像させることができる。
【0055】
上記例は、ロッドレンズ41が直線状に配置されたものであるが、全反射用光源10および光散乱用光源20から取り出す光線の並び、後述する受光素子部50の各受光素子の配置に応じたレンズ配置とする。
【0056】
なお、上記説明は、等倍結像系の例であるが、受光素子部50の受光素子であるそれぞれの受光素子受光面と、検知面110とが、結像光学系を形成していることが重要である。
【0057】
次に、受光手段である受光素子部50を説明する。
【0058】
受光素子部50は複数の微小受光素子を持ち、それらは全反射用光源10または光散乱用光源20の並列平行の光に対応するように複数配置されている。つまり、全反射用光源10または光散乱用光源20から照射された複数の直進光を個別に検知する微小受光手段を備えていることとなる。
【0059】
図4は、受光素子部50の一例を模式的に示した図である。図4の例は各受光素子部50の各受光素子を直線状に配置した例となっている。51は各受光素子であり受光面を概念的に示したものである。なお、受光素子51内部のキャパシタやトランジスタ回路、センスアンプ回路などは図示を省略し、受光素子51の受光面が直線状に配置されていることが分かる図とした。各受光素子51の受光面は、全反射用光源10および光散乱用光源20の開口部14の配置と対応するように配置され、結像レンズ40を介して検知面110からの反射光が結像するように、その距離、角度が調整されて取り付けられる。
【0060】
なお、受光素子51の受光面の有効面積は、検出すべき付着物の面積に対応して調整することができ、上記した検知面110上で検知すべき付着物の大きさの検討に従って、結像レンズ40が等倍結像系であれば、好ましくは約0.2mm2以下、さらに好ましくは約0.03mm2以下とする。もっとも上記範囲と異なる受光面有効面積を持つ受光素子を用いることもできる。
【0061】
以上の各構成要素において、全反射用光源10、プリズム30a、プリズム30c、結像レンズ40、受光素子部50により付着物検出手段が構成され、また、散乱用光源20、プリズム30c、結像レンズ40、受光素子部50により光散乱性付着物検出手段が構成されている。図1は断面図であって、これら各要素の構成は紙面垂直方向にアレイ状に複数構成されているものとする。なお、本実施形態1の付着物検出装置は、全反射用光源10による光照射タイミングと、散乱用光源20による光照射タイミングを切り替えることにより、付着物検出モードと、光散乱性付着物検出モードと、外界入射光量増加検出モードとを切り替えることができるものとする。制御部分は図1には図示しなかったが、全反射用光源10のオンオフ制御、散乱用光源20のオンオフ制御、付着物推定部60への稼動モード通知、つまり、付着物検出モードであるか光散乱性付着物検出モードであるか外界入射光量増加検出モードであるかを通知する機能を備えた制御部分があるものとする。付着物推定部60が当該制御部分を兼ねる構成としても良い。
【0062】
次に、付着物推定部60を説明する。
【0063】
付着物推定部60は、受光素子部50からの光検出信号を受け、光検出信号を解析することにより、付着物の有無、付着物の種類、付着物の付着形状を推定処理する部分である。本発明に用いる受光素子は、微小アレイ構成となっているので、付着物推定部60は、受光素子部50の各受光素子51からの光検出信号を受け、光検出信号を解析することにより、一つのモードにおいて各受光素子が検出した光検出信号の信号レベルを微小アレイ構成の配置に従って信号レベルをつなぎ合わせ、信号パターンを導く。検知面110上における雨滴付着による全反射条件の相違や散乱条件の相違などがあれば、対応するそれぞれの微小受光素子における光検出信号レベルが個々に異なることとなり、信号パターン中に低下部分や増加部分などが出現する。本願はこのように信号パターンを解析することにより、検知面上の付着物の有無、種類などを検出するものである。
【0064】
以下に、付着物検出モードの信号パターン、光散乱性付着物検出モードの信号パターンとそれら信号パターンを用いた解析を詳しく説明する。
【0065】
まず、最初に、検知面110上に3つの雨滴が存在する場合の付着物検出モードおよび光散乱性付着物検出モードの動作における付着物有無の検出、付着物種類の検出ついて説明する。
【0066】
まず、付着物検出モードにおける動作を説明する。
【0067】
図5(a)は、本発明の付着物検出装置が付着物検出モードにある場合の検知面上の1つの雨滴付着物における様子を模式的に示したものである。付着物検出モードでは、全反射用光源10から光が検知面110に照射され、散乱用光源20は消灯されている。検知面110の雨滴付着部分においては、上記に検討したように検知面110における全反射条件が満足されず、照射光が外界へ逃げてしまう。受光素子部50の対応する受光素子には原理的には光が受光されないこととなる。そのため信号パターンの対応する部分において、相対的に周囲の信号レベルに対する信号レベルの低下部分が検出されることになる。この例では雨滴が3個所あるので、信号パターンにおいて3個所の低下部分が見られることとなる。その様子を表わしたものが図7(a)上段の信号パターンである。図7(a)上段に示すように、周囲の信号レベルに比べて相対的に低下しているパターン部分が3個所見られる。
【0068】
次に、光散乱性付着物検出モードにおける動作を説明する。
【0069】
図5(b)は、本発明の付着物検出装置が光散乱性付着物検出モードにある場合の検知面上の1つの雨滴付着物における様子を模式的に示したものである。光散乱性付着物検出モードでは、散乱用光源20から光が検知面110に照射され、全反射用光源10は停止されている。雨滴は光散乱性に乏しく、原理的には光散乱が起こらないため、照射光が外界へ逃げてしまう。この場合も、原理的には受光素子部50の対応する受光素子には光が受光されないこととなる。そのため散乱光は透過してしまい、雨滴付着の区別なしに各受光素子の光検出信号はいずれも同じく低い信号レベルになる。信号パターンを示したものが図7(a)下段である。図7(a)下段に見るように信号パターンは低く平坦であり、“信号レベルパターン変化なし”が検出されることになる。
【0070】
なお、付着物推定部60は、付着物検出モードで“信号パターン低下部分あり”から“信号パターン変化なし”への変化が検出された場合には、雨滴付着物が検知面上から取り除かれたと推定することができる。なおこの推定は後述する図14の(2)に相当する。
【0071】
次に、検知面110上に3つの泥水が存在する場合の付着物検出モードおよび光散乱性付着物検出モードの動作における付着物有無の検出、付着物種類の検出ついて説明する。
【0072】
図6(a)は、図5(a)と同じく、本発明の付着物検出装置が付着物検出モードにある場合の検知面上の1つの雨滴における様子を模式的に示したものである。図5(a)の場合と同様、全反射用光源10から照射光が検知面110に照射され、散乱用光源20は消灯されている。検知面110の泥水120aの存在により検知面110における全反射条件が満足されず、照射光が外界へ逃げたり散乱したりして、受光素子部50には光が受光されない。もっとも泥水120aの光散乱性による散乱光の一部が受光されることが有り得るが、全反射光を受光する場合に比べてはるかに小さいものとなる。そのため信号パターンの対応する部分において、相対的に周囲の信号レベルに対する信号レベルの低下部分が検出されることになる。その様子を表わしたものが図7(b)上段の信号パターンである。図7(b)上段に示すように、周囲の信号レベルに比べて相対的に低下しているパターン部分が3個所見られる。
【0073】
図6(b)は本発明の付着物検出装置が光散乱性付着物検出モードにある場合の検知面上の1つの泥水における様子を模式的に示したものである。散乱用光源20から照射光が検知面110に照射され、全反射用光源10は消灯されている。散乱用光源光が泥水120aである付着物に当たる。ここで、泥水120aは光散乱性を有しているので光散乱が起こることとなる。このため泥水120aから周囲には散乱光が発せられ、その一部が、プリズム30c、結像レンズ40を介して受光素子部50に受光されることとなる。そのため泥水付着がある検知面に対応する微小受光素子が受け取る光検出信号は、相対的に大きいものとなる。そのため信号パターンの対応する部分において、相対的に周囲の信号レベルに対する信号レベルの増加部分が検出されることになる。その様子を表わしたものが図7(b)下段の信号パターンである。図7(b)下段に示すように、周囲の信号レベルに比べて相対的に増加しているパターン部分が3個所見られる。
【0074】
付着物推定部60は、付着物検出モードで“信号パターン低下部分あり”、光散乱性付着物検出モードで“信号パターン増加部分あり”が得られた場合、泥水の存在、つまり、光散乱性を有する付着物の存在を推定する。なおこの推定は図14の(3)および(4)に相当する。泥水が水分を含んだ状態か泥が乾いた状態であるかの区別については実施形態2において説明する。
【0075】
なお、付着物推定部60は、付着物検出モードで“信号パターン低下部分あり”から“信号パターン変化なし”への変化が検出され、光散乱性検出モードで“信号パターン増加部分あり”から“信号パターン変化なし”への変化が検出された場合には、泥水などの光散乱性付着物が検知面上から取り除かれたと推定することができる。
【0076】
図8は、本発明の付着物検出装置の付着物推定部60による付着物の有無、付着物の種類、付着物の状態の推定処理を示すフローチャートである。
【0077】
付着物推定部60は、稼動モードを付着物検出モードに設定し、全反射用光源10に光照射制御信号を送る(ステップS801)。全反射用光源10は検知面110に照射光を照射し、受光手段である受光素子部50は検知面110からの反射光を受光する。
【0078】
次に、付着物推定部60は、受光素子部50の各受光素子から得られた信号レベルを基に、付着物検出モードにおける信号パターンを取得する(ステップS802)。
【0079】
次に、付着物推定部60は、信号パターンを解析し、その変化を検知する(ステップS803)。
【0080】
付着物推定部60は、信号パターンの相対的変化について、“信号パターン低下部分あり”、“信号パターン増加部分あり”、“信号パターン変化部分なし”のいずれかを検知する(ステップS804)。例えば、雨滴の例では、信号パターン(図7(a)上段)から“信号パターン低下部分あり”が検知される。
【0081】
次に、付着物推定部60は、稼動モードを光散乱性付着物検出モードに設定し、光散乱用光源20に光照射制御信号を送る(ステップ805)。散乱用光源20は検知面110に照射光を照射し、受光手段である受光素子部50は検知面110からの散乱光を受光する。
【0082】
次に、付着物推定部60は、受光素子部50の各受光素子の信号レベルを基に、光散乱性付着物検出モードにおける信号パターンを取得する(ステップS806)。
【0083】
次に、付着物推定部60は、信号パターンを解析し、その変化を検知する(ステップS807)。
【0084】
付着物推定部60は、信号パターンの相対的変化について、“信号パターン低下部分あり”、“信号パターン増加部分あり”“信号パターン変化部分無し”のいずれかを検知する(ステップS808)。例えば、雨滴の例では、信号パターン(図7(a)下段)から“信号パターン変化部分無し”が検知される。
【0085】
次に、付着物推定部60は、ステップS804における付着物検出モードでの検知した“信号パターン低下部分あり”、“信号パターン増加部分あり”、“信号パターン変化部分なし”の3状態のいずれかと、およびステップS808における光散乱性付着物検出モードで検知した“信号パターン低下部分あり”、“信号パターン増加部分あり”、“信号パターン変化部分なし”の3状態のいずれかとの組み合わせに応じ、図14で示した表に基づいて、付着物の有無、付着物の種類を推定する(ステップS809)。例えば、雨滴の例では、図14の(2)に相当するので雨滴が付着していると推定され、泥水の例では、図14の(3)または(4)に相当するので泥水が付着していると推定される。
【0086】
なお、付着物推定部60の信号パターンの解析により、付着している水滴の大きさを概ね推定することも可能である。付着した水滴の大きさに対応して、信号パターンのうち信号レベルが低下している部分の幅が変化することとなるので、信号パターンの信号レベル低下部分の幅から付着した水滴の大きさを概ね推定することが可能となるわけである。
【0087】
以上、本実施形態1に示した付着物検出装置によれば、受光素子アレイ構成に対応して得られた光検出信号の信号パターンを解析して、相対的な信号パターンの変化を基に、付着物の有無、種類、状態を推定することができる。信号パターンの微小区間同士の相対的な変化を解析するので、細かい付着物の有無も精度良く検出することができ、また、温度特性などによる環境の変化の影響も受けにくい。
【0088】
以上、本実施形態1の付着物検出装置によれば、検知面上における付着物の有無と当該付着物が光散乱性を持つ物体であるか否かを推定でき、特に例として示したように付着物が雨滴であるか泥水かなどを区別することができる。
【0089】
また、本発明の付着物検出装置では、この信号パターンにおける変化は相対的変化として表わされるので、検知領域に対応した信号パターンの微小区間同士の相対的な変化を解析するので、細かい付着物の有無も精度良く検出することができ、また、温度特性などによる環境の変化の影響も受けにくいという優れた効果を得ることができる。
【0090】
(実施形態2)
実施形態2の付着物検出装置は、本発明の付着物検出装置において、付着物の種類やその状態の推定処理について、さらなる応用機能を備えた例を説明する。特に一例として、付着物を泥水とし、当該泥水が、水分を含むいわゆる“泥水”状態であるか、乾燥した状態であるかを区別して推定する例を示す。
【0091】
装置構成、各要素の配置については実施形態1と同様で良いのでここでは省略するが、付着物推定部60の処理が異なっている。
【0092】
まず、泥水が、水分を含むいわゆる“泥水”状態であるか、乾燥した状態の泥であるかを区別して推定する原理を説明する。
【0093】
なお、水分を含むいわゆる“泥水”に関しては、実施形態1において説明したのでここでの詳しい説明は省略する。付着物検出モードでの光の経路は図6(a)と同様であり、その信号パターンは図7(b)上段と同様に検出でき、泥水が検知面上に3個所あれば、信号パターンにおいて周囲の信号レベルに比べて相対的に低下している部分が3個所見られる。また、光散乱性付着物検出モードでの光の経路は図6(b)と同様であり、その信号パターンは図7(b)下段と同様に検出でき、泥水が検知面上に3個所あれば、信号パターンにおいて周囲の信号レベルに比べて相対的に増加している部分が3個所見られる。
【0094】
図9(a)は付着物検出モードにおける、乾燥した状態の泥の様子を模式的に示したものである。付着物検出モードでは、水分を含んだ状態の泥水の場合の図3(a)と同様、検知面110の泥の存在により照射光の一部が吸収されたり散乱したりして、全反射光を受光する場合に比べて対応する微小受光素子が受光する光量は相対的に小さいものとなる。しかし、照射光の一部は散乱されるので、受光素子部50に受光される。しかし、後述するように水分を含んだ泥水の場合に比べ、対応する微小受光素子が受光する光検出信号レベルの低下は、相対的に小さいものとなる。このように、乾いた泥の付着があれば、付着物検出モードにおける信号パターンにおいて周囲の信号レベルに比べて相対的に低下している部分が見られる。
【0095】
図9(b)に泥水が乾燥した状態で検知面110上に付着している場合の光散乱性付着物検出モードでの様子を模式的に示す。光散乱性付着物検出モードでは、水分を含んだ状態の泥水の場合の図3(b)と同様、検知面110の乾燥した泥120bの存在により検知面110における光散乱が起こり、一部の散乱光が受光素子51に受光されるが、対応する受光素子51が受光する光量は水分を含んだ泥水による光散乱の場合に比べ相対的に小さいものとなる。このように光散乱光検出モードにおける光量が異なるものとなる理由は、図9(c)に示すように、水分を含む泥水であれば、水分の存在により検知面110に対して密着しており、泥水が接している面積全体で光散乱が起こるが、図9(d)に示すように、乾いた状態の泥であれば、水分がないため検知面110に対して密着しておらず、泥の粒子の検知面に対する接点のみでしか光散乱が起きないからである。そのため、乾いた泥が付着している検知面上の部分に対応する微小受光素子は、光散乱性付着物検出モードの信号パターンにおいて増加部分が見られるがその増加割合が相対的に少ないものとなる。
【0096】
図10は、泥が水分を含んでいる場合(a)と泥が乾燥している場合(b)の信号パターンの例を示したものである。それぞれ上段が付着物検出モードにおける信号パターン、下段が光散乱性付着物検出モードにおける信号パターンである。本実施形態2の付着物検出装置は、原理的には光散乱性付着物検出モードにおける信号パターンを解析することにより、付着物の水分の過多、つまり、水分を含んだ状態の泥水であるか、乾いた状態の泥水であるかを区別して推定するものである。つまり、図10(a)と(b)両者の信号パターンにおける山の部分の波形としての高さを評価すれば良いこととなる。推定精度を上げる一つの方法としては、両モードにおいて平坦部分(付着物がない部分の信号パターン)を100とし、変化部分(付着物がある部分の信号パターン)の相対的大きさを評価する方法がある。信号パターンの変化の大きさの割合が所定値よりも大きい場合に泥水と推定し、所定値よりも小さい場合に乾いた泥と推定する。
【0097】
他の方法としては、付着物検出モードにおける信号パターンと光散乱性付着物検出モードにおける信号パターンとをパターンとして重ね合わせ、付着物がない信号パターン部分の信号パターンの高低差と、付着物のある信号パターン部分の高低差との比較により、信号パターンの変化の大きさの割合を定量的に評価する方法もある。
【0098】
付着物推定部60による処理ステップは、図8と同様の流れで良い。なお本実施形態2では、ステップS804における付着物検出モードで検知した状態およびステップS808における光散乱性付着物検出モードで検知した状態は、“信号パターン低下部分あり(低下割合大)”、“信号パターン低下部分あり(低下割合小)”、“信号パターン増加部分あり(増加割合大)”、“信号パターン増加部分あり(増加割合小)”、“信号パターン変化なし”の5状態あることとなる。これら状態のいずれかの組み合わせに応じ、ステップS809の付着物の有無・付着物の種類の推定処理が図14で示した表に基づいてなされる。泥水は、図14の表の(3)に相当するので泥水が付着していると推定され、乾いた泥は、図14の表の(4)に相当するので乾いた泥が付着していると推定される。
【0099】
以上、本実施形態2に示した付着物検出装置によれば、受光素子アレイ構成に対応して得られた光検出信号の信号パターンを解析して、相対的な信号パターンの変化を基に、付着物が泥水であるのか、乾いた泥であるのかを推定することができる。信号パターンの微小区間同士の相対的な変化を解析するので、細かい付着物の有無も精度良く検出することができ、また、温度特性などによる環境の変化の影響も受けにくい。
【0100】
(実施形態3)
実施形態3の付着物検出装置は、検知面上に結露した微小水滴、つまり、曇りがあるのか否かを推定するものである。
【0101】
装置構成、各要素の配置については実施形態1と同様で良いのでここでは省略する。
【0102】
検知面110上に結露した微小水滴、つまり、曇りがある場合、付着物検出モードと、光散乱性付着物検出モードにおいてどのような信号パターンが得られるかを説明する。本発明の付着物検出装置は、各構成要素において微小アレイ構成を採用しており、検知面110上の付着状態に対応して検出された光検出信号の信号レベルをパターンとして得るが、曇りのような結露した微小水滴の大きさは、本発明の付着物検出装置の一つあたりの受光素子の大きさよりもはるかに小さい。また、通常、結露による曇りは検知面において局所的に起こらず、少なくとも検知面全面を覆う程度の規模で発生すると想定される。そのため、検知面110上全体にわたり付着状態が似通ったものとなり、信号パターンには相対的な変化部分が現れないこととなる。しかし、全反射用光源からの照射光の全反射や、散乱用光源からの照射光の散乱は、結露による微小水滴においても起こるので、信号パターンは全体的に低下したり増加したりすることとなる。ただし、結露による微小水滴が覆っている部分と覆っていない部分が併存しているので、付着物検出モードでは、信号パターンは全体的に低下するが、その低下割合は雨滴付着の場合に比べて小さく、光散乱性検出モードでは信号パターンは全体的に増加するが、その増加割合は泥水付着の場合に比べて小さい。
【0103】
図11(a)は、結露による曇りがない場合の信号パターンである。図11(b)は結露による曇りがある場合の信号パターンである。
【0104】
図11(b)上段の付着物検出モードの信号パターンは、図11(a)上段のものと比べて全体的に低下しており、かつ、パターンが滑らかで平坦であることが分かる。
【0105】
図11(b)下段の光散乱性付着物検出モードの信号パターンは、図11(a)中段のものと比べて全体的に増加しており、かつ、パターンが滑らかで平坦であることが分かる。
【0106】
結局、検知面上に結露による曇りがあるか否かを検出するためには、得られた信号パターンが図11(a)と図11(b)のいずれの信号パターンであるかを判別すれば良いが、この場合、両者の信号パターンが滑らかで平坦であるので信号パターン形状のみによる判別が難しい。そこで、全反射用光源10も散乱用光源20も全部消灯したモードを設けることが好ましい。この全消灯モードにおいて得られた信号パターンによりいわゆる“0”信号パターンと、光散乱性付着物検出モードにおいて得られた信号パターンを比較することにより、光散乱性付着物検出モードにおいて得られた信号パターンが全体的に増加していることが明瞭に分かる。検知面110上において光散乱が生じており、かつ、その信号パターンが平坦であれば、結露による微小水滴、つまり、曇りの付着を推定することができる。
【0107】
付着物推定部60による処理ステップは、図12に示すものである。図12のステップS1201〜ステップS1208は、図8とステップS801〜ステップS808と同様で良い。なお本実施形態3では、ステップS1204における付着物検出モードでは“信号パターン変化部分なし”が検知され、ステップS1208における光散乱性付着物検出モードでは“信号パターン変化部分なし”が得られる。
【0108】
次に、全反射用光源10および光散乱用光源20双方を消灯させて光検出信号パターン、つまり、“0”信号パターンを取得し(ステップS1209)、ステップS1206で取得した光散乱性付着物モードで取得した信号パターンと、ステップS1209で取得した“0”信号パターンとを比較し、光散乱性付着物モードで信号レベルが増加したか否かを検知する(ステップS1210)。次に、付着物推定部60において、図14で示した表に基づいて、付着物を推定する(ステップS1211)。ここでは図14の(5)に相当するので結露による曇りが付着していると推定される。
【0109】
以上、本実施形態3に示した付着物検出装置によれば、微小アレイ構成に対応して得られた光検出信号の信号パターンを解析して、相対的な信号パターンの変化と、“0”信号パターンとの比較による信号レベルの変化を基に、検知面上に結露による曇りが付着しているのか否かを推定することができる。
【0110】
(実施形態4)
実施形態4の付着物検出装置は、検知面上に氷結があるのか否かを推定する例を示す。
【0111】
装置構成、各要素の配置については実施形態1と同様で良いのでここでは省略する。
【0112】
検知面110上に氷結がある場合、付着物検出モードと、光散乱性付着物検出モードにおいてどのような信号パターンが得られるかを説明する。
【0113】
氷結は、通常、外気温が氷点以下に低下した場合に、空気中の水分など何らかの水分が検知面上で凝固することにより生成される。通常、氷結は検知面において局所的に起こらず、少なくとも検知面110全体を覆うことが想定される。そのため、信号パターン全体にわたって氷結付着物による影響が現れることとなる。
【0114】
実施形態3で述べた結露による曇りの場合は、均一に微小水滴が付着するので、信号パターン中における相対的変化部分は生じないものであったが、氷結の場合は、氷結晶の付着具合の違いや微細な表面形状の違いから、検知面110上での付着状態は不規則に変化していることとなり、信号パターンには全体にわたり不規則な変化部分が現れることとなる。
【0115】
図13(a)は、氷結がない場合の信号パターンを示した図である。図13(b)は、氷結がある場合の信号パターンを示した図である。それぞれ、上段が付着物検出モードにおいて得られた信号パターン、下段が光散乱性付着物検出モードで得られた信号パターンである。図13(b)に見るように、氷結がある場合は、付着物検出モードにおいて信号レベル自体は全体的に低下し、さらに、信号パターン全体的にわたり不規則な変化が見られることが分かる。また、光散乱性付着物検出モードにおいて信号レベル自体は全体的に増加し、さらに、信号パターン全体的にわたり不規則な変化が見られることが分かる。
【0116】
結局、検知面上に氷結があるか否かを検出するためには、得られた信号パターンが図13(a)と図13(b)のいずれの信号パターンであるかを判別すれば良いこととなる。この場合、信号レベルおよびその不規則性を評価することにより判別は可能となる。
【0117】
本実施形態4の付着物推定部60による推定処理ステップは図8に示すものと同様であるが、本実施形態4では、ステップS804における付着物検出モードでは“信号パターン不規則変化あり”が検知され、ステップS808における光散乱性付着物検出モードでは“信号パターン不規則変化あり”が得られる。
ステップS809の付着物推定部60の付着物推定処理においては、図14の(6)に相当するので氷結付着物が付着していると推定される。
【0118】
以上、本実施形態4に示した付着物検出装置によれば、微小アレイ構成に対応して得られた光検出信号の信号パターンを解析して、相対的な信号パターンの変化を基に、検知面上の氷結付着物の存在を推定することができる。
【0119】
(実施形態5)
本実施形態5は、本発明の付着物検出装置を用いた制御装置の一実施形態として、付着物検出装置をレインセンサとして用いるウィンドウワイパー制御装置の装置構成例を示すものである。
【0120】
図15は、付着物検出装置をレインセンサとして用いるウィンドウワイパー制御装置のブロック図の例である。700が実施形態1〜4において示した本発明の付着物検出装置であるレインセンサの機能ブロック、710がウィンドウワイパー制御手段、720がウィンドウワイパー駆動手段、730がウィンドウワイパーであり、図示のように接続されている。また、図16は、本実施形態5のウィンドウワイパー制御装置の処理動作の流れの一例を示すフローチャートである。
【0121】
レインセンサ700は実施形態1において説明したように各要素の取付け角度や材質が選択されたものであり、降雨による雨滴を検知対象とし、各受光素子からの光検出信号を出力するものである。また、レインセンサとして使用する付着物検出装置の付着物推定部60は、各実施形態1および2で示した雨滴推定、泥水推定、水分を含んだ状態の泥水推定、乾いた状態の泥水推定、実施形態3で示した曇り推定、実施形態4で示した氷結推定処理のいずれかの推定処理またはすべての推定処理が可能であるとする。
【0122】
レインセンサ700は付着物推定部60の出力信号として、“付着物なし”推定信号、“雨滴付着あり”推定信号、“水分を含む状態の泥水付着あり”推定信号、“乾いた状態の泥水付着あり”推定信号、“曇り状態の水滴付着あり”推定信号、“氷結状態の水滴付着あり”推定信号の6種類の検出信号を出力するものとする。
【0123】
ウィンドウワイパー制御手段710は、レインセンサ700の付着物推定部60からの各種推定信号を入力とし、ウィンドウワイパー駆動手段720に対して、ウィンドシールド表面の各推定状態に応じたワイパー制御信号を出力するものである。
【0124】
例えば、“付着物なし”推定信号に対しては、ワイパー停止状態とする制御信号を出力する。
【0125】
“雨滴付着あり”推定信号と“曇り状態の水滴付着あり”推定信号に対しては、ワイパー駆動状態とする制御信号を出力する。
【0126】
“水分を含む状態の泥水付着あり”推定信号に対しては、洗浄液噴射とともにワイパー駆動状態とする制御信号を出力する。泥水の払拭には洗浄液とともにワイパーで払拭することが好ましいと想定されるからである。
【0127】
“乾いた状態の泥水付着あり”推定信号に対しては、ワイパー停止状態とする制御信号を出力する。乾いた状態の泥水がウィンドシールド上にある場合、そのままワイパーで払拭すれば、ワイパー制御装置およびウィンドシールドを傷つけるおそれがあるからである。なお、運転者に対して、乾いた状態の泥水の付着がある旨の警告をする制御としても良い。この場合は、運転者に対する警告を制御する制御部分に対して警告指示制御信号を出力することとなる。
【0128】
“氷結状態の水滴付着あり”推定信号に対しては、ワイパー停止状態とする制御信号を出力する。氷結状態の水滴がウィンドシールド上にある場合、そのままワイパーで払拭すれば、ワイパー制御装置およびウィンドシールドを傷つけるおそれがあるからである。なお、ウィンドシールドに組み込まれた氷結防止機能を自動的にオンとする制御を行うことができる。この場合、該氷結防止機能を制御する制御部分に対して駆動制御信号を出力することとなる。
【0129】
ウィンドウワイパー駆動手段720はウィンドウワイパー制御手段710からの制御信号を入力とし、ウィンドウワイパー730の駆動を制御するものである。
【0130】
ウィンドウワイパー730は、ウィンドウワイパー駆動手段720によりトルクなどが与えられて駆動され、停止状態、駆動状態を持つ。駆動状態には間欠駆動のピッチが短いものや長いものなど複数の状態がありうる。駆動状態においてウィンドシールドの所定表面を払拭する。
【0131】
図16のフローチャートを参照しつつ、ウィンドウワイパー制御装置の処理動作の流れを説明する。
【0132】
ウィンドウワイパー制御装置が稼動中の場合(ステップS1601:Y)、ウィンドウワイパー制御手段710は、レインセンサ700の付着物推定部60からの制御信号をモニタする(ステップS1602)。
【0133】
ウィンドウワイパー制御手段710は、付着物推定部60からの制御信号をデコードし、その制御内容を解析する(ステップS1603)。
【0134】
ウィンドウワイパー制御手段710は、ステップS1603で得た制御内容に従い、ウィンドウワイパー730の駆動を制御する(ステップS1604)。ステップS1604の後、再度ステップS1601にループして制御を継続する(ステップS1601へ戻る)。
【0135】
図17は、本発明の付着物検出装置をレインセンサとして用いたウィンドウワイパー制御装置の取り付け構成例を簡単に示した図である。図17に示すように、付着物検出装置であるレインセンサ700を、車のバックミラー900の裏面にあるウィンドシールド部分910に取り付けている。このようにバックミラー900の裏面のウィンドシールド部分910に取り付けることにより運転者の運転視界を不必要に遮ることなく、かつ、検知面をウィンドシールド上に確保できる。ウィンドウワイパー制御手段710とウィンドウワイパー駆動手段720は図示していないが、ウィンドウワイパー730付近の車装品としてキャビン内に格納されているものとする。
【0136】
以上、本実施形態5に示した付着物検出装置を用いた制御装置は、一例であり、本発明の付着物検出装置は、上記の具体的装置構成例に限定されることなく、本発明の技術的思想に基づいて他の装置構成も可能であり、ウィンドウワイパー制御装置以外の用途にも用いることができることは言うまでもない。
【0137】
【発明の効果】
本発明の付着物検出装置によれば、検知面上における付着物の有無、付着物の種類、付着の状態を推定することができる。例えば、雨滴、水分を含んだ状態の泥水、乾いた状態の泥水、曇り状態の水滴、氷結状態の水滴などの付着物を推定することができる。
【0138】
また、本発明の付着物検出装置によれば、微小アレイ構成に対応して得られた光検出信号の信号パターンを解析して、相対的な信号パターンの変化を基に、付着物の有無、種類、状態を推定することができる。信号パターンの微小区間同士の相対的な変化を解析するので、細かい付着物の有無も精度良く検出することができ、また、温度特性などによる環境の変化の影響も受けにくい。
【0139】
また、本発明の付着物検出装置を用いた制御装置によれば、本発明の付着物検出装置による付着物の有無、付着物の種類、付着の状態の推定に応じてその制御内容を制御することができ、例えば、付着物検出装置をレインセンサとし、付着物検出装置を用いた制御装置をワイパー制御装置とすれば、ウィンドシールド上の付着物の推定に応じてワイパー駆動状態を制御することができる。
【図面の簡単な説明】
【図1】 本発明の第1の付着物検出装置の装置構成例を簡単に示した模式図
【図2】 (a)が光源部10の端面を模式的に示した図、(b)が光源部10を開口部14の見える面を正面とした図
【図3】 結像レンズ40の一例を模式的に示した図
【図4】 受光素子部50の一例を模式的に示した図
【図5】 雨滴が検知面110上に付着している場合の光経路を説明した図
【図6】 泥水が検知面110上に付着している場合の光経路を説明した図
【図7】 本発明の付着物検出装置において検出された付着物が雨滴である場合と泥水である場合の信号パターン
【図8】 実施形態1の付着物検出装置の付着物推定部60による付着物の有無、付着物の種類、付着物の状態の推定処理を示すフローチャート
【図9】 泥水が乾いた状態の付着物が検知面110上に付着している場合の光経路を説明した図
【図10】 本発明の付着物検出装置において検出された付着物が泥水である場合と乾いた泥である場合の信号パターン
【図11】 本発明の付着物検出装置において検出された結露による曇りがない場合と曇りがある場合の信号パターン
【図12】 実施形態3の付着物検出装置の付着物推定部60による付着物の有無、付着物の種類、付着物の状態の推定処理を示すフローチャート
【図13】 本発明の付着物検出装置において検出された氷結がない場合と氷結がある場合の信号パターン
【図14】 付着物検出モードと光散乱付着物検出モードにおける光検出信号パターンによる付着物の有無、付着物の種類、付着物の状態の推定を表した図
【図15】 付着物検出装置をレインセンサとして用いるウィンドウワイパー制御装置のブロック図
【図16】 本実施形態5のウィンドウワイパー制御装置の処理動作の流れの一例を示すフローチャート
【図17】 本発明の付着物検出装置をレインセンサとして用いたウィンドウワイパー制御装置の取り付け構成例を簡単に示した図
【図18】 従来の反射光検知型レインセンサによる雨滴検出原理を簡単に説明した図
【符号の説明】
10 全反射用光源
11 LED
12 導光体
13 カバー
14 開口部
15 光線
20 散乱用光源
30 プリズム
40 結像レンズ
41 ロットレンズ
42 黒色樹脂
43 FRP
50 受光素子部
51 受光素子
60 付着物推定部
100 ウィンドシールド
110 検知面
120 雨滴
130 雨滴が付着した検知面に対して入射した光の軌跡
140 雨滴が付着していない検知面に対して入射した光の軌跡
700 レインセンサ
710 ウィンドウワイパー制御手段
720 ウィンドウワイパー駆動手段
730 ウィンドウワイパー
900 バックミラー
910 バックミラー裏面のウィンドシールド部分
Claims (10)
- 全反射用と散乱用の2種類の光源を備え、前記全反射用光源から発射され透明性基板内に導入された入射光が反射され、また、前記散乱用光源から発射され前記透明性基板内に導入された入射光が照射される前記透明性基板の外表面の一部を検知面とし、
前記検知面から入射する前記全反射用光源による反射光と前記散乱用光源による散乱光をそれぞれ結像させる結像系レンズと、
受光素子アレイを備え、
前記結像系レンズからの光を受光し、各光源ごとに、各微小受光素子からの光検出信号をそれら微小受光素子の配列に応じて並べた信号パターンを生成し、検知面上の付着物の付着状態に対応した信号パターンを出力することを特徴とする付着物検出装置。 - 前記全反射用光源の照射と、前記散乱用光源の照射とを切り替える光源切り替え手段を備えた請求項1に記載の付着物検出装置。
- 前記信号パターンにおいて、周囲の信号レベルから相対的に信号レベルが低下しているパターン部分の存在を検出すれば、該パターン部分に対応する検知面上に付着物が存在すると検出する付着物検出手段と、
前記信号パターンにおいて、周囲の信号レベルから相対的に信号レベルが増加しているパターン部分の存在を検出すれば、該パターン部分に対応する検知面上に光散乱性付着物が存在すると検出する光散乱性付着物検出手段を備え、
前記付着物検出手段により付着物の存在が検出され、前記光散乱性付着物検出手段により光散乱性付着物の存在が検出された場合、前記付着物が光散乱性を持つ物質であると推定し、
前記付着物検出手段により付着物の存在が検出され、前記光散乱性付着物検出手段により散乱性付着物の存在が検出されない場合、前記付着物が光透過性を持つ物質であると推定する請求項1または2に記載の付着物検出装置。 - 前記光散乱性付着物検出手段により検出された、前記散乱用光源の散乱光の信号パターンにおける周囲の信号レベルから相対的増加を示すパターン部分の相対的大きさから当該付着物の光散乱性の大きさを推定する請求項1に記載の付着物検出装置。
- 前記光散乱性付着物検出手段により検出された、前記散乱用光源の散乱光の信号パターンにおける周囲の信号レベルから相対的増加を示すパターン部分の相対的変化から当該付着物の付着物の種類と状態を推定する請求項1に記載の付着物検出装置。
- 前記付着物検出手段により付着物の存在が検出され、かつ、前記光散乱性付着物検出手段により散乱性付着物の存在が検出された場合、前記付着物が泥水であると推定し、
前記付着物検出手段により付着物の存在が検出され、かつ、前記光散乱性付着物検出手段により散乱性付着物の存在が検出されない場合、前記付着物が水滴であると推定する請求項1に記載の付着物検出装置。 - 前記付着物検出手段により付着物の存在が検出され、かつ、前記光散乱性付着物検出手段により散乱性付着物の存在が検出された場合、前記付着物が泥水であると推定し、
前記光散乱性付着物検出手段により検出された、前記散乱用光源の散乱光の信号パターンにおける周囲の信号レベルから相対的に信号レベルの増加を示すパターン部分の相対的大きさが所定割合よりも小さい場合には、前記泥水が乾いている状態であると推定する請求項1に記載の付着物検出装置。 - 前記付着物検出手段により検出された、前記全反射用光源の反射光の信号パターンにおいて、信号パターン全体にわたる信号レベルの低下を検出し、かつ、前記光散乱性付着物検出手段により検出された、前記散乱用光源の散乱光の信号パターンにおいて、信号パターン全体にわたる信号レベルの増加を検出した場合は、前記付着物が結露による微小水滴であると推定する請求項1に記載の付着物検出装置。
- 前記付着物検出手段により検出された前記全反射用光源の反射光の信号パターンにおいて、信号パターン全体にわたり信号レベルが低下し、かつ、信号パターンの変化が滑らかでなく、前記光散乱性付着物検出手段により検出された前記散乱用光源の散乱光の信号パターンにおいて、信号パターン全体にわたり信号レベルが増加し、かつ、信号パターンの変化が滑らかでない場合は、前記付着物が氷結による氷であると推定する請求項1に記載の付着物検出装置。
- 前記検知面を自動車のウィンドシールド上に設け、前記ウィンドシールドに付着した付着物の存在を検知するレインセンサとした請求項1〜9いずれかに記載の付着物検出装置と、
ウィンドウワイパー駆動手段と、
ウィンドウワイパー制御手段を備え、
前記ウィンドウワイパー制御手段が、前記付着物推定部からの付着物の種類と状態についての推定結果に基づいて前記ウィンドウワイパー駆動手段の制御内容を変更するウィンドウワイパー装置。
Priority Applications (1)
| Application Number | Priority Date | Filing Date | Title |
|---|---|---|---|
| JP2000387734A JP4420558B2 (ja) | 2000-12-20 | 2000-12-20 | 付着物検出装置およびそれを用いた制御装置 |
Applications Claiming Priority (1)
| Application Number | Priority Date | Filing Date | Title |
|---|---|---|---|
| JP2000387734A JP4420558B2 (ja) | 2000-12-20 | 2000-12-20 | 付着物検出装置およびそれを用いた制御装置 |
Publications (2)
| Publication Number | Publication Date |
|---|---|
| JP2002188994A JP2002188994A (ja) | 2002-07-05 |
| JP4420558B2 true JP4420558B2 (ja) | 2010-02-24 |
Family
ID=18854609
Family Applications (1)
| Application Number | Title | Priority Date | Filing Date |
|---|---|---|---|
| JP2000387734A Expired - Fee Related JP4420558B2 (ja) | 2000-12-20 | 2000-12-20 | 付着物検出装置およびそれを用いた制御装置 |
Country Status (1)
| Country | Link |
|---|---|
| JP (1) | JP4420558B2 (ja) |
Families Citing this family (4)
| Publication number | Priority date | Publication date | Assignee | Title |
|---|---|---|---|---|
| JP4513681B2 (ja) * | 2005-07-25 | 2010-07-28 | 株式会社デンソー | 雨滴・結露検出装置 |
| JP5459081B2 (ja) * | 2010-06-03 | 2014-04-02 | 株式会社デンソー | 付着水分検出装置による付着水分検出方法 |
| JP5831414B2 (ja) * | 2012-09-18 | 2015-12-09 | 株式会社デンソー | 付着物判定装置、及び、該付着物判定装置を有するワイパー制御装置と温度制御装置 |
| DE102020130481B4 (de) * | 2020-11-18 | 2025-05-15 | Mercedes-Benz Group AG | Verfahren und Vorrichtung zur Detektion von Verunreinigungen auf einem Sichtfenster eines Lidars |
-
2000
- 2000-12-20 JP JP2000387734A patent/JP4420558B2/ja not_active Expired - Fee Related
Also Published As
| Publication number | Publication date |
|---|---|
| JP2002188994A (ja) | 2002-07-05 |
Similar Documents
| Publication | Publication Date | Title |
|---|---|---|
| JP3691488B2 (ja) | 付着物検出装置およびそれを用いた制御装置 | |
| JPWO2002021107A1 (ja) | 付着物検出装置およびそれを用いた制御装置 | |
| EP1015286B1 (en) | Moisture sensor and windshield fog detector | |
| JP5014306B2 (ja) | 支援システムのための光学モジュール | |
| US8541732B2 (en) | Optical module having a multifocal optical system with an additional optical element for covering a far range and a near range in one image | |
| US20200355808A1 (en) | Device designed to detect surroundings and method for cleaning a cover of a device of this type | |
| KR101766018B1 (ko) | 반사형 센서가 포함된 일체형 레인센서 | |
| JP2005195566A5 (ja) | ||
| JP4605975B2 (ja) | 付着物検出装置およびそれを用いた制御装置 | |
| JPWO2001086259A1 (ja) | 付着物検出装置およびそれを用いた制御装置 | |
| JP4420558B2 (ja) | 付着物検出装置およびそれを用いた制御装置 | |
| JPH04507227A (ja) | ウインドスクリーンワイパーを制御する方法および装置 | |
| JP4565460B2 (ja) | 付着物検出装置、およびそれを用いたワイパー制御装置 | |
| JP3780942B2 (ja) | 物体情報検知装置 | |
| JP3974853B2 (ja) | 付着物検出装置およびそれを用いた制御装置 | |
| JP2001330559A (ja) | 異物検出装置およびそれを用いたオートワイパ制御装置 | |
| JP4098440B2 (ja) | 降雨状態検出方法及び降雨状態検出装置 | |
| JP4176448B2 (ja) | ウォッシャー連動型ワイパー制御方法およびその装置 | |
| JP2002257716A (ja) | 付着物検出装置およびそれを用いた制御装置 | |
| JP2002323443A (ja) | 付着物検出装置およびそれを用いた制御装置 | |
| IL262709B2 (en) | Sediment sensor | |
| JPH02227353A (ja) | 車輌塔載距離測定装置 | |
| JPH09109840A (ja) | 車両用ワイパ制御装置 | |
| JP2002082044A (ja) | 付着物検出装置およびそれを用いた制御装置 | |
| JPH10221246A (ja) | 雨滴・くもり検出器 |
Legal Events
| Date | Code | Title | Description |
|---|---|---|---|
| A711 | Notification of change in applicant |
Free format text: JAPANESE INTERMEDIATE CODE: A711 Effective date: 20041227 |
|
| A621 | Written request for application examination |
Free format text: JAPANESE INTERMEDIATE CODE: A621 Effective date: 20070918 |
|
| A977 | Report on retrieval |
Free format text: JAPANESE INTERMEDIATE CODE: A971007 Effective date: 20091119 |
|
| TRDD | Decision of grant or rejection written | ||
| A01 | Written decision to grant a patent or to grant a registration (utility model) |
Free format text: JAPANESE INTERMEDIATE CODE: A01 Effective date: 20091126 |
|
| A01 | Written decision to grant a patent or to grant a registration (utility model) |
Free format text: JAPANESE INTERMEDIATE CODE: A01 |
|
| A61 | First payment of annual fees (during grant procedure) |
Free format text: JAPANESE INTERMEDIATE CODE: A61 Effective date: 20091201 |
|
| FPAY | Renewal fee payment (event date is renewal date of database) |
Free format text: PAYMENT UNTIL: 20121211 Year of fee payment: 3 |
|
| R150 | Certificate of patent or registration of utility model |
Free format text: JAPANESE INTERMEDIATE CODE: R150 |
|
| FPAY | Renewal fee payment (event date is renewal date of database) |
Free format text: PAYMENT UNTIL: 20131211 Year of fee payment: 4 |
|
| LAPS | Cancellation because of no payment of annual fees |
