JP4417934B2 - 遊技機 - Google Patents

遊技機 Download PDF

Info

Publication number
JP4417934B2
JP4417934B2 JP2006200776A JP2006200776A JP4417934B2 JP 4417934 B2 JP4417934 B2 JP 4417934B2 JP 2006200776 A JP2006200776 A JP 2006200776A JP 2006200776 A JP2006200776 A JP 2006200776A JP 4417934 B2 JP4417934 B2 JP 4417934B2
Authority
JP
Japan
Prior art keywords
blowing
air
player
air blowing
gaming machine
Prior art date
Legal status (The legal status is an assumption and is not a legal conclusion. Google has not performed a legal analysis and makes no representation as to the accuracy of the status listed.)
Expired - Fee Related
Application number
JP2006200776A
Other languages
English (en)
Other versions
JP2008023169A (ja
Inventor
宏 榎本
敦 平栗
Current Assignee (The listed assignees may be inaccurate. Google has not performed a legal analysis and makes no representation or warranty as to the accuracy of the list.)
Kyoraku Industrial Co Ltd
Original Assignee
Kyoraku Industrial Co Ltd
Priority date (The priority date is an assumption and is not a legal conclusion. Google has not performed a legal analysis and makes no representation as to the accuracy of the date listed.)
Filing date
Publication date
Application filed by Kyoraku Industrial Co Ltd filed Critical Kyoraku Industrial Co Ltd
Priority to JP2006200776A priority Critical patent/JP4417934B2/ja
Publication of JP2008023169A publication Critical patent/JP2008023169A/ja
Application granted granted Critical
Publication of JP4417934B2 publication Critical patent/JP4417934B2/ja
Expired - Fee Related legal-status Critical Current
Anticipated expiration legal-status Critical

Links

Images

Landscapes

  • Pinball Game Machines (AREA)

Description

本発明は、パチンコ遊技機、スロットマシンなど遊技機に関する。
従来から、特定の遊技状態が発生したことを遊技者に報知するために、遊技球を発射させる際に操作される発射ハンドル又は発射ハンドルの周囲から遊技者の手に向けて空気を連続的又は間欠的に吹き出させる送風手段を備え、送風手段から吹き出される風の圧力を手で感じ取らせることによって遊技者に対し特定の遊技状態が発生したことを認識させる遊技機が提案されている(例えば、特許文献1−3参照)。
特開2003−117085公報 特開2004−105242公報 特開2005−160827公報
しかし、上記従来の遊技機は、送風手段の送風能力を問題としていないため、通常、送風手段が作動を開始してから送風手段の送風能力が最大レベルに達するまでの間、遊技者の手は、圧力が徐々に増大してゆく風を感じ取ることとなり、遊技者に対し、特定の遊技状態が発生したことを強いインパクトをもって認識させることに欠けるという問題がある。
本発明は、上記のような従来技術の問題点を解決し、送風手段の送風能力を考慮し、遊技者に対し、特定の遊技状態が発生したことを強いインパクトをもって認識させることができる遊技機を提供することを目的とする。
本発明の遊技機は、所定条件を満たしたとき、遊技者に対し送風する送風手段を作動させる遊技機において、前記送風手段の流体流路に、該流体流路を開閉する遮蔽部材を設け、該遮蔽部材は、前記送風手段の作動開始から該送風手段の送風能力が所定レベルに増大するまでの期間、前記流体流路を閉鎖し、かつ、前記期間が経過した後、前記流体流路を開放することを特徴とする。
本発明の遊技機によると、送風手段が作動開始してから送風手段の送風能力が所定レベルまで増大するまでの期間、流体流路が閉鎖され、遊技者に対する送風は行われず、その後、送風手段の送風能力が所定レベルまで増大すると、流体流路が開放され、遊技者に対して送風が行われるようになる。このため、遊技者が送風を始めて感じ取るときの風力は十分に大きく、遊技者はこの大きな風力の送風を急激に受けることとなり、所定条件が満たされたこと、つまり、大当たり予告やリーチなど特定の遊技状態が発生したことを強いインパクトをもって認識することができるようになる。
また、本発明の遊技機は、所定条件を満たしたとき、遊技者に対し送風する送風手段を作動させる遊技機において、前記送風手段の送風方向を変更可能にする送風方向変更手段を設け、該送風方向変更手段は、前記送風手段の作動開始から該送風手段の送風能力が所定レベルに増大するまでの期間、前記送風手段の送風方向を遊技者に対する送風方向と一致させないでおき、かつ、前記期間が経過した後、前記送風手段の送風方向を遊技者に対する送風方向と一致させることを特徴とする。
本発明の遊技機によると、送風手段が作動開始してから送風手段の送風能力が所定レベルまで増大するまでの期間、送風手段の送風方向は遊技者に対し送風できない送風方向に送風するため、遊技者に対する送風は行われず、その後、送風手段の送風能力が所定レベルまで増大すると、送風方向変更手段は、送風手段の送風方向を遊技者に対し送風できる送風方向に一致させるため、遊技者に対して送風が行われるようになる。このため、遊技者が送風を始めて感じ取るときの送風の風力は十分に大きく、遊技者はこの大きな風力の送風を急激に受けることとなり、所定条件が満たされたこと、つまり、大当たり予告やリーチなど特定の遊技状態が発生したことを強いインパクトをもって認識することができるようになる。
以下、本発明の実施形態を図面に基づいて説明する。
図1は、本発明の一実施形態に係るパチンコ遊技機の要部正面図、図2は、図1の要部拡大図、図3は、同パチンコ遊技機において前面枠を開いた状態の正面図、図4は、第1実施形態に係る送風手段及び遮蔽部材の配置図、図5は、第1実施形態において、送風手段が作動開始してから送風手段の送風能力が所定レベルに達するまでの期間におけるパチンコ遊技機の要部側面図、図6は、第1実施形態において、上記期間経過後におけるパチンコ遊技機の要部側面図、図7は、送風制御フローチャート、図8は、第2実施形態に係る送風手段及び送風方向変更手段の構成図、図9は、第2実施形態において、送風手段が作動開始し送風手段の送風能力が所定レベルに達した後における送風手段及び送風方向変更手段の構成図、図10は、第1実施形態の変形例であり、送風制御ユニットの斜視図、図11は、同送風制御ユニットにおいて、送風手段の送風能力が所定レベルに達した後における送風制御ユニットの構成図をそれぞれ示す。
図1〜図6において、パチンコ遊技機の前面枠1の正面下部右端部には、遊技球を遊技盤2の遊技領域3に発射させるために遊技者によって操作される発射ハンドル4が設けられている。
前面枠1には、発射ハンドル4の周囲(本実施形態では、発射ハンドル4の上方位置)に前後方向に貫通した送風孔5が設けられている。
前面枠1の後面(裏面)には、送風孔5を開閉する遮蔽部材6が配されている。遮蔽部材6は、電動アクチュエータ例えば電磁ソレノイド7の可動ロッド7aの下端部に連結される。遮蔽部材6は、通常時は、電動アクチュエータ7がオフ状態に維持され可動ロッド7aが下端位置にあるため下端位置に維持され、送風孔5を閉鎖状態に保つ(図5参照)。また、遮蔽部材6は、電動アクチュエータ7がオンすると、可動ロッド7aが上昇するため、上端位置まで変位し、送風孔5を開放する(図6参照)。電動アクチュエータ7の動作は、パチンコ遊技機の遊技状態を制御する主基板等の回路基板(図示せず。)の制御信号に基づいて制御される。
前面枠1の後方の遊技盤取付枠8には、送風手段9が配設される。送風手段9は、図4に示すように、送風ファン10と送風ダクト11とを備える。送風ダクト11は、遮蔽部材6が送風孔5を開放しているとき、送風ファン10の回転により発生した風を送風孔5に向けて送風できるよう送風孔5に対して対向配置される。
次に、送風制御方法を図7のフローチャートに基づいて説明する。
まず、送風ファン10を作動させるための所定条件が充足されたか否かを判断する(ステップS1)。ここで、所定条件とは、遊技中に遊技者に積極的に遊技状態の変化を知らせたい場合が発生したことであり、例えば、特定の遊技状態例えば大当たり予告やリーチなどが発生したことを挙げることができる。上記所定条件が充足されていないときは、電動アクチュエータ7はオフ状態に維持され、可動ロッド7aを介して遮蔽部材6が下端位置に維持され、送風孔5は閉鎖状態に保たれる。
上記所定条件が充足されるようになると、送風ファン10を作動開始する(ステップS2)。送風ファン10が作動開始されると、送風ファン10の回転により風が発生し、送風ダクト11から風が吹出されるようになる。しかし、この時点では、図5に示すように、遮蔽部材6は、電動アクチュエータ7がオフ状態であることから依然として下端位置に維持され送風孔5を閉鎖しているため、送風ダクト11から吹出された風は送風孔5を通過することができない。したがって、発射ハンドル4を操作している遊技者の手に風が当たることはない。また、この送風ファン10の作動開始直後においては、送風ファン10の送風能力が低いため、送風ダクト11から吹出される風の風力は小さい。
その後、送風ファン10の作動開始から所定時間が経過したか否かを判断する(ステップS3)。ここで、所定時間とは、送風ファン10が作動開始してから送風ファン10の送風能力が所定レベル(例えば、ファンの回転が10回/秒)に達するまでの時間、換言すると、送風ファン10が作動開始してから送風ファン10が発生する風の風力が所定レベルに達するまでの時間である。
所定時間が経過すると、電動アクチュエータ7を作動し、可動ロッド7aを上昇させて遮蔽部材6を上端位置まで変位させる(ステップS4)。遮蔽部材6が上端位置へ変位すると、図6に示すように、送風孔5が開放状態となり、送風ダクト11から吹出される風は、送風孔5を通過し、発射ハンドル4を操作している遊技者の手に当たるようになる。この手に当たる風は、送風能力が所定レベルに達した後の送風ファン10による風であり、風力が大きいため、遊技者は、この送風をしっかり感じ取ることができ、遊技状態が変化したことを容易に認識できるようになる。
その後、遮蔽部材6の開放開始から所定時間が経過したか否かを判断する(ステップS5)。ここで、所定時間は、少なくとも遊技者が送風を確実に感じ取ることができる最小時間よりも長い時間に設定される。
所定時間が経過すると、電動アクチュエータ7の作動を停止し、可動ロッド7aを介して遮蔽部材6を下端位置まで復帰させると共に、送風ファン10の作動を停止する(ステップS6)。遮蔽部材6が下端位置まで復帰することにより、送風孔5は閉鎖状態に復帰し、送風孔5から風が吹き出されないようになる。
以上説明したように、第1実施形態のパチンコ遊技機は、所定条件を満たしたとき、遊技者に対し送風する送風手段9を作動させる遊技機において、送風手段9の流体流路(送風孔5)に、流体流路5を開閉する遮蔽部材6を設け、遮蔽部材6は、送風手段9の作動開始から送風手段9の送風能力が所定レベルに増大するまでの期間、流体流路5を閉鎖し、かつ、前記期間が経過した後、流体流路5を開放する。
第1実施形態のパチンコ遊技機によると、送風手段9が作動開始してから送風手段9の送風能力が所定レベルまで増大するまでの期間、流体流路5が閉鎖され、遊技者に対する送風は行われず、その後、送風手段9の送風能力が所定レベルまで増大すると、流体流路5が開放され、遊技者に対して送風が行われるようになる。このため、遊技者が送風を初めて感じ取るときの風力は十分に大きく、遊技者はこの大きな風力の送風を急激に受けることとなり、所定条件が満たされたこと、つまり、大当たり予告やリーチなど特定の遊技状態が発生したことを強いインパクトをもって認識することができるようになる。
図8及び図9において、第2実施形態に係るパチンコ遊技機は、前面枠1の正面に設けられた発射ハンドル4の周囲に、前後方向に貫通した送風孔5を備える。
送風孔5には、後方から送風手段9が接続され、この送風手段9に送風方向変更手段13が設けられる。
送風手段9は、第1実施形態と同様、送風ファン10と送風ダクト11とを備えると共に、送風ダクト11の出口に接続される可撓性チューブ12を備える。
送風方向変更手段13は、可撓性チューブ12の先端部12aに固定されたチューブ先端保持部14と、このチューブ先端保持部14に連結された可動ロッド7aを有する電動アクチュエータ例えば電磁ソレノイド7とを有する。
チューブ先端保持部14は、通常時は、電動アクチュエータ7がオフ状態に維持され可動ロッド7aが下端位置にあるため下端位置に維持され、可撓性チューブ12の先端部12aを送風孔5と連通させない位置に維持し、送風ファン10で発生し、送風ダクト11、可撓性チューブ12を経て可撓性チューブ12の先端部12aから吹き出される風が送風孔5を通過しないようにする(図8参照)。また、チューブ先端保持部14は、電動アクチュエータ7がオンすると、可動ロッド7aが上昇するため、上端位置まで変位し、可撓性チューブ12の先端部12aを送風孔5に連通させ、送風ファン10で発生し、送風ダクト11、可撓性チューブ12を経て可撓性チューブ12の先端部12aから吹き出される風が送風孔5を通過できるようにする(図9参照)。
図8及び図9に示す第2実施形態も上述した第1実施形態と同様な送風制御方法によって送風制御を行う。
すなわち、電動アクチュエータ7をオフ状態に維持した状態で所定条件が充足されるようになると、送風ファン10を作動開始し、送風ファン10の回転により発生した風は、送風ダクト11を経て可撓性チューブ12から吹出されようとする。しかし、この時点では、図8に示すように、可撓性チューブ12の先端部12aは、電動アクチュエータ7がオフ状態であることから依然として下端位置に維持され送風孔5と連通していないため、可撓性チューブ12から吹出される風は前面枠1で遮断され送風孔5を通過することができない。したがって、発射ハンドル4を操作している遊技者の手に風が当たることはなく、また、この送風ファン10の作動開始直後における送風ファン10の送風能力が低いため、可撓性チューブ12から吹出されようとする風の風力は小さい。その後、送風ファン10の作動開始から所定時間が経過すると、電動アクチュエータ7を作動し、可動ロッド7aを上昇させて可撓性チューブ12の先端部12aを上端位置まで変位させ、図9に示すように、可撓性チューブ12の先端部12aを送風孔5に連通させる。この連通により、可撓性チューブ12から吹出される風は、送風孔5を通過し、発射ハンドル4を操作している遊技者の手に当たるようになる。この手に当たる風は、送風能力が所定レベルに達した後の送風ファン10による風であり、風力が大きいため、遊技者は、この送風をしっかり感じ取ることができ、遊技状態が変化したことを容易に認識できるようになる。その後、可撓性チューブ12と送風孔5との連通開始から所定時間が経過すると、電動アクチュエータ7の作動を停止し、可動ロッド7aを介して可撓性チューブ12の先端部12aを下端位置まで復帰させると共に、送風ファン10の作動を停止する。可撓性チューブ12の先端部12aが下端位置まで復帰することにより、可撓性チューブ12と送風孔5が非連通状態に復帰し、送風孔5から風が吹き出されないようになる。
以上説明したように、第2実施形態のパチンコ遊技機は、所定条件を満たしたとき、遊技者に対し送風する送風手段9を作動させる遊技機において、送風手段9の送風方向を変更可能にする送風方向変更手段13を設け、送風方向変更手段13は、送風手段9の作動開始から送風手段9の送風能力が所定レベルに増大するまでの期間、送風手段9の送風方向を遊技者に対する送風方向と一致させないでおき、かつ、前記期間が経過した後、送風手段9の送風方向を遊技者に対する送風方向と一致させる。
第2実施形態のパチンコ遊技機によると、送風手段9が作動開始してから送風手段9の送風能力が所定レベルまで増大するまでの期間、送風手段9の送風方向は遊技者に対し送風できない送風方向に送風するため、遊技者に対する送風は行われず、その後、送風手段9の送風能力が所定レベルまで増大すると、送風方向変更手段13は、送風手段9の送風方向を遊技者に対し送風できる送風方向に一致させるため、遊技者に対して送風が行われるようになる。このため、遊技者が送風を始めて感じ取るときの送風の風力は十分に大きく、遊技者はこの大きな風力の送風を急激に受けることとなり、所定条件が満たされたこと、つまり、大当たり予告やリーチなど特定の遊技状態が発生したことを強いインパクトをもって認識することができるようになる。
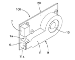
図10及び図11において、第1実施形態の変形例に係る送風制御ユニット100は、送風ファン10と送風ダクト11とを有する送風手段9と、送風ダクト11の吹出し口11aを開閉する遮蔽部材6を駆動する電動アクチュエータ例えば電磁ソレノイド7を一枚の取付板20に固定して構成される。
この送風制御ユニット100において、送風ファン10の送風能力が所定レベルに達するまでの間は、電動アクチュエータ7はオフ状態に維持され、可動ロッド7aは下端位置に維持され、可動ロッド7aに固定された遮蔽部材6は、図10に示すように、送風ダクト11の吹出し口11aを閉鎖状態に保ち、また、送風ファン10の送風能力が所定レベルに達すると、電動アクチュエータ7はオンし、図11に示すように、可動ロッド7aが上端位置まで変位して遮蔽部材6は送風ダクト11の吹出し口11aを開放する。
この送風制御ユニット100によると、送風手段9、電動アクチュエータ7及び遮蔽部材6がユニット化されているため、パチンコ遊技機への取付作業が容易になる。
なお、送風ファン10を作動させたときに、その作動音が遊技者に聞こえてしまうような場合、遊技者は、送風を感じ取る前に、これから送風が行われることを事前に感じ取ってしまうこととなり、遊技者に対する送風によるインパクトが弱くなってしまう。そのため、送風ファン10を作動させても、遮蔽部材6や送風方向変更手段13を作動させず、遊技者に対して送風を行わない場合を積極的に取り入れるようにしてもよい。このように送風ファン10は作動しているが送風が行われない場合もあることにより、遊技者は、意外性を感じるようになり、興趣をもって遊技を行うことになる。
本発明の一実施形態に係るパチンコ遊技機の要部正面図である。 図1の要部拡大図である。 同パチンコ遊技機において前面枠を開いた状態の正面図である。 第1実施形態に係る送風手段及び遮蔽部材の配置図である。 第1実施形態において、送風手段が作動開始してから送風手段の送風能力が所定レベルに達するまでの期間におけるパチンコ遊技機の要部側面図である。 第1実施形態において、上記期間経過後におけるパチンコ遊技機の要部側面図である。 送風制御フローチャートである。 第2実施形態に係る送風手段及び送風方向変更手段の構成図である。 第2実施形態において、送風手段が作動開始し送風手段の送風能力が所定レベルに達した後における送風手段及び送風方向変更手段の構成図である。 第1実施形態の変形例であり、送風制御ユニットの斜視図である。 同送風制御ユニットにおいて、送風手段の送風能力が所定レベルに達した後における送風制御ユニットの構成図である。
符号の説明
5 送風孔(流体流路)
6 遮蔽部材
9 送風手段
13 送風方向変更手段

Claims (2)

  1. 所定条件を満たしたとき、遊技者に対し送風する送風手段を作動させる遊技機において、
    前記送風手段の流体流路に、該流体流路を開閉する遮蔽部材を設け、該遮蔽部材は、前記送風手段の作動開始から該送風手段の送風能力が所定レベルに増大するまでの期間、前記流体流路を閉鎖し、かつ、前記期間が経過した後、前記流体流路を開放することを特徴とする遊技機。
  2. 所定条件を満たしたとき、遊技者に対し送風する送風手段を作動させる遊技機において、
    前記送風手段の送風方向を変更可能にする送風方向変更手段を設け、該送風方向変更手段は、前記送風手段の作動開始から該送風手段の送風能力が所定レベルに増大するまでの期間、前記送風手段の送風方向を遊技者に対する送風方向と一致させないでおき、かつ、前記期間が経過した後、前記送風手段の送風方向を遊技者に対する送風方向と一致させることを特徴とする遊技機。
JP2006200776A 2006-07-24 2006-07-24 遊技機 Expired - Fee Related JP4417934B2 (ja)

Priority Applications (1)

Application Number Priority Date Filing Date Title
JP2006200776A JP4417934B2 (ja) 2006-07-24 2006-07-24 遊技機

Applications Claiming Priority (1)

Application Number Priority Date Filing Date Title
JP2006200776A JP4417934B2 (ja) 2006-07-24 2006-07-24 遊技機

Publications (2)

Publication Number Publication Date
JP2008023169A JP2008023169A (ja) 2008-02-07
JP4417934B2 true JP4417934B2 (ja) 2010-02-17

Family

ID=39114414

Family Applications (1)

Application Number Title Priority Date Filing Date
JP2006200776A Expired - Fee Related JP4417934B2 (ja) 2006-07-24 2006-07-24 遊技機

Country Status (1)

Country Link
JP (1) JP4417934B2 (ja)

Families Citing this family (4)

* Cited by examiner, † Cited by third party
Publication number Priority date Publication date Assignee Title
JP5226545B2 (ja) * 2009-01-19 2013-07-03 株式会社オリンピア 遊技機
JP6061881B2 (ja) * 2014-02-26 2017-01-18 株式会社藤商事 遊技機
JP2017140214A (ja) * 2016-02-10 2017-08-17 株式会社カプコン 遊技機
JP6710453B2 (ja) * 2016-04-18 2020-06-17 株式会社ユニバーサルエンターテインメント 遊技機

Also Published As

Publication number Publication date
JP2008023169A (ja) 2008-02-07

Similar Documents

Publication Publication Date Title
JP4633767B2 (ja) 遊技機
JP3953310B2 (ja) 弾球遊技機
JP4417934B2 (ja) 遊技機
JP2019076165A5 (ja)
JP2022168888A5 (ja)
JP4189528B2 (ja) 弾球遊技機
JP4429299B2 (ja) 遊技機
JP3944420B2 (ja) パチンコ遊技機
JP4044370B2 (ja) パチンコ遊技機
JP2005319007A5 (ja)
JP4964707B2 (ja) 遊技機
JPH1033751A (ja) 弾球遊技機
JP4071172B2 (ja) 弾球遊技機
JP4348758B2 (ja) 遊技機
JP2006280514A (ja) パチンコ遊技機
JP2005319006A5 (ja)
JP2005160827A (ja) 遊技機
JP5424289B2 (ja) 弾球遊技機
JP6307418B2 (ja) 遊技機
JP7106499B2 (ja) 遊技機
JP4474453B2 (ja) 弾球遊技機
JP2007167126A (ja) 遊技機
JP4198028B2 (ja) 弾球遊技機
JP4075960B2 (ja) パチンコ機
JP2002035247A (ja) 遊技機

Legal Events

Date Code Title Description
A131 Notification of reasons for refusal

Free format text: JAPANESE INTERMEDIATE CODE: A131

Effective date: 20090616

TRDD Decision of grant or rejection written
A01 Written decision to grant a patent or to grant a registration (utility model)

Free format text: JAPANESE INTERMEDIATE CODE: A01

Effective date: 20091027

A01 Written decision to grant a patent or to grant a registration (utility model)

Free format text: JAPANESE INTERMEDIATE CODE: A01

A61 First payment of annual fees (during grant procedure)

Free format text: JAPANESE INTERMEDIATE CODE: A61

Effective date: 20091126

R150 Certificate of patent or registration of utility model

Ref document number: 4417934

Country of ref document: JP

Free format text: JAPANESE INTERMEDIATE CODE: R150

Free format text: JAPANESE INTERMEDIATE CODE: R150

FPAY Renewal fee payment (event date is renewal date of database)

Free format text: PAYMENT UNTIL: 20121204

Year of fee payment: 3

FPAY Renewal fee payment (event date is renewal date of database)

Free format text: PAYMENT UNTIL: 20151204

Year of fee payment: 6

R250 Receipt of annual fees

Free format text: JAPANESE INTERMEDIATE CODE: R250

R250 Receipt of annual fees

Free format text: JAPANESE INTERMEDIATE CODE: R250

LAPS Cancellation because of no payment of annual fees