JP4416112B2 - 遊技機 - Google Patents

遊技機 Download PDF

Info

Publication number
JP4416112B2
JP4416112B2 JP2004031159A JP2004031159A JP4416112B2 JP 4416112 B2 JP4416112 B2 JP 4416112B2 JP 2004031159 A JP2004031159 A JP 2004031159A JP 2004031159 A JP2004031159 A JP 2004031159A JP 4416112 B2 JP4416112 B2 JP 4416112B2
Authority
JP
Japan
Prior art keywords
passage
ball
passage portion
conversion
gaming machine
Prior art date
Legal status (The legal status is an assumption and is not a legal conclusion. Google has not performed a legal analysis and makes no representation as to the accuracy of the status listed.)
Expired - Fee Related
Application number
JP2004031159A
Other languages
English (en)
Other versions
JP2005218710A (ja
Inventor
詔八 鵜川
成勇 星野
Current Assignee (The listed assignees may be inaccurate. Google has not performed a legal analysis and makes no representation or warranty as to the accuracy of the list.)
Sankyo Co Ltd
Original Assignee
Sankyo Co Ltd
Priority date (The priority date is an assumption and is not a legal conclusion. Google has not performed a legal analysis and makes no representation as to the accuracy of the date listed.)
Filing date
Publication date
Application filed by Sankyo Co Ltd filed Critical Sankyo Co Ltd
Priority to JP2004031159A priority Critical patent/JP4416112B2/ja
Publication of JP2005218710A publication Critical patent/JP2005218710A/ja
Application granted granted Critical
Publication of JP4416112B2 publication Critical patent/JP4416112B2/ja
Anticipated expiration legal-status Critical
Expired - Fee Related legal-status Critical Current

Links

Images

Landscapes

  • Pinball Game Machines (AREA)

Description

本発明は、遊技領域が形成された遊技盤と、該遊技盤の裏面側に設けられ、遊技球を払い出す払出装置が設けられる機構板と、を備えた遊技機に関する。
従来、この種の遊技機としては、例えば前記機構板が、遊技機に供給される遊技球としてのパチンコ球を貯留する貯留タンクと、該貯留タンクからのパチンコ球を誘導する誘導樋(貯留誘導通路部)と、該誘導樋からのパチンコ球の流路を垂直方向に変換する流路変換部(変換通路部)と、を備え、該流路変換部からのパチンコ球が払出装置に誘導されるようになっているとともに、前記誘導樋及び流路変換部は遊技機の前後方向に並列された第1流路及び第2流路にて構成され、該流路変換部における第1流路及び第2流路が、基板を挟んで前後に平行なまま垂直方向へ蛇行した後、左右にオフセットした状態で開口する下端部につながるように形成されたものがある(例えば、特許文献1参照)。
特許第3059548号公報(第3頁、第10−13図)
しかしながら、上記特許文献1に記載された遊技機において、前後に並列された第1流路及び第2流路それぞれの流路変換部としてのUターン路は、誘導樋により遊技機の端部側まで流下したパチンコ球の流路を垂直方向に方向変換させることで下流側の払出装置にかかる球圧を減衰させるものであるが、第1流路及び第2流路それぞれのUターン路は、互いに遊技機の前後方向に並列なまま垂直方向に向けて流路が変換されているとともに、1枚の共通な基板を挟んで仕切られているため、例えば後側のUターン路を構成する部材を取外しても他方のUターン路は前記基板により閉塞されているため、例えばUターン路において球詰まりが発生したときやメンテナンスを行うときにおいて、Uターン路を開放するための作業が複雑であり、手間がかかるといった問題を有していた。
本発明は、このような問題点に着目してなされたもので、前後2条の球通路における遊技球の誘導方向を下方に変換する変換通路部における球通路内部の点検やメンテナンス作業を容易に行うことができる遊技機を提供することを目的とする。
上記課題を解決するために、本発明の請求項1に記載の遊技機は、
遊技領域が形成された遊技盤と、該遊技盤の後面側に設けられ、遊技球を払い出す払出装置が設けられる機構板と、を備えた遊技機において、
前記機構板は、
前記遊技機に供給される遊技球を貯留する貯留部と、
該貯留部からの遊技球を前記遊技機の左右いずれか一方の端部側に向けて誘導する貯留誘導通路部と、
該貯留誘導通路部からの遊技球の誘導方向を下方向に変換する変換通路部と、
該変換通路部からの遊技球を前記払出装置に誘導する払出誘導通路部と、
を備え、
前記貯留誘導通路部と前記変換通路部とは、第1球通路と、該第1球通路よりも前記遊技盤側に配置される第2球通路と、からなるとともに、
前記機構板に、前記第2球通路の変換通路部における前記第1球通路側以外の壁面を構成する通路壁と、前記第1球通路の変換通路部における前記第2球通路側の壁面を構成する通路壁と、を形成し、
前記機構板とは別個に設けられたカバー体に、前記第1球通路の変換通路部における前記第2球通路側以外の壁面を構成する通路壁と、前記第2球通路の変換通路部における前記第1球通路側の壁面を構成する通路壁と、を形成し、
取外し自在とする取付手段を介して前記カバー体を前記機構板に取付けることで、前記第1球通路と前記第2球通路とが前記遊技機の左右方向にオフセットされた前記変換通路部が形成されるようにしたことを特徴としている。
この特徴によれば、カバー体を機構板に取付けることで、機構板側の第2球通路における第1球通路側の壁面がカバー体の通路壁にて構成されるとともに、カバー体側の第1球通路における第2球通路側の壁面が機構板の通路壁にて構成され、第1球通路の変換通路部と第2球通路の変換通路部とが遊技機の左右方向にオフセットされた変換通路部が形成されるため、カバー体を機構板から取り外すことで、第1球通路及び第2球通路それぞれの対向面側が開放することになるため、球詰まりが発生したとき等における球通路内部の点検やメンテナンス作業を、カバー体を取り外すだけで容易に行うことができる。
本発明の請求項2に記載の遊技機は、請求項1に記載の遊技機であって、
前記変換通路部における前記第1球通路の下部を前記遊技機の前方に向けて屈曲形成し、前記第1球通路と前記第2球通路とを前記遊技機の左右方向に並列に配置したことを特徴としている。
この特徴によれば、第1球通路及び第2球通路を遊技盤側に配置することができるため、これら第1球通路及び第2球通路はもちろん、下流側の払出装置や該払出装置に供給される遊技球を検出する供給球検出センサ等を遊技機の後側に極力膨出しないように配置することができる。
本発明の請求項3に記載の遊技機は、請求項1または2に記載の遊技機であって、
前記払出誘導通路部は、前記変換通路部からの遊技球を前記遊技機の前後方向に蛇行するように誘導する蛇行通路部を有することを特徴としている。
この特徴によれば、遊技球の流下速度や払出装置に加わる球圧等を効果的に減衰させることができるため、払出装置の故障を極力防止できる。
本発明の請求項4に記載の遊技機は、請求項3に記載の遊技機であって、
前記機構板は、
前記払出誘導通路部の遊技球を外部に排出するとともに、前記蛇行通路部の下方位置において前記払出誘導通路部に対して前記遊技機の前後方向に並列に配置される球排出通路部を備え、
前記蛇行通路部には、遊技球の流路を該蛇行通路部または前記球排出通路部に切換えるための流路切換手段が設けられており、
前記流路切換手段は、
上端に設けられた回動軸を介して、前記蛇行通路部における湾曲状の球誘導面を形成して遊技球の流路を前記蛇行通路部側とする球誘導面形成位置と、前記球誘導面を開放して遊技球の流路を前記球排出通路部側とする球誘導面非形成位置と、の間で揺動自在に設けられる流路切換板と、
前記流路切換板を前記球誘導面形成位置に保持する保持位置と、該保持位置から退避して前記流路切換板が前記球誘導面非形成位置まで揺動自在となる退避位置と、に切換自在に設けられた保持部材と、
からなることを特徴としている。
この特徴によれば、流路切換板が保持部材により球誘導面形成位置に保持されているときには流下してきた遊技球が確実に払出誘導通路部に誘導されるとともに、保持部材を退避させることにより流路切換板が自重により球誘導面非形成位置まで揺動し、蛇行通路部における壁面の一部である球誘導面が開放されることで、遊技球は球誘導面により誘導されることなく鉛直方向への落下で球排出通路部に流入することになるため、遊技球を球排出通路部に確実に流入させることができる。
本発明の請求項5に記載の遊技機は、請求項1〜4のいずれかに記載の遊技機であって、
前記カバー体を、透明もしくは半透明部材にて形成したことを特徴としている。
この特徴によれば、カバー体を機構板から取外すことなく、該カバー体を透して球通路内部を外部から点検することができるばかりか、第1球通路及び第2球通路が遊技機の左右方向にオフセットされていることで、両球通路の内部を遊技機の後側から同時に点検することができる。
本発明の実施例を以下に説明する。
本実施例1における遊技機としてのパチンコ機2は、図1に示すように、額縁状に形成されたガラス扉枠202を有し、該ガラス扉枠202の下部表面には打球供給皿203がある。打球供給皿203の上面所定箇所には操作部32が設けられているとともに、打球供給皿203の下部には、打球供給皿203から溢れたパチンコ球を貯留する余剰球受皿204と打球を発射する打球操作ハンドル205とが設けられており、打球操作ハンドル205を操作することで打球供給皿203に供給されたパチンコ球が遊技領域207に打ち出されて遊技が行われるようになっている。
前記操作部32には、遊技者によりカードユニット3に設けられたカード挿入口314に挿入されたプリペイドカード(図示略)等より読み出された遊技用価値としての度数を表示する度数表示部(図示略)や、遊技の開始または打球供給皿203に持球が無くなった際等に押圧操作されて、前記度数表示部に残度数が存在する場合に所定数量のパチンコ球の貸出を実施するための貸出ボタン(図示略)や、挿入されたプリペイドカードを返却するための返却ボタン(図示略)等が設けられている。
次に、パチンコ機2の後面の構造について図2に基づき説明する。図2には、図1のパチンコ機2の背面図が示されており、図に示されるように、パチンコ機2の後面側(図2中手前側)には機構板100が設けられている。
この機構板100の後面には、遊技盤206に設けられた可変表示装置208(図1参照)の表示制御を行う表示制御基板280等が搭載された可変表示制御ユニット229、遊技制御基板ボックス232に覆われ遊技制御用マイクロコンピュータ等が搭載された遊技制御基板231、パチンコ球の払出制御を行う払出制御用マイクロコンピュータ等が搭載された賞球制御基板237が設置されている。さらに、機構板100の左側角部位置には、発射装置の動作制御を行うマイクロコンピュータ等が搭載された発射制御基板291と、遊技効果LED、ランプに信号を送るためのランプ制御基板235と、スピーカから出力する音声制御を行うマイクロコンピュータ等が搭載された音声制御基板270と、が設けられている。
また、機構板100の内部には、遊技盤206に打ち出されて各種入賞口に入賞した入賞球、あるいはいずれの入賞口にも入賞されずにアウト口から回収されたアウト球等を、該パチンコ機2を設置するための図示しない遊技機設置島に排出するための各種通路(図示略)が形成されている。
この機構板100の後面100aの上部には、前記遊技機設置島から供給されるパチンコ球を貯留するための貯留部としての貯留タンク101が設けられており、遊技機設置島より供給されたパチンコ球は、入賞の発生等により付与された賞球の払出や球貸球の払出を行う払出装置200に供給されるようになっている。また、払出装置200により払出されたパチンコ球は、機構板100内に設けられた図示しない払出通路を介して、打球供給皿203または余剰球受皿204に誘導されるようになっている。なお、本実施例における払出装置200は、装置内に設けられたスプロケットの回転、停止によりパチンコ球を所定球数ずつ払出す従来公知の払出装置が適用されている。
次に、貯留タンク101から払出装置200までの球通路の構成を詳しく説明する。なお、以下の説明においては、パチンコ機2の正面を前側、背面(後面)を後側として説明することとする。
まず、機構板100上部に設けられた貯留タンク101と払出装置200との間には、該貯留タンク101からのパチンコ球を、該パチンコ機2を後側から見て右端部側に向けて誘導する貯留誘導通路部102と、該貯留誘導通路部102からの遊技球を下方向に変換する変換通路部103と、該変換通路部103からのパチンコ球を払出装置200に誘導する払出誘導通路部104と、が設けられており、これら本実施例における貯留誘導通路部102、変換通路部103、払出誘導通路部104は、それぞれ2条の球通路にて構成されている。
貯留誘導通路部102は、図3〜図7に示されるように、パチンコ機2を後面側から見た場合において流路底面が左側から右側にかけて下方に傾斜するように配設されているとともに、機構板100の後面100aにネジにより止着された貯留誘導樋112にて構成されている。
該貯留誘導樋112は、底壁112a及び後壁112bと、底壁112aの幅方向中央部に立設される長手方向を向く仕切壁112cと、から構成されており、底壁112a、後壁112b及び仕切壁112cにより、上向きに開口する縦断面略コ字形の第1貯留誘導通路113a(第1球通路)が形成されているとともに、底壁112a、機構板100の後面100a及び仕切壁112cにより、上向きに開口する縦断面略コ字形の第2貯留誘導通路113b(第2球通路)が形成されている。
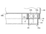
変換通路部103は、機構板100の後面100aに突設される板状壁131及び膨出壁132と、機構板100の後面100aに対して着脱自在に取付けられる透明な合成樹脂材にて形成されるカバー体133と、により形成されている。
具体的には、機構板100の後面100aには、第2貯留誘導通路113bの底面の一部を構成するとともに、該第2貯留誘導通路113bを流下してきたパチンコ球の誘導方向を下方向に変換する第2変換通路120b(第2球通路)の左側面を構成する板状壁131が後向きに突設されるとともに、該第2変換通路120bの右側面を構成する膨出壁132が後向きに凸状に膨出するように形成されている。
すなわち、これら板状壁131、機構板100、膨出壁132は、第2変換通路120bにおける第1変換通路120a(第1球通路)側以外の壁面を構成する通路壁を形成しており、特に図3及び図6に示されるように、該第2変換通路120bにおける第1変換通路120a側以外の壁面は、板状壁131の側面131a、機構板100の後面100a、膨出壁132の側面132aにより構成されている。また、第2変換通路120bの右側面を構成する膨出壁132は、後述するカバー体133の取付け時において、第1変換通路120aにおける第2変換通路120b側の壁面を構成する通路壁を形成しており、該第1変換通路120aにおける第2変換通路120b側の壁面は、膨出壁132における平面状の後面132bにより構成されるようになっている。
また、前記膨出壁132の後面132bにおける変換通路部103の下部位置には、第1変換通路120aを前方(遊技盤206側)に向けて誘導するための凹部132cが形成されている。これにより、変換通路部103の下部位置において第1変換通路120aと第2変換通路120bとはパチンコ機2の左右方向に並列に配置されている(図5のC−C断面図である図8参照)。このように、第2変換通路120bよりもパチンコ機2の後方側の第1変換通路120aの下部がパチンコ機2の前方(遊技盤206側)に向けて屈曲形成され、第1変換通路120aと第2変換通路120bとがパチンコ機2の左右方向に並列に配置されることで、後述するように凹部132cの下流側に設けられる供給球検出ユニット201の本体を、機構板100の後面100aの後方に極力膨出させないように配設することができるようになっている。
また、上記のように第1変換通路120aの下部がパチンコ機2の前方(遊技盤206側)に向けて屈曲形成されることで、供給球検出ユニット201の供給球検出センサ部を通過するパチンコ球の流下速度が効果的に減衰されるため、供給球検出センサ部によるパチンコ球の検出精度を高めることができる。
さらに、第1変換通路120a及び第2変換通路120bは、図5に示されるように、貯留誘導通路部102からのパチンコ球を図中における左斜め下方、すなわち、貯留誘導通路部102側に向けて折り返す方向に誘導するように、略逆くの字形状に屈曲形成されていることで、パチンコ球の流下速度がより効果的に減衰されるため、供給球検出センサ部によるパチンコ球の検出精度を高めることができる。
一方、カバー体133は、図3〜図5に示すように、第1貯留誘導通路113aの一部の壁面を構成するとともに、第1貯留誘導通路113aを流下してきたパチンコ球の誘導方向を下方向に変換する第1変換通路120aにおける第2変換通路120b側以外の壁面を構成する通路壁133aと、該通路壁133aの左側に連設され、機構板100への取付け時において第2変換通路120bにおける第1変換通路120a側の面壁を構成する平面状の通路壁133bと、が上部に形成されるとともに、前記払出誘導通路部104の後面壁を構成する通路壁部133cや、払出装置200に供給される供給球を検出する検出センサが設けられた供給球検出ユニット201を装着するための装着部133d等が下部に形成されている。
詳しくは、図3に示されるように、通路壁133aは、パチンコ機2の前方、すなわち、第2変換通路120b側に向けて開口する断面略コ字状の通路が形成されるように、後壁133f及び該後壁133fの端縁から前方に向けて連設される側壁133g、133hにより構成されており、該側壁133gの前端縁から前記平面状の通路壁133bが連設されている。また、これら後壁133f、側壁133g、133hそれぞれの内面により、第1貯留誘導通路113aの一部及び第1変換通路120aにおける第2変換通路120b側以外の壁面が構成されることになる。
また、カバー体133の外周縁の所定箇所には、該カバー体133を機構板100に対して着脱自在に取付けるための取付手段としての取付ネジNが挿通する挿通孔134を有する取付部135が複数箇所に形成されている。さらに、通路壁133bの後面からは、該カバー体133の機構板100に対する着脱時において該カバー体133を把持する把持片136が後向きに突設されている。
機構板100とカバー体133の上部との間には、第2貯留誘導通路113bの下流部及び第2変換通路120bの上流部と、第1貯留誘導通路113bの下流部と、の間を仕切るように配置される仕切板137が配設されている。仕切板137の上部には、カバー体133を機構板100に取付けるための取付ネジNが挿通される挿通孔137a及び仕切板137用の取付ネジNが挿通される挿通孔137bがそれぞれ形成されており、該挿通孔137a、137bに挿通した取付ネジNを機構板100のネジ孔に止着することで、機構板100に取付けられるようになっている。
すなわち、図5及び図6に示されるように、第2貯留誘導通路113bの下流部及び第2変換通路120bの上流部における第1貯留誘導通路113a側の壁面と、第1貯留誘導通路113aの下流部における第2貯留誘導通路113bの下流部及び第2変換通路120bの上流部側の壁面が、1枚の共通な仕切板137により形成されて互いの球通路間が仕切られるようになっている。
以上説明してきたように構成されるカバー体133は、カバー体133の上部に形成された取付部135の挿通孔134に挿通した取付ネジNを、仕切板137の挿通孔137aに挿通して該仕切板137をカバー体133に保持した状態で、該取付ネジNを含む複数の取付ネジを機構板100に形成されたネジ孔に止着して機構板100に取付けることで、図5に示されるように、第1変換通路120aと第2変換通路120bとがパチンコ機2の左右方向にオフセットされた変換通路部103が形成されることになる。
詳しくは、カバー体133に形成された凸状の通路壁133aの開口面を機構板100と対向させた状態でカバー体133を機構板100に取付けたとき、図4及び図5に示されるように、機構板100側の第2変換通路120bにおける第1変換通路120a側の開口面の一部、すなわち、仕切板137の下方の開口面(図6中における第1変換通路120aの斜線領域上部)が、取付けられたカバー体133の通路壁133bにより閉塞されて、第2変換通路120bにおける第1変換通路120a側の壁面が形成されることになるとともに、カバー体133側の通路壁133aにおける第2変換通路120b側の開口面が、機構板100側の膨出壁132の後面132bにより閉塞されて、第1変換通路120aにおける第2変換通路120b側の壁面が形成されることになる。
このように、機構板100を後側から見て、機構板100側に形成される第2変換通路120bの右側方に、第1変換通路120aの壁面の一部を構成する後面132bを有する膨出壁132(通路壁)を形成するとともに、カバー体133側に形成される第1変換通路120aの左側方に、第2変換通路120bの壁面の一部を構成する通路壁133bを形成することで、第1変換通路120aと第2変換通路120bとがパチンコ機2の左右方向にオフセット、すなわち、第1変換通路120a及び第2変換通路120bそれぞれがパチンコ機2の左右方向に異なる位置に配置された変換通路部103が形成されることになる。
ここで、本実施例における貯留誘導通路部102及び変換通路部103の範囲を具体的に説明する。まず、図5に示されるように、貯留誘導樋112からカバー体133の通路壁133aにおける上流部までが第1貯留誘導通路113aであり、図6に示されるように、貯留誘導樋112から板状壁131の上部までが第2貯留誘導通路113bであって、これら第1貯留誘導通路113a及び第2貯留誘導通路113bを含む貯留誘導通路部102は、貯留タンク101から変換通路部103までの間にパチンコ機2の左右方向に向けて延設される通路部である。
一方、図5に示されるように、第1貯留誘導通路113aの下流端部からカバー体133の通路壁133aの下端部(供給球検出ユニット201の配置位置上端)までが第1変換通路120aであり、図6に示されるように、第2貯留誘導通路113bの下流端部から供給球検出ユニット201の配置位置上部までが第2変換通路120bであって、これら第1変換通路120a及び第2変換通路120bを含む変換通路部103は、貯留誘導通路部102の下流側端部からパチンコ機2の下方に向けて屈曲される屈曲部及び該屈曲部から下方に向けて延設される通路部である。
また、前述したようにカバー体133を機構板100に取付けることで、機構板100側の第2変換通路120bにおける第1変換通路120a側の壁面の一部がカバー体133の通路壁133bにて構成されるとともに、カバー体133側の第1変換通路120aにおける第2変換通路120b側の壁面が膨出壁132の後面132bにて構成され、第1変換通路120aと第2変換通路120bとがパチンコ機2の左右方向にオフセットされた変換通路部103が形成されるようになっていることで、取付ネジNを取外してカバー体133を機構板100から取外すことで、図3及び図6に示されるように、第1変換通路120a及び第2変換通路120bそれぞれの開口面(図6中斜線領域参照)側が開放することになるため、変換通路内で球詰まりが発生したとき等において、球通路内部の点検やメンテナンス作業を、カバー体133を取外すだけの作業で容易に行うことができる。
また、本実施例において、変換通路部103における第1変換通路120aと第2変換通路120bとは、図7に示されるように、互いの中心位置の距離L1がパチンコ球の直径よりも大となるように、パチンコ機2の左右方向にオフセットされているため、カバー体133の取外しによりそれぞれの球通路内が完全に開放されることになる。
なお、変換通路部103における第1変換通路120aと第2変換通路120bとは、互いの中心位置の距離L2がパチンコ球の直径よりも大となるように、パチンコ機2の前後方向にオフセットされている。
さらに、これら第1変換通路120a及び第2変換通路120bそれぞれにおける互いの通路側の壁面が、機構板100の通路壁及びカバー体133の通路壁からなる別個の部材にて形成されることにより、第1変換通路120a及び第2変換通路120bにおける互いの通路側の壁面を共通な仕切板により形成する場合に比べて、第1変換通路120a及び第2変換通路120bそれぞれの壁面にパチンコ球が衝突することで壁面が破損するといった事態の発生が低減される。
また、本実施例におけるカバー体133は、前述したように透明な合成樹脂材にて形成されているため、カバー体133を機構板100から取外すことなく、該カバー体133を透して変換通路内部を外部から点検することができるばかりか、これら第1変換通路120a及び第2変換通路120bがパチンコ機2の左右方向にオフセットされていることで、両変換通路内部をパチンコ機2の後側から同時に点検することができる。
なお、本実施例においては、カバー体133全体は透明な合成樹脂材にて形成されているが、本発明はこれに限定されるものではなく、例えばカバー体133における少なくとも第1変換通路120a及び第2変換通路120bの一部を視認可能な箇所が透明または半透明に形成されていれば、全体が透明または半透明に形成されていなくてもよい。
さらに、カバー体133を透して少なくとも第1変換通路120a及び第2変換通路120bの内部が視認できるようになっていれば、カバー体133に透明部を形成することなく、例えば通路内のパチンコ球が外部に流出しない程度の視認窓(スリット等)等を形成するようにしてもよい。
また、上記実施例におけるカバー体133の通路壁133aの一部は、機構板100側に形成される第2貯留誘導通路113bの下流部及び第2変換通路120bの上流部の後方に並列配置される第1貯留誘導通路113aの下流部を形成するとともに、該通路壁133aにおける第2変換通路120b側の壁面は開口されており、また、カバー体133の取付け時において該開口の上部を閉塞する仕切板137は、機構板100に対して取付ネジNを介して着脱自在に設けられていることで、前述したようにカバー体133を取外し、さらに仕切板137を取外すことで、第2変換通路120bにおける第1変換通路120a側の壁面全体が開口されるため、第1貯留誘導通路113aに対向するように配置される第2変換通路120bの上方内部の点検やメンテナンス作業をより容易に行うことができる。
次に、払出誘導通路部104について、図3〜図6及び図9に基づいて説明する。なお、図9においては、図中左側がパチンコ機2の後方、右側がパチンコ機2の前方となっている。
この払出誘導通路部104は、前述したように変換通路部103の下流側でパチンコ機2の左右方向に並列配置された第1変換通路120a及び第2変換通路120bの下流側端部にそれぞれ繋がる第1払出通路140a及び第2払出通路140bからなる(図8参照)。
払出誘導通路部104の上流側端部には、供給球検出ユニット201が設けられており、第1払出通路140a及び第2払出通路140bの一部が供給球検出ユニット201における供給球検出センサ部にて形成されている。また、特に図9に示されるように、これら第1払出通路140a及び第2払出通路140bは、供給球検出センサ部の下方位置において、互いに並列なままパチンコ機2の後方(図9中左側)に向けて略逆S字状に屈曲形成されており、該屈曲部の下方の通路は、カバー体133及び機構板100にて形成されている。
すなわち、前記変換通路部103の下部及び該変換通路部103に繋がる払出誘導通路部104の上部には、パチンコ球をパチンコ機2の前後方向に蛇行させる蛇行通路部106が形成されており、該蛇行通路部106における機構板100側に前記供給球検出センサ部が配設されている。
このように払出誘導通路部104の上部に蛇行通路部106が設けられることにより、パチンコ球の流下速度や、下流側に配設される払出装置200内のスプロケット等の球払出部材に加わる球圧等を効果的に減衰させることができるため、払出装置200の故障を極力防止できる。
また、蛇行通路部106の下方には、変換通路部103から流下してきたパチンコ球を機構板100の外部に誘導して排出するための球排出通路部105が、第1払出通路140a及び第2払出通路140bよりもパチンコ機2の前方(図9中右側)に配置されている。すなわち、蛇行通路部106の下方において、球排出通路部105と払出誘導通路部104とはパチンコ機2の前後方向に並列されている。
そして、該蛇行通路部106には、パチンコ球の流路を払出誘導通路部104または球排出通路部105に切換えるための流路切換手段160が設けられている。該流路切換手段160は、機構板100に軸支される上端の水平軸161(回動軸)を介して、蛇行通路部106における湾曲状の球誘導面162aを形成してパチンコ球の流路を蛇行通路部106側、すなわち、払出誘導通路部104側とする通常位置(球誘導面形成位置)及び球誘導面162aを開放して流路を球排出通路部105側とする球抜き位置(球誘導面非形成位置)の間で揺動自在に設けられる流路切換板162と、該流路切換板162を前記通常位置に保持する保持位置及び流路切換板162が球抜き位置まで揺動自在となるように前記保持位置から退避した退避位置に切換自在に設けられた保持片163と、から主に構成されている。
流路切換板162は、保持片163により図9(a)に示される通常位置に保持された状態において、流下してきたパチンコ球を受けて該パチンコ球を後方の払出誘導通路部104に向けて誘導する壁面の一部を構成する球誘導面162aが形成されている。
また、流路切換板162は、保持片163を退避位置に退避した状態において、図9(b)中2点鎖線で示されるように、先端部が球排出通路部105の上端開口における略中央位置にてバランスが保たれるように構成されており、この状態において、蛇行通路部106における下部の球誘導面は開放されるようになっている。すなわち、保持片163を保持位置から退避位置に退避すると、流路切換板162は図9(a)に示される位置から揺動し、図9(b)中2点鎖線で示される位置まで自重により揺動してバランスが保たれるようになっている。
また、保持片163は、図5、図6及び図9に示されるように、パチンコ機2の前後方向を向く軸部材を介して回動自在に設けられた円筒状の操作レバー164の後端に固着されており、操作レバー164を回動させることで、図5、図6中点線で示される水平を向く保持位置と、2点鎖線で示される上方を向く退避位置と、の間で回動するようになっている。なお、操作レバー164は、機構板100の壁面を挿通して後面100a側に突出されているため、機構板100の後面100a側、すなわち、パチンコ機2の後側から操作できるようになっている。
ここで、流路切換時における作用を説明すると、まず、保持片163を水平方向を向く保持位置とすることで、流路切換板162が前記通常位置に保持される。この状態において、流路切換板162は蛇行通路部106における湾曲状の球誘導面162aを形成するため、球排出通路部105の上端開口が閉塞された状態となる。よって、パチンコ球の流路が蛇行通路部106側、すなわち、払出誘導通路部104側となるため、センサ部を通過したパチンコ球は、球誘導面162a上に落下した後、下り傾斜の球誘導面162aにより払出誘導通路部104側に誘導され、該払出誘導通路部104の下流側に配置された払出装置200に供給されることになる。
また、通路内のパチンコ球を機構板100の外部に排出する場合、水平方向を向く保持位置にある保持片163を、操作レバー164を操作して上方を向く退避位置とすることで、前記通常位置に保持されている流路切換板162が球抜き位置まで自重により揺動する。この状態において、蛇行通路部106における湾曲状の球誘導面162aが開放され、蛇行通路部106と球排出通路部105とが連通状態となる。よって、パチンコ球の流路が球排出通路部105側となるため、センサ部を通過したパチンコ球は、その直下の球排出通路部105に向けて落下され、開放された球誘導面を通過して球排出通路部105内に流入することになる。
球排出通路部105内に落下したパチンコ球は、流路切換板162の先端部に当接するが、該流路切換板162は落下球により前方に押し出されるため、そのまま球排出通路部105内を落下して、最終的には図示しない球排出通路部105の下流端開口から機構板100の外部に排出されることになる。
このように、球排出通路部105は蛇行通路部106の下方に配設されているため、球排出通路部105側に流路を切換えた場合においては、パチンコ球を流路切換板等により誘導することなく、鉛直方向への落下で球排出通路部105内に自然に流入することになるため、パチンコ球を確実に流入させることができる。
また、本実施例における流路切換板162は、保持片163による保持が解除されたときに自重により揺動して球抜き位置まで揺動するため、球抜き位置で流路切換板162を保持する保持部材等を設ける必要がないため、簡単な構成で流路切換手段160を形成することができる。
また、流路切換手段160が、供給球検出ユニット201の下流側に形成されることで、例えば供給球検出ユニット201の交換時やメンテナンス時等において、流路切換手段160よりも上流側の蛇行通路部106や変換通路部103、貯留誘導通路部102内のパチンコ球を全て抜き取った状態でパチンコ機2の前後方向に取付け、取外しできるため、作業性が向上する。
前記実施例における各要素は、本発明に対して以下のように対応している。
本発明の請求項1は、遊技領域(207)が形成された遊技盤(206)と、該遊技盤の後面側に設けられ、遊技球(パチンコ球)を払い出す払出装置(200)が設けられる機構板(100)と、を備えた遊技機(パチンコ機2)において、前記機構板は、前記遊技機に供給される遊技球(供給球)を貯留する貯留部(貯留タンク101)と、該貯留部からの遊技球を前記遊技機の左右いずれか一方の端部側に向けて誘導する貯留誘導通路部(102)と、該貯留誘導通路部からの遊技球の誘導方向を下方向に変換する変換通路部(103)と、該変換通路部からの遊技球を前記払出装置に誘導する払出誘導通路部(104)と、を備え、前記貯留誘導通路部と前記変換通路部とは、第1球通路(第1貯留誘導通路113a、第1変換通路120a)と、該第1球通路よりも前記遊技盤側に配置される第2球通路(第2貯留誘導通路113b、第2変換通路120b)と、からなるとともに、前記機構板に、前記第2球通路の変換通路部における前記第1球通路側以外の壁面(側面131a、132a、後面100a)を構成する通路壁(板状壁131、膨出壁132、機構板100)と、前記第1球通路の変換通路部における前記第2球通路側の壁面(後面132b)を構成する通路壁(膨出壁132)と、を形成し、前記機構板とは別個に設けられたカバー体(133)に、前記第1球通路の変換通路部における前記第2球通路側以外の壁面(後壁133f、側壁133g、133hの内面)を構成する通路壁{133a(後壁133f、側壁133g、133h)}と、前記第2球通路の変換通路部における前記第1球通路側の壁面を構成する通路壁(133b)と、を形成し、取外し自在とする取付手段(取付ネジN)を介して前記カバー体を前記機構板に取付けることで、前記第1球通路と前記第2球通路とが前記遊技機の左右方向にオフセットされた前記変換通路部が形成されるようにした。
本発明の請求項2は、前記変換通路部(103)における前記第1球通路(第1変換通路120a)の下部を前記遊技機(パチンコ機2)の前方に向けて屈曲形成し、前記第1球通路と前記第2球通路(第2変換通路120b)とを前記遊技機の左右方向に並列に配置した。
本発明の請求項3は、前記払出誘導通路部(104)は、前記変換通路部(103)からの遊技球(パチンコ球)を前記遊技機(パチンコ機2)の前後方向に蛇行するように誘導する蛇行通路部(106)を有する。
本発明の請求項4は、前記機構板(100)は、前記払出誘導通路部(104)の遊技球(パチンコ球)を外部に排出するとともに、前記蛇行通路部(106)の下方位置において前記払出誘導通路部に対して前記遊技機(パチンコ機2)の前後方向に並列に配置される球排出通路部(105)を備え、前記蛇行通路部には、遊技球の流路を該蛇行通路部または前記球排出通路部に切換えるための流路切換手段(160)が設けられており、前記流路切換手段は、上端に設けられた回動軸(水平軸161)を介して、前記蛇行通路部における湾曲状の球誘導面(162a)を形成して遊技球の流路を前記蛇行通路部側とする球誘導面形成位置(通常位置)と、前記球誘導面を開放して遊技球の流路を前記球排出通路部側とする球誘導面非形成位置(球抜き位置)と、の間で揺動自在に設けられる流路切換板(162)と、前記流路切換板を前記球誘導面形成位置に保持する保持位置と、該保持位置から退避して前記流路切換板が前記球誘導面非形成位置まで揺動自在となる退避位置と、に切換自在に設けられた保持部材(保持片163)と、からなる。
本発明の請求項5は、前記カバー体(133)を、透明もしくは半透明部材(透明な合成樹脂材)にて形成した。
以上、本発明の実施形態を図面により前記実施例にて説明してきたが、本発明はこれら実施例に限定されるものではなく、本発明の主旨を逸脱しない範囲における変更や追加があっても本発明に含まれることは言うまでもない。
例えば、上記実施例においては、機構板100側の第2変換通路120b(第2球通路)よりもカバー体133側の第1変換通路120a(第1球通路)の方がパチンコ機2の端部側にオフセットされていたが、本発明にあっては、第1球通路の変換通路部と第2球通路の変換通路部とがパチンコ機2の左右方向にオフセットされていれば、第1球通路または第2球通路のいずれがパチンコ機2の端部側にオフセットされていてもよい。すなわち、カバー体133側の第1変換通路120a(第1球通路)よりも機構板100側の第2変換通路120b(第2球通路)の方をパチンコ機2の端部側にオフセットするようにしてもよい。
また、上記実施例においては、変換通路部103における第1変換通路120aと第2変換通路120bとは、互いのオフセット量がパチンコ球の直径よりも大となるようにパチンコ機2の左右方向にオフセットされていたが、本発明においては、互いのオフセット量がパチンコ球の直径よりも小となるようにオフセットされているものでもよい。
また、上記実施例におけるカバー体133は、全体が透明な合成樹脂材にて構成されていたが、例えば除電対策としてカバー体133をカーボン等が含有された非透明な合成樹脂材等にて構成してもよい。
本発明の実施例としてのパチンコ機を示す正面図である。 図1パチンコ機を示す背面図である。 変換通路部近傍の球通路の構造を示す要部拡大分解斜視図である。 同じく変換通路部近傍の球通路の構造を示す要部拡大斜視図である。 図4のA−A断面図である。 図4の状態からカバー体を取外した状態の機構板の後面を示す背面図である。 図5のB−B断面図である。 図5のC−C断面図である。 (a)は図5のD−D断面図であり、(b)は(a)の状態から流路を切換えたときの断面図である。
符号の説明
2 パチンコ機
100 機構板
102 貯留誘導通路部
103 変換通路部
104 払出誘導通路部
105 球排出通路部
106 蛇行通路部
120a 第1変換通路
120b 第2変換通路
133 カバー体
200 払出装置

Claims (5)

  1. 遊技領域が形成された遊技盤と、該遊技盤の後面側に設けられ、遊技球を払い出す払出装置が設けられる機構板と、を備えた遊技機において、
    前記機構板は、
    前記遊技機に供給される遊技球を貯留する貯留部と、
    該貯留部からの遊技球を前記遊技機の左右いずれか一方の端部側に向けて誘導する貯留誘導通路部と、
    該貯留誘導通路部からの遊技球の誘導方向を下方向に変換する変換通路部と、
    該変換通路部からの遊技球を前記払出装置に誘導する払出誘導通路部と、
    を備え、
    前記貯留誘導通路部と前記変換通路部とは、第1球通路と、該第1球通路よりも前記遊技盤側に配置される第2球通路と、からなるとともに、
    前記機構板に、前記第2球通路の変換通路部における前記第1球通路側以外の壁面を構成する通路壁と、前記第1球通路の変換通路部における前記第2球通路側の壁面を構成する通路壁と、を形成し、
    前記機構板とは別個に設けられたカバー体に、前記第1球通路の変換通路部における前記第2球通路側以外の壁面を構成する通路壁と、前記第2球通路の変換通路部における前記第1球通路側の壁面を構成する通路壁と、を形成し、
    取外し自在とする取付手段を介して前記カバー体を前記機構板に取付けることで、前記第1球通路と前記第2球通路とが前記遊技機の左右方向にオフセットされた前記変換通路部が形成されるようにしたことを特徴とする遊技機。
  2. 前記変換通路部における前記第1球通路の下部を前記遊技機の前方に向けて屈曲形成し、前記第1球通路と前記第2球通路とを前記遊技機の左右方向に並列に配置した請求項1に記載の遊技機。
  3. 前記払出誘導通路部は、前記変換通路部からの遊技球を前記遊技機の前後方向に蛇行するように誘導する蛇行通路部を有する請求項1または2に記載の遊技機。
  4. 前記機構板は、
    前記払出誘導通路部の遊技球を外部に排出するとともに、前記蛇行通路部の下方位置において前記払出誘導通路部に対して前記遊技機の前後方向に並列に配置される球排出通路部を備え、
    前記蛇行通路部には、遊技球の流路を該蛇行通路部または前記球排出通路部に切換えるための流路切換手段が設けられており、
    前記流路切換手段は、
    上端に設けられた回動軸を介して、前記蛇行通路部における湾曲状の球誘導面を形成して遊技球の流路を前記蛇行通路部側とする球誘導面形成位置と、前記球誘導面を開放して遊技球の流路を前記球排出通路部側とする球誘導面非形成位置と、の間で揺動自在に設けられる流路切換板と、
    前記流路切換板を前記球誘導面形成位置に保持する保持位置と、該保持位置から退避して前記流路切換板が前記球誘導面非形成位置まで揺動自在となる退避位置と、に切換自在に設けられた保持部材と、
    からなる請求項3に記載の遊技機。
  5. 前記カバー体を、透明もしくは半透明部材にて形成した請求項1〜4のいずれかに記載の遊技機。
JP2004031159A 2004-02-06 2004-02-06 遊技機 Expired - Fee Related JP4416112B2 (ja)

Priority Applications (1)

Application Number Priority Date Filing Date Title
JP2004031159A JP4416112B2 (ja) 2004-02-06 2004-02-06 遊技機

Applications Claiming Priority (1)

Application Number Priority Date Filing Date Title
JP2004031159A JP4416112B2 (ja) 2004-02-06 2004-02-06 遊技機

Publications (2)

Publication Number Publication Date
JP2005218710A JP2005218710A (ja) 2005-08-18
JP4416112B2 true JP4416112B2 (ja) 2010-02-17

Family

ID=34994806

Family Applications (1)

Application Number Title Priority Date Filing Date
JP2004031159A Expired - Fee Related JP4416112B2 (ja) 2004-02-06 2004-02-06 遊技機

Country Status (1)

Country Link
JP (1) JP4416112B2 (ja)

Families Citing this family (5)

* Cited by examiner, † Cited by third party
Publication number Priority date Publication date Assignee Title
JP5348993B2 (ja) * 2008-10-10 2013-11-20 日本ぱちんこ部品株式会社 遊技機
JP5229422B2 (ja) * 2012-11-16 2013-07-03 奥村遊機株式会社 パチンコ遊技機
JP7191878B2 (ja) * 2020-02-03 2022-12-19 株式会社三共 遊技機
JP7191877B2 (ja) * 2020-02-03 2022-12-19 株式会社三共 遊技機
JP7191879B2 (ja) * 2020-02-03 2022-12-19 株式会社三共 遊技機

Also Published As

Publication number Publication date
JP2005218710A (ja) 2005-08-18

Similar Documents

Publication Publication Date Title
JP5081859B2 (ja) 弾球遊技機
JP4416112B2 (ja) 遊技機
JP2010273704A (ja) 遊技機
JP4865836B2 (ja) 遊技機
JP5486529B2 (ja) 遊技機
JP4890301B2 (ja) 遊技機
JP3110098B2 (ja) 弾球遊技機の機構板
JP5395877B2 (ja) 遊技機
JP6137618B2 (ja) 遊技機
JPH09276513A (ja) 遊技機
JP2002346149A (ja) パチンコ遊技機の球払出装置
JP2016154709A (ja) 遊技機
JP2008029455A (ja) 遊技機
JP4642000B2 (ja) 弾球遊技機
JP6039997B2 (ja) 弾球遊技機
JP4583475B2 (ja) パチンコ遊技機
JP3347318B2 (ja) パチンコ遊技機における打球発射ユニット構造
JP2009034373A (ja) パチンコ機
JP3851503B2 (ja) パチンコ遊技機
JP4814902B2 (ja) 遊技機
JP5631473B2 (ja) 遊技機
JP4583474B2 (ja) パチンコ遊技機
JP4722160B2 (ja) 弾球遊技機
JPH07148327A (ja) 遊技球排出装置
JP2000000357A (ja) カード式パチンコ遊技機の球払出装置

Legal Events

Date Code Title Description
A621 Written request for application examination

Free format text: JAPANESE INTERMEDIATE CODE: A621

Effective date: 20070122

TRDD Decision of grant or rejection written
A977 Report on retrieval

Free format text: JAPANESE INTERMEDIATE CODE: A971007

Effective date: 20091112

A01 Written decision to grant a patent or to grant a registration (utility model)

Free format text: JAPANESE INTERMEDIATE CODE: A01

Effective date: 20091117

A01 Written decision to grant a patent or to grant a registration (utility model)

Free format text: JAPANESE INTERMEDIATE CODE: A01

RD04 Notification of resignation of power of attorney

Free format text: JAPANESE INTERMEDIATE CODE: A7424

Effective date: 20091119

A61 First payment of annual fees (during grant procedure)

Free format text: JAPANESE INTERMEDIATE CODE: A61

Effective date: 20091119

R150 Certificate of patent or registration of utility model

Ref document number: 4416112

Country of ref document: JP

Free format text: JAPANESE INTERMEDIATE CODE: R150

Free format text: JAPANESE INTERMEDIATE CODE: R150

FPAY Renewal fee payment (event date is renewal date of database)

Free format text: PAYMENT UNTIL: 20121204

Year of fee payment: 3

FPAY Renewal fee payment (event date is renewal date of database)

Free format text: PAYMENT UNTIL: 20121204

Year of fee payment: 3

FPAY Renewal fee payment (event date is renewal date of database)

Free format text: PAYMENT UNTIL: 20121204

Year of fee payment: 3

FPAY Renewal fee payment (event date is renewal date of database)

Free format text: PAYMENT UNTIL: 20131204

Year of fee payment: 4

R250 Receipt of annual fees

Free format text: JAPANESE INTERMEDIATE CODE: R250

R250 Receipt of annual fees

Free format text: JAPANESE INTERMEDIATE CODE: R250

R250 Receipt of annual fees

Free format text: JAPANESE INTERMEDIATE CODE: R250

R250 Receipt of annual fees

Free format text: JAPANESE INTERMEDIATE CODE: R250

R250 Receipt of annual fees

Free format text: JAPANESE INTERMEDIATE CODE: R250

R250 Receipt of annual fees

Free format text: JAPANESE INTERMEDIATE CODE: R250

LAPS Cancellation because of no payment of annual fees