JP4401034B2 - 車両用ディスクブレーキのキャリパボディ - Google Patents

車両用ディスクブレーキのキャリパボディ Download PDF

Info

Publication number
JP4401034B2
JP4401034B2 JP2001083753A JP2001083753A JP4401034B2 JP 4401034 B2 JP4401034 B2 JP 4401034B2 JP 2001083753 A JP2001083753 A JP 2001083753A JP 2001083753 A JP2001083753 A JP 2001083753A JP 4401034 B2 JP4401034 B2 JP 4401034B2
Authority
JP
Japan
Prior art keywords
action
disk
bridge
caliper body
bridge portion
Prior art date
Legal status (The legal status is an assumption and is not a legal conclusion. Google has not performed a legal analysis and makes no representation as to the accuracy of the status listed.)
Expired - Fee Related
Application number
JP2001083753A
Other languages
English (en)
Other versions
JP2002286062A (ja
Inventor
弦一 波多腰
Current Assignee (The listed assignees may be inaccurate. Google has not performed a legal analysis and makes no representation or warranty as to the accuracy of the list.)
Hitachi Astemo Ltd
Original Assignee
Nissin Kogyo Co Ltd
Priority date (The priority date is an assumption and is not a legal conclusion. Google has not performed a legal analysis and makes no representation as to the accuracy of the date listed.)
Filing date
Publication date
Application filed by Nissin Kogyo Co Ltd filed Critical Nissin Kogyo Co Ltd
Priority to JP2001083753A priority Critical patent/JP4401034B2/ja
Publication of JP2002286062A publication Critical patent/JP2002286062A/ja
Application granted granted Critical
Publication of JP4401034B2 publication Critical patent/JP4401034B2/ja
Anticipated expiration legal-status Critical
Expired - Fee Related legal-status Critical Current

Links

Images

Landscapes

  • Braking Arrangements (AREA)

Description

【0001】
【発明の属する技術分野】
本発明は、自動車や自動二・三輪車等の走行車両に搭載されるディスクブレーキのキャリパボディに関する。
【0002】
【従来の技術】
自動二・三輪車等に搭載されるディスクブレーキのキャリパボディとして、例えば登録意匠第1025215号に示されるものがある。
このキャリパボディは、ディスクロータの両側部に配設される一対の作用部と、ディスクロータの外周を跨いでこれらをつなぐブリッジ部とを一体形成しており、さらに車体取り付け側となる一方の作用部には、フロントフォークやスイングアーム等の車輪懸架部材に取り付けするためのブラケットが一体に形成されている。
【0003】
ブリッジ部の中央部には矩形の天井開口部が形成されていて、双方の作用部の間にディスクロータを挟んで対向配置される一対の摩擦パッドを抜き差しできるようにしている。各作用部のディスクロータ側面には、ピストンを収容するシリンダ孔が開口しており、該開口を挟んだディスク回入側及び回出側にトルク受け部があって、制動時にディスクロータに引き摺られる摩擦パッドの側面をこのトルク受け部で支承するようになっている。
【0004】
ブリッジ部のディスク内周側は、ディスクロータの回転中心を支点とする円弧面に形成されていて、上述の4つのトルク受け部はこのブリッジ部のディスク内周側に達するように設けられており、さらにこれら4つのトルク受け部の間に挟まれたブリッジ部のディスク内周側中央にはロータ溝が凹設されていて、このロータ溝にディスクロータが回転可能に収容されるようになっている。
【0005】
【発明が解決しようとする課題】
このようなキャリパボディを車輪懸架部材に取り付けして制動作用を行うと、ディスクロータからの制動反力が摩擦パッドを通して双方の作用部に作用し、該作用部を反ディスク方向へ押し戻す。各作用部の変形はブリッジ部へも影響し、ブリッジ部のディスク内側には引っ張り荷重を、またディスク外側には圧縮荷重をそれぞれ生じて、キャリパボディは全体としてブリッジ部を支点にハの字状に変形する。
【0006】
このため、ディスク軸と平行であった作用部内のシリンダ孔とこのシリンダ孔に収容されるピストンとが傾き、さらに摩擦パッドも一体に傾いて、摩擦パッドのライニングのディスク外側が偏摩耗することとなる。このようなライニングの偏摩耗は、キャリパボディの構造上やむを得ないが、一方の作用部側では車輪懸架部材の支持剛性力が作用して傾きが比較的小さく抑えられるためにライニングの偏摩耗が少ないのに対し、車輪懸架部材に支持されない他方の作用部側で傾きが大きくなってはライニングの偏摩耗が早くなり、パッド交換を早期に摩耗するものに合わせて行ったり、交換作業を別々に行ったりする必要があった。
【0007】
本発明は、かかる実情を背景にしてなされたもので、その目的とするところは、キャリパボディに用いる一対の摩擦パッドのライニングが極力同程度に摩耗するようにし、併せてキャリパボディを軽量化して低コスト化と車体ばね下荷重の軽減を図ることのできる車両用ディスクブレーキのキャリパボディを提供することにある。
【0008】
【課題を解決するための手段】
本発明は、上述の目的を達成するため、第1発明では、ディスクロータの両側部に配設される一対の作用部を、ディスクロータの外周を跨いで配設されるブリッジ部にて一体に連結し、前記一対の作用部のいずれか一方を車体に支持される車両用ディスクブレーキのキャリパボディにおいて、前記ブリッジ部のディスク内周側に、前記ディスクロータの厚さ等分線を挟んで凹部を形成し、前記他方の作用部側の凹部外側のブリッジ部を、前記一方の作用部側の凹部外側のブリッジ部よりも厚肉とする。
【0009】
また第2発明では、ディスクロータの両側部に配設される一対の作用部を、ディスクロータの外周を跨いで配設されるブリッジ部にて一体に連結し、前記一対の作用部のいずれか一方を車体に支持される車両用ディスクブレーキのキャリパボディにおいて、前記ブリッジ部のディスク内周側に、前記ディスクロータの厚さ等分線を挟んで凹部を形成すると共に、該厚さ等分線から前記一方の作用部側の凹部を、他方の作用部側の凹部よりも大きく形成し、前記他方の作用部側の凹部外側のブリッジ部を、前記一方の作用部側の凹部外側のブリッジ部よりも厚肉とする。
【0010】
双方の作用部が、ディスクロータからの制動反力によって反ディスクロータ側へ変形しようとする場合に、ブリッジ部の剛性力が抗力として作用するが、作用部の変形に対するブリッジ部の抗力は、圧縮力が作用するディスク外側が主として担っており、引っ張り力が作用するディスク内側は抗力としてさほど期待できない。
【0011】
そこで本発明は、作用部変形の抗力として効果の少ないブリッジ部のディスク内側部分に凹部を形成することによって軽量化を図り、また凹部の外側では、反車体取り付け側のブリッジ部の肉厚を車体取り付け側のブリッジ部の肉厚よりも厚くすることによって、双方の作用部の剛性力が略同一となるようにしている。この結果、制動反力による双方の作用部の開き変形が略同一となり、摩擦パッドのライニングが同程度に摩耗することになる。
【0012】
【発明の実施の形態】
以下、本発明のキャリパボディを自動二輪車等のバーハンドル車両のフロントディスクブレーキに適用した形態例を図面に基づいて説明する。
図中、図1〜図7は、第1形態例を示し、図1はディスクブレーキの底面図、図2はディスクブレーキの正面図、図3はディスクブレーキの平面図、図4は図3のIV−IV断面図、図5は図2のV−V断面図、図6は図2のVI−VI断面図、図7は図2のVII−VII断面図である。
【0013】
第1形態例のフロントディスクブレーキ1は、フロントフォークの下端に支承される車輪(いずれも図示せず)の一側部に、ディスクロータ2が車輪と矢印R方向へ一体回転可能に取り付けされ、該ディスクロータ2を跨いで配設されるキャリパボディ3が、一方の作用部3aのディスク内側と回出側とに設けられたブラケット3d,3eを、フロントフォークの下端近傍にボルト止めして取り付けするようになっている。
【0014】
上記キャリパボディ3は、ディスクロータ2の両側部に配設される一対の作用部3a,3bと、ディスクロータ2の外周を跨いでこれらをつなぐブリッジ部3cとを一体に成形し、作用部3a,3bにそれぞれ大小2個づつのシリンダ孔4をディスク周方向に対向して設け、これらシリンダ孔4に大径または小径のピストン5をそれぞれ収容したモノコックタイプの4ポットピストン対向型に形成されている。
【0015】
各ピストン5は、作用部3a,3bのディスクロータ側面に開口して設けられた上述のシリンダ孔4にそれぞれ液密且つ移動可能に内挿され、該シリンダ孔4とピストン5の底壁間に液圧室6が画成されている。作用部3a,3bのシリンダ孔4,4は、キャリパボディ3の鋳造成形後に一方の作用部3a側から加工具を差し込んで素孔を仕上げ加工するため、この仕上げ加工後に作用部3aのシリンダ孔4開口部に別途のキャップ7を被着してその底壁となしている。
【0016】
作用部3a,3bのディスクロータ側面それぞれには、一対のトルク受け部3f,3gがシリンダ孔4,4の開口部を挟んだディスク回入側と回出側に突設されており、ブリッジ部3cの中央部に、天井開口部10が内外に貫通して設けられると共に、ブリッジ部3cのディスク回出側外側にユニオン孔11が穿設されている。
【0017】
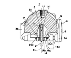
ブリッジ部3cのディスク内周側は、天井開口部10の形成によってディスク回入側と回出側に分断されており、その中央部にディスクロータ2を収容する円弧状のロータ溝12が凹設されると共に、ロータ溝12の両側部に4つの凹部13a,13b,13c,13dが連続して設けられている。凹部13a〜13dのうち、ディスクロータ2の厚さ等分線CLを挟んだディスク回入側の2つの凹部13a,13bが対称形に形成され(図6参照)、同じく厚さ等分線CLを挟んだディスク回出側の2つの凹部13c,13dが対称形に形成されている(図7参照)。
【0018】
また、ブリッジ部3cのディスク回入側と回出側の外形状は、凹部13a〜13dの外側において、他方の作用部3b側が一方の作用部3a側よりも外側に膨らんだ非対称形状となっている。この結果、ブリッジ部3cのディスク回入側では(図6参照)、他方の作用部3b側の凹部13b外側の境界線C,D間が、一方の作用部3a側の凹部13a外側の境界線A,B間よりも厚肉に、またブリッジ部の3cのディスク回出側では(図7参照)、他方の作用部3b側の凹部13d外側の境界線G,H間が、一方の作用部3a側の凹部13c外側の境界線E,F間よりも厚肉となっており、これによって、厚さ等分線CLを挟んだブリッジ部3cの一方の作用部3a側と他方の作用部3b側の剛性力が略同一となるようにしている。
【0019】
前記天井開口部10は、ディスクロータ2の両側部に一対の摩擦パッド14,14を抜き差しできる大きさの矩形に、また作用部3a,3bのトルク受け部3f,3gは、摩擦パッド14の裏板14aを収容できる間隔にそれぞれ形成されており、摩擦パッド14,14は、天井開口部10内を貫通してブリッジ部3cにディスク軸方向へ架設されるハンガーピン15,15を裏板14aの上部に挿通し、裏板14aをトルク受け部3f,3gに収容して、作用部3a,3bのディスクロータ2側面とディスクロータ2との間にディスク軸方向へ移動可能に吊持される。
【0020】
前記ユニオン孔11は、キャリパボディ3の内部で4つの液圧室6に連通しており、ライダーの制動操作によって別途の図示しない液圧マスタシリンダで昇圧された作動液は、ユニオン孔11を通して各液圧室6へ供給される。液圧室6へ供給された作動液は、それぞれのピストン5をシリンダ孔4の開口部方向へ押動し、さらにピストン5が摩擦パッド14,14をディスクロータ2方向へ押動して、摩擦パッド14,14のライニング14b,14bをディスクロータ2の側面に摺接させて制動作用が行われる。
【0021】
このように制動作用が行われると、ディスクロータ2からの制動反力が摩擦パッド14,14を通して双方の作用部3a,3bに作用し、該作用部3a,3bを反ディスク方向へ押し戻して、ブリッジ部3cを支点にキャリパボディ3の全体をハの字状に変形させようとするが、本形態例では、他方の作用部3bの凹部13b,3d外側のブリッジ部3cを、作用部3aの凹部13a,3c外側のブリッジ部3cよりも厚く形成して、厚さ等分線CLを挟んだブリッジ部3cの一方の作用部3a側と他方の作用部3bの剛性力が略同一となるようにしたから、制動反力による作用部3a,3bの変形は略同様になる。
【0022】
この結果、双方の作用部3a,3bのライニング14b,14bの摩耗程度が略同様になるので、摩擦パッド14,14を同時に交換することができるようになり、作業性と経済性を向上することができる。また、ハの字変形の抗力としてあまり期待できないブリッジ部3cのディスク内側では、凹部13a〜13dの形成によってキャリパボディ3が軽量となるので、材料費の節減によるコストダウンと、軽量化による車体ばね下荷重の軽減とが図れる。
【0023】
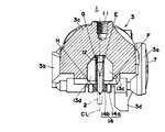
図8〜図10は、本発明の第2形態例を示すもので、上述の第1形態例では、ブリッジ部3cのディスク内側の凹部13a〜13dが、厚さ等分線CLを挟んで対称に位置するのに対し、本形態例は、一方の作用部3a側の凹部20a,20cと他方の作用部3b側の凹部20b,20dとを非対称形状とした点で第1形態例と異なっている。
【0024】
即ち、ブリッジ部3cのディスク回入側では、ディスクロータ2の厚さ等分線CLを挟んで、一方の作用部3a側の凹部20aが他方の作用部3b側の凹部20bよりも大きく形成され、またブリッジ部3cのディスク回出側では、同じく厚さ等分線CLを挟んで、一方の作用部3a側の凹部20cが他方の作用部3b側の凹部20dよりも大きく形成されている。
【0025】
また、ブリッジ部3cのディスク回入側と回出側の外形状は、第1形態例と同様に、他方の作用部3b側が一方の作用部3a側よりも外側に膨らんだ非対称形状となっている。
【0026】
この結果、ブリッジ部3cのディスク回入側では(図9参照)、他方の作用部3b側の凹部20b外側の境界線K,L間が、一方の作用部3a側の凹部20a外側の境界線I,J間よりも厚肉に、またブリッジ部の3cのディスク回出側では(図10参照)、他方の作用部3b側の凹部13d外側の境界線O,P間が、一方の作用部3a側の凹部13c外側の境界線M,N間よりも厚肉となっており、これによって、厚さ等分線CLを挟んだブリッジ部3cの一方の作用部3a側と他方の作用部3b側の剛性力が略同一となるようにしている。
【0027】
【発明の効果】
以上説明したように、本発明の車両用ディスクブレーキのキャリパボディによれば、ブリッジ部の双方の作用部の剛性力を略同じにすることができるので、制動反力による作用部の変形にも、双方の作用部のライニングが略同程度に摩耗するようになり、摩擦パッドを同時に交換することができるので、作業性と経済性の向上が図れる。また、ハの字変形の抗力としてあまり期待できないブリッジ部のディスク内側では、凹部の形成によってキャリパボディが軽量となるので、材料費の節減によるコストダウンと、軽量化による車体ばね下荷重の軽減とが図れる。
【図面の簡単な説明】
【図1】 本発明の第1形態例を示すフロントディスクブレーキの底面図
【図2】 本発明の第1形態例を示すフロントディスクブレーキの正面図
【図3】 本発明の第1形態例を示すフロントディスクブレーキの平面図
【図4】 本発明の第1形態例を示す図2のIV−IV断面図
【図5】 本発明の第1形態例を示す図3のV−V断面図
【図6】 本発明の第1形態例を示す図2のVI−VI断面図
【図7】 本発明の第1形態例を示す図2のVII−VII断面図
【図8】 本発明の第2形態例を示すフロントディスクブレーキの底面図
【図9】 本発明の第2形態例を示す図8のIX−IX断面図
【図10】 本発明の第2形態例を示す図8のX−X断面図
【符号の説明】
1…フロントディスクブレーキ、2…ディスクロータ、3…キャリパボディ、3a…車体取り付け側となる一方の作用部。3b…反車体取り付け側となる他方の作用部、3c…ブリッジ部、4…シリンダ孔、5…ピストン、6…液圧室、10…天井開口部、12…ロータ溝、3f,3g…トルク受け部、13a,13c…一方の作用部3a側の凹部、13b,13d…他方の作用部3b側の凹部、14…摩擦パッド、14a…裏板、14b…ライニング、20a,20c…一方の作用部3a側の凹部、20b,20d…他方の作用部3b側の凹部、L…ディスクロータ2の回転方向、CL…ディスクロータ2の厚さ等分線

Claims (2)

  1. ディスクロータの両側部に配設される一対の作用部を、ディスクロータの外周を跨いで配設されるブリッジ部にて一体に連結し、前記一対の作用部のいずれか一方を車体に支持される車両用ディスクブレーキのキャリパボディにおいて、前記ブリッジ部のディスク内周側に、前記ディスクロータの厚さ等分線を挟んで凹部を形成し、前記他方の作用部側の凹部外側のブリッジ部を、前記一方の作用部側の凹部外側のブリッジ部よりも厚肉としたことを特徴とする車両用ディスクブレーキのキャリパボディ。
  2. ディスクロータの両側部に配設される一対の作用部を、ディスクロータの外周を跨いで配設されるブリッジ部にて一体に連結し、前記一対の作用部のいずれか一方を車体に支持される車両用ディスクブレーキのキャリパボディにおいて、前記ブリッジ部のディスク内周側に、前記ディスクロータの厚さ等分線を挟んで凹部を形成すると共に、該厚さ等分線から前記一方の作用部側の凹部を、他方の作用部側の凹部よりも大きく形成し、前記他方の作用部側の凹部外側のブリッジ部を、前記一方の作用部側の凹部外側のブリッジ部よりも厚肉としたことを特徴とする車両用ディスクブレーキのキャリパボディ。
JP2001083753A 2001-03-22 2001-03-22 車両用ディスクブレーキのキャリパボディ Expired - Fee Related JP4401034B2 (ja)

Priority Applications (1)

Application Number Priority Date Filing Date Title
JP2001083753A JP4401034B2 (ja) 2001-03-22 2001-03-22 車両用ディスクブレーキのキャリパボディ

Applications Claiming Priority (1)

Application Number Priority Date Filing Date Title
JP2001083753A JP4401034B2 (ja) 2001-03-22 2001-03-22 車両用ディスクブレーキのキャリパボディ

Publications (2)

Publication Number Publication Date
JP2002286062A JP2002286062A (ja) 2002-10-03
JP4401034B2 true JP4401034B2 (ja) 2010-01-20

Family

ID=18939532

Family Applications (1)

Application Number Title Priority Date Filing Date
JP2001083753A Expired - Fee Related JP4401034B2 (ja) 2001-03-22 2001-03-22 車両用ディスクブレーキのキャリパボディ

Country Status (1)

Country Link
JP (1) JP4401034B2 (ja)

Families Citing this family (1)

* Cited by examiner, † Cited by third party
Publication number Priority date Publication date Assignee Title
EP3943774A4 (en) * 2019-03-19 2022-11-30 Hitachi Astemo, Ltd. CALIPER BODY FOR VEHICLE DISC BRAKE

Also Published As

Publication number Publication date
JP2002286062A (ja) 2002-10-03

Similar Documents

Publication Publication Date Title
EP2171304A1 (en) Vehicle disc brake device
CN109312797B (zh) 车辆用盘式制动器的制动钳体
GB2085101A (en) Light weight disc brake caliper
JP4401034B2 (ja) 車両用ディスクブレーキのキャリパボディ
JP4061028B2 (ja) 車両用ディスクブレーキのキャリパボディ
EP1304496B1 (en) Disk brake for vehicle with bar handle
JP2009264506A (ja) 車両用ディスクブレーキ
JP4502552B2 (ja) 車両用ディスクブレーキのキャリパボディ
JP5148545B2 (ja) ディスクブレーキ装置
JP4673520B2 (ja) 車両用ディスクブレーキのキャリパボディ
JP2001280377A (ja) 車両用ディスクブレーキのキャリパボディ取付け構造
JP2006105326A (ja) 車両用ディスクブレーキ
JP4139039B2 (ja) 車両用ディスクブレーキのキャリパボディ取付け構造
JPH08189538A (ja) ピンスライド型車両用ディスクブレーキのキャリパボディ支持構造
JPH03234934A (ja) 多ポット型車両用ディスクブレーキ
JP4461082B2 (ja) 車両用ディスクブレーキのキャリパボディ
JP2557640Y2 (ja) ピンスライド型車両用ディスクブレーキのキャリパボディ
JP4726918B2 (ja) 車両用ディスクブレーキのキャリパボディ
JP4288197B2 (ja) 車両用ディスクブレーキ
JP4818307B2 (ja) ラジアルマウント式車両用ディスクブレーキ
JPH09329162A (ja) ディスクブレーキ装置
JPH07332405A (ja) 車両用ディスクブレーキ
JPH0747627Y2 (ja) 車両用ディスクブレ―キのキャリパボディ取付け構造
JPH0527366U (ja) ピンスライド型車両用デイスクブレ―キのキヤリパボデイ
JPH0526343Y2 (ja)

Legal Events

Date Code Title Description
A621 Written request for application examination

Free format text: JAPANESE INTERMEDIATE CODE: A621

Effective date: 20071017

A977 Report on retrieval

Free format text: JAPANESE INTERMEDIATE CODE: A971007

Effective date: 20090917

TRDD Decision of grant or rejection written
A01 Written decision to grant a patent or to grant a registration (utility model)

Free format text: JAPANESE INTERMEDIATE CODE: A01

Effective date: 20091006

A01 Written decision to grant a patent or to grant a registration (utility model)

Free format text: JAPANESE INTERMEDIATE CODE: A01

A61 First payment of annual fees (during grant procedure)

Free format text: JAPANESE INTERMEDIATE CODE: A61

Effective date: 20091027

R150 Certificate of patent or registration of utility model

Ref document number: 4401034

Country of ref document: JP

Free format text: JAPANESE INTERMEDIATE CODE: R150

Free format text: JAPANESE INTERMEDIATE CODE: R150

FPAY Renewal fee payment (event date is renewal date of database)

Free format text: PAYMENT UNTIL: 20121106

Year of fee payment: 3

FPAY Renewal fee payment (event date is renewal date of database)

Free format text: PAYMENT UNTIL: 20131106

Year of fee payment: 4

R250 Receipt of annual fees

Free format text: JAPANESE INTERMEDIATE CODE: R250

R250 Receipt of annual fees

Free format text: JAPANESE INTERMEDIATE CODE: R250

R250 Receipt of annual fees

Free format text: JAPANESE INTERMEDIATE CODE: R250

R250 Receipt of annual fees

Free format text: JAPANESE INTERMEDIATE CODE: R250

R250 Receipt of annual fees

Free format text: JAPANESE INTERMEDIATE CODE: R250

R250 Receipt of annual fees

Free format text: JAPANESE INTERMEDIATE CODE: R250

R250 Receipt of annual fees

Free format text: JAPANESE INTERMEDIATE CODE: R250

R250 Receipt of annual fees

Free format text: JAPANESE INTERMEDIATE CODE: R250

LAPS Cancellation because of no payment of annual fees