JP4265735B2 - 反射防止膜、反射防止フィルムおよび画像表示装置 - Google Patents
反射防止膜、反射防止フィルムおよび画像表示装置 Download PDFInfo
- Publication number
- JP4265735B2 JP4265735B2 JP2002226746A JP2002226746A JP4265735B2 JP 4265735 B2 JP4265735 B2 JP 4265735B2 JP 2002226746 A JP2002226746 A JP 2002226746A JP 2002226746 A JP2002226746 A JP 2002226746A JP 4265735 B2 JP4265735 B2 JP 4265735B2
- Authority
- JP
- Japan
- Prior art keywords
- refractive index
- antireflection film
- group
- copolymer
- index layer
- Prior art date
- Legal status (The legal status is an assumption and is not a legal conclusion. Google has not performed a legal analysis and makes no representation as to the accuracy of the status listed.)
- Expired - Fee Related
Links
Images
Landscapes
- Liquid Crystal (AREA)
- Surface Treatment Of Optical Elements (AREA)
- Laminated Bodies (AREA)
- Paints Or Removers (AREA)
Description
【発明の属する技術分野】
本発明は、反射防止膜、反射防止フィルムならびにそれを用いた表示装置(特に液晶表示装置)に関する。
【0002】
【従来の技術】
反射防止膜や反射防止フィルムは一般に、陰極管表示装置(CRT)、プラズマディスプレイ(PDP)エレクトロルミネッセンスディスプレイ(ELD)や液晶表示装置(LCD)のようなディスプレイ装置において、外光の反射によるコントラスト低下や像の映り込みを防止するために、光学干渉の原理を用いて反射率を低減するためにディスプレイの最表面に配置される。
【0003】
このような反射防止膜や反射防止フィルムは、支持体上に高屈折率層、さらにその上に適切な膜厚の低屈折率層を形成することにより作製できる。この際生産性の観点からは各層をウェット塗布で形成できることが好ましい。
低い反射率を実現するために低屈折率層にはできるだけ屈折率の低い材料が望まれる。また反射防止膜および反射防止フィルムはディスプレイの最表面に用いられるため高い耐擦傷性が要求される。材料の屈折率を下げるには、▲1▼フッ素原子を導入する、▲2▼密度を下げる(空隙を導入する)という手段があるがいずれも皮膜強度が損なわれ耐擦傷性が低下する傾向があり、低屈折率と高耐傷性の両立は困難な課題であった。
【0004】
低屈折率の含フッ素ポリマーを硬化させる手段としては、種々の方法が知られており、例えば特開昭57−34107号、同61−258852号、同61−275311号、同62−185740号、同62−292848号、特開平8−92323号、同12−17028号公報に記載のごとく、水酸基等を有するポリマーを種々硬化剤によって硬化させることが一般に行われてきた。しかしながら、硬化剤と含フッ素ポリマーは相溶性の点で問題ある場合が多く、耐傷性、透明性の点で改良が望まれていた。
この問題に対して特開平10−25388号公報にはメラミン系硬化剤と水酸基含有低屈折率ポリマーをあらかじめ加熱して部分縮合させる技術が開示されており、皮膜の透明性を高めるにはある程度効果が認められるが、耐傷性に関しては大きな改善は認められない。
【0005】
一方、特開平11−228631号、12−17028号公報等には、ポリシロキサン成分を含フッ素ポリマーに導入することにより、皮膜の摩擦係数を下げて耐傷性を向上させる技術が記載されている。該技術は防汚性付与という他の目的に加え、耐傷性改良にある程度の効果があるが、本質的な皮膜の力学特性を改良するものではなく限界があった。
【0006】
【発明が解決しようとする課題】
本発明の目的は、第1に大量生産に適した塗布型の反射防止膜を提供することであり、第2に反射率が低く、耐擦傷性および防汚性に優れた反射防止膜を提供することにあり、第3に透明支持体上に該反射防止膜を設けた反射防止フィルムを提供することに有り、第4に表面の耐傷性に優れ反射が防止された画像表示装置を提供することにある。
【0007】
【課題を解決するための手段】
本発明者らは皮膜の透明性、硬度、耐傷性と屈折率の関係について鋭意検討した結果、ポリマー自体が主鎖にポリシロキサン構造を有し、側鎖に自己架橋性の基である(メタ)アクリロイル基を有しているものが優れており、さらに一定の屈折率では、硬化剤を添加するよりもポリマー中の(メタ)アクリロイル基の含率を上げることが皮膜硬度に対して有利であることを見出し、本発明をなすに至った。
すなわち本発明は、
1)主鎖にポリシロキサン構造を含み、かつ、含フッ素ビニルモノマーからの繰返し単位と側鎖に(メタ)アクリロイル基を有する繰返し単位とを含んでなる共重合体の硬化皮膜よりなる低屈折率層を有する反射防止膜であって、該共重合体中の(メタ)アクリロイル基を有する繰返し単位が、ポリシロキサン部位以外の全繰返し単位のうちの30〜70mol%であり、該共重合体が下記一般式1で表わされることを特徴とする反射防止膜、
【0011】
【化1−4】
【0012】
(一般式1中、Lは炭素数1〜10の連結基を表し、mは0または1を表す。Xは水素原子またはメチル基を表す。Aは任意のビニルモノマーからの繰返し単位を表し、単一成分であっても複数の成分で構成されていても良い。Yはポリシロキサン構造を主鎖に含む構成成分を表わす。x, y, zはY以外の全繰返し単位を基準とした場合のそれぞれの繰返し単位のモル%を表し、30≦x≦60、30≦y≦70、0≦z≦40を満たす値を表す。ただし、x+y+z=100(モル%)。aは共重合体中の構成成分Yの質量%を表す。)
【0013】
2)主鎖にポリシロキサン構造を含み、かつ、含フッ素ビニルモノマーからの繰返し単位と側鎖に(メタ)アクリロイル基を有する繰返し単位とを含んでなる共重合体の硬化皮膜よりなる低屈折率層を有する反射防止膜であって、該共重合体中の(メタ)アクリロイル基を有する繰返し単位が、ポリシロキサン部位以外の全繰返し単位のうちの30〜70mol%であり、該共重合体が下記一般式2で表されることを特徴とする反射防止膜、
【0014】
【化2】
【0015】
(一般式2中、X、Y、x、y、aはそれぞれ一般式1と同じ意味を表す。Bは任意のビニルモノマーからの繰返し単位を表し、単一成分であっても複数の成分で構成されていても良い。z1およびz2はY以外の全繰返し単位を基準とした場合のそれぞれの繰返し単位のモル%を表し、0≦z1≦40、0≦z2≦40を満たす値を表す。ただし、x+y+z1+z2=100(モル%)。nは2≦n≦10を満たす整数を表す。)
【0016】
3)上記1)または2)記載の共重合体の硬化物が低屈折率層全固形分の80質量%以上を占めることを特徴とする上記1)または2)記載の反射防止膜、
4)上記1)〜3)に記載の反射防止膜が、上記1)または2)に記載の共重合体、光重合開始剤またはこれらの反応生成物以外の成分を低屈折率層中に含まないことを特徴とする上記1)〜3)に記載の反射防止膜、
5)上記Lが炭素数2〜4の連結基を表すことを特徴とする1)に記載の反射防止膜、
6)上記Lが*‐(CH 2 ) 2 −O−**,*−(CH 2 ) 2 −NH−**,*−(CH 2 ) 4 −O−**,*−(CH 2 ) 6 −O−**,*−(CH 2 ) 2 −O−(CH 2 ) 2 −O−**,−CONH−(CH 2 ) 3 −O−**,*−CH 2 CH(OH)CH 2 −O−**,*−CH 2 CH 2 OCONH(CH 2 ) 3 −O−**(*はポリマー主鎖側の連結部位を表し、**は(メタ)アクリロイル基側の連結部位を表す。)から選ばれることを特徴とする1)に記載の反射防止膜、
7)上記一般式2で表される共重合体が、40≦x≦60、40≦y≦60、z2=0を満たすことを特徴とする上記2)に記載の反射防止膜、
【0017】
8)主鎖に含まれるポリシロキサン構造が下記一般式3で表される構造であることを特徴とする上記1)または2)に記載の反射防止膜、
【0018】
【化3】
【0019】
(一般式3中、R1、R2、R3およびR4はそれぞれ独立して水素原子、アルキル基、アリール基、アルコキシカルボニル基またはシアノ基を表し、R5〜R10はそれぞれ独立して水素原子、アルキル基、ハロアルキル基またはフェニル基を表す。pおよびqはそれぞれ独立して1〜10の整数を表す。mおよびnはそれぞれ独立して0〜10の整数を表し、rは10〜1000の整数を表す。)
【0020】
9)上記(メタ)アクリロイル基を有する繰返し単位が、ポリシロキサン部位以外の全繰返し単位のうちの40〜60mol%を占めることを特徴とする1)また2)に記載の反射防止膜、
10)上記低屈折率層を、無機微粒子および多官能(メタ)アクリレート樹脂を含有する高屈折率層上に有することを特徴とする上記1)〜9)に記載の反射防止膜、
【0021】
11)透明支持体上に上記1)〜10)に記載の反射防止膜を設置したことを特徴とする反射防止フィルム、及び
【0022】
12)上記11)に記載の反射防止フィルムを配置したことを特徴とする画像表示装置
を提供するものである。
【0023】
【発明の実施の形態】
本発明の反射防止膜は低屈折率層のみからなる単層構成でもよく、また、中・高・低屈折率層、ハードコート層などと積層した多層構成であってもよい。好ましくは多層構成の形態であり、特に好ましくは中・高・低屈折率層の3層以上の層を積層してなる形態である。この反射防止膜は、画像表示装置などに直接(その場で)形成し配置してもよいが、前もって前記の反射防止フィルムを形成してから画像表示装置に配置することが好ましい。
【0024】
[反射防止膜の代表的層構成]
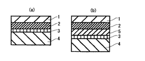
以下に本発明の反射防止膜の代表的な層構成を図1を参照して説明する。
図1は、反射防止膜の様々な層構成を示す断面図である。図1の(a)に示す態様は、透明支持体4、ハードコート層3、高屈折率層2、そして低屈折率層1の順序の層構成を有する。(a)のように、高屈折率層2と低屈折率層1とを有する反射防止膜では、特開昭59−50401号公報に記載されているように、高屈折率層が下記式(I)、低屈折率層が下記式(II)をそれぞれ満足することが好ましい。
【0025】
【数1】
【0026】
式中、mは正の整数(一般に1、2または3)であり、n1は高屈折率層の屈折率であり、そして、d1は高屈折率層の層厚(nm)である。
【0027】
【数2】
【0028】
式中、nは正の奇数(一般に1)であり、n2は低屈折率層の屈折率であり、そして、d2は低屈折率層の層厚(nm)である。
高屈折率層の屈折率n1 は、一般に透明支持体より少なくとも0.05高く、そして、低屈折率層の屈折率n2 は、好ましくは高屈折率層の屈折率より少なくとも0.1低くかつ透明支持体より少なくとも0.05低い。更に、高屈折率層の屈折率n1 は、好ましくは1.57〜2.40の範囲にある。
【0029】
図1の(b)に示す態様は、透明支持体4、ハードコート層3、中屈折率層5、高屈折率層2、そして低屈折率層1の順序の層構成を有する。(b)のように、中屈折率層5、高屈折率層2と低屈折率層1とを有する反射防止膜では、特開昭59−50401号公報に記載されているように、中屈折率層が下記式(III)、高屈折率層が下記式(IV)、低屈折率層が下記式(V)をそれぞれ満足することが好ましい。
【0030】
【数3】
【0031】
式中、hは正の整数(一般に1、2または3)であり、n3は中屈折率層の屈折率であり、そして、d3は中屈折率層の層厚(nm)である。
【0032】
【数4】
【0033】
式中、jは正の整数(一般に1、2または3)であり、n4は高屈折率層の屈折率であり、そして、d4は高屈折率層の層厚(nm)である。
【0034】
【数5】
【0035】
式中、kは正の奇数(一般に1)であり、n5は低屈折率層の屈折率であり、そして、d5は低屈折率層の層厚(nm)である。
【0036】
中屈折率層の屈折率n3 は、一般に1.5〜1.7の範囲にあり、高屈折率層の屈折率n4 は、一般に1.7〜2.2の範囲にある。
【0037】
また、式(I)〜(V)中のλは可視光線の波長であり、380〜680nmの範囲の値である。ここで記載した高屈折率、中屈折率、低屈折率とは層相互の相対的な屈折率の高低をいう。例えば中屈折率層は高屈折率層に添加する高屈折率無機微粒子の含率をかえるなどの方法で作製される。
以上の層構成を有する反射防止膜に、本発明に従い改良された低屈折率層を用いる。
【0038】
[低屈折率層]
低屈折率層は図1の(a)、(b)に示すごとく高屈折率層の上層に配置される。低屈折率層の上側が反射防止膜の表面である。
【0039】
本発明の反射防止膜において、低屈折率層を形成するポリマーは主鎖にポリシロキサン構造を含み、含フッ素ビニルモノマーからなる繰返し単位および側鎖に(メタ)アクリロイル基を有する繰返し単位を必須の構成成分とし、該(メタ)アクリロイル基含有繰返し単位をポリシロキサン部位以外の全繰返し単位の30〜70mol%の範囲で含有する共重合体である。該共重合体由来の成分は皮膜固形分の80質量%以上を占めることが好ましく、90質量%以上を占めることが特に好ましい。低屈折率化と皮膜硬度両立の観点からは多官能(メタ)アクリレート等の硬化剤を添加する形態は好ましくない。
【0040】
低屈折率層の屈折率は、1.20〜1.49であることが好ましく、1.20〜1.45であることがより好ましく、1.20〜1.44であることが特に好ましい。
低屈折率層の厚さは、50〜400nmであることが好ましく、50〜200nmであることがさらに好ましい。低屈折率層のヘイズは、3%以下であることが好ましく、2%以下であることがさらに好ましく、1%以下であることが最も好ましい。具体的な低屈折率層の強度は、1kg荷重の鉛筆硬度試験でH以上であることが好ましく、2H以上であることがさらに好ましく、3H以上であることが最も好ましい。
【0041】
以下に本発明の低屈性率層に用いられる共重合体について説明する。
含フッ素ビニルモノマーとしてはフルオロオレフィン類(例えばフルオロエチレン、ビニリデンフルオライド、テトラフルオロエチレン、ヘキサフルオロエチレン、ヘキサフルオロプロピレン等)、(メタ)アクリル酸の部分または完全フッ素化アルキルエステル誘導体類(例えばビスコート6FM(商品名、大阪有機化学製)やM−2020(商品名、ダイキン製)等)、完全または部分フッ素化ビニルエーテル類等が挙げられるが、好ましくはパーフルオロオレフィン類であり、屈折率、溶解性、透明性、入手性等の観点から特に好ましくはヘキサフルオロプロピレンである。これらの含フッ素ビニルモノマーの組成比を上げれば屈折率を下げることができるが、皮膜強度は低下する。本発明では共重合体のフッ素含率が20〜60質量%となるように含フッ素ビニルモノマーを導入することが好ましく、より好ましくは25〜55質量%の場合であり、特に好ましくは30〜50質量%の場合である。
本発明の低屈折率層に用いられる共重合体は、前記一般式(1)又は(2)で表されるが、この式は特に断わらない限り共重合体の結合の態様(ブロック共重合体、ランダム共重合体、グラフト共重合体など)を、いずれかに限定することを意味するものではない。
【0042】
本発明の共重合体には、主鎖にポリシロキサン構造が含まれる。主鎖へのポリシロキサン構造導入方法には特に制限はなく、例えば特開平6−93100号公報に記載のアゾ基含有ポリシロキサンアミド(市販のものではVPS-0501、1001(商品名;ワコー純薬工業(株)社製))等のポリマー型開始剤を用いる方法、重合開始剤、連鎖移動剤由来の反応性基(例えばメルカプト基、カルボキシル基、水酸基等)をポリマー末端に導入した後、片末端あるいは両末端反応性基(例えばエポキシ基、イソシアネート基等)含有ポリシロキサンと反応させる方法、ヘキサメチルシクロトリシロキサン等の環状シロキサンオリゴマーをアニオン開環重合にて共重合させる方法等が挙げられるが、中でもポリシロキサン構造を有する開始剤を利用する手法が容易であり好ましい。
【0043】
本発明の共重合体に導入されるポリシロキサン構造として特に好ましくは、前記一般式3で表される構造である。
一般式3においてR1、R2、R3およびR4はそれぞれ独立して水素原子、アルキル基(炭素数1〜5が好ましい。例としてメチル基、エチル基が挙げられる。)、アリール基(炭素数6〜10が好ましい。例としてフェニル基、ナフチル基が挙げられる。)、アルコキシカルボニル基(炭素数2〜5が好ましい。例としてメトキシカルボニル基、エトキシカルボニル基が挙げられる。)、またはシアノ基を表し、好ましくはアルキル基およびシアノ基であり、特に好ましくは、メチル基およびシアノ基である。
【0044】
R5〜R10はそれぞれ独立して水素原子、アルキル基(炭素数1〜5が好ましい。例としてメチル基、エチル基が挙げられる。)、ハロアルキル基(炭素数1〜5のフッ素化アルキル基が好ましい。例としてトリフルオロメチル基、ペンタフルオロエチル基が挙げられる。)またはフェニル基を表し、好ましくはメチル基またはフェニル基であり、特に好ましくはメチル基である。
【0045】
pおよびqはそれぞれ独立して1〜10の整数を表し、好ましくは1〜6の整数であり、特に好ましくは2〜4の整数である。mおよびnはそれぞれ独立して0〜10の整数を表し、好ましくは1〜6の整数であり、特に好ましくは2〜4の整数である。rは10〜1000の整数を表し、好ましくは20〜500の整数であり、特に好ましくは50〜200の整数である。
【0046】
該ポリシロキサン構造は本発明の共重合体中の0.01〜20質量%の範囲で導入されることが好ましく、より好ましくは0.05〜10質量%の範囲で導入される場合であり、特に好ましくは0.5〜5質量%の範囲で導入される場合である。
【0047】
該ポリシロキサン構造の導入によって、皮膜に防汚性、防塵性が付与されると供に、皮膜表面に滑り性が付与され耐傷性にも有利である。
【0048】
本発明の共重合体は側鎖に(メタ)アクリロイル基を有する繰返し単位を必須の構成成分として有する。共重合体への(メタ)アクリロイル基の導入法は特に限定されるものではないが、例えば、▲1▼水酸基、アミノ基等の求核基を有するポリマーを合成した後に、(メタ)アクリル酸クロリド、(メタ)アクリル酸無水物、(メタ)アクリル酸とメタンスルホン酸の混合酸無水物等を作用させる方法、▲2▼上記求核基を有するポリマーに、硫酸等の触媒存在下、(メタ)アクリル酸を作用させる方法、▲3▼上記求核基を有するポリマーにメタクリロイルオキシプロピルイソシアネート等のイソシアネート基と(メタ)アクリロイル基を併せ持つ化合物を作用させる方法、▲4▼エポキシ基を有するポリマーを合成した後に(メタ)アクリル酸を作用させる方法、▲5▼カルボキシル基を有するポリマーにグリシジルメタクリレート等のエポキシ基と(メタ)アクリロイル基を併せ持つ化合物を作用させる方法、▲6▼3―クロロプロピオン酸エステル部位を有するビニルモノマーを重合させた後で脱塩化水素を行う方法などが挙げられる。これらの中で本発明では特に水酸基を含有するポリマーに対して▲1▼または▲2▼の手法によって(メタ)アクリロイル基を導入することが好ましい。
【0049】
これらの(メタ)アクリロイル基含有繰返し単位の組成比を高めれば皮膜強度は向上するが屈折率も高くなる。本発明では、(メタ)アクリロイル基含有繰返し単位が30〜70mol%の範囲で導入されているものが有用であり、40〜60mol%を占めることが特に好ましい。
【0050】
本発明に有用な共重合体では上記含フッ素ビニルモノマーからの繰返し単位および側鎖に(メタ)アクリロイル基を有する繰返し単位以外に、基材への密着性、ポリマーのTg(皮膜硬度に寄与する)、溶剤への溶解性、透明性、防塵・防汚性等種々の観点から適宜他のビニルモノマーを共重合することもできる。これらのビニルモノマーは目的に応じて複数を組み合わせてもよく、合計で共重合体中の0〜40mol%の範囲で導入されていることが好ましく、0〜30mol%の範囲であることがより好ましく、0〜20mol%の範囲であることが特に好ましい。
【0051】
併用可能なビニルモノマー単位には特に限定はなく、例えばオレフィン類(エチレン、プロピレン、イソプレン、塩化ビニル、塩化ビニリデン等)、アクリル酸エステル類(アクリル酸メチル、アクリル酸メチル、アクリル酸エチル、アクリル酸2−エチルヘキシル、アクリル酸2‐ヒドロキシエチル)、メタクリル酸エステル類(メタクリル酸メチル、メタクリル酸エチル、メタクリル酸ブチル、メタクリル酸2−ヒドロキシエチル等)、スチレン誘導体(スチレン、p−ヒドロキシメチルスチレン、p−メトキシスチレン等)、ビニルエーテル類(メチルビニルエーテル、エチルビニルエーテル、シクロヘキシルビニルエーテル、ヒドロキシエチルビニルエーテル、ヒドロキシブチルビニルエーテル等)、ビニルエステル類(酢酸ビニル、プロピオン酸ビニル、桂皮酸ビニル等)、不飽和カルボン酸類(アクリル酸、メタクリル酸、クロトン酸、マレイン酸、イタコン酸等)、アクリルアミド類(N,N-ジメチルアクリルアミド、N−tertブチルアクリルアミド、N−シクロヘキシルアクリルアミド等)、メタクリルアミド類(N,N‐ジメチルメタクリルアミド)、アクリロニトリル等を挙げることができる。
【0052】
本発明に用いられる共重合体の好ましい形態として前記一般式1が挙げられる。一般式1中、Lは炭素数1〜10の連結基を表し、より好ましくは炭素数1〜6の連結基であり、特に好ましくは2〜4の連結基であり、直鎖であっても分岐構造を有していてもよく、環構造を有していてもよく、O、N、Sから選ばれるヘテロ原子を有していても良い。
好ましい例としては、*‐(CH2)2-O-**, *-(CH2)2-NH-**, *-(CH2)4-O-**, *-(CH2)6-O-**, *-(CH2)2-O-(CH2 )2-O-**, -CONH-(CH2)3-O-**, *-CH2CH(OH)CH2-O-**, *-CH2CH2OCONH(CH2)3-O-**(*はポリマー主鎖側の連結部位を表し、**は(メタ)アクリロイル基側の連結部位を表す。)等が挙げられる。mは0または1を表わす。
【0053】
一般式1中、Xは水素原子またはメチル基を表す。硬化反応性の観点から、より好ましくは水素原子である。
【0054】
一般式1中、Aは任意のビニルモノマーのからの繰返し単位を表わし、ヘキサフルオロプロピレンと共重合可能な単量体の構成成分であれば特に制限はなく、基材への密着性、ポリマーのTg(皮膜硬度に寄与する)、溶剤への溶解性、透明性、滑り性、防塵・防汚性等種々の観点から適宜選択することができ、目的に応じて単一あるいは複数のビニルモノマーによって構成されていても良い。
【0055】
好ましい例としては、メチルビニルエーテル、エチルビニルエーテル、t−ブチルビニルエーテル、シクロへキシルビニルエーテル、イソプロピルビニルエーテル、ヒドロキシエチルビニルエーテル、ヒドロキシブチルビニルエーテル、グリシジルビニルエーテル、アリルビニルエーテル等のビニルエーテル類、酢酸ビニル、プロピオン酸ビニル、酪酸ビニル等のビニルエステル類、メチル(メタ)アクリレート、エチル(メタ)アクリレート、ヒドロキシエチル(メタ)アクリレート、グリシジルメタアクリレート、アリル(メタ)アクリレート、(メタ)アクリロイルオキシプロピルトリメトキシシラン等の(メタ)アクリレート類、スチレン、p−ヒドロキシメチルスチレン等のスチレン誘導体、クロトン酸、マレイン酸、イタコン酸等の不飽和カルボン酸およびその誘導体等を例として挙げることができるが、好ましくはビニルエーテル誘導体、ビニルエステル誘導体であり、特に好ましくはビニルエーテル誘導体である。
【0056】
x、y、zはY以外の全繰返し単位を基準とした場合のそれぞれの繰返し単位のモル%を表し、30≦x≦60、30≦y≦70、0≦z≦40を満たす値を表す。好ましくは、35≦x≦55、30≦y≦60、0≦z≦20の場合であり、特に好ましくは40≦x≦55、40≦y≦55、0≦z≦10の場合である。
【0057】
Yはポリシロキサン成分を主鎖に含む構成成分を表し、好ましい例は前記したポリシロキサン構造含有開始剤由来の構造が挙げられる。
【0058】
aはY成分の質量%を表し、0.01≦a≦20であることが好ましく、より好ましくは0.05≦a≦10の場合であり、特に好ましくは0.5≦a≦5の場合である。
【0059】
本発明に用いられる共重合体の特に好ましい形態として前記一般式2が挙げられる。一般式2においてX、Y、x、y、aは一般式1と同じ意味を表わし、好ましい範囲も同じである。
nは2≦n≦10の整数を表わし、2≦n≦6であることが好ましく、2≦n≦4であることが特に好ましい。
Bは任意のビニルモノマーからの繰返し単位を表わし、単一組成であっても複数の組成によって構成されていても良い。例としては、前記一般式1におけるAの例として説明したものが当てはまる。
z1およびz2はY以外の全繰返し単位を基準とした場合のそれぞれの繰返し単位のモル%を表し、0≦z1≦40、0≦z2≦40を満たす値を表わす。それぞれ0≦z1≦30、0≦z2≦10であることが好ましく、0≦z1≦10、0≦z2≦5であることが特に好ましい。
【0060】
一般式1又は2で表わされる共重合体は、例えば、前記手法により合成した、主鎖にポリシロキサン構造を有するヘキサフルオロプロピレンとヒドロキシアルキルビニルエーテルの共重合体に、前記のいずれかの手法により(メタ)アクリロイル基を導入することにより合成できる。
【0061】
以下に本発明で有用な共重合体の好ましい例を示すが本発明はこれらに限定されるものではない。なお、P−32〜40は参考例として示すものである。
【0062】
【化4】
【0063】
(式中、50/y/zはモル比を示し、aは質量%を示し、VPS−1001は和光純薬工業社製ポリシロキサン含有マクロアゾ開始剤(VPS1001(商品名)由来の成分を表す(以下同様)。)
【0064】
【化5】
【0065】
(式中、50/y/zはモル比を示し、aは質量%を示す。VPS−1001は和光純薬工業社製ポリシロキサン含有マクロアゾ開始剤(VPS1001(商品名)由来の成分を示す(以下同様)。)
【0066】
【化6】
【0067】
(式中、x/y/zはモル比を示し、aは共重合体中の質量%を示す。VPS−0501は和光純薬工業社製ポリシロキサン含有マクロアゾ開始剤(VPS0501:商品名)由来の成分を示す。)
【0068】
【化7】
【0069】
(式中、x/y/z1/z2と50/y/zとはそれぞれモル比を示し、aは質量%を示す。)
【0070】
【化8】
【0071】
(式中、x/y/zはモル比を示し、aは質量%を示す。)
【0072】
【化9】
【0073】
(式中、ビニルモノマーの成分の比(50/50)はモル比を示し、aは質量%を示し、rはジメチルシロキサンユニットの数を示す。)
【0074】
本発明に用いられる共重合体の合成は、種々の重合方法、例えば溶液重合、沈澱重合、懸濁重合、沈殿重合、塊状重合、乳化重合によって水酸基含有重合体等の前駆体を合成した後、前記高分子反応によって(メタ)アクリロイル基を導入することにより行なうことができる。重合反応は回分式、半連続式、連続式等の任意の操作で行なうことができる。
【0075】
重合の開始方法はラジカル開始剤を用いる方法、光または放射線を照射する方法等がある。これらの重合方法、重合の開始方法は、例えば鶴田禎二「高分子合成方法」改定版(日刊工業新聞社刊、1971)や大津隆行、木下雅悦共著「高分子合成の実験法」化学同人、昭和47年刊、124〜154頁に記載されている。
【0076】
上記重合方法のうち、特にラジカル開始剤を用いた溶液重合法が好ましい。溶液重合法で用いられる溶剤は、例えば酢酸エチル、酢酸ブチル、アセトン、メチルエチルケトン、メチルイソブチルケトン、シクロヘキサノン、テトラヒドロフラン、ジオキサン、N,N−ジメチルホルムアミド、N,N−ジメチルアセトアミド、ベンゼン、トルエン、アセトニトリル、塩化メチレン、クロロホルム、ジクロロエタン、メタノール、エタノール、1−プロパノール、2−プロパノール、1−ブタノールのような種々の有機溶剤の単独あるいは2種以上の混合物でも良いし、水との混合溶媒としても良い。
【0077】
重合温度は生成するポリマーの分子量、開始剤の種類などと関連して設定する必要があり0℃以下から100℃以上まで可能であるが、50〜100℃の範囲で重合を行なうことが好ましい。
【0078】
反応圧力は、適宜選定可能であるが、通常は、1〜100kg/cm2、特に、1〜30kg/cm2程度が望ましい。反応時間は、5〜30時間程度である。
【0079】
得られたポリマーの再沈殿溶媒としては、イソプロパノール、ヘキサン、メタノール等が好ましい。
【0080】
本発明の低屈折率層形成組成物は、通常、液の形態をとり前記共重合体を必須の構成成分とし、必要に応じて各種添加剤およびラジカル重合開始剤を適当な溶剤に溶解して作製される。この際固形分の濃度は、用途に応じて適宜選択されるが一般的には0.01〜60質量%程度であり、好ましくは0.5〜50質量%、特に好ましくは1%〜20質量%程度である。
【0081】
前記したとおり、低屈折率層の皮膜硬度の観点からは硬化剤等の添加剤を添加することは必ずしも有利ではないが、高屈折率層との界面密着性等の観点から、多官能(メタ)アクリレート化合物、多官能エポキシ化合物、ポリイソシアネート化合物、アミノプラスト、多塩基酸またはその無水物等の硬化剤、あるいはシリカ等の無機微粒子を少量添加することもできる。これらを添加する場合には低屈折率層皮膜の全固形分に対して0〜20質量%の範囲であることが好ましく、0〜15質量%の範囲であることがより好ましく、0〜10質量%の範囲であることが特に好ましい。
【0082】
ラジカル重合開始剤としては熱の作用によりラジカルを発生するもの、あるいは光の作用によりラジカルを発生するもののいずれの形態も可能である。
【0083】
熱の作用によりラジカル重合を開始する化合物としては、有機あるいは無機過酸化物、有機アゾ及びジアゾ化合物等を用いることができる。
具体的には、有機過酸化物として過酸化ベンゾイル、過酸化ハロゲンベンゾイル、過酸化ラウロイル、過酸化アセチル、過酸化ジブチル、クメンヒドロぺルオキシド、ブチルヒドロぺルオキシド、無機過酸化物として、過酸化水素、過硫酸アンモニウム、過硫酸カリウム等、アゾ化合物として2,2’−アゾビスイソブチロニトリル、2,2’−アゾビスプロピオニトリル、1,1’−アゾビス(シクロヘキサン−1−カルボニトリル)等、ジアゾ化合物としてジアゾアミノベンゼン、p−ニトロベンゼンジアゾニウム等を挙げることができる。
【0084】
光の作用によりラジカル重合を開始する化合物を使用する場合は、活性エネルギー線の照射によって皮膜の硬化が行われる。
このような光ラジカル重合開始剤の例としては、アセトフェノン類、ベンゾイン類、ベンゾフェノン類、ホスフィンオキシド類、ケタール類、アントラキノン類、チオキサントン類、アゾ化合物、過酸化物類、2,3−ジアルキルジオン化合物類、ジスルフィド化合物類、フルオロアミン化合物類や芳香族スルホニウム類がある。アセトフェノン類の例には、2,2−ジエトキシアセトフェノン、p−ジメチルアセトフェノン、1−ヒドロキシジメチルフェニルケトン、1−ヒドロキシシクロヘキシルフェニルケトン、2−メチル−4−メチルチオ−2−モルフォリノプロピオフェノンおよび2−ベンジル−2−ジメチルアミノ−1−(4−モルフォリノフェニル)−ブタノンが含まれる。ベンゾイン類の例には、ベンゾインベンゼンスルホン酸エステル、ベンゾイントルエンスルホン酸エステル、ベンゾインメチルエーテル、ベンゾインエチルエーテルおよびベンゾインイソプロピルエーテルが含まれる。ベンゾフェノン類の例には、ベンゾフェノン、2,4−ジクロロベンゾフェノン、4,4−ジクロロベンゾフェノンおよびp−クロロベンゾフェノンが含まれる。ホスフィンオキシド類の例には、2,4,6−トリメチルベンゾイルジフェニルフォスフィンオキシドが含まれる。これらの光ラジカル重合開始剤と併用して増感色素も好ましく用いることができる。
【0085】
熱または光の作用によってラジカル重合を開始する化合物の添加量としては、炭素-炭素二重結合の重合を開始できる量であれば良いが、一般的には低屈折率層形成組成物中の全固形分に対して0.1〜15質量%が好ましく、より好ましくは0.5〜10質量%であり、特に好ましくは2〜5質量%の場合である。
【0086】
低屈折率層塗布液組成物に含まれる溶剤としては、含フッ素共重合体を含む組成物が沈殿を生じることなく、均一に溶解または分散されるものであれば特に制限はなく2種類以上の溶剤を併用することもできる。好ましい例としては、ケトン類(アセトン、メチルエチルケトン、メチルイソブチルケトン等)、エステル類(酢酸エチル、酢酸ブチル等)、エーテル類(テトラヒドロフラン、1,4−ジオキサン等)、アルコール類(メタノール、エタノール、イソプロピルアルコール、ブタノール、エチレングリコール、等)、芳香族炭化水素類(トルエン、キシレン等)、水などを挙げることができる。
【0087】
その他低屈折率層形成組成物には各種シランカップリング剤、界面活性剤、増粘剤、レベリング剤などの添加剤を必要に応じて適宜添加しても良い。
【0088】
[高・中屈折率層]
本発明の反射防止膜が、多層膜の態様をとる場合、一般に、低屈折率層は、低屈折率層より高い屈折率を有する少なくとも一層の層(即ち、前記の高屈折率層、中屈折率層)と共に用いられる。
【0089】
上記低屈折率層より高い屈折率を有する層を形成するための有機材料としては、熱可塑性皮膜(例、ポリスチレン、ポリスチレン共重合体、ポリカーボネート、ポリスチレン以外の芳香環、複素環、脂環式環状基を有するポリマー、またはフッ素以外のハロゲン基を有するポリマー);熱皮膜形成用組成物(例、メラミン皮膜、フェノール皮膜、またはエポキシ皮膜などを硬化剤とする皮膜組成物);ウレタン形成性組成物(例、脂環式または芳香族イソシアネートおよびポリオールの組み合わせ);およびラジカル重合性組成物(上記の化合物(ポリマー等)に二重結合を導入することにより、ラジカル硬化を可能にした変性皮膜またはプレポリマーを含む組成物)などを挙げることができる。高い皮膜形成性を有する材料が好ましい。上記より高い屈折率を有する層は、有機材料中に分散した無機系微粒子も使用することができる。上記に使用される有機材料としては、一般に無機系微粒子が高屈折率を有するため有機材料単独で用いられる場合よりも低屈折率のものも用いることができる。そのような材料として、上記に述べた有機材料の他、アクリル系を含むビニル系共重合体、ポリエステル、アルキド皮膜、繊維素系重合体、ウレタン皮膜およびこれらを硬化せしめる各種の硬化剤、硬化性官能基を有する組成物など、透明性があり無機系微粒子を安定に分散せしめる各種の有機材料を挙げることができる。
【0090】
さらに有機置換されたケイ素系化合物をこれに含めることができる。これらのケイ素系化合物は下記一般式で表される化合物、あるいはその加水分解生成物である。
:Ra mRb n SiZ(4-m-n)(ここでRa及びRbは、それぞれアルキル基、アルケニル基、アリル基、またはハロゲン原子、エポキシ、アミノ、メルカプト、メタクリロイルまたはシアノで置換された炭化水素基を表し、Zは、アルコキシル基、アルコキシアルコキシル基、ハロゲン原子〜アシルオキシ基から選ばれた加水分解可能な基を表し、m+nは1または2であり、かつm及びnはそれぞれ0、1または2である。)
【0091】
これらに分散される無機系微粒子の好ましい無機化合物としては、アルミニウム、チタニウム、ジルコニウム、アンチモンなどの金属元素の酸化物を挙げることができる。これらの化合物は、微粒子状で、即ち粉末または水および/またはその他の溶媒中へのコロイド状分散体として、市販されている。これらをさらに上記の有機材料または有機ケイ素化合物中に混合分散して使用する。
【0092】
上記より高い屈折率を有する層を形成する材料として、被膜形成性で溶剤に分散し得るか、それ自身が液状である無機系材料(例、各種元素のアルコキシド、有機酸の塩、配位性化合物と結合した配位化合物(例、キレート化合物)、無機ポリマー)を挙げることができる。これらの好適な例としては、チタンテトラエトキシド、チタンテトラ−i−プロポキシド、チタンテトラ−n−プロポキシド、チタンテトラ−n−ブトキシド、チタンテトラ−sec −ブトキシド、チタンテトラ−tert−ブトキシド、アルミニウムトリエトキシド、アルミニウムトリ−i−プロポキシド、アルミニウムトリブトキシド、アンチモントリエトキシド、アンチモントリブトキシド、ジルコニウムテトラエトキシド、ジルコニウムテトラ−i−プロポキシド、ジルコニウムテトラ−n−プロポキシド、ジルコニウムテトラ−n−ブトキシド、ジルコニウムテトラ−sec −ブトキシド及びジルコニウムテトラ−tert−ブトキシドなどの金属アルコレート化合物;ジイソプロポキシチタニウムビス(アセチルアセトネート)、ジブトキシチタニウムビス(アセチルアセトネート)、ジエトキシチタニウムビス(アセチルアセトネート)、ビス(アセチルアセトンジルコニウム)、アルミニウムアセチルアセトネート、アルミニウムジ−n−ブトキシドモノエチルアセトアセテート、アルミニウムジ−i−プロポキシドモノメチルアセトアセテート及びトリ−n−ブトキシドジルコニウムモノエチルアセトアセテートなどのキレート化合物;さらには炭素ジルコニルアンモニウムあるいはジルコニウムを主成分とする無機ポリマーなどを挙げることができる。上記に述べた他に、屈折率が比較的低いが上記の化合物と併用できるものとしてとくに各種のアルキルシリケート類もしくはその加水分解物、微粒子状シリカとくにコロイド状に分散したシリカゲルも使用することができる。
【0093】
高屈折率層の屈折率は、一般に1.70〜2.20である。屈折率は、アッベ屈折率計を用いる測定や、層表面からの光の反射率からの見積もりにより求めることができる。高屈折率層の厚さは、5nm〜10μmであることが好ましく、10nm〜1μmであることがさらに好ましく、30nm〜0.5μmであることが最も好ましい。高屈折率層のヘイズは、5%以下であることが好ましく、3%以下であることがさらに好ましく、1%以下であることが最も好ましい。具体的な高屈折率層の強度は、1kg荷重の鉛筆硬度でH以上であることが好ましく、2H以上であることがさらに好ましく、3H以上であることが最も好ましい。
【0094】
中屈折率層の屈折率は、低屈折率層の屈折率と高屈折率層の屈折率との間の値となるように調整する。中屈折率層の屈折率は、1.50〜1.70であることが好ましい。
高屈折率層に無機微粒子とポリマーを用い、中屈折率層は、高屈折率層よりも屈折率を低めに調節して形成することが特に好ましい。中屈折率層のヘイズは、3%以下であることが好ましい。
【0095】
[その他の層]
反射防止膜には、さらに、ハードコート層、防湿層、帯電防止層、下塗り層や保護層を設けてもよい。ハードコート層は、透明支持体に耐傷性を付与するために設ける。ハードコート層は、透明支持体とその上の層との接着を強化する機能も有する。ハードコート層は、アクリル系ポリマー、ウレタン系ポリマー、エポキシ系ポリマー、シリコン系ポリマーやシリカ系化合物を用いて形成することができる。顔料をハードコート層に添加してよい。アクリル系ポリマーは、多官能アクリレートモノマー(例、ポリオールアクリレート、ポリエステルアクリレート、ウレタンアクリレート、エポキシアクリレート)の重合反応により合成することが好ましい。ウレタン系ポリマーの例には、メラミンポリウレタンが含まれる。シリコン系ポリマーとしては、シラン化合物(例、テトラアルコキシシラン、アルキルトリアルコキシシラン)と反応性基(例、エポキシ、メタクリル)を有するシランカップリング剤との共加水分解物が好ましく用いられる。二種類以上のポリマーを組み合わせて用いてもよい。シリカ系化合物としては、コロイダルシリカが好ましく用いられる。ハードコート層の強度は、1kg荷重の鉛筆硬度で、H以上である好ましく、2H以上であることがさらに好ましく、3H以上であることが最も好ましい。透明支持体の上には、ハードコート層に加えて、接着層、シールド層、滑り層や帯電防止層を設けてもよい。シールド層は、電磁波や赤外線を遮蔽するために設けられる。
【0096】
[透明支持体]
反射防止膜をCRT画像表示面やレンズ表面に直接設ける場合以外において、反射防止膜を透明支持体上に形成し、反射防止フィルムとして用いてもよい。透明支持体としては、ガラス板よりもプラスチックフイルムの方が好ましい。プラスチックフイルムの材料の例には、セルロースエステル(例、トリアセチルセルロース、ジアセチルセルロース、プロピオニルセルロース、ブチリルセルロース、アセチルプロピオニルセルロース、ニトロセルロース)、ポリアミド、ポリカーボネート、ポリエステル(例、ポリエチレンテレフタレート、ポリエチレンナフタレート、ポリ−1,4−シクロヘキサンジメチレンテレフタレート、ポリエチレン−1,2−ジフェノキシエタン−4,4’−ジカルボキシレート、ポリブチレンテレフタレート)、ポリスチレン(例、シンジオタクチックポリスチレン)、ポリオレフィン(例、ポリプロピレン、ポリエチレン、ポリメチルペンテン)、ポリスルホン、ポリエーテルスルホン、ポリアリレート、ポリエーテルイミド、ポリメチルメタクリレートおよびポリエーテルケトンが含まれる。トリアセチルセルロース、ポリカーボネート、ポリエチレンテレフタレートおよびポリエチレンナフタレートが好ましい。透明支持体の光透過率は、80%以上であることが好ましく、86%以上であることがさらに好ましい。透明支持体のヘイズは、2.0%以下であることが好ましく、1.0%以下であることがさらに好ましい。透明支持体の屈折率は、1.4〜1.7であることが好ましい。透明支持体には、赤外線吸収剤あるいは紫外線吸収剤を添加してもよい。赤外線吸収剤の添加量は、透明支持体の0.01〜20質量%であることが好ましく、0.05〜10質量%であることがさらに好ましい。滑り剤として、不活性無機化合物の粒子を透明支持体に添加してもよい。無機化合物の例には、SiO2、TiO2、BaSO4、CaCO3、タルクおよびカオリンが含まれる。透明支持体に、表面処理を実施してもよい。
表面処理の例には、薬品処理、機械的処理、コロナ放電処理、火焔処理、紫外線照射処理、高周波処理、グロー放電処理、活性プラズマ処理、レーザー処理、混酸処理およびオゾン酸化処理が含まれる。グロー放電処理、紫外線照射処理、コロナ放電処理および火焔処理が好ましく、グロー放電処理と紫外線処理がさらに好ましい。
【0097】
[反射防止膜の形成]
反射防止膜が、単層又は前記のように多層の構成をとる場合は、各層は、ディップコート法、エアーナイフコート法、カーテンコート法、ローラーコート法、ワイヤーバーコート法、グラビアコート法やエクストルージョンコート法(米国特許2681294号明細書記載)により、塗布により形成することができる。二層以上を同時に塗布してもよい。同時塗布の方法については、米国特許2761791号、同2941898号、同3508947号、同3526528号の各明細書および原崎勇次著、コーティング工学、253頁、朝倉書店(1973)に記載がある。
【0098】
本発明の反射防止膜の各層の硬化は電離放射線または/および熱の作用によって行われる。電離放射線の照射は、高圧水銀ランプを用いて行うことが好ましい。この際、例えば酸素濃度0.5%以下の条件で紫外線照射を行うことが好ましく、より好ましくは酸素濃度0.3%以下の条件であり、特に好ましくは0.2%以下の条件である。照射エネルギーは硬化反応が十分に進むに必要な量であればよく、具体的には、300mJ/cm2〜1500 mJ /cm2の範囲であることが好ましく、より好ましくは400 mJ /cm2〜1000 mJ /cm2の範囲であり、特に好ましくは500 mJ /cm2〜800 mJ /cm2の範囲である。
【0099】
加熱を行う場合には30〜200℃程度の温度範囲が好ましく、より好ましくは80〜180℃であり、特に好ましくは100〜150℃の場合である。加熱時間は30秒〜100時間の範囲が好ましく、より好ましくは1分〜1時間であり、特に好ましくは2分〜15分である。
【0100】
反射防止膜の反射率は低いほど好ましい。具体的には450〜650nmの波長領域での鏡面平均反射率が2%以下であることが好ましく、1%以下であることがさらに好ましく、0.7%以下であることが最も好ましい。反射防止膜(下記のアンチグレア機能がない場合)のヘイズは、3%以下であることが好ましく、1%以下であることがさらに好ましく、0.5%以下であることが最も好ましい。反射防止膜の強度は、1kg荷重の鉛筆硬度で、H以上であることが好ましく、2H以上であることがさらに好ましく、3H以上であることが最も好ましい。反射防止膜は、外光を散乱させるアンチグレア機能を有していてもよい。アンチグレア機能は、反射防止膜の表面に凹凸を形成することにより得られる。微粒子を使用した低屈折率層では、微粒子により反射防止膜の表面に凹凸が形成できる。微粒子により得られるアンチグレア機能では不充分な場合は、低屈折率層、高屈折率層、中屈折率層あるいはハードコート層に比較的大きな粒子(粒径:50nm〜200nmを少量(0.1〜50質量%)添加してもよい。反射防止膜がアンチグレア機能を有する場合、反射防止膜のヘイズは、3〜30%であることが好ましく、5〜20%であることがさらに好ましく、7〜20%であることが最も好ましい。
【0101】
反射防止膜は、偏光板や、ディスプレイ装置、例えば液晶表示装置(LCD)、プラズマディスプレイパネル(PDP)、エレクトロルミネッセンスディスプレイ(ELD)や陰極管表示装置(CRT)のような画像表示装置に適用する。反射防止膜は、高屈折率層が画像表示装置の画像表示面側になるように配置する。反射防止膜が透明支持体上に設けられ、反射防止フィルムとして用いられる場合は、透明支持体側を画像表示装置の画像表示面に接着する。
反射防止膜は、さらに、ケースカバー、光学用レンズ、眼鏡用レンズ、ウインドウシールド、ライトカバーやヘルメットシールドにも利用できる。
【0102】
【実施例】
以下に実施例に基づき本発明についてさらに詳細に説明するが本発明はこれらに限定されるものではない。
【0103】
<合成例>
含フッ素共重合体(P−1)の合成
【0104】
内容量100mlのステンレス製撹拌機付オートクレーブに酢酸エチル40ml、ヒドロキシエチルビニルエーテル14.7g、過酸化ジラウロイル0.49g、およびポリシロキサン構造含有マクロアゾ開始剤(VPS-1001(商品名)和光純薬工業(株)社製)0.98gを仕込み、系内を脱気して窒素ガスで置換した。さらにヘキサフルオロプロピレン(HFP)25gをオートクレーブ中に導入して65℃まで昇温した。オートクレーブ内の温度が65℃に達した時点の圧力は8.6kg/cm2であった。該温度を保持し8時間反応を続け、圧力が3.9kg/cm2に達した時点で加熱をやめ放冷した。室温まで内温が下がった時点で未反応のモノマーを追い出し、オートクレーブを開放して反応液を取り出した。得られた反応液を大過剰のヘキサンに投入し、デカンテーションにより溶剤を除去することにより沈殿したポリマーを取り出した。さらにこのポリマーを少量の酢酸エチルに溶解してヘキサンを用いて2回再沈殿を行うことによって残存モノマーを完全に除去した。乾燥後主鎖にポリジメチルシロキサン構造が2.3質量%導入されたヘキサフルオロプロピレン/ヒドロキシエチルビニルエーテルの1/1(モル比)の下記共重合体(a−1)の35gを得た。得られたポリマーの屈折率は1.407であった。次に該ポリマーの20gをN,N-ジメチルアセトアミド100mlに溶解、氷冷下アクリル酸クロライド11.4gを滴下した後、室温で10時間攪拌した。反応液に酢酸エチルを加え水洗、有機層を抽出後濃縮し、得られたポリマーをヘキサンで再沈殿させることにより含フッ素共重合体(P−1)を19g得た。得られたポリマーの数平均分子量は3.5万であり、屈折率は1.422であった。
【0105】
【化10】
【0106】
本発明の他のポリマーも同様にして合成できる。
【0107】
比較化合物a−2の合成
【0108】
内容量100mlのステンレス製撹拌機付オートクレーブに酢酸エチル40ml、ヒドロキシエチルビニルエーテル3.7g、エチルビニルエーテル12.0gおよび過酸化ジラウロイル0.49g、ポリシロキサン構造含有マクロアゾ開始剤(VPS-1001(商品名)和光純薬工業(株)社製)0.98gを仕込み、ドライアイス-メタノールにて冷却下、系内を脱気して窒素ガスで置換した。さらにヘキサフルオロプロピレン(HFP)25gをオートクレーブ中に導入して65℃まで昇温した。オートクレーブ内の温度が65℃に達した時点の圧力は5.1kg/cm2であった。該温度を保持し8時間反応を続け、圧力が2.9kg/cm2に達した時点で加熱をやめ放冷した。室温まで内温が下がった時点で未反応のモノマーを追い出し、オートクレーブを開放して反応液を取り出した。得られた反応液を大過剰のメタノールに投入し、デカンテーションにより溶剤を除去することにより沈殿したポリマーを取り出した。さらにこのポリマーを少量の酢酸エチルに溶解してメタノールから2回再沈殿を行うことによって残存モノマーを完全に除去した。乾燥後、ポリジメチルシロキサン構造が2.3質量%導入されたヘキサフルオロプロピレン/エチルビニルエーテル/ヒドロキシエチルビニルエーテルの50/40/10(モル比)の共重合体の35gを得た。得られたポリマーの屈折率は1.387であった。さらに該共重合体に対してP−1の合成と同様にして、アクリル酸クロライドを作用させることにより比較化合物a-2を合成した。得られたポリマーの屈折率は1.415であった。
【0109】
【化11】
【0110】
比較化合物a−3の合成
【0111】
ポリシロキサン含有マクロアゾ開始剤を添加せず、過酸化ジラウロイルを0.55g添加したこと以外はP−1の合成と同様にして、下記比較化合物a-3を合成した。ポリマーの屈折率は1.421であった。
【0112】
【化12】
【0113】
[実施例1]反射防止膜(単層)の物性評価
本発明の共重合体(P−1,4,5)、比較化合物(a-2)および比較化合物(a-1, a-2)とDPHA(ジペンタエリスロトールヘキサアクリレート;日本化薬(株)製)との混合物(質量比9/1, 8/2, 7/3の3通り)をそれぞれメチルイソブチルケトンに30質量%の濃度になるように溶解し、光ラジカル発生剤イルガキュア907(商品名;チバ−ガイギー社製)を固形分に対して5質量%添加した液を作製した。該皮膜形成用組成物を硝子基盤上に塗布乾燥した後、酸素濃度0.1%にして、750mJ/cm2のエネルギーで紫外線を照射することにより厚さ約20μmの硬化皮膜を形成し、反射防止膜サンプルとした(本発明1〜3および比較サンプル1〜7)。
【0114】
これらの反射防止膜サンプルの硬度を微小硬度計((株)フィッシャー・インスツルメンツ製:フィッシャースコープH100VP−HCU(商品名))を用いて測定した。この際、ダイヤモンド製の四角錘圧子(先端対面角度;136°)を使用し、押し込み深さが1μmを超えない範囲で、適当な試験荷重下での押し込み深さを測定した。ユニバーサル硬度値は試験荷重をその試験荷重で生じた圧痕の幾何学的形状から計算される表面積で割った値で表される。
各サンプルのユニバーサル硬度値(HU)および硬化皮膜の屈折率(20℃の温度でアッベ屈折計(アタゴ(株)製)にて測定)を表1に示した。
【0115】
【表1】
【0116】
アクリロイル基を一定量以上導入したポリマーP−1、4、5を用いて形成した本発明の反射防止膜サンプル1〜3はアクリロイル基導入量の少ない比較ポリマー(a−2)および比較ポリマー(a−1、a−2)に硬化剤を混合した形態の比較例1〜7のサンプルに比べて高硬度化と低屈折率化の両立の観点で優れていることが分かる。
【0117】
[実施例2]反射防止膜(多層)を設けた反射防止フィルムの評価
下記表2に示す各成分を混合し、メチルイソブチルケトンに溶解した後、孔径1μmのポリプロピレン製フィルターでろ過して、低屈折率層用塗布液を調製した。
また表中、DPHA(商品名)は日本化薬(株)製ジペンタエリスロトールヘキサアクリレートを表す。IRG907はチバガイギー(株)製光ラジカル重合開始剤イルガキュア907(商品名)を表す。DETXは日本化薬(株)製光増感剤カヤキュア−DETX(商品名)を表す。
( )内は各成分の質量部を表わす。
【0118】
【表2】
【0119】
第一層(ハードコート層)用塗布液の調製
ジペンタエリスリトールペンタアクリレートとジペンタエリスリトールヘキサアクリレートの混合物(DPHA(商品名)、日本化薬(株)製)125gおよびウレタンアクリレートオリゴマー(UV−6300B(商品名)、日本合成化学工業(株)製)125gを、439gの工業用変性エタノールに溶解した。得られた溶液に、光重合開始剤(イルガキュア907(商品名)、チバ−ガイギー社製)7.5gおよび光増感剤(カヤキュア−DETX(商品名)、日本化薬(株)製)5.0gを49gのメチルエチルケトンに溶解した溶液を加えた。混合物を撹拌した後、1ミクロンメッシュのフィルターでろ過してハードコート層の塗布液を調製した。
【0120】
二酸化チタン分散物の調製
コア/シェル構造の二酸化チタン微粒子(TTO−55B(商品名)、石原産業(株)製)30質量部、アニオン性ジアクリレートモノマー(PM21(商品名)、日本化薬(株)製)4.5質量部、カチオン性メタクリレートモノマー(DMAEA(商品名)、興人(株)製)0.3質量部およびメチルエチルケトン65.2質量部を、サンドグラインダーにより分散し、二酸化チタン分散物を調製した。
【0121】
第二層(中屈折率層)塗布液の調製
シクロヘキサノン151.9gおよびメチルエチルケトン37.0gに、光重合開始剤(イルガキュア907(商品名)、チバ−ガイギー社製)0.14gおよび光増感剤(カヤキュア−DETX(商品名)、日本化薬(株)製)0.04gを溶解した。さらに上記二酸化チタン分散物6.1gおよびジペンタエリスリトールペンタアクリレートとジペンタエリスリトールヘキサアクリレートの混合物(DPHA、日本化薬(株)製)2.4gを加え、室温で30分間撹拌した後、1ミクロンのメッシュのフィルターでろ過して、中屈折率層用塗布液を調製した。
【0122】
第三層(高屈折率層)塗布液の調製
シクロヘキサノン152.8gおよびメチルエチルケトン37.2gに、光重合開始剤(イルガキュア907(商品名)、チバ−ガイギー社製)0.06gおよび光増感剤(カヤキュア−DETX(商品名)、日本化薬(株)製)0.02gを溶解した。さらに、前記二酸化チタン分散物13.13gおよびジペンタエリスリトールペンタアクリレートとジペンタエリスリトールヘキサアクリレートの混合物(DPHA(商品名)、日本化薬(株)製)0.76gを加え、室温で30分間撹拌した後、1ミクロンのメッシュのフィルターでろ過して、高屈折率層用塗布液を調製した。
【0123】
反射防止フィルムの作成
80ミクロンの厚さのトリアセチルセルロースフィルム(TAC−TD80U(商品名)、富士写真フイルム(株)製)に、ゼラチン下塗り層を設け、ゼラチン下塗り層の上に、上記のハードコート層の塗布液を、バーコータを用いて塗布し、120℃で乾燥した。次に窒素雰囲気下酸素濃度0.1%にして、500mJ/cm2のエネルギーで紫外線を照射して、塗布層を硬化させ、厚さ7.5ミクロンのハードコート層を形成した。
続いて、上記中屈折率層用の塗布液をハードコート層の上にバーコータを用いて塗布し、120℃で乾燥した後、窒素雰囲気下紫外線を照射して塗布層を硬化させ、中屈折率層(屈折率:1.72、厚さ:81nm)を形成した。続いて、中屈折率層の上に上記高屈折率層用塗布液をバーコータを用いて塗布し、120℃で乾燥した後、窒素雰囲気下酸素濃度0.1%にして、500mJ/cm2のエネルギーで紫外線を照射して塗布層を硬化させ、高屈折率層(屈折率:1.92、厚さ:53nm)を形成した。さらに、上記表2に示した低屈折率層用塗布液(本発明Ln1〜Ln11、参考例12および比較例Ln13〜18)を高屈折率層上にバーコータを用いて厚さ85nmとなる様に塗布し、窒素雰囲気下酸素濃度0.1%にして、750mJ/cm2のエネルギーで紫外線を照射して、低屈折率層を形成した。
【0124】
塗設フィルムの性能評価
こうして得られた、透明支持体上に第1〜4層を塗設した反射防止フィルム試料(下記表3の本発明(1)〜(11)、参考例(1)、比較例(1)〜(6))について、下記性能評価を実施した。
【0125】
(1)平均反射率
分光光度計(日本分光(株)製)を用いて、380〜780nmの波長領域において、入射角5°における分光反射率を測定した。結果には450〜650nmの鏡面平均反射率を用いた。
【0126】
(2)鉛筆硬度評価
反射防止フィルムを温度25℃、湿度60%RHで2時間調湿した後、JISK 5400に記載の鉛筆硬度評価を行った。
【0127】
(3)耐傷性試験
膜表面をスチールウール#0000を用いて、200gの荷重下で10回擦った後に、傷のつくレベルを確認した。判定は次の基準に従った。
全く傷がつかない :◎
わずかに傷がつく :○
細かい傷が目立つ :△
傷が著しい :×
【0128】
(4)指紋およびマジック付着性評価
表面の耐汚染性の指標として、光学材料を温度25℃、湿度60%RHで2時間調湿した後、サンプル表面に指紋およびマジック(マッキ−極細(商品名;ZEBRA社製))を付着させてから、それをクリーニングクロスで拭き取ったときの状態を観察して、以下のように指紋およびマジック付着性を評価した。
指紋、マジックが完全に拭き取れる :○
指紋、マジックがやや見える :△
指紋、マジックがほとんど拭き取れない :×
得られた結果を表3に示す。
【0129】
【表3】
【0130】
本実施例から明らかなように、比較例の反射防止膜(1)は防汚性に劣り、(2)〜(6)は皮膜の強度に劣るのに対して、本発明の反射防止フィルム試料(1)〜(12)は広い波長領域で、非常に低い表面反射率、かつ十分に強靱な皮膜強度を有し、防汚性にも優れていることが分かる。
【0131】
[反射防止フィルムを設置した表示装置の作成]
上記で作成した本発明(1)〜(11)、参考例(1)、比較例(1)〜(6)の反射防止フィルム試料を日本電気株式会社より入手したパーソナルコンピューターPC9821NS/340W(商品名)の液晶ディスプレイ表面に貼り付け、表示装置サンプルを作成し、その表面反射による風景映り込み程度を目視にて評価した。
比較例(1)のフィルム試料を設置した表示装置は防汚性に劣り、また、比較例(2)〜(6)のフィルム試料を設置した表示装置は周囲の映り込みはある程度低減できるものの耐傷性に劣るものであったのに対し、本発明(1)〜(11)の反射防止フィルム試料を設置した表示装置は周囲の風景映り込みが殆どなく、快適な視認性かつ充分な表面強度を有し、さらに防汚性にも優れるものであった。
【0132】
【発明の効果】
本発明の反射防止膜は、反射防止性能が高く、耐傷性に優れ、かつ防汚性に優れる。この反射防止膜を用いた反射防止フィルム及び画像表示装置は、外光の映り込みが十分に防止されているうえ、耐傷性も高く、汚れが付着しにくいという優れた性質を有する。
【図面の簡単な説明】
【図1】本発明の反射防止膜が多層膜の場合の層構成を示す断面図であり、(a)は4層構成、(b)は5層構成の例を示す。
【符号の説明】
1 低屈折率層
2 高屈折率層
3 ハードコート層
4 透明支持体
5 中屈折率層
Claims (10)
- 主鎖にポリシロキサン構造を含み、かつ、含フッ素ビニルモノマーからの繰返し単位と側鎖に(メタ)アクリロイル基を有する繰返し単位とを含んでなる共重合体の硬化皮膜よりなる低屈折率層を有する反射防止膜であって、該共重合体中の(メタ)アクリロイル基を有する繰返し単位が、ポリシロキサン部位以外の全繰返し単位のうちの30〜70mol%であり、該共重合体が下記一般式1で表わされることを特徴とする反射防止膜。
(一般式1中、Lは炭素数1〜10の連結基を表し、mは0または1を表す。Xは水素原子またはメチル基を表す。Aは任意のビニルモノマーからの繰返し単位を表し、単一成分であっても複数の成分で構成されていても良い。Yはポリシロキサン構造を主鎖に含む構成成分を表わす。x,y,zはY以外の全繰返し単位を基準とした場合のそれぞれの繰返し単位のモル%を表し、30≦x≦60、30≦y≦70、0≦z≦40を満たす値を表す。ただし、x+y+z=100(モル%)。aは共重合体中の構成成分Yの質量%を表す。) - 主鎖にポリシロキサン構造を含み、かつ、含フッ素ビニルモノマーからの繰返し単位と側鎖に(メタ)アクリロイル基を有する繰返し単位とを含んでなる共重合体の硬化皮膜よりなる低屈折率層を有する反射防止膜であって、該共重合体中の(メタ)アクリロイル基を有する繰返し単位が、ポリシロキサン部位以外の全繰返し単位のうちの30〜70mol%であり、該共重合体が下記一般式2で表されることを特徴とする反射防止膜。
(一般式2中、Xは水素原子またはメチル基を表す。Yはポリシロキサン構造を主鎖に含む構成成分を表わす。Bは任意のビニルモノマーからの繰返し単位を表し、単一成分であっても複数の成分で構成されていても良い。x,y,z1およびz2はY以外の全繰返し単位を基準とした場合のそれぞれの繰返し単位のモル%を表し、30≦x≦60、30≦y≦70、0≦z1≦40、0≦z2≦40を満たす値を表す。ただし、 x + y + z 1+ z 2=100(モル%)。aは共重合体中の構成成分Yの質量%を表す。nは2≦n≦10を満たす整数を表す。) - 前記Lが炭素数2〜4の連結基を表すことを特徴とする請求項1に記載の反射防止膜。
- 前記Lが*‐(CH 2 ) 2 −O−**,*−(CH 2 ) 2 −NH−**,*−(CH 2 ) 4 −O−**,*−(CH 2 ) 6 −O−**,*−(CH 2 ) 2 −O−(CH 2 ) 2 −O−**,−CONH−(CH 2 ) 3 −O−**,*−CH 2 CH(OH)CH 2 −O−**,*−CH 2 CH 2 OCONH(CH 2 ) 3 −O−**(*はポリマー主鎖側の連結部位を表し、**は(メタ)アクリロイル基側の連結部位を表す。)から選ばれることを特徴とする請求項1に記載の反射防止膜。
- 前記一般式2で表される共重合体が、40≦x≦60、40≦y≦60、z2=0を満たすことを特徴とする請求項2に記載の反射防止膜。
- 前記(メタ)アクリロイル基を有する繰返し単位が、ポリシロキサン部位以外の全繰返し単位のうちの40〜60mol%を占めることを特徴とする請求項1また2に記載の反射防止膜。
- 前記低屈折率層を、無機微粒子および多官能(メタ)アクリレート樹脂を含有する高屈折率層上に有することを特徴とする請求項1〜7のいずれかに記載の反射防止膜。
- 透明支持体上に請求項1〜8のいずれかに1項に記載の反射防止膜を有することを特徴とする反射防止フィルム。
- 請求項9に記載の反射防止フィルムを配置したことを特徴とする画像表示装置。
Priority Applications (1)
| Application Number | Priority Date | Filing Date | Title |
|---|---|---|---|
| JP2002226746A JP4265735B2 (ja) | 2002-08-02 | 2002-08-02 | 反射防止膜、反射防止フィルムおよび画像表示装置 |
Applications Claiming Priority (1)
| Application Number | Priority Date | Filing Date | Title |
|---|---|---|---|
| JP2002226746A JP4265735B2 (ja) | 2002-08-02 | 2002-08-02 | 反射防止膜、反射防止フィルムおよび画像表示装置 |
Publications (2)
| Publication Number | Publication Date |
|---|---|
| JP2004069866A JP2004069866A (ja) | 2004-03-04 |
| JP4265735B2 true JP4265735B2 (ja) | 2009-05-20 |
Family
ID=32013978
Family Applications (1)
| Application Number | Title | Priority Date | Filing Date |
|---|---|---|---|
| JP2002226746A Expired - Fee Related JP4265735B2 (ja) | 2002-08-02 | 2002-08-02 | 反射防止膜、反射防止フィルムおよび画像表示装置 |
Country Status (1)
| Country | Link |
|---|---|
| JP (1) | JP4265735B2 (ja) |
Families Citing this family (6)
| Publication number | Priority date | Publication date | Assignee | Title |
|---|---|---|---|---|
| WO2005093464A1 (ja) * | 2004-03-26 | 2005-10-06 | Fuji Photo Film Co., Ltd. | 反射防止フィルムの製造方法、反射防止フィルム、偏光板、および画像表示装置 |
| JP2005309392A (ja) * | 2004-03-26 | 2005-11-04 | Fuji Photo Film Co Ltd | 反射防止フィルムの製造方法、反射防止フィルム、偏光板、および画像表示装置 |
| JP2006072320A (ja) * | 2004-08-04 | 2006-03-16 | Fuji Photo Film Co Ltd | 反射防止フィルムの製造方法、反射防止フィルム、偏光板、および画像表示装置 |
| JP4839037B2 (ja) * | 2004-08-04 | 2011-12-14 | 富士フイルム株式会社 | 光学フィルムの製造方法 |
| US20080285133A1 (en) * | 2005-03-14 | 2008-11-20 | Fujifilm Corporation | Antireflection Film, Production Method Thereof, Polarizing Plate Using the Antireflection Film and Image Display Device Using the Antireflection Film or Polarizing Plate |
| JP2007051203A (ja) * | 2005-08-17 | 2007-03-01 | Fujifilm Corp | 含フッ素共重合体、該含フッ素共重合体を含有する皮膜形成用組成物、この皮膜形成用組成物を用いた反射防止フィルム、該反射防止フィルムを用いた偏光板、並びに該反射防止フィルム又は該偏光板を用いた画像表示装置 |
-
2002
- 2002-08-02 JP JP2002226746A patent/JP4265735B2/ja not_active Expired - Fee Related
Also Published As
| Publication number | Publication date |
|---|---|
| JP2004069866A (ja) | 2004-03-04 |
Similar Documents
| Publication | Publication Date | Title |
|---|---|---|
| JP4265734B2 (ja) | 反射防止膜、反射防止フィルムおよび画像表示装置 | |
| JP4265887B2 (ja) | 反射防止膜、反射防止フィルムおよび画像表示装置 | |
| JP4336482B2 (ja) | 反射防止膜、反射防止フィルムおよび画像表示装置 | |
| JP2004317734A (ja) | 反射防止膜、その製造方法、反射防止フィルムおよび画像表示装置 | |
| JP2002372601A (ja) | 反射防止フィルムおよび画像表示装置と含フッ素共重合体 | |
| JP2005092099A (ja) | 硬化性樹脂組成物、及び光学物品、並びにそれを用いた画像表示装置 | |
| JP2005043749A (ja) | 反射防止膜、反射防止フィルム、偏光板、画像表示装置およびハードコート処理物品 | |
| JP2010277059A (ja) | 反射防止フィルム及びこれを含む偏光板 | |
| JP4691332B2 (ja) | 含フッ素多官能モノマー、含フッ素重合体、反射防止膜、反射防止フィルムおよび画像表示装置 | |
| JPH11153703A (ja) | 反射防止膜およびそれを用いた画像表示装置 | |
| JP3817180B2 (ja) | 反射防止膜、反射防止フィルムおよび画像表示装置 | |
| JP2003026732A (ja) | 含フッ素共重合体、皮膜形成用組成物、反射防止膜、反射防止フィルムおよび画像表示装置 | |
| JP4275917B2 (ja) | 反射防止膜、反射防止フィルムおよび画像表示装置 | |
| JP2005331607A (ja) | 光学部品及び画像表示装置 | |
| JP4265735B2 (ja) | 反射防止膜、反射防止フィルムおよび画像表示装置 | |
| JP4319880B2 (ja) | 反射防止膜、反射防止フィルムおよび画像表示装置 | |
| JP4265896B2 (ja) | 反射防止膜、反射防止フィルムおよび画像表示装置 | |
| JP4303994B2 (ja) | 反射防止膜、反射防止フィルムおよび画像表示装置 | |
| JP2004133034A (ja) | 反射防止膜、反射防止フィルム、および画像表示装置 | |
| JP4191992B2 (ja) | 反射防止フィルム、偏光板、および画像表示装置 | |
| JP2006284761A (ja) | 反射防止膜、反射防止フィルムおよび画像表示装置 | |
| JP2004191916A (ja) | 反射防止膜、反射防止フィルムおよび画像表示装置 | |
| JP2002243907A (ja) | 反射防止フィルムおよび画像表示装置 | |
| JPH11218604A (ja) | 反射防止膜およびそれを用いた画像表示装置 | |
| JP2004354740A (ja) | 反射防止膜、反射防止フィルムおよび画像表示装置 |
Legal Events
| Date | Code | Title | Description |
|---|---|---|---|
| A621 | Written request for application examination |
Free format text: JAPANESE INTERMEDIATE CODE: A621 Effective date: 20050630 |
|
| A711 | Notification of change in applicant |
Free format text: JAPANESE INTERMEDIATE CODE: A712 Effective date: 20061205 |
|
| A977 | Report on retrieval |
Free format text: JAPANESE INTERMEDIATE CODE: A971007 Effective date: 20071019 |
|
| A131 | Notification of reasons for refusal |
Free format text: JAPANESE INTERMEDIATE CODE: A131 Effective date: 20071120 |
|
| A521 | Request for written amendment filed |
Free format text: JAPANESE INTERMEDIATE CODE: A523 Effective date: 20080121 |
|
| TRDD | Decision of grant or rejection written | ||
| A01 | Written decision to grant a patent or to grant a registration (utility model) |
Free format text: JAPANESE INTERMEDIATE CODE: A01 Effective date: 20090120 |
|
| A01 | Written decision to grant a patent or to grant a registration (utility model) |
Free format text: JAPANESE INTERMEDIATE CODE: A01 |
|
| A61 | First payment of annual fees (during grant procedure) |
Free format text: JAPANESE INTERMEDIATE CODE: A61 Effective date: 20090210 |
|
| R150 | Certificate of patent or registration of utility model |
Ref document number: 4265735 Country of ref document: JP Free format text: JAPANESE INTERMEDIATE CODE: R150 Free format text: JAPANESE INTERMEDIATE CODE: R150 |
|
| FPAY | Renewal fee payment (event date is renewal date of database) |
Free format text: PAYMENT UNTIL: 20120227 Year of fee payment: 3 |
|
| FPAY | Renewal fee payment (event date is renewal date of database) |
Free format text: PAYMENT UNTIL: 20120227 Year of fee payment: 3 |
|
| FPAY | Renewal fee payment (event date is renewal date of database) |
Free format text: PAYMENT UNTIL: 20130227 Year of fee payment: 4 |
|
| R250 | Receipt of annual fees |
Free format text: JAPANESE INTERMEDIATE CODE: R250 |
|
| FPAY | Renewal fee payment (event date is renewal date of database) |
Free format text: PAYMENT UNTIL: 20140227 Year of fee payment: 5 |
|
| R250 | Receipt of annual fees |
Free format text: JAPANESE INTERMEDIATE CODE: R250 |
|
| R250 | Receipt of annual fees |
Free format text: JAPANESE INTERMEDIATE CODE: R250 |
|
| R250 | Receipt of annual fees |
Free format text: JAPANESE INTERMEDIATE CODE: R250 |
|
| R250 | Receipt of annual fees |
Free format text: JAPANESE INTERMEDIATE CODE: R250 |
|
| R250 | Receipt of annual fees |
Free format text: JAPANESE INTERMEDIATE CODE: R250 |
|
| R250 | Receipt of annual fees |
Free format text: JAPANESE INTERMEDIATE CODE: R250 |
|
| R250 | Receipt of annual fees |
Free format text: JAPANESE INTERMEDIATE CODE: R250 |
|
| R250 | Receipt of annual fees |
Free format text: JAPANESE INTERMEDIATE CODE: R250 |
|
| R250 | Receipt of annual fees |
Free format text: JAPANESE INTERMEDIATE CODE: R250 |
|
| LAPS | Cancellation because of no payment of annual fees |
