JP4259392B2 - 電子制御装置 - Google Patents

電子制御装置 Download PDF

Info

Publication number
JP4259392B2
JP4259392B2 JP2004145774A JP2004145774A JP4259392B2 JP 4259392 B2 JP4259392 B2 JP 4259392B2 JP 2004145774 A JP2004145774 A JP 2004145774A JP 2004145774 A JP2004145774 A JP 2004145774A JP 4259392 B2 JP4259392 B2 JP 4259392B2
Authority
JP
Japan
Prior art keywords
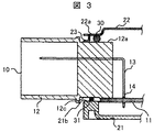
connector
electronic control
control device
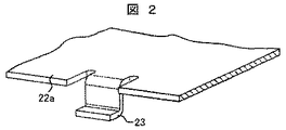
opening
tongue piece
Prior art date
Legal status (The legal status is an assumption and is not a legal conclusion. Google has not performed a legal analysis and makes no representation as to the accuracy of the status listed.)
Expired - Fee Related
Application number
JP2004145774A
Other languages
English (en)
Japanese (ja)
Other versions
JP2005327643A5 (enExample
JP2005327643A (ja
Inventor
俊和 執行
安則 小田倉
伸一 佐藤
Current Assignee (The listed assignees may be inaccurate. Google has not performed a legal analysis and makes no representation or warranty as to the accuracy of the list.)
Hitachi Ltd
Original Assignee
Hitachi Ltd
Priority date (The priority date is an assumption and is not a legal conclusion. Google has not performed a legal analysis and makes no representation as to the accuracy of the date listed.)
Filing date
Publication date
Application filed by Hitachi Ltd filed Critical Hitachi Ltd
Priority to JP2004145774A priority Critical patent/JP4259392B2/ja
Publication of JP2005327643A publication Critical patent/JP2005327643A/ja
Publication of JP2005327643A5 publication Critical patent/JP2005327643A5/ja
Application granted granted Critical
Publication of JP4259392B2 publication Critical patent/JP4259392B2/ja
Anticipated expiration legal-status Critical
Expired - Fee Related legal-status Critical Current

Links

Images

Landscapes

  • Mounting Components In General For Electric Apparatus (AREA)
JP2004145774A 2004-05-17 2004-05-17 電子制御装置 Expired - Fee Related JP4259392B2 (ja)

Priority Applications (1)

Application Number Priority Date Filing Date Title
JP2004145774A JP4259392B2 (ja) 2004-05-17 2004-05-17 電子制御装置

Applications Claiming Priority (1)

Application Number Priority Date Filing Date Title
JP2004145774A JP4259392B2 (ja) 2004-05-17 2004-05-17 電子制御装置

Publications (3)

Publication Number Publication Date
JP2005327643A JP2005327643A (ja) 2005-11-24
JP2005327643A5 JP2005327643A5 (enExample) 2006-09-07
JP4259392B2 true JP4259392B2 (ja) 2009-04-30

Family

ID=35473811

Family Applications (1)

Application Number Title Priority Date Filing Date
JP2004145774A Expired - Fee Related JP4259392B2 (ja) 2004-05-17 2004-05-17 電子制御装置

Country Status (1)

Country Link
JP (1) JP4259392B2 (enExample)

Families Citing this family (6)

* Cited by examiner, † Cited by third party
Publication number Priority date Publication date Assignee Title
US7677905B2 (en) 2006-12-13 2010-03-16 Denso Corporation Electronic device and manufacturing method of the same
JP4866830B2 (ja) * 2007-11-09 2012-02-01 日立オートモティブシステムズ株式会社 自動車用電子装置
JP4591510B2 (ja) * 2008-01-07 2010-12-01 株式会社デンソー コネクタ及び電子制御装置
JP5526096B2 (ja) * 2011-09-21 2014-06-18 日立オートモティブシステムズ株式会社 電子制御装置のシール構造
JP5949338B2 (ja) * 2012-08-31 2016-07-06 株式会社ノーリツ リモコン
JP6511101B2 (ja) * 2017-08-07 2019-05-15 株式会社東海理化電機製作所 電子機器

Also Published As

Publication number Publication date
JP2005327643A (ja) 2005-11-24

Similar Documents

Publication Publication Date Title
JP4575962B2 (ja) カードエッジコネクタ及びその組付方法
EP1005109B1 (en) Electronic control unit with electrical connector
US9553434B2 (en) Electronic component assembly structure and electrical junction box
JP2005129275A (ja) コネクタ固定構造
CN102484331A (zh) 直接安装连接器端子以及直接安装连接器
EP1851827A1 (en) Socket for module
JP4749278B2 (ja) コネクタ並びに導通接続構造及び導通接続方法
CN101322288A (zh) 阴连接器端子和阴连接器
KR100404550B1 (ko) 컴퓨터 하드디스크의 신호전송용 커넥터 및 그 제조방법
JP4599741B2 (ja) コネクタ
JP4259392B2 (ja) 電子制御装置
KR20120015274A (ko) 전기 연결 장치
JP4236940B2 (ja) 電子制御機器のケース及びこのケースを使用する電子制御機器
JPH0766340A (ja) 半導体装置およびその製造方法
US20100163302A1 (en) Electric connection box
JP2002298967A (ja) コネクタ
JP5556535B2 (ja) 電子装置
JP2007335298A (ja) 防水コネクタ用シール部材
JP4763576B2 (ja) カードエッジ型コネクタ
JP4801004B2 (ja) 電子ユニット
JP5778940B2 (ja) ハウジングの接続構造
JP3152385B2 (ja) リセプタクルコンタクト
US7559809B2 (en) Connector terminal holding structure
CN108666803A (zh) 电连接器
JP4800079B2 (ja) 電気接続箱

Legal Events

Date Code Title Description
RD04 Notification of resignation of power of attorney

Free format text: JAPANESE INTERMEDIATE CODE: A7424

Effective date: 20060424

A521 Request for written amendment filed

Free format text: JAPANESE INTERMEDIATE CODE: A523

Effective date: 20060726

A621 Written request for application examination

Free format text: JAPANESE INTERMEDIATE CODE: A621

Effective date: 20060726

A977 Report on retrieval

Free format text: JAPANESE INTERMEDIATE CODE: A971007

Effective date: 20080703

A131 Notification of reasons for refusal

Free format text: JAPANESE INTERMEDIATE CODE: A131

Effective date: 20080715

A521 Request for written amendment filed

Free format text: JAPANESE INTERMEDIATE CODE: A523

Effective date: 20080916

A131 Notification of reasons for refusal

Free format text: JAPANESE INTERMEDIATE CODE: A131

Effective date: 20081104

A521 Request for written amendment filed

Free format text: JAPANESE INTERMEDIATE CODE: A523

Effective date: 20090105

TRDD Decision of grant or rejection written
A01 Written decision to grant a patent or to grant a registration (utility model)

Free format text: JAPANESE INTERMEDIATE CODE: A01

Effective date: 20090120

A01 Written decision to grant a patent or to grant a registration (utility model)

Free format text: JAPANESE INTERMEDIATE CODE: A01

A61 First payment of annual fees (during grant procedure)

Free format text: JAPANESE INTERMEDIATE CODE: A61

Effective date: 20090202

FPAY Renewal fee payment (event date is renewal date of database)

Free format text: PAYMENT UNTIL: 20120220

Year of fee payment: 3

R151 Written notification of patent or utility model registration

Ref document number: 4259392

Country of ref document: JP

Free format text: JAPANESE INTERMEDIATE CODE: R151

FPAY Renewal fee payment (event date is renewal date of database)

Free format text: PAYMENT UNTIL: 20120220

Year of fee payment: 3

FPAY Renewal fee payment (event date is renewal date of database)

Free format text: PAYMENT UNTIL: 20120220

Year of fee payment: 3

S111 Request for change of ownership or part of ownership

Free format text: JAPANESE INTERMEDIATE CODE: R313111

FPAY Renewal fee payment (event date is renewal date of database)

Free format text: PAYMENT UNTIL: 20120220

Year of fee payment: 3

R350 Written notification of registration of transfer

Free format text: JAPANESE INTERMEDIATE CODE: R350

FPAY Renewal fee payment (event date is renewal date of database)

Free format text: PAYMENT UNTIL: 20120220

Year of fee payment: 3

FPAY Renewal fee payment (event date is renewal date of database)

Free format text: PAYMENT UNTIL: 20130220

Year of fee payment: 4

FPAY Renewal fee payment (event date is renewal date of database)

Free format text: PAYMENT UNTIL: 20130220

Year of fee payment: 4

FPAY Renewal fee payment (event date is renewal date of database)

Free format text: PAYMENT UNTIL: 20140220

Year of fee payment: 5

S533 Written request for registration of change of name

Free format text: JAPANESE INTERMEDIATE CODE: R313533

R350 Written notification of registration of transfer

Free format text: JAPANESE INTERMEDIATE CODE: R350

LAPS Cancellation because of no payment of annual fees