JP4248552B2 - 膨張器 - Google Patents

膨張器 Download PDF

Info

Publication number
JP4248552B2
JP4248552B2 JP2006033257A JP2006033257A JP4248552B2 JP 4248552 B2 JP4248552 B2 JP 4248552B2 JP 2006033257 A JP2006033257 A JP 2006033257A JP 2006033257 A JP2006033257 A JP 2006033257A JP 4248552 B2 JP4248552 B2 JP 4248552B2
Authority
JP
Japan
Prior art keywords
igniter
chamber
passage
flow
inflator
Prior art date
Legal status (The legal status is an assumption and is not a legal conclusion. Google has not performed a legal analysis and makes no representation as to the accuracy of the status listed.)
Expired - Fee Related
Application number
JP2006033257A
Other languages
English (en)
Other versions
JP2006219125A (ja
Inventor
フレッド・ジェイ・クック
ホーレイ・オー・スティーヴンズ
ダーリン・エル・ジョンソン
Current Assignee (The listed assignees may be inaccurate. Google has not performed a legal analysis and makes no representation or warranty as to the accuracy of the list.)
Trw Vehicle Safety Systems Inc
Original Assignee
Trw Vehicle Safety Systems Inc
Priority date (The priority date is an assumption and is not a legal conclusion. Google has not performed a legal analysis and makes no representation as to the accuracy of the date listed.)
Filing date
Publication date
Application filed by Trw Vehicle Safety Systems Inc filed Critical Trw Vehicle Safety Systems Inc
Publication of JP2006219125A publication Critical patent/JP2006219125A/ja
Application granted granted Critical
Publication of JP4248552B2 publication Critical patent/JP4248552B2/ja
Anticipated expiration legal-status Critical
Expired - Fee Related legal-status Critical Current

Links

Images

Classifications

    • BPERFORMING OPERATIONS; TRANSPORTING
    • B60VEHICLES IN GENERAL
    • B60RVEHICLES, VEHICLE FITTINGS, OR VEHICLE PARTS, NOT OTHERWISE PROVIDED FOR
    • B60R21/00Arrangements or fittings on vehicles for protecting or preventing injuries to occupants or pedestrians in case of accidents or other traffic risks
    • B60R21/02Occupant safety arrangements or fittings, e.g. crash pads
    • B60R21/16Inflatable occupant restraints or confinements designed to inflate upon impact or impending impact, e.g. air bags
    • B60R21/26Inflatable occupant restraints or confinements designed to inflate upon impact or impending impact, e.g. air bags characterised by the inflation fluid source or means to control inflation fluid flow
    • B60R21/264Inflatable occupant restraints or confinements designed to inflate upon impact or impending impact, e.g. air bags characterised by the inflation fluid source or means to control inflation fluid flow using instantaneous generation of gas, e.g. pyrotechnic
    • B60R21/2644Inflatable occupant restraints or confinements designed to inflate upon impact or impending impact, e.g. air bags characterised by the inflation fluid source or means to control inflation fluid flow using instantaneous generation of gas, e.g. pyrotechnic using only solid reacting substances, e.g. pellets, powder
    • BPERFORMING OPERATIONS; TRANSPORTING
    • B60VEHICLES IN GENERAL
    • B60RVEHICLES, VEHICLE FITTINGS, OR VEHICLE PARTS, NOT OTHERWISE PROVIDED FOR
    • B60R21/00Arrangements or fittings on vehicles for protecting or preventing injuries to occupants or pedestrians in case of accidents or other traffic risks
    • B60R21/02Occupant safety arrangements or fittings, e.g. crash pads
    • B60R21/16Inflatable occupant restraints or confinements designed to inflate upon impact or impending impact, e.g. air bags
    • B60R21/26Inflatable occupant restraints or confinements designed to inflate upon impact or impending impact, e.g. air bags characterised by the inflation fluid source or means to control inflation fluid flow
    • B60R21/264Inflatable occupant restraints or confinements designed to inflate upon impact or impending impact, e.g. air bags characterised by the inflation fluid source or means to control inflation fluid flow using instantaneous generation of gas, e.g. pyrotechnic

Landscapes

  • Physics & Mathematics (AREA)
  • Fluid Mechanics (AREA)
  • Engineering & Computer Science (AREA)
  • Mechanical Engineering (AREA)
  • Air Bags (AREA)
  • Feeding, Discharge, Calcimining, Fusing, And Gas-Generation Devices (AREA)

Description

本発明は膨張器に関し、特に、膨張可能な車両乗員保護装置を膨張させるのに使用する膨張器に関する。
図5、6は膨張可能な車両乗員保護装置を膨張させる既知の膨張器500を示す。膨張器500は円筒状の部材504と、ディフューザー端キャップ506と、点火器端キャップ508とから形成される容器502を有する。室510が容器502内に画定される。ガス状の推進剤512は室510内に貯蔵される。ガス状の推進剤512は膨張流体を提供するために点火可能である。
流れ開口518はディフューザー端キャップ506を通って延びる。破裂可能なバーストディスク520は流れ開口518を閉じて、ガス状の推進剤512を室510内に維持する。
貫通穴524は点火器端キャップ508を通って延びる。貫通穴524は室510に隣接する端部において若干狭くなっている。破裂可能なバーストディスク526は室510に隣接して貫通穴524の開口を閉じる。
点火器530は点火器端キャップ508に固定される。点火器530は室510内のガス状の推進剤512を点火するための燃焼生成物を提供するために作動することができる。
図6は作動状態の膨張器500を示す。点火器530が作動したとき、点火器530の点火により発生した燃焼生成物は点火器端キャップ508の貫通穴524を満たし、バーストディスク526を破裂させる。バーストディスク526が破裂すると、燃焼生成物は貫通穴524から室510内へ流入する。燃焼生成物が室510へ入ると、燃焼生成物は室510内のガス状の推進剤512の圧力よりも高い圧力となる。その結果、室510へ進入する際に、燃焼生成物は貫通穴524の中心軸線に関して半径方向外方へ扇状に拡がる。燃焼生成物の外方への扇状の拡がりは、図6に符号534で示すように、燃焼生成物のためのほぼ円錐状の流れパターンを発生させる。
図5、6に示すように、膨張流体のための流れ開口518が点火器530とは反対側の容器502の端部に位置する場合、燃焼生成物の外方への扇状の拡がりは、点火器端キャップ508に隣接し、流れ開口518から離れて位置する燃焼区域を生じさせる。その結果、流れ開口518を覆っているバーストディスク520が破裂したとき、ガス状の推進剤512の一部は燃焼せずに流れ開口を通って室510から出ることがある。
流れ開口518を通って室510から出る未燃焼のガス状推進剤512の量を最小化する補助を行うためには、高燃焼効率が望まれる。一層高い燃焼効率は流れ開口の一層近くに燃焼区域を位置させることにより達成できる。
本発明は室を備えた容器を有する膨張器に関する。容器には出口開口が設けられる。出口開口は室に接続する。物質は室内に貯蔵される。物質は膨張流体を提供するために熱に応答できる。点火器は容器に関連し、物質を加熱するための燃焼生成物を提供するように作動できる。膨張器はまた点火器と室との間に位置するノズルを有する。通路は点火器からノズルを通って延びる。同通路は点火器からの燃焼生成物の流れを室内の物質を熱応答温度まで上昇させるため、当該室内に集中された流れとして供給するため収斂部分及び拡散部分を含む。
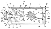
図1は本発明の第1の実施の形態に従って構成された膨張器10の断面図である。図1の膨張器10は軸方向で対向する第1及び第2の端部14、16をそれぞれ有する。
容器12は管状の本体部分22と、ディフューザー端キャップ26と、点火器端キャップ28とを有する。本体部分22は円筒状の内側及び外側の表面30、32をそれぞれ有する。内側及び外側の表面30、32の双方は軸線A上に中心を持つ。本体部分22はまた第1及び第2の開いた端部34、36をそれぞれ有する。第1の開いた端部34は容器12の第1の端部14の近傍に位置し、第2の開いた端部36は容器の第2の端部16の近傍に位置する。
ディフューザー端キャップ26は円筒状の外側表面40と、第1及び第2の半径方向に延びる側表面42、44とを有する。円筒状の外側表面40は軸線A上に中心を持ち、本体部分22の外側表面32の直径にほぼ等しい直径を有する。ディフューザー端キャップ26の第1の側表面42は本体部分22の第2の開いた端部36に固定される。図1、2は本体部分22に溶接されたディフューザー端キャップ26を示す。
流れ通路48は第1の側表面42から第2の側表面44へディフューザー端キャップ26を通って軸方向に延びる。流れ通路48は軸線A上に中心を持つ。ディフューザー端キャップ26の円筒状の表面50は流れ通路48を画定する。流れ通路48はディフューザー端キャップ26の第1の側表面42上に第1の円形開口(符号なし)を形成し、ディフューザー端キャップ26の第2の側表面44上に第2の円形開口56を形成する。
バーストディスク60はディフューザー端キャップ26の流れ開口48を閉じる。バーストディスクはドーム状の中央部分62と、半径方向外方へ延びるフランジ部分64とを有する。バーストディスクのフランジ部分64はディフューザー端キャップ26の第1の側表面42に取り付けられる。図1、2は第1の側表面42に溶接されたバーストディスク60のフランジ部分64を示す。バーストディスク60のフランジ部分64がディフューザー端キャップ26の第1の側表面42に取り付けられたとき、バーストディスク60のドーム状の中央部分62は流れ通路48を閉じる。バーストディスク60のドーム状の中央部分62は所定の量の圧力差を受けたときに破裂するように設計される。
点火器端キャップ28は円筒状の外側表面70と、第1及び第2の半径方向に延びる側表面72、74とを有する。円筒状の外側表面70は軸線A上に中心を持ち、本体部分22の外側表面32の直径にほぼ等しい直径を有する。点火器端キャップ28の第2の側表面74は本体部分22の第1の開いた端部34に固定される。図1、2は本体部分22の第1の開いた端部34に溶接された点火器端キャップ28の第2の側表面74を示す。
膨張器10はまたノズル80を有する。図1、2は、点火器端キャップ28と一部品として形成され、一緒に固定された別個の部品として形成されないノズル80を示す。代わりに、ノズル80は点火器端キャップ28とは別個の部品として形成し、続いて点火器端キャップに固定することができる。
ノズル80は点火器端キャップ28の第2の側表面74から外方へ延びる。ノズル80は本体部分22の内側表面30の直径よりも小さな直径を有する円筒状の外側表面82を有する。図1に示すように、ノズル80は第1の開いた端部34から本体部分22内へ延びる。ノズル80は端表面84で終端する。端表面84は軸線Aに垂直な方向に延びる。
通路90は点火器端キャップ28及びノズル80を通って軸方向に延びる。中断のない表面92は点火器端キャップ28の第1の側表面72とノズル80の端表面84との間でその全体の軸方向長さに沿って通路90を画定する。中断のない表面92は傾斜部分(ベベル状部分)96と、円筒状部分98と、テーパ部分100と、湾曲部分102とを有する。表面92の傾斜部分96及び円筒状部分98は一緒になって通路90のほぼ円筒状の部分106を画定する。通路90の円筒状の部分106は点火器端キャップ28に関連する。表面92のテーパ部分100は通路90の収斂部分108を画定する。表面92の湾曲部分102は通路90の拡散部分110を画定する。通路の拡散部分は円形開口112を備えたノズル80の端表面84で終端する。通路90の収斂部分108及び拡散部分110はノズル80に関連する。通路90ののど部114は、通路90の収斂部分108と拡散部分110とが遭遇する位置に形成される。
バーストディスク116は通路90を閉じる。バーストディスク116は収斂部分108の近傍で通路90の円筒状部分106内に位置する。バーストディスク116は中断のない表面92の円筒状部分98に固定される。バーストディスク116は所定の量の圧力差を受けたときに破裂するように設計される。
室120は容器12内に位置する。流体122が室120内に貯蔵される。図1、2の膨張器10の室120内の流体122はガスの燃焼可能な混合物である。燃焼可能なガス混合物122は室120内に加圧下で貯蔵される。燃焼可能なガス混合物122の圧力はほぼ6,000psi(ポンド/平方インチ)である。燃焼可能なガス混合物122は好ましくは不活性ガス、水素及び酸素を含む。漏洩検出を補助するために燃焼可能なガス混合物に少量のヘリウムを添加することができる。所定の温度以上に加熱された場合、燃焼可能なガス混合物122が燃焼する。燃焼可能なガス混合物122の燃焼が不活性ガスを加熱する。加熱された不活性ガスは膨張流体となる。
燃焼可能なガス混合物122の代わりとして、室120内に貯蔵される流体は、所定の温度以上に加熱されたときに燃焼する燃焼可能な液体又は所定の温度以上に加熱されたときにガス化する液体とすることができる。例えばフレオンのような冷媒が所定の温度以上に加熱されたときにガス化する液体の例である。更なる代わりとして、流体は所定の温度以上に加熱されたときに分解するものでもよい。亜酸化窒素が所定の温度以上に加熱されたときに分解するガスの例である。
膨張器10はまた作動可能な点火器130を有する。点火器130は作動可能な部分132(図1)と支持部分134とを有する。作動可能な部分132は典型的には火工材料(図示せず)と、火工材料を点火するための抵抗ワイヤ(図示せず)とを有する。点火器130の支持部分134は軸線Aに関して作動可能な部分132よりも直径が大きく、対向するテーパ端表面140、142と、点火器を車両の安全装置(図示せず)の電子回路(図示せず)に接続するリード144とを有する。
膨張器10はまた点火器端キャップ28に関して点火器130を支持するための支持部材150を有する。支持部材150はほぼ管状であり、切頭円錐形の表面152を含む。支持部材150は点火器端キャップに関して点火器130を固定するために点火器端キャップ28の第1の側表面72に取り付けられる。図1に示すように、点火器130が点火器端キャップ28に関して固定されたとき、点火器130の支持部分134のテーパ端表面140は表面92の傾斜部分96に当接し、支持部分のテーパ端表面142は支持部材150の切頭円錐形の表面152に当接する。また、点火器130が点火器端キャップ28に関して固定されたとき、点火器130の作動可能な部分132は、図1に示すように、通路90の円筒状部分106内に位置する。
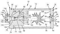
本発明の膨張器10は低濃度の燃焼可能なガス混合物122を有する膨張流体を提供するように作動できる。膨張器10を作動させるために、電気信号が点火器130に送られる。点火器130が電気信号を受け取ったとき、点火器130が作動する;すなわち、点火器の作動可能な部分132の火工材料が点火される。
点火器130の作動は燃焼生成物を発生させる。燃焼生成物は点火器130の作動可能な部分132の火工材料の点火により得られる。燃焼生成物は点火器130とバーストディスク116との間の通路90の円筒状部分106を満たし、燃焼生成物からの圧力がバーストディスクに作用する。点火器130の作動により得られた燃焼生成物はほぼ14,000psiの圧力に達することができる。バーストディスク116が室120からほぼ6,000psiの圧力を受けるので、燃焼生成物からの圧力はバーストディスク116を破裂させるのに十分である。
バーストディスク116が破裂したとき、燃焼生成物は通路90を通って室120の方へ流れ始める。燃焼生成物は通路90のより高い圧力の円筒状部分106からより低い圧力の室120の方へ流れる。より高い圧力の円筒状部分106内の燃焼生成物の圧力は典型的にはより低い圧力の室120の圧力の2倍よりも大きい。室120の方への流れ中、燃焼生成物は通路90の収斂部分108及び拡散部分110へ入る。燃焼生成物が通路90の収斂部分108を通って室120の方へ流れるとき、通路の流れ面積が減少する。その結果、燃焼生成物の圧力が増大し、燃焼生成物の流れが加速される。通路90ののど部114での燃焼生成物の流れがチョークを受けない場合、通路90を通る燃焼生成物の流れは亜音速となる。のど部114を通る燃焼生成物のマスフローがのど部の流れ面積に関して最大レベルに到達したときに、燃焼生成物の流れはのど部114においてチョークを受ける。従って、通路90ののど部114を通る燃焼生成物のマスフローが、例えば通路の円筒状部分106と室120との間の圧力差を増大させることにより、まだ増大することがある場合、のど部114を通る燃焼生成物の流れはチョークを受けていない。その結果、通路90を通る燃焼生成物の流れは亜音速を維持する。
燃焼生成物が通路90ののど部114を通過した後、燃焼生成物は通路90の拡散部分110へ入る。燃焼生成物が通路90の拡散部分110を通って室120の方へ流れるとき、通路の流れ面積が増大する。通路90の拡散部分110を通っての燃焼生成物の流れ中、燃焼生成物の圧力は減少し、燃焼生成物の流れは加速される。燃焼生成物の圧力は通路90の拡散部分110において減少する。その結果、燃焼生成物が通路の拡散部分の端部における開口112に到達したときに、燃焼生成物は室120内の燃焼可能なガス混合物122の圧力にほぼ等しい圧力を有する。
開口112において通路90を出る燃焼生成物が室120内の圧力に等しい圧力を有するので、燃焼生成物が室120へ入る際に、軸線Aに関して燃焼生成物の残留膨張は殆ど又は全く生じない。より詳しくは、室120へ入るとき、燃焼生成物の流れは軸線Aに平行な方向を向いており、軸線Aに関する半径方向の流れは最少化される。その結果、通路90の拡散部分110からの燃焼生成物の流れは集中されると言える。図2は燃焼生成物のこの集中された流れを符号160にて示す。室120内への燃焼生成物の集中された流れは、図5、6の膨張器500を参照して説明したような、燃焼生成物の半径方向の膨張が生じるような膨張器に比べて、室120のより長い軸方向の距離にわたってより速い速度で運行する燃焼生成物を生じさせる。
燃焼生成物の集中された流れがより長い軸方向距離を運行するので、燃焼可能なガス混合物122を点火する燃焼生成物から由来する燃焼区域はディフューザー端キャップ26の流れ通路48の一層近くに位置することになる。一般に、燃焼区域がディフューザー端キャップ26の流れ通路48の近くに位置するほど、燃焼区域を通過して室120を出る前に燃焼される燃焼可能なガス混合物122の量が一層多くなる。その結果、膨張器10により提供される膨張流体は一層低い濃度の燃焼可能なガス混合物122を有する。
図2は、点火器130の作動のすぐ後及びバーストディスク116、60の破裂後の、膨張器10を示す。図2の矢印162は流れ通路48を通って膨張器10の室120を出る低濃度の燃焼可能なガス混合物122を有する膨張流体を示す。
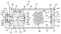
図3は本発明の第2の実施の形態に従って構成された膨張器10´の断面図である。図1、2に示したものと同一又は類似の図3の膨張器10´の素子は同じ符号で示し、その後に「´」を付加する。更に、図3の膨張器10´と図1、2の膨張器10との間の差異のみを以下に説明する。
図3の膨張器10´は熱を加えたときに点火できる固形の推進剤材料180を含む。図1に示す固形の推進剤材料180は小さなパレットの形をしている。膨張器10´の容器12´の室120´は固形の推進剤材料180で充填される。容器12´の室120´が加圧されていないので、図1のバーストディスク116と同様のバーストディスクを通路90´内に設ける必要はない。代わりに、箔材料182を通路90´の開口の上方に延在させることができ、ノズル80´の端表面84´に接着することができる。箔材料182は、固形の推進剤材料180が通路90´に入るのを阻止する。
更に、図3の膨張器10´においては、点火器130´及び通路90´は通路の拡散部分110´内に燃焼生成物の超音速流れを提供するように設計される。のど部114´において燃焼生成物の流れがチョークを受けたときに、通路90´の拡散部分110´内で燃焼生成物の超音速流れが発生する。のど部114´を通る燃焼生成物のマスフローが最大レベルに達したときに、のど部114´での燃焼生成物の流れはチョークを受ける。のど部114´の与えられた流れ面積に対して、のど部114´を通る燃焼生成物のマスフローが、通路90´の円筒状部分106´と室120´との間の圧力差の増大に応答して、増大しない場合は、のど部114´を通る燃焼生成物のマスフローは最大レベルに達する。点火器130´の作動により生じる燃焼生成物及び室120´内の圧力に関するデータが与えられれば、ノズル分野の当業者なら、チョークを生じさせるための通路90´ののど部114´の適当な流れ面積を決定できる。
のど部114´での燃焼生成物の流れがチョークを受けたとき、のど部114´での燃焼生成物の流速は音速即ちマッハ1に等しくなる。超音速流れの区域は通路90´の拡散部分110´内ののど部114´のすぐ下流側に形成される。超音速流れの区域は普通の衝撃波か又はショックパターンのいずれかの発生により終端する。超音速流れの区域は通路90´の拡散部分110´内で終端することができ、または、室120´内の通路90´の拡散部分110´の下流で終端することができる。超音速流れの区域が終端する位置は、通路90´の円筒状部分106´内の燃焼生成物と室120´内の圧力との間の圧力差の関数である。超音速流れの区域が終端する位置の制御はノズルの分野の当業者にとって周知である。
超音速流れの区域が通路90´の拡散部分110´内で終端すると、普通の衝撃波が発生する。普通の衝撃波は亜音速への燃焼生成物の流れのほぼ瞬時の減速を生じさせる。普通の衝撃波の後、燃焼流体の亜音速流れが拡散部分110´の残りの部分にわたって減速し、図2を参照して説明したように、燃焼生成物の集中された流れとして通路90´から出る。
超音速流れの区域が室120´内の通路90´の拡散部分110´の下流で終端する場合、ショック及び反射の複雑なパターンが通路90´を出る燃焼生成物の集中された流れ内に形成される。ショック及び反射の複雑なパターンは典型的には亜音速流れと超音速流れとの混合物を含む。図4は通路90´を出る燃焼生成物の集中された流れ内に位置するショックダイアモンドとしてのショック及び反射の複雑なパターンを概略的に示す。
ノズル80´内の通路90´の拡散部分110´を通る燃焼生成物の超音速流れを提供することにより、室120´内へと燃焼生成物が運行する距離が増大する。その結果、固形の推進剤材料180の点火により形成される燃焼区域はディフューザー端キャップ26´の流れ通路48´のより近くに位置する。更に、燃焼生成物のより速い速度が固形の推進剤材料180の表面への一層大きな熱伝達率を産み出し、固形の推進剤材料の点火を改善する。超音速流れの終端に由来する普通の衝撃波又はショックパターンは固形の推進剤材料の燃焼表面積を増大させるように固形の推進剤材料180の一部を粉砕するために使用することができる。
図4は点火器130´の作動のすぐ後で、箔材料182及びバーストディスク60´の破裂の後の、膨張器10´を示す。固形の推進剤材料180の燃焼により形成された膨張流体は流れ通路48´を通って膨張器10´の室120´から出る。
本発明の上述の説明から、当業者なら、改善、変更及び修正を理解できよう。例えば、図1、2の膨張器10のノズル80の収斂部分108、拡散部分110及びのど部114も、燃焼生成物の超音速流れを可能にするように設計できる。また、図3、4の容器12´の室120´は貯蔵されたガスで加圧することができる。室120´が貯蔵されたガスで加圧される場合、図1のバーストディスク116と同様のバーストディスクを通路90´内で使用して、室120´からの圧力の損失を阻止することができる。
点火器の作動前の、本発明の第1の実施の形態に従って構成された膨張器の断面図である。 点火器の作動後及び膨張器のバーストディスクの破裂後の、図1の膨張器を示す図である。 点火器の作動前の、本発明の第2の実施の形態に従って構成された膨張器の断面図である。 点火器の作動後及び膨張器のバーストディスクの破裂後の、図3の膨張器を示す図である。 点火器の作動前の、従来の膨張器の断面図である。 点火器の作動後及び膨張器のバーストディスクの破裂後の、図5の膨張器を示す図である。
符号の説明
10、10´ 膨張器
12、12´ 容器
26、26´ ディフューザー端キャップ
28 点火器端キャップ
48、48´ 流れ通路
60、60´ バーストディスク
80、80´ ノズル
90、90´ 通路
108 収斂部分
110、110´ 拡散部分
114、114´ のど部
116 バーストディスク
120、120´ 室
122 流体
130、130´ 点火器
160 集中された流れ
180 固形の推進剤材料

Claims (13)

  1. 膨張器において、
    (120)を有する容器(12)であって、同容器(12)内に設けられ、上記室(120)に接続する出口開口(48)を備えた容器(12)と;
    上記室(120)内に貯蔵され、膨張流体を提供するための熱に応答する物質(122,180)と;
    上記容器(12)に組み合わされ、上記物質(122,180)を加熱するための燃焼生成物を提供するように作動できる点火器(130)と;
    上記点火器(130)と上記室(120)との間に位置するノズル(80)であって、当該点火器(130)から上記ノズルを通って延びる通路(90)を有し、同通路(90)が該点火器(130)からの燃焼生成物の流れを上記室(120)内の上記物質(122,180)を熱応答温度まで上昇させるため、当該室(120)内に集中された流れとして供給するため収斂部分(108)及び拡散部分(110)を含むようなノズルと;
    を有することを特徴とする膨張器。
  2. ノズル開口(112)が上記通路(90)の上記拡散部分(110)と上記室(120)とを接続し、上記燃焼生成物が上記ノズル開口(112)に隣接した当該室(120)内の圧力にほぼ等しい圧力を、当該ノズル開口(112)において、有することを特徴とする請求項1に記載の膨張器。
  3. 上記収斂部分(108)が上記拡散部分(110)のすぐ上流側に位置し、燃焼生成物の上記流れが上記通路(90)の上記収斂部分(108)内で加速されることを特徴とする請求項2に記載の膨張器。
  4. 上記通路(90)ののど部(114)が上記収斂部分(108)と上記拡散部分(110)とを分離し、燃焼生成物の上記流れが上記のど部(114)において音速に到達し、当該のど部(114)のすぐ下流側で当該通路(90)の当該拡散部分(110)内に超音速流れの区域を形成することを特徴とする請求項3に記載の膨張器。
  5. 上記超音速流れの区域が上記室(120)内で終端し、当該超音速流れの区域がショックパターンで終端することを特徴とする請求項4に記載の膨張器。
  6. 上記室(120)内に貯蔵され加熱されたときに膨張流体を提供するための上記物質(120,180)が、固形の推進剤(180)であり、上記点火器(130)からの上記燃焼生成物が膨張流体を提供するように上記推進剤を点火することを特徴とする請求項5に記載の膨張器。
  7. 上記ショックパターンが上記推進剤(180)の点火を補助するように当該推進剤(180)の一部を粉砕することを特徴とする請求項6に記載の膨張器。
  8. 破裂可能な材料(182)が上記通路(90)の上記拡散部分(110)と上記室(120)とを接続する上記ノズル開口(112)を覆って延び、上記破裂可能な材料(182)が当該通路(90)への上記固形の推進剤(180)の進入を阻止し、上記点火器(130)からの燃焼生成物の上記流れが当該破裂可能な材料(182)を破裂させることを特徴とする請求項6に記載の膨張器。
  9. 上記室(120)内に貯蔵され加熱されたときに膨張流体を提供するための上記物質(122,180)が、貯蔵された加圧ガス(122)であり、同貯蔵されたガス(122)の圧力から上記点火器(130)を隔離するためのバーストディスク(116)が上記通路(90)内に位置することを特徴とする請求項2に記載の膨張器。
  10. 上記貯蔵された加圧ガス(122)がガスの燃焼可能な混合物であり、上記点火器(130)からの上記燃焼生成物が上記ガスの燃焼可能な混合物(122)を点火することを特徴とする請求項9に記載の膨張器。
  11. 上記膨張器(10)が上記点火器(130)を支持するための点火器端キャップ(28)を有し、上記ノズル(80)が上記点火器端キャップ(28)と共に一部品として形成され、一緒に固定された別個の部品からは形成されておらず、上記通路(90)が当該点火器端キャップ(28)及び当該ノズル(80)を通って延び、単一の中断されない表面により形成されることを特徴とする請求項1に記載の膨張器。
  12. 上記通路(90)ののど部(114)が上記収斂部分(108)と上記拡散部分(110)とを分離し、燃焼生成物の上記流れが上記のど部(114)において音速に到達し、当該のど部(114)のすぐ下流側で当該通路(90)の当該拡散部分(110)内に超音速流れの区域を形成し、同超音速流れの区域が衝撃波又はショックパターンのうちのいずれかで終端することを特徴とする請求項1に記載の膨張器。
  13. 点火器端キャップ(28)及びディフューザー端キャップ(26)が上記容器(12)の両端を形成し、上記点火器端キャップ(28)が上記点火器(130)を支持し、上記ディフューザー端キャップ(26)が、そこを通して上記室(120)から膨張流体を排出させることのできる出口開口(48)を有し、上記ノズル(80)が当該点火器端キャップ(28)と関連し、燃焼生成物の上記流れを当該ディフューザー端キャップ(26)の方へ集中させることを特徴とする請求項1に記載の膨張器。
JP2006033257A 2005-02-10 2006-02-10 膨張器 Expired - Fee Related JP4248552B2 (ja)

Applications Claiming Priority (1)

Application Number Priority Date Filing Date Title
US11/055,360 US7703395B2 (en) 2005-02-10 2005-02-10 Inflator having an ignition nozzle

Publications (2)

Publication Number Publication Date
JP2006219125A JP2006219125A (ja) 2006-08-24
JP4248552B2 true JP4248552B2 (ja) 2009-04-02

Family

ID=36776382

Family Applications (1)

Application Number Title Priority Date Filing Date
JP2006033257A Expired - Fee Related JP4248552B2 (ja) 2005-02-10 2006-02-10 膨張器

Country Status (3)

Country Link
US (1) US7703395B2 (ja)
JP (1) JP4248552B2 (ja)
DE (1) DE102006006036A1 (ja)

Families Citing this family (12)

* Cited by examiner, † Cited by third party
Publication number Priority date Publication date Assignee Title
DE102008022755B4 (de) * 2008-05-08 2015-05-13 Trw Airbag Systems Gmbh Gasgenerator
DE102008027048A1 (de) * 2008-06-06 2009-12-10 Trw Airbag Systems Gmbh Gasgenerator
US7883108B2 (en) * 2008-09-04 2011-02-08 Autoliv Asp, Inc. Inflator for an airbag
MX345766B (es) * 2008-09-30 2017-02-14 Trw Airbag Sys Gmbh Inflador, método de fabricación del mismo y módulo que incluye dicho inflador.
US9016207B2 (en) * 2009-01-22 2015-04-28 Autoliv Asp, Inc. Gas generator for airbag device
JP5136527B2 (ja) * 2009-08-31 2013-02-06 豊田合成株式会社 アクチュエータ
CN102095800A (zh) * 2011-02-17 2011-06-15 西安电子科技大学 固体推进剂超声波动态燃速测试系统
JP5965334B2 (ja) * 2013-02-18 2016-08-03 株式会社ダイセル ガス発生器
DE102016001611A1 (de) * 2016-02-12 2017-08-17 Trw Airbag Systems Gmbh Hybridgasgenerator, Verfahren zum Betreiben eines Hybridgasgenerators, Gassackmodul und Fahrzeugsicherheitssystem
US11673528B2 (en) 2017-01-11 2023-06-13 Automotive Technologies International, Inc. Airbag inflators including aspirators
WO2018132420A1 (en) 2017-01-11 2018-07-19 Automotive Technologies International, Inc. Airbag inflators including aspirators
JP6695365B2 (ja) * 2018-01-25 2020-05-20 本田技研工業株式会社 高圧タンク構造体

Family Cites Families (20)

* Cited by examiner, † Cited by third party
Publication number Priority date Publication date Assignee Title
US3632133A (en) * 1969-02-25 1972-01-04 Eaton Yale & Towne Vehicle safety apparatus including an inflatable confinement
US3630150A (en) * 1969-10-27 1971-12-28 Singer Co Actuating mechanism
US3630151A (en) * 1969-10-27 1971-12-28 Singer Co Manually actuated fluidic igniter
US3807755A (en) 1972-11-13 1974-04-30 Gen Motors Corp Occupant restraint system
US4033267A (en) * 1976-10-01 1977-07-05 The United States Of America As Represented By The Secretary Of The Navy Flueric cartridge initiator
FR2569686B1 (fr) 1984-09-05 1986-11-21 Poudres & Explosifs Ste Nale Generateur de gaz ultrarapide a securite renforcee
US5443286A (en) 1992-10-09 1995-08-22 Morton International, Inc. Gas generator for vehicle occupant restraint system
US5388859A (en) 1993-11-09 1995-02-14 Trw Inc. Isolation member for air bag inflator
US5423570A (en) 1994-05-09 1995-06-13 Morton International, Inc. Hybrid inflator with tortuous delivery passage
DE19507208A1 (de) 1995-03-02 1996-09-05 Dynamit Nobel Ag Gasgenerator, insbesondere für einen Airbag, mit einem Ladebehälter und einem Flammleitrohr
US5820160A (en) 1996-03-01 1998-10-13 Autoliv Asp, Inc. Airbag inflator with venturi effect cooling and gas supplement
US5768885A (en) 1996-12-03 1998-06-23 Autoliv Asp, Inc. Regenerative piston liquid propellant rocket motor
US6237590B1 (en) * 1997-09-18 2001-05-29 Delsys Pharmaceutical Corporation Dry powder delivery system apparatus
US6019389A (en) * 1998-03-31 2000-02-01 Trw Vehicle Safety Systems Inc. Air bag inflator
US6142516A (en) 1998-09-10 2000-11-07 Trw Inc. Air bag inflator assembly
US6237950B1 (en) 1999-07-26 2001-05-29 Trw Vehicle Safety Systems Inc. Staged air bag inflator
EP1454803A4 (en) 2001-11-15 2005-02-16 Nippon Kayaku Kk GAS PRODUCERS
US6629703B2 (en) 2001-12-14 2003-10-07 Breed Automotive Technology, Inc. Opening device for a cold gas inflator
US6846014B2 (en) * 2002-03-18 2005-01-25 Autoliv Asp, Inc. Inflatable surface including a plurality of nozzles
DE20319564U1 (de) 2003-12-17 2004-04-15 Trw Airbag Systems Gmbh Gasgenerator

Also Published As

Publication number Publication date
JP2006219125A (ja) 2006-08-24
US7703395B2 (en) 2010-04-27
US20060174794A1 (en) 2006-08-10
DE102006006036A1 (de) 2006-08-24

Similar Documents

Publication Publication Date Title
US6237950B1 (en) Staged air bag inflator
JP3089358B2 (ja) 複式火工混成ガス詰め装置
US8052169B2 (en) Gas generator for inflating a gas bag of a vehicle occupant restraint system and method of inflating a gas bag
KR0167792B1 (ko) 가스백 팽창기
KR0183410B1 (ko) 차량 탑승자 구속 시스템용 하이브리드 팽창기
US5803493A (en) Hybrid blowdown inflator with reduced pressure buildup
JP2609428B2 (ja) インフレータ
JP4248552B2 (ja) 膨張器
US6382668B1 (en) Air bag inflator
KR0179997B1 (ko) 팽창식 차량 탑승자 구속기구를 팽창시키는 팽창장치
US6206414B1 (en) Air bag inflator including plural burst disks
US5536040A (en) Inflator for side impact air bag
JPH05278554A (ja) 車両搭乗者拘束具
JPH0710655B2 (ja) 車輛乗員拘束器の膨張装置
CN110497876B (zh) 推进剂笼、充气机、充气机的操作方法以及引导冲击波的方法
JPH06508320A (ja) ハイブリッド式エアバッグ膨張器
WO2001042047A9 (en) Vehicle inflator
US6010152A (en) Air bag inflator
JPH08230607A (ja) エアバッグ膨張用装置及び該装置の製造方法
JP2650846B2 (ja) 車両乗員拘束具膨張用装置
WO2002042126A1 (en) Hybrid inflator
US6786507B2 (en) Hybrid gas generator
US6273462B1 (en) Air bag inflator
JPH07502470A (ja) ハイブリッドインフレータ
KR20010023550A (ko) 부분 방출 영역을 포함하는 가스 안내 하우징을 가지는가스 백

Legal Events

Date Code Title Description
A131 Notification of reasons for refusal

Free format text: JAPANESE INTERMEDIATE CODE: A131

Effective date: 20080515

A601 Written request for extension of time

Free format text: JAPANESE INTERMEDIATE CODE: A601

Effective date: 20080814

A602 Written permission of extension of time

Free format text: JAPANESE INTERMEDIATE CODE: A602

Effective date: 20080819

A521 Request for written amendment filed

Free format text: JAPANESE INTERMEDIATE CODE: A523

Effective date: 20081015

TRDD Decision of grant or rejection written
A01 Written decision to grant a patent or to grant a registration (utility model)

Free format text: JAPANESE INTERMEDIATE CODE: A01

Effective date: 20081225

A01 Written decision to grant a patent or to grant a registration (utility model)

Free format text: JAPANESE INTERMEDIATE CODE: A01

A61 First payment of annual fees (during grant procedure)

Free format text: JAPANESE INTERMEDIATE CODE: A61

Effective date: 20090113

FPAY Renewal fee payment (event date is renewal date of database)

Free format text: PAYMENT UNTIL: 20120123

Year of fee payment: 3

R150 Certificate of patent or registration of utility model

Ref document number: 4248552

Country of ref document: JP

Free format text: JAPANESE INTERMEDIATE CODE: R150

Free format text: JAPANESE INTERMEDIATE CODE: R150

FPAY Renewal fee payment (event date is renewal date of database)

Free format text: PAYMENT UNTIL: 20130123

Year of fee payment: 4

R250 Receipt of annual fees

Free format text: JAPANESE INTERMEDIATE CODE: R250

R250 Receipt of annual fees

Free format text: JAPANESE INTERMEDIATE CODE: R250

R250 Receipt of annual fees

Free format text: JAPANESE INTERMEDIATE CODE: R250

R250 Receipt of annual fees

Free format text: JAPANESE INTERMEDIATE CODE: R250

R250 Receipt of annual fees

Free format text: JAPANESE INTERMEDIATE CODE: R250

R250 Receipt of annual fees

Free format text: JAPANESE INTERMEDIATE CODE: R250

R250 Receipt of annual fees

Free format text: JAPANESE INTERMEDIATE CODE: R250

R250 Receipt of annual fees

Free format text: JAPANESE INTERMEDIATE CODE: R250

LAPS Cancellation because of no payment of annual fees