JP4175397B2 - 有機エレクトロルミネセンス装置の製造方法 - Google Patents
有機エレクトロルミネセンス装置の製造方法 Download PDFInfo
- Publication number
- JP4175397B2 JP4175397B2 JP2006177912A JP2006177912A JP4175397B2 JP 4175397 B2 JP4175397 B2 JP 4175397B2 JP 2006177912 A JP2006177912 A JP 2006177912A JP 2006177912 A JP2006177912 A JP 2006177912A JP 4175397 B2 JP4175397 B2 JP 4175397B2
- Authority
- JP
- Japan
- Prior art keywords
- organic
- layer
- coating film
- solvent
- anode
- Prior art date
- Legal status (The legal status is an assumption and is not a legal conclusion. Google has not performed a legal analysis and makes no representation as to the accuracy of the status listed.)
- Active
Links
Images
Classifications
-
- H—ELECTRICITY
- H05—ELECTRIC TECHNIQUES NOT OTHERWISE PROVIDED FOR
- H05B—ELECTRIC HEATING; ELECTRIC LIGHT SOURCES NOT OTHERWISE PROVIDED FOR; CIRCUIT ARRANGEMENTS FOR ELECTRIC LIGHT SOURCES, IN GENERAL
- H05B33/00—Electroluminescent light sources
- H05B33/10—Apparatus or processes specially adapted to the manufacture of electroluminescent light sources
-
- H—ELECTRICITY
- H10—SEMICONDUCTOR DEVICES; ELECTRIC SOLID-STATE DEVICES NOT OTHERWISE PROVIDED FOR
- H10K—ORGANIC ELECTRIC SOLID-STATE DEVICES
- H10K50/00—Organic light-emitting devices
- H10K50/10—OLEDs or polymer light-emitting diodes [PLED]
- H10K50/14—Carrier transporting layers
-
- H—ELECTRICITY
- H10—SEMICONDUCTOR DEVICES; ELECTRIC SOLID-STATE DEVICES NOT OTHERWISE PROVIDED FOR
- H10K—ORGANIC ELECTRIC SOLID-STATE DEVICES
- H10K59/00—Integrated devices, or assemblies of multiple devices, comprising at least one organic light-emitting element covered by group H10K50/00
- H10K59/10—OLED displays
- H10K59/12—Active-matrix OLED [AMOLED] displays
- H10K59/122—Pixel-defining structures or layers, e.g. banks
-
- H—ELECTRICITY
- H10—SEMICONDUCTOR DEVICES; ELECTRIC SOLID-STATE DEVICES NOT OTHERWISE PROVIDED FOR
- H10K—ORGANIC ELECTRIC SOLID-STATE DEVICES
- H10K71/00—Manufacture or treatment specially adapted for the organic devices covered by this subclass
- H10K71/10—Deposition of organic active material
- H10K71/12—Deposition of organic active material using liquid deposition, e.g. spin coating
- H10K71/13—Deposition of organic active material using liquid deposition, e.g. spin coating using printing techniques, e.g. ink-jet printing or screen printing
- H10K71/135—Deposition of organic active material using liquid deposition, e.g. spin coating using printing techniques, e.g. ink-jet printing or screen printing using ink-jet printing
-
- H—ELECTRICITY
- H10—SEMICONDUCTOR DEVICES; ELECTRIC SOLID-STATE DEVICES NOT OTHERWISE PROVIDED FOR
- H10K—ORGANIC ELECTRIC SOLID-STATE DEVICES
- H10K71/00—Manufacture or treatment specially adapted for the organic devices covered by this subclass
- H10K71/20—Changing the shape of the active layer in the devices, e.g. patterning
- H10K71/231—Changing the shape of the active layer in the devices, e.g. patterning by etching of existing layers
- H10K71/233—Changing the shape of the active layer in the devices, e.g. patterning by etching of existing layers by photolithographic etching
Landscapes
- Engineering & Computer Science (AREA)
- Manufacturing & Machinery (AREA)
- Microelectronics & Electronic Packaging (AREA)
- Physics & Mathematics (AREA)
- Optics & Photonics (AREA)
- Electroluminescent Light Sources (AREA)
- Devices For Indicating Variable Information By Combining Individual Elements (AREA)
Description
本発明によれば、基板の表面には複数の有機半導体層に電気的に接続された電極が設けられており、対象面が電極の表面であるので、有機半導体層を電極の表面上に直接形成されることになる。有機半導体層を電極の表面上に直接形成することによって、有機半導体層と電極とを面接触させることができるので、有機半導体層と電極との間の電気抵抗を小さく抑えることができ、導電性を向上させることができる。
本発明者らは、有機半導体層が導電性を有する金属酸化物上に形成されている場合、有機化合物を架橋化させることで金属酸化物に含まれる酸素原子と有機半導体層に含まれる有機化合物の分子の架橋部分とが化学的に結合し、この部分において所定の溶媒に特に溶解されにくくなることを見出した。本発明では、電極が導電性を有する金属酸化物を主成分とすることとしたので、上記一の有機半導体層が所定の溶媒に溶解するのを一層効果的に抑えることができる。
本発明によれば、有機半導体層の層厚が均一であり、有機半導体層を流れる電流の電流密度にムラの無い、高品質の有機半導体装置を得ることができる。
本発明によれば、第2有機層形成工程において、第2有機層を構成する材料を所定の溶媒に溶解又は分散させた液状組成物の第2塗布膜を陽極上に形成し、第2塗布膜のうち第1有機層の表面側の所定の厚さ部分を所定の溶媒に溶解しないように変質させ、第2塗布膜のうち変質していない非変質部分を所定の溶媒によって除去することとしたので、変質した所定の厚さ部分の第2塗布膜が残留し、当該第2塗布膜の残留部分が層厚の均一な第2有機層になる。正孔輸送性を有する第1有機層に加えて発光性を有する第2有機層についても層厚が均一になるため、発光ムラを一層確実に無くすことができる。
本発明によれば、陽極が、導電性を有する金属酸化物を主成分とするので、第1塗布膜のうち陽極の表面側において所定の溶媒に特に溶解されにくくなる。基板及び陽極が光透過性を有している場合、第2有機層で発光した光が陽極を透過して基板側から光を射出する、いわゆるボトムエミッション型の有機エレクトロルミネセンス装置として利用することが可能である。
本発明によれば、第1塗布膜が、キャリア輸送性有機化合物と、ポリシロキサンからなる架橋性有機化合物とを含んでおり、第1変質工程では、第1塗布膜に含まれる架橋性有機化合物を熱処理によって架橋させることとしたので、第1塗布膜における架橋反応を確実に発生させることができる。例えば、加熱温度や加熱時間を調節することによって、第1塗布膜の全部を架橋させずに第1塗布膜の所定の厚さ部分のみを架橋させることが可能となる。
本発明によれば、所定の厚さ部分における架橋反応を確実に発生させることができる。例えば、加熱温度や加熱時間を調節することによって、第1塗布膜の全部を架橋させずに第1塗布膜の所定の厚さ部分のみを架橋させることが可能となる。
本発明によれば、第1塗布膜が、キャリア輸送性有機化合物と、二重結合基、エポキシ基及び環状エーテル基のうち少なくとも1種類を含む架橋性有機化合物とを含んでおり、第1変質工程では、第1塗布膜に含まれる架橋性有機化合物を熱処理する、架橋性有機化合物に紫外線を照射する、架橋性有機化合物に電子ビームを照射する又は架橋性有機化合物にプラズマを照射することによって架橋させることとしたので、所定の厚さ部分における架橋反応を確実に発生させることができる。例えば、加熱の場合は加熱温度や加熱時間を調節し、紫外線、電子ビーム、プラズマの照射の場合はそれぞれ照射強度や照射時間を調節することによって、第1塗布膜の全部を架橋せずに第1塗布膜の所定の厚さ部分のみを架橋することが可能となる。
本発明によれば、第2有機層を構成する材料が、発光性有機化合物と、二重結合基、エポキシ基及び環状エーテル基のうち少なくとも1種類を含む架橋性有機化合物とを含んでおり、第2変質工程では、第2塗布膜に含まれる架橋性有機化合物を加熱する、架橋性有機化合物に紫外線を照射する、架橋性有機化合物に電子ビームを照射する又は架橋性有機化合物にプラズマを照射することによって架橋させることとしたので、所定の厚さ部分における架橋反応を確実に発生させることができる。例えば、加熱の場合は加熱温度や加熱時間を調節し、紫外線、電子ビーム、プラズマの照射の場合はそれぞれ照射強度や照射時間を調節することによって、第1塗布膜の全部を架橋せずに第2塗布膜の所定の厚さ部分のみを架橋することが可能となる。
本発明では、正孔輸送層の正孔輸送性を有する部分に加えて発光層の発光部分も第1開口部内収まるように設けられている。上述の製造方法では、第2有機層(発光層)を形成する際に第2塗布膜の非変質部分を除去するため、発光層についても層厚が薄く形成されることになる。本発明によれば、発光層の発光部分も第1開口部内収まっているので、第1開口部の領域の外側で発光するのを一層確実に回避することができる。
以下、本発明の第1実施形態を図面に基づき説明する。
(有機EL装置)
図1は、有機EL装置1の概略的な構成を示す断面図である。以下の図では、各部材を認識可能な大きさとするため、縮尺を適宜変更している。本実施形態の有機EL装置1は、スイッチング素子として薄膜トランジスタが設けられたアクティブマトリクス型の有機EL装置である。
基板5は、例えばガラスや石英などの光を透過可能な材料からなる矩形の基板である。
表面層6は、基板5の表面に形成されており、例えば酸化シリコンや窒化シリコンなどからなる絶縁層である。
ゲート電極9は、ゲート絶縁層8上に設けられた電極であり、半導体層7のチャネル領域7aに平面視で重なる位置に配置されている。図示を省略するが、ゲート電極9は例えば金属層が3層重なった多層構造になっており、下層(ゲート絶縁層8の直上)が窒化チタン層、中層がアルミニウム・銅の混合層、上層がチタン層になっている。
半導体層7、ゲート絶縁層8及びゲート電極9は、有機EL装置1のスイッチング素子であるTFT(薄膜トランジスタ:Thin Film Transistor)を構成している。
ソース電極11は、第1絶縁層10上に設けられた電極であり、第1絶縁層10及びゲート絶縁層8を貫通して形成されたコンタクトホール13を介して半導体層7の高濃度ソース領域7cに接続されている。ソース電極11は、単層の金属、あるいはゲート電極9と同様に、金属層が多層重なった構造になっており、例えば3層の場合、下層(第1絶縁層10の直上)がチタン層(又は窒化チタン層)、中層がアルミニウム・銅の混合層、上層がチタン層になっている。
第2絶縁層12は、例えば酸化シリコンや窒化シリコンからなり、第1絶縁層10及びソース電極11を覆うように設けられている。
この発光層23は発光性の有機化合物からなり、例えばフルオレン誘導体(又はポリフルオレン誘導体)、パラフェニレンビニレン誘導体(又はポリパラフェニレンビニレン誘導体)、ポリフェニレン誘導体(PP)、ポリパラフェニレン誘導体(PPP)、ポリビニルカルバゾール(PVK)、ポリチオフェン誘導体、ポリメチルフェニルシラン(PMPS)などのポリシラン系などが好適に用いられる。これらの高分子材料に、ペリレン系色素、クマリン系色素、ローダミン系色素などの高分子系材料や、ルブレン、ペリレン、9,10−ジフェニルアントラセン、テトラフェニルブタジエン、ナイルレッド、クマリン6、キナクリドン等の低分子材料をドープして用いることもできる。
次に、上記のように構成された有機EL装置1の製造方法を説明する。
まず、基板5上に表面層6、半導体層7、ゲート絶縁層8、ゲート電極9を順に形成し、第1絶縁層10、コンタクトホール13及びソース電極11、第2絶縁層、コンタクトホール14を形成する。その後、コンタクトホール14の表面に重なるように陽極21を成膜し、パターニング後隔壁25を形成する。
キャリア輸送性の材料である例えばPF8−TPDと、架橋性の材料である例えばγグリシジルオキシプロピルトリメトキシシランとを有機溶媒に溶解させた液状組成物を予め作製しておく。有機溶媒としては、イソプロピルアルコール(IPA)、ノルマルブタノール、γ−ブチロラクトン、N−メチルピロリドン(NMP)、1,3−ジメチル−2−イミダゾリジノン(DMI)及びその誘導体、カルビト−ルアセテート、ブチルカルビト−ルアセテート等のグリコールエーテル類などを用いることができる。
次に、本発明の第2実施形態を説明する。第1実施形態と同様、以下の図では、各部材を認識可能な大きさとするため、縮尺を適宜変更している。また、第1実施形態と同一の構成要素については、その説明を省略する。本実施形態では、有機EL装置の発光層の構成及び有機EL装置の製造工程において正孔輸送層を形成した後の工程が第1実施形態と異なっているため、この点を中心に説明する。
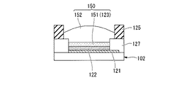
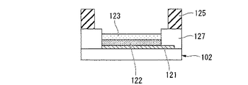
発光層123は、絶縁層127の開口部126内に正孔輸送層122に積層されるように設けられている。発光層123の材料は、第1実施形態の発光性有機化合物と、架橋性の有機化合物とを適宜組み合わせることができる。発光層123の上面123aの高さ位置(第2絶縁層112からの高さ)は、絶縁層127の上面127aの高さ位置よりも低い位置に設けられており、上面123aは平坦になっている。すなわち、本実施形態では、正孔輸送層122と同様、発光層123についても、絶縁層127の開口部126内に完全に収容されるように設けられている。
次に、本発明の第3実施形態を説明する。第1実施形態と同様、以下の図では、各部材を認識可能な大きさとするため、縮尺を適宜変更している。また、第1実施形態と同一の構成要素については、その説明を省略する。本実施形態では、有機EL装置の正孔輸送層並びに発光層の構成、有機EL装置の製造工程において正孔輸送層並びに発光層の形成方法が第1実施形態と異なっているため、この点を中心に説明する。
本実施形態では、陽極221上に設けられた正孔輸送層222及び発光層223が共に絶縁層227の開口部226内に完全に収容されるように設けられており、当該正孔輸送層222及び発光層223の層厚が画素によって異なった構成になっている。陰極224は、隔壁225の全面及び絶縁層227の一部を覆うように設けられ、絶縁層227の開口部226内を埋めると共に、当該開口部226内では発光層223の上面223aの全面に接するように設けられている。図13においては、図中左側から右側に移るにつれて正孔輸送層122及び発光層123の層厚が徐々に薄くなっている。
第1実施形態で示したキャリア輸送性有機化合物と、二重結合基、エポキシ基及び環状エーテル基などの架橋性有機化合物とを有機溶媒に溶解させた液状組成物を予め作製しておく。有機溶媒については第1実施形態と同様のもので構わない。
塗布膜240を成膜したら、基板202の周囲を真空状態にして30分程度乾燥させた後、大気圧下において塗布膜240に一定時間紫外線を照射する。塗布膜240に紫外線を照射することによって、塗布膜240に含まれる架橋性有機化合物が架橋反応を起こし、有機溶媒に対して不溶化する(変質部分241)。
例えば、上記各実施形態においては、有機EL装置について説明したが、これに限られることは無く、例えば有機トランジスタにおいても本発明の適用は可能である。
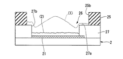
図7は、図1に示す有機EL装置1のうち一つの画素における断面図である。同図は、インクジェット法によって形成される正孔輸送層の表面の変化を示している。
表面(1)は、インクジェット法により塗布膜40を形成して加熱し、硬化部分41を形成した直後に当該塗布膜40の膜厚を測定した結果である。表面(2)は、表面(1)で示した塗布膜40の非硬化部分をリンス液によって除去した後、残留した硬化部分の膜厚を測定した結果である。
Claims (3)
- 少なくとも正孔輸送性を有する有機層と発光性を有する有機層とを含んだ複数の有機層と、前記複数の有機層を挟持する陰極及び陽極とを基板上に備えた有機エレクトロルミネセンス装置の製造方法であって、
前記複数の有機層のうち一の有機層を構成する材料を第1溶媒に溶解又は分散させた液状組成物の塗布膜を対象面である前記陽極の表面に形成する塗布膜形成工程と、
前記塗布膜のうち前記対象面側の所定の厚さ部分を前記第1溶媒を含む所定の溶媒に溶解しないように変質させる変質工程と、
前記塗布膜のうち前記変質工程で変質していない非変質部分を前記所定の溶媒によって除去する除去工程と
を具備し、
前記陽極が、導電性を有する金属酸化物を主成分とし、
前記塗布膜が、キャリア輸送性有機化合物と、二重結合基、エポキシ基及び環状エーテル基のうち少なくとも1種類を含む架橋性有機化合物とを含んでおり、
前記変質工程では、前記塗布膜に含まれる前記架橋性有機化合物に紫外線を照射することによって前記金属酸化物に含まれる酸素原子と前記架橋性有機化合物の分子とを架橋させる
ことを特徴とする有機エレクトロルミネセンス装置の製造方法。 - 少なくとも正孔輸送性を有する第1有機層と発光性を有する第2有機層とを含んだ複数の有機層と、前記複数の有機層を挟持する陰極及び陽極とを基板上に備えた有機エレクトロルミネセンス装置の製造方法であって、
前記第1有機層を構成する材料を第1溶媒に溶解又は分散させた液状組成物の第1塗布膜を対象面である前記陽極の表面に形成する第1塗布膜形成工程と、
前記第1塗布膜のうち前記対象面側の所定の厚さ部分を前記第1溶媒を含む所定の溶媒に溶解しないように変質させる第1変質工程と、
前記第1塗布膜のうち前記第1変質工程で変質していない非変質部分を前記所定の溶媒によって除去する第1除去工程と
を有する第1有機層形成工程と、
前記第1有機層上に前記第2有機層を形成する第2有機層形成工程と
を具備し、
前記陽極が、導電性を有する金属酸化物を主成分とし、
前記第1塗布膜が、キャリア輸送性有機化合物と、二重結合基、エポキシ基及び環状エーテル基のうち少なくとも1種類を含む架橋性有機化合物とを含んでおり、
前記第1変質工程では、前記第1塗布膜に含まれる前記架橋性有機化合物に紫外線を照射することによって前記金属酸化物に含まれる酸素原子と前記架橋性有機化合物の分子とを架橋させる
ことを特徴とする有機エレクトロルミネセンス装置の製造方法。 - 前記塗布膜を複数形成し、
複数の前記塗布膜のうち所定の異なる前記塗布膜に対しては、照射される光量が異なるように前記紫外線を照射する
ことを特徴とする請求項1に記載の有機エレクトロルミネセンス装置の製造方法。
Priority Applications (5)
| Application Number | Priority Date | Filing Date | Title |
|---|---|---|---|
| JP2006177912A JP4175397B2 (ja) | 2006-06-28 | 2006-06-28 | 有機エレクトロルミネセンス装置の製造方法 |
| US11/755,172 US7775845B2 (en) | 2006-06-28 | 2007-05-30 | Organic semiconductor device, method for producing organic semiconductor device, organic electroluminescent device, and method for producing organic electroluminescent device |
| TW096122602A TWI434605B (zh) | 2006-06-28 | 2007-06-22 | 有機半導體裝置之製造方法、有機半導體裝置、有機電激發光裝置之製造方法及有機電激發光裝置 |
| KR1020070062788A KR101367240B1 (ko) | 2006-06-28 | 2007-06-26 | 유기 반도체 장치의 제조 방법, 유기 반도체 장치, 유기일렉트로루미네선스 장치의 제조 방법 및 유기일렉트로루미네선스 장치 |
| CN2007101095121A CN101097990B (zh) | 2006-06-28 | 2007-06-27 | 有机电致发光装置的制造法 |
Applications Claiming Priority (1)
| Application Number | Priority Date | Filing Date | Title |
|---|---|---|---|
| JP2006177912A JP4175397B2 (ja) | 2006-06-28 | 2006-06-28 | 有機エレクトロルミネセンス装置の製造方法 |
Publications (2)
| Publication Number | Publication Date |
|---|---|
| JP2008010251A JP2008010251A (ja) | 2008-01-17 |
| JP4175397B2 true JP4175397B2 (ja) | 2008-11-05 |
Family
ID=39011610
Family Applications (1)
| Application Number | Title | Priority Date | Filing Date |
|---|---|---|---|
| JP2006177912A Active JP4175397B2 (ja) | 2006-06-28 | 2006-06-28 | 有機エレクトロルミネセンス装置の製造方法 |
Country Status (5)
| Country | Link |
|---|---|
| US (1) | US7775845B2 (ja) |
| JP (1) | JP4175397B2 (ja) |
| KR (1) | KR101367240B1 (ja) |
| CN (1) | CN101097990B (ja) |
| TW (1) | TWI434605B (ja) |
Families Citing this family (24)
| Publication number | Priority date | Publication date | Assignee | Title |
|---|---|---|---|---|
| JP4168999B2 (ja) * | 2004-11-30 | 2008-10-22 | セイコーエプソン株式会社 | 発光材料及び有機el装置の製造方法 |
| JP2006245526A (ja) * | 2005-02-04 | 2006-09-14 | Seiko Epson Corp | 膜パターンの形成方法、デバイス及びその製造方法、電気光学装置、並びに電子機器 |
| JP4240018B2 (ja) * | 2005-02-04 | 2009-03-18 | セイコーエプソン株式会社 | 膜パターンの形成方法、デバイス及びその製造方法、電気光学装置、並びに電子機器 |
| US8461572B2 (en) | 2008-05-15 | 2013-06-11 | Denso Corporation | Organic luminescent device and manufacturing method thereof |
| KR101000148B1 (ko) | 2008-10-08 | 2010-12-10 | 현대자동차주식회사 | 차량의 자동요금정산시스템 및 장치 |
| DE102008054435A1 (de) * | 2008-12-09 | 2010-06-10 | Universität Zu Köln | Organische Leuchtdiode mit optischem Resonator nebst Herstellungsverfahren |
| JP2011034814A (ja) * | 2009-07-31 | 2011-02-17 | Casio Computer Co Ltd | 発光装置、表示装置、及び、発光装置の製造方法 |
| CN101944572A (zh) * | 2009-09-16 | 2011-01-12 | 西安交通大学 | 一种有机电致发光器件的制备方法 |
| JP5672682B2 (ja) * | 2009-09-28 | 2015-02-18 | 凸版印刷株式会社 | 有機el素子及びその製造方法 |
| JP2011086567A (ja) * | 2009-10-19 | 2011-04-28 | Seiko Epson Corp | 有機el素子の製造方法、有機el素子、電気光学装置、電子機器 |
| JP5689653B2 (ja) * | 2009-12-03 | 2015-03-25 | 富士フイルム株式会社 | 電荷輸送膜、その製造方法及びこれを用いた発光素子並びに光電変換素子 |
| JP2012079484A (ja) * | 2010-09-30 | 2012-04-19 | Toppan Printing Co Ltd | 有機エレクトロルミネッセンス素子及びその製造方法 |
| TWI423492B (zh) * | 2010-12-03 | 2014-01-11 | Univ Nat Taiwan Science Tech | 有機薄膜電晶體及其製造方法 |
| JP5817393B2 (ja) * | 2011-09-28 | 2015-11-18 | 凸版印刷株式会社 | 有機el素子及びその製造方法 |
| CN102779831B (zh) * | 2012-07-10 | 2015-09-02 | 京东方科技集团股份有限公司 | 一种有机显示器件及制作的方法 |
| KR101997568B1 (ko) * | 2013-04-19 | 2019-07-09 | 삼성디스플레이 주식회사 | 유기층의 형성방법 및 이를 포함한 유기발광소자의 제조 방법 |
| KR102360783B1 (ko) | 2014-09-16 | 2022-02-10 | 삼성디스플레이 주식회사 | 디스플레이 장치 |
| KR102284756B1 (ko) | 2014-09-23 | 2021-08-03 | 삼성디스플레이 주식회사 | 디스플레이 장치 |
| JP2017091802A (ja) * | 2015-11-10 | 2017-05-25 | 株式会社Joled | 有機el表示パネル、および、有機el表示パネルの製造方法 |
| CN105514292A (zh) * | 2016-01-05 | 2016-04-20 | 深圳市华星光电技术有限公司 | 一种oled器件及其制作方法、oled显示器 |
| CN105489781B (zh) * | 2016-01-08 | 2017-12-29 | 京东方科技集团股份有限公司 | 发光器件及其制造方法和显示装置 |
| CN106585157B (zh) * | 2016-11-18 | 2020-02-07 | 深圳市Tcl高新技术开发有限公司 | 一种可抑制印刷工艺咖啡环形成的方法及固体薄膜 |
| CN109728204B (zh) * | 2018-12-29 | 2021-07-30 | 上海天马微电子有限公司 | 一种制备oled有机功能层的方法 |
| US12150220B2 (en) | 2020-03-24 | 2024-11-19 | Sharp Kabushiki Kaisha | Method for manufacturing light-emitting element inlcuding quantum dots |
Family Cites Families (14)
| Publication number | Priority date | Publication date | Assignee | Title |
|---|---|---|---|---|
| JP4477150B2 (ja) * | 1996-01-17 | 2010-06-09 | 三星モバイルディスプレイ株式會社 | 有機薄膜el素子 |
| JPH118069A (ja) * | 1997-02-17 | 1999-01-12 | Nippon Steel Corp | 有機エレクトロルミネッセンス素子およびその製造方法 |
| CN1205454A (zh) * | 1997-06-20 | 1999-01-20 | 智索股份有限公司 | 感光性树脂组合物及使用该树脂组合物的显示元件 |
| JP2000077185A (ja) | 1998-08-28 | 2000-03-14 | Asahi Chem Ind Co Ltd | 有機エレクトロルミネッセンス素子 |
| JP3900724B2 (ja) * | 1999-01-11 | 2007-04-04 | セイコーエプソン株式会社 | 有機el素子の製造方法および有機el表示装置 |
| JP2000243300A (ja) | 1999-02-19 | 2000-09-08 | Pioneer Electronic Corp | プラズマディスプレイパネル |
| JP2002170667A (ja) * | 2000-11-30 | 2002-06-14 | Hitachi Ltd | 有機エレクトロルミネッセンス素子、その製造方法及び画像表示装置 |
| JP2003007459A (ja) | 2001-06-21 | 2003-01-10 | Semiconductor Energy Lab Co Ltd | インクジェット方式によるパターン形成用組成物並びに発光装置の作製方法 |
| JP2003142273A (ja) * | 2001-11-01 | 2003-05-16 | Nichia Chem Ind Ltd | 正孔輸送材およびそれを用いた有機電界発光素子 |
| JP2005041982A (ja) * | 2003-05-29 | 2005-02-17 | Seiko Epson Corp | 発光材料、発光材料の精製方法および層形成方法 |
| DE10340711A1 (de) * | 2003-09-04 | 2005-04-07 | Covion Organic Semiconductors Gmbh | Elektronische Vorrichtung enthaltend organische Halbleiter |
| JP2006024459A (ja) * | 2004-07-08 | 2006-01-26 | Denso Corp | 有機el表示装置 |
| JP2006064760A (ja) * | 2004-08-24 | 2006-03-09 | Dainippon Screen Mfg Co Ltd | カラー画像表示装置の着色層の形成方法 |
| WO2006041027A1 (ja) * | 2004-10-13 | 2006-04-20 | Sharp Kabushiki Kaisha | 機能基板 |
-
2006
- 2006-06-28 JP JP2006177912A patent/JP4175397B2/ja active Active
-
2007
- 2007-05-30 US US11/755,172 patent/US7775845B2/en active Active
- 2007-06-22 TW TW096122602A patent/TWI434605B/zh active
- 2007-06-26 KR KR1020070062788A patent/KR101367240B1/ko active Active
- 2007-06-27 CN CN2007101095121A patent/CN101097990B/zh active Active
Also Published As
| Publication number | Publication date |
|---|---|
| TWI434605B (zh) | 2014-04-11 |
| TW200818976A (en) | 2008-04-16 |
| CN101097990B (zh) | 2012-06-13 |
| CN101097990A (zh) | 2008-01-02 |
| US7775845B2 (en) | 2010-08-17 |
| US20080074037A1 (en) | 2008-03-27 |
| KR101367240B1 (ko) | 2014-02-25 |
| KR20080001626A (ko) | 2008-01-03 |
| JP2008010251A (ja) | 2008-01-17 |
Similar Documents
| Publication | Publication Date | Title |
|---|---|---|
| JP4175397B2 (ja) | 有機エレクトロルミネセンス装置の製造方法 | |
| JP4362147B2 (ja) | 有機elディスプレイパネル、およびその製造方法 | |
| KR101202515B1 (ko) | 디스플레이 제조 방법 | |
| KR101059008B1 (ko) | 유기 전자발광 장치, 풀 컬러 유기 전자발광 장치 및 그의 제조 방법 | |
| JP2002343565A (ja) | 有機led表示パネルの製造方法、その方法により製造された有機led表示パネル、並びに、その方法に用いられるベースフィルム及び基板 | |
| JP2010034143A (ja) | 有機エレクトロルミネッセンス表示装置及びその製造方法 | |
| JP2006114480A (ja) | 有機電界発光表示装置及びその製造方法 | |
| JP2008216949A (ja) | 感光性樹脂版用露光装置、および有機el素子の製造方法 | |
| JP2008016336A (ja) | 有機半導体装置の製造方法、有機半導体装置、有機エレクトロルミネセンス装置の製造方法及び有機エレクトロルミネセンス装置 | |
| JP6455126B2 (ja) | 有機el素子およびその製造方法 | |
| JP5817393B2 (ja) | 有機el素子及びその製造方法 | |
| JP7511183B2 (ja) | 機能デバイス、および、機能デバイスの製造方法 | |
| CN1867218A (zh) | 有机电致发光显示装置和其制造方法 | |
| JP5036961B2 (ja) | 有機エレクトロルミネッセンス表示装置 | |
| Conchillo | Fabrication, Characterization and Modelling of Organic Electroluminescent Diodes with Blue Emission. Application to the Design and Manufacturing of Organic Displays |
Legal Events
| Date | Code | Title | Description |
|---|---|---|---|
| A977 | Report on retrieval |
Free format text: JAPANESE INTERMEDIATE CODE: A971007 Effective date: 20080409 |
|
| A131 | Notification of reasons for refusal |
Free format text: JAPANESE INTERMEDIATE CODE: A131 Effective date: 20080415 |
|
| A521 | Request for written amendment filed |
Free format text: JAPANESE INTERMEDIATE CODE: A523 Effective date: 20080610 |
|
| TRDD | Decision of grant or rejection written | ||
| A01 | Written decision to grant a patent or to grant a registration (utility model) |
Free format text: JAPANESE INTERMEDIATE CODE: A01 Effective date: 20080729 |
|
| A01 | Written decision to grant a patent or to grant a registration (utility model) |
Free format text: JAPANESE INTERMEDIATE CODE: A01 |
|
| A61 | First payment of annual fees (during grant procedure) |
Free format text: JAPANESE INTERMEDIATE CODE: A61 Effective date: 20080811 |
|
| FPAY | Renewal fee payment (event date is renewal date of database) |
Free format text: PAYMENT UNTIL: 20110829 Year of fee payment: 3 |
|
| R150 | Certificate of patent or registration of utility model |
Ref document number: 4175397 Country of ref document: JP Free format text: JAPANESE INTERMEDIATE CODE: R150 Free format text: JAPANESE INTERMEDIATE CODE: R150 |
|
| FPAY | Renewal fee payment (event date is renewal date of database) |
Free format text: PAYMENT UNTIL: 20120829 Year of fee payment: 4 |
|
| FPAY | Renewal fee payment (event date is renewal date of database) |
Free format text: PAYMENT UNTIL: 20130829 Year of fee payment: 5 |
|
| S531 | Written request for registration of change of domicile |
Free format text: JAPANESE INTERMEDIATE CODE: R313531 |
|
| R350 | Written notification of registration of transfer |
Free format text: JAPANESE INTERMEDIATE CODE: R350 |
|
| R250 | Receipt of annual fees |
Free format text: JAPANESE INTERMEDIATE CODE: R250 |
